WO2016152868A1 - 圧力センサ - Google Patents

圧力センサ Download PDF

Info

Publication number
WO2016152868A1
WO2016152868A1 PCT/JP2016/059021 JP2016059021W WO2016152868A1 WO 2016152868 A1 WO2016152868 A1 WO 2016152868A1 JP 2016059021 W JP2016059021 W JP 2016059021W WO 2016152868 A1 WO2016152868 A1 WO 2016152868A1
Authority
WO
WIPO (PCT)
Prior art keywords
cylindrical body
cylinder
peripheral wall
axial direction
pressure
Prior art date
Legal status (The legal status is an assumption and is not a legal conclusion. Google has not performed a legal analysis and makes no representation as to the accuracy of the status listed.)
Ceased
Application number
PCT/JP2016/059021
Other languages
English (en)
French (fr)
Japanese (ja)
Inventor
尚志 溝口
Current Assignee (The listed assignees may be inaccurate. Google has not performed a legal analysis and makes no representation or warranty as to the accuracy of the list.)
Nabtesco Corp
Original Assignee
Nabtesco Corp
Priority date (The priority date is an assumption and is not a legal conclusion. Google has not performed a legal analysis and makes no representation as to the accuracy of the date listed.)
Filing date
Publication date
Application filed by Nabtesco Corp filed Critical Nabtesco Corp
Priority to JP2017508364A priority Critical patent/JPWO2016152868A1/ja
Priority to EP16768771.4A priority patent/EP3276323B1/en
Priority to US15/559,868 priority patent/US10571350B2/en
Publication of WO2016152868A1 publication Critical patent/WO2016152868A1/ja
Anticipated expiration legal-status Critical
Ceased legal-status Critical Current

Links

Images

Classifications

    • GPHYSICS
    • G01MEASURING; TESTING
    • G01LMEASURING FORCE, STRESS, TORQUE, WORK, MECHANICAL POWER, MECHANICAL EFFICIENCY, OR FLUID PRESSURE
    • G01L9/00Measuring steady of quasi-steady pressure of fluid or fluent solid material by electric or magnetic pressure-sensitive elements; Transmitting or indicating the displacement of mechanical pressure-sensitive elements, used to measure the steady or quasi-steady pressure of a fluid or fluent solid material, by electric or magnetic means
    • G01L9/16Measuring steady of quasi-steady pressure of fluid or fluent solid material by electric or magnetic pressure-sensitive elements; Transmitting or indicating the displacement of mechanical pressure-sensitive elements, used to measure the steady or quasi-steady pressure of a fluid or fluent solid material, by electric or magnetic means by making use of variations in the magnetic properties of material resulting from the application of stress
    • GPHYSICS
    • G01MEASURING; TESTING
    • G01LMEASURING FORCE, STRESS, TORQUE, WORK, MECHANICAL POWER, MECHANICAL EFFICIENCY, OR FLUID PRESSURE
    • G01L9/00Measuring steady of quasi-steady pressure of fluid or fluent solid material by electric or magnetic pressure-sensitive elements; Transmitting or indicating the displacement of mechanical pressure-sensitive elements, used to measure the steady or quasi-steady pressure of a fluid or fluent solid material, by electric or magnetic means
    • G01L9/0026Transmitting or indicating the displacement of flexible, deformable tubes by electric, electromechanical, magnetic or electromagnetic means
    • G01L9/0029Transmitting or indicating the displacement of flexible, deformable tubes by electric, electromechanical, magnetic or electromagnetic means using variations in inductance

Definitions

  • the present invention relates to a magnetostrictive pressure sensor.
  • a magnetostrictive pressure sensor is a sensor that uses an inverse magnetostrictive effect in which the direction of magnetization of a magnetostrictive material changes due to the strain of the magnetostrictive material.
  • Patent Document 1 discloses an apparatus including a bottom portion connected to a cylinder of an engine, an upper portion that functions as a cover, and a channel that passes through the bottom portion and the upper portion and into which gas of the cylinder flows. . The end of the channel opposite to the gas inlet side is closed, and a tube is provided in the channel. The wall of the tube is deformed by the pressure inside the tube.
  • the deformation of the tube is a measurement provided in the bottom portion through a first measurement body provided in the bottom portion and in contact with the tube, and a second measurement body provided in the bottom portion and in contact with the tube. Is transmitted to the unit.
  • the measurement unit includes a magnetoelastic sensor, a strain gauge sensor, a piezoelectric sensor, or the like.
  • the pressure change of the gas in the pipe is indirectly measured through the pipe in the channel and the bottom portion. For this reason, the pressure of the gas is measured in a state in which manufacturing errors and the like of the pipe and the bottom portion are taken into account cumulatively, which causes a reduction in the accuracy of the measured pressure.
  • Such a problem is not limited to the sensor device having the above-described configuration, but is generally common in magnetostrictive pressure sensors.
  • the present invention has been made in view of such circumstances, and an object of the present invention is to provide a pressure sensor that can improve the accuracy of the pressure to be measured by directly measuring the change in pressure of the fluid. It is to provide.
  • a pressure sensor that solves the above-described problems is a cylindrical body that is formed from a magnetostrictive material and is deformed by the pressure of a fluid flowing inside, a detection unit that detects a change in a magnetic field due to the distortion of the cylindrical body,
  • the cylindrical body includes a peripheral wall portion curved in the axial direction of the cylindrical body (that is, a peripheral wall portion having a curved section in a plane including the axis of the cylindrical body, or continuous along the axial line of the cylindrical body.
  • a peripheral wall portion bent in the axial direction of the cylindrical body that is, a peripheral wall portion having a bent portion in a cross section including the axis of the cylindrical body, or A peripheral wall portion having a portion whose thickness changes stepwise along the axis.
  • the cylinder itself that receives the fluid pressure is made of a magnetostrictive material, and a change in the magnetic field due to the distortion of the magnetostrictive material is detected by the detection unit.
  • a sensor that is a body it is possible to directly detect a change in pressure of a fluid.
  • the change of the magnetic field of a cylinder becomes large because the surrounding wall part of a cylinder is curved or bent in the axial direction of a cylinder, it can make it easy to detect the change of a magnetic field.
  • the peripheral wall portion of the cylindrical body may have a certain thickness, in which case a part of the peripheral wall portion in the axial direction of the cylindrical body is radially inward or radial direction of the cylindrical body It is preferable to protrude outward.
  • the peripheral wall portion of the cylindrical body is curved or bent in the axial direction of the cylindrical body by projecting a part of the peripheral wall portion having a constant thickness radially inward or radially outward. Therefore, compared with the case where the thickness of the peripheral wall portion is changed and the inner peripheral surface or the outer peripheral surface of the peripheral wall portion is protruded, the amount of protrusion of the peripheral wall portion can be easily adjusted, so that a change in the magnetic field can be easily detected. .
  • the thickness of the surrounding wall part of the said cylinder may change along the axial direction of the said cylinder.
  • the thickness of the peripheral wall portion changes in the axial direction of the cylindrical body, so that the peripheral wall portion of the cylindrical body is curved or bent in the axial direction of the cylindrical body. For this reason, the change of a magnetic field is detectable by providing a detection part in the position where the thickness of a surrounding wall part changes.
  • a pressure sensor that solves the above problems includes a cylindrical body that is formed of a magnetostrictive material and is deformed by the pressure of a fluid flowing inside, and a detection unit that detects a change in the magnetic field of the cylindrical body. And the peripheral wall portion of the cylindrical body is provided with a stepped surface that intersects the axial direction of the cylindrical body.
  • the cylinder itself that receives the fluid pressure is made of a magnetostrictive material, and a change in the magnetic field due to the distortion of the magnetostrictive material is detected by the detection unit.
  • a sensor that is a body it is possible to directly detect a change in pressure of a fluid.
  • the change in the magnetic field in the axial direction of the cylinder when the cylinder is distorted increases, so the change in the magnetic field is detected. It can be made easier.
  • the pressure sensor preferably includes a magnetic field generator that is provided on the outer periphery of the cylindrical body and generates a magnetic field including a direction in which the direction of magnetic flux is parallel to the axial direction of the cylindrical body.
  • a magnetic field along the axial direction of the cylinder is generated by a magnetic field generator such as a permanent magnet or an excitation coil. Therefore, the amount of change in the magnetic field along the axial direction of the cylinder when the cylinder is distorted Can be increased. Thereby, the change of the magnetic field in the axial direction of the cylindrical body is easily detected by the detection unit.
  • disconnected the pressure sensor of the 4th Embodiment of this invention in parallel with the axial direction of the cylinder Sectional drawing which cut
  • the pressure sensor according to the first embodiment of the present invention will be described below with reference to FIGS. 1 and 2.
  • the pressure sensor of this embodiment is used as a sensor that detects the pressure in the exhaust passage of the engine.
  • the pressure sensor is provided in the exhaust passage or in a flow path connected to the exhaust passage.
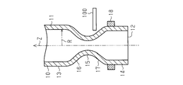
  • the pressure sensor includes a cylindrical body 10.
  • the cylindrical body 10 is provided with an inlet 12 into one end of which the exhaust gas in the exhaust passage is introduced.
  • the exhaust gas introduced into the cylinder 10 from the inlet 12 flows inside the cylinder 10.
  • the other end of the cylinder 10 is closed or connected to another pipe.
  • the end of the pipe opposite to the end connected to the cylinder 10 is closed.
  • the cylinder 10 is made of a magnetostrictive material that changes its magnetization direction when subjected to stress.
  • the magnetostrictive material include a rare earth-transition metal alloy including a rare earth element and a transition metal element, and a transition metal alloy including a plurality of transition metal elements, but the composition of the magnetostrictive material is not particularly limited.
  • the magnetostrictive material constituting the cylindrical body 10 has elasticity and also has heat resistance and corrosion resistance against the fluid to be measured (exhaust gas here).
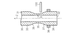
  • the peripheral wall portion 11 of the cylindrical body 10 has a certain thickness and is curved in the axial direction Z (central axis) of the cylindrical body 10.
  • the outer diameter and the inner diameter of the cylindrical body 10 change along the axial direction Z.
  • the cross section of the peripheral wall portion 11 of the cylindrical body 10 by the surface including the axis of the cylindrical body 10 has a curved portion.
  • the peripheral wall portion 11 includes a small-diameter portion 15 having a relatively small outer diameter and an inner diameter, and large-diameter portions 13 and 14 provided on both sides of the small-diameter portion 15 and having a relatively large outer diameter and inner diameter.
  • a continuous portion 16 in which the outer diameter and the inner diameter gradually increase from the small diameter portion 15 to the large diameter portion 13 is provided between the small diameter portion 15 and the large diameter portion 13 .
  • a continuous portion 17 in which the outer diameter and the inner diameter gradually increase from the small diameter portion 15 to the large diameter portion 14 is provided between the small diameter portion 15 and the large diameter portion 14 .
  • the continuous parts 16 and 17 the inner surface and the outer surface are inclined.
  • the small diameter part 15 and the continuous parts 16 and 17 may not be clearly distinguished. In that case, the small diameter portion 15 includes continuous portions 16 and 17.
  • a magnetic field generator 18 that generates a magnetic field along a direction parallel to the axial direction Z of the cylindrical body 10 is provided on the outer periphery of the cylindrical body 10.
  • the magnetic field generator 18 includes an exciting coil or an annular permanent magnet that generates a magnetic field when supplied with an electric current.
  • the cylinder 10 is elastically deformed with the pressure change in the exhaust passage. That is, when the pressure in the exhaust passage increases, the cylindrical body 10 expands in a direction in which the outer diameter and the inner diameter increase. Further, when the pressure in the exhaust passage changes from increasing to decreasing, the expanded cylinder 10 contracts and returns to a standard state without elastic deformation. As the cylinder 10 expands and contracts, the magnetization direction of the cylinder 10 changes. However, since the magnetic flux density in the axial direction Z is increased by the magnetic field generator 18, the axial direction is larger than the radial magnetization direction. The change in the direction of magnetization is remarkable and easy to detect.
  • the radial direction R of the cylindrical body 10 is a direction radially extending from the central axis of the cylindrical body 10 to the peripheral wall portion 11 and indicates one direction from the central axis to one point on the inner peripheral surface of the peripheral wall portion 11. is not.
  • a detection unit 100 is provided outside the cylinder body 10.
  • the detection unit 100 is provided in the vicinity of a portion where the outer diameter and the inner diameter of the cylindrical body 10 change and in the vicinity of the inflection point of the peripheral wall portion 11.
  • the detection unit 100 is provided in the vicinity of the continuous units 16 and 17.
  • the detection unit 100 is preferably not in contact with the cylindrical body 10, but may be in contact.
  • the detection unit 100 is, for example, a metal pattern formed on the surface of the substrate or a metal pattern exposed on the surface of the substrate by etching or the like.
  • the detection unit 100 may use a Hall element, a Gauss meter using the Hall element, a pickup coil, or the like.
  • the detection unit 100 is connected to a detection circuit that detects the magnitude of the output voltage from the detection unit 100 and the like.
  • the pressure on the inlet 12 side of the small-diameter portion 15 is higher than the pressure in the exhaust passage.
  • the pressure in the exhaust passage is calculated by using a map that associates the voltage induced in the detection unit 100 with the pressure in the exhaust passage, an arithmetic expression that calculates the pressure in the exhaust passage from the voltage, or the like. Can do.
  • the operation of the pressure sensor will be described with reference to FIG.
  • the cylinder 10 expands isotropically in the direction in which the diameter increases. Since the inner surfaces of the continuous portions 16 and 17 are inclined, in addition to the direction parallel to the radial direction R (that is, the direction orthogonal to the axial direction Z), the continuous portions 16 and 17 also expand in the direction parallel to the axial direction Z. To do. As described above, when the continuous portions 16 and 17 expand in the direction parallel to the radial direction R and the direction parallel to the axial direction Z, the radii of curvature of the continuous portions 16 and 17 change and it becomes easy to detect leakage of magnetic flux. .
  • the entire peripheral wall 11 is mainly subjected to tensile stress in the circumferential direction ⁇ (see FIG. 1). Thereby, the direction of magnetization (magnetic flux) of the peripheral wall portion 11 is changed, and a voltage is induced in the detection unit 100.
  • the detection unit 100 outputs an electrical signal corresponding to the induced voltage to the detection circuit.
  • the detection circuit calculates the pressure in the cylinder 10 based on the electrical signal input from the detection unit 100.
  • the detection circuit calculates the pressure in the cylinder 10 based on the electrical signal input from the detection unit 100.
  • the pressure sensor of the present embodiment the following effects can be obtained. (1) Since the cylinder 10 itself that receives the pressure of the exhaust gas that is a fluid is made of a magnetostrictive material, and the change in the direction of magnetization due to the distortion of the magnetostrictive material is detected by the detection unit 100, A change in pressure can be directly detected as compared with a sensor in which the magnetostrictive material is a separate body. Further, the peripheral wall portion 11 of the cylindrical body 10 is curved in the axial direction Z of the cylindrical body 10 (that is, the cross section of the peripheral wall portion 11 of the cylindrical body 10 by the surface including the axis of the cylindrical body 10 has a curved portion. As a result, the change in the magnetization direction in the axial direction Z when the cylindrical body 10 expands becomes large, so that the change in the magnetization direction can be easily detected.
  • the magnetic field generator 18 Since the magnetic field generator 18 generates a magnetic field including a direction parallel to the axial direction Z of the cylinder 10 as the direction of the magnetic flux, a change in the magnetization direction along the axial direction Z when the cylinder 10 is distorted. The amount can be increased. Thereby, the change in the magnetization direction along the axial direction Z of the cylindrical body 10 is easily detected in the detection unit 100.
  • a part of the peripheral wall portion 11 having a certain thickness protrudes radially inward of the cylindrical body 10 to form the small diameter portion 15, so that the peripheral wall portion 11 is curved in the axial direction Z. Therefore, compared with the case where the thickness of the peripheral wall portion 11 is changed and the inner peripheral surface of the peripheral wall portion 11 is protruded, the amount of protrusion of the peripheral wall portion 11 can be easily adjusted, so that a change in the magnetic field can be easily detected. .
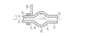
  • the cylindrical body 20 provided in the pressure sensor is provided with an introduction port 22 into which exhaust gas in the exhaust passage is introduced at one end thereof.
  • the other end of the cylindrical body 20 is closed or connected to another pipe having a closed portion.
  • the cylinder 20 is made of a magnetostrictive material.
  • the peripheral wall portion 21 of the cylindrical body 20 has a certain thickness and is curved in the axial direction Z of the cylindrical body 20.
  • the outer diameter and the inner diameter of the cylindrical body 20 change along the axial direction Z.
  • the cross section of the peripheral wall portion 21 of the cylindrical body 20 by the surface including the axis of the cylindrical body 20 has a curved portion.
  • the peripheral wall portion 21 has small diameter portions 23 and 24 having a relatively small outer diameter and inner diameter, and a large diameter portion 25 provided between the small diameter portions 23 and 24 and having a relatively large outer diameter and inner diameter.
  • a magnetic field generator 28 having the same configuration as the magnetic field generator 18 of the first embodiment is provided on the outer periphery of the cylindrical body 20.
  • a detection unit 100 is provided outside the cylindrical body 20. Specifically, the detection unit 100 is provided in the vicinity of one of the continuous units 26 and 27. Next, the operation of the pressure sensor will be described with reference to FIG. In the vicinity of the continuous portions 26 and 27, the magnetic flux density in the direction parallel to the axial direction Z is relatively increased by the magnetic flux generated from the small diameter portions 23 and 24 and the magnetic flux generated from the large diameter portion 25. For this reason, when the cylindrical body 20 made of a magnetostrictive material receives stress, the amount of change in the direction of magnetization tends to be relatively large in the vicinity of the continuous portions 26 and 27, and the change in pressure can be easily detected by the detection unit 100. Become.
  • the cylinder 20 expands isotropically in the direction of expanding the diameter.
  • the inner surface is inclined, so that in addition to the direction parallel to the radial direction R (that is, the direction orthogonal to the axial direction Z), the continuous portions 26 and 27 also expand in the direction parallel to the axial direction Z.
  • the entire peripheral wall 21 is mainly subjected to tensile stress in the circumferential direction ⁇ (see FIG. 3). Thereby, the direction of magnetization (magnetic flux) of the peripheral wall portion 21 is changed, and a voltage is induced in the detection unit 100.
  • the detection unit 100 outputs an electrical signal corresponding to the induced voltage to the detection circuit.
  • the detection circuit calculates the pressure in the cylinder 20 based on the electric signal input from the detection unit 100.
  • the effects (1) and (2) described above can be obtained, and the following effects can be further obtained.
  • a part of the peripheral wall portion 21 having a certain thickness protrudes outward in the radial direction of the cylindrical body 20 to form the large diameter portion 25, so that the peripheral wall portion 21 is curved in the axial direction Z. Therefore, compared with the case where the outer peripheral surface of the peripheral wall portion 21 is protruded by changing the thickness of the peripheral wall portion 21, the amount of protrusion of the peripheral wall portion 21 can be easily adjusted, so that a change in the magnetic field can be easily detected.
  • FIGS. 5 and 6 a pressure sensor according to a third embodiment of the present invention will be described with reference to FIGS. 5 and 6 focusing on differences from the first embodiment. Note that the basic configuration of the pressure sensor according to this embodiment is the same as that of the first embodiment, and redundant description is omitted.
  • the cylinder 30 provided in the pressure sensor is provided with an introduction port 32 into which exhaust gas in the exhaust passage is introduced at one end thereof.
  • the other end portion of the cylindrical body 30 is closed or connected to another pipe having the closed portion.
  • the cylinder 30 is made of a magnetostrictive material, and a magnetic field generator 38 having the same configuration as the magnetic field generator 18 of the first embodiment is provided on the outer periphery of the cylinder 30.
  • the peripheral wall portion 31 of the cylindrical body 30 is curved in the axial direction Z as the thickness (thickness) continuously changes along the axial direction Z.
  • the peripheral wall portion 31 includes a small-diameter portion 35 having a relatively small outer diameter, and large-diameter portions 33 and 34 that are provided on both sides of the small-diameter portion 35 and have a relatively large outer diameter. Between the small-diameter portion 35 and the large-diameter portions 33 and 34, continuous portions 36 and 37 whose outer diameters gradually increase from the small-diameter portion 35 toward the large-diameter portions 33 and 34 are provided.
  • the continuous portions 36 and 37 have inclined outer surfaces.
  • a detection unit 100 is provided outside the cylindrical body 30. Specifically, the detection unit 100 is provided in the vicinity of one of the continuous units 36 and 37. Next, the operation of the pressure sensor will be described with reference to FIG. In the vicinity of the continuous portions 36 and 37, the magnetic flux density in the direction parallel to the axial direction Z is relatively increased by the magnetic flux generated from the large diameter portions 33 and 34 and the magnetic flux generated from the small diameter portion 35. For this reason, when the cylindrical body 30 made of a magnetostrictive material is subjected to stress, the amount of change in the magnetization direction tends to be relatively large in the vicinity of the continuous portions 36 and 37, so that the pressure change is detected by the detection unit 100. It becomes easy to detect.
  • the cylinder 30 expands.
  • the entire peripheral wall 31 is mainly subjected to tensile stress in the circumferential direction ⁇ (see FIG. 5). Thereby, the direction of magnetization (magnetic flux) of the peripheral wall portion 31 is changed, and a voltage is induced in the detection unit 100.
  • the detection unit 100 outputs an electrical signal corresponding to the induced voltage to the detection circuit. Further, after the pressure in the exhaust passage increases to such an extent that the cylindrical body 30 is expanded, the cylindrical body 30 contracts when the pressure in the exhaust passage decreases.
  • the detection circuit calculates the pressure in the cylinder 30 based on the electrical signal input from the detection unit 100.
  • the peripheral wall 31 is curved in the axial direction Z because the thickness of the peripheral wall 31 is continuously changed along the axial direction Z of the cylindrical body 30. For this reason, by providing the detection unit 100 at a position where the thickness of the peripheral wall portion 31 changes, it is possible to detect a change in the magnetization direction.
  • FIGS. 7 and 8 a pressure sensor according to a fourth embodiment of the present invention will be described with reference to FIGS. 7 and 8 focusing on differences from the first embodiment. Note that the basic configuration of the pressure sensor according to this embodiment is the same as that of the first embodiment, and redundant description is omitted.
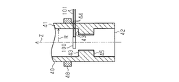
  • the cylinder 40 provided in the pressure sensor is provided with an introduction port 42 through which exhaust gas in the exhaust passage is introduced at one end thereof.
  • the other end of the cylinder 40 is closed or connected to another pipe having a closed portion.
  • a magnetic field generator 48 having the same configuration as that of the magnetic field generator 18 of the first embodiment is provided on the outer periphery of the cylindrical body 40.
  • the cylinder 40 is made of a magnetostrictive material. Further, the peripheral wall portion 41 of the cylindrical body 40 includes a stepped surface 43 that intersects the axial direction Z of the cylindrical body 40 by changing the thickness (thickness) in a stepwise manner along the axial direction Z. That is, a pair of projecting portions 45 is formed inside the peripheral wall portion 41, and one or more surfaces intersecting the axial direction Z of the projecting portions 45 become the step surface 43. The projecting amounts and shapes of both projecting portions 45 are the same, and are provided at positions that are symmetric with respect to the axial direction Z.
  • a pair of protrusions 45 are provided on the peripheral wall 41, but at least one protrusion 45 may be provided.
  • both projecting portions 45 are formed at positions 180 degrees apart from each other on the inner peripheral surface of the peripheral wall portion 41.
  • a detection unit 100 is provided inside the cylinder 40 and between the pair of protrusions 45 or in the vicinity of one of the protrusions 45. In FIG. 8, the detection unit 100 is provided between the pair of protrusions 45.
  • the detection unit 100 includes a connection line 101 that is connected to a detection circuit, and the connection line 101 is drawn to the outside through an insertion hole 44 that is formed through the peripheral wall portion 41.
  • a temperature detection unit such as a thermocouple in the vicinity of the detection unit 100. Then, it is preferable to determine whether or not the temperature detected by the temperature detection unit is within a temperature range detectable by the detection unit 100. Or you may correct
  • the magnetic flux density in the direction parallel to the axial direction Z is relatively high due to the magnetic flux generated from the protrusion 45 and the magnetic flux generated from the peripheral wall 41 other than the position where the protrusion 45 is provided.
  • the thickness of the surrounding wall part 41 including the protrusion part 45 becomes large depending on the protrusion amount of the protrusion part 45, the direction parallel to the radial direction of the peripheral wall part 41 (that is, the direction orthogonal to the axial direction Z). Stress increases.
  • the cylinder 40 expands.
  • the entire peripheral wall 41 is mainly subjected to tensile stress in the circumferential direction ⁇ .
  • the direction of magnetization (magnetic flux) of the peripheral wall 41 changes, and a voltage is induced in the detection unit 100.
  • the detection unit 100 outputs an electrical signal corresponding to the induced voltage to the detection circuit. Further, after the pressure in the exhaust passage rises to such an extent that the tubular body 40 is expanded, the tubular body 40 contracts when the pressure in the exhaust passage decreases.
  • the detection circuit calculates the pressure in the cylinder 40 based on the electrical signal from the detection unit 100.
  • the effect (2) described above can be obtained, and the following effect can be further obtained.
  • the cylinder 40 itself that receives the pressure of the exhaust gas that is a fluid is made of a magnetostrictive material, and the change in the direction of magnetization due to the distortion of the magnetostrictive material is detected by the detecting unit 100, the pressure receiving unit that receives the pressure of the fluid A change in pressure can be directly detected as compared with a sensor in which the magnetostrictive material is a separate body.
  • the stepped surface 43 intersecting the axial direction Z on the peripheral wall portion 41 of the cylindrical body 40 the change in the magnetic field in the axial direction Z when the cylindrical body 40 is distorted becomes large. It can be made easier.
  • the stepped surface 43 is formed by the thickness of the peripheral wall portion 41 changing stepwise along the axial direction Z of the cylindrical body 40. For this reason, by providing the detection unit 100 at a position where the thickness of the peripheral wall portion changes, a change in the magnetization direction can be detected.
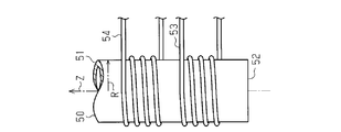
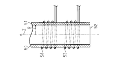
  • the cylinder 50 provided in the pressure sensor is provided with an introduction port 52 into which exhaust gas in the exhaust passage is introduced at one end thereof.
  • the other end of the cylinder 50 is closed or connected to another pipe having a closed portion.
  • the cylinder 50 is made of a magnetostrictive material whose magnetization direction changes due to stress.
  • the cylindrical body 50 is formed in a cylindrical shape, and the thickness of the peripheral wall portion 51 of the cylindrical body 50 is constant.
  • stress is generated in the circumferential direction, radial direction, and axial direction of the cylindrical magnetostrictive material in accordance with the pressure change. It is necessary to detect a change in the direction of magnetization by a detection method different from a pressure sensor using a material.
  • the excitation coil 54 and the detection coil 53 are wound around the outer periphery of the cylindrical body 50.
  • the exciting coil 54 receives a current supply to generate a magnetic field along a direction parallel to the axial direction Z of the cylindrical body 50 and increase the amount of change in the magnetization direction along the direction parallel to the axial direction Z. To do.
  • a voltage is induced in the detection coil 53 by a change in the magnetization direction of the cylindrical body 50.
  • the detection coil 53 outputs an electrical signal corresponding to the induced voltage to the detection circuit.
  • the operation of the pressure sensor will be described with reference to FIG.
  • the pressure in the cylinder 50 increases as the pressure in the exhaust passage increases, the cylinder 50 expands.
  • the entire peripheral wall 51 is mainly subjected to tensile stress in the circumferential direction ⁇ .
  • the direction of magnetization (magnetic flux) of the peripheral wall 51 changes, and a voltage is induced in the detection coil 53.
  • the detection coil 53 outputs an electrical signal corresponding to the induced voltage to the detection circuit.
  • the cylindrical body 50 contracts when the pressure in the exhaust passage decreases.
  • the detection circuit calculates the pressure in the cylinder 50 based on the electrical signal from the detection coil 53.
  • the pressure sensor of the present embodiment the following effects can be obtained. (8)
  • the cylinder 50 is distorted in the radial direction with the change in the pressure of the exhaust gas that is a fluid, the change in the magnetic field due to the distortion of the cylinder 50 can be detected by the detection coil 53. For this reason, a change in pressure of the fluid can be directly detected.
  • each embodiment described above can also be carried out in the following manner.
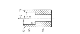
  • the outer peripheral surface of the peripheral wall portion 61 of the cylindrical body 60 having the introduction port 62.
  • a protrusion 64 having a step surface 65 that intersects the axial direction Z of the cylindrical body 60 may be provided on 63.
  • the protrusion 64 may be provided in a part of the circumferential direction ⁇ of the outer circumferential surface 63 or may be provided over the entire circumference of the outer circumferential surface 63.
  • the protrusion part 45 of 4th Embodiment may also be provided over the perimeter in the internal peripheral surface of the surrounding wall part 41.
  • a magnetic field generation unit that generates a magnetic field including a direction in which the direction of magnetic flux is parallel to the axial direction Z of the cylindrical body 60 may be provided on the outer periphery of the cylindrical body 60.
  • a stepped surface 74 may be formed between them. Since the thickness of the peripheral wall portion 71 of the cylindrical body 70 changes stepwise along the axial direction Z of the cylindrical body 70, the peripheral wall portion 71 of the cylindrical body 70 is bent in the axial direction Z of the cylindrical body 70. ing. In this case, in the vicinity of the stepped surface 74, the amount of change in the magnetization direction in the direction parallel to the axial direction Z can be increased.
  • a magnetic field generation unit that generates a magnetic field including a direction in which the direction of magnetic flux is parallel to the axial direction Z of the cylindrical body 70 may be provided on the outer periphery of the cylindrical body 70.
  • tapered surfaces may be provided on both sides in the axial direction of the protruding portion 45, and the protruding portion 45 and the inner peripheral surface of the peripheral wall portion 41 may be connected by the tapered surface. That is, the step surface 43 in FIG. 7 may intersect the axial direction Z of the cylinder 40 non-perpendicularly instead of intersecting the axial direction Z of the cylinder 40 perpendicularly.
  • the cylindrical body 40 is provided with a pair of protrusions 45 having the same protrusion amount, and the detection unit 100 is disposed between the protrusions 45.
  • the detection unit 100 may be disposed between the protrusions 45.
  • only one projecting portion may be provided inside the peripheral wall portion 41, and the detection unit may be disposed on the projecting portion.
  • a pair of protrusions having different protrusion amounts may be formed inside the peripheral wall part 41, and the detection unit 100 may be provided on both protrusions.
  • one detection unit 100 provided on a projection having a large projection amount may be used as a reference detection unit.
  • the pressure change may be detected from the difference between the value detected by the other detection unit 100 provided on the projection having a small projection amount and the value detected by the reference detection unit 100. .
  • a temperature detection unit such as a thermocouple is provided in the vicinity of the detection unit 100 as in the fourth embodiment. May be. This is because even when the detection unit 100 is disposed outside the cylinder, the detection unit 100 may be placed in a high-temperature environment. Then, it is preferable to determine whether or not the temperature detected by the temperature detection unit is within a temperature range detectable by the detection unit 100. Or you may correct
  • a plurality of magnetic field generators 18, 28, 38, 48 may be provided on the cylinder 10.
  • magnets 81 and 82 may be provided on both sides of the cylinder 80 on the outside of the cylinder 80.
  • the magnet 81 is an N-pole magnet
  • the magnet 82 is an S-pole magnet
  • the magnets 81 and 82 generate a magnetic field in a direction 83 perpendicular to the axis of the cylindrical body 80.
  • the peripheral wall portion of the cylindrical body 80 is curved or bent in the axial direction of the cylindrical body 80. Even if it does in this way, since the change of the magnetic field of the cylinder 80 becomes large, it can make it easy to detect the change of a magnetic field.
  • the magnetic field generator that generates the magnetic field in the direction 83 perpendicular to the axis of the cylinder 80 may have a configuration other than the magnets 81 and 82 such as a semicircular magnet.
  • the magnetic field generator generates a magnetic field along the axial direction of the cylinder.
  • the magnetic field generation unit may generate a magnetic field along the circumferential direction of the cylindrical body.
  • the magnetic field generation unit that generates a magnetic field in the axial direction of the cylinder is provided.
  • the magnetic field generator may be omitted.
  • the peripheral wall portion of the cylindrical body is curved in the axial direction of the cylindrical body.
  • the peripheral wall portion of the cylindrical body is bent in the axial direction of the cylindrical body. May be. That is, the peripheral wall portion of the cylinder may have a bent portion in a cross section by a surface including the axis of the cylinder, or a portion where the thickness changes stepwise along the axis of the cylinder. You may have.
  • FIG. 14 shows another embodiment of the pressure sensor.
  • This pressure sensor is cylindrical and includes a cylindrical body 90 having a constant outer diameter and inner diameter.
  • the cylindrical body 90 is made of a magnetostrictive material.
  • the exhaust gas in the exhaust passage is introduced into the cylindrical body 90 from one end thereof.
  • the other end of the cylindrical body 90 is closed or connected to another pipe having a closed portion.
  • the pressure in the cylinder 90 increases as the pressure in the exhaust passage increases, the cylinder 90 expands in the direction of expanding the diameter.
  • the entire cylindrical body 90 is mainly subjected to a tensile stress in the circumferential direction. Thereby, the direction of magnetization (magnetic flux) of the cylindrical body 90 changes, and a voltage is induced in the detection unit 100.
  • the detection unit 100 outputs an electrical signal corresponding to the induced voltage to a detection circuit (not shown).
  • a pressure sensor comprising a cylindrical body formed of a magnetostrictive material and deformed in accordance with a change in pressure of a fluid flowing inside, and a detection coil wound around the outer peripheral surface of the cylindrical body.

Landscapes

  • Physics & Mathematics (AREA)
  • General Physics & Mathematics (AREA)
  • Electromagnetism (AREA)
  • Measuring Fluid Pressure (AREA)
PCT/JP2016/059021 2015-03-23 2016-03-22 圧力センサ Ceased WO2016152868A1 (ja)

Priority Applications (3)

Application Number Priority Date Filing Date Title
JP2017508364A JPWO2016152868A1 (ja) 2015-03-23 2016-03-22 圧力センサ
EP16768771.4A EP3276323B1 (en) 2015-03-23 2016-03-22 Pressure sensor
US15/559,868 US10571350B2 (en) 2015-03-23 2016-03-22 Pressure sensor

Applications Claiming Priority (2)

Application Number Priority Date Filing Date Title
JP2015-059882 2015-03-23
JP2015059882 2015-03-23

Publications (1)

Publication Number Publication Date
WO2016152868A1 true WO2016152868A1 (ja) 2016-09-29

Family

ID=56978495

Family Applications (1)

Application Number Title Priority Date Filing Date
PCT/JP2016/059021 Ceased WO2016152868A1 (ja) 2015-03-23 2016-03-22 圧力センサ

Country Status (4)

Country Link
US (1) US10571350B2 (enExample)
EP (1) EP3276323B1 (enExample)
JP (2) JPWO2016152868A1 (enExample)
WO (1) WO2016152868A1 (enExample)

Families Citing this family (1)

* Cited by examiner, † Cited by third party
Publication number Priority date Publication date Assignee Title
GB2550967A (en) * 2016-06-03 2017-12-06 Brandenburg (Uk) Ltd Sensing of objects

Citations (1)

* Cited by examiner, † Cited by third party
Publication number Priority date Publication date Assignee Title
JPH06180262A (ja) * 1992-12-11 1994-06-28 Yaskawa Electric Corp 磁歪式歪センサ

Family Cites Families (6)

* Cited by examiner, † Cited by third party
Publication number Priority date Publication date Assignee Title
US2887882A (en) * 1956-05-11 1959-05-26 Sperry Rand Corp Pressure-voltage transducing element
JPS6022287B2 (ja) * 1980-07-17 1985-06-01 松下電器産業株式会社 圧力センサ
US5165284A (en) * 1990-04-05 1992-11-24 Matsushita Electric Industrial Co., Ltd. Pressure sensor utilizing a magnetostriction effect
JPH04184233A (ja) 1990-11-19 1992-07-01 Matsushita Electric Ind Co Ltd 圧力センサ
SE528398C2 (sv) 2005-09-05 2006-11-07 Abb Ab Anordning för mätning av trycket i en gas och dess användning
GB0609519D0 (en) 2006-05-12 2006-06-21 Delphi Tech Inc Fuel injector

Patent Citations (1)

* Cited by examiner, † Cited by third party
Publication number Priority date Publication date Assignee Title
JPH06180262A (ja) * 1992-12-11 1994-06-28 Yaskawa Electric Corp 磁歪式歪センサ

Also Published As

Publication number Publication date
US10571350B2 (en) 2020-02-25
JP6568262B2 (ja) 2019-08-28
EP3276323A1 (en) 2018-01-31
EP3276323B1 (en) 2020-04-29
US20180058966A1 (en) 2018-03-01
EP3276323A4 (en) 2018-11-14
JP2018124291A (ja) 2018-08-09
JPWO2016152868A1 (ja) 2017-12-07

Similar Documents

Publication Publication Date Title
CN102918364B (zh) 确定通过测量管的介质的流量的方法
CN107850570B (zh) 缺陷测定方法、缺陷测定装置及检查探头
JP5684442B2 (ja) 磁気センサ装置
US9587996B2 (en) Machine element and arrangement for measuring a force or a moment as well as a method for producing the machine element
JP2012008108A (ja) 電磁流量計
JP2011510326A5 (enExample)
KR20100089767A (ko) 측정 장치
JP6483778B1 (ja) 磁歪式トルク検出センサ
JP2016095279A (ja) 電磁流量計
US20170370784A1 (en) Arrangement for measuring a force or a torque, using at least four magnetic sensors
JP6568262B2 (ja) 圧力センサ
JP2005037264A (ja) 力検出センサ
CN109813209B (zh) 一种管箍检测器
CN107923732B (zh) 接近传感器
JP2005351750A (ja) 軸部材のねじれトルクセンサ及びその製造方法
US11821870B2 (en) Defect measurement device, defect measurement method, and inspection probe
JP2001083025A (ja) トルク検出装置
WO2023037664A1 (ja) スケール厚さの計測方法
JP6286613B2 (ja) 圧力センサ
JP6636849B2 (ja) 圧力センサ
US20220003713A1 (en) Defect measurement method, defect measurement device, and testing probe
JP2009121862A (ja) 力センサ
JP4781864B2 (ja) 液体酸素検知装置
JP2002257791A (ja) コイル型磁気センサ及び検査ピグ
WO2017183492A1 (ja) 圧力センサ

Legal Events

Date Code Title Description
121 Ep: the epo has been informed by wipo that ep was designated in this application

Ref document number: 16768771

Country of ref document: EP

Kind code of ref document: A1

ENP Entry into the national phase

Ref document number: 2017508364

Country of ref document: JP

Kind code of ref document: A

WWE Wipo information: entry into national phase

Ref document number: 15559868

Country of ref document: US

NENP Non-entry into the national phase

Ref country code: DE

REEP Request for entry into the european phase

Ref document number: 2016768771

Country of ref document: EP