WO2016152436A1 - 組立玩具 - Google Patents
組立玩具 Download PDFInfo
- Publication number
- WO2016152436A1 WO2016152436A1 PCT/JP2016/056555 JP2016056555W WO2016152436A1 WO 2016152436 A1 WO2016152436 A1 WO 2016152436A1 JP 2016056555 W JP2016056555 W JP 2016056555W WO 2016152436 A1 WO2016152436 A1 WO 2016152436A1
- Authority
- WO
- WIPO (PCT)
- Prior art keywords
- block
- toy
- plane
- female
- male
- Prior art date
- Legal status (The legal status is an assumption and is not a legal conclusion. Google has not performed a legal analysis and makes no representation as to the accuracy of the status listed.)
- Ceased
Links
Images
Classifications
-
- A—HUMAN NECESSITIES
- A63—SPORTS; GAMES; AMUSEMENTS
- A63H—TOYS, e.g. TOPS, DOLLS, HOOPS OR BUILDING BLOCKS
- A63H33/00—Other toys
- A63H33/04—Building blocks, strips, or similar building parts
- A63H33/06—Building blocks, strips, or similar building parts to be assembled without the use of additional elements
- A63H33/08—Building blocks, strips, or similar building parts to be assembled without the use of additional elements provided with complementary holes, grooves, or protuberances, e.g. dovetails
- A63H33/084—Building blocks, strips, or similar building parts to be assembled without the use of additional elements provided with complementary holes, grooves, or protuberances, e.g. dovetails with grooves
-
- A—HUMAN NECESSITIES
- A63—SPORTS; GAMES; AMUSEMENTS
- A63H—TOYS, e.g. TOPS, DOLLS, HOOPS OR BUILDING BLOCKS
- A63H3/00—Dolls
- A63H3/16—Dolls made of parts that can be put together
-
- A—HUMAN NECESSITIES
- A63—SPORTS; GAMES; AMUSEMENTS
- A63H—TOYS, e.g. TOPS, DOLLS, HOOPS OR BUILDING BLOCKS
- A63H33/00—Other toys
- A63H33/04—Building blocks, strips, or similar building parts
- A63H33/06—Building blocks, strips, or similar building parts to be assembled without the use of additional elements
- A63H33/067—Building blocks, strips, or similar building parts to be assembled without the use of additional elements with rotation or translation, e.g. of keyhole or bayonet type
-
- A—HUMAN NECESSITIES
- A63—SPORTS; GAMES; AMUSEMENTS
- A63H—TOYS, e.g. TOPS, DOLLS, HOOPS OR BUILDING BLOCKS
- A63H33/00—Other toys
- A63H33/04—Building blocks, strips, or similar building parts
- A63H33/06—Building blocks, strips, or similar building parts to be assembled without the use of additional elements
- A63H33/08—Building blocks, strips, or similar building parts to be assembled without the use of additional elements provided with complementary holes, grooves, or protuberances, e.g. dovetails
-
- A—HUMAN NECESSITIES
- A63—SPORTS; GAMES; AMUSEMENTS
- A63H—TOYS, e.g. TOPS, DOLLS, HOOPS OR BUILDING BLOCKS
- A63H33/00—Other toys
- A63H33/04—Building blocks, strips, or similar building parts
- A63H33/06—Building blocks, strips, or similar building parts to be assembled without the use of additional elements
- A63H33/08—Building blocks, strips, or similar building parts to be assembled without the use of additional elements provided with complementary holes, grooves, or protuberances, e.g. dovetails
- A63H33/088—Building blocks, strips, or similar building parts to be assembled without the use of additional elements provided with complementary holes, grooves, or protuberances, e.g. dovetails with holes
-
- B—PERFORMING OPERATIONS; TRANSPORTING
- B43—WRITING OR DRAWING IMPLEMENTS; BUREAU ACCESSORIES
- B43K—IMPLEMENTS FOR WRITING OR DRAWING
- B43K21/00—Propelling pencils
- B43K21/006—Pencil-barrels
Definitions
- This invention relates to an assembled toy.
- Patent Document 1 describes a block assembly toy that three-dimensionally forms various shapes by alternately engaging concave portions and convex portions of a plurality of substantially cubic blocks having irregularities on six surfaces. ing.
- the convex portion and the concave portion formed on each of the six surfaces of the block are configured as a male portion and a female portion for connecting the blocks to each other.
- This invention is made in order to solve such a problem, and provides the assembly toy which can connect the connection surfaces of the some toy block which has a male part and a female part on at least one surface at various angles. Objective.
- an assembled toy includes a first toy block and a second toy block that can be coupled to each other, and each of the toy blocks includes at least one plane and a plane.
- a male part extending vertically and a female part vertically recessed in a direction opposite to the protruding direction of the male part from the plane, the male part and the female part being provided on the same circumference on the plane.
- the male part of the first toy block is detachably fitted to the female part of the second toy block, and the male part of the second toy block is detachably fitted to the female part of the first toy block.
- the first toy block is movable with respect to the second toy block while maintaining the state in which the first toy block and the second toy block are connected to each other. May be.
- the male part of the toy block of the assembled toy according to the present invention has a columnar convex part protruding from the plane
- the female part has a concave part formed in an arcuate belt shape on the plane
- the convex portion can be fitted to the concave portion of the female portion in the width direction of the concave portion, and the first toy block and the second toy block are held while the first toy block and the second toy block are connected to each other.
- the first toy block may rotate with respect to the second toy block by moving the convex part of each male part of the second toy block along the concave part of each female part.
- the male part and the female part may be alternately arranged on the same circumference. Furthermore, the male part and the female part may be arranged by repeatedly arranging at least one male part and a plurality of female parts larger than the male part on the same circumference.
- the connecting surfaces of a plurality of toy blocks having a male part and a female part on at least one surface can be connected at various angles.
- FIG. 1 It is a perspective view which shows the small pipe type block which is an example of the toy block of the assembly toy which concerns on embodiment of this invention, and is a figure which shows a mode that two small pipe type blocks are combined.
- FIG. 1 It is a top view which shows the detailed shape of the 1st plane of the small pipe type block shown in FIG.
- FIG. 1 It is a front view of the small pipe type block shown in FIG.
- FIG. is a rear view of the small pipe type block shown in FIG.
- FIG. 1 It is a right view of the small pipe type block shown in FIG.
- FIG. 3B is a cross-sectional view of the small pipe block shown in FIG. 1 along the line AA shown in FIG. 3E.
- FIG. 3B is a cross-sectional view of the small pipe block shown in FIG. 1 along the line BB shown in FIG. 3E.
- It is a reference perspective view of the small pipe type block shown in FIG.
- It is a perspective view which shows the middle pipe type block which is an example of the toy block of the assembly toy concerning embodiment of this invention, and is a figure which shows a mode that two middle pipe type blocks are combined.
- It is a front view of the middle pipe type block shown in FIG.
- It is a rear view of the middle pipe type block shown in FIG.
- It is a left view of the middle pipe type block shown in FIG.
- FIG. 5B is a cross-sectional view of the middle pipe type block shown in FIG. 4 along the line AA shown in FIG. 5E.
- FIG. 5B is a cross-sectional view of the middle pipe type block shown in FIG. 4 along the line BB shown in FIG. 5E.
- It is a reference perspective view of the middle pipe type block shown in FIG. It is a perspective view which shows the large pipe type block which is an example of the toy block of the assembly toy which concerns on embodiment of this invention, and is a figure which shows a mode that two large pipe type blocks are combined.
- FIG. 7B is a cross-sectional view of the large pipe block shown in FIG. 6 along the line AA shown in FIG. 7E.
- FIG. 7B is a cross-sectional view of the large pipe block shown in FIG. 6 along the line BB shown in FIG. 7E.
- FIG. 7B is a cross-sectional view of the large pipe block shown in FIG.
- FIG. 7 is a reference perspective view of the large pipe type block shown in FIG. 6. It is a figure which shows a mode that three small pipe type blocks shown in FIG. It is a figure which shows a mode that the small pipe type block shown in FIG. 1 and the large pipe type block shown in FIG. 6 were combined. It is a perspective view which shows the middle reducer type
- FIG. 10B is a plan view of the medium reducer block shown in FIG. 10A.
- FIG. 10B is a bottom view of the middle reducer block shown in FIG. 10A.
- FIG. 11B is a plan view of the middle cap block shown in FIG. 11A.
- FIG. 11B is a bottom view of the middle cap block shown in FIG. 11A.
- FIG. 14A It is a perspective view which shows the small cheese type
- FIG. 16A It is a perspective view which shows the example of the combination at the time of couple
- FIG. 16B is a perspective view of the face portion of the bear doll shown in FIG. 16A.
- FIG. 16B is a side view of the face portion of the bear doll shown in FIG. 16A.
- FIG. 16B is an exploded view of the face portion of the bear doll shown in FIG. 16A.
- FIG. 16B shows the example which applied the use of the toy block of the assembled toy concerning embodiment of this invention as miscellaneous goods.
- It is a perspective view which shows the example of the aspect of the assembly of the toy block of the assembly toy which concerns on embodiment of this invention by displacement illustration.
- FIG. 20B is a side view showing another block to which the toy block according to the embodiment of the present invention is coupled in the assembly mode shown in FIG. 20A.
- FIG. 20A is a perspective view which shows the toy block of the assembly toy shown as another example of this invention, and is a figure which shows a mode that two toy blocks are couple
- FIG. 20A is a perspective view which shows the toy block of the assembly toy shown as another example of this invention, and is a figure which shows a mode that two toy blocks are couple
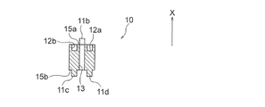
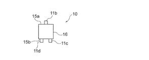
- a small pipe type block 10 as a toy block of an assembled toy will be described with reference to FIGS. 3A is symmetrical with the rear view of FIG. 3B, and the left side view of FIG. 3C is symmetric with the right side view of FIG. 3D.
- a small pipe type block 10 as a first toy block has a cylindrical portion 16 having a substantially cylindrical shape. At both ends of the cylindrical portion 16, a circular first plane 15a and a second plane 15b are formed in parallel to each other.
- a through hole 13 is formed in the central portion of the first plane 15 a and extends in the axial direction of the small pipe block 10.
- male portions 11a and 11b which are a pair of cylindrical convex portions, protrude perpendicularly from the first plane 15a and extend at positions symmetrical with respect to the through hole 13.
- the protruding direction in which the male part protrudes perpendicularly to the first plane is defined as the X direction positive side
- the direction opposite to the X direction positive side is defined as the X direction negative side.
- a pair of female portions 12a and 12b are formed between the male portion 11a and the male portion 11b at symmetrical positions with the through hole 13 therebetween.
- the female portion 12a is a concave portion having a shape in which semicircular semicircular portions 122 and 123 are connected to both ends of a strip-shaped portion 121 that is an arc-shaped elongated strip shape, It is recessed from the first plane 15a vertically toward the X direction negative side.
- the female portion 12b is a concave portion having a shape in which the semicircular portions 125 and 126 are connected to both ends of the belt-like portion 124, which is an arc-shaped elongated belt shape, and is formed to be depressed on the negative side in the X direction.
- the pair of female portions 12a and 12b are formed as arc-shaped belt-like grooves on the first plane 15a.
- the length in the width direction of the female portions 12a and 12b is substantially the same as the diameter of the male portions 11a and 11b.
- the male portions 11a and 11b and the female portions 12a and 12b are provided so as to be arranged on the same circumference.
- the second plane 15b has the same shape as the first plane 15a. That is, a pair of male parts 11c, 11d and a pair of female parts 12c, 12d having the same shape as the male parts 11a, 11b and female parts 12a, 12b of the first plane 15a are also formed on the second plane 15b.
- the female portions 12c and 12d are formed so as to be vertically recessed from the second plane 15b on the X direction positive side opposite to the X direction negative side, which is the protruding direction of the male portions 11c and 11d.
- the male portions 11c and 11d and the female portions 12c and 12d are provided so as to be arranged on the same circumference. As shown in FIGS.
- the positions of the male portions 11a and 11b and the female portions 12a and 12b of the first plane 15a and the male portions 11c and 11d and the female portions 12c and 12d of the second plane 15b are as follows.
- the 90 ° phases are different from each other.
- the other small pipe type block 10 ′ to be coupled with the small pipe type block 10 includes a flat surface 15 c in which male parts 11 e and 11 f and female parts 12 e and 12 f are formed, as in the small pipe type block 10. . Therefore, when the small pipe type block 10 is coupled to another small pipe type block 10 ′, the male portions 11c and 11d of the second plane 15b of the small pipe type block 10 are respectively connected to the other small pipe type block 10 ′. Engage with the female portions 12e and 12f of the flat surface 15c.
- the length in the width direction of the female portions 12e and 12f of the plane 15c of the other small pipe type block 10 ′ is substantially the same as the diameter of the male portions 11c and 11d of the second plane 15b of the small pipe type block 10. is there. Therefore, the male parts 11c and 11d of the small pipe type block 10 are fitted so as not to easily come out unless the tensile force is intentionally applied to the female parts 12e and 12f of the other small pipe type blocks 10 ′. Combined and attached.
- the male portions 11c and 11d of the small pipe type block 10 are circular in the circumferential direction along the female portions 12e and 12f while being fitted to the female portions 12e and 12f of the other small pipe type blocks 10 ′. It can move in an arc.
- the male parts 11e and 11f of the plane 15c of the other small pipe type block 10 ′ are also connected to the second part of the small pipe type block 10 in the same manner as the engagement between the male parts 11c and 11d and the female parts 12e and 12f. It is engaged with the female portions 12c and 12d of the flat surface 15b.
- the length in the width direction of the female portions 12c and 12d of the second flat surface 15b of the small pipe type block 10 is also substantially the same as the diameter of the male portions 11e and 11f of the flat surface 15c of the other small pipe type block 10 ′.
- the male portions 11e and 11f of the other small pipe type block 10 ′ are circularly arranged in the circumferential direction along the female portions 12c and 12d while being fitted to the female portions 12c and 12d of the small pipe type block 10. It can move in an arc. Therefore, the small pipe type block 10 and the other small pipe type block 10 'can be rotated with each other as shown by the arrows in FIG. That is, the small pipe type block 10 can change a connection position suitably with respect to the plane 15c of other small pipe type blocks 10 '. In addition, when the small pipe type block 10 and other small pipe type block 10 'couple
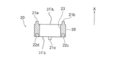
- the middle pipe type block 20 as a toy block of the assembled toy will be described.
- 5A is symmetrical with the rear view of FIG. 5B
- the left side view of FIG. 5C is symmetric with the right side view of FIG. 5D.
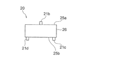
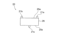
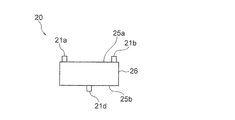
- the middle pipe type block 20 as the first toy block has a cylindrical portion 26 having a substantially cylindrical shape.
- a first plane 25a and a second plane 25b which are substantially annular planes, are formed in parallel to each other. That is, the outer peripheries of the first plane 25a and the second plane 25b are circular.
- mold block 20 is larger than the magnitude
- a circular opening 23 is formed in the central portion of the first plane 25a.
- male portions 21a and 21b which are a pair of cylindrical convex portions, protrude and extend in the X direction positive side at positions symmetrical to each other with the opening 23 therebetween.
- a pair of female portions 22a and 22b which are arc-shaped elongated strip-shaped recesses extending along the shape of the first flat surface 25a, are formed between the pair of male portions 21a and 21b. That is, the male parts 21a and 21b and the female parts 22a and 22b are provided so as to be arranged on the same circumference.
- female part 22a, 22b is extended toward the X direction negative side with respect to the 1st plane 25a, and is formed.
- the second plane 25b has the same shape as the first plane 25a.
- a pair of male parts 21c, 21d and a pair of female parts 22c, 22d having the same shape as the male parts 21a, 21b and female parts 22a, 22b of the first plane 25a are formed on the second plane 25b.
- the male parts 21c and 21d and the female parts 22c and 22d are also provided so as to be arranged on the same circumference.
- the positions of the male portions 21a, 21b and female portions 22a, 22b of the first plane 25a and the male portions 21c, 21d and female portions 22c, 22d of the second plane 25b are different from each other by 90 °.
- middle pipe type block 20 is detachably coupled to another middle pipe type block 20 'which is a second toy block having a similar structure.
- the other middle pipe type block 20 ′ to be coupled with the middle pipe type block 20 is provided with a flat surface 25 c on which male parts 21 e and 21 f and female parts 22 e and 22 f are formed, like the middle pipe type block 20. . Therefore, when the middle pipe type block 20 is joined to another middle pipe type block 20 ′, the male portions 21c and 21d of the second plane 25b of the middle pipe type block 20 are respectively the planes of the other middle pipe type block 20 ′. It is engaged with the female portions 22e and 22f of 25c.
- the male parts 21c and 21d of the middle pipe type block 20 do not apply a constant tensile force to the female parts 22e and 22f of the other middle pipe type blocks 20 ′. They are fitted so that they are not easily removed.
- the male parts 21c and 21d of the middle pipe type block 20 are arcuate along the extending direction of the female parts 22e and 22f while being fitted to the female parts 22e and 22f of the other middle pipe type block 20 ′. Can be moved to.
- the male parts 21e and 21f of the other middle pipe type block 20 ′ are also difficult to come out unless a certain pulling force is applied to the female parts 22c and 22d of the middle pipe type block 20, and along the female parts 22c and 22d. Can move in an arc shape in the circumferential direction. Accordingly, the middle pipe type block 20 and the other middle pipe type block 20 'can be rotated with each other while being connected after being joined. That is, the connecting position of the middle pipe type block 20 can be appropriately changed with respect to the plane 25c of the other middle pipe type block 20 '.
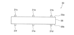
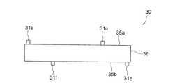
- the large pipe type block 30 which is the first toy block has an annular portion 36 having a substantially annular shape.
- a substantially annular first plane 35a and a second plane 35b are formed at both ends of the annular portion 36 in parallel with each other. That is, the outer peripheries of the first plane 35a and the second plane 35b are circular.
- the outer diameter of the first plane 35a or the second plane 35b of the large pipe block 30 is larger than the outer diameter of the first plane 25a or the second plane 25b of the middle pipe block 20.
- the male portions 31a, 31b, and 31c which are three cylindrical convex portions, are provided 120 degrees apart from each other and extend so as to protrude to the positive side in the X direction. Further, between the male portions 31a, 31b, and 31c, three female portions 32a, 32b, and 33c, which are concave portions having an arcuate elongated strip shape, are formed. As shown in FIGS. 7G to 7I, the female portions 32a, 32b, and 33c are formed to be depressed toward the negative side in the X direction with respect to the first plane 25a.
- the second plane 35b has the same shape as the first plane 35a.
- three male parts 31d, 31e, 31f and three females having the same shape as the male parts 31a, 31b, 31c and the female parts 32a, 32b, 32c of the first plane 35a are provided on the second plane 35b.
- Portions 32d, 32e, and 32f are formed. That is, the male portions 31d, 31e, 31f and the female portions 32d, 32e, 32f are also provided so as to be arranged on the same circumference.
- the positions of the male portions 31a, 31b, 31c and the female portions 32a, 32b, 32c of the first plane 35a and the male portions 31d, 31e, 31f and the female portions 32d, 32e, 32f of the second plane 35b are 180 mutually. ° The phase is different.
- the other large pipe type block 30 ′ coupled to the large pipe type block 30 is similar to the large pipe type block 30 in that a plane 35 c on which male parts 31 g, 31 h, 31 i and female parts 32 g, 32 h, 32 i are formed. It has. Accordingly, when the large pipe type block 30 is coupled to another large pipe type block 30 ′, the male portions 31d, 31e, 31f of the second plane 35b of the large pipe type block 30 are respectively connected to the other large pipe type block 30 ′.
- the male parts 31d, 31e, 31f of the large pipe type block 30 are replaced with the female parts 32g, 32h, 32i of the other large pipe type block 30 ′.
- the male portions 31d, 31e, 31f of the large pipe type block 30 follow the female portions 32g, 32h, 32i while being fitted to the female portions 32g, 32h, 32i of the other large pipe type blocks 30 ′. Can move in an arc shape in the circumferential direction.
- the male portions 31g, 31h, 31i of the plane 35c of the other large pipe type block 30 ' are fitted into the female portions 32d, 32e, 32f of the second plane 35b of the large pipe type block 30, respectively.
- the male parts 31g, 31h, 31i of the other large pipe type block 30 ′ are also difficult to be removed from the female parts 32d, 32e, 32f of the large pipe type block 30, and are circumferential along the female parts 32d, 32e, 32f. Can be moved in an arc. Accordingly, the large pipe block 30 and the other large pipe block 30 'can be rotated together while being connected after being joined. That is, the connecting position of the large pipe type block 30 can be appropriately changed with respect to the plane 35c of the other large pipe type block 30 '.
- the method of connecting the small pipe type block 10, the medium pipe type block 20, and the large pipe type block 30 is not limited to the above-described method of connecting toy blocks of the same type one by one. That is, as shown in FIG. 8, the center positions of the three small pipe-type blocks 10 are shifted, and the male part and the female part are engaged with each other. These two small pipe-type blocks 10 can be combined. Further, as shown in FIG. 9, the small pipe type block 10 can be coupled to one plane of the large pipe type block 30. 8 and FIG. 9, the small pipe type block 10 and the middle pipe type block 20 may be connected, and the middle pipe type block 20 and the large pipe type block 30 may be connected. It may be connected.
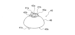
- the medium reducer type block 40 has a small-diameter flat surface 45a whose outer periphery is circular at one end, and a large-diameter flat surface 45b whose outer diameter is larger than the small-diameter flat surface 45a and has a circular outer periphery at the other end.
- the small-diameter flat surface 45a has the same structure as the first flat surface 15a or the second flat surface 15b of the small pipe-type block 10, and male portions 41a and 41b that are a pair of substantially cylindrical convex portions.
- the large-diameter plane 45b has a substantially annular shape having a structure similar to that of the first plane 25a or the second plane 25b of the middle pipe-type block 20, and has a pair of cylindrical projections.
- the male parts 41c and 41d extend so as to protrude perpendicularly to the large-diameter plane 45b
- the female parts 42c and 42d are perpendicular to the protruding direction of the male parts 41c and 41d with respect to the large-diameter plane 45b. It is formed in a hollow.
- the side surface 46 of the middle reducer block 40 has a smooth substantially dome shape extending from the small-diameter plane 45a toward the large-diameter plane 45b.
- the small pipe type block 10 can be connected to the small diameter plane 45a of the medium reducer type block 40, and the medium pipe type block 20 can be connected to the large diameter plane 45b. That is, the small pipe type block 10 and the medium pipe type block 20 having different diameters are smoothly connected via the medium reducer type block 40.
- the middle cap type block 50 as a toy block will be described with reference to FIGS. 11A to 11C.
- the middle cap type block 50 has an annular flat surface 55a at one end and a circular flat surface 55b at the other end.
- the annular plane 55a has the same structure as the first plane 25a or the second plane 25b of the middle pipe-type block 20, and has a pair of male convex portions 51a and 51b that are cylindrical projections and a pair of arc-shaped strips. It has female parts 52a and 52b which are recessed parts.
- the male parts 51a and 51b extend perpendicularly to the annular plane 55a, and the female parts 52a and 52b are perpendicular to the direction opposite to the protruding direction of the male parts 51a and 51b with respect to the annular plane 55a.
- a depression is formed.
- two holes 58 are formed in the center portion of the middle cap type block 50.
- the small elbow-type (90-degree) block 60a in FIG. 12A has a tube shape curved by 90 degrees, and a male portion having a structure similar to that of the first flat surface 15a or the second flat surface 15b of the small pipe-type block 10 is provided at both ends.
- the planes 65a and 65b which have a female part are formed. That is, the planes 65a and 65b are arranged in different directions that form 90 degrees with each other. Further, the small elbow type (45 degrees) block 60b shown in FIG.
- the 12B is shorter in length than the small elbow type (90 degrees) block 60a and has a tube shape curved by 45 degrees.
- planes 65c and 65d having male and female parts having the same structure as the first plane 15a or the second plane 15b of the small pipe type block 10 are formed. . That is, the plane 65c and the plane 65d are arranged so as to extend in different directions at 45 degrees.
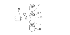
- the toy block shown in FIG. 13A is a small cheese block 70, in which a cylindrical portion 70a and another cylindrical portion 70b are combined at a right angle, and a part of the cylindrical portion 70b is embedded in the center of the cylindrical portion 70a.
- a first plane 75a and a second plane 75b arranged in parallel with each other are formed at both ends of the cylindrical portion 70a.
- a third plane 75c is formed at the end of the cylindrical portion 70b. That is, the first plane 75a or the second plane 75b and the third plane 75c are arranged in different directions that form 90 degrees with each other.
- the first plane 75a, the second plane 75b, and the third plane 75c have a male part and a female part having the same structure as the first plane 15a or the second plane 15b of the small pipe-type block 10.
- the toy block shown in FIG. 13B is a small cross type (180 degrees) block 80, and a cylindrical portion 80a and another cylindrical portion 80b are combined at right angles with each other at a central portion to form a cross shape.
- Flat surfaces 85a and 85b are formed at both ends of the cylindrical portion 80a, and flat surfaces 85c and 85d are formed at both ends of the cylindrical portion 80b. That is, the planes 85a and 85b of the cylindrical portion 80a and the planes 85c and 85d of the cylindrical portion 80b are arranged in different directions that form 90 degrees with each other.
- the planes 85 a, 85 b, 85 c, 85 d of the small cross type (180 degrees) block 80 have male and female parts having the same structure as the first plane 15 a or the second plane 15 b of the small pipe type block 10. is doing.
- the toy block shown in FIG. 13C is a medium cross type (90 degrees) block 90, and two toy blocks are spaced 90 degrees from each other on the outer peripheral surface of the annular portion 90a having the same structure as the middle pipe type block 20.
- Cylindrical portions 90b and 90c are provided.
- planes 95a and 95b having a male part and a female part having the same structure as the first plane 25a or 25b of the middle pipe block 20 are formed.
- flat surfaces 95c and 95d having male and female portions having the same structure as the first flat surface 15a or 15b of the small pipe-type block 10 are formed at the respective end portions of the cylindrical portions 90b and 90c. That is, the plane 95a, the plane 95b, and the planes 95c and 95d are arranged in different directions that form 90 degrees with each other.
- the large cap type (subspecies) block 100 is a substantially dish-shaped toy block, and has an annular plane 105a on one surface and a bottom plane 105b surrounded by the annular plane 105a.
- the opposite surface of the bottom flat surface 105 b is the lid surface 107.
- the annular plane 105a has the same shape as the first plane 35a or the second plane 35b of the large pipe block 30, and has three male parts 101a, 101b, 101c and female parts 102a, 102b, 102c having the same structure. have. That is, the male parts 101a, 101b, and 101c extend perpendicularly to the annular plane 105a, and the female parts 102a, 102b, and 102c are the protruding directions of the male parts 101a, 101b, and 101c with respect to the annular plane 105a. It is formed to be recessed vertically in the opposite direction.
- the male portions 101a, 101b, and 101c and the female portions 102a, 102b, and 102c are provided on the same circumference.
- attachment portions 106 each having a pair of male portions 106a, a pair of female portions 106b, and attachment holes 106c are formed as one unit.
- the pair of male portions 106a and the pair of female portions 106b of the attachment portion 106 are the same as the male portions 11a to 11d and the female portions 12a to 12d of the first flat surface 15a or the second flat surface 15b of the small pipe block 10, respectively.
- the shape is the shape.
- the pair of male portions 106a extends so as to protrude perpendicular to the bottom plane 105b, and the pair of female portions 106b are formed to be recessed perpendicularly to the bottom plane 105b in a direction opposite to the extending direction of the male portion 106a.
- the pair of male portions 106a and the pair of female portions 106b of each attachment portion 106 are provided on the same circumference.
- FIG. 15A the middle pipe type block 20, the middle reducer type block 40, the two small pipe type blocks 10, the small elbow type (90 degrees) block 60a, and the small elbow type (45 degrees) block are arranged in order from the top. 60b is coupled.
- the two small pipe-type blocks 10 are coupled with each other even at the center position.
- FIG. 15B is an example in which the small pipe type block 10 is coupled to each of the three flat surfaces 75 a, 75 b, 75 c of the small cheese type block 70.
- FIG. 15C is an example in which the middle pipe type block 20 is coupled to the annular portion 90a of the middle cross type (90 degrees) block 90 and the small cheese type block 70 is coupled to the cylindrical portion 90b.
- a bear doll 200 as shown in FIG. 16A can be made by combining various toy blocks.
- the doll 200 includes a face part 201, a body 202 connected to the face part 201, and four legs 203 attached to the body 202.
- a pair of ears 201 a is attached to the face 201.
- the ear 201 a of the doll 200 can be moved with respect to the face 201.
- the angle and direction can change the face part 201 and the leg 203 of the doll 200.
- the face 201 of the bear doll 200 has an ear 201a, a substantially columnar face front portion 201b attached to the front side with the ear 201a interposed therebetween, and a substantially columnar shape attached to the rear side with the ear 201a interposed therebetween.
- Face rear part 201d Face rear part 201d.
- the face part 201 includes a nose 201c attached to the lower half of the front face part 201b, and a spacer 201e provided between the front face part 201b and the rear face part 201d.
- the ear 201a is obtained by connecting two middle cap-type blocks 50. Further, the front face part 201b and the rear face part 201d are obtained by connecting a large cap type block 50b having a diameter larger than that of the middle cap type block 50 to the large pipe type block 30, respectively. Further, the pin 2 representing the bear's eye is inserted into the connecting hole of the large cap type block 50b of the front face portion 201b.
- the nose 201 c is a combination of the middle pipe type block 20, the middle cap type block 50, and a small cap type block 50 a having a smaller diameter than the middle cap type block 50.
- Each spacer 201e is a combination of two small cap-type blocks 50a. Ears 201a and spacers 201e between the front face part 201b and the rear face part 201d are respectively attached to the front and rear large pipe type blocks 30 by pins 3.
- a mechanical pencil structure can be formed by connecting a plurality of small pipe-type blocks 10.
- large pipe-type blocks 30 can be stacked to make miscellaneous goods such as small items.
- the small pipe type block 10 can be freely fitted by fitting the male part of the small pipe type block 10 into the rail-like grooves 4a or 4b formed in the plate-like block 4 and orthogonal to each other. It is also possible to create a dynamic structure that moves in a straight line. Further, as shown in FIGS. 20A and 20B, the male part of the small pipe-type block 10 is placed in the three pairs of rail-shaped grooves 5a, 5b, 5c formed on the annular edge 5d of the dish-shaped block 5. The small pipe type block 10 can be moved in an arc shape by fitting.
- the male part and the female part formed on the plane of the toy block are provided on the same circumference, the male part and the female part are arranged linearly. Compared with the case where it connects, the plane as a connection surface of a toy block can be connected at various angles. Therefore, the freedom of modeling by combining toy blocks is increased.
- each toy block is rotated.
- the position of the toy blocks could not be shifted.
- one toy block can rotate with respect to the other toy block while maintaining the state where the toy blocks are connected to each other. Therefore, even after assembling a plurality of toy blocks into a certain shape, the shape of the details can be changed as appropriate, and the degree of freedom of modeling becomes higher.
- the toy block can be moved not only in rotation but also in linear movement or arcuate movement along rail-like grooves of other members as shown in FIGS. 19 and 20A. It is possible to form a dynamic structure on the assumption that it can be moved easily.
- each toy block has a male part and a female part on one plane, so that the user does not mind the direction of the toy block from any plane.
- Other toy blocks can be connected. Therefore, the connection member for connecting toy blocks becomes unnecessary, and the number of parts as the whole assembly toy can be reduced.
- the male part of various toy blocks is a cylindrical convex part
- the female part is a concave part formed in a strip shape
- the male part is a female part relative to the female part. Since they can be fitted in the width direction, the toy blocks are difficult to remove from each other unless a certain tensile force is applied.
- the female portion is an arc-shaped concave portion, the male portion and the female portion of the toy blocks can be fitted to each other and smoothly rotated, and the shape can be formed after the user assembles the toy blocks. Twist to make it possible.
- the medium reducer type block 40 shown in FIG. 10A and the middle cross type (90 degree) block shown in FIG. 13C have two or more circular planes with different outer diameters, thereby connecting toy blocks having different diameters to each other. Can be made. Further, since the side surface 46 of the middle reducer type block 40 is a smooth curved surface, toy blocks having different diameters can be smoothly connected to each other via the middle reducer type block 40.
- various toy blocks have a pair of planes arranged in parallel to each other, a plurality of toy blocks can be connected in a straight line.
- the small elbow type (90 degrees) block 60a shown in FIG. 12A, the small elbow type (45 degrees) 60b shown in FIG. 12B, the small cheese mold block 70 shown in FIG. 13A, and the small cross type (180 degrees) shown in FIG. Block 80 or medium cross (90 degree) block 90 shown in FIG. 13C has two or more planes arranged in different directions. Thereby, a toy block can be connected in various directions and more three-dimensional modeling is attained.
- the male portion of the toy block is a cylindrical convex portion, but it may be a prismatic shape or other column shape.
- the plane formed on the toy block is not limited to a circle, and may be an ellipse.
- an optical fiber may be provided in a through hole or an opening formed in each toy block.
- an optical fiber can be light-emitted and the structure shaped by the some toy block can be made to shine.
- the shape of the female portion formed in the toy block of the assembled toy according to the present invention is not limited to the elongated belt-shaped groove, and may be a recess having a circular cross section as shown in FIG. 21 or FIG. Good.
- the toy block 230 shown in FIG. 21 will be described.
- a substantially annular first plane 235a and a second plane 235b are formed in parallel to each other at both ends of the substantially cylindrical toy block 230. That is, the outer circumferences of the first plane 235a and the second plane 235b are circular.
- male portions 231 that are five columnar convex portions are provided at equal intervals along the shape of the first plane 235a, and protrude to the positive side in the X direction. It extends.
- three female portions 232 each having a circular cross section are formed between the male portions 231 so as to be depressed toward the negative side in the X direction. That is, on the first plane 235a, the arrangement of one male part 231 and three female parts 232 is repeated five times along the circumferential direction of the first plane 235a. Accordingly, a total of 15 recesses are provided in the first plane 235a.
- the five male parts 231 and the fifteen female parts 232 are provided so as to be arranged on the same circumference.
- the second plane 235b has the same shape as the first plane 235a, and has five male parts 231 and 15 female parts 232.
- the toy block 230 which is the first toy block, can be combined with another toy block 230 ', which is the second toy block having the same structure.
- the male part 231 of the second plane 235b of the first toy block 230 is detachably fitted to the female part 232 of the plane 235c of the second toy block 230 ′.
- the male part 231 of the plane 235c of the second toy block 230 ' is detachably fitted to the female part 232 of the second plane 235b of the first toy block 230'.
- the first toy block 230 can be compared with the second toy block 230 ′. They may be combined at such an angle.
- a substantially annular first plane 335a and a second plane 335b are formed in parallel with each other at both ends of the substantially cylindrical toy block 330, respectively. That is, the outer peripheries of the first plane 335a and the second plane 335b are circular.
- ten male portions 331 that are ten columnar convex portions and ten female portions 332 that are concave portions having a circular cross section follow the shape of the first plane 335a. They are arranged alternately.
- the male part 331 protrudes and extends to the X direction positive side
- the female part 332 is formed to be depressed toward the X direction negative side.
- the second plane 335b has the same shape as the first plane 335a, and has ten male parts 331 and ten female parts 332.
- the toy block 330 which is the first toy block, can be combined with the toy block 330 ', which is the second toy block having the same structure.
- the male part 331 of the second plane 335b of the first toy block 330 is detachably fitted to the female part 332 of the plane 335c of the second toy block 330 ′.
- the male part 331 of the plane 335c of the second toy block 330 ' is detachably fitted to the female part 332 of the second plane 335b of the first toy block 330'.
- the first toy block 330 is a plane of the second toy block 330 ′. It may be coupled at any angle to 335c.
- the male part and the female part are provided on the same circumference, so that the planes of the toy block are connected at various angles. be able to. Moreover, since toy blocks are connected so that attachment or detachment is possible, the toy blocks once combined can be removed, and the connection position can be changed by changing the angle and reconnecting them again.
- the arrangement of one male part 231 and three female parts 232 larger than the male part 231 is repeated five times on the first plane 235a or the second plane 235b. Is arranged. For this reason, the first toy block 330 can be coupled to the second toy block 330 ′ at various angles while changing the angle in small increments.
- sequence of the male part 231 and the female part 232 provided in the 1st plane 235a or the 2nd plane 235b of the toy block 230 is the arrangement
- the first plane 235a or the second plane 235b of the toy block 230 is provided with a repeated arrangement composed of two or more male parts and a plurality of female parts greater than the male parts. May be. Also, in the toy block 330 shown in FIG. 22, since the male part 331 and the female part 332 are alternately arranged on the same circumference, the angle is adjusted in small increments between the toy blocks 330 like the toy block 230. However, it can be connected at various angles.
- the shape of the female part formed in the toy block of the assembled toy according to the present invention is, as shown in FIGS. 23A and 23B, a concave part having a belt shape in which a plurality of circles having the same diameter overlap and are continuous on the circumference. It may be.
- a substantially annular first plane 435a and a second plane 435b as shown in FIG. 23A are formed in parallel to each other at both ends of the substantially cylindrical toy block 430, respectively. Has been. That is, the outer circumferences of the first plane 435a and the second plane 435b are circular.
- male portions 431 which are three cylindrical convex portions, are provided 120 degrees apart from each other along the shape of the first plane 435a, and protrude to the positive side in the X direction. It extends.
- a female portion 432 that is a band-shaped recess is formed between each of the three male portions 431.
- Each female portion 432 is a concave portion having a band shape in which twelve circles 432a having the same diameter overlap to be continuous on the circumference, and is formed to be depressed toward the negative side in the X direction.
- Each circle 432a is formed so that the male part 431 can be detachably fitted.
- the second plane 435b has the same shape as the first plane 435a and includes three male parts 431 and three female parts 432.
- the toy block 430 as the first toy block can be combined with another toy block 430 'as the second toy block having the same structure.
- the male part 431 of the second plane 435b of the first toy block 430 is detachably fitted to the female part 432 of the plane 435c of the second toy block 430 ′.
- the male part 431 of the plane 435c of the second toy block 430 ' is detachably fitted to the female part 432 of the second plane 435b of the first toy block 430.
- the male part 431 is fitted at a position corresponding to each of the circles 432a, and the position is fixed.
- each male portion 431 It can move along the extending direction of the female part 432 while being fitted to the female part 432. That is, the male part 431 fitted in a position corresponding to the circle 432a of the female part 432 moves to a position corresponding to another adjacent circle 432a by applying a force of a predetermined level or more in the extending direction of the female part 432. can do.
- the male part 431 and the female part 432 are provided on the same circumference, so that the second plane 435b of the first toy block 430 is used as the second toy block. It can be connected at various angles to the plane 435c of 430 '. Further, the male part 431 of the toy block 430 can move in the extending direction of the female part 432 while being fitted to the female part 432. Therefore, the 1st toy block 430 can rotate with respect to 2nd toy block 430 ', maintaining the state connected with 2nd toy block 430', and can change a connection position.
- the male part 431 is fixed at a position corresponding to the circle 432a of the female part 432 unless a certain force is applied to the toy block 430, the first toy block 430 and the second toy block 430 ' Can be bonded to each other in a stable state.
Landscapes
- Toys (AREA)
Priority Applications (4)
| Application Number | Priority Date | Filing Date | Title |
|---|---|---|---|
| US15/560,298 US20180056208A1 (en) | 2015-03-25 | 2016-03-03 | Assembly toy |
| HK18104065.2A HK1244745B (zh) | 2015-03-25 | 2016-03-03 | 组装玩具 |
| CN201680018263.2A CN107427730B (zh) | 2015-03-25 | 2016-03-03 | 组装玩具 |
| EP16768339.0A EP3278851B1 (en) | 2015-03-25 | 2016-03-03 | Assembly toy |
Applications Claiming Priority (2)
| Application Number | Priority Date | Filing Date | Title |
|---|---|---|---|
| JP2015062551A JP6219869B2 (ja) | 2015-03-25 | 2015-03-25 | 組立玩具 |
| JP2015-062551 | 2015-03-25 |
Publications (1)
| Publication Number | Publication Date |
|---|---|
| WO2016152436A1 true WO2016152436A1 (ja) | 2016-09-29 |
Family
ID=56979262
Family Applications (1)
| Application Number | Title | Priority Date | Filing Date |
|---|---|---|---|
| PCT/JP2016/056555 Ceased WO2016152436A1 (ja) | 2015-03-25 | 2016-03-03 | 組立玩具 |
Country Status (5)
| Country | Link |
|---|---|
| US (1) | US20180056208A1 (enExample) |
| EP (1) | EP3278851B1 (enExample) |
| JP (1) | JP6219869B2 (enExample) |
| CN (1) | CN107427730B (enExample) |
| WO (1) | WO2016152436A1 (enExample) |
Cited By (1)
| Publication number | Priority date | Publication date | Assignee | Title |
|---|---|---|---|---|
| GB2613130A (en) * | 2021-04-21 | 2023-05-31 | Colin Benedikt Alexander Hay | Construction toy |
Families Citing this family (5)
| Publication number | Priority date | Publication date | Assignee | Title |
|---|---|---|---|---|
| US10150045B2 (en) * | 2015-01-13 | 2018-12-11 | Lego A/S | Writing instrument and a toy building set comprising such a writing instrument |
| WO2021062386A1 (en) * | 2019-09-27 | 2021-04-01 | The Marketing Store Worldwide, L.P. | Toy with integrated light pipes |
| JP6810781B1 (ja) * | 2019-10-11 | 2021-01-06 | 株式会社バンダイ | 可動構造及び組立玩具 |
| KR200498013Y1 (ko) * | 2022-11-08 | 2024-05-22 | 최용수 | 조립용 완구 유닛 |
| KR102713948B1 (ko) * | 2022-12-29 | 2024-10-07 | 최용수 | 무대장치 완구용 조립구조 |
Citations (5)
| Publication number | Priority date | Publication date | Assignee | Title |
|---|---|---|---|---|
| JPS4222174Y1 (enExample) * | 1966-06-02 | 1967-12-19 | ||
| US3670449A (en) * | 1971-03-04 | 1972-06-20 | Mattel Inc | Construction element toy |
| JPS52163000U (enExample) * | 1976-06-01 | 1977-12-10 | ||
| JP2009000139A (ja) * | 2007-06-19 | 2009-01-08 | Takeshi Fukuzaki | 知的創造を惹起する遊戯具用組み立てブロック |
| WO2013118238A1 (ja) * | 2012-02-06 | 2013-08-15 | 株式会社アーテック | 連結可能なブロック |
Family Cites Families (63)
| Publication number | Priority date | Publication date | Assignee | Title |
|---|---|---|---|---|
| US3233358A (en) * | 1964-02-04 | 1966-02-08 | Brico Toys Ltd | Centrally apertured circular construction block |
| US3594940A (en) * | 1968-08-19 | 1971-07-27 | Yonezawa Toys Co | Assembly toy set |
| US3630527A (en) * | 1970-02-09 | 1971-12-28 | Marvin Glass & Associates | Puzzle comprising discs with interengaging pins and apertures |
| US3779558A (en) * | 1972-01-12 | 1973-12-18 | C Moreau | Alternative puzzle system |
| US3902270A (en) * | 1974-07-01 | 1975-09-02 | Lester V Molenaar | First and second toy modules, each mateable with similar modules and with each other |
| US4353361A (en) * | 1980-08-25 | 1982-10-12 | Foster Robert W | Orthotic/prosthetic joint |
| US4509929A (en) * | 1982-08-27 | 1985-04-09 | Zawitz Richard E | Annular support device with pivotal segments |
| US4518165A (en) * | 1983-05-11 | 1985-05-21 | Shmueli Shmuel S | Three dimensional combination assembly game |
| US4580783A (en) * | 1983-08-24 | 1986-04-08 | Hooshang Cohan | Puzzle comprising overlapping circles with interchangeable components |
| US4547174A (en) * | 1984-03-20 | 1985-10-15 | Zima Products, Ltd. | Inertia motors for toy vehicles |
| US4610096A (en) * | 1984-09-04 | 1986-09-09 | Binney & Smith, Inc. | Transformable stencil toy |
| AR242503A1 (es) * | 1986-07-21 | 1993-04-30 | Lego As | Ferrocarril a cremallera de juguete, vehiculo motriz a vias para el mismo. |
| CA2020225A1 (en) * | 1990-06-29 | 1991-12-30 | Antonio Cannata | Puzzle |
| US5259803A (en) * | 1991-04-09 | 1993-11-09 | Lyman Ronald L | Toy construction set featuring gears and radiant connectors |
| US5145177A (en) * | 1991-11-15 | 1992-09-08 | Wells Loren B | Stacking piece puzzle |
| CN2114497U (zh) * | 1992-03-04 | 1992-09-02 | 佘永禄 | 组合积木之设计 |
| JPH0691062A (ja) * | 1992-09-16 | 1994-04-05 | Sankyo Seiki Mfg Co Ltd | ブロック玩具用ブロック・ユニット |
| DK170833B1 (da) * | 1993-09-22 | 1996-02-05 | Lego As | Legetøjsbyggesæt og byggeelementer dertil |
| US5788555A (en) * | 1994-08-03 | 1998-08-04 | Glynn; Kenneth P. | Small angle interconnecting toy blocks |
| US5553856A (en) * | 1994-11-10 | 1996-09-10 | Fundustry, Inc. | Stackable puzzle and a method for stacking characters of a set to form the puzzle |
| US5525086A (en) * | 1995-03-13 | 1996-06-11 | Gentile; John | Launchable figurine device |
| US5558331A (en) * | 1995-04-10 | 1996-09-24 | Zlotsky; Dmitry | Stacking puzzle |
| US5653621A (en) * | 1996-01-03 | 1997-08-05 | Yao; Li-Ho | Toy building block puzzle |
| US5853314A (en) * | 1997-02-18 | 1998-12-29 | Bora; Sunil K. | Toy building block |
| USD394681S (en) * | 1997-09-18 | 1998-05-26 | Interlego Ag | Toy hub |
| US6478314B1 (en) * | 1998-02-11 | 2002-11-12 | Joseph C. Klann | Walking device |
| AU7620598A (en) * | 1998-07-15 | 2000-02-10 | Heng-Chun Ku | Entertainment device |
| IT1306995B1 (it) * | 1999-01-20 | 2001-10-11 | Quercetti Alessandro & Co | Sistema di elementi per la composizione di costruzioni statiche odinamiche. |
| FR2796996B1 (fr) * | 1999-07-27 | 2001-10-12 | Plastic Omnium Cie | Fixation glissante fusible d'une piece en matiere plastique sur un support |
| TW443939B (en) * | 1999-08-27 | 2001-07-01 | Interlego Ag | A toy building set |
| ITTO20000010A1 (it) * | 2000-01-07 | 2001-07-07 | Quercetti Alessandro & Co | Giunto cardanico per sistemi di costruzioni statiche o dinamiche ad incastro. |
| US6286649B1 (en) * | 2000-01-27 | 2001-09-11 | Connector Set Limited Partnership | Unidirectional rotary drive mechanism for multi-part construction toy |
| US6296541B1 (en) * | 2000-03-15 | 2001-10-02 | Alottafun, Inc. | Toy capsule |
| JP3781633B2 (ja) * | 2001-04-18 | 2006-05-31 | 株式会社ユージン | 小型人形 |
| ITTO20010883A1 (it) * | 2001-09-18 | 2003-03-18 | Quercetti Alessandro & Co | Pista sospesa. |
| US6655685B2 (en) * | 2002-03-07 | 2003-12-02 | Tsai Ching-Hung | Three-dimensional jigsaw puzzle |
| US20060189444A1 (en) * | 2004-05-24 | 2006-08-24 | Rays Concept Development | Building element, connector, fall-absorbing base and a kit of parts for constructing a play apparatus |
| US7950976B2 (en) * | 2005-07-14 | 2011-05-31 | Jakks Pacific, Inc. | Toy for rotating and launching an object |
| CA2538431A1 (en) * | 2006-02-22 | 2007-08-22 | Su-Lian Chuang | Three dimensional jigsaw puzzle |
| US8070550B2 (en) * | 2006-09-13 | 2011-12-06 | Edtoy Co., Ltd. | Block for building a toy |
| US20080075528A1 (en) * | 2006-09-22 | 2008-03-27 | Michael Marzetta | Construction system |
| ES2352591T3 (es) * | 2007-02-01 | 2011-02-21 | Robosynthesis Limited | Juego de contrucción. |
| KR200439714Y1 (ko) * | 2007-02-16 | 2008-04-29 | 김종만 | 난이도 조절이 가능한 퍼즐 조립체 |
| US7731558B2 (en) * | 2007-08-15 | 2010-06-08 | Jon Capriola | Illuminated toy building structures |
| US20110230113A1 (en) * | 2008-12-15 | 2011-09-22 | Mishael Tzoreff | Component Kit for Assembling Toy Buildings |
| US8986012B1 (en) * | 2009-07-01 | 2015-03-24 | University Of Puerto Rico | Three-dimensional 3D visualization kit |
| US20110117813A1 (en) * | 2009-11-13 | 2011-05-19 | Mattel, Inc. | Toy Vehicle Play Set |
| US20110133406A1 (en) * | 2009-12-09 | 2011-06-09 | I-Cheng Chiu | Game Apparatus Which Combines with Gears and Blocks |
| FR2957989B1 (fr) * | 2010-03-23 | 2012-05-04 | Philip Norman | Assemblage d'elements modulaires motorises ou non |
| EP2566591B1 (en) * | 2010-05-05 | 2014-03-12 | Art & Smart Egg Kft. | Spatial logical and skill improvement game, particularly a labyrinth game |
| BRPI1001938A2 (pt) * | 2010-06-07 | 2012-03-06 | Fechamentos Inteligentes Desenvolvimento De Embalagens Ltda. | Tampa funcional, passível de ser reutilizada como brinquedo lúdico em forma de blocos encaixáveis/empilháveis após o uso como elemento de vedação de embalagens |
| US8282103B2 (en) * | 2010-07-06 | 2012-10-09 | Stanoch John F | Apparatus and method for strategy games |
| USD702774S1 (en) * | 2011-09-15 | 2014-04-15 | Jakks Pacific, Inc. | Twistable and connectable block |
| US20140051321A1 (en) * | 2012-08-16 | 2014-02-20 | Kevin Whitfield Kelly | Faucet decorative system |
| BR102012033635A2 (pt) * | 2012-12-28 | 2014-08-26 | Vilma da Silva Araujo Baptista | Tampa em forma de blocos de construção, seu uso e processo de produção |
| US9498703B2 (en) * | 2013-03-13 | 2016-11-22 | Stat Ventures, Inc. | Assembly kit for three dimensional works |
| USD731599S1 (en) * | 2013-11-28 | 2015-06-09 | Lego A/S | Plate element for a construction set |
| US9572745B2 (en) * | 2014-01-29 | 2017-02-21 | Yung-Chih Lin | Massage roller device |
| US9427675B2 (en) * | 2014-02-05 | 2016-08-30 | Mei-Tru Lin | Hexagonal block and its stand |
| USD738439S1 (en) * | 2014-02-13 | 2015-09-08 | Maurice S. Kanbar Revocable Trust | Spur gear rotating block for a toy construction set |
| US9517423B1 (en) * | 2014-02-13 | 2016-12-13 | Maurice S. Kanbar Revocable Trust | Toy construction set |
| CN203777674U (zh) * | 2014-03-13 | 2014-08-20 | 云和奥木工艺品有限公司 | 一种可拼接金属扣积木 |
| USD739476S1 (en) * | 2014-11-11 | 2015-09-22 | William Linden | Puzzle |
-
2015
- 2015-03-25 JP JP2015062551A patent/JP6219869B2/ja active Active
-
2016
- 2016-03-03 EP EP16768339.0A patent/EP3278851B1/en active Active
- 2016-03-03 US US15/560,298 patent/US20180056208A1/en not_active Abandoned
- 2016-03-03 WO PCT/JP2016/056555 patent/WO2016152436A1/ja not_active Ceased
- 2016-03-03 CN CN201680018263.2A patent/CN107427730B/zh active Active
Patent Citations (5)
| Publication number | Priority date | Publication date | Assignee | Title |
|---|---|---|---|---|
| JPS4222174Y1 (enExample) * | 1966-06-02 | 1967-12-19 | ||
| US3670449A (en) * | 1971-03-04 | 1972-06-20 | Mattel Inc | Construction element toy |
| JPS52163000U (enExample) * | 1976-06-01 | 1977-12-10 | ||
| JP2009000139A (ja) * | 2007-06-19 | 2009-01-08 | Takeshi Fukuzaki | 知的創造を惹起する遊戯具用組み立てブロック |
| WO2013118238A1 (ja) * | 2012-02-06 | 2013-08-15 | 株式会社アーテック | 連結可能なブロック |
Cited By (2)
| Publication number | Priority date | Publication date | Assignee | Title |
|---|---|---|---|---|
| GB2613130A (en) * | 2021-04-21 | 2023-05-31 | Colin Benedikt Alexander Hay | Construction toy |
| GB2613130B (en) * | 2021-04-21 | 2024-11-06 | Colin Benedikt Alexander Hay | Construction toy |
Also Published As
| Publication number | Publication date |
|---|---|
| EP3278851B1 (en) | 2020-08-19 |
| EP3278851A1 (en) | 2018-02-07 |
| CN107427730B (zh) | 2020-10-09 |
| US20180056208A1 (en) | 2018-03-01 |
| JP6219869B2 (ja) | 2017-10-25 |
| EP3278851A4 (en) | 2018-12-05 |
| CN107427730A (zh) | 2017-12-01 |
| HK1244745A1 (zh) | 2018-08-17 |
| JP2016179147A (ja) | 2016-10-13 |
Similar Documents
| Publication | Publication Date | Title |
|---|---|---|
| JP6219869B2 (ja) | 組立玩具 | |
| JP7055801B2 (ja) | 3次元論理パズル | |
| KR101521194B1 (ko) | 조립식 블록완구 | |
| KR101447679B1 (ko) | 조립식 블록 완구 | |
| JP7112061B2 (ja) | 組立構造体 | |
| US20070077854A1 (en) | Sectional three-dimensional model | |
| US6790118B2 (en) | Block set for educational purposes | |
| WO2017080483A1 (zh) | 多功能拼接积木构件 | |
| JP2017221792A (ja) | 組立玩具 | |
| JP2016101219A (ja) | 組立構造体 | |
| JP2020124298A (ja) | 組立玩具セットおよび組立玩具セット用の組立要素 | |
| JP2016131874A (ja) | 組立式ブロック玩具 | |
| KR100960796B1 (ko) | 칠교놀이 세트 | |
| HK1244745B (zh) | 组装玩具 | |
| JP6530843B1 (ja) | ブロック玩具 | |
| JP2009000139A (ja) | 知的創造を惹起する遊戯具用組み立てブロック | |
| Russell et al. | Mathematics and Art: Unifying Perspectives | |
| KR20250051647A (ko) | 간섭 조인트 디지트들, 구축형 요소들, 구축형 시스템들 및 조립체들 | |
| KR20180133404A (ko) | 구성형 장난감 | |
| KR20120038842A (ko) | 블록교구 | |
| CN217448934U (zh) | 一种几何积木 | |
| KR20130114453A (ko) | 블록 어셈블리 및 이를 위한 블록 커넥터 | |
| KR100797450B1 (ko) | 퍼즐 액자 | |
| JP2024053166A (ja) | 組み付け玩具 | |
| KR200226875Y1 (ko) | 조립식 블록완구 |
Legal Events
| Date | Code | Title | Description |
|---|---|---|---|
| 121 | Ep: the epo has been informed by wipo that ep was designated in this application |
Ref document number: 16768339 Country of ref document: EP Kind code of ref document: A1 |
|
| REEP | Request for entry into the european phase |
Ref document number: 2016768339 Country of ref document: EP |
|
| WWE | Wipo information: entry into national phase |
Ref document number: 15560298 Country of ref document: US |
|
| NENP | Non-entry into the national phase |
Ref country code: DE |