WO2016143264A1 - 燃料噴射装置 - Google Patents

燃料噴射装置 Download PDF

Info

Publication number
WO2016143264A1
WO2016143264A1 PCT/JP2016/000797 JP2016000797W WO2016143264A1 WO 2016143264 A1 WO2016143264 A1 WO 2016143264A1 JP 2016000797 W JP2016000797 W JP 2016000797W WO 2016143264 A1 WO2016143264 A1 WO 2016143264A1
Authority
WO
WIPO (PCT)
Prior art keywords
fuel
outer peripheral
injection device
fuel injection
pressure
Prior art date
Legal status (The legal status is an assumption and is not a legal conclusion. Google has not performed a legal analysis and makes no representation as to the accuracy of the status listed.)
Ceased
Application number
PCT/JP2016/000797
Other languages
English (en)
French (fr)
Japanese (ja)
Inventor
和穂 関
Current Assignee (The listed assignees may be inaccurate. Google has not performed a legal analysis and makes no representation or warranty as to the accuracy of the list.)
Denso Corp
Original Assignee
Denso Corp
Priority date (The priority date is an assumption and is not a legal conclusion. Google has not performed a legal analysis and makes no representation as to the accuracy of the date listed.)
Filing date
Publication date
Application filed by Denso Corp filed Critical Denso Corp
Priority to US15/523,974 priority Critical patent/US10151285B2/en
Priority to CN201680003519.2A priority patent/CN107110083B/zh
Priority to DE112016001145.8T priority patent/DE112016001145T5/de
Publication of WO2016143264A1 publication Critical patent/WO2016143264A1/ja
Anticipated expiration legal-status Critical
Ceased legal-status Critical Current

Links

Images

Classifications

    • FMECHANICAL ENGINEERING; LIGHTING; HEATING; WEAPONS; BLASTING
    • F02COMBUSTION ENGINES; HOT-GAS OR COMBUSTION-PRODUCT ENGINE PLANTS
    • F02MSUPPLYING COMBUSTION ENGINES IN GENERAL WITH COMBUSTIBLE MIXTURES OR CONSTITUENTS THEREOF
    • F02M55/00Fuel-injection apparatus characterised by their fuel conduits or their venting means; Arrangements of conduits between fuel tank and pump F02M37/00
    • F02M55/002Arrangement of leakage or drain conduits in or from injectors
    • FMECHANICAL ENGINEERING; LIGHTING; HEATING; WEAPONS; BLASTING
    • F02COMBUSTION ENGINES; HOT-GAS OR COMBUSTION-PRODUCT ENGINE PLANTS
    • F02MSUPPLYING COMBUSTION ENGINES IN GENERAL WITH COMBUSTIBLE MIXTURES OR CONSTITUENTS THEREOF
    • F02M47/00Fuel-injection apparatus operated cyclically with fuel-injection valves actuated by fluid pressure
    • FMECHANICAL ENGINEERING; LIGHTING; HEATING; WEAPONS; BLASTING
    • F02COMBUSTION ENGINES; HOT-GAS OR COMBUSTION-PRODUCT ENGINE PLANTS
    • F02MSUPPLYING COMBUSTION ENGINES IN GENERAL WITH COMBUSTIBLE MIXTURES OR CONSTITUENTS THEREOF
    • F02M47/00Fuel-injection apparatus operated cyclically with fuel-injection valves actuated by fluid pressure
    • F02M47/02Fuel-injection apparatus operated cyclically with fuel-injection valves actuated by fluid pressure of accumulator-injector type, i.e. having fuel pressure of accumulator tending to open, and fuel pressure in other chamber tending to close, injection valves and having means for periodically releasing that closing pressure
    • FMECHANICAL ENGINEERING; LIGHTING; HEATING; WEAPONS; BLASTING
    • F02COMBUSTION ENGINES; HOT-GAS OR COMBUSTION-PRODUCT ENGINE PLANTS
    • F02MSUPPLYING COMBUSTION ENGINES IN GENERAL WITH COMBUSTIBLE MIXTURES OR CONSTITUENTS THEREOF
    • F02M47/00Fuel-injection apparatus operated cyclically with fuel-injection valves actuated by fluid pressure
    • F02M47/02Fuel-injection apparatus operated cyclically with fuel-injection valves actuated by fluid pressure of accumulator-injector type, i.e. having fuel pressure of accumulator tending to open, and fuel pressure in other chamber tending to close, injection valves and having means for periodically releasing that closing pressure
    • F02M47/027Electrically actuated valves draining the chamber to release the closing pressure
    • FMECHANICAL ENGINEERING; LIGHTING; HEATING; WEAPONS; BLASTING
    • F02COMBUSTION ENGINES; HOT-GAS OR COMBUSTION-PRODUCT ENGINE PLANTS
    • F02MSUPPLYING COMBUSTION ENGINES IN GENERAL WITH COMBUSTIBLE MIXTURES OR CONSTITUENTS THEREOF
    • F02M55/00Fuel-injection apparatus characterised by their fuel conduits or their venting means; Arrangements of conduits between fuel tank and pump F02M37/00
    • F02M55/004Joints; Sealings
    • FMECHANICAL ENGINEERING; LIGHTING; HEATING; WEAPONS; BLASTING
    • F02COMBUSTION ENGINES; HOT-GAS OR COMBUSTION-PRODUCT ENGINE PLANTS
    • F02MSUPPLYING COMBUSTION ENGINES IN GENERAL WITH COMBUSTIBLE MIXTURES OR CONSTITUENTS THEREOF
    • F02M55/00Fuel-injection apparatus characterised by their fuel conduits or their venting means; Arrangements of conduits between fuel tank and pump F02M37/00
    • F02M55/007Venting means
    • FMECHANICAL ENGINEERING; LIGHTING; HEATING; WEAPONS; BLASTING
    • F02COMBUSTION ENGINES; HOT-GAS OR COMBUSTION-PRODUCT ENGINE PLANTS
    • F02MSUPPLYING COMBUSTION ENGINES IN GENERAL WITH COMBUSTIBLE MIXTURES OR CONSTITUENTS THEREOF
    • F02M55/00Fuel-injection apparatus characterised by their fuel conduits or their venting means; Arrangements of conduits between fuel tank and pump F02M37/00
    • F02M55/008Arrangement of fuel passages inside of injectors
    • FMECHANICAL ENGINEERING; LIGHTING; HEATING; WEAPONS; BLASTING
    • F02COMBUSTION ENGINES; HOT-GAS OR COMBUSTION-PRODUCT ENGINE PLANTS
    • F02MSUPPLYING COMBUSTION ENGINES IN GENERAL WITH COMBUSTIBLE MIXTURES OR CONSTITUENTS THEREOF
    • F02M61/00Fuel-injectors not provided for in groups F02M39/00 - F02M57/00 or F02M67/00
    • F02M61/04Fuel-injectors not provided for in groups F02M39/00 - F02M57/00 or F02M67/00 having valves, e.g. having a plurality of valves in series
    • FMECHANICAL ENGINEERING; LIGHTING; HEATING; WEAPONS; BLASTING
    • F02COMBUSTION ENGINES; HOT-GAS OR COMBUSTION-PRODUCT ENGINE PLANTS
    • F02MSUPPLYING COMBUSTION ENGINES IN GENERAL WITH COMBUSTIBLE MIXTURES OR CONSTITUENTS THEREOF
    • F02M61/00Fuel-injectors not provided for in groups F02M39/00 - F02M57/00 or F02M67/00
    • F02M61/16Details not provided for in, or of interest apart from, the apparatus of groups F02M61/02 - F02M61/14
    • FMECHANICAL ENGINEERING; LIGHTING; HEATING; WEAPONS; BLASTING
    • F02COMBUSTION ENGINES; HOT-GAS OR COMBUSTION-PRODUCT ENGINE PLANTS
    • F02MSUPPLYING COMBUSTION ENGINES IN GENERAL WITH COMBUSTIBLE MIXTURES OR CONSTITUENTS THEREOF
    • F02M61/00Fuel-injectors not provided for in groups F02M39/00 - F02M57/00 or F02M67/00
    • F02M61/16Details not provided for in, or of interest apart from, the apparatus of groups F02M61/02 - F02M61/14
    • F02M61/18Injection nozzles, e.g. having valve seats; Details of valve member seated ends, not otherwise provided for
    • FMECHANICAL ENGINEERING; LIGHTING; HEATING; WEAPONS; BLASTING
    • F02COMBUSTION ENGINES; HOT-GAS OR COMBUSTION-PRODUCT ENGINE PLANTS
    • F02MSUPPLYING COMBUSTION ENGINES IN GENERAL WITH COMBUSTIBLE MIXTURES OR CONSTITUENTS THEREOF
    • F02M2200/00Details of fuel-injection apparatus, not otherwise provided for
    • F02M2200/70Linkage between actuator and actuated element, e.g. between piezoelectric actuator and needle valve or pump plunger
    • F02M2200/703Linkage between actuator and actuated element, e.g. between piezoelectric actuator and needle valve or pump plunger hydraulic
    • F02M2200/708Linkage between actuator and actuated element, e.g. between piezoelectric actuator and needle valve or pump plunger hydraulic with hydraulic chambers formed by a movable sleeve

Definitions

  • the present disclosure relates to a fuel injection device that injects fuel supplied to a combustion chamber of an internal combustion engine.
  • a fuel injection device including a nozzle body, a nozzle needle, and a cylinder is known.
  • the nozzle needle moves in the axial direction inside the nozzle body by the pressure of the fuel introduced into the pressure control chamber partitioned by the cylinder. Accordingly, the nozzle needle is separated from and seated on the seat portion formed on the nozzle body, so that the fuel injection from the injection hole is started and stopped.
  • the nozzle body needs to be processed to form a sheet portion.
  • the processing of the seat portion is performed by inserting a tool into a fuel passage formed in the nozzle body.
  • the nozzle body surrounds the outer peripheral side of the cylinder, when the pressure control chamber and the cylinder are expanded in the axial direction as the stroke is extended, the nozzle body is also expanded in the axial direction.
  • the processing accuracy may be deteriorated.
  • An object of the present disclosure is to provide a fuel injection device capable of extending a stroke while maintaining processing accuracy of a seat portion.
  • a fuel injection device is a fuel injection device that injects fuel supplied to a combustion chamber of an internal combustion engine from an injection hole, a fuel passage through which fuel flows and a seat portion facing the fuel passage
  • a valve body that moves along the axial direction of the valve body inside the valve body, opens and closes the nozzle hole by being seated on and off the seat portion, and the nozzle hole across the valve member
  • a partition member that divides the pressure control chamber that controls the movement of the valve member by the pressure of the introduced fuel, and an outer peripheral member that surrounds the outer peripheral side of the partition member and forms a fuel passage together with the valve body And.
  • an outer peripheral member that forms a fuel passage through which fuel flows through the nozzle hole together with the valve body surrounds the outer peripheral side of the partition member that partitions the pressure control chamber. Therefore, even if the pressure control chamber and the partition member are expanded in the axial direction as the stroke of the valve member is extended, the physique of the valve body can be maintained by the expansion of the outer peripheral member in the axial direction. Therefore, it is possible to ensure the stroke amount of the valve member while suppressing deterioration in processing accuracy when forming the seat portion on the valve body.
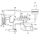
  • the drawing 1 is a diagram illustrating an overall configuration of a fuel supply system to which a fuel injection device according to an embodiment of the present disclosure is applied; It is a longitudinal sectional view of the fuel injection device, It is the figure which expanded the control body of the fuel injection device, It is an enlarged view of the spacer and its vicinity, FIG. 5 is a plan view of a spacer and the like seen in the direction of arrow V in FIG. It is a figure which shows the modification of FIG.
  • a fuel injection device 100 is used in the fuel supply system 10 illustrated in FIG.
  • the fuel supply system 10 supplies fuel to a combustion chamber 22 of a diesel engine 20 that is an internal combustion engine by a fuel injection device 100.
  • the fuel supply system 10 includes a feed pump 12, a high-pressure fuel pump 13, a common rail 14, an engine control device 17, a fuel injection device 100, and the like.
  • the feed pump 12 is an electric pump housed in the fuel tank 11.
  • the feed pump 12 applies a feed pressure higher than the vapor pressure of the fuel to the fuel such as light oil stored in the fuel tank 11.
  • the feed pump 12 is connected to the high-pressure fuel pump 13 by a fuel pipe 12a.
  • the feed pump 12 supplies the high-pressure fuel pump 13 with fuel in a liquid phase state given a predetermined feed pressure.
  • the high-pressure fuel pump 13 is attached to the diesel engine 20 and is driven by the output shaft of the diesel engine.
  • the high-pressure fuel pump 13 is connected to the common rail 14 by a fuel pipe 13a.
  • the high-pressure fuel pump 13 further increases the pressure of the fuel supplied by the feed pump 12 to produce high-pressure fuel to be supplied to the common rail 14.
  • the high-pressure fuel pump 13 has a solenoid valve that is electrically connected to the engine control device 17. The opening / closing of the solenoid valve is controlled by the engine control device 17, whereby the pressure of the fuel supplied from the high-pressure fuel pump 13 to the common rail 14 is adjusted to a predetermined pressure.
  • the common rail 14 is a tubular member made of a metal material such as chromium molybdenum steel.
  • the common rail 14 is formed with a plurality of branch portions 14a corresponding to the number of cylinders of the diesel engine. Each branch portion 14a is connected to one of the plurality of fuel injection devices 100 by a fuel pipe 14d.
  • the common rail 14 temporarily stores the high-pressure fuel supplied from the high-pressure fuel pump 13 and distributes the high-pressure fuel to the plurality of fuel injection devices 100 while maintaining the pressure.
  • the common rail 14 is provided with a common rail sensor 14b and a pressure regulator 14c.
  • the common rail sensor 14 b is electrically connected to the engine control device 17, detects the pressure and temperature of the fuel, and outputs it to the engine control device 17.
  • the pressure regulator 14 c is attached to the end of the common rail 14.
  • the pressure regulator 14c keeps the fuel pressure in the common rail 14 constant, and depressurizes the excess fuel and discharges it to the low pressure side. Excess fuel discharged from the pressure regulator 14 c is returned to the fuel tank 11 through the fuel pipe 14 e connecting the common rail 14 and the fuel tank 11.
  • the engine control device 17 includes a processor as an arithmetic circuit, a RAM, a microcomputer including a rewritable nonvolatile storage medium, and the like.
  • the engine control device 17 is electrically connected to various sensors such as a rotation speed sensor that detects the rotation speed of the diesel engine 20 in addition to the common rail sensor 14b. Based on information from each of these sensors, the engine control device 17 sends a control signal for controlling the solenoid valve of the high pressure fuel pump 13 and the valve mechanism of each fuel injection device 100 to the high pressure fuel pump 13 and each fuel injection. Output to the device 100.
  • the fuel injection device 100 directly injects fuel into the combustion chamber 22.
  • the fuel injection device 100 is attached to the head member 21 in a state of being inserted into an insertion hole of the head member 21 that forms the combustion chamber 22 of the diesel engine 20.
  • the fuel injection device 100 injects the high-pressure fuel supplied from the fuel pipe 14 d into the combustion chamber 22 through the injection hole 44.
  • the injection pressure of the fuel injection device 100 is about 160 to 250 megapascals (MPa).
  • the fuel injection device 100 includes a valve mechanism that controls injection of high-pressure fuel from the injection hole 44.
  • the valve mechanism includes a pressure control valve 35 (see FIG. 2 and the like) that operates based on a control signal from the engine control device 17, and a main valve portion 50 that opens and closes the injection hole 44.
  • the fuel injection device 100 uses part of the high-pressure fuel supplied from the fuel pipe 14d in order to open and close the injection hole 44. Such fuel is discharged to the fuel pipe 14f on the low pressure side and returned to the fuel tank 11 through the fuel
  • the fuel injection device 100 includes a drive unit 30, a control body 40, a nozzle needle 60, and a floating plate 70 as shown in FIG.
  • the drive unit 30 is accommodated in the control body 40.
  • the drive unit 30 is connected to the control valve face member 33.
  • the control valve face member 33 forms a pressure control valve 35 together with the control seat portion 46a.
  • a pulse-like control signal is supplied from the engine control device 17 to the drive unit 30.
  • the drive unit 30 opens and closes the pressure control valve 35 by displacing the control valve face member 33 based on the control signal.
  • the drive unit 30 seats the control valve face member 33 on the control seat unit 46a.
  • the pressure control valve 35 is closed.
  • the drive unit 30 separates the control valve face member 33 from the control seat unit 46a.
  • the pressure control valve 35 is opened.
  • the control body 40 forms a nozzle hole 44, an inflow passage 52, an outflow passage 54, a supply passage 55, and a pressure control chamber 53.
  • the injection hole 44 is formed at the distal end in the insertion direction of the control body 40 inserted into the combustion chamber 22 (see FIG. 1).
  • the tip is formed in a conical or hemispherical shape.
  • a plurality of nozzle holes 44 are provided radially from the inside to the outside of the control body 40. High-pressure fuel is injected into the combustion chamber 22 through the injection hole 44. By passing through the nozzle hole 44, the high-pressure fuel is atomized and diffused to be easily mixed with air.
  • the first passage end of the inflow passage 52 is connected to the vertical hole 48a.
  • the second passage end of the inflow passage 52 is connected to the pressure control chamber 53.
  • the inflow passage 52 allows high-pressure fuel supplied through the fuel pipe 14 d (see FIG. 1) and the vertical hole 48 a to flow into the pressure control chamber 53.
  • the first passage end of the outflow passage 54 is connected to the pressure control valve 35.
  • the second passage end of the outflow passage 54 is connected to the pressure control chamber 53.
  • the outflow passage 54 causes the fuel in the pressure control chamber 53 to flow out to the fuel pipe 14f (see FIG. 1) by opening the pressure control valve 35.
  • the supply passage 55 is branched from the inflow passage 52 inside the control body 40.
  • the supply passage 55 is formed in a cylindrical hole shape across a plurality of members forming the control body 40.
  • the supply passage 55 allows the fuel pipe 14d (see FIG. 1) and the injection hole 44 to communicate with each other.
  • the supply passage 55 allows high-pressure fuel supplied through the fuel pipe 14 d to flow through the nozzle hole 44.
  • the pressure control chamber 53 is located inside the control body 40 on the opposite side of the nozzle hole 44 with the nozzle needle 60 interposed therebetween.
  • the pressure control chamber 53 varies the pressure by inflow of high-pressure fuel from the inflow passage 52 and outflow of fuel through the outflow passage 54. Using such fuel pressure, the pressure control chamber 53 controls the movement of the nozzle needle 60.
  • the control body 40 includes a nozzle body 41, a cylinder 56, an orifice plate 46, a holder 48, a retaining nut 49, a spacer 80, and the like.
  • the nozzle body 41, the spacer 80, the orifice plate 46, and the holder 48 are arranged in this order from the front end side in the direction of insertion into the head member 21 (see FIG. 1).
  • the nozzle body 41 is a bottomed cylindrical member formed of a metal material such as chromium molybdenum steel.
  • the nozzle body 41 is formed with a nozzle hole 44 and a part of the supply passage 55.
  • the nozzle body 41 has a nozzle needle housing chamber 43 and a seat portion 45.
  • the nozzle needle storage chamber 43 is a cylindrical hole whose outer peripheral side is partitioned by the peripheral wall 43a.
  • the nozzle needle storage chamber 43 stores the nozzle needle 60.
  • the nozzle needle storage chamber 43 is formed along the axial direction of the nozzle body 41.
  • the nozzle needle housing chamber 43 is open on the end surface of the nozzle body 41 on the orifice plate 46 side.
  • the nozzle needle housing chamber 43 forms a supply passage 55.
  • the sheet portion 45 is formed in a conical shape by the inner peripheral wall of the nozzle body 41 facing the supply passage 55.
  • the sheet portion 45 is located inside the tip portion and contacts the tip of the nozzle needle 60.
  • the sheet portion 45 is machined by a long cutting tool inserted from the opening of the nozzle needle housing chamber 43.
  • the cutting tool used for forming the sheet portion 45 is required to have high rigidity so that it does not substantially deform even if it receives a processing reaction force at the tip.
  • the cylinder 56 is formed in a cylindrical shape from a metal material as shown in FIGS.
  • the cylinder 56 defines the pressure control chamber 53 together with the orifice plate 46 and the nozzle needle 60.
  • the cylinder 56 is disposed on the inner peripheral side of the spacer 80 so as to be coaxial with the spacer 80.
  • the cylinder 56 is in contact with the orifice plate 46 at one end face in the axial direction.
  • the cylinder 56 slides the nozzle needle 60 along the axial direction.
  • the cylinder 56 is provided with a needle stopper 57 and a plate stopper 58.
  • the needle stopper 57 regulates the displacement of the nozzle needle 60 in a direction close to the floating plate 70 and away from the seat portion 45.
  • the plate stopper 58 restricts the displacement of the floating plate 70 in the direction close to the nozzle needle 60 and away from the orifice plate 46.
  • the orifice plate 46 is formed in a disk shape from a metal material such as chromium molybdenum steel. In the orifice plate 46, an inflow passage 52 and an outflow passage 54 and a part of the supply passage 55 are formed.
  • the orifice plate 46 has a control sheet portion 46 a and a contact wall surface portion 47.
  • the control sheet portion 46a is formed on the top surface of the orifice plate 46 facing the holder 48 side.
  • the control seat portion 46 a forms a pressure control valve 35 together with the control valve face member 33.
  • the pressure control valve 35 switches between communication and blocking between the outflow passage 54 and the fuel pipe 14f (see FIG. 1).
  • the contact wall surface portion 47 is formed on the bottom surface of the orifice plate 46 facing the nozzle needle 60 side.
  • the contact wall surface portion 47 is a circular region surrounded by the cylinder 56 in the bottom surface of the orifice plate 46.
  • the contact wall surface portion 47 defines the pressure control chamber 53.
  • An opening 52 a of an inflow passage 52 through which high-pressure fuel flows into the pressure control chamber 53 and an opening 54 a of an outflow passage 54 through which fuel flows out from the pressure control chamber 53 are formed in the contact wall surface portion 47.
  • the floating wall 70 that reciprocates in the axial direction in the pressure control chamber 53 abuts on the abutting wall surface portion 47.
  • the holder 48 is a cylindrical member made of a metal material such as chrome molybdenum steel.
  • the holder 48 is formed with vertical holes 48a and 48b along the axial direction and a socket portion 48c.
  • the vertical hole 48 a connects the fuel pipe 14 d (see FIG. 1), the inflow passage 52, and the supply passage 55.
  • the vertical hole 48 b accommodates the drive unit 30.
  • the socket part 48c is formed so as to close the opening of the vertical hole 48b.
  • a plug portion connected to the engine control device 17 is fitted into the socket portion 48c.
  • a pulsed control signal is supplied from the engine control device 17 to the drive unit 30 through the plug unit connected to the socket unit 48c.
  • the retaining nut 49 is a two-stage cylindrical member made of a metal material.
  • the retaining nut 49 is screwed into the holder 48 while accommodating a part of the nozzle body 41, the spacer 80, and the orifice plate 46 (hereinafter referred to as "elements 41 to 46").
  • the retaining nut 49 has a stepped portion 49a.
  • the step portion 49a forms a radial step.
  • the stepped portion 49 a presses the elements 41 to 46 toward the holder 48 by attaching the retaining nut 49 to the holder 48.
  • the retaining nut 49 holds the elements 41 to 46 together with the holder 48.
  • the spacer 80 is formed in a cylindrical shape by a metal material such as high carbon steel containing chromium.
  • the spacer 80 is disposed between the nozzle body 41 and the orifice plate 46 so as to be coaxial with them.
  • the spacer 80 has a cylindrical outer peripheral wall 80a.
  • a recovery passage 81 and two annular grooves 82 and 83 are formed in the outer peripheral wall 80a.
  • the outer peripheral wall 80 a is disposed so as to be coaxial with the cylinder 56 and surrounds the outer peripheral side of the cylinder 56.
  • a supply passage 55 is formed between the outer peripheral wall 80 a and the nozzle body 41.
  • the inner diameter of the outer peripheral wall 80 a is substantially the same as the inner diameter of the peripheral wall portion 43 a of the nozzle body 41.
  • the wall thickness of the outer peripheral wall 80a is substantially the same as the wall thickness of the peripheral wall portion 43a.
  • the recovery passage 81 is located on the outer peripheral side of the supply passage 55 by being formed in the outer peripheral wall 80a.
  • the collection passage 81 is a cylindrical hole that extends along the axial direction of the spacer 80.
  • the recovery passage 81 has both ends opened on the bottom surfaces of the annular grooves 82 and 83.
  • the recovery passage 81 is a fuel passage that recovers leaked fuel that leaks from the supply passage 55 between the spacer 80 and the orifice plate 46.
  • the annular grooves 82 and 83 are formed on both end surfaces of the outer peripheral wall 80a in the axial direction.
  • the annular grooves 82 and 83 are recessed grooves in which each end face is recessed in a concave shape.
  • the annular grooves 82 and 83 are formed in an annular shape concentric with the outer peripheral wall 80a.
  • the annular grooves 82 and 83 have the same shape. Leaked fuel leaked from the supply passage 55 flows between the spacer 80 and the nozzle body 41 into the first annular groove 82 facing the nozzle body 41. The leaked fuel moves through the recovery passage 81 to the second annular groove 83 that faces the orifice plate 46. The leaked fuel is discharged to the fuel pipe 14 f (see FIG. 1) through the fuel passage formed in the orifice plate 46.
  • the above spacers 80 are formed in a vertically symmetrical shape in the axial direction.
  • the spacer 80 has a shape that is plane-symmetric with respect to a virtual cross section located at the center in the axial direction. With such a shape, the spacer 80 can be arranged in a posture in which the top surface and the bottom surface are interchanged.
  • the annular grooves 82 and 83 are annular, the position of the collection passage 81 in the circumferential direction may not be defined. Therefore, the spacer 80 is disposed between the nozzle body 41 and the orifice plate 46 without defining the circumferential direction.
  • the nozzle needle 60 is formed in a cylindrical shape as a whole by a metal material such as high-speed tool steel as shown in FIGS.
  • the nozzle needle 60 reciprocates along the axial direction of the nozzle body 41 inside the nozzle body 41.
  • the nozzle needle 60 is urged toward the seat portion 45 by a return spring 66 in which a metal wire is wound spirally.
  • the nozzle needle 60 has a face portion 65 and a valve pressure receiving surface 61.
  • the face portion 65 is formed at one end portion of the both ends of the nozzle needle 60 facing the sheet portion 45.
  • the face portion 65 is formed in a conical shape whose outer diameter decreases toward the tip.
  • the face portion 65 is separated from and seated on the seat portion 45 by the displacement of the nozzle needle 60.
  • the face portion 65 forms a main valve portion 50 that opens and closes the nozzle hole 44 together with the seat portion 45.
  • the valve pressure receiving surface 61 is formed by an end portion on the pressure control chamber 53 side among both axial end portions of the nozzle needle 60.
  • the valve pressure receiving surface 61 divides the pressure control chamber 53 together with the orifice plate 46 and the cylinder 56.
  • the nozzle needle 60 causes the face portion 65 to be separated from and seated on the seat portion 45 due to a change in fuel pressure received on the valve pressure receiving surface 61.
  • the floating plate 70 is formed in a disk shape from a metal material as shown in FIGS. 2, 4, and 5.
  • the floating plate 70 is disposed in the pressure control chamber 53.
  • the floating plate 70 is reciprocated along the axial direction of the nozzle body 41.
  • the floating plate 70 is pressed against the abutting wall surface portion 47 by the pressure of the fuel in the pressure control chamber 53 about to flow out from the outflow passage 54.
  • the floating plate 70 thus sucked toward the outflow passage 54 closes the opening 52 a of the inflow passage 52. As a result, inflow of high-pressure fuel from the inflow passage 52 to the pressure control chamber 53 is prevented.
  • a communicating hole 71 is formed in the floating plate 70.
  • the communication hole 71 is provided at the center in the radial direction of the floating plate 70.
  • the communication hole 71 passes through the floating plate 70 along the axial direction.
  • the floating plate 70 can cause a predetermined flow rate of fuel to flow out from the pressure control chamber 53 to the outflow passage 54 through the communication hole 71 even when the opening 52 a of the inflow passage 52 is closed.
  • the nozzle needle 60 moves in a direction away from the seat portion 45 without contacting the needle stopper 57.
  • the outflow passage 54 and the fuel pipe 14f are shut off by closing the pressure control valve 35, the floating plate 70 is pushed by the fuel in the inflow passage 52, so that the contact wall surface Move away from the portion 47.
  • the nozzle needle 60 quickly moves toward the seat portion 45 to close the nozzle hole 44.
  • the nozzle needle 60 has a preset maximum stroke ST (see FIG. 4) in a direction away from the seat portion 45.
  • the nozzle needle 60 moves beyond the maximum stroke ST due to some abnormality, the movement of the nozzle needle 60 is restricted by contact with the needle stopper 57. That is, the nozzle needle 60 starts the fuel injection from the nozzle hole 44 by moving below the predetermined maximum stroke ST without contacting the needle stopper 57 in a normal operation.
  • the supply passage 55 on the outer periphery of the pressure control chamber 53 is formed by the spacer 80. Therefore, even if the pressure control chamber 53 and thus the cylinder 56 are expanded in the axial direction as the maximum stroke ST of the nozzle needle 60 is extended, the spacer 80 may be expanded in the axial direction. Therefore, the physique of the nozzle body 41 can be maintained.
  • the fuel injection device 100 has a recovery passage 81 formed on the outer peripheral side of the supply passage 55. Therefore, even if leakage from the supply passage 55 occurs due to an unexpected abnormal high-pressure fuel load, such leakage fuel can be reliably recovered by the recovery passage 81. Therefore, even if the spacer 80 is added, fuel leakage to the outside can be surely prevented.
  • the inner diameter and wall thickness of the outer peripheral wall 80a of the added spacer 80 are aligned with the inner diameter and wall thickness of the peripheral wall portion 43a of the nozzle body 41.
  • the outer peripheral wall 80 a can obtain an optimum strength against the pressure of the fuel flowing through the supply passage 55. Further, the expansion of the outer diameter of the fuel injection device 100 can be prevented.
  • the movement of the nozzle needle 60 is continued over a period in which the nozzle hole 44 is in the open state. Therefore, it is necessary to ensure the maximum stroke ST of the nozzle needle 60 for a long time. For this reason, the configuration in which the processing accuracy of the seat portion 45 is maintained and the maximum stroke ST is extended by the spacer 80 is particularly suitable for the fuel injection device 100 in which the movement of the nozzle needle 60 during normal operation is not restricted by the needle stopper 57. That's it.
  • the floating plate 70 continues to block the opening 52a of the inflow passage 52 until the pressure control valve 35 is closed. Therefore, when the pressure control valve 35 is opened, the fuel flowing from the inflow passage 52 to the outflow passage 54 through the pressure control chamber 53 is reduced. In this way, it is possible to reduce the leaked fuel that is returned to the fuel tank 11 without being injected from the injection hole 44.
  • the diesel engine 20 corresponds to an internal combustion engine
  • the nozzle body 41 corresponds to a valve body
  • the orifice plate 46 corresponds to an orifice member.
  • the opening 52a corresponds to an inflow port
  • the supply passage 55 corresponds to a fuel passage
  • the cylinder 56 corresponds to a partition member.
  • the needle stopper 57 corresponds to a restricting portion
  • the nozzle needle 60 corresponds to a valve member
  • the floating plate 70 corresponds to a pressing member.
  • the spacer 80 corresponds to the outer peripheral member.
  • the axial length of the spacer 80 is shorter than the outer diameter and is about the same as the cylinder 56.
  • the shape of the spacer can be changed as appropriate.
  • the length of the spacer 180 in the axial direction can be longer than the outer diameter, as in the control body 140 of the modification shown in FIG.
  • the soot spacer 180 By adopting the soot spacer 180, the axial length of the nozzle body 141 can be further shortened.
  • the nozzle body 141 corresponds to the valve body
  • the spacer 180 corresponds to the outer peripheral member.
  • the inner diameter and wall thickness of the spacer may be different from the nozzle body.
  • the configuration corresponding to the recovery passage 81 and the annular grooves 82 and 83 can be omitted from the spacer.
  • an annular ring groove such as the ring groove 83 may be formed on the end face of the orifice plate in contact with the spacer.
  • an annular annular groove such as the annular groove 82 may be formed on the end surface of the nozzle body in contact with the spacer.
  • one type is selected as the cylinder 56 from among a plurality of types of members having different axial lengths along the moving direction of the nozzle needle 60.
  • the volume of the pressure control chamber 53 can be easily changed.
  • the spacer 80 is selected from a plurality of types having different axial lengths, and one type corresponding to the cylinder 56 is selected. The axial length of the selected spacer 80 can be changed as appropriate in accordance with the axial length of the cylinder 56.
  • the nozzle body that forms the sheet portion employs a material that is more workable than a spacer that is a simple cylindrical member.
  • the effect of solving the contradiction of expansion of the stroke and maintenance of the processing accuracy of the seat portion is applied to a form in which the nozzle needle does not contact the needle stopper at the normal time, thereby reducing leakage fuel. And remarkably effective for achieving both an increase in the injection amount.
  • the present disclosure can also be applied to a fuel injection device in which the nozzle needle contacts the needle stopper during normal operation.
  • the present disclosure can be applied to a fuel injection device in which no floating plate is provided in the pressure control chamber.
  • the needle stopper which stops an abnormal stroke like the said embodiment may be abbreviate
  • the present disclosure is not limited to a diesel engine, and may be applied to a fuel injection device used for an internal combustion engine such as an Otto cycle engine.
  • the fuel injected by the fuel injection device is not limited to light oil but may be dimethyl ether, liquefied petroleum gas, gasoline, or the like.

Landscapes

  • Engineering & Computer Science (AREA)
  • Chemical & Material Sciences (AREA)
  • Combustion & Propulsion (AREA)
  • Mechanical Engineering (AREA)
  • General Engineering & Computer Science (AREA)
  • Physics & Mathematics (AREA)
  • Fluid Mechanics (AREA)
  • Fuel-Injection Apparatus (AREA)
PCT/JP2016/000797 2015-03-09 2016-02-16 燃料噴射装置 Ceased WO2016143264A1 (ja)

Priority Applications (3)

Application Number Priority Date Filing Date Title
US15/523,974 US10151285B2 (en) 2015-03-09 2016-02-16 Fuel injection device
CN201680003519.2A CN107110083B (zh) 2015-03-09 2016-02-16 燃料喷射装置
DE112016001145.8T DE112016001145T5 (de) 2015-03-09 2016-02-16 Kraftstoffeinspritzvorrichtung

Applications Claiming Priority (2)

Application Number Priority Date Filing Date Title
JP2015046184A JP6384366B2 (ja) 2015-03-09 2015-03-09 燃料噴射装置
JP2015-046184 2015-03-09

Publications (1)

Publication Number Publication Date
WO2016143264A1 true WO2016143264A1 (ja) 2016-09-15

Family

ID=56880344

Family Applications (1)

Application Number Title Priority Date Filing Date
PCT/JP2016/000797 Ceased WO2016143264A1 (ja) 2015-03-09 2016-02-16 燃料噴射装置

Country Status (5)

Country Link
US (1) US10151285B2 (enExample)
JP (1) JP6384366B2 (enExample)
CN (1) CN107110083B (enExample)
DE (1) DE112016001145T5 (enExample)
WO (1) WO2016143264A1 (enExample)

Cited By (1)

* Cited by examiner, † Cited by third party
Publication number Priority date Publication date Assignee Title
CN108131230A (zh) * 2017-12-26 2018-06-08 南岳电控(衡阳)工业技术股份有限公司 一种柴油机高压共轨重型机械喷油器

Families Citing this family (2)

* Cited by examiner, † Cited by third party
Publication number Priority date Publication date Assignee Title
DE102019104294A1 (de) * 2018-03-15 2019-09-19 Denso Corporation Korrosionsbeständige Vorrichtung
JP7024567B2 (ja) * 2018-04-06 2022-02-24 株式会社デンソー 燃料噴射弁

Citations (5)

* Cited by examiner, † Cited by third party
Publication number Priority date Publication date Assignee Title
JP2002322960A (ja) * 2001-04-27 2002-11-08 Nippon Soken Inc 燃料噴射弁
JP2005526211A (ja) * 2002-05-18 2005-09-02 ローベルト ボツシユ ゲゼルシヤフト ミツト ベシユレンクテル ハフツング 内燃機関用の燃料噴射弁
JP2005531712A (ja) * 2002-06-29 2005-10-20 ローベルト ボツシユ ゲゼルシヤフト ミツト ベシユレンクテル ハフツング 噴射終了時の迅速な減圧を伴う増圧式の燃料インジェクタ
JP2009515094A (ja) * 2005-11-09 2009-04-09 キャタピラー インコーポレイテッド 可変圧力噴射用の多源燃料システム
JP2013510268A (ja) * 2009-11-10 2013-03-21 ローベルト ボッシュ ゲゼルシャフト ミット ベシュレンクテル ハフツング 燃料噴射弁を製造する方法、及び、燃料噴射弁

Family Cites Families (10)

* Cited by examiner, † Cited by third party
Publication number Priority date Publication date Assignee Title
JPH0765550B2 (ja) * 1988-10-21 1995-07-19 いすゞ自動車株式会社 蓄圧式燃料噴射装置
US5779149A (en) * 1996-07-02 1998-07-14 Siemens Automotive Corporation Piezoelectric controlled common rail injector with hydraulic amplification of piezoelectric stroke
JP2002031016A (ja) * 2000-07-21 2002-01-31 Toyota Industries Corp 燃料噴射器
US7963464B2 (en) * 2008-01-23 2011-06-21 Caterpillar Inc. Fuel injector and method of assembly therefor
DE102008002527A1 (de) * 2008-06-19 2009-12-24 Robert Bosch Gmbh Kraftstoff-Injektor
CN101338716B (zh) * 2008-09-02 2013-07-03 兰州泰瑞液压设备有限公司 新式高压共轨电控喷油器
JP5625837B2 (ja) 2010-03-31 2014-11-19 株式会社デンソー 燃料噴射装置
JP5375762B2 (ja) * 2010-07-14 2013-12-25 株式会社デンソー 燃料噴射装置
JP5304861B2 (ja) 2010-12-17 2013-10-02 株式会社デンソー 燃料噴射装置
JP6708366B2 (ja) 2015-03-09 2020-06-10 株式会社デンソー 燃料噴射装置及び燃料噴射装置の製造方法

Patent Citations (5)

* Cited by examiner, † Cited by third party
Publication number Priority date Publication date Assignee Title
JP2002322960A (ja) * 2001-04-27 2002-11-08 Nippon Soken Inc 燃料噴射弁
JP2005526211A (ja) * 2002-05-18 2005-09-02 ローベルト ボツシユ ゲゼルシヤフト ミツト ベシユレンクテル ハフツング 内燃機関用の燃料噴射弁
JP2005531712A (ja) * 2002-06-29 2005-10-20 ローベルト ボツシユ ゲゼルシヤフト ミツト ベシユレンクテル ハフツング 噴射終了時の迅速な減圧を伴う増圧式の燃料インジェクタ
JP2009515094A (ja) * 2005-11-09 2009-04-09 キャタピラー インコーポレイテッド 可変圧力噴射用の多源燃料システム
JP2013510268A (ja) * 2009-11-10 2013-03-21 ローベルト ボッシュ ゲゼルシャフト ミット ベシュレンクテル ハフツング 燃料噴射弁を製造する方法、及び、燃料噴射弁

Cited By (2)

* Cited by examiner, † Cited by third party
Publication number Priority date Publication date Assignee Title
CN108131230A (zh) * 2017-12-26 2018-06-08 南岳电控(衡阳)工业技术股份有限公司 一种柴油机高压共轨重型机械喷油器
CN108131230B (zh) * 2017-12-26 2024-03-08 南岳电控(衡阳)工业技术股份有限公司 一种柴油机高压共轨重型机械喷油器

Also Published As

Publication number Publication date
US10151285B2 (en) 2018-12-11
CN107110083B (zh) 2019-05-07
JP6384366B2 (ja) 2018-09-05
JP2016166561A (ja) 2016-09-15
US20170356409A1 (en) 2017-12-14
DE112016001145T5 (de) 2017-11-23
CN107110083A (zh) 2017-08-29

Similar Documents

Publication Publication Date Title
US6729600B2 (en) Valve for regulating fluids
US7703708B2 (en) Fuel injection valve
US9127629B2 (en) Fuel injection device
US8544767B2 (en) Fuel injection device
EP3252301B1 (en) Fuel injector for a dual fuel engine
KR101917389B1 (ko) 수동 용량 제한 밸브
KR102082562B1 (ko) 내연 엔진용 연료 분사 시스템
CN102042143A (zh) 减压阀
JP5327117B2 (ja) 燃料噴射装置
JP5732834B2 (ja) 燃料噴射装置
JP6384366B2 (ja) 燃料噴射装置
JP6708366B2 (ja) 燃料噴射装置及び燃料噴射装置の製造方法
US20140352664A1 (en) Flow limiting system
JP5936764B2 (ja) 流量制限器を備えたモジュール式のコモンレール燃料噴射装置のインジェクタ
JP6939390B2 (ja) 燃料噴射弁
JP6413847B2 (ja) 燃料噴射装置
JP2016520767A (ja) 量制限弁
EP3023628B1 (en) A fuel flow limiting valve for large internal combustion engines
JP2008008281A (ja) 燃料噴射弁
US9695790B2 (en) Hydraulic system
JP5434702B2 (ja) 燃料噴射装置
JP5494453B2 (ja) 燃料噴射装置
JP5353785B2 (ja) 燃料噴射装置
JP2009127491A (ja) 燃料噴射弁
JP2020143586A (ja) 圧力調整装置

Legal Events

Date Code Title Description
121 Ep: the epo has been informed by wipo that ep was designated in this application

Ref document number: 16761243

Country of ref document: EP

Kind code of ref document: A1

WWE Wipo information: entry into national phase

Ref document number: 15523974

Country of ref document: US

WWE Wipo information: entry into national phase

Ref document number: 112016001145

Country of ref document: DE

122 Ep: pct application non-entry in european phase

Ref document number: 16761243

Country of ref document: EP

Kind code of ref document: A1