WO2016143245A1 - 画像表示装置 - Google Patents

画像表示装置 Download PDF

Info

Publication number
WO2016143245A1
WO2016143245A1 PCT/JP2016/000496 JP2016000496W WO2016143245A1 WO 2016143245 A1 WO2016143245 A1 WO 2016143245A1 JP 2016000496 W JP2016000496 W JP 2016000496W WO 2016143245 A1 WO2016143245 A1 WO 2016143245A1
Authority
WO
WIPO (PCT)
Prior art keywords
image
light
optical system
observer
intermediate image
Prior art date
Legal status (The legal status is an assumption and is not a legal conclusion. Google has not performed a legal analysis and makes no representation as to the accuracy of the status listed.)
Ceased
Application number
PCT/JP2016/000496
Other languages
English (en)
French (fr)
Japanese (ja)
Inventor
米窪 政敏
光隆 井出
Current Assignee (The listed assignees may be inaccurate. Google has not performed a legal analysis and makes no representation or warranty as to the accuracy of the list.)
Seiko Epson Corp
Original Assignee
Seiko Epson Corp
Priority date (The priority date is an assumption and is not a legal conclusion. Google has not performed a legal analysis and makes no representation as to the accuracy of the date listed.)
Filing date
Publication date
Application filed by Seiko Epson Corp filed Critical Seiko Epson Corp
Priority to CN201680013611.7A priority Critical patent/CN107407812B/zh
Priority to US15/557,073 priority patent/US10495888B2/en
Publication of WO2016143245A1 publication Critical patent/WO2016143245A1/ja
Anticipated expiration legal-status Critical
Ceased legal-status Critical Current

Links

Images

Classifications

    • GPHYSICS
    • G02OPTICS
    • G02BOPTICAL ELEMENTS, SYSTEMS OR APPARATUS
    • G02B27/00Optical systems or apparatus not provided for by any of the groups G02B1/00 - G02B26/00, G02B30/00
    • G02B27/02Viewing or reading apparatus
    • G02B27/022Viewing apparatus
    • G02B27/024Viewing apparatus comprising a light source, e.g. for viewing photographic slides, X-ray transparancies
    • G02B27/026Viewing apparatus comprising a light source, e.g. for viewing photographic slides, X-ray transparancies and a display device, e.g. CRT, LCD, for adding markings or signs or to enhance the contrast of the viewed object
    • GPHYSICS
    • G02OPTICS
    • G02BOPTICAL ELEMENTS, SYSTEMS OR APPARATUS
    • G02B13/00Optical objectives specially designed for the purposes specified below
    • G02B13/001Miniaturised objectives for electronic devices, e.g. portable telephones, webcams, PDAs, small digital cameras
    • G02B13/0015Miniaturised objectives for electronic devices, e.g. portable telephones, webcams, PDAs, small digital cameras characterised by the lens design
    • G02B13/002Miniaturised objectives for electronic devices, e.g. portable telephones, webcams, PDAs, small digital cameras characterised by the lens design having at least one aspherical surface
    • G02B13/0035Miniaturised objectives for electronic devices, e.g. portable telephones, webcams, PDAs, small digital cameras characterised by the lens design having at least one aspherical surface having three lenses
    • GPHYSICS
    • G02OPTICS
    • G02BOPTICAL ELEMENTS, SYSTEMS OR APPARATUS
    • G02B17/00Systems with reflecting surfaces, with or without refracting elements
    • G02B17/08Catadioptric systems
    • GPHYSICS
    • G02OPTICS
    • G02BOPTICAL ELEMENTS, SYSTEMS OR APPARATUS
    • G02B27/00Optical systems or apparatus not provided for by any of the groups G02B1/00 - G02B26/00, G02B30/00
    • G02B27/01Head-up displays
    • G02B27/017Head mounted
    • G02B27/0172Head mounted characterised by optical features
    • GPHYSICS
    • G02OPTICS
    • G02BOPTICAL ELEMENTS, SYSTEMS OR APPARATUS
    • G02B27/00Optical systems or apparatus not provided for by any of the groups G02B1/00 - G02B26/00, G02B30/00
    • G02B27/02Viewing or reading apparatus
    • G02B27/06Viewing or reading apparatus with moving picture effect
    • GPHYSICS
    • G02OPTICS
    • G02BOPTICAL ELEMENTS, SYSTEMS OR APPARATUS
    • G02B5/00Optical elements other than lenses
    • G02B5/08Mirrors
    • G02B5/09Multifaceted or polygonal mirrors, e.g. polygonal scanning mirrors; Fresnel mirrors
    • GPHYSICS
    • G02OPTICS
    • G02BOPTICAL ELEMENTS, SYSTEMS OR APPARATUS
    • G02B5/00Optical elements other than lenses
    • G02B5/08Mirrors
    • G02B5/10Mirrors with curved faces
    • GPHYSICS
    • G02OPTICS
    • G02BOPTICAL ELEMENTS, SYSTEMS OR APPARATUS
    • G02B27/00Optical systems or apparatus not provided for by any of the groups G02B1/00 - G02B26/00, G02B30/00
    • G02B27/01Head-up displays
    • G02B27/0149Head-up displays characterised by mechanical features
    • G02B2027/0154Head-up displays characterised by mechanical features with movable elements
    • GPHYSICS
    • G02OPTICS
    • G02BOPTICAL ELEMENTS, SYSTEMS OR APPARATUS
    • G02B27/00Optical systems or apparatus not provided for by any of the groups G02B1/00 - G02B26/00, G02B30/00
    • G02B27/01Head-up displays
    • G02B27/017Head mounted
    • G02B27/0172Head mounted characterised by optical features
    • G02B2027/0174Head mounted characterised by optical features holographic
    • GPHYSICS
    • G02OPTICS
    • G02BOPTICAL ELEMENTS, SYSTEMS OR APPARATUS
    • G02B27/00Optical systems or apparatus not provided for by any of the groups G02B1/00 - G02B26/00, G02B30/00
    • G02B27/01Head-up displays
    • G02B27/017Head mounted
    • G02B2027/0178Eyeglass type
    • GPHYSICS
    • G02OPTICS
    • G02BOPTICAL ELEMENTS, SYSTEMS OR APPARATUS
    • G02B27/00Optical systems or apparatus not provided for by any of the groups G02B1/00 - G02B26/00, G02B30/00
    • G02B27/02Viewing or reading apparatus
    • G02B27/028Viewing or reading apparatus characterised by the supporting structure

Definitions

  • the present invention relates to an image display device.
  • diopter adjustment for the virtual image (adjustment of the position of the virtual image in the depth direction) is also required.
  • diopter adjustment for a virtual image is not considered. Therefore, it has been desired to provide a new technique capable of easily adjusting the diopter for a virtual image.
  • the present invention has been made in view of such circumstances, and an object thereof is to provide an image display device capable of easily adjusting the diopter for a virtual image.
  • an image generation unit that emits image light including image information
  • a first optical system that collects the image light to form an intermediate image, and light from the intermediate image
  • the second optical system that guides the virtual image to the observer's eye by deflecting the light and transmits the external light to the observer's eye, and the depth direction of the virtual image by changing the position of the intermediate image
  • an intermediate image position changing means for adjusting the position of the image display device.
  • diopter adjustment for a virtual image can be performed with a simple configuration such as changing the position of the intermediate image.
  • the image generation unit includes an optical scanning device that scans the light emitted from the light source unit, and an enlarging element that expands the light from the optical scanning device and emits the light as the image light.
  • the intermediate image position changing means may be configured to move at least a part of the first optical system in the direction of the central ray of the image light. According to this configuration, the image generation unit is downsized. Further, since the intermediate image position changing means moves at least a part of the first optical system, the apparatus configuration is simplified and the apparatus becomes small. Therefore, the whole apparatus can be reduced in size.
  • the image generation unit includes an electro-optical device that generates the image light
  • the intermediate image position changing unit uses at least a part of the first optical system as a direction of a central ray of the image light. It is good also as a structure moved to. According to this configuration, the intermediate image position changing unit moves at least a part of the first optical system, so that the apparatus configuration is simplified and the apparatus becomes small. Therefore, the whole apparatus can be reduced in size.
  • an image generation unit that emits image light including image information, a first optical system that collects the image light to form an intermediate image, and light from the intermediate image
  • a second optical system that guides the virtual image to the eyes of the observer by deflecting the light and transmits the external light to the eyes of the observer, and a diopter adjusting means that adjusts the diopter for the external light
  • an image display device comprising intermediate image position changing means for adjusting the position of the virtual image in the depth direction by changing the position of the intermediate image.
  • the position of the virtual image in the depth direction can be adjusted with a simple configuration such as changing the position of the intermediate image. Furthermore, diopter adjustment with respect to external light can also be performed.
  • the intermediate image position changing means may be configured to move the image generation unit and at least a part of the first optical system integrally in the direction of the central ray of the image light. According to this configuration, the position of the intermediate image can be changed easily and reliably.
  • the intermediate image position changing unit may be configured to move at least a part of the first optical system in a direction of a central ray of the image light. According to this configuration, the intermediate image position changing unit moves at least a part of the first optical system, so that the apparatus configuration is simplified and the apparatus becomes small. Therefore, the whole apparatus can be reduced in size.
  • the diopter adjusting means may be configured by a lens formed by an external light side surface of the second optical system and an eye side surface of the observer. According to this configuration, the diopter adjusting means and the second optical system can be used together. Therefore, the number of parts can be reduced, and downsizing of the apparatus can be realized.
  • the diopter adjusting means may be configured by a spectacle lens disposed between the second optical system and the eyes of the observer. According to this configuration, since the spectacle lens is used, the diopter adjustment of outside light can be performed in a small and simple manner.
  • the intermediate image position changing unit may adjust the position of the virtual image in the depth direction in accordance with the diopter adjustment of the external light by the diopter adjustment unit. According to this configuration, the diopter for the external light and the virtual image is adjusted with a good balance, so that an image display device with excellent visibility can be provided.
  • FIG. 1 is a diagram illustrating a state in which a user wears the HMD of the present embodiment.
  • FIG. 2 is a perspective view of the HMD of this embodiment.
  • the HMD 300 of the present embodiment is used by being worn on the head as if the user is wearing glasses.
  • the HMD 300 of this embodiment is a see-through type (transmission type) HMD.
  • the user can visually recognize an image generated by the image display unit, and can also visually recognize an external image such as a scenery outside the HMD 300.
  • the HMD 300 includes a display device 100 having a shape similar to glasses, and a control device (controller) 200 having a size that can be held by a user's hand. .
  • the display device 100 and the control device 200 are connected so that they can communicate with each other by wire or wirelessly.
  • each of the left-eye image display unit 110A and the right-eye image display unit 110B constituting the display device 100 and the control device 200 are connected to each other via a cable 150 so as to be able to communicate with each other via an image signal. And communicate control signals.
  • the display device 100 includes a main frame 120, a left-eye image display unit 110A, and a right-eye image display unit 110B.
  • the control device 200 includes a display unit 210 and an operation button unit 250.
  • the display unit 210 displays various information and instructions given to the user, for example.
  • the main frame 120 includes a pair of temple portions 122A and 122B for a user to put on his ear.
  • the main frame 120 is a member that supports the left-eye image display unit 110A and the right-eye image display unit 110B.
  • FIG. 3 is a plan view showing the configuration of each part of the display device 100. Further, FIG. 3 illustrates a state in which the user wearing the display device 100 is viewed from above.
  • the right-eye image display unit 110B and the left-eye image display unit 110A have the same configuration, and the components in both the image display units are arranged symmetrically. Therefore, in the following, the right-eye image display unit 110B will be described in detail as simply the image display unit 110, and the description of the left-eye image display unit 110A will be omitted.
  • the image display unit 110 includes an image generation unit 11, a pupil enlarging element 12, a first optical system 13, and a second optical system 14.
  • the image generation unit 11 emits light including image information.
  • the pupil enlarging element 12 expands the beam diameter of light emitted from the optical scanning device 17 described later.
  • the image generation unit 11 includes a light source optical system 15, a mirror 16, and an optical scanning device 17.
  • the light source optical system 15 emits light generated by an internal semiconductor laser.
  • the mirror 16 reflects the light emitted from the light source optical system 15 and turns back the optical path of the light.
  • the optical scanning device 17 scans the light reflected by the mirror 16.
  • the light source optical system 15 includes a light source unit 25, a pickup lens 26, an optical fiber 27, and a collimator lens 28.
  • the light source unit 25 includes a plurality of solid light sources (not shown) including, for example, a semiconductor laser that emits red light, a semiconductor laser that emits green light, and a semiconductor laser that emits blue light. Each color light emitted from each semiconductor laser is modulated in accordance with an image signal, and each modulated color light is synthesized and emitted from the light source unit 25 as image light.
  • the pickup lens 26 transmits the light emitted from the light source unit 25 to a subsequent optical fiber 27.
  • the optical fiber 27 guides light incident from the light source unit 25 through the pickup lens 26 to the subsequent optical system.
  • the collimator lens 28 collimates the light incident from the optical fiber 27.
  • the light emitted from the light source optical system 15 is reflected by the mirror 16 so that the optical path is turned back and guided to the optical scanning device 17.
  • the optical scanning device 17 includes, for example, a MEMS mirror (not shown).
  • the optical scanning device 17 changes the attitude of the MEMS mirror in accordance with the modulation operation of the light source optical system 15 to scan light two-dimensionally. In this way, the optical scanning device 17 emits image light including image information.
  • the light emitted from the light source optical system 15 is collimated by the collimator lens 28 to become parallel light.
  • the collimated light constitutes image light by changing the angle by the MEMS mirror 18 of the optical scanning device 17.
  • the image light whose angle has been converted by the MEMS mirror 18 enters the pupil enlarging element 12.
  • the size of the exit pupil is required to be about 6 to 8 mm in consideration of the size of the pupil of the pupil of the eye of the observer H, the movement of the eyeball, and individual differences in eye width.
  • the light (image light) from the MEMS mirror 18 is expanded to 6 mm or more by the pupil expansion element 12. Thereby, even if the pupil position of the observer H is slightly deviated, the virtual image G1 can be viewed well, and it is very easy to use.
  • the pupil enlarging element 12 has a plurality of parallel flat plates (not shown) and a plurality of half mirrors (not shown). The plurality of parallel flat plates are joined via a half mirror.
  • the pupil enlarging element 12 is cut so that a pair of end faces are inclined with respect to the thickness direction of the plane-parallel plate, and the end faces respectively enter a light incident end face 12a and an image on which image light from the optical scanning device 17 is incident.
  • a light emitting end face 12b that emits light after being enlarged is configured.
  • the horizontal cross-sectional shape of the pupil enlarging element 12 is a trapezoid.
  • the image light incident from the light incident end face 12a is repeatedly transmitted and reflected by a plurality of half mirrors, and then emitted from the light exit end face 12b.
  • the width of the image light emitted from the light exit end face 12b is enlarged relative to the width of the image light incident on the light incident end face 12a.
  • the incident angle of the image light on the light incident end face 12a matches the emission angle of the image light from the light emitting end face 12b.
  • image light incident perpendicularly to the light incident end face 12a is emitted perpendicularly from the light exit end face 12b, and image light incident at a predetermined incident angle on the light incident end face 12a is emitted from the light exit end face 12b.
  • the light is emitted at an emission angle equal to the incident angle. Accordingly, in FIG. 3, when the image light passes through the pupil enlarging element 12, the optical path is bent toward the shorter side of the trapezoid.
  • the first optical system 13 functions as a correction optical system that corrects aberrations and distortion of an image caused by the second optical system 14 when light emitted from the pupil enlarging element 12 enters.
  • the first optical system 13 is an optical system including at least positive power and negative power, and has positive power as a whole.
  • the first optical system 13 includes a first lens 21, a second lens 22, and a third lens 23 in order from the light incident side.
  • the first optical system 13 includes three lenses, ie, the first lens 21, the second lens 22, and the third lens 23, but the number of lenses is not particularly limited.
  • the first optical system 13 has a positive power as a whole. Therefore, the light emitted from the pupil enlarging element 12 is collected, and the intermediate image GM is placed in front of the second optical system 14. Can be formed.
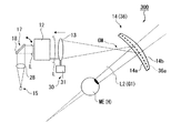
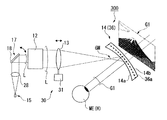
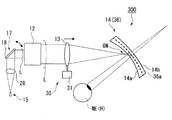
  • FIG. 4 is a diagram schematically showing the configuration of the HMD 300 of this embodiment.
  • the first optical system 13 is shown as a single lens in order to make the drawing easier to see.
  • the second optical system 14 reflects light from the intermediate image GM to guide the virtual image G1 to the eye ME of the observer H and transmits a part of the external light.
  • the second optical system 14 for example, a concave mirror with a semi-transparent film deposited thereon, a Fresnel concave mirror, or a reflection hologram formed on an aspherical surface is used.
  • a translucent concave mirror (reflective surface) 36a is installed in a lens 36 (transparent plastic) formed by an eye side surface 14a and an external light side surface 14b. It has a structure.
  • the visual acuity of the observer using the HMD varies from person to person.
  • an observer other than normal vision such as myopia and astigmatism uses the HMD, it is required to adjust diopter for external light and virtual images in order to obtain good image visibility.
  • the HMD 300 of the present embodiment can easily perform diopter adjustment for external light and virtual images as will be described later.
  • the HMD 300 of this embodiment includes a diopter adjustment means 35 that adjusts the diopter for external light.
  • the diopter adjustment means 35 includes a lens 36 formed by the eye side surface 14a and the external light side surface 14b of the second optical system 14.
  • the lens 36 constitutes a diopter adjusting means described in the claims that adjusts the diopter for external light by adjusting the shape according to the visual acuity of the observer. to correct.
  • the arrangement, refractive index, and shape of the first optical system 13 and the second optical system 14 are determined so that the aberration of the virtual image G1 is reduced.
  • the shape of the second optical system 14 (lens 36) is generally a free-form surface, so that aberration can be corrected better.
  • the curved surface shape of the external light-side surface 14b is determined so that necessary diopter correction can be performed.
  • the diopter adjustment amount of outside light may be set to zero. That is, the shape of the eye-side surface 14a and the external light-side surface 14b is adjusted so as not to have refractive power with respect to external light. That is, the average curvature radius of the eye-side surface 14a is set to be slightly larger than the average curvature radius of the external light-side surface 14b.
  • the lens 36 having negative power as a whole is used by setting the average radius of curvature of the external light side surface 14b to be larger than the average radius of curvature of the eye side surface 14a. That's fine.
  • the lens 36 having positive power as a whole is used.
  • the lens 36 can be a bifocal lens as a progressive focus lens. Diopter adjustment of external light is possible independently of the diopter and position of a virtual image G1, which will be described later.
  • the lens 36 (second optical system 14) is detachable from the main frame 120 (see FIG. 3). Therefore, by exchanging the lens 36 according to the visual acuity, the observer H having various visual acuities can visually recognize the external light satisfactorily.
  • the HMD 300 of the present embodiment includes intermediate image position changing means 30 that adjusts the position in the depth direction of the virtual image G1 by changing the position of the intermediate image GM to adjust the diopter for the virtual image G1.
  • the intermediate image position changing unit 30 includes a moving device 31 that moves the first optical system 13 in the direction of the central ray of the light (image light L) emitted from the pupil enlarging element 12.
  • the first optical system 13 can be moved by using a screw or an eccentric pin along a guide, or the first optical system can be automatically used by using a motor, an actuator, or the like. The thing which moves the system
  • strain 13 can be illustrated.
  • the first optical system 13 is composed of a plurality of lenses (first lens 21, second lens 22, and third lens 23).
  • the intermediate image position changing unit 30 may move the entire first optical system 13 (three lenses), or may move only one of the three lenses.
  • the diopter adjustment function for the virtual image G1 will be described.
  • the diopter adjustment of the virtual image is performed according to the diopter adjustment of the external light by the diopter adjustment means 35. That is, when adjusting the position of the virtual image corresponding to the myopic observer H, the myopia lens 36 corresponding to the myopic observer H may be used.
  • FIG. 5 is a diagram for explaining a case where diopter adjustment is performed for a nearsighted observer H.
  • FIG. 4 shows only the light beam at the center of the image (virtual image G1).
  • the moving device 31 moves the first optical system 13 so as to approach the second optical system 14 side.
  • the position of the intermediate image GM approaches the second optical system 14.
  • the divergent light L1 forms an image on the retina of the myopic observer H.
  • the first optical system 13 may be moved closer to the second optical system 14 by the moving device 31.
  • diopter adjustment is performed for a hyperopic observer H.
  • the diopter adjustment of the virtual image is performed according to the diopter adjustment of the external light by the diopter adjustment means 35.
  • the above-mentioned lens 36 for hyperopia corresponding to the hyperopic observer H may be used.
  • FIG. 6 is a diagram for explaining a case where diopter adjustment is performed for a hyperopic observer H.
  • FIG. 6 shows only the light beam at the center of the image (virtual image G1).
  • the moving device 31 moves the first optical system 13 so as to be away from the second optical system 14.
  • the position of the intermediate image GM is separated from the second optical system 14.
  • the light from the intermediate image GM reflected by the second optical system 14 becomes the convergent light L2.
  • the convergent light L2 forms an image on the retina of the far-sighted observer H.
  • the intermediate image position changing means 30 may be used to adjust the position of the virtual image G1 in the depth direction with respect to the observer H with normal vision.
  • the intermediate image GM may be brought closer to the second optical system 14 as shown in FIG.
  • the intermediate image GM may be moved away from the second optical system 14 as shown in FIG.
  • the position of the virtual image G1 in the depth direction can be adjusted with a simple configuration in which the intermediate image position changing unit 30 changes the position of the intermediate image GM. Adjustment). Moreover, since the diopter adjustment means 35 is provided, diopter adjustment with respect to external light can be performed. Therefore, since the diopter for the external light and the virtual image is adjusted with a good balance, the HMD 300 having excellent visibility is provided.
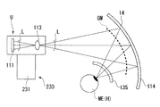
  • FIG. 7 is a diagram showing a schematic configuration in the HMD 301 of the present embodiment.
  • FIG. 7 shows only the central rays of the center of the image (virtual image) and the angle of view at both ends.
  • the HMD 301 of this embodiment includes an image generation unit 111, a lens (first condensing optical system) 113, a second optical system 114, an intermediate image position changing unit 230, and a diopter adjustment unit 135. Have.
  • the image generation unit 111 includes a display panel (electro-optical device) 112.
  • the display panel 112 includes a backlight (not shown) and a light modulation element (not shown).
  • the backlight is composed of a set of light sources for each emission color such as red, green and blue.
  • each light source for example, a light emitting diode (LED) or a laser light source can be used.
  • As the light modulation element for example, a liquid crystal display device which is a display element can be used.
  • an organic electroluminescence device organic EL device or the like can also be employed.
  • the lens 113 has positive power, collects light emitted from the display panel 112, and forms an intermediate image GM in front of the second optical system 114.
  • the second optical system 114 includes a concave mirror that reflects light from the intermediate image GM to guide the virtual image G1 to the eyes of the observer H and transmits part of the external light.
  • the image generation unit 111 and the lens 113 are integrated to form an image unit U.
  • the intermediate image position changing unit 230 includes a moving device 231 that moves the image unit U in the direction of the central ray of the light (image light L) emitted from the image unit U (left-right direction in FIG. 7).
  • the lens 113 may be comprised from the some lens similarly to 1st Embodiment.
  • the image unit U only needs to include at least one of a plurality of lenses, and the intermediate image position changing unit 230 moves only the lens included in the image unit U (a part of the lens 113). You may do it.
  • the diopter adjusting means 135 is composed of a spectacle lens (inner lens).
  • the diopter adjustment means 135 is supported by a support member (not shown) provided on the main frame 120, is a position that avoids the optical path of image light from the lens 113 to the second optical system 114, and It is detachably disposed between the second optical system 114 and the eyes of the observer H.
  • the external light visibility in the observer H of various visual acuity can be improved by replacing
  • the position of the intermediate image GM is changed by moving the image unit U in the optical axis direction of the image light, and the visual image G1 is viewed together with the diopter adjustment means 135 (glasses lens).
  • the degree adjustment and the position adjustment of the virtual image G1 can be easily and reliably performed.
  • the position of the virtual image G1 in the depth direction (virtual image diopter adjustment) can be adjusted with a simple configuration in which the position of the intermediate image GM is changed by the intermediate image position changing unit 230. it can.
  • the diopter adjustment unit 135 is provided, diopter adjustment with respect to external light can be performed. Therefore, since the diopter for the external light and the virtual image is adjusted with a good balance, the HMD 300 having excellent visibility is provided.
  • the HMDs 300 and 301 including the intermediate image position changing units 30 and 120 and the diopter adjustment units 35 and 135 have been described as examples, but the present invention is not limited thereto.
  • the HMD of the present invention only needs to include at least the intermediate image position changing means 30 and 120. According to this, the position of the virtual image G1 in the depth direction can be changed with a simple configuration such as changing the position of the intermediate image GM. Can be adjusted.
  • the position of the intermediate image GM is changed by moving the first optical system 13 and the lens 113 to adjust the position of the virtual image G1 in the depth direction is described as an example.
  • the invention is not limited to this, and the position of the intermediate image GM may be changed by moving the second optical systems 14 and 114.
  • the optimal position in the depth direction of the virtual image changes depending on whether you are looking at a distant view (external light) or a close view (external light). That is, if the position of the virtual image in the depth direction is deviated from the optimum position, the viewer feels uncomfortable when viewing the external light and the virtual image at the same time.
  • the intermediate image position changing means 30 and 230 may adjust the position of the virtual image G1 in the depth direction according to the external light visually recognized by the observer H, for example.
  • a detection unit for example, a CCD camera
  • the intermediate image position changing units 30 and 230 are controlled based on the detection result of the detection unit.
  • the position of the image GM may be changed. In this way, the position of the virtual image in the depth direction can be optimized when viewing a distant view (external light) and when viewing a close view (external light).
  • the position of the virtual image in the depth direction is optimal as the line of sight moves, even if the line of sight moves from a distant view to a close view. Therefore, it is possible to obtain a good image visibility without causing a sense of incongruity.
  • H observer, ME ... eye, G1 ... virtual image, L ... image light, MG ... intermediate image, 11, 111 ... image generation unit, 12 ... pupil magnifying element (magnifying element), 13 ... first optical system, 14 , 114 ... second optical system, 17 ... optical scanning device, 30, 230 ... intermediate image position changing means, 35, 135 ... movement adjusting means, 36 ... lens, 112 ... display panel (electro-optical device), 300, 301 ... HMD (image display device).

Landscapes

  • Physics & Mathematics (AREA)
  • General Physics & Mathematics (AREA)
  • Optics & Photonics (AREA)
PCT/JP2016/000496 2015-03-09 2016-02-01 画像表示装置 Ceased WO2016143245A1 (ja)

Priority Applications (2)

Application Number Priority Date Filing Date Title
CN201680013611.7A CN107407812B (zh) 2015-03-09 2016-02-01 图像显示装置
US15/557,073 US10495888B2 (en) 2015-03-09 2016-02-01 Image display device capable of adjusting image position in depth direction

Applications Claiming Priority (2)

Application Number Priority Date Filing Date Title
JP2015-045901 2015-03-09
JP2015045901A JP6661885B2 (ja) 2015-03-09 2015-03-09 画像表示装置

Publications (1)

Publication Number Publication Date
WO2016143245A1 true WO2016143245A1 (ja) 2016-09-15

Family

ID=56879408

Family Applications (1)

Application Number Title Priority Date Filing Date
PCT/JP2016/000496 Ceased WO2016143245A1 (ja) 2015-03-09 2016-02-01 画像表示装置

Country Status (4)

Country Link
US (1) US10495888B2 (enExample)
JP (1) JP6661885B2 (enExample)
CN (1) CN107407812B (enExample)
WO (1) WO2016143245A1 (enExample)

Cited By (2)

* Cited by examiner, † Cited by third party
Publication number Priority date Publication date Assignee Title
WO2018135046A1 (ja) * 2017-01-20 2018-07-26 株式会社Qdレーザ 画像投影装置
TWI681210B (zh) * 2017-03-13 2020-01-01 宏達國際電子股份有限公司 頭戴式顯示裝置

Families Citing this family (19)

* Cited by examiner, † Cited by third party
Publication number Priority date Publication date Assignee Title
GB2548150B (en) * 2016-03-11 2020-02-19 Sony Interactive Entertainment Europe Ltd Head-mountable display system
JP6794738B2 (ja) * 2016-09-26 2020-12-02 セイコーエプソン株式会社 頭部装着型表示装置
US11445903B2 (en) * 2017-10-05 2022-09-20 Qd Laser, Inc. Vision test device
CN111201478A (zh) * 2017-12-01 2020-05-26 日立乐金光科技株式会社 虚像投射装置
CN107861247B (zh) * 2017-12-22 2020-08-25 联想(北京)有限公司 光学部件及增强现实设备
CN109239924A (zh) * 2018-06-30 2019-01-18 李迪朋 一种增强现实眼镜装置
JP2020076935A (ja) * 2018-11-09 2020-05-21 ソニー株式会社 観察光学系および画像表示装置
WO2020095652A1 (ja) * 2018-11-09 2020-05-14 ソニー株式会社 観察光学系および画像表示装置
CN111273442A (zh) * 2018-12-05 2020-06-12 北京耐德佳显示技术有限公司 一种超薄光学组件、该光学组件的虚像成像方法及使用其的显示装置
CN109633905B (zh) 2018-12-29 2020-07-24 华为技术有限公司 多焦平面显示系统以及设备
JP7250582B2 (ja) * 2019-03-26 2023-04-03 京セラ株式会社 画像表示モジュール、移動体、及び光学系
JP2021056278A (ja) * 2019-09-27 2021-04-08 セイコーエプソン株式会社 表示装置
WO2021066335A1 (ko) 2019-09-30 2021-04-08 주식회사 엘지화학 헤드 마운티드 디스플레이
KR102412293B1 (ko) * 2019-10-31 2022-06-22 이성민 근안 디스플레이 광학 시스템
DE102021206073A1 (de) 2021-06-15 2022-12-15 Robert Bosch Gesellschaft mit beschränkter Haftung Optisches System für eine virtuelle Netzhautanzeige (Retinal Scan Display), Datenbrille und Verfahren zum Projizieren von Bildinhalten auf die Netzhaut eines Nutzers
JP2023032278A (ja) * 2021-08-26 2023-03-09 キヤノン株式会社 映像表示装置およびその制御方法、プログラム
CN114815241B (zh) * 2021-12-16 2022-12-16 北京灵犀微光科技有限公司 抬头显示系统、方法及车载系统
CN116643401A (zh) * 2022-02-15 2023-08-25 舜宇光学(浙江)研究院有限公司 近眼显示设备
US20250037624A1 (en) * 2022-08-29 2025-01-30 Hes Ip Holdings, Llc Method and system for visual depth calibration for head wearable display

Citations (4)

* Cited by examiner, † Cited by third party
Publication number Priority date Publication date Assignee Title
JP2004021078A (ja) * 2002-06-19 2004-01-22 Nikon Corp コンバイナ光学系、及び情報表示装置
JP2006153967A (ja) * 2004-11-25 2006-06-15 Olympus Corp 情報表示装置
JP2012063627A (ja) * 2010-09-16 2012-03-29 Olympus Corp 頭部装着型表示装置
JP2013186230A (ja) * 2012-03-07 2013-09-19 Seiko Epson Corp 虚像表示装置

Family Cites Families (12)

* Cited by examiner, † Cited by third party
Publication number Priority date Publication date Assignee Title
WO2004061519A1 (ja) 2002-12-24 2004-07-22 Nikon Corporation ヘッドマウントディスプレイ
JP4362860B2 (ja) 2003-01-31 2009-11-11 株式会社ニコン ヘッドマウントディスプレイ装置
US8446676B2 (en) 2010-09-16 2013-05-21 Olympus Corporation Head-mounted display device
JP6185844B2 (ja) * 2010-12-24 2017-08-30 マジック リープ, インコーポレイテッド 人間工学的ヘッドマウントディスプレイデバイスおよび光学システム
US9321787B2 (en) * 2011-07-07 2016-04-26 Sanofi Carboxylic acid derivatives having an oxazolo[5,4-d]pyrimidine ring
JP6111635B2 (ja) * 2012-02-24 2017-04-12 セイコーエプソン株式会社 虚像表示装置
JP5831305B2 (ja) * 2012-03-12 2015-12-09 セイコーエプソン株式会社 頭部装着型表示装置および頭部装着型表示装置の制御方法
JP6019918B2 (ja) * 2012-08-17 2016-11-02 セイコーエプソン株式会社 虚像表示装置
JP6330258B2 (ja) * 2013-05-15 2018-05-30 セイコーエプソン株式会社 虚像表示装置
JP6221731B2 (ja) * 2013-09-03 2017-11-01 セイコーエプソン株式会社 虚像表示装置
JP6221732B2 (ja) * 2013-09-03 2017-11-01 セイコーエプソン株式会社 虚像表示装置
JP6295640B2 (ja) * 2013-09-03 2018-03-20 セイコーエプソン株式会社 虚像表示装置

Patent Citations (4)

* Cited by examiner, † Cited by third party
Publication number Priority date Publication date Assignee Title
JP2004021078A (ja) * 2002-06-19 2004-01-22 Nikon Corp コンバイナ光学系、及び情報表示装置
JP2006153967A (ja) * 2004-11-25 2006-06-15 Olympus Corp 情報表示装置
JP2012063627A (ja) * 2010-09-16 2012-03-29 Olympus Corp 頭部装着型表示装置
JP2013186230A (ja) * 2012-03-07 2013-09-19 Seiko Epson Corp 虚像表示装置

Cited By (5)

* Cited by examiner, † Cited by third party
Publication number Priority date Publication date Assignee Title
WO2018135046A1 (ja) * 2017-01-20 2018-07-26 株式会社Qdレーザ 画像投影装置
JP2018116219A (ja) * 2017-01-20 2018-07-26 株式会社Qdレーザ 画像投影装置
EP3572864A4 (en) * 2017-01-20 2020-01-01 QD Laser, Inc. Image projection device
US11586038B2 (en) 2017-01-20 2023-02-21 Qd Laser, Inc. Image projection device
TWI681210B (zh) * 2017-03-13 2020-01-01 宏達國際電子股份有限公司 頭戴式顯示裝置

Also Published As

Publication number Publication date
US10495888B2 (en) 2019-12-03
JP2016166931A (ja) 2016-09-15
CN107407812A (zh) 2017-11-28
CN107407812B (zh) 2020-11-06
JP6661885B2 (ja) 2020-03-11
US20180067326A1 (en) 2018-03-08

Similar Documents

Publication Publication Date Title
JP6661885B2 (ja) 画像表示装置
JP4155343B2 (ja) 二つの光景からの光を観察者の眼へ代替的に、あるいは同時に導くための光学系
CN102004317B (zh) 眼镜型图像显示装置
JP5475083B2 (ja) 表示装置
US9519146B2 (en) Virtual image display apparatus
CN101589327A (zh) 光束扫描式显示装置、显示方法、程序以及集成电路
JP6812649B2 (ja) 画像表示装置
WO2020079906A1 (ja) ヘッドマウントディスプレイおよびこれに用いられる広焦点レンズの設計方法
CN113341567A (zh) 一种双焦面光波导近眼显示光学系统
JP2019144515A (ja) 虚像表示装置
KR102386259B1 (ko) 시력 보정 기능을 구비하는 증강 현실용 광학 장치
KR102438997B1 (ko) 시력 보정 기능을 구비하는 증강 현실용 광학 장치
JP2023526272A (ja) アイウェアデバイス及び方法
KR102353010B1 (ko) 시력 보정 기능을 구비하는 증강 현실용 광학 장치
US20240168278A1 (en) Light source device and image display device
EP3958042B1 (en) Optical device for augmented reality with improved light transmittance
JP2025154747A (ja) 虚像表示装置及び虚像表示方法
JP2024064476A (ja) 虚像表示装置
JP2021086074A (ja) 透過型画像表示装置
HK1154081B (en) Spectacles-type image display device

Legal Events

Date Code Title Description
121 Ep: the epo has been informed by wipo that ep was designated in this application

Ref document number: 16761224

Country of ref document: EP

Kind code of ref document: A1

WWE Wipo information: entry into national phase

Ref document number: 15557073

Country of ref document: US

NENP Non-entry into the national phase

Ref country code: DE

122 Ep: pct application non-entry in european phase

Ref document number: 16761224

Country of ref document: EP

Kind code of ref document: A1