WO2016111141A1 - 扉の開閉検知装置 - Google Patents

扉の開閉検知装置 Download PDF

Info

Publication number
WO2016111141A1
WO2016111141A1 PCT/JP2015/085512 JP2015085512W WO2016111141A1 WO 2016111141 A1 WO2016111141 A1 WO 2016111141A1 JP 2015085512 W JP2015085512 W JP 2015085512W WO 2016111141 A1 WO2016111141 A1 WO 2016111141A1
Authority
WO
WIPO (PCT)
Prior art keywords
door
opening
closing
doors
lock
Prior art date
Legal status (The legal status is an assumption and is not a legal conclusion. Google has not performed a legal analysis and makes no representation as to the accuracy of the status listed.)
Ceased
Application number
PCT/JP2015/085512
Other languages
English (en)
French (fr)
Japanese (ja)
Inventor
桂介 坂田
Current Assignee (The listed assignees may be inaccurate. Google has not performed a legal analysis and makes no representation or warranty as to the accuracy of the list.)
Ebara Corp
Original Assignee
Ebara Corp
Priority date (The priority date is an assumption and is not a legal conclusion. Google has not performed a legal analysis and makes no representation as to the accuracy of the date listed.)
Filing date
Publication date
Application filed by Ebara Corp filed Critical Ebara Corp
Publication of WO2016111141A1 publication Critical patent/WO2016111141A1/ja
Anticipated expiration legal-status Critical
Ceased legal-status Critical Current

Links

Images

Classifications

    • EFIXED CONSTRUCTIONS
    • E05LOCKS; KEYS; WINDOW OR DOOR FITTINGS; SAFES
    • E05BLOCKS; ACCESSORIES THEREFOR; HANDCUFFS
    • E05B41/00Locks with visible indication as to whether the lock is locked or unlocked
    • EFIXED CONSTRUCTIONS
    • E05LOCKS; KEYS; WINDOW OR DOOR FITTINGS; SAFES
    • E05BLOCKS; ACCESSORIES THEREFOR; HANDCUFFS
    • E05B47/00Operating or controlling locks or other fastening devices by electric or magnetic means
    • EFIXED CONSTRUCTIONS
    • E05LOCKS; KEYS; WINDOW OR DOOR FITTINGS; SAFES
    • E05FDEVICES FOR MOVING WINGS INTO OPEN OR CLOSED POSITION; CHECKS FOR WINGS; WING FITTINGS NOT OTHERWISE PROVIDED FOR, CONCERNED WITH THE FUNCTIONING OF THE WING
    • E05F7/00Accessories for wings not provided for in other groups of this subclass

Definitions

  • the present invention relates to a detection device that detects and locks the opening and closing of a door provided on a housing of various devices, a housing that forms a predetermined space inside, a partition wall that partitions the space, and the like.
  • the processing apparatus Since various processing apparatuses used in the manufacturing process of a semiconductor device process a semiconductor substrate using a processing liquid or a processing gas, the processing apparatus includes a housing for making the inside a sealed space partitioned from the external environment. In this way, the dispersion of the processing liquid and the leakage of the processing gas are prevented. Since various consumables are used in the processing apparatus, they must be periodically replaced. In addition, since the processing apparatus is a collection of various precision devices, maintenance and inspection of the devices are required. Therefore, a plurality of doors that can be opened and closed are provided in the housing of the processing apparatus.
  • processing apparatus when the door is opened and closed for replacement of consumables, maintenance and inspection of equipment, etc., the opening and closing of the door is detected and the processing apparatus is interlocked.
  • processing equipment such as semiconductor manufacturing equipment
  • industrial machines generally have equipment and facilities that are equipped with doors that can be opened and closed.
  • door installation, opening / closing detection, and locking are performed. It has been broken.
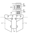
  • FIG. 7 is a schematic perspective view showing a conventional example of a detection device that detects opening and closing of a door.
  • the two adjacent left and right doors 3, 3 are of a double door type that rotates in the opposite direction and opens forward.
  • a rectangular opening 31 is formed in the portion covered by the two doors 3, 3, and one door switch corresponding to one door 3 is formed at the upper end of the opening 31.
  • 35 is installed.
  • the opening 31 is not limited to a rectangular shape, and may have another shape.
  • Each door switch 35 is connected to a control unit (not shown) via an electric wire 36.
  • the opening and closing of the doors 3 and 3 are detected by the door switches 35 and 35, and the opening and closing signals are output from the door switches 35 and 35, respectively.
  • the present invention has been made in view of the above-described circumstances. With respect to a plurality of doors, the opening and closing of each door can be detected with a single door switch, and each door can be detected with a single electrically controlled lock mechanism.
  • An object of the present invention is to provide a door open / close detection device capable of locking the door.
  • a door open / close detection device is a door open / close detection device that detects the opening / closing of two or more doors installed in an opening, and A common single door switch is provided, and the door switch includes two or more door opening / closing detectors corresponding to each of the two or more doors, and an output circuit of the two or more door opening / closing detectors is It is characterized by being connected in series or in parallel in the door switch. According to the present invention, by providing a circuit in which two or more door opening / closing detectors are connected in series or in parallel inside the door switch, one door switch can perform opening / closing detection output of two or more doors. it can.
  • the door switch includes a door lock coil portion that operates one electromagnetic coil with a single control input to lock the two or more doors.
  • one electromagnetic coil can be operated and one or more doors can be locked by one point of control input into the electric control type lock mechanism.
  • the door lock coil portion includes the one electromagnetic coil and an electromagnetic coil shaft that moves by the operation of the electromagnetic coil, and the electromagnetic coil shaft is operated by the operation of the electromagnetic coil.
  • Two or more locking levers that engage with lock keys respectively fixed to the two or more doors are provided.
  • the electromagnetic coil when the electromagnetic coil is turned on, the electromagnetic coil shaft is pushed by the attractive force of the electromagnetic coil, and the two or more locking levers are respectively engaged with the lock key, for example, fitted in the hole of the lock key. Combined. Thereby, the lock mechanism is in a locked state.
  • the door switch includes a door lock coil portion that operates two or more electromagnetic coils connected in parallel with a single control input to lock the two or more doors. It is characterized by. According to the present invention, two or more doors can be simultaneously locked by using two or more electromagnetic coils connected in parallel with one control input to the inside of the electric control type lock mechanism.
  • the door switch includes a contact of an output circuit of the door opening / closing detection unit on a primary side or a secondary side of the door lock coil unit.
  • the contact of the door open / close detection output circuit is inserted on the primary side or the secondary side of the electromagnetic coil circuit for locking.
  • the contact points of the output circuits of the two or more door opening / closing detection units are connected in series or in parallel.
  • the present invention has the following effects. (1) With respect to multiple doors, it is possible to detect the opening and closing of each door with a single door switch, and it is possible to lock each door with a single electrically controlled lock mechanism, reducing the number of parts. Yes. (2) Opening / closing of each door can be detected with a single door switch for a plurality of doors, and each door can be locked with a single electric control type lock mechanism.
  • a serial connection / parallel connection circuit can be provided inside the control-type lock mechanism, eliminating the need for an external circuit and a power supply / signal transmission wire. Moreover, although the electric wire connection had to be made in the vicinity of each door switch or the electric control type lock mechanism, the connection at one place becomes possible.
  • each door With respect to a plurality of doors, the opening / closing of each door can be detected with one door switch, and each door can be locked with one electric control type lock mechanism.
  • the control operation I / O can also be operated at one point. Further, depending on the detection / operation conditions, it is possible to divide the I / O by detecting with a door switch of a plurality of types of circuits, or providing an electrically controlled lock mechanism.
  • FIG. 1 is a schematic perspective view showing an overall configuration of a polishing apparatus provided with a door open / close detection device according to the present invention.
  • FIG. 2 is a view showing a main part of the housing, and is a perspective view showing a door provided in the housing and its periphery.
  • FIG. 3A is a schematic diagram showing a conventional door opening / closing detection device, and is shown in comparison with the door opening / closing detection device according to the present invention shown in FIG. 3B.
  • FIG. 3B is a schematic diagram showing a door opening / closing detection device according to the present invention, which is shown in comparison with the conventional door opening / closing detection device shown in FIG. 3A.
  • FIG. 3A is a schematic perspective view showing an overall configuration of a polishing apparatus provided with a door open / close detection device according to the present invention.
  • FIG. 2 is a view showing a main part of the housing, and is a perspective view showing a door provided in the housing and its periphery.
  • FIG. 4A is a circuit diagram showing a conventional electric control type door lock mechanism, which is shown in comparison with the electric control type door lock mechanism according to the present invention shown in FIG. 4B.
  • FIG. 4B is a circuit diagram showing an electrically controlled door lock mechanism according to the present invention, which is shown in comparison with the conventional electrically controlled door lock mechanism shown in FIG. 4A.
  • FIG. 5A is a schematic diagram illustrating a mechanical structure of a lock mechanism that is preferably used in the electric control type door lock mechanism having a single coil circuit shown on the upper side of FIG. 4B, and shows an unlocked state of the lock mechanism.
  • FIG. 4A is a circuit diagram showing a conventional electric control type door lock mechanism, which is shown in comparison with the electric control type door lock mechanism according to the present invention shown in FIG. 4B.
  • FIG. 4B is a circuit diagram showing an electrically controlled door lock mechanism according to the present invention, which is shown in comparison with the conventional electrically controlled door lock mechanism shown in FIG. 4A.
  • FIG. 5A is
  • FIG. 5B is a schematic diagram illustrating a mechanical structure of a lock mechanism that is preferably used for the electric control type door lock mechanism having a single coil circuit shown on the upper side of FIG. 4B, and shows a locked state of the lock mechanism.
  • FIG. 6A is a circuit diagram showing a conventional electric control type door lock mechanism, and is a circuit diagram in which a circuit for creating operating conditions is added to the conventional electric control type door lock mechanism shown in FIG. 4A.
  • 6B is a circuit diagram showing an electrically controlled door lock mechanism according to the present invention, and is a circuit diagram in which a circuit for creating operating conditions is added to the electrically controlled door lock mechanism according to the present invention shown in FIG. 4B.
  • FIG. 6C is a circuit diagram showing an electrically controlled door lock mechanism according to the present invention, and is a circuit diagram in which a circuit for creating operating conditions is added to the electrically controlled door lock mechanism according to the present invention shown in FIG. 4B.
  • FIG. 7 is a schematic perspective view showing a conventional example of a detection device that detects opening and closing of a door.
  • FIGS. 1 to 6C 1 to 6C, the same or corresponding components are denoted by the same reference numerals, and redundant description is omitted.
  • FIG. 1 is a schematic perspective view showing a polishing apparatus (CMP apparatus) as an example of a processing apparatus provided with a door opening / closing detection apparatus according to the present invention.
  • CMP apparatus polishing apparatus
  • the case of a polishing apparatus will be described as a processing apparatus having a door opening / closing device.
  • the door opening / closing detection device according to the present invention is provided on a housing or partition wall of various devices. It can also be applied to a gate for limiting access to the production line.
  • FIG. 1 is a schematic perspective view showing the overall configuration of the polishing apparatus. As shown in FIG. 1, the entire polishing apparatus is covered with a substantially rectangular parallelepiped housing 1, and the interior of the polishing apparatus is isolated from the external environment. At one end of the polishing apparatus, there is provided a load / unload unit 2 for placing a cassette for stocking a substrate such as a semiconductor wafer.
  • the load / unload unit 2 can be equipped with an open cassette, a SMIF (Standard Manufacturing Interface) pod, or a FOUP (Front Opening Unified Pod).
  • SMIF Standard Manufacturing Interface
  • FOUP Front Opening Unified Pod
  • the substrate is taken out from the load / unload unit 2 by the transfer mechanism in the housing 1 and transferred to the polishing unit, and the polishing unit (slurry) is supplied to the polishing pad in the polishing unit.
  • the substrate is polished by pressing against the polishing pad.
  • the polished substrate is transported to the cleaning section by the transport mechanism, and is cleaned and dried by the cleaning liquid in the cleaning section.
  • the cleaned substrate is returned to the load / unload unit 2 by the transport mechanism.
  • CMP apparatus polishing apparatus
  • the polishing apparatus since the polishing apparatus processes the substrate using a processing liquid such as a polishing liquid or a cleaning liquid, the polishing apparatus includes a housing 1 for making the inside a sealed space that is partitioned from the external environment. Gas leakage caused by scattering or volatilization of the processing liquid is prevented. Since various consumables are used in the polishing apparatus, they must be periodically replaced. In addition, since the polishing apparatus is a collection of various precision devices, maintenance and inspection of the devices are required. Therefore, the housing 1 of the polishing apparatus is provided with a plurality of doors 3 that can be opened and closed. The door 3 is also used when a product (substrate) to be processed is manually input.
  • a processing liquid such as a polishing liquid or a cleaning liquid
  • FIG. 2 is a view showing the main part of the housing 1, and is a perspective view showing the door 3 provided in the housing 1 and its periphery.
  • the housing 1 is provided with a plurality of doors 3.
  • the plurality of doors 3 are fixed to the housing 1 by hinges 4 at one side end.
  • the two adjacent left and right doors 3 and 3 rotate in opposite directions and open to the front. It is a double-spread type.
  • the plurality of doors 3 and 3 may be sliding doors that slide sideways to open and close.
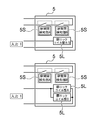
  • FIG. 3A and 3B are schematic diagrams showing a comparison between a conventional door opening / closing detection device and a door opening / closing detection device according to the present invention
  • FIG. 3A shows a conventional door opening / closing detection device
  • FIG. 1 shows a door open / close detection device according to the present invention.
  • the two adjacent left and right doors 3 and 3 are each of a double door opening type that rotates in the opposite direction and opens forward. Yes.
  • a rectangular opening 31 is formed in the portion covered by the two doors 3, 3, and one door switch corresponding to one door 3 is formed at the upper end of the opening 31. 35 is installed.
  • the two door switches 35 and 35 are connected to each other via an electric wire 36 and a cable 37.
  • the two door switches 35 and 35 are provided with door opening / closing detectors 35S and 35S each composed of a contact that can be opened and closed.
  • the contact of each door open / close detection part 35S is opened.
  • Each door opening / closing detection part 35 can detect opening / closing of the door 3 by opening / closing of this contact.
  • the two door opening / closing detectors 35 ⁇ / b> S and 35 ⁇ / b> S are connected to each other via an electric wire 36 and a cable 37.
  • the single door switch 5 includes two or more (two in the illustrated example) door opening / closing detectors 5 ⁇ / b> S composed of contacts that can be opened and closed, and two or more doors.
  • the open / close detection unit 5S is a series connection circuit (a circuit diagram on the left side of FIG. 3B) or a parallel connection circuit (a circuit diagram on the right side of FIG. 3B).
  • each door switch 5 can detect the opening / closing of the door 3 by opening / closing the contact.
  • one door switch 5 can be used to connect two or more doors. Open / close detection output can be performed.
  • FIG. 4A and 4B are diagrams showing a comparison between a conventional electric control type door lock mechanism and an electric control type door lock mechanism according to the present invention
  • FIG. 4A is a circuit diagram showing a conventional electric control type door lock mechanism
  • FIG. 4B is a circuit diagram showing an electrically controlled door lock mechanism according to the present invention.
  • the conventional electric control type door lock mechanism as shown in FIG. 4A, when there are two doors, two door switches 35 and 35 having a door opening / closing detection unit 35S are provided. The configuration is the same as that shown in FIG. In FIG.
  • the two door opening / closing detection units 35 ⁇ / b> S are displayed as the door opening / closing detection unit A and the door opening / closing detection unit B and are distinct from each other, but have the same configuration.
  • door lock coil part 35L is installed adjacent to each door opening and closing detection part 35S.
  • the two door lock coil portions 35 ⁇ / b> L are distinguished from the door lock coil portion A and the door lock coil portion B, but have the same configuration.
  • the door lock coil part A and the door lock coil part B can individually input control inputs (input 1, input 2), operate the electromagnetic coil in each door lock coil part, and lock the two doors. it can.
  • FIG. 4B when there are two or more doors, a circuit in which two or more door opening / closing detectors 5S are connected in series is provided inside the door switch 5.
  • the two door opening / closing detection units 5S are displayed as the door opening / closing detection unit A and the door opening / closing detection unit B, and are distinct from each other, but have the same configuration.
  • a single door lock coil portion 5L (shown as door lock coil portion A / B in the illustrated example) is provided adjacent to the door open / close detection portion 5S (an upper circuit diagram in FIG. 4B), or two or more.
  • a door lock coil portion 5L connected in parallel (two shown as door lock coil portion A and door lock coil portion B in the illustrated example) is provided (circuit diagram on the lower side of FIG. 4B).
  • one control input (input 1) is input to the door lock coil portion A / B, and one electromagnetic coil is operated to lock the two doors. be able to.
  • one point of control input (input 1) is input to the door lock coil portion A and the door lock coil portion B, and the two electromagnetic coils are operated. Two doors can be locked.
  • one electromagnetic coil can be operated by one control input into the electric control type lock mechanism, and two or more doors can be locked, or one point can be locked. With the control input, two or more doors can be locked simultaneously using two or more electromagnetic coils connected in parallel.
  • FIGS. 5A and 5B are schematic views showing a mechanical structure of a lock mechanism suitably used for the single-coil circuit electric control type door lock mechanism shown in the upper side of FIG. 4B.
  • FIG. 5A is an unlocked state of the lock mechanism.
  • FIG. 5B shows a locked state of the locking mechanism.
  • the upper diagram is a partial sectional plan view of the locking mechanism, and the lower diagram is a partial sectional side view of the locking mechanism.
  • an electromagnetic coil shaft 52 is fitted to the electromagnetic coil 51 in the door lock coil portion.
  • the electromagnetic coil shaft 52 is formed with two flange portions 52F1 and 52F2 having a larger diameter than the shaft portion so as to sandwich the electromagnetic coil 51, and two locking levers protruding in a hook shape radially outward from the shaft portion. 52L1 and 52L2 are formed.
  • a compression coil spring 53 is interposed between the electromagnetic coil 51 and the flange portion 52F1.
  • An electromagnetic coil operation input wiring 54 is connected to the electromagnetic coil 51.
  • lock keys 55A and 55B are fixed to the two doors 3 (see FIG. 3B), respectively.
  • the lock key 55A is fixed to the left door 3 and the lock key 55B is fixed to the right door 3, but in FIG. 3B, the lock keys 55A and 55B are not shown. . 5A and 5B, only the lock keys 55A and 55B are shown, and the door 3 is not shown.
  • the lock mechanism is in a locked state.
  • a plurality of locks can be performed by a mechanical structure using an electromagnetic coil shaft or the like.
  • the shape of the electromagnetic coil shaft in the illustrated example is an example, and any shape having a catching structure may be used.
  • FIGS. 6B and 6C are circuit diagrams in which a circuit for creating operating conditions is added to the conventional electric control type door lock mechanism shown in FIG. 4A and the electric control type door lock mechanism according to the present invention shown in FIG. 4B.
  • 6A is a circuit diagram showing a conventional electric control type door lock mechanism
  • FIGS. 6B and 6C are circuit diagrams showing an electric control type door lock mechanism according to the present invention.
  • relays 38 are respectively installed in the external circuits on the input side of the door lock coil portion A and the door lock coil portion B shown in FIG. 4A.
  • the relay 38 is installed as an external circuit of the door switch 35, the relay 38 is operated according to the door opening / closing conditions, and control input (input 1, input) is individually applied to the door lock coil portion A and the door lock coil portion B. 2) is input, the electromagnetic coil in each door lock coil part is operated, and two doors can be locked.
  • the door open / close detector contact A and the door are connected to the internal circuit on the input side of the door lock coil A / B shown in FIG. 4B.
  • the open / close detection unit contact B is provided in series connection (left side of FIG. 6B) or parallel connection (right side of FIG. 6B), and is configured to perform a door locking operation according to the door open / close conditions.
  • the door open / close detector contact A and the door open / close detector contact B are connected in series to the internal circuits on the input side of the door lock coil A and the door lock coil B shown in FIG. 4B ( 6C is provided in parallel connection (right side view of FIG. 6C), and is configured to perform a door locking operation according to the door opening / closing conditions.
  • the door opening / closing detection unit contacts A and B may be provided on the secondary side of the electromagnetic coil.
  • the electric control type door lock mechanism when a door lock command is input to the electric control type lock mechanism, the primary side or the secondary side of the electromagnetic coil circuit for locking By inserting a contact of the door opening / closing detection output circuit to the door, the door locking operation corresponding to the door opening / closing condition can be performed only by the internal circuit.
  • the present invention can be used for a detection device that detects and locks the opening and closing of a door provided on a housing of various devices, a casing that forms a predetermined space inside, a partition wall that partitions the space, and the like.

Landscapes

  • Constituent Portions Of Griding Lathes, Driving, Sensing And Control (AREA)
  • Main Body Construction Of Washing Machines And Laundry Dryers (AREA)
PCT/JP2015/085512 2015-01-06 2015-12-18 扉の開閉検知装置 Ceased WO2016111141A1 (ja)

Applications Claiming Priority (2)

Application Number Priority Date Filing Date Title
JP2015-000989 2015-01-06
JP2015000989A JP6566640B2 (ja) 2015-01-06 2015-01-06 基板研磨装置

Publications (1)

Publication Number Publication Date
WO2016111141A1 true WO2016111141A1 (ja) 2016-07-14

Family

ID=56355843

Family Applications (1)

Application Number Title Priority Date Filing Date
PCT/JP2015/085512 Ceased WO2016111141A1 (ja) 2015-01-06 2015-12-18 扉の開閉検知装置

Country Status (2)

Country Link
JP (1) JP6566640B2 (enExample)
WO (1) WO2016111141A1 (enExample)

Cited By (1)

* Cited by examiner, † Cited by third party
Publication number Priority date Publication date Assignee Title
CN111515871A (zh) * 2020-05-09 2020-08-11 湖北华磁电子科技有限公司 一种软磁铁氧体磁芯表面打磨装置

Families Citing this family (4)

* Cited by examiner, † Cited by third party
Publication number Priority date Publication date Assignee Title
JP7184453B2 (ja) * 2018-05-17 2022-12-06 株式会社ディスコ 搬送システム
JP2020067002A (ja) * 2018-10-22 2020-04-30 株式会社不二工機 可変容量型圧縮機用制御弁
JP7109863B2 (ja) * 2018-11-30 2022-08-01 株式会社ディスコ 搬送システム
JP7774846B2 (ja) * 2021-11-10 2025-11-25 株式会社タカゾノ 薬剤供給装置

Citations (1)

* Cited by examiner, † Cited by third party
Publication number Priority date Publication date Assignee Title
JPH0473185U (enExample) * 1990-11-08 1992-06-26

Family Cites Families (6)

* Cited by examiner, † Cited by third party
Publication number Priority date Publication date Assignee Title
US4673914A (en) * 1984-03-20 1987-06-16 Lee Ki Chang Keyless automobile door lock/unlock, ignition switching and burglar alarm system
JPH0637511Y2 (ja) * 1989-09-29 1994-09-28 三菱自動車エンジニアリング株式会社 扉の開閉検出装置
JP3052184B2 (ja) * 1995-07-19 2000-06-12 スガツネ工業株式会社 開閉部材の感震自動ロック装置
JP2003011668A (ja) * 2001-06-29 2003-01-15 Fujikura Ltd 自動車用ドアの開閉検知装置
JP2004232352A (ja) * 2003-01-30 2004-08-19 Alpha Corp 箱錠制御装置
JP5368651B1 (ja) * 2013-04-23 2013-12-18 正人 福島 施錠装置及び侵入防止装置

Patent Citations (1)

* Cited by examiner, † Cited by third party
Publication number Priority date Publication date Assignee Title
JPH0473185U (enExample) * 1990-11-08 1992-06-26

Cited By (1)

* Cited by examiner, † Cited by third party
Publication number Priority date Publication date Assignee Title
CN111515871A (zh) * 2020-05-09 2020-08-11 湖北华磁电子科技有限公司 一种软磁铁氧体磁芯表面打磨装置

Also Published As

Publication number Publication date
JP6566640B2 (ja) 2019-08-28
JP2016125292A (ja) 2016-07-11

Similar Documents

Publication Publication Date Title
JP6566640B2 (ja) 基板研磨装置
CN110800178B (zh) 无人操作和维护的开关设备或控制设备的中高压变电站
CN110832720B (zh) 包含无人操作和维护的开关装置或控制装置的变电站
US7973253B2 (en) Neutral draw-out automatic transfer switch assembly and associated method
US20150308812A1 (en) Wafer mapping apparatus and load port including same
CN102591818A (zh) 用于耦合输入/输出设备的系统与方法
KR20220120714A (ko) 팩토리 인터페이스 환경 제어들을 갖는 기판 프로세싱 시스템들, 장치, 및 방법들
KR20200021538A (ko) 이송 장치 및 어댑터 펜던트
CN108701584B (zh) 基板处理装置
US11623843B2 (en) Elevator inspection operation device
TWI447059B (zh) 晶圓倉儲系統
EP3196912B1 (en) Switch
TW569370B (en) Control device for emergency stop in semiconductor manufacturing system
CN113448889A (zh) 控制系统、控制方法以及基板处理装置
US10230539B2 (en) Communications device having relay
CN218512830U (zh) 一种应用于晶圆加工设备的安全控制系统
CN109416986B (zh) 用于电气装备的断路器的远程操作的补充隔离设备
WO2018019639A1 (en) Hoistway door lock with reed switches
US20200208442A1 (en) Mechanical lockout for non-mechanical-interfacing electronic switch
JP2008226604A (ja) 押しボタンスイッチ
US10347437B2 (en) Disconnector device and arrangement for disconnecting a contactor
KR102538920B1 (ko) 라인 시스템
KR20150008724A (ko) 기판 처리 장치 및 방법
US12347638B2 (en) Mechanical lockout for solid-state switch
JP7336707B2 (ja) 安全スイッチ及びスイッチシステム

Legal Events

Date Code Title Description
121 Ep: the epo has been informed by wipo that ep was designated in this application

Ref document number: 15877014

Country of ref document: EP

Kind code of ref document: A1

NENP Non-entry into the national phase

Ref country code: DE

122 Ep: pct application non-entry in european phase

Ref document number: 15877014

Country of ref document: EP

Kind code of ref document: A1