WO2016093261A1 - 接続体の検査方法、接続体、導電性粒子及び異方性導電接着剤 - Google Patents

接続体の検査方法、接続体、導電性粒子及び異方性導電接着剤 Download PDF

Info

Publication number
WO2016093261A1
WO2016093261A1 PCT/JP2015/084478 JP2015084478W WO2016093261A1 WO 2016093261 A1 WO2016093261 A1 WO 2016093261A1 JP 2015084478 W JP2015084478 W JP 2015084478W WO 2016093261 A1 WO2016093261 A1 WO 2016093261A1
Authority
WO
WIPO (PCT)
Prior art keywords
resin core
resin
conductive
conductive particles
connection terminal
Prior art date
Legal status (The legal status is an assumption and is not a legal conclusion. Google has not performed a legal analysis and makes no representation as to the accuracy of the status listed.)
Ceased
Application number
PCT/JP2015/084478
Other languages
English (en)
French (fr)
Japanese (ja)
Inventor
雄太 荒木
Current Assignee (The listed assignees may be inaccurate. Google has not performed a legal analysis and makes no representation or warranty as to the accuracy of the list.)
Dexerials Corp
Original Assignee
Dexerials Corp
Priority date (The priority date is an assumption and is not a legal conclusion. Google has not performed a legal analysis and makes no representation as to the accuracy of the date listed.)
Filing date
Publication date
Application filed by Dexerials Corp filed Critical Dexerials Corp
Priority to KR1020177014219A priority Critical patent/KR101908876B1/ko
Priority to CN201580064653.9A priority patent/CN107005012B/zh
Publication of WO2016093261A1 publication Critical patent/WO2016093261A1/ja
Anticipated expiration legal-status Critical
Ceased legal-status Critical Current

Links

Images

Classifications

    • CCHEMISTRY; METALLURGY
    • C09DYES; PAINTS; POLISHES; NATURAL RESINS; ADHESIVES; COMPOSITIONS NOT OTHERWISE PROVIDED FOR; APPLICATIONS OF MATERIALS NOT OTHERWISE PROVIDED FOR
    • C09JADHESIVES; NON-MECHANICAL ASPECTS OF ADHESIVE PROCESSES IN GENERAL; ADHESIVE PROCESSES NOT PROVIDED FOR ELSEWHERE; USE OF MATERIALS AS ADHESIVES
    • C09J9/00Adhesives characterised by their physical nature or the effects produced, e.g. glue sticks
    • C09J9/02Electrically-conducting adhesives
    • GPHYSICS
    • G01MEASURING; TESTING
    • G01NINVESTIGATING OR ANALYSING MATERIALS BY DETERMINING THEIR CHEMICAL OR PHYSICAL PROPERTIES
    • G01N21/00Investigating or analysing materials by the use of optical means, i.e. using sub-millimetre waves, infrared, visible or ultraviolet light
    • G01N21/84Systems specially adapted for particular applications
    • G01N21/88Investigating the presence of flaws or contamination
    • G01N21/8803Visual inspection
    • CCHEMISTRY; METALLURGY
    • C09DYES; PAINTS; POLISHES; NATURAL RESINS; ADHESIVES; COMPOSITIONS NOT OTHERWISE PROVIDED FOR; APPLICATIONS OF MATERIALS NOT OTHERWISE PROVIDED FOR
    • C09JADHESIVES; NON-MECHANICAL ASPECTS OF ADHESIVE PROCESSES IN GENERAL; ADHESIVE PROCESSES NOT PROVIDED FOR ELSEWHERE; USE OF MATERIALS AS ADHESIVES
    • C09J11/00Features of adhesives not provided for in group C09J9/00, e.g. additives
    • C09J11/02Non-macromolecular additives
    • CCHEMISTRY; METALLURGY
    • C09DYES; PAINTS; POLISHES; NATURAL RESINS; ADHESIVES; COMPOSITIONS NOT OTHERWISE PROVIDED FOR; APPLICATIONS OF MATERIALS NOT OTHERWISE PROVIDED FOR
    • C09JADHESIVES; NON-MECHANICAL ASPECTS OF ADHESIVE PROCESSES IN GENERAL; ADHESIVE PROCESSES NOT PROVIDED FOR ELSEWHERE; USE OF MATERIALS AS ADHESIVES
    • C09J201/00Adhesives based on unspecified macromolecular compounds
    • HELECTRICITY
    • H01ELECTRIC ELEMENTS
    • H01BCABLES; CONDUCTORS; INSULATORS; SELECTION OF MATERIALS FOR THEIR CONDUCTIVE, INSULATING OR DIELECTRIC PROPERTIES
    • H01B1/00Conductors or conductive bodies characterised by the conductive materials; Selection of materials as conductors
    • HELECTRICITY
    • H01ELECTRIC ELEMENTS
    • H01BCABLES; CONDUCTORS; INSULATORS; SELECTION OF MATERIALS FOR THEIR CONDUCTIVE, INSULATING OR DIELECTRIC PROPERTIES
    • H01B1/00Conductors or conductive bodies characterised by the conductive materials; Selection of materials as conductors
    • H01B1/20Conductive material dispersed in non-conductive organic material
    • H01B1/22Conductive material dispersed in non-conductive organic material the conductive material comprising metals or alloys
    • HELECTRICITY
    • H01ELECTRIC ELEMENTS
    • H01BCABLES; CONDUCTORS; INSULATORS; SELECTION OF MATERIALS FOR THEIR CONDUCTIVE, INSULATING OR DIELECTRIC PROPERTIES
    • H01B5/00Non-insulated conductors or conductive bodies characterised by their form
    • HELECTRICITY
    • H01ELECTRIC ELEMENTS
    • H01BCABLES; CONDUCTORS; INSULATORS; SELECTION OF MATERIALS FOR THEIR CONDUCTIVE, INSULATING OR DIELECTRIC PROPERTIES
    • H01B5/00Non-insulated conductors or conductive bodies characterised by their form
    • H01B5/16Non-insulated conductors or conductive bodies characterised by their form comprising conductive material in insulating or poorly conductive material, e.g. conductive rubber
    • HELECTRICITY
    • H01ELECTRIC ELEMENTS
    • H01RELECTRICALLY-CONDUCTIVE CONNECTIONS; STRUCTURAL ASSOCIATIONS OF A PLURALITY OF MUTUALLY-INSULATED ELECTRICAL CONNECTING ELEMENTS; COUPLING DEVICES; CURRENT COLLECTORS
    • H01R11/00Individual connecting elements providing two or more spaced connecting locations for conductive members which are, or may be, thereby interconnected, e.g. end pieces for wires or cables supported by the wire or cable and having means for facilitating electrical connection to some other wire, terminal, or conductive member, blocks of binding posts
    • H01R11/01Individual connecting elements providing two or more spaced connecting locations for conductive members which are, or may be, thereby interconnected, e.g. end pieces for wires or cables supported by the wire or cable and having means for facilitating electrical connection to some other wire, terminal, or conductive member, blocks of binding posts characterised by the form or arrangement of the conductive interconnection between the connecting locations
    • HELECTRICITY
    • H01ELECTRIC ELEMENTS
    • H01RELECTRICALLY-CONDUCTIVE CONNECTIONS; STRUCTURAL ASSOCIATIONS OF A PLURALITY OF MUTUALLY-INSULATED ELECTRICAL CONNECTING ELEMENTS; COUPLING DEVICES; CURRENT COLLECTORS
    • H01R43/00Apparatus or processes specially adapted for manufacturing, assembling, maintaining, or repairing of line connectors or current collectors or for joining electric conductors
    • HELECTRICITY
    • H05ELECTRIC TECHNIQUES NOT OTHERWISE PROVIDED FOR
    • H05KPRINTED CIRCUITS; CASINGS OR CONSTRUCTIONAL DETAILS OF ELECTRIC APPARATUS; MANUFACTURE OF ASSEMBLAGES OF ELECTRICAL COMPONENTS
    • H05K3/00Apparatus or processes for manufacturing printed circuits
    • H05K3/30Assembling printed circuits with electric components, e.g. with resistor
    • H05K3/32Assembling printed circuits with electric components, e.g. with resistor electrically connecting electric components or wires to printed circuits
    • HELECTRICITY
    • H05ELECTRIC TECHNIQUES NOT OTHERWISE PROVIDED FOR
    • H05KPRINTED CIRCUITS; CASINGS OR CONSTRUCTIONAL DETAILS OF ELECTRIC APPARATUS; MANUFACTURE OF ASSEMBLAGES OF ELECTRICAL COMPONENTS
    • H05K3/00Apparatus or processes for manufacturing printed circuits
    • H05K3/30Assembling printed circuits with electric components, e.g. with resistor
    • H05K3/32Assembling printed circuits with electric components, e.g. with resistor electrically connecting electric components or wires to printed circuits
    • H05K3/34Assembling printed circuits with electric components, e.g. with resistor electrically connecting electric components or wires to printed circuits by soldering
    • GPHYSICS
    • G01MEASURING; TESTING
    • G01NINVESTIGATING OR ANALYSING MATERIALS BY DETERMINING THEIR CHEMICAL OR PHYSICAL PROPERTIES
    • G01N21/00Investigating or analysing materials by the use of optical means, i.e. using sub-millimetre waves, infrared, visible or ultraviolet light
    • G01N21/84Systems specially adapted for particular applications
    • G01N21/88Investigating the presence of flaws or contamination
    • G01N21/95Investigating the presence of flaws or contamination characterised by the material or shape of the object to be examined
    • G01N2021/9513Liquid crystal panels

Definitions

  • the present invention relates to a method for inspecting a connection body in which a transparent electrode formed on a transparent substrate and a connection terminal of an electronic component are anisotropically conductively connected, and the connection body, in particular, captured between the transparent electrode and the connection terminal.
  • the present invention relates to a connection body inspection method with improved visibility of conductive particles, a connection body, conductive particles, and an anisotropic conductive adhesive.
  • liquid crystal display devices and organic EL panels have been used as various display means such as televisions, PC monitors, mobile phones, smart phones, portable game machines, tablet terminals, wearable terminals, and in-vehicle monitors.
  • the driving IC is directly mounted on the glass substrate of the display panel using an anisotropic conductive film (ACF).
  • ACF anisotropic conductive film
  • a plurality of transparent electrodes made of ITO (indium tin oxide) or the like are formed on a glass substrate on which an IC or a flexible substrate is mounted, and an electronic component such as an IC or a flexible substrate is connected to the transparent electrode.
  • the electronic component connected to the glass substrate has a plurality of electrode terminals formed on the mounting surface corresponding to the transparent electrodes, and is thermocompression-bonded on the glass substrate through the anisotropic conductive film, thereby A transparent electrode is connected.
  • An anisotropic conductive film is a film in which conductive particles are mixed in a binder resin, and heat conduction is performed between two conductors to provide electrical continuity between the conductors with the conductive particles. Resin maintains the mechanical connection between the conductors.
  • a highly reliable thermosetting binder resin is usually used, but a photocurable binder resin or a photothermal binder resin may be used.
  • the anisotropic conductive film When connecting an electronic component to a transparent electrode via such an anisotropic conductive film, first, the anisotropic conductive film is temporarily pasted onto the transparent electrode of the glass substrate by a temporary pressure bonding means. Subsequently, after mounting the electronic component on the glass substrate via the anisotropic conductive film to form a temporary connection body, the electronic component is moved to the transparent electrode side together with the anisotropic conductive film by a thermocompression bonding means such as a thermocompression bonding head. Heat and press. By the heating by the thermocompression bonding head, the anisotropic conductive film undergoes a thermosetting reaction, whereby the electronic component is bonded onto the transparent electrode.
  • a thermocompression bonding means such as a thermocompression bonding head.
  • the conductive layer is generally formed by plating the surface of the resin core with a conductive material such as nickel or gold. The formed one is used.
  • the conductive particles sandwiched between the transparent electrode and the connection terminal make conduction between the transparent electrode and the connection terminal through the conductive layer.
  • the conductive layer may be peeled off from the surface of the resin core due to friction with the transparent electrode or the connection terminal due to accidental vibration during pressure bonding during anisotropic connection.
  • the conductive layer may be eluted from the conductive particles by an acid or the like generated in the binder resin at the time of anisotropic connection or before and after the treatment. As described above, when the conductive particles are sandwiched between the transparent electrode and the connection terminal in a state where the surface of the resin core is exposed, the conductivity may be impaired.
  • Such a phenomenon may occur for all conductive particles trapped between a set of transparent electrodes and connection terminals, or a plurality of conductive particles trapped between a set of transparent electrodes and connection terminals. May occur in some of the sex particles.
  • connection bodies in which glass substrates and electronic components such as ICs and flexible substrates are anisotropically connected there are several possible causes for the decrease in electrical conductivity. Due to the finer pitch of the wiring, it takes a considerable amount of man-hours and time to specify the wiring. That is, whether the cause of the conduction failure is due to the constituent member side of the connection body such as a glass substrate or an electronic component, or due to peeling or elution of the conductive layer of the conductive particles described above, the thermocompression bonding step In order to improve the yield, it is strongly required to identify the factors such as the inadequate indentation of the conductive particles due to the alignment, thermocompression tool setting and accuracy, etc. ing.
  • the resin core of the conductive particles is observed to be colorless or translucent, and if the conductive layer peels off and elutes, it is difficult to grasp the position of the conductive particles captured on the connection terminals and the degree of collapse. It is.
  • connection body inspection method a connection body, conductive particles, and an anisotropic conductive adhesive that can easily and quickly perform inspection of conductive particles after manufacturing the connection body.
  • a connection body inspection method is a connection body in which a transparent electrode formed on a transparent substrate and a connection terminal of an electronic component are connected by an anisotropic conductive adhesive.
  • the conductive particles sandwiched between the transparent electrode and the connection terminal are such that the resin core is covered with a conductive layer, and the resin core is colored in a color different from the connection terminal, It is detected by coloring the resin core that it is captured on the transparent electrode and the surface of the resin core is exposed.
  • connection body is a connection body in which a transparent electrode formed on a transparent substrate and a connection terminal of an electronic component are connected by an anisotropic conductive adhesive, and the connection between the transparent electrode and the connection terminal.
  • the conductive particles sandwiched between the resin particles are coated with a conductive layer, and the resin particles are colored in a color different from the connection terminals, and the conductive particles captured on the transparent electrode are In addition, the fact that the surface of the resin core is exposed is made visible by coloring the resin core.
  • the conductive particles according to the present invention are the conductive particles contained in the adhesive that anisotropically conductively connects the transparent electrodes formed on the transparent substrate and the connection terminals of the electronic component.
  • a conductive layer covering the surface of the core, the resin core is colored in a color different from the connection terminal, and the surface of the resin core is exposed by the coloring of the resin core. is there.
  • the anisotropic conductive adhesive according to the present invention is an anisotropic conductive adhesive that contains conductive particles in a binder resin and connects a transparent electrode formed on a transparent substrate and a connection terminal of an electronic component.
  • the conductive particles have a resin core and a conductive layer covering the surface of the resin core, the resin core is colored in a color different from the connection terminal, and the surface of the resin core is exposed. It is made visible by coloring the resin core.
  • the conductive particles sandwiched between the transparent electrode and the connection terminal are such that the resin core is covered with the conductive layer, and at least a part of the resin core is colored in a color different from that of the connection terminal. Therefore, when the colored surface of the resin core is exposed, the conductive particles captured by the connection terminals after crimping can improve the visibility, and the degree of peeling and elution of the conductive layer and the conductivity can be improved. It is possible to easily grasp the crushing state of the sex particles.
  • FIG. 1 is a cross-sectional view of a liquid crystal display panel shown as an example of a connection body.
  • FIG. 2 is a plan view showing a mounting portion of the transparent substrate.
  • FIG. 3 is a cross-sectional view showing a connection process between the liquid crystal driving IC and the transparent substrate.
  • FIG. 4 is a plan view showing a mounting surface of the liquid crystal driving IC.
  • FIG. 5 is a cross-sectional view showing an anisotropic conductive film.
  • FIG. 6 is a cross-sectional view showing conductive particles.
  • FIG. 1 is a cross-sectional view of a liquid crystal display panel shown as an example of a connection body.
  • FIG. 2 is a plan view showing a mounting portion of the transparent substrate.
  • FIG. 3 is a cross-sectional view showing a connection process between the liquid crystal driving IC and the transparent substrate.
  • FIG. 4 is a plan view showing a mounting surface of the liquid crystal driving IC.
  • FIG. 5 is a cross
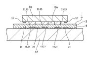
  • FIG. 7 is a bottom view showing the conductive particles captured by the bumps from the back side of the transparent substrate of the connection body, (A) is the conductive particles in which peeling / elution of the conductive layer does not occur, and (B) is Conductive particles with peeling / elution of the conductive layer laminated on the colored resin core, (C) shows conductive particles with peeling / elution of the conductive layer laminated on the uncolored resin core .
  • connection body inspection method a connection body inspection method, a connection body, conductive particles, and an anisotropic conductive adhesive to which the present invention is applied will be described in detail with reference to the drawings.
  • the present invention is not limited to the following embodiments, and various modifications can be made without departing from the scope of the present invention.
  • the drawings are schematic, and the ratio of each dimension may be different from the actual one. Specific dimensions should be determined in consideration of the following description. Moreover, it is a matter of course that portions having different dimensional relationships and ratios are included between the drawings.
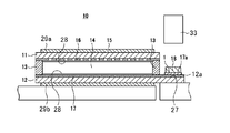
  • the liquid crystal display panel 10 includes two transparent substrates 11 and 12 made of a glass substrate and the like, and the transparent substrates 11 and 12 are bonded to each other by a frame-shaped seal 13. .
  • the liquid crystal 14 is sealed in a space surrounded by the transparent substrates 11 and 12 to form a panel display unit 15.
  • the transparent substrates 11 and 12 have a pair of striped transparent electrodes 16 and 17 made of ITO (Indium Tin Oxide) or the like on both inner surfaces facing each other so as to intersect each other.
  • the transparent electrodes 16 and 17 are configured such that a pixel as a minimum unit of liquid crystal display is configured by the intersection of the transparent electrodes 16 and 17.
  • one transparent substrate 12 is formed to have a larger planar dimension than the other transparent substrate 11, and an edge 12a of the formed transparent substrate 12 has an electronic component.
  • a mounting portion 27 on which the liquid crystal driving IC 18 is mounted is provided. 2 and 3, the mounting unit 27 includes an input terminal row 20 in which a plurality of input terminals 19 of the transparent electrode 17 are arranged, and an output terminal row 22 in which a plurality of output terminals 21 are arranged,
  • a substrate-side alignment mark 31 is formed so as to overlap the IC-side alignment mark 32 provided on the liquid crystal driving IC 18.
  • the mounting unit 27 includes, for example, a first terminal region 27a in which one input terminal row 20 is formed, and two output terminal rows 22a and 22b arranged in parallel in the width direction orthogonal to the arrangement direction of the output terminals 21. And a second terminal region 27b.
  • the output terminal 21 and the output terminal row 22 include a first output terminal row 22a in which the first output terminals 21a are arranged on the inner side, that is, the input terminal row 20 side, and a second output on the outer side, that is, the outer edge side of the mounting portion 27. And a second output terminal row 22b in which the terminals 21b are arranged.
  • the liquid crystal driving IC 18 can selectively apply a liquid crystal driving voltage to the pixels to change the alignment of the liquid crystal partially to perform a predetermined liquid crystal display.
  • the liquid crystal driving IC 18 has an input in which a plurality of input bumps 23 electrically connected to the input terminal 19 of the transparent electrode 17 are arranged on the mounting surface 18 a on the transparent substrate 12.
  • An output bump row 26 in which a plurality of output bumps 25 that are electrically connected to the bump row 24 and the output terminal 21 of the transparent electrode 17 are arranged is formed.
  • the first bump region 18b in which the input bumps 23 are arranged in a line along one side edge of the mounting surface 18a and the width direction orthogonal to the arrangement direction of the output bumps 25 are arranged in parallel.
  • the output bump 25 and the output bump row 26 include a first output bump row 26a in which the first output bumps 25a are arranged on the inner side, that is, the input bump row 24 side, and a second output on the outer side, that is, the outer edge side of the mounting surface 18a.
  • the first and second output bumps 25a and 25b are arranged in a staggered manner in a plurality of rows along the other side edge facing the one side edge.
  • the input / output bumps 23 and 25 and the input / output terminals 19 and 21 provided on the mounting portion 27 of the transparent substrate 12 are formed with the same number and the same pitch, respectively, so that the transparent substrate 12 and the liquid crystal driving IC 18 are aligned. Connected by being connected.
  • one or a plurality of input bump rows 24 are provided on one side edge of the mounting surface 18a. Any configuration in which the output bump rows 26 are arranged in one or a plurality of rows on the other side edge may be employed.
  • a part of the input / output bumps 23 and 25 arranged in a line may be a plurality of lines, and a part of the input / output bumps 23 and 25 arranged in a line may be a line. Good.
  • the input / output bump rows 24 and 26 may be formed in a straight array in which the arrays of the plurality of input / output bumps 23 and 25 are parallel and adjacent bumps are arranged in parallel.
  • 23 and 25 may be formed in a staggered arrangement in which adjacent bumps are evenly displaced from each other in parallel.
  • the input / output bumps 23 and 25 may be arranged along the long side of the IC substrate, and the side bumps may be formed along the short side of the IC substrate.
  • the input / output bumps 23 and 25 may be formed with the same dimensions or different dimensions.
  • the input / output bump rows 24 and 26 the input / output bumps 23 and 25 formed with the same dimensions may be arranged symmetrically or asymmetrically.
  • the input / output bumps 23 and 25 formed with different dimensions may be arranged asymmetrically. May be.
  • liquid crystal driving IC 18 With recent miniaturization and higher functionality of liquid crystal display devices and other electronic devices, electronic components such as the liquid crystal driving IC 18 are required to be smaller and lower in height, and the input / output bumps 23 and 25 are also high in height. Is low (for example, 6 to 15 ⁇ m).
  • the liquid crystal driving IC 18 is formed with an IC side alignment mark 32 for alignment with the transparent substrate 12 by being superimposed on the mounting surface 18a with the substrate side alignment mark 31. Since the wiring pitch of the transparent electrodes 17 of the transparent substrate 12 and the fine pitches of the input / output bumps 23 and 25 of the liquid crystal driving IC 18 are increasing, the liquid crystal driving IC 18 and the transparent substrate 12 are aligned with high precision. Adjustment is required.
  • the substrate side alignment mark 31 and the IC side alignment mark 32 various marks that can be aligned with the transparent substrate 12 and the liquid crystal driving IC 18 can be used.
  • the liquid crystal driving IC 18 is connected to the input / output terminals 19 and 21 of the transparent electrode 17 formed in the mounting portion 27 using the anisotropic conductive film 1 as an adhesive for circuit connection.
  • the anisotropic conductive film 1 contains conductive particles 4, and input / output bumps 23 and 25 of the liquid crystal driving IC 18 and input / output terminals 19 of the transparent electrode 17 formed on the mounting portion 27 of the transparent substrate 12. 21 is electrically connected through the conductive particles 4.
  • the anisotropic conductive film 1 is thermocompression bonded by the thermocompression bonding head 33 to fluidize the binder resin, so that the conductive particles 4 are connected to the input / output terminals 19 and 21 and the input / output bumps 23 and 25 of the liquid crystal driving IC 18.
  • the binder resin is cured in this state. Thereby, the anisotropic conductive film 1 electrically and mechanically connects the transparent substrate 12 and the liquid crystal driving IC 18.
  • an alignment film 28 subjected to a predetermined rubbing process is formed on both the transparent electrodes 16 and 17, and the initial alignment of liquid crystal molecules is regulated by the alignment film 28.
  • a pair of polarizing plates 29a and 29b are disposed outside the transparent substrates 11 and 12, and the light transmitted from a light source (not shown) such as a backlight is transmitted by these polarizing plates 29a and 29b. The vibration direction is regulated.
  • an anisotropic conductive film (ACF) 1 usually has a binder resin layer (adhesive layer) 3 containing conductive particles 4 on a release film 2 as a base material. It is formed.
  • the anisotropic conductive film 1 is a thermosetting adhesive or a photo-curing adhesive such as ultraviolet rays, and is attached to the mounting portion 27 where the input / output terminals 19 and 21 of the transparent substrate 12 of the liquid crystal display panel 10 are formed.
  • the liquid crystal driving IC 18 is mounted and fluidized by being thermally pressed by the thermocompression bonding head 33, and the conductive particles 4 are opposed to the input / output terminals 19 and 21 of the transparent electrode 17 and the liquid crystal driving IC 18 inserted.
  • the conductive particles 4 are crushed between the output bumps 23 and 25 and hardened in a state of being crushed by heating or ultraviolet irradiation.
  • the anisotropic conductive film 1 can connect the transparent substrate 12 and the liquid crystal driving IC 18 to make them conductive.
  • conductive particles 4 are blended in a normal binder resin layer 3 containing a film-forming resin, a thermosetting resin, a latent curing agent, a silane coupling agent, and the like.
  • the release film 2 that supports the binder resin layer 3 includes, for example, a release agent such as silicone on PET (PolyEthylene Terephthalate), OPP (Oriented Polypropylene), PMP (Poly-4-methylpentene-1), PTFE (Polytetrafluoroethylene), and the like. It coats and prevents the anisotropic conductive film 1 from drying, and maintains the shape of the anisotropic conductive film 1.
  • a release agent such as silicone on PET (PolyEthylene Terephthalate), OPP (Oriented Polypropylene), PMP (Poly-4-methylpentene-1), PTFE (Polytetrafluoroethylene), and the like. It coats and prevents the anisotropic conductive film 1 from drying, and maintains the shape of the anisotropic conductive film 1.
  • the film-forming resin contained in the binder resin layer 3 is preferably a resin having an average molecular weight of about 10,000 to 80,000.
  • the film forming resin include various resins such as an epoxy resin, a modified epoxy resin, a urethane resin, and a phenoxy resin. Among these, phenoxy resin is particularly preferable from the viewpoint of film formation state, connection reliability, and the like.
  • thermosetting resin is not particularly limited, and examples thereof include commercially available epoxy resins and acrylic resins.
  • the epoxy resin is not particularly limited.
  • naphthalene type epoxy resin biphenyl type epoxy resin, phenol novolac type epoxy resin, bisphenol type epoxy resin, stilbene type epoxy resin, triphenolmethane type epoxy resin, phenol aralkyl type epoxy resin.
  • an acrylic compound, liquid acrylate, etc. can be selected suitably.
  • what made acrylate the methacrylate can also be selected from methyl acrylate, ethyl acrylate, isopropy
  • the latent curing agent is not particularly limited, and examples thereof include various curing agents such as a heat curing type and a UV curing type.
  • the latent curing agent does not normally react, but is activated by various triggers selected according to applications such as heat, light, and pressure, and starts the reaction.
  • the activation method of the thermal activation type latent curing agent includes a method of generating active species (cation, anion, radical) by a dissociation reaction by heating, etc., and it is stably dispersed in the epoxy resin near room temperature, and epoxy at high temperature
  • active species cation, anion, radical
  • Thermally active latent curing agents include imidazole, hydrazide, boron trifluoride-amine complexes, sulfonium salts, amine imides, polyamine salts, dicyandiamide, etc., and modified products thereof. The above mixture may be sufficient. Among these, a microcapsule type imidazole-based latent curing agent is preferable.
  • the silane coupling agent is not particularly limited, and examples thereof include an epoxy type, an amino type, a mercapto sulfide type, and a ureido type. By adding the silane coupling agent, the adhesion at the interface between the organic material and the inorganic material is improved.
  • the conductive particle 4 has a resin core 4a and a conductive layer 4b covering the resin core 4a, and the resin core 4a is different from the input bump 23 and the output bump 25 of the liquid crystal driving IC 18. Colored.
  • the resin core 4a particles made of a plastic material excellent in compressive deformation are preferably used.
  • (meth) acrylate resin polystyrene resin, styrene- (meth) acrylic copolymer resin, urethane resin, epoxy resin , Phenol resin, acrylonitrile / styrene (AS) resin, benzoguanamine resin, divinylbenzene resin, styrene resin, polyester resin, and the like.
  • the resin core 4a is formed of a (meth) acrylate resin
  • the (meth) acrylic resin has a (meth) acrylate ester and, if necessary, a reactive double bond copolymerizable therewith. It is preferable that it is a copolymer with the compound which has and a bifunctional or polyfunctional monomer.
  • the polystyrene resin is composed of a styrene derivative, a compound having a reactive double bond that can be copolymerized therewith, and a bifunctional or polyfunctional compound, if necessary. It is preferably a copolymer with a functional monomer.
  • the (meth) acrylic resin is preferably a (co) polymer of a (meth) acrylic acid ester. Copolymers of (meth) acrylic acid ester monomers and other monomers can also be used.
  • (meth) acrylic acid ester monomers examples include methyl (meth) acrylate, ethyl (meth) acrylate, propyl (meth) acrylate, butyl (meth) acrylate, 2-ethylhexyl (meth) acrylate, and lauryl.
  • the resin core 4a forming the conductive particles of the present invention is a polystyrene resin
  • specific examples of the styrene monomer include styrene, methyl styrene, dimethyl styrene, trimethyl styrene, ethyl styrene, diethyl styrene, Alkyl styrenes such as triethyl styrene, propyl styrene, butyl styrene, hexyl styrene, hebutyl styrene and octyl styrene; halogenated styrenes such as fluorostyrene, chlorostyrene, bromostyrene, dibromostyrene, iodostyrene and chloromethylstyrene; and nitro Mention may be made of styrene, acetyl
  • the resin core 4a is preferably formed of any one of the above (meth) acrylic resins or styrene resins, but may be formed of a composition made of these resins. Further, it may be a copolymer of the (meth) acrylic acid ester monomer and the styrene monomer.
  • the (meth) acrylic resin or styrene resin includes a (meth) acrylic acid ester monomer and / or a styrene monomer as described above and, if necessary, another monomer that can be copolymerized. It may be polymerized.
  • Examples of the above-mentioned (meth) acrylic acid ester monomers or other monomers copolymerizable with styrene monomers include vinyl monomers and unsaturated carboxylic acid monomers.
  • the resin core 4a is comprised with the polymer of the acrylic monomer, for example, may comprise it with the polymer of the monomer containing a urethane compound and an acrylate ester. it can.
  • the acrylic monomer refers to both an acrylic ester (acrylate) and a methacrylic ester (methacrylate).
  • the monomer includes an oligomer that is a polymer of two or more monomers as long as it is polymerized by heating, ultraviolet irradiation, or the like.
  • the acrylic resin constituting the resin core 4a of the present invention is composed of a polymer of a monomer containing a urethane compound and an acrylate ester
  • the urethane compound contains 5 parts by weight or more with respect to 100 parts by weight of the monomer. It is preferable that the content is 25 parts by weight or more.
  • polyfunctional urethane acrylate can be used, for example, bifunctional urethane acrylate can be used.
  • the resin core 4a is colored at least partly or entirely in a different color from the input bumps 23 and the output bumps 25 of the liquid crystal driving IC 18 by a colorant. Thereby, the resin core 4a can improve visibility, when the surface of the resin core 4a is exposed by peeling or eluting the conductive layer 4b.
  • the resin core 4a when the resin core 4a is made of an acrylic resin, the resin core 4a can be colored by adding a filler serving as a colorant to polymerize the acrylic monomer, and the resin core 4a can be made of a polystyrene resin. When forming, it can carry out by adding the filler used as a coloring agent and polymerizing a styrene-type monomer.
  • the resin core 4a is colored in a complementary color (opposite color) to the colors of the input / output bumps 23 and 25, thereby improving visibility.
  • a complementary color (opposite color) refers to a color on the opposite side of the hue circle. Specifically, when the target color is placed at the center of one region obtained by equally dividing the hue circle into four, the complementary color (opposite color) is a color belonging to a region not adjacent to the region to which the target color belongs. It shall be said.
  • the resin core 4a is preferably colored with a black filler when the surfaces of the input / output bumps 23 and 25 are covered with a white conductive layer.
  • the resin core 4a may be colored with a white filler when the surfaces of the input / output bumps 23 and 25 are covered with a conductive layer having a yellow metallic luster such as gold.
  • the resin core 4a when the resin core 4a is coated with a material having a metallic luster such as gold, silver or copper as a conductive material constituting the surfaces of the input / output bumps 23 and 25, the resin core 4a is colored with a white filler such as titanium oxide. It is preferable. Further, when the resin core 4a is covered with a white material such as zinc as a conductive material constituting the surfaces of the input / output bumps 23 and 25, the resin core 4a is colored with a black filler such as titanium black, carbon black, or iron oxide. It is preferred that
  • the coloring agent which colors the resin core 4a has insulation.
  • the colorant is preferably a substance having an insulation resistance measured at 25 ° C. and 70% RH of 1 ⁇ 10 8 ⁇ / cm or more.
  • the insulation resistance can be measured by, for example, a general insulation resistance meter.
  • the colorant for coloring the resin core 4a may be a conductive material.
  • the conduction resistance value between the input / output bumps 23 and 25 and the input / output terminals 19 and 21 connected via the conductive particles 4 can be easily reduced.
  • the size of the filler coloring the resin core 4a is preferably less than 30% of the particle diameter of the conductive particles 4, more preferably 20% or less, and even more preferably 10% or less.
  • the size of the filler coloring the resin core 4a is 30% or more of the particle diameter of the conductive particles 4, the elasticity of the conductive particles 4 decreases, and input / output immediately after anisotropic connection or after a reliability test. This is because the variation in the gap between the bumps 23 and 25 and the input / output terminals 19 and 21 cannot be followed and the conduction resistance value may increase.
  • the filler coloring the resin core 4a is preferably spherical. This is because, as will be described later, when the connection body is inspected, the degree of crushing and the like can be easily compared.
  • the size of the filler coloring the resin core 4a is uniform. Specifically, it is preferable that 90% of the total number of fillers used be within a size that is within ⁇ 20% of the average diameter of the fillers. Thereby, in the test
  • the blending amount of the filler coloring the resin core 4a is preferably 30 vol% or less. If the blending amount of the filler is more than 30 vol%, the elasticity of the conductive particles 4 is impaired, and the connection reliability may be lowered. Moreover, it is preferable that the compounding quantity of a filler shall be 2 vol% or more. When the filler content is less than 2 vol%, the visibility of the resin core 4a cannot be improved.
  • the conductive layer 4b formed on the surface of the resin core 4a is composed of conductive metals generally used as conductive layers of conductive particles, alloys containing these metals, conductive properties Metal oxides or other conductive materials can be used to form.
  • the conductive layer 4b is formed of Ni, Ni alloy, Au, or the like.
  • the conductive layer 4b is formed by a physical method such as vapor deposition, ion sputtering, electroless plating, or thermal spraying, a chemical method for chemically bonding a conductive material to the resin core surface having a functional group, or surface activity. It can be formed by a method of adsorbing a conductive material on the surface of the resin core using an agent or the like. Such a conductive layer 4b does not need to be a single layer, and a plurality of layers may be laminated.
  • the thickness of the conductive layer 4b is usually in the range of 0.01 to 10.0 ⁇ m, preferably 0.05 to 5 ⁇ m, and more preferably 0.2 to 2 ⁇ m.
  • An insulating layer made of an insulating resin may be further formed on the surface of the conductive layer 4b.
  • a method for forming an insulating layer for example, a method for forming a discontinuous insulating layer made of polyvinylidene fluoride by a hybridization system is shown. Treat with vinylidene at a temperature of 85-115 ° C. for 5-10 minutes.
  • the thickness of this insulating layer is usually about 0.1 to 0.5 ⁇ m.
  • this insulating layer may coat
  • the conductive particles 4 of the present invention are used for an anisotropic conductive adhesive (anisotropic conductive film) as will be described later, the conductive particles 4 are usually 1 to 50 ⁇ m, preferably 3 to 10 ⁇ m average particles. It is good to have a diameter.
  • the shape of the anisotropic conductive film 1 is not particularly limited.
  • the anisotropic conductive film 1 has a long tape shape that can be wound around a take-up reel 6 and is cut and used for a predetermined length. can do.
  • the adhesive according to the present invention is not limited to this, and for example, an insulating adhesive layer made of only the binder resin 3 and a conductive particle-containing layer made of the binder resin 3 containing the conductive particles 4 are laminated. Can do. Moreover, in this invention, you may use the anisotropic conductive paste which consists of a binder resin composition which mix
  • FIG. The anisotropic conductive adhesive according to the present invention includes both the anisotropic conductive film 1 and the anisotropic conductive paste.
  • the input / output bumps 23 and 25 for capturing the conductive particles 4 are formed of a conductive metal, an alloy containing these metals, a conductive ceramic, a conductive metal oxide, or other conductive material. .
  • Examples of conductive metals include Zn, Al, Sb, U, Cd, Ga, Ca, Au, Ag, Co, Sn, Se, Fe, Cu, Th, Pb, Ni, Pd, Be, and Mg. Can do. Moreover, the said metal may be used independently, 2 or more types may be used, and another element, a compound (for example, solder) etc. may be added.
  • Examples of conductive ceramics include Vo 2 , Ru 2 O, SiC, ZrO 2 , Ta 2 N, ZrN, NbN, VN, TiB 2 , ZrB, HfB 2 , TaB 2 , MoB 2 , CrB 2 , B 4 C , MoB, ZrC, VC and TiC.
  • examples of the conductive material other than the above include carbon particles such as carbon and graphite, and ITO.
  • the input / output bumps 23 and 25 contain gold.
  • the electrical resistance value is lowered, the spreadability is improved, and good conductivity can be obtained.
  • an anisotropic conductive adhesive an anisotropic conductive film, anisotropic conductive paste
  • the input / output terminals 19, 21 is less likely to be damaged when conductively connected to 21.
  • the input / output bumps 23 and 25 it is preferable to use, for example, a nickel (Ni) metal layer having a gold (Au) layer formed thereon (substitute with gold (Au)).
  • connection process Next, a connection process for connecting the liquid crystal driving IC 18 to the transparent substrate 12 will be described. First, the anisotropic conductive film 1 is temporarily attached on the mounting portion 27 where the input / output terminals 19 and 21 of the transparent substrate 12 are formed. Next, the transparent substrate 12 is placed on the stage of the connection device, and the liquid crystal driving IC 18 is disposed on the mounting portion 27 of the transparent substrate 12 via the anisotropic conductive film 1.
  • thermocompression bonding head 33 heated to a predetermined temperature for curing the binder resin layer 3 is hot-pressed from above the liquid crystal driving IC 18 at a predetermined pressure and time.
  • the binder resin layer 3 of the anisotropic conductive film 1 exhibits fluidity and flows out from between the mounting surface 18a of the liquid crystal driving IC 18 and the mounting portion 27 of the transparent substrate 12, and the conductive in the binder resin layer 3
  • the conductive particles 4 are sandwiched between the input / output bumps 23 and 25 of the liquid crystal driving IC 18 and the input / output terminals 19 and 21 of the transparent substrate 12 and are crushed.
  • the conductive particles 4 are electrically connected between the input / output bumps 23 and 25 and the input / output terminals 19 and 21, and the binder resin heated by the thermocompression bonding head 33 in this state is cured. To do.
  • the liquid crystal display panel 10 in which electrical conductivity is ensured between the input / output bumps 23 and 25 of the liquid crystal driving IC 18 and the input / output terminals 19 and 21 formed on the transparent substrate 12 can be manufactured.
  • the conductive particles 4 sandwiched between the input / output bumps 23, 25 and the input / output terminals 19, 21 have the input / output bumps 23, 25 as a background. Observation from the back surface of the transparent substrate 12 becomes possible.
  • the conductive particles 4 that are not between the input / output bumps 23 and 25 and the input / output terminals 19 and 21 are dispersed in the binder resin in the space 35 between the adjacent input / output bumps 23 and 25, and are electrically insulated. The state is maintained. Therefore, the liquid crystal display panel 10 is electrically connected only between the input / output bumps 23 and 25 of the liquid crystal driving IC 18 and the input / output terminals 19 and 21 of the transparent substrate 12.
  • the anisotropic conductive film 1 is not limited to the thermosetting type, and may be a photo-curing type or a photo-heat combined type adhesive as long as pressure connection is performed.
  • the conductive particles 4 sandwiched between the input / output bumps 23 and 25 and the input / output terminals 19 and 21 can be observed from the back surface of the transparent substrate 12 for visual inspection. Attached. As shown in FIG. 7A, the conductive particles 4 in which no peeling or elution occurs in the conductive layer 4b can be visually recognized with the input / output bumps 23 and 25 as a background, and the number of particles captured, the degree of collapse, etc. Can be easily identified.
  • the conductive particles 4 are electrically conductive from the surface of the resin core 4a due to friction with the input / output terminals 19 and 21 and the input / output bumps 23 and 25 due to the occurrence of accidental vibration during pressure bonding during anisotropic connection.
  • the layer 4b may be peeled off, or the conductive layer 4b may be eluted by an acid or the like generated in the binder resin at the time of anisotropic connection or before and after the treatment, and the surface of the resin core 4a may be exposed.
  • Such a phenomenon may occur with respect to all the conductive particles 4 captured between the set of input / output terminals 19 and 21 and the input / output bumps 23 and 25, or the set of input / output terminals 19 and 21. May occur in some of the plurality of conductive particles 4 captured between the input / output bumps 23 and 25. Moreover, peeling and elution of the conductive layer 4b occur over the entire surface of the resin core 4a, and the entire surface of the resin core 4a is exposed.
  • the resin core 4a is colored in a color different from that of the input / output bumps 23 and 25, the visibility of the conductive particles 4 from which the conductive layer 4b is peeled off or eluted is enhanced. As shown in FIG. 5, even with the input / output bumps 23 and 25 in the background, it is possible to quickly inspect the presence / absence and number of the conductive particles 4 in which the conductive layer 4b is peeled off or eluted, the degree of collapse, and the like.
  • the resin core 4c in the case of the resin core 4c that is not colored at all, the resin core 4c is generally transparent even if the conductive layer 4b is peeled off or eluted and the resin core is exposed. Since it is translucent, it is difficult to determine the presence or absence and number of conductive particles in which the conductive layer 4b is peeled off or eluted with the input / output bumps 23 and 25 in the background.
  • the conductive particles 4 to which the present invention is applied have the visibility when the conductive layer 4b is peeled off or eluted because the resin core 4a is colored in a different color from the input / output bumps 23 and 25. It is raised (FIG. 7B).
  • the resin core 4a is colored with a white filler when the surfaces of the input / output bumps 23 and 25 are covered with a conductive material having a yellow metallic luster such as gold.
  • a white conductive material it is preferable to be colored with a black filler in order to improve visibility.
  • the resin core 4a is preferably colored with a white filler such as titanium oxide.
  • the resin core 4a is preferably colored with a black filler such as titanium black, carbon black, or iron oxide.
  • an anisotropic conductive film using conductive particles in which a conductive layer is formed on a colored resin core and an anisotropic conductive film using conductive particles in which the resin core is not colored
  • the binder resin layer of the anisotropic conductive film used for connecting the IC for evaluation was 60 parts by mass of phenoxy resin (trade name: YP50, manufactured by Nippon Steel Chemical Co., Ltd.), epoxy resin (trade name: jER828, manufactured by Mitsubishi Chemical Corporation).
  • a binder resin composition prepared by adding 40 parts by mass and 2 parts by mass of a cationic curing agent (trade name: SI-60L, manufactured by Sanshin Chemical Industry Co., Ltd.) to a solvent is prepared, and this binder resin composition is applied onto a release film. Formed by drying.
  • the conductive particles contained in the binder resin layer of the anisotropic conductive film have a conductive layer formed on a colored resin core.
  • the resin cores were prepared in proportions of 60 parts by weight and 40 parts by weight, respectively, using A-HD-N manufactured by Shin-Nakamura Chemical Co., Ltd. as the acrylic monomer and U-6LPA manufactured by Shin-Nakamura Chemical Co., Ltd. as the urethane acrylate. Titanium oxide (Taibak R-820, manufactured by Ishihara Sangyo Co., Ltd., filler system: 0.26 ⁇ m) as a colorant was dispersed in the acrylic monomer and urethane acrylate, and acrylic resin particles were prepared by emulsion polymerization.
  • the acrylic resin particles were coated with nickel by a sputtering method to obtain conductive particles having a particle diameter of 3.2 ⁇ m.
  • the thickness of the nickel layer is 0.15 ⁇ m.
  • an evaluation IC was prepared in which a plurality of bumps (Au-plated) having an outer shape of 1.8 mm ⁇ 20 mm, a thickness of 0.5 mm, a width of 30 ⁇ m, a length of 85 ⁇ m, and a height of 15 ⁇ m were arranged.
  • the bump surface of the evaluation IC has a metallic luster.
  • An anisotropic conductive film was temporarily attached to the glass substrate for evaluation, an evaluation IC was mounted, and a connector sample was prepared by thermocompression bonding with a thermocompression bonding head under the conditions of 170 ° C., 60 MPa, and 5 seconds.
  • a connector sample was prepared by thermocompression bonding with a thermocompression bonding head under the conditions of 170 ° C., 60 MPa, and 5 seconds.
  • the initial stage conduction resistance and the conduction resistance after a reliability test were measured.
  • the connected body sample was placed in a thermostatic chamber having a temperature of 85 ° C. and a humidity of 85% RH for 500 hours.
  • the initial conduction resistance was OK for less than 10 ⁇ and NG for 10 ⁇ or more. Further, the conduction resistance after the reliability test is preferably less than 20 ⁇ , more preferably less than 10 ⁇ , even more preferably less than 5 ⁇ , and 20 ⁇ or more is defective.
  • connection body sample the electroconductive particle captured by bump of IC for evaluation was observed using the optical microscope from the back surface of the glass substrate for evaluation, and the visibility of the electroconductive particle from which the electroconductive layer peeled was evaluated. .
  • connection conditions are the same (170 ° C., 60 MPa, 5 sec).
  • the number of conductive particles captured on the bumps of the IC for evaluation is counted in advance, and the ratio of the conductive particles with the resin core surface exposed at a magnification of 50 times using an optical microscope is visible.
  • the ratio is 90% or more, ⁇ (best), and when the ratio of the conductive particles whose resin core surface is exposed at a magnification of 50 times is 50% or more and less than 90% is marked as ⁇ (good), the magnification is 50 times.
  • the case where the ratio of the conductive particles whose resin core surface was exposed was 10% or more and less than 50% was ⁇ (normal), and the ratio of the conductive particles whose resin core surface was exposed at a magnification of 50 was 10
  • the case of less than% was defined as x (defect).
  • Example 1 In Example 1, 2 vol% of titanium oxide (Taibak R-820, manufactured by Ishihara Sangyo Co., Ltd.) was dispersed in the urethane compound as a colorant, and acrylic resin particles were prepared by emulsion polymerization.
  • the connected body sample according to Example 1 has an initial conduction resistance of 1.2 ⁇ , a conduction resistance after reliability test of 2.5 ⁇ , and the visibility of the conductive particles from which the conductive layer has peeled is ⁇ (normal). It was.
  • Example 2 In Example 2, 8 vol% of titanium oxide (Taibak R-820, manufactured by Ishihara Sangyo Co., Ltd.) was dispersed as a colorant in the urethane compound, and acrylic resin particles were prepared by emulsion polymerization.
  • the connected body sample according to Example 2 had an initial conduction resistance of 1.7 ⁇ , a conduction resistance after reliability test of 3.3 ⁇ , and the visibility of the conductive particles from which the conductive layer was peeled off was good (good). It was.
  • Example 3 In Example 3, 15 vol% of titanium oxide (Taibak R-820, manufactured by Ishihara Sangyo Co., Ltd.) was dispersed in the urethane compound as a colorant, and acrylic resin particles were prepared by emulsion polymerization.
  • the connected body sample according to Example 3 had an initial conduction resistance of 2.2 ⁇ , a conduction resistance after the reliability test of 4.8 ⁇ , and the visibility of the conductive particles from which the conductive layer was peeled off was good (good). It was.
  • Example 4 In Example 4, 23 vol% of titanium oxide (Taibak R-820, manufactured by Ishihara Sangyo Co., Ltd.) was dispersed as a colorant in the urethane compound, and acrylic resin particles were prepared by emulsion polymerization.
  • the connected body sample according to Example 4 had an initial conduction resistance of 3.2 ⁇ , a conduction resistance after a reliability test of 9.3 ⁇ , and the visibility of the conductive particles from which the conductive layer was peeled off was good (good). It was.
  • Example 5 In Example 5, 30 vol% of titanium oxide (Taibak R-820, manufactured by Ishihara Sangyo Co., Ltd.) was dispersed in the urethane compound as a colorant, and acrylic resin particles were prepared by emulsion polymerization.
  • the connected body sample according to Example 5 had an initial conduction resistance of 4.3 ⁇ , a conduction resistance after a reliability test of 17.5 ⁇ , and the visibility of the conductive particles from which the conductive layer was peeled off was good (good). It was.
  • Comparative Example 1 acrylic resin particles were prepared without adding a colorant to the urethane compound.
  • the connection body sample according to Comparative Example 1 has an initial conduction resistance of 1.2 ⁇ , a conduction resistance after a reliability test of 2.1 ⁇ , and the visibility of the conductive particles from which the conductive layer has peeled is x (defective). It was.
  • Comparative Example 2 In Comparative Example 2, 1 vol% of titanium oxide (Taibak R-820 manufactured by Ishihara Sangyo Co., Ltd.) was dispersed as a colorant in the urethane compound, and acrylic resin particles were prepared by emulsion polymerization.
  • the connected body sample according to Comparative Example 2 has an initial conduction resistance of 1.1 ⁇ , a conduction resistance after a reliability test of 2.2 ⁇ , and the visibility of the conductive particles from which the conductive layer has peeled is x (defective). It was.
  • Comparative Example 3 In Comparative Example 3, 38 vol% of titanium oxide (Taibak R-820, manufactured by Ishihara Sangyo Co., Ltd.) was dispersed as a colorant in the urethane compound, and acrylic resin particles were prepared by emulsion polymerization.
  • the connected body sample according to Comparative Example 3 had an initial conduction resistance of 6.9 ⁇ , a conduction resistance after a reliability test of 21.9 ⁇ , and the visibility of the conductive particles from which the conductive layer was peeled off was good (good). It was.
  • Examples 1-5 the visibility of the conductive particles was high, and the evaluation was ⁇ (ordinary) or higher. This is because the connected body samples according to Examples 1 to 5 are formed using a conductive adhesive film in which an appropriate amount of a colorant is added and colored conductive particles are blended. This is because it was possible to secure the sex.
  • Comparative Example 1 since the resin core of the conductive particles is not colored, and in Comparative Example 2, the addition amount of the colorant is small. In any case, the conductive particles with the conductive layer peeled off against the background of the IC bumps are visible. The inspection process was complicated.
  • Comparative Example 3 since the amount of the colorant added was too large, the resin core became hard, and the followability with respect to the expansion and contraction of the distance between the IC bump and the ITO film was deteriorated. It became lacking in nature.
  • thermocompression bonding head 1 anisotropic conductive film, 2 release film, 3 binder resin layer, 4 conductive particles, 4a resin core, 4b conductive layer, 6 take-up reel, 10 liquid crystal display panel, 11, 12 transparent substrate, 12a edge, 13 Seal, 14 liquid crystal, 15 panel display, 16, 17 transparent electrode, 18 liquid crystal drive IC, 18a mounting surface, 19 input terminal, 20 input terminal row, 21 output terminal, 22 output terminal row, 23 input bump, 25 output Bump, 24 input bump row, 26 output bump row, 27 mounting part, 33 thermocompression bonding head

Landscapes

  • Chemical & Material Sciences (AREA)
  • Engineering & Computer Science (AREA)
  • Manufacturing & Machinery (AREA)
  • Organic Chemistry (AREA)
  • Physics & Mathematics (AREA)
  • Microelectronics & Electronic Packaging (AREA)
  • Spectroscopy & Molecular Physics (AREA)
  • Dispersion Chemistry (AREA)
  • Health & Medical Sciences (AREA)
  • Life Sciences & Earth Sciences (AREA)
  • General Health & Medical Sciences (AREA)
  • General Physics & Mathematics (AREA)
  • Immunology (AREA)
  • Pathology (AREA)
  • Biochemistry (AREA)
  • Analytical Chemistry (AREA)
  • Wire Bonding (AREA)
  • Adhesives Or Adhesive Processes (AREA)
  • Non-Insulated Conductors (AREA)
  • Manufacturing Of Electrical Connectors (AREA)
  • Electric Connection Of Electric Components To Printed Circuits (AREA)
  • Conductive Materials (AREA)
  • Liquid Crystal (AREA)
PCT/JP2015/084478 2014-12-10 2015-12-09 接続体の検査方法、接続体、導電性粒子及び異方性導電接着剤 Ceased WO2016093261A1 (ja)

Priority Applications (2)

Application Number Priority Date Filing Date Title
KR1020177014219A KR101908876B1 (ko) 2014-12-10 2015-12-09 접속체의 검사 방법, 접속체, 도전성 입자 및 이방성 도전 접착제
CN201580064653.9A CN107005012B (zh) 2014-12-10 2015-12-09 连接体的检查方法、连接体、导电性粒子及各向异性导电粘接剂

Applications Claiming Priority (2)

Application Number Priority Date Filing Date Title
JP2014-250384 2014-12-10
JP2014250384A JP6457255B2 (ja) 2014-12-10 2014-12-10 接続体の検査方法、接続体、導電性粒子、異方性導電接着剤及び接続体の製造方法

Publications (1)

Publication Number Publication Date
WO2016093261A1 true WO2016093261A1 (ja) 2016-06-16

Family

ID=56107438

Family Applications (1)

Application Number Title Priority Date Filing Date
PCT/JP2015/084478 Ceased WO2016093261A1 (ja) 2014-12-10 2015-12-09 接続体の検査方法、接続体、導電性粒子及び異方性導電接着剤

Country Status (5)

Country Link
JP (1) JP6457255B2 (enExample)
KR (1) KR101908876B1 (enExample)
CN (1) CN107005012B (enExample)
TW (1) TWI694473B (enExample)
WO (1) WO2016093261A1 (enExample)

Families Citing this family (2)

* Cited by examiner, † Cited by third party
Publication number Priority date Publication date Assignee Title
JP6766558B2 (ja) * 2016-09-29 2020-10-14 セイコーエプソン株式会社 ヘッドユニット
JP7777331B2 (ja) * 2021-11-15 2025-11-28 株式会社ケムソル 異方性導電フィルム並びにそれを用いた接合方法及び接合体

Citations (4)

* Cited by examiner, † Cited by third party
Publication number Priority date Publication date Assignee Title
JPH0536306A (ja) * 1991-07-26 1993-02-12 Sekisui Fine Chem Kk 導電性微粒子、電極接続構造体及びその製造方法
JP2006054109A (ja) * 2004-08-12 2006-02-23 Seiko Instruments Inc 異方性導電膜及びそれを用いた表示装置、並びに、表示装置の検査方法及び検査装置
JP2009500804A (ja) * 2005-07-05 2009-01-08 チェイル インダストリーズ インコーポレイテッド 密度勾配を有する複合金属層を含む導電性微粒子、該導電性微粒子の製造方法および該導電性微粒子を含む異方性導電接着剤組成物
WO2014009552A2 (en) * 2012-07-13 2014-01-16 Conpart As Improvements in conductive adhesives

Family Cites Families (8)

* Cited by examiner, † Cited by third party
Publication number Priority date Publication date Assignee Title
CN1240527A (zh) * 1996-10-15 2000-01-05 西门子公司 带接点区的芯片卡以及制造这种芯片卡的方法
KR20010098662A (ko) * 2000-04-17 2001-11-08 가마이 고로 터치식 액정 표시 장치 및 입력 검출 방법
JP2005026577A (ja) 2003-07-04 2005-01-27 Matsushita Electric Ind Co Ltd 電子部品の実装方法
KR20070096572A (ko) * 2006-03-27 2007-10-02 삼성전자주식회사 표시 장치
CN102160125B (zh) * 2008-09-19 2013-07-03 株式会社日本触媒 导电性微粒以及使用了该导电性微粒的各向异性导电材料
JP5833809B2 (ja) * 2010-02-01 2015-12-16 デクセリアルズ株式会社 異方性導電フィルム、接合体及び接続方法
CN103080876A (zh) * 2010-07-05 2013-05-01 Dic株式会社 带透明导电层的基体及其制造方法、以及触控面板用透明导电膜层叠体、触控面板
KR101477237B1 (ko) * 2012-12-27 2014-12-29 제일모직 주식회사 레이저를 이용한 접속 방법

Patent Citations (4)

* Cited by examiner, † Cited by third party
Publication number Priority date Publication date Assignee Title
JPH0536306A (ja) * 1991-07-26 1993-02-12 Sekisui Fine Chem Kk 導電性微粒子、電極接続構造体及びその製造方法
JP2006054109A (ja) * 2004-08-12 2006-02-23 Seiko Instruments Inc 異方性導電膜及びそれを用いた表示装置、並びに、表示装置の検査方法及び検査装置
JP2009500804A (ja) * 2005-07-05 2009-01-08 チェイル インダストリーズ インコーポレイテッド 密度勾配を有する複合金属層を含む導電性微粒子、該導電性微粒子の製造方法および該導電性微粒子を含む異方性導電接着剤組成物
WO2014009552A2 (en) * 2012-07-13 2014-01-16 Conpart As Improvements in conductive adhesives

Also Published As

Publication number Publication date
KR20170077181A (ko) 2017-07-05
JP2016115399A (ja) 2016-06-23
CN107005012A (zh) 2017-08-01
TW201628024A (zh) 2016-08-01
KR101908876B1 (ko) 2018-10-16
TWI694473B (zh) 2020-05-21
JP6457255B2 (ja) 2019-01-23
CN107005012B (zh) 2019-06-18

Similar Documents

Publication Publication Date Title
JP2016029698A (ja) 接続体、及び接続体の製造方法
WO2015119093A1 (ja) アライメント方法、電子部品の接続方法、接続体の製造方法、接続体、異方性導電フィルム
US10175544B2 (en) Connection body, method for manufacturing a connection body, connecting method and anisotropic conductive adhesive agent
JP6324746B2 (ja) 接続体、接続体の製造方法、電子機器
KR102067957B1 (ko) 접속체, 접속체의 제조 방법, 검사 방법
WO2015115161A1 (ja) 接続体及び接続体の製造方法
JP6959303B2 (ja) 接続体、接続体の製造方法及び検査方法
WO2013129437A1 (ja) 接続体の製造方法、及び異方性導電接着剤
JP6457255B2 (ja) 接続体の検査方法、接続体、導電性粒子、異方性導電接着剤及び接続体の製造方法
JP6257303B2 (ja) 接続体の製造方法、接続方法、及び接続体
WO2015146434A1 (ja) 導電性粒子、導電性接着剤、接続体の製造方法、電子部品の接続方法、及び接続体
JP2016134450A (ja) 接続構造体
HK1238795A1 (en) Connector inspection method, connector, conductive particle and anisotropic conductive adhesive
HK1238795B (zh) 连接体的检查方法、连接体、导电性粒子及各向异性导电粘接剂
JP6393039B2 (ja) 接続体の製造方法、接続方法及び接続体
JP2019140413A (ja) 接続体、接続体の製造方法、接続方法
JP2015170647A (ja) 接続体の製造方法、電子部品の接続方法及び接続体
HK1257116A1 (en) Connector, method for manufacturing connector, and testing method
HK1257116B (en) Connector, method for manufacturing connector, and testing method

Legal Events

Date Code Title Description
121 Ep: the epo has been informed by wipo that ep was designated in this application

Ref document number: 15866450

Country of ref document: EP

Kind code of ref document: A1

ENP Entry into the national phase

Ref document number: 20177014219

Country of ref document: KR

Kind code of ref document: A

NENP Non-entry into the national phase

Ref country code: DE

122 Ep: pct application non-entry in european phase

Ref document number: 15866450

Country of ref document: EP

Kind code of ref document: A1