WO2016084340A1 - 車両用シャッタ、および熱交換器モジュール - Google Patents

車両用シャッタ、および熱交換器モジュール Download PDF

Info

Publication number
WO2016084340A1
WO2016084340A1 PCT/JP2015/005735 JP2015005735W WO2016084340A1 WO 2016084340 A1 WO2016084340 A1 WO 2016084340A1 JP 2015005735 W JP2015005735 W JP 2015005735W WO 2016084340 A1 WO2016084340 A1 WO 2016084340A1
Authority
WO
WIPO (PCT)
Prior art keywords
wind
vehicle
air passage
shutter
air
Prior art date
Legal status (The legal status is an assumption and is not a legal conclusion. Google has not performed a legal analysis and makes no representation as to the accuracy of the status listed.)
Ceased
Application number
PCT/JP2015/005735
Other languages
English (en)
French (fr)
Japanese (ja)
Inventor
明宏 前田
真剛 奥川
位司 安田
Current Assignee (The listed assignees may be inaccurate. Google has not performed a legal analysis and makes no representation or warranty as to the accuracy of the list.)
Denso Corp
Original Assignee
Denso Corp
Priority date (The priority date is an assumption and is not a legal conclusion. Google has not performed a legal analysis and makes no representation as to the accuracy of the date listed.)
Filing date
Publication date
Application filed by Denso Corp filed Critical Denso Corp
Priority to DE112015005327.1T priority Critical patent/DE112015005327T5/de
Priority to CN201580048510.9A priority patent/CN106687322A/zh
Publication of WO2016084340A1 publication Critical patent/WO2016084340A1/ja
Anticipated expiration legal-status Critical
Ceased legal-status Critical Current

Links

Images

Classifications

    • FMECHANICAL ENGINEERING; LIGHTING; HEATING; WEAPONS; BLASTING
    • F01MACHINES OR ENGINES IN GENERAL; ENGINE PLANTS IN GENERAL; STEAM ENGINES
    • F01PCOOLING OF MACHINES OR ENGINES IN GENERAL; COOLING OF INTERNAL-COMBUSTION ENGINES
    • F01P3/00Liquid cooling
    • F01P3/18Arrangements or mounting of liquid-to-air heat-exchangers
    • BPERFORMING OPERATIONS; TRANSPORTING
    • B60VEHICLES IN GENERAL
    • B60KARRANGEMENT OR MOUNTING OF PROPULSION UNITS OR OF TRANSMISSIONS IN VEHICLES; ARRANGEMENT OR MOUNTING OF PLURAL DIVERSE PRIME-MOVERS IN VEHICLES; AUXILIARY DRIVES FOR VEHICLES; INSTRUMENTATION OR DASHBOARDS FOR VEHICLES; ARRANGEMENTS IN CONNECTION WITH COOLING, AIR INTAKE, GAS EXHAUST OR FUEL SUPPLY OF PROPULSION UNITS IN VEHICLES
    • B60K11/00Arrangement in connection with cooling of propulsion units
    • B60K11/08Air inlets for cooling; Shutters or blinds therefor
    • B60K11/085Air inlets for cooling; Shutters or blinds therefor with adjustable shutters or blinds
    • BPERFORMING OPERATIONS; TRANSPORTING
    • B60VEHICLES IN GENERAL
    • B60KARRANGEMENT OR MOUNTING OF PROPULSION UNITS OR OF TRANSMISSIONS IN VEHICLES; ARRANGEMENT OR MOUNTING OF PLURAL DIVERSE PRIME-MOVERS IN VEHICLES; AUXILIARY DRIVES FOR VEHICLES; INSTRUMENTATION OR DASHBOARDS FOR VEHICLES; ARRANGEMENTS IN CONNECTION WITH COOLING, AIR INTAKE, GAS EXHAUST OR FUEL SUPPLY OF PROPULSION UNITS IN VEHICLES
    • B60K11/00Arrangement in connection with cooling of propulsion units
    • B60K11/02Arrangement in connection with cooling of propulsion units with liquid cooling
    • B60K11/04Arrangement or mounting of radiators, radiator shutters, or radiator blinds
    • YGENERAL TAGGING OF NEW TECHNOLOGICAL DEVELOPMENTS; GENERAL TAGGING OF CROSS-SECTIONAL TECHNOLOGIES SPANNING OVER SEVERAL SECTIONS OF THE IPC; TECHNICAL SUBJECTS COVERED BY FORMER USPC CROSS-REFERENCE ART COLLECTIONS [XRACs] AND DIGESTS
    • Y02TECHNOLOGIES OR APPLICATIONS FOR MITIGATION OR ADAPTATION AGAINST CLIMATE CHANGE
    • Y02TCLIMATE CHANGE MITIGATION TECHNOLOGIES RELATED TO TRANSPORTATION
    • Y02T10/00Road transport of goods or passengers
    • Y02T10/80Technologies aiming to reduce greenhouse gasses emissions common to all road transportation technologies
    • Y02T10/88Optimized components or subsystems, e.g. lighting, actively controlled glasses

Definitions

  • the present disclosure relates to a vehicle shutter and a heat exchanger module.
  • the vehicle shutter includes a flap that is disposed in the air passage and formed in a thin plate shape.
  • the flap is supported so as to be rotatable about a rotation axis extending in a direction orthogonal to the air flow direction in the air passage.
  • the flap plate surface is made parallel to the air flow direction by rotating the flap around the rotation axis. This allows the flap to open the air passage. For this reason, the flap allows air to flow into the air passage. Furthermore, by rotating the flap about the rotation axis, the plate surface of the flap is orthogonal to the air flow direction. As a result, the air passage can be closed by the flap. For this reason, the flap can restrict the air flow from passing through the air passage.
  • This disclosure is intended to provide a vehicle shutter and a heat exchanger module with improved vehicle mountability.
  • a vehicular shutter that opens and closes an air passage through which an air flow passing through a heat exchanger flows can be slidably moved in an intersecting direction intersecting an air flow direction in the air passage.
  • a member is provided. When the wind shield member is located on one side in the crossing direction, the air passage is opened. The wind shield member closes the air passage when positioned on the other side in the crossing direction. In other words, when the wind shielding member is located on the other side in the crossing direction, the opening degree of the air passage is reduced as compared with the case where the wind shielding member is located on one side.
  • the air passage can be opened and closed by sliding the wind shielding member in the direction intersecting the air flow direction.
  • the dimension of an air flow direction can be made small compared with the conventional vehicle shutter which opens and closes an air path by rotating a flap centering on a rotating shaft. For this reason, the vehicle mounting property of the vehicle shutter can be improved.
  • the air flow direction in the air passage is the main flow direction with the highest air volume among the plurality of air flows flowing through the air passage.
  • the heat exchanger module includes a vehicle shutter and a heat exchanger as a radiator that cools the cooling water of the traveling engine with outside air of the passenger compartment.
  • the vehicle mountability of the heat exchanger module can be improved.
  • FIG. 6 is a perspective view of a shutter member of the vehicle shutter in FIG. 5.
  • FIG. 6 is a perspective view of a shutter member of the vehicle shutter in FIG. 5.
  • FIG. 6 is a perspective view of a shutter member of the vehicle shutter in FIG. 5.
  • FIG. 6 is an enlarged view of part B of the vehicle shutter in FIG. 5.
  • FIG. 6 is an enlarged view of part B of the vehicle shutter in FIG. 5.
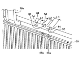
  • It is A arrow directional view of the push rod single-piece
  • It is A arrow directional view of the push rod single-piece
  • FIG. 5 is a diagram showing a cross section perpendicular to the tube longitudinal direction in the wind shield member of FIG. 4, and is a schematic diagram showing a state where the wind shield member of the shutter member opens an air passage.
  • FIG. 5 is a diagram showing a cross section orthogonal to the tube longitudinal direction in the wind shield member of FIG. 4, and is a schematic diagram showing a state where the wind shield member of the shutter member closes the air passage.
  • a cooling module 10 to which a vehicle shutter according to an embodiment is applied will be described with reference to FIG.
  • the cooling module 10 includes a radiator 11, a condenser 12, an electric fan 13, a shroud 14, and a vehicle shutter 15.
  • the radiator 11 is a heat exchanger that cools the cooling water of the traveling engine 23 with outside air of the passenger compartment.
  • the radiator 11 includes a plurality of tubes 11a, tanks 11b and 11c, and a plurality of fins 11d.
  • the radiator 11 is arranged in parallel to the vehicle width direction.
  • the plurality of tubes 11a are stacked side by side in the vehicle width direction (predetermined direction). Each of the plurality of tubes 11a allows the engine cooling water to circulate and exchange heat between the engine cooling water and the vehicle exterior air.
  • the tank 11b is arranged on one side in the tube longitudinal direction with respect to the plurality of tubes 11a. The tank 11b distributes the engine coolant discharged from the coolant outlet of the traveling engine 23 to the plurality of tubes 11a.
  • the tank 11c is disposed on the other side in the tube longitudinal direction with respect to the tank 11b and the plurality of tubes 11a.
  • the tank 11 c collects the engine coolant that has passed through the plurality of tubes 11 a and guides it to the coolant inlet of the traveling engine 23.
  • an air passage 11e is formed between every two adjacent tubes 11a.
  • a plurality of air passages 11e are formed in the radiator 11.
  • the plurality of fins 11d are disposed in the plurality of air passages 11e. Each of the plurality of fins 11d promotes heat exchange between the engine coolant and the air outside the passenger compartment.
  • the condenser 12 constitutes a refrigeration cycle apparatus for an air conditioner that circulates refrigerant together with a compressor, a pressure reducing valve, and an evaporator, and is a heat exchanger that cools high-pressure refrigerant discharged from the compressor with outside air. Similar to the radiator 11, the capacitor 12 is formed of a plurality of tubes, two tanks, and a plurality of fins. The capacitor 12 is disposed between the front grill opening 21 and the radiator 11 in parallel with the vehicle width direction.
  • the electric fan 13 is disposed on the rear side in the vehicle traveling direction with respect to the radiator 11 in the front engine room 20.
  • the electric fan 13 generates an air flow that allows the air sucked from the front grille opening 21 through the front grille opening 21 to pass through the condenser 12 and the radiator 11.
  • the shroud 14 is a case that rectifies the air flow sucked from the front grille opening 21 so as to pass through the condenser 12 and the radiator 11.
  • the vehicle shutter 15 is an opening / closing device held between the capacitor 12 and the radiator 11 by the capacitor 12 and the radiator 11. As shown in FIGS. 3 and 4, the bracket 16 a of the vehicle shutter 15 is fixed to the tank 11 b of the radiator 11 together with the bracket 12 a of the condenser 12. The bracket 16 b of the vehicle shutter 15 is fixed to the tank 11 c of the radiator 11 together with the bracket 12 b of the capacitor 12.
  • the vehicle shutter 15 includes a frame member 30, shutter members 40, 50, 60, an actuator 70, and a push rod 80, as shown in FIGS.
  • the frame member 30 includes a frame main body 31 having an opening 31a (see FIG. 6) that opens in a rectangular shape in the vehicle longitudinal direction, a bracket 16a provided on the upper side of the frame main body 31, and a frame main body 31. And a bracket 16b provided on the lower side.
  • the shutter member 40 is disposed in the opening 31 a of the frame member 30. As shown in FIG. 7, the shutter member 40 includes a frame member 41 and a plurality of wind shielding members 42.
  • the frame member 41 has an opening that opens in a rectangular shape toward the vehicle longitudinal direction.
  • the plurality of wind shielding members 42 are each formed in a long plate shape extending in parallel to the longitudinal direction of the tube 11a (hereinafter referred to as the tube longitudinal direction). That is, the longitudinal direction of the plurality of wind shielding members 42 is arranged in parallel to the longitudinal direction of the tube 11a.
  • the dimension of the wind shield member 42 in the vehicle width direction is equal to or less than the dimension of the tube 11 a in the vehicle width direction for each wind shield member 42.
  • the plurality of wind shielding members 42 are arranged at equal intervals in the vehicle width direction within the opening of the frame member 41. One side in the longitudinal direction of the plurality of wind shielding members 42 is supported by the frame member 41. The other side in the longitudinal direction of the plurality of wind shielding members 42 is supported by the frame member 41.
  • the central portion in the longitudinal direction is supported by the beam member 43.
  • the beam member 43 is formed to extend in the vehicle width direction.
  • One side and the other side in the longitudinal direction of the beam member 43 are supported by the frame member 41.
  • the frame member 41 is provided with six support pins 44. Of the six support pins 44, three support pins 44 are provided on one side of the frame member 41 in the tube longitudinal direction. The remaining three support pins 44 among the six support pins 44 are provided on the other side of the frame member 41 in the tube longitudinal direction.
  • the three support pins 44 provided on one side in the tube longitudinal direction of the frame member 41 are referred to as three upper support pins 44.
  • the three support pins 44 provided on the other side in the tube longitudinal direction of the frame member 41 are referred to as three lower support pins 44.
  • Each of the three upper support pins 44 is formed so as to protrude from one side in the tube longitudinal direction of the frame member 41 to one side in the tube longitudinal direction.
  • the three upper support pins 44 are arranged in the vehicle width direction at intervals.
  • the three upper support pins 44 pass through the long grooves 32 (FIGS. 10 and 11) of the frame member 30 through the lateral grooves 65 a of the shutter member 60 for each of the support pins 44.
  • the long groove 32 is provided for each upper support pin 44 so as to extend in the vehicle width direction.
  • Each of the three lower support pins 44 is formed so as to protrude from the other side in the tube longitudinal direction of the frame member 41 to the other side in the tube longitudinal direction.
  • the three lower support pins 44 are arranged in the vehicle width direction at intervals. Similar to the upper support pin 44, the three lower support pins 44 pass through the long groove (not shown) of the frame member 30 through the lateral groove 65a of the shutter member 60 for each lower support pin 44b. The long groove is provided in the frame member 30 for each lower support pin 44.
  • the dimension of the long groove 32 in the vehicle width direction and the dimension of the lower long groove in the vehicle width direction are the same.
  • the dimension in the vehicle width direction of the long groove 32 (or the lower long groove) is defined as a dimension L1.
  • the shutter member 50 includes a frame member 51, a plurality of wind shielding members 52, a beam member 53, and six support pins 54, and is formed in the same manner as the shutter member 40.
  • the shutter member 50 is disposed on the rear side in the vehicle front-rear direction with respect to the shutter member 40 in the opening 31 a of the frame member 30.
  • the three upper support pins 54 pass through the long grooves 33 (see FIGS. 10 and 11) of the frame member 30 through the lateral grooves 65 b of the shutter member 60 for each of the upper support pins 54.
  • the long groove 33 is provided in the frame member 30 for each upper support pin 54.
  • the three lower support pins 54 pass through the long grooves of the frame member 30 through the lateral grooves 65 b of the shutter member 60 for each of the lower support pins 54.
  • the long groove is provided in the frame member 30 for each lower support pin 54.
  • the vehicle width direction dimension of the long groove 33 and the vehicle width direction dimension of the long groove through which the lower support pin 54 penetrates are the same.
  • the dimension of the long groove 33 (or the long groove) in the vehicle width direction is defined as a dimension L2.
  • the shutter member 60 includes a frame member 61, a plurality of wind shielding members 62, a beam member 63, and six support pins 64, and is formed in the same manner as the shutter member 40.
  • the shutter member 60 is disposed on the rear side in the vehicle front-rear direction with respect to the shutter member 50 in the opening 31 a of the frame member 30.
  • the shutter members 40, 50, and 60 are arranged on the air inflow surface 17a (see FIG. 1) side of the radiator 11 where the air flow enters.
  • Three wind shielding members 42, 52, and 62 are provided for each air passage 11e in order to open and close the air passage 11f.
  • the wind shielding members 42, 52, and 62 open and close an air passage 11f (see FIGS. 14A and 14B), which will be described later, by sliding movement for each air passage 11e. That is, the wind shielding members 42, 52, and 62 slide and move along the air inflow surface 17a of the radiator 11 to open and close the air passage 11f.
  • the three upper support pins 64 penetrate the groove 34 of the frame member 30 for each upper support pin 64.
  • the long groove 34 is provided in the frame member 30 for each upper support pin 64.
  • the three lower support pins 64 pass through the long groove of the frame member 30 for each lower support pin 64.
  • the long groove is provided in the frame member 30 for each lower support pin 64.
  • the vehicle width direction dimension of the long groove 34 and the vehicle width direction dimension of the long groove through which the lower support pin 64 penetrates are the same.
  • the dimension in the vehicle width direction of the long groove 34 (or the long groove) is defined as a dimension L3.
  • the six support pins 44, 54, 64 are arranged in the long grooves 32, 33, 34 for each set, so that the shutter members 40, 50, 60 slide in the vehicle width direction by the frame member 30. The movement will be supported.
  • the upper support pins 44, 54, and 64 are set as one set, the upper support pins 44, 54, and 64 are arranged on one side, the middle portion, and the other side in the vehicle width direction on one side in the tube longitudinal direction of the frame member 30. Will be placed.
  • the lower support pins 44, 54, and 64 are set as one set, the lower support pins 44, 54, and 64 are arranged on the other side in the vehicle width direction on the other side in the tube longitudinal direction of the frame member 30. Will be placed.
  • six sets of support pins 44, 54, 64 are provided on the vehicle shutter 15.
  • frame members 61 and 51 correspond to the frame member 41
  • wind shield members 62 and 52 correspond to the wind shield member 42
  • the beam members 63 and 53 correspond to the beam member 43
  • the support pins 64 and 54 correspond to the support pin 44.
  • the dimensions of the long grooves 32, 33, and 34 in the vehicle width direction are set so that L1> L2> L3 is satisfied. Therefore, assuming that the movable distance D1 of the shutter member 40, the movable distance D2 of the shutter member 50, and the movable distance D3 of the shutter member 60, D1> D2> D3.
  • the actuator 70 slides the push rod 80 to one side or the other side in the vehicle width direction.
  • the actuator 70 is fixed to the tank 11b.
  • a drive source for example, an electromagnet, a shape memory alloy, a thermo wax, a linear motor, or the like
  • a linear motor for example, a linear motor that drives the push rod 80 in a linear direction
  • the push rod 80 is a prismatic member formed in an L shape.
  • the push rod 80 is driven by the actuator 70 and slides to one side or the other side in the vehicle width direction.
  • Through-holes 81, 82, 83 (see FIGS. 12 (a) to (d) and FIGS. 13 (a) to (c)) penetrating in the longitudinal direction of the tube are provided. It has been. 12 (a) to 12 (d) and FIGS. 13 (a) to 13 (c) are views of the push rod 80 in FIG. In FIG. 4, illustration of the through holes 81, 82, 83 and the support pins 44, 54, 64 is omitted.
  • the support pin 44 is contained in the through hole 81.
  • the support pin 54 is contained in the through hole 82.
  • a support pin 64 is contained in the through hole 83.
  • the through holes 82 and 83 are formed so as to extend in the vehicle width direction. If the dimension of the through hole 81 in the vehicle width direction is H1, the dimension of the through hole 82 in the vehicle width direction is H2, and the dimension of the through hole 83 in the vehicle width direction is H3, then H1 ⁇ H2 ⁇ H3.
  • the through holes 81, 82, and 83 are set as described above.
  • the support pin 44 slides together with the push rod 80.
  • the support pin 54 slides with a delay with respect to the support pin 44, and the support pin 64 slides with a delay with respect to the support pin 54.
  • the sliding movement of the push rod 80 allows the shutter members 40, 50, 60 to slide and move at different distances.
  • an air passage 11f through which an air flow passing through the air passage 11e flows is formed in the condenser 12 and the radiator 11 for each air passage 11e (see FIG. 14A).
  • the air flow direction of the main flow with the largest air volume among the plurality of air flows flowing through the air passage 11f coincides with the vehicle traveling direction.
  • the main stream is introduced from the front of the vehicle through the front grille opening 21 by driving the electric fan 13, and is introduced through the front grille opening 21 from the front of the vehicle as the vehicle travels or the air flow passing through the condenser 12 and the radiator 11. Air flow as traveling wind passing through the condenser 12 and the radiator 11. For this reason, the direction in which the shutter members 40, 50, 60 slide is orthogonal to the mainstream air flow direction.
  • FIG. 10 For example, as shown in FIG. 10, six sets of support pins 44, 54, and 64 are positioned on one side (the right end in FIG. 10) in the vehicle width direction of the corresponding long grooves 32, 33, and 34 of the frame member 30. .
  • the plurality of wind shielding members 42 of the shutter member 40, the plurality of wind shielding members 52 of the shutter member 50, and the plurality of wind shielding members 62 of the shutter member 60 are respectively connected to the corresponding tubes 11a. On the other hand, it is located downstream of the air flow.
  • the wind shielding members 42, 52, 62 are arranged in the vehicle front-rear direction (air flow direction) for each air passage 11f. That is, the wind shielding members 42, 52, and 62 are located on one side in the vehicle width direction with respect to the air passage 11f for each air passage 11f.
  • the wind shielding members 42, 52, and 62 are arranged so as to overlap each other for each air passage 11f when viewed from the vehicle front-rear direction. Thereby, the wind-shielding members 42, 52, and 62 open the air passage 11f for each air passage 11f. For this reason, the air flow introduced through the front grille opening 21 from the front of the vehicle flows to the transmission mechanism 22 side through the condenser 12, the radiator 11, and the electric fan 13.
  • the support pin 54 is located on the other side of the through hole 82 in the vehicle width direction.
  • the support pin 64 is located on the other side of the through hole 83 in the vehicle width direction.
  • the actuator 70 moves the push rod 80 to the other side in the vehicle width direction.
  • one end portion in the vehicle width direction (hereinafter referred to as the through hole one side end portion 81a) of the forming portions forming the through hole 81 in the push rod 80 pushes the upper support pin 44 to the other side in the vehicle width direction. .
  • each of the six support pins 44 moves in the corresponding long groove 32 to the other side in the vehicle width direction.
  • the shutter member 40 moves to the other side in the vehicle width direction.
  • one end of the push rod 80 forming the through hole 82 in the vehicle width direction contacts the upper support pin 54.
  • the through hole one side end portion 82a starts to push the upper support pin 54 to the other side in the vehicle width direction (see FIG. 12B).
  • the push rod 80 starts moving the upper support pin 54 to the other side in the vehicle width direction.
  • the six support pins 54 move in the corresponding long grooves 33 to the other side in the vehicle width direction.
  • the shutter member 50 moves together with the shutter member 40 to the other side in the vehicle width direction.
  • the through-hole one-side end portion 83a one end portion in the vehicle width direction (hereinafter referred to as the through-hole one-side end portion 83a) of the forming portions that form the through-hole 83 in the push rod 80 contacts the upper support pin 64 (see FIG. 12C). ).
  • the through hole one side end 83a starts to push the upper support pin 64 to the other side in the vehicle width direction. Therefore, the push rod 80 starts moving the upper support pin 64 to the other side in the vehicle width direction.
  • the upper support pins 44, 54, 64 are pushed by the through hole one side end portions 81a, 82a, 83a and move to the other side in the vehicle width direction (see FIG. 12D).
  • the six support pins 64 move in the corresponding long grooves 34 to the other side in the vehicle width direction.
  • the shutter members 40, 50, 60 move to the other side in the vehicle width direction.
  • the six sets of support pins 44, 54, 64 are positioned on the other side (left end in FIG. 11) of the corresponding long grooves 32, 33, 34 of the frame member 30 in the vehicle width direction. Then, the actuator 70 stops the push rod 80.
  • the wind shielding members 42, 52, 62 are located on the downstream side of the air flow with respect to the corresponding air passage 11e. At this time, the wind shielding members 42, 52, and 62 are located offset in the vehicle width direction for each air passage 11e. As a result, the wind shielding members 42, 52, and 62 block the air passage 11f between the two adjacent tubes 11a for each air passage 11f.
  • the actuator 70 moves the push rod 80 to one side in the vehicle width direction.
  • the vehicle width direction other side end portion (hereinafter referred to as the through hole other side end portion 81b) of the forming portions forming the through hole 81 in the push rod 80 pushes the upper support pin 44 to the vehicle width direction one side. .
  • the six support pins 44 move in the corresponding long grooves 32 to one side in the vehicle width direction.
  • the shutter member 40 moves to one side in the vehicle width direction.
  • the vehicle width direction other side end portion (hereinafter referred to as the through hole other side end portion 82b) of the forming portions forming the through hole 82 in the push rod 80 contacts the upper support pin 54 (see FIG. 13A). ).
  • the through hole other side end portion 82b starts to push the upper support pin 54 to one side in the vehicle width direction. Therefore, the push rod 80 starts moving the upper support pin 54 to one side in the vehicle width direction. Accordingly, the six support pins 54 move in the corresponding long grooves 33 to one side in the vehicle width direction. For this reason, the shutter member 50 moves together with the shutter member 40 to one side in the vehicle width direction.
  • the other end portion in the vehicle width direction (hereinafter referred to as the other end portion 83 b of the through hole) of the forming portion forming the through hole 83 in the push rod 80 contacts the upper support pin 64 (see FIG. 13B). ).
  • the through-hole other side edge part 83b begins to push the upper side support pin 64 to the vehicle width direction one side.
  • the push rod 80 starts moving the upper support pin 64 to one side in the vehicle width direction.
  • the upper support pins 44, 54, and 64 are pushed by the other end portions 81b, 82b, and 83b of the through hole and moved to one side in the vehicle width direction (see FIG. 13C).
  • the six support pins 64 move in the corresponding long grooves 32, 33, 34 to one side in the vehicle width direction. For this reason, the shutter members 40, 50, 60 move to one side in the vehicle width direction. Thereafter, the six sets of support pins 44, 54, 64 are positioned on one side (the right end in FIG. 10) of the corresponding long grooves 32, 33, 34 of the frame member 30 in the vehicle width direction. Then, the actuator 70 stops the push rod 80. At this time, as shown in FIG. 14A, the wind shielding members 42, 52, and 62 for each air passage 11f are positioned on the downstream side of the air flow with respect to the corresponding tubes 11a. Thus, the wind shielding members 42, 52, 62 open the air passage 11f for each air passage 11f.
  • the vehicle shutter 15 is supported so as to be slidable in the vehicle width direction orthogonal to the air flow direction in the air passage 11f through which the air passing through the radiator 11 flows.
  • the wind shield members 42, 52, 62 and the actuator 70 that pushes the wind shield members 42, 52, 62 and moves the wind shield members 42, 52, 62 through the push rod 80 in the vehicle width direction are provided.
  • the wind shielding members 42, 52, 62 are located on one side in the vehicle width direction for each air passage 11f, the wind shielding members 42, 52, 62 open the air passage 11f for each air passage 11f.
  • the wind shielding members 42, 52, 62 When the wind shielding members 42, 52, 62 are located on the other side in the vehicle width direction for each air passage 11f, the wind shielding members 42, 52, 62 close the air passage 11f for each air passage 11f.
  • the opening degree of the air passage 11f is more than the case of being located on one side. Decrease.
  • the air passage 11f can be opened and closed by sliding the wind shielding members 42, 52 and 62 in the vehicle width direction.
  • the dimension in the air flow direction that is, the vehicle front-rear direction can be made smaller than that of the vehicle shutter described in Patent Document 1.
  • the vehicle mountability of the vehicle shutter 15 can be improved.
  • the vehicle shutter 15 of the present embodiment can reduce the number of parts compared to the vehicle shutter described in Patent Document 1. For this reason, since the assembly man-hour at the time of manufacture can be reduced, cost can be reduced.
  • a drive source that drives the shutter members 40, 50, 60 in a linear direction (vehicle width direction) is used.
  • a linear direction vehicle width direction
  • the actuator 70 as described above, a drive source that drives the shutter members 40, 50, and 60 in a linear direction can be used. For this reason, the moving force given to the shutter members 40, 50, 60 from the actuator 70 can be lowered. For this reason, compared with the case where the shutter members 40, 50, and 60 are rotated, the actuator 70 of low cost can be used.
  • the plurality of sets of wind shielding members 42, 52, 62 when the plurality of sets of wind shielding members 42, 52, 62 open the air passages 11f corresponding to each set, the plurality of sets of wind shielding members 42, 52, 62 are provided with a plurality of sets. It is located on the upstream side in the air flow direction with respect to the corresponding tube 11a among the tubes 11a.
  • a plurality of sets of wind shielding members 42, 52, and 62 are arranged in the air flow direction (vehicle traveling direction) for each set.
  • the vehicle width direction dimension of each of the wind shielding members 42, 52, 62 is equal to or less than the vehicle width direction dimension of the tube 11a. For this reason, it can prevent that a plurality of sets of wind-shielding members 42, 52, and 62 obstruct the air flow which flows through air passage 11e.
  • the wind shield member is located downstream in the air flow direction, the wind shield member is easily deflected by the air flow.
  • the wind shield members 42, 52, and 62 are located upstream in the air flow direction. By doing so, the wind-shielding members 42, 52, and 62 become difficult to bend. For this reason, even if the thickness of the wind shielding members 42, 52, 62 is relatively thin, it is not necessary to reinforce the strength of the wind shielding members 42, 52, 62.
  • the vehicle shutter 15 is disposed between the radiator 11 and the capacitor 12. For this reason, the vehicle shutter 15 can be disposed by effectively utilizing the dead space between the radiator 11 and the capacitor 12.
  • the wind shielding members 42, 52, and 62 close the air passage 11e between two adjacent tubes 11a for each air passage 11e.
  • the radiator 11 includes a plurality of tubes 11a arranged in the cross direction, and when the wind shield members 42, 52, 62 are located on the other side in the cross direction, the wind shield members 42, 52 are arranged. 62 close the air passage 11e between two adjacent tubes in the crossing direction. Therefore, it is possible to reliably prevent air from flowing through the air passage 11e. Thereby, in the radiator 11, the heat exchange between engine cooling water and vehicle interior air can be inhibited. For this reason, warm-up of the traveling engine can be promoted.
  • the vehicle shutter 15 may be disposed between the radiator 11 and the condenser 12 in the above-described embodiment.
  • the vehicle shutter 15 may be disposed on the downstream side of the air flow with respect to the radiator 11.
  • the vehicle shutter 15 may be disposed on the upstream side of the air flow with respect to the condenser 12.
  • the vehicle shutter 15 when the vehicle shutter 15 is disposed on the upstream side of the air flow with respect to the condenser 12, the vehicle shutter 15 can function as a stone guard that prevents stones or the like on the road from hitting the condenser 12.
  • the wind shielding members 42, 52, 62 are painted black so that the wind shielding members 42, 52, 62 are stopped when the vehicle is stopped. If the actuator 70 is controlled so as to close the air passage 11e, the capacitor 12 can be blinded without painting the capacitor 12 in black.
  • the present invention is not limited to this, and a link mechanism that does not use the push rod 80 is used. Also good.
  • the heat exchanger may be a heat exchanger other than the radiator 11 (for example, an oil cooler that cools engine oil).
  • the vehicle shutter 15 may be disposed at a position offset from the condenser 12 and the radiator 11 in the front grill opening 21.
  • the shutter members 40, 50, 60 are supported so as to be slidable in the intersecting direction intersecting the air flow direction in the air passage 11 f through which the air flow flowing toward the heat exchanger flows.
  • the heat exchanger may be the condenser 12.
  • the direction in which the shutter members 40, 50, 60 are slid and moved in the radiator in which the coolant flow direction is the vehicle vertical direction is the vehicle width direction orthogonal to the air flow direction in the air passage 11f.
  • the direction in which the shutter members 40, 50, 60 are slid and moved may be the vertical direction of the vehicle.
  • the present invention is not limited thereto, and the direction in which the plurality of tubes 11a are arranged is described.
  • the direction may be a direction other than the direction orthogonal to the air flow direction in the air passage 11f as long as it intersects the air flow direction in the air passage 11f.
  • wind-shielding member 42,52,62 demonstrated the example comprised so that a slide movement was possible along the air inflow surface 17a of the radiator 11, it replaced with this and the wind-shielding member 42,52, 62 may be configured to be slidable along the air outflow surface 17b where the airflow is generated in the radiator 11.
  • the vehicle to which the vehicle shutter is applied is not limited to a light vehicle or a small vehicle, and may be applied to various types of vehicles such as medium-sized vehicles and more.
  • the vehicle shutter is applied to an automobile.
  • the vehicle shutter may be applied to a train other than the automobile.

Landscapes

  • Engineering & Computer Science (AREA)
  • Chemical & Material Sciences (AREA)
  • Combustion & Propulsion (AREA)
  • Mechanical Engineering (AREA)
  • Transportation (AREA)
  • General Engineering & Computer Science (AREA)
  • Cooling, Air Intake And Gas Exhaust, And Fuel Tank Arrangements In Propulsion Units (AREA)
  • Air-Conditioning For Vehicles (AREA)
PCT/JP2015/005735 2014-11-27 2015-11-17 車両用シャッタ、および熱交換器モジュール Ceased WO2016084340A1 (ja)

Priority Applications (2)

Application Number Priority Date Filing Date Title
DE112015005327.1T DE112015005327T5 (de) 2014-11-27 2015-11-17 Kühlerjalousie für Fahrzeug und Wärmetauschermodul
CN201580048510.9A CN106687322A (zh) 2014-11-27 2015-11-17 车辆用开闭体、以及热交换器组件

Applications Claiming Priority (2)

Application Number Priority Date Filing Date Title
JP2014240153A JP2016101787A (ja) 2014-11-27 2014-11-27 車両用シャッタ、および車載熱交換器モジュール
JP2014-240153 2014-11-27

Publications (1)

Publication Number Publication Date
WO2016084340A1 true WO2016084340A1 (ja) 2016-06-02

Family

ID=56073934

Family Applications (1)

Application Number Title Priority Date Filing Date
PCT/JP2015/005735 Ceased WO2016084340A1 (ja) 2014-11-27 2015-11-17 車両用シャッタ、および熱交換器モジュール

Country Status (4)

Country Link
JP (1) JP2016101787A (enExample)
CN (1) CN106687322A (enExample)
DE (1) DE112015005327T5 (enExample)
WO (1) WO2016084340A1 (enExample)

Families Citing this family (2)

* Cited by examiner, † Cited by third party
Publication number Priority date Publication date Assignee Title
JP7331335B2 (ja) * 2018-07-24 2023-08-23 株式会社デンソー 組立体
EP4385781A1 (en) * 2022-12-12 2024-06-19 Volvo Truck Corporation An electronic control unit, a system, and a method for protecting a radiator, and a vehicle provided with the same

Citations (4)

* Cited by examiner, † Cited by third party
Publication number Priority date Publication date Assignee Title
JP2002192962A (ja) * 2000-10-20 2002-07-10 Modine Mfg Co 車両冷却システム
JP2009541120A (ja) * 2006-06-30 2009-11-26 スカニア シーブイ アクチボラグ(パブル) 自動車用の冷却装置
JP2009541119A (ja) * 2006-06-30 2009-11-26 スカニア シーブイ アクチボラグ(パブル) 自動車用の冷却装置
JP2013505873A (ja) * 2009-09-29 2013-02-21 ヴァレオ システム テルミク 自動車用の熱交換ブロック

Family Cites Families (4)

* Cited by examiner, † Cited by third party
Publication number Priority date Publication date Assignee Title
US1492897A (en) * 1921-11-16 1924-05-06 Ryder Elmer Radiator shutter
DE102006053883A1 (de) * 2006-11-14 2008-05-15 Friedrich Graepel Ag Kühlerbaugruppe für ein Fahrzeug
JP4905314B2 (ja) * 2006-12-28 2012-03-28 日産自動車株式会社 格子部材及び該格子部材を有する車両前部構造
KR100969077B1 (ko) * 2007-10-09 2010-07-09 현대자동차주식회사 유입 공간 내 자연 대류 흐름을 형성하는 외기 도입 그릴

Patent Citations (4)

* Cited by examiner, † Cited by third party
Publication number Priority date Publication date Assignee Title
JP2002192962A (ja) * 2000-10-20 2002-07-10 Modine Mfg Co 車両冷却システム
JP2009541120A (ja) * 2006-06-30 2009-11-26 スカニア シーブイ アクチボラグ(パブル) 自動車用の冷却装置
JP2009541119A (ja) * 2006-06-30 2009-11-26 スカニア シーブイ アクチボラグ(パブル) 自動車用の冷却装置
JP2013505873A (ja) * 2009-09-29 2013-02-21 ヴァレオ システム テルミク 自動車用の熱交換ブロック

Also Published As

Publication number Publication date
DE112015005327T5 (de) 2017-08-17
CN106687322A (zh) 2017-05-17
JP2016101787A (ja) 2016-06-02

Similar Documents

Publication Publication Date Title
JP5807486B2 (ja) グリルシャッタ装置
WO2016079938A1 (ja) エンジンルーム通風構造
US11718149B2 (en) Vehicular air conditioning unit
WO2015040787A1 (ja) 空調ユニット
KR101680825B1 (ko) 자동차용 프론트 엔드 모듈
KR101693348B1 (ko) 액티브 에어 플랩
KR101936726B1 (ko) 액티브 에어 플랩
WO2016084340A1 (ja) 車両用シャッタ、および熱交換器モジュール
WO2015059890A1 (ja) 冷却システム
KR101714381B1 (ko) 액티브 에어 플랩
JP6265303B2 (ja) 車両用空調ユニット
JP5890720B2 (ja) 可変ダクト支持構造
JP2016088118A (ja) 車両
JP4600187B2 (ja) 空調装置
JP2018192882A (ja) 車両用熱交換器のシャッター構造
KR20150070770A (ko) 액티브 에어 플랩
CN105745098B (zh) 空调装置用风阀
KR20150124725A (ko) 차량용 에어 가이드 유닛
GB2580365A (en) Motor vehicle assemblies
WO2019069702A1 (ja) 車両用空調ユニット
JP4735360B2 (ja) 車両用冷却装置
JP6306305B2 (ja) 車両用空調装置
JP6504860B2 (ja) 車両用空調装置
JP6386992B2 (ja) 冷却装置
WO2016088338A1 (ja) 車両用空調ユニット

Legal Events

Date Code Title Description
121 Ep: the epo has been informed by wipo that ep was designated in this application

Ref document number: 15862182

Country of ref document: EP

Kind code of ref document: A1

WWE Wipo information: entry into national phase

Ref document number: 112015005327

Country of ref document: DE

122 Ep: pct application non-entry in european phase

Ref document number: 15862182

Country of ref document: EP

Kind code of ref document: A1