WO2016027749A1 - 医療用観察装置および医療用観察システム - Google Patents

医療用観察装置および医療用観察システム Download PDF

Info

Publication number
WO2016027749A1
WO2016027749A1 PCT/JP2015/072935 JP2015072935W WO2016027749A1 WO 2016027749 A1 WO2016027749 A1 WO 2016027749A1 JP 2015072935 W JP2015072935 W JP 2015072935W WO 2016027749 A1 WO2016027749 A1 WO 2016027749A1
Authority
WO
WIPO (PCT)
Prior art keywords
unit
observation
center
axis
gravity
Prior art date
Legal status (The legal status is an assumption and is not a legal conclusion. Google has not performed a legal analysis and makes no representation as to the accuracy of the status listed.)
Ceased
Application number
PCT/JP2015/072935
Other languages
English (en)
French (fr)
Japanese (ja)
Inventor
秀 田村
憲志 廣瀬
鎌田 祥行
Current Assignee (The listed assignees may be inaccurate. Google has not performed a legal analysis and makes no representation or warranty as to the accuracy of the list.)
Sony Olympus Medical Solutions Inc
Original Assignee
Sony Olympus Medical Solutions Inc
Priority date (The priority date is an assumption and is not a legal conclusion. Google has not performed a legal analysis and makes no representation as to the accuracy of the date listed.)
Filing date
Publication date
Application filed by Sony Olympus Medical Solutions Inc filed Critical Sony Olympus Medical Solutions Inc
Priority to CN201580043024.8A priority Critical patent/CN106659542B/zh
Priority to US15/328,522 priority patent/US10634889B2/en
Priority to EP15833815.2A priority patent/EP3184068B1/en
Publication of WO2016027749A1 publication Critical patent/WO2016027749A1/ja
Anticipated expiration legal-status Critical
Ceased legal-status Critical Current

Links

Images

Classifications

    • GPHYSICS
    • G02OPTICS
    • G02BOPTICAL ELEMENTS, SYSTEMS OR APPARATUS
    • G02B21/00Microscopes
    • G02B21/0004Microscopes specially adapted for specific applications
    • G02B21/0012Surgical microscopes
    • AHUMAN NECESSITIES
    • A61MEDICAL OR VETERINARY SCIENCE; HYGIENE
    • A61BDIAGNOSIS; SURGERY; IDENTIFICATION
    • A61B90/00Instruments, implements or accessories specially adapted for surgery or diagnosis and not covered by any of the groups A61B1/00 - A61B50/00, e.g. for luxation treatment or for protecting wound edges
    • A61B90/20Surgical microscopes characterised by non-optical aspects
    • A61B90/25Supports therefor
    • GPHYSICS
    • G02OPTICS
    • G02BOPTICAL ELEMENTS, SYSTEMS OR APPARATUS
    • G02B7/00Mountings, adjusting means, or light-tight connections, for optical elements
    • G02B7/001Counterbalanced structures, e.g. surgical microscopes
    • AHUMAN NECESSITIES
    • A61MEDICAL OR VETERINARY SCIENCE; HYGIENE
    • A61BDIAGNOSIS; SURGERY; IDENTIFICATION
    • A61B90/00Instruments, implements or accessories specially adapted for surgery or diagnosis and not covered by any of the groups A61B1/00 - A61B50/00, e.g. for luxation treatment or for protecting wound edges
    • A61B90/36Image-producing devices or illumination devices not otherwise provided for
    • A61B90/37Surgical systems with images on a monitor during operation
    • A61B2090/373Surgical systems with images on a monitor during operation using light, e.g. by using optical scanners
    • GPHYSICS
    • G02OPTICS
    • G02BOPTICAL ELEMENTS, SYSTEMS OR APPARATUS
    • G02B21/00Microscopes
    • G02B21/36Microscopes arranged for photographic purposes or projection purposes or digital imaging or video purposes including associated control and data processing arrangements
    • G02B21/365Control or image processing arrangements for digital or video microscopes

Definitions

  • the present disclosure relates to a medical observation apparatus and a medical observation system for observing a minute part of an object to be observed.
  • an observation apparatus including an observation apparatus having an objective optical system, an imaging apparatus that captures an optical image incident on the objective optical system, and a moving mechanism that holds and interlocks the observation apparatus and the imaging apparatus.
  • a system is disclosed.
  • Patent Document 2 includes an objective optical system, an imaging optical system, and a variable power optical system provided between the two optical systems, and the variable power optical system is configured as a bending optical system.
  • a medical observation apparatus provided with a mirror part and a support means for movably supporting the mirror part.
  • the present disclosure has been made in view of the above, and an object thereof is to provide a medical observation apparatus and a medical observation system that are excellent in operability and suitable for downsizing.
  • the medical observation apparatus collects light from the object to be observed through one end in the height direction, and the minute part of the object to be observed.
  • the observation unit has a distance between the center of gravity and the one end that is greater than 1 ⁇ 2 of the height of the observation unit and not more than 2/3 of the height of the observation unit. May be.
  • the observation unit includes a first joint unit that rotatably holds the microscope unit around a first axis along the height direction, and the first joint unit at a distal end portion. And is held by the support portion in a manner rotatable around a second axis which is an axis perpendicular to the height direction and orthogonal to the first axis at the base end portion.
  • the center of gravity may be located at an intersection of the first axis and the second axis, or closer to the one end than the intersection.
  • the first arm portion passes through the second axis and the specific gravity of the first portion located on the one end side with respect to the plane orthogonal to the first axis is relative to the plane.
  • the specific gravity of the second portion located on the opposite side of the first portion may be smaller.
  • the observation unit further includes an input unit that is provided on a side surface of the microscope unit, is positioned closer to the one end than the center of gravity, and receives an operation instruction input to the microscope unit. May be.
  • the support portion may include at least one set of two arm portions and a joint portion that rotatably connects one of the two arm portions with respect to the other. .
  • a medical observation system includes the medical observation device described above, a control device that generates image data for display by performing signal processing on an imaging signal output from the medical observation device, And a display device for displaying an image corresponding to the image data generated by the control device.
  • a microscope unit that collects light from an object to be observed through one end in the height direction and captures an enlarged image of a minute part of the object to be observed, and is gripped by a user when moving.
  • a supporting portion that is supported so as to be able to rotate around the portion, the portion that the user holds can be sufficiently ensured without enlarging the observation portion. Therefore, it is possible to provide a medical observation apparatus and a medical observation system that are excellent in operability and suitable for downsizing.
  • FIG. 1 is a perspective view illustrating an external configuration of a medical observation system according to Embodiment 1 of the present disclosure.
  • FIG. 2 is an enlarged perspective view illustrating a configuration of a microscope unit and its periphery of the medical observation apparatus according to the first embodiment of the present disclosure.
  • FIG. 3 is a diagram illustrating a configuration of a main part of the medical observation apparatus according to the first embodiment of the present disclosure.
  • FIG. 4 is a diagram schematically illustrating a situation in which the user operates the microscope unit of the medical observation apparatus according to the first embodiment of the present disclosure.
  • FIG. 5 is a diagram schematically illustrating a state of an operation performed using the medical observation system according to Embodiment 1 of the present disclosure.
  • FIG. 6 is a partial cross-sectional view illustrating a configuration of a main part of the medical observation apparatus according to the second embodiment of the present disclosure.
  • FIG. 1 is a diagram illustrating a configuration of a medical observation system according to Embodiment 1 of the present disclosure.
  • the medical observation system 1 shown in FIG. 1 includes a medical observation apparatus (hereinafter referred to as an observation apparatus) 2 having a function as a microscope for enlarging and imaging a fine structure of an object to be observed, and the operation of the medical observation system 1. And a display device 4 that displays an image captured by the observation device 2.
  • an observation apparatus hereinafter referred to as an observation apparatus 2 having a function as a microscope for enlarging and imaging a fine structure of an object to be observed
  • a display device 4 that displays an image captured by the observation device 2.
  • the observation device 2 is connected to an observation unit 5 for observing a minute part of the object to be observed, a base end portion of the observation unit 5, and a support unit 6 that supports the observation unit 5 so as to be rotatable, And a base portion 7 that holds the end portion rotatably and can move on the floor surface.
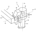
  • FIG. 2 is an enlarged perspective view showing the structure of the observation unit 5 and its surroundings.
  • FIG. 3 is a side view in the direction of arrow A in FIG.
  • the arrow A direction is a direction orthogonal to the first axis O 1 of FIG. 2 and parallel to the second axis O 2 .
  • the configuration of the observation unit 5 will be described with reference to FIGS. 2 and 3.
  • Observation unit 5 a first joint for holding a microscope unit 51 for imaging an enlarged microscopic sites of the observed body, pivotably microscope 51 about the first axis O 1 of the height direction at the tip end Part 52 and a first arm part 53 for fixing and holding the first joint part 52 on the distal end side.
  • the microscope unit 51 includes a cylindrical part 511 having a cylindrical shape, an imaging part 512 that is provided in a hollow part of the cylindrical part 511, and that magnifies an image of the object to be observed, a first arm part 53, and a support part.
  • 6 includes an arm operation switch 513 that receives an operation input that allows movement of an arm unit (described later) of the image pickup unit 6, and a cross lever 514 that can change an enlargement magnification in the imaging unit 512 and a focal length to the object to be observed.
  • the microscope unit 51 has a column shape that is gripped by the user when the microscope unit 51 moves.
  • the cylindrical part 511 has a cylindrical shape with a diameter smaller than that of the first joint part 52, and a cover glass that protects the imaging part 512 is provided on the opening surface of the lower end that collects light from the object to be observed. (Not shown). Note that the shape of the cylindrical portion 511 is not limited to a cylindrical shape, and may be a polygonal cylindrical shape.
  • the imaging unit 512 has a plurality of lenses that are respectively arranged so that the optical axis coincides with the first axis O 1, and an optical system 515 that focuses and collects light from the object to be observed, and an optical system
  • the image sensor 516 generates image signals by receiving light collected by the light 515 and performing photoelectric conversion. Note that FIG. 2 shows only a cylindrical housing that houses a plurality of lenses included in the optical system 515.
  • the optical system 515 can change the magnification of the observed object image and the focal length to the observed object in accordance with the operation of the cross lever 514.
  • the image sensor 516 is configured using a CCD (Charge Coupled Device) or a CMOS (Complementary Metal Oxide Semiconductor).
  • the image sensor 516 generates and outputs an image signal. This imaging signal is transmitted to the control device 3 via a transmission cable provided inside the support portion 6.
  • the imaging unit 512 has entered the first joint unit 52.
  • the optical system 515 and the image sensor 516 installed in the hollow portion of the cylindrical portion 511 and the first joint portion 52 are schematically shown by a one-dot chain line.
  • the boundary of the portion of the microscope unit 51 that enters the first joint portion 52 and rotates with the cylindrical portion 511 with respect to the first joint portion 52 is schematically shown by a two-dot chain line. Yes.
  • the arm operation switch 513 is a push button type switch. While the user presses down the arm operation switch 513, the first joint portion 52 and the second joint portion 61, the third joint portion 63, the fourth joint portion 65, the fifth joint portion 67, and the fifth joint portion of the support portion 6 are provided. The electromagnetic brake of the six joints 69 is released.
  • the arm operation switch 513 is provided on the side opposite to the side facing the user when operating the microscope unit 51, in other words, on the side serving as the blind spot of the user when operating the microscope unit 51.
  • the arm operation switch 513 forms a part of an input unit that receives an operation instruction input to the microscope unit 51.
  • the cross lever 514 can be operated along the height direction of the cylindrical portion 511 and the circumferential direction orthogonal to the height direction.
  • the cross lever 514 is provided on the side surface of the cylindrical portion 511 and on the lower side surface of the arm operation switch 513 along the height direction of the cylindrical portion 511.
  • the cross lever 514 also forms a part of an input unit that receives an operation instruction input to the microscope unit 51.
  • the enlargement magnification is changed.
  • the focal length to the object to be observed is changed. For example, when the cross lever 514 is moved upward along the height direction of the tubular portion 511, the enlargement magnification increases, and when the cross lever 514 is moved downward along the height direction of the tubular portion 511, the enlargement magnification decreases. Become.
  • the focal distance to the object to be observed is increased, and the cross lever 514 is rotated counterclockwise along the circumferential direction of the cylindrical portion 511. When it is moved, the focal distance to the object to be observed becomes closer. Note that the movement direction and operation assignment of the cross lever 514 are not limited to those described here.
  • the first joint portion 52 holds the microscope portion 51 rotatably at the distal end side, and is held by the first arm portion 53 while being fixed to the distal end portion of the first arm portion 53 at the proximal end side.
  • the first joint portion 52 has a cylindrical shape, and holds the microscope portion 51 so as to be rotatable around a first axis O 1 that is a central axis in the height direction.
  • the first arm portion 53 extends from the upper end portion of the side surface of the first joint portion 52 in a direction orthogonal to the first axis O 1 and parallel to the second axis O 2, and changes its direction in the oblique direction to the second axis. It has a substantially L shape extending so as to gradually approach O 2 .
  • the center of gravity G of the observation unit 5 having the above configuration is located at the intersection of the first axis O 1 and the second axis O 2 as shown in FIG.
  • the second axis O 2 passes through the boundary between the cylindrical portion 511 and the first joint portion 52 of the microscope unit 51.
  • the two heights H and h can be expressed by the relation H / 2 ⁇ h ⁇ 2H. / 3 is satisfied.
  • the center of gravity G is located farther from the lower end of the microscope unit 51 than the center of the height in the direction of the first axis O 1 and the input unit (arm operation switch 513, cross lever 514).
  • the center of gravity G may be located near the intersection of the first axis O 1 and the second axis O 2 as long as the above relational expression is satisfied, and is located closer to the intersection from the lower end of the microscope unit 51. If so, it is more preferable.
  • the vicinity of the intersection of the first axis O 1 and the second axis O 2 means that the diameter of the boundary portion between the microscope unit 51 and the first joint unit 52 is L (see FIG. 3 and FIG. 4 described later). ),
  • the outer contour of the first joint portion 52 is configured using a material having a relatively large specific gravity such as brass or a super hard alloy, while the outer contour of the cylindrical portion 511 is A material having a relatively small specific gravity such as aluminum is used.
  • the support portion 6 includes a second joint portion 61, a second arm portion 62, a third joint portion 63, a third arm portion 64, a fourth joint portion 65, a fourth arm portion 66, a fifth joint portion 67, and a fifth arm. Part 68 and sixth joint part 69.
  • the support portion 6 has three sets of two arm portions and a set of joint portions that rotatably connect one (tip end side) of the two arm portions to the other (base end side). Specifically, these three sets are (second arm part 62, third joint part 63, third arm part 64), (third arm part 64, fourth joint part 65, fourth arm part 66), (4th arm part 66, 5th joint part 67, 5th arm part 68).
  • the second joint portion 61 rotatably holds the first arm portion 53 on the distal end side, and is held by the second arm portion 62 in a state of being fixed to the distal end portion of the second arm portion 62 on the proximal end side.
  • the Second joint 61 has a cylindrical shape, holding the first arm portion 53 rotatably about the second axis O 2.
  • the second arm portion 62 is substantially L-shaped, and is connected to the second joint portion 61 at the end of the L-shaped vertical line portion.
  • the third joint portion 63 holds the L-shaped horizontal line portion of the second arm portion 62 rotatably on the distal end side, and is fixed to the distal end portion of the third arm portion 64 on the proximal end side. It is held by the arm part 64.
  • the third joint part 63 has a cylindrical shape, is an axis orthogonal to the second axis O 2 , and rotates around the third axis O 3 , which is an axis parallel to the direction in which the second arm part 62 extends.
  • the 2nd arm part 62 is hold
  • the distal end side of the third arm portion 64 has a cylindrical shape, and a hole portion penetrating in the direction orthogonal to the height direction of the distal end side cylinder is formed on the proximal end side.
  • the third joint portion 63 is rotatably held by the fourth joint portion 65 through the hole.
  • the fourth joint portion 65 rotatably holds the third arm portion 64 at the distal end side, and is held by the fourth arm portion 66 in a state of being fixed to the fourth arm portion 66 at the proximal end side.
  • the fourth joint portion 65 has a cylindrical shape, and holds the third arm portion 64 so as to be rotatable around a fourth axis O 4 that is an axis orthogonal to the third axis O 3 .
  • the fifth joint portion 67 rotatably holds the fourth arm portion 66 on the distal end side, and is fixedly attached to the fifth arm portion 68 on the proximal end side.
  • the fifth joint portion 67 has a cylindrical shape, and holds the fourth arm portion 66 rotatably around a fifth axis O 5 that is an axis parallel to the fourth axis O 4 .
  • the fifth arm portion 68 includes an L-shaped portion and a rod-shaped portion extending downward from the L-shaped horizontal line portion.
  • the fifth joint portion 67 is attached to the end portion of the L-shaped vertical line portion of the fifth arm portion 68 on the proximal end side.
  • the sixth joint portion 69 rotatably holds the fifth arm portion 68 on the distal end side, and is fixedly attached to the upper surface of the base portion 7 on the proximal end side.
  • the sixth joint portion 69 has a cylindrical shape, and holds the fifth arm portion 68 rotatably around a sixth axis O 6 that is an axis orthogonal to the fifth axis O 5 .
  • a proximal end portion of a bar-shaped portion of the fifth arm portion 68 is attached to the distal end side of the sixth joint portion 69.
  • the support unit 6 having the above-described configuration realizes a total of 6 degrees of freedom of movement in the microscope unit 51 including 3 translational degrees of freedom and 3 degrees of freedom of rotation.
  • 1st joint part 52, 2nd joint part 61, 3rd joint part 63, 4th joint part 65, 5th joint part 67 And the sixth joint 69 are electromagnetic brakes that prohibit the rotation of the microscope 51, the first arm 53, the second arm 62, the third arm 64, the fourth arm 66, and the fifth arm 68, respectively.
  • Have Each electromagnetic brake is released in a state where an arm operation switch 513 provided in the microscope unit 51 is pressed, and the microscope unit 51, the first arm unit 53, the second arm unit 62, the third arm unit 64, and the fourth arm unit. 66 and the fifth arm portion 68 are allowed to rotate.
  • An air brake may be applied instead of the electromagnetic brake.
  • FIG. 4 is a diagram schematically showing a situation where the user operates the microscope unit 51.
  • the user faces the microscope unit 51 facing the side surface (the left side surface in FIG. 4) opposite to the side surface (the right side surface in FIG. 4) on which the arm operation switch 513 and the cross lever 514 are provided.
  • the user operates the support unit 6 while pressing the arm operation switch 513 with the index finger (or middle finger or ring finger) while holding the microscope unit 51 with the right hand 101.
  • the user can operate the support unit 6 by pressing the arm operation switch 513 while naturally holding the microscope unit 51.
  • the cylindrical portion 511 can have a sufficient height. According to the observation unit 5 having such a shape, it is easy for the user to hold and the rotation operation around the first axis O 1 and the second axis O 2 can be easily performed.
  • the arm operation switch 513 is provided on the side surface of the microscope unit 51 that is the blind spot of the user (the side surface opposite to the side facing the user), the user holds the microscope unit 51 with his / her hand. Even if the microscope unit 51 is rotated or tilted, an operation of continuously pressing the arm operation switch 513 and an operation of pressing or releasing the arm operation switch 513 can be performed without a sense of incongruity.
  • the user grasps the periphery of the microscope unit 51 with his / her hand, the user can intuitively recognize the direction of the optical axis of the optical system 515 or the imaging field of view of the microscope unit 51, and easily move the microscope unit 51 to a desired position. Can be moved.
  • the control device 3 generates display image data by performing predetermined signal processing on the imaging signal output by the observation device 2.
  • the control device 3 is configured using a CPU (Central Processing Unit), a ROM (Read Only Memory), a RAM (Random Access Memory), and the like.
  • the control device 3 may be installed inside the base portion 7 and integrated with the observation device 2.
  • the display device 4 receives the image data generated by the control device 3 from the control device 3, and displays an image corresponding to the image data.
  • a display device 4 includes a display panel made of liquid crystal or organic EL (Electro Luminescence).
  • FIG. 5 is a diagram schematically showing the state of surgery using the medical observation system 1.
  • FIG. 5 is a diagram schematically showing a situation in which the surgeon 201 as a user is operating the head of a patient 202 as an object to be observed. While viewing the image displayed on the display device 4, the surgeon 201 holds the microscope unit 51 while moving the arm operation switch 513 of the microscope unit 51 and moves the microscope unit 51 to a desired position. Is determined, the finger is released from the arm operation switch 513.
  • an electromagnetic brake operates in the first joint part 52, the second joint part 61, the third joint part 63, the fourth joint part 65, the fifth joint part 67, and the sixth joint part 69.
  • the field of view is fixed. Thereafter, the operator 201 adjusts the enlargement magnification and the focal distance to the object to be observed.
  • the outer diameter of the cylindrical portion 511 is reduced. More preferably, it is about 40 to 70 mm, and the height of the observation part 5 (H in FIG. 3) is about 80 to 200 mm.
  • the microscope unit 51 that collects the light from the object to be observed through one end in the height direction and captures an enlarged image of the minute part of the object to be observed.
  • the distance between the center of gravity G of the observation unit 5 and the lower end of the microscope unit 51 is larger than 1 ⁇ 2 of the height of the observation unit and 2/3 of the height of the observation unit. Therefore, the overall size can be sufficiently reduced while securing a portion that the user holds during operation.
  • the user grasps and holds the cylindrical portion 511 of the microscope unit 51 with his / her hand, the user intuitively recognizes the direction of the optical axis of the optical system 515 or the imaging field of view of the microscope unit 51.
  • the microscope unit 51 can be easily moved to a desired position. This is compared to the case where the grip provided with the operation signal input switch is separated from the optical axis of the optical system and the direction of the optical axis cannot be intuitively recognized as in a conventional surgical microscope. This is one of the very advantageous effects.
  • the support unit 6 is configured by connecting a plurality of arm units and joint units, various configurations in the observation unit 5 can be achieved with a simple configuration compared to a conventional link mechanism. Can be realized.
  • FIG. 6 is an enlarged perspective view illustrating a configuration of a main part of an observation apparatus included in the medical observation system according to Embodiment 2 of the present disclosure.
  • the configuration of the observation unit 9 is different from that of the observation unit 5 of the first embodiment.
  • the configuration other than the observation unit 5 is the same as the configuration of the medical observation system 1 described in the first embodiment.
  • the observation unit 9 includes a microscope unit 51, a first joint unit 91, and a first arm unit 92.
  • the microscope unit 51 includes the cylindrical unit 511, the imaging unit 512, the arm operation switch 513, and the cross lever 514 (see FIGS. 2 and 3).
  • the first joint portion 91 has a cylindrical shape, and holds the microscope portion 51 rotatably around the first axis O 1 on the distal end side, and is fixed to the distal end portion of the first arm portion 92 on the proximal end side. In this state, the first arm 92 is held.
  • the first arm portion 92 has a columnar shape extending along the second axis O 2 from the side surface of the first joint portion 91.
  • the first arm portion 92 includes a rectangular parallelepiped main body portion 921 that is rotatably held around the second axis O 2 by the second joint portion 61 on the proximal end side, and the microscope portion 51 among the side surfaces of the main body portion 921.
  • a cable housing portion 922 that houses a plurality of transmission cables that transmit signals between the microscope unit 51 and the control device 3.
  • the cable storage portion 922 is configured using a material having a relatively large specific gravity such as brass or a super hard alloy.
  • the first arm portion 92 has a specific gravity of the first portion located on the lower end side of the microscope portion 51 with respect to a plane passing through the second axis O 2 and orthogonal to the first axis O 1.
  • the specific gravity of the second portion including the cable storage portion 922 is smaller than that of the second portion.
  • the two heights H ′ and h ′ are expressed by the relation H ′ / 2 ⁇ h ′ ⁇ 2H ′ / 3 is satisfied.
  • the center of gravity G may be located near the intersection of the first axis O 1 and the second axis O 2 as long as the above relational expression is satisfied, and is located closer to the intersection from the lower end of the microscope unit 51. If so, it is more preferable.
  • the microscope unit 51 can be easily moved to a desired position.
  • the cable storage portion 922 made of a material having a relatively large specific gravity is provided on the side surface far from the lower end of the microscope portion 51 with respect to the main body portion 921 of the first arm portion 92. Accordingly, the specific gravity of the first portion located on the lower end side of the microscope unit 51 is located on the opposite side with respect to the plane that passes through the second axis O 2 and is orthogonal to the first axis O 1. The specific gravity of the second portion including 922 is smaller. Accordingly, the center of gravity G of the observation unit 9 can be positioned farther from one end of the microscope unit 51 and the input unit than the center of the height of the observation unit 9 in the first axis O 1 direction. Can be improved. In addition, since the cable storage portion 922 has both a cable storage function and a weight function, it is possible to reduce design waste as compared with the case where each is provided individually.
  • the support part 6 should just have at least 1 set which consists of a joint part which connects two arm parts and one of these two arm parts so that rotation with respect to the other is possible.
  • the operation input unit provided in the cylindrical part 511 is not limited to the above-described one.
  • an operation unit for changing the magnification and an operation unit for changing the focal distance to the object to be observed may be provided separately.
  • a microscope unit that collects light from an object to be observed through one end in the height direction and captures an enlarged image of a minute part of the object to be observed.
  • An observation part having a center of gravity and being located farther from the one end than the center in the height direction,
  • a support unit that rotatably supports the observation unit around an axis perpendicular to the height direction through the center of gravity or the vicinity of the center of gravity; Comprising Medical observation device.
  • the observation unit is The distance between the center of gravity and the one end is greater than 1 ⁇ 2 of the height of the observation part and not more than 2/3 of the height of the observation part.
  • the observation unit is A first joint portion that rotatably holds the microscope portion around a first axis along the height direction; In a mode in which the first joint portion is held at the distal end portion and is rotatable around a second axis which is an axis perpendicular to the height direction and orthogonal to the first axis at the proximal end portion.
  • the first arm portion is The specific gravity of the first portion located on the one end side with respect to the plane that passes through the second axis and is orthogonal to the first axis is that of the second portion that is located on the opposite side of the first portion with respect to the plane. Smaller than the specific gravity, The medical observation apparatus according to (3) above.
  • the observation unit is Provided on a side surface of the microscope unit, located near the one end than the center of gravity, further having an input unit for receiving an operation instruction input to the microscope unit; The medical observation apparatus according to any one of (1) to (4).
  • the support part is Having at least one set of two arm portions and a joint portion that rotatably connects one of the two arm portions to the other;
  • the medical observation apparatus according to any one of (1) to (5).
  • the medical observation apparatus according to any one of (1) to (6), A control device that generates image data for display by performing signal processing on the imaging signal output by the medical observation device;
  • a display device for displaying an image corresponding to the image data generated by the control device; Comprising Medical observation system.

Landscapes

  • Physics & Mathematics (AREA)
  • Health & Medical Sciences (AREA)
  • Surgery (AREA)
  • General Physics & Mathematics (AREA)
  • Optics & Photonics (AREA)
  • General Health & Medical Sciences (AREA)
  • Life Sciences & Earth Sciences (AREA)
  • Analytical Chemistry (AREA)
  • Chemical & Material Sciences (AREA)
  • Engineering & Computer Science (AREA)
  • Oral & Maxillofacial Surgery (AREA)
  • Heart & Thoracic Surgery (AREA)
  • Medical Informatics (AREA)
  • Molecular Biology (AREA)
  • Animal Behavior & Ethology (AREA)
  • Biomedical Technology (AREA)
  • Public Health (AREA)
  • Veterinary Medicine (AREA)
  • Pathology (AREA)
  • Nuclear Medicine, Radiotherapy & Molecular Imaging (AREA)
  • Microscoopes, Condenser (AREA)
  • Multimedia (AREA)
  • Computer Vision & Pattern Recognition (AREA)
PCT/JP2015/072935 2014-08-21 2015-08-13 医療用観察装置および医療用観察システム Ceased WO2016027749A1 (ja)

Priority Applications (3)

Application Number Priority Date Filing Date Title
CN201580043024.8A CN106659542B (zh) 2014-08-21 2015-08-13 医疗观察装置和医疗观察系统
US15/328,522 US10634889B2 (en) 2014-08-21 2015-08-13 Medical observation apparatus and medical observation system
EP15833815.2A EP3184068B1 (en) 2014-08-21 2015-08-13 Medical observation device and medical observation system

Applications Claiming Priority (2)

Application Number Priority Date Filing Date Title
JP2014168842A JP6505393B2 (ja) 2014-08-21 2014-08-21 医療用観察装置および医療用観察システム
JP2014-168842 2014-08-21

Publications (1)

Publication Number Publication Date
WO2016027749A1 true WO2016027749A1 (ja) 2016-02-25

Family

ID=55350694

Family Applications (1)

Application Number Title Priority Date Filing Date
PCT/JP2015/072935 Ceased WO2016027749A1 (ja) 2014-08-21 2015-08-13 医療用観察装置および医療用観察システム

Country Status (5)

Country Link
US (1) US10634889B2 (enExample)
EP (1) EP3184068B1 (enExample)
JP (1) JP6505393B2 (enExample)
CN (1) CN106659542B (enExample)
WO (1) WO2016027749A1 (enExample)

Cited By (1)

* Cited by examiner, † Cited by third party
Publication number Priority date Publication date Assignee Title
CN111150492A (zh) * 2020-01-17 2020-05-15 长沙理工大学 一种单自由度远程运动中心机构

Families Citing this family (9)

* Cited by examiner, † Cited by third party
Publication number Priority date Publication date Assignee Title
JP6456635B2 (ja) * 2014-09-16 2019-01-23 ソニー・オリンパスメディカルソリューションズ株式会社 医療用観察装置および医療用観察システム
JP7094744B2 (ja) * 2018-03-23 2022-07-04 ソニー・オリンパスメディカルソリューションズ株式会社 医療用観察装置
CN113574437A (zh) 2019-03-25 2021-10-29 索尼奥林巴斯医疗解决方案公司 医学观察系统
JP7565285B2 (ja) 2019-08-28 2024-10-10 ソニー・オリンパスメディカルソリューションズ株式会社 医療用画像処理装置及び医療用観察システム
CN114650764B (zh) 2019-11-13 2025-05-06 索尼奥林巴斯医疗解决方案公司 光源设备与被检体观察系统
US12213643B2 (en) 2020-02-18 2025-02-04 Sony Olympus Medical Solutions Inc. Learning device and medical image processing device
WO2022185602A1 (ja) 2021-03-02 2022-09-09 ソニー・オリンパスメディカルソリューションズ株式会社 光コネクタ及び医療機器
EP4494542A4 (en) 2022-03-16 2025-06-11 Sony Olympus Medical Solutions Inc. MEDICAL LIGHT SOURCE DEVICE AND MEDICAL OBSERVATION SYSTEM
JP2024003656A (ja) 2022-06-27 2024-01-15 ソニー・オリンパスメディカルソリューションズ株式会社 医療用処理装置、医療用観察システム、及び医療用装置

Citations (3)

* Cited by examiner, † Cited by third party
Publication number Priority date Publication date Assignee Title
JP2001051204A (ja) * 1999-05-31 2001-02-23 Asahi Optical Co Ltd 顕微鏡
JP2005043458A (ja) * 2003-07-23 2005-02-17 Olympus Corp 手術用顕微鏡
JP2005087249A (ja) * 2003-09-12 2005-04-07 Olympus Corp 保持装置および観察装置

Family Cites Families (9)

* Cited by examiner, † Cited by third party
Publication number Priority date Publication date Assignee Title
DE9205870U1 (de) * 1992-05-06 1992-09-17 J.D. Möller Optische Werke GmbH, 2000 Wedel Mikroskop für die Mikrochirurgie
DE4334069A1 (de) * 1993-06-21 1995-04-13 Zeiss Carl Fa Ausbalancierbares Stativ
JP2005013715A (ja) 2003-06-05 2005-01-20 Olympus Corp 観察システム
JP4468710B2 (ja) * 2004-02-12 2010-05-26 オリンパス株式会社 医療用器具保持装置及び医療用器具保持システム
JP2006014825A (ja) * 2004-06-30 2006-01-19 Olympus Corp 医療用観察装置
JP4728039B2 (ja) * 2005-04-28 2011-07-20 オリンパスメディカルシステムズ株式会社 医療用観察装置
DE102008011638B4 (de) * 2008-02-28 2016-03-10 Leica Instruments (Singapore) Pte. Ltd. Balanciervorrichtung für Operations-Mikroskop
JP5350675B2 (ja) * 2008-05-15 2013-11-27 オリンパスメディカルシステムズ株式会社 医療用保持装置
DE102010043919A1 (de) * 2010-11-15 2012-05-16 Leica Microsystems (Schweiz) Ag Tragbares Mikroskop

Patent Citations (3)

* Cited by examiner, † Cited by third party
Publication number Priority date Publication date Assignee Title
JP2001051204A (ja) * 1999-05-31 2001-02-23 Asahi Optical Co Ltd 顕微鏡
JP2005043458A (ja) * 2003-07-23 2005-02-17 Olympus Corp 手術用顕微鏡
JP2005087249A (ja) * 2003-09-12 2005-04-07 Olympus Corp 保持装置および観察装置

Non-Patent Citations (1)

* Cited by examiner, † Cited by third party
Title
See also references of EP3184068A4 *

Cited By (2)

* Cited by examiner, † Cited by third party
Publication number Priority date Publication date Assignee Title
CN111150492A (zh) * 2020-01-17 2020-05-15 长沙理工大学 一种单自由度远程运动中心机构
CN111150492B (zh) * 2020-01-17 2021-04-30 长沙理工大学 一种单自由度远程运动中心机构

Also Published As

Publication number Publication date
JP2016042981A (ja) 2016-04-04
JP6505393B2 (ja) 2019-04-24
CN106659542A (zh) 2017-05-10
EP3184068B1 (en) 2024-08-07
US10634889B2 (en) 2020-04-28
US20170212339A1 (en) 2017-07-27
EP3184068A4 (en) 2018-04-18
EP3184068A1 (en) 2017-06-28
CN106659542B (zh) 2020-11-03

Similar Documents

Publication Publication Date Title
WO2016027749A1 (ja) 医療用観察装置および医療用観察システム
JP6456635B2 (ja) 医療用観察装置および医療用観察システム
JP7073618B2 (ja) 制御装置、制御方法及び医療用システム
JP6935409B2 (ja) 医療用観察装置及び医療用観察システム
JP6367019B2 (ja) 滅菌ドレープ
CN106456273B (zh) 医疗用观察装置及医疗用观察系统
JP5996359B2 (ja) 医療用観察システム
JPWO2019167528A1 (ja) 医療用観察装置
JP2020151406A (ja) 医療用保持装置及び医療用観察システム
JP6856690B2 (ja) 医療用観察装置および医療用観察システム
JP7094746B2 (ja) 医療用観察装置
JP2020157043A (ja) 医療用観察システム
JPWO2016181696A1 (ja) 手術用顕微鏡装置及び手術用顕微鏡システム
JP6694049B2 (ja) 医療用観察装置および医療用観察システム

Legal Events

Date Code Title Description
121 Ep: the epo has been informed by wipo that ep was designated in this application

Ref document number: 15833815

Country of ref document: EP

Kind code of ref document: A1

REEP Request for entry into the european phase

Ref document number: 2015833815

Country of ref document: EP

WWE Wipo information: entry into national phase

Ref document number: 2015833815

Country of ref document: EP

WWE Wipo information: entry into national phase

Ref document number: 15328522

Country of ref document: US

NENP Non-entry into the national phase

Ref country code: DE