WO2016017118A1 - Glass composition and method of manufacturing the same, and glass member and image pickup device - Google Patents

Glass composition and method of manufacturing the same, and glass member and image pickup device Download PDF

Info

Publication number
WO2016017118A1
WO2016017118A1 PCT/JP2015/003680 JP2015003680W WO2016017118A1 WO 2016017118 A1 WO2016017118 A1 WO 2016017118A1 JP 2015003680 W JP2015003680 W JP 2015003680W WO 2016017118 A1 WO2016017118 A1 WO 2016017118A1
Authority
WO
WIPO (PCT)
Prior art keywords
glass
silica
glass composition
cuo
porous
Prior art date
Legal status (The legal status is an assumption and is not a legal conclusion. Google has not performed a legal analysis and makes no representation as to the accuracy of the status listed.)
Ceased
Application number
PCT/JP2015/003680
Other languages
English (en)
French (fr)
Inventor
Zuyi Zhang
Yoshinori Kotani
Naoyuki Koketsu
Current Assignee (The listed assignees may be inaccurate. Google has not performed a legal analysis and makes no representation or warranty as to the accuracy of the list.)
Canon Inc
Original Assignee
Canon Inc
Priority date (The priority date is an assumption and is not a legal conclusion. Google has not performed a legal analysis and makes no representation as to the accuracy of the date listed.)
Filing date
Publication date
Application filed by Canon Inc filed Critical Canon Inc
Priority to US15/316,472 priority Critical patent/US10494296B2/en
Publication of WO2016017118A1 publication Critical patent/WO2016017118A1/en
Anticipated expiration legal-status Critical
Ceased legal-status Critical Current

Links

Images

Classifications

    • CCHEMISTRY; METALLURGY
    • C03GLASS; MINERAL OR SLAG WOOL
    • C03CCHEMICAL COMPOSITION OF GLASSES, GLAZES OR VITREOUS ENAMELS; SURFACE TREATMENT OF GLASS; SURFACE TREATMENT OF FIBRES OR FILAMENTS MADE FROM GLASS, MINERALS OR SLAGS; JOINING GLASS TO GLASS OR OTHER MATERIALS
    • C03C23/00Other surface treatment of glass not in the form of fibres or filaments
    • C03C23/0095Solution impregnating; Solution doping; Molecular stuffing, e.g. of porous glass
    • CCHEMISTRY; METALLURGY
    • C03GLASS; MINERAL OR SLAG WOOL
    • C03CCHEMICAL COMPOSITION OF GLASSES, GLAZES OR VITREOUS ENAMELS; SURFACE TREATMENT OF GLASS; SURFACE TREATMENT OF FIBRES OR FILAMENTS MADE FROM GLASS, MINERALS OR SLAGS; JOINING GLASS TO GLASS OR OTHER MATERIALS
    • C03C17/00Surface treatment of glass, not in the form of fibres or filaments, by coating
    • C03C17/02Surface treatment of glass, not in the form of fibres or filaments, by coating with glass
    • CCHEMISTRY; METALLURGY
    • C03GLASS; MINERAL OR SLAG WOOL
    • C03CCHEMICAL COMPOSITION OF GLASSES, GLAZES OR VITREOUS ENAMELS; SURFACE TREATMENT OF GLASS; SURFACE TREATMENT OF FIBRES OR FILAMENTS MADE FROM GLASS, MINERALS OR SLAGS; JOINING GLASS TO GLASS OR OTHER MATERIALS
    • C03C3/00Glass compositions
    • C03C3/04Glass compositions containing silica
    • C03C3/06Glass compositions containing silica with more than 90% silica by weight, e.g. quartz
    • CCHEMISTRY; METALLURGY
    • C03GLASS; MINERAL OR SLAG WOOL
    • C03CCHEMICAL COMPOSITION OF GLASSES, GLAZES OR VITREOUS ENAMELS; SURFACE TREATMENT OF GLASS; SURFACE TREATMENT OF FIBRES OR FILAMENTS MADE FROM GLASS, MINERALS OR SLAGS; JOINING GLASS TO GLASS OR OTHER MATERIALS
    • C03C3/00Glass compositions
    • C03C3/04Glass compositions containing silica
    • C03C3/076Glass compositions containing silica with 40% to 90% silica, by weight
    • C03C3/083Glass compositions containing silica with 40% to 90% silica, by weight containing aluminium oxide or an iron compound
    • C03C3/085Glass compositions containing silica with 40% to 90% silica, by weight containing aluminium oxide or an iron compound containing an oxide of a divalent metal
    • CCHEMISTRY; METALLURGY
    • C03GLASS; MINERAL OR SLAG WOOL
    • C03CCHEMICAL COMPOSITION OF GLASSES, GLAZES OR VITREOUS ENAMELS; SURFACE TREATMENT OF GLASS; SURFACE TREATMENT OF FIBRES OR FILAMENTS MADE FROM GLASS, MINERALS OR SLAGS; JOINING GLASS TO GLASS OR OTHER MATERIALS
    • C03C4/00Compositions for glass with special properties
    • C03C4/08Compositions for glass with special properties for glass selectively absorbing radiation of specified wave lengths
    • C03C4/082Compositions for glass with special properties for glass selectively absorbing radiation of specified wave lengths for infrared absorbing glass
    • GPHYSICS
    • G02OPTICS
    • G02BOPTICAL ELEMENTS, SYSTEMS OR APPARATUS
    • G02B5/00Optical elements other than lenses
    • G02B5/20Filters
    • G02B5/208Filters for use with infrared or ultraviolet radiation, e.g. for separating visible light from infrared and/or ultraviolet radiation
    • GPHYSICS
    • G02OPTICS
    • G02BOPTICAL ELEMENTS, SYSTEMS OR APPARATUS
    • G02B5/00Optical elements other than lenses
    • G02B5/20Filters
    • G02B5/22Absorbing filters
    • G02B5/226Glass filters
    • CCHEMISTRY; METALLURGY
    • C03GLASS; MINERAL OR SLAG WOOL
    • C03CCHEMICAL COMPOSITION OF GLASSES, GLAZES OR VITREOUS ENAMELS; SURFACE TREATMENT OF GLASS; SURFACE TREATMENT OF FIBRES OR FILAMENTS MADE FROM GLASS, MINERALS OR SLAGS; JOINING GLASS TO GLASS OR OTHER MATERIALS
    • C03C2217/00Coatings on glass
    • C03C2217/40Coatings comprising at least one inhomogeneous layer
    • C03C2217/425Coatings comprising at least one inhomogeneous layer consisting of a porous layer
    • CCHEMISTRY; METALLURGY
    • C03GLASS; MINERAL OR SLAG WOOL
    • C03CCHEMICAL COMPOSITION OF GLASSES, GLAZES OR VITREOUS ENAMELS; SURFACE TREATMENT OF GLASS; SURFACE TREATMENT OF FIBRES OR FILAMENTS MADE FROM GLASS, MINERALS OR SLAGS; JOINING GLASS TO GLASS OR OTHER MATERIALS
    • C03C2218/00Methods for coating glass
    • C03C2218/30Aspects of methods for coating glass not covered above
    • C03C2218/32After-treatment

Definitions

  • the present invention relates to a glass composition and a method of manufacturing the same, and a glass member and an image pickup device.
  • infrared absorbing glass For the purpose of adjusting a light amount in an infrared region or cutting an entire light amount in the region, infrared absorbing glass has hitherto been used.
  • a Cu 2+ component in the infrared absorbing glass is involved in an infrared absorption principle of the glass. Specifically, absorption in an infrared region caused by d-d transition of a Cu 2+ ion is utilized.
  • fluorophosphate-based glass is used as such infrared absorbing glass, but the fluorophosphate-based glass has a problem of low water resistance making handling difficult.
  • the glass in use of the infrared absorbing glass, the glass itself becomes hot in response to an amount of absorbed light particularly in the case where condensed light needs to be absorbed by the glass or where the glass is exposed to light including an absorption component for a long time period.
  • a temperature difference of about from 100°C to 200°C easily arises in an object in some cases.
  • an internal stress is often generated between the thin film and a substrate.
  • the thin film an optical deposition film such as an anti-reflection film
  • the optical member is liable to be broken when the above-mentioned internal stress is applied in addition to an external stress accompanied by oscillation.
  • the glass to be used is required to have resistance to temperature changes in addition to heat resistance particularly in an application in which intense light is locally absorbed.
  • PTL 1 proposes infrared absorbing glass that is constructed of silica, copper oxide, and a network modified oxide and is aimed at improving durability of the infrared absorbing glass.
  • the infrared absorbing glass of PTL 1 has an infrared absorption ability, its heat resistance and durability are still insufficient owing to a system in which the network modified oxide is introduced in a network structure formed of silica.
  • a glass composition including the following components (a) to (c): (a) 0.1 wt% or more to 14.0 wt% or less of an intermediate oxide; (b) 0.1 wt% or more to 14.0 wt% or less of CuO; and (c) 80.0 wt% or more to 99.8 wt% or less of silica, in which a total of a content ratio of the intermediate oxide and a content ratio of the CuO is from 0.2 wt% or more to 20 wt% or less.
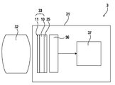
  • FIG. 1 is a schematic sectional view for illustrating an example of an image pickup device in which an optical member including a glass composition film of the present invention is installed.
  • the present invention has been made in view of the problems described above, and an object of the present invention is to provide a glass composition having an infrared absorbing function, water resistance, heat resistance, and a low expansion coefficient.
  • a glass composition of the present invention includes the following components (a) to (c). (a) 0.1 wt% or more to 14.0 wt% or less of an intermediate oxide; (b) 0.1 wt% or more to 14.0 wt% or less of CuO; and (c) 80.0 wt% or more to 99.8 wt% or less of silica (SiO 2 ).
  • the total of the content ratio of the intermediate oxide and the content ratio of CuO is from 0.2 wt% or more to 20 wt% or less.
  • the glass composition of the present invention is a glass composition for absorbing mainly infrared rays.
  • the glass composition of the present invention is a glass material that contains as its components the intermediate oxide, CuO, and silica, and absorbs infrared rays.
  • the glass composition of the present invention forms an amorphous structure as with conventional glass.
  • the glass composition of the present invention forms a structure based on a three-dimensional network formed of Si-O bonds of silica, into part of which CuO and the intermediate oxide are incorporated as modified oxides.
  • the specific shape of the glass composition is not particularly limited, but there are given, for example, a plate shape having a constant thickness (thickness of at least submillimeter order), a lens shape, and a gob shape. Of those, a plate shape is preferred.
  • the glass composition of the present invention contains 80.0 wt% or more to 99.8 wt% or less of silica as one of the components.
  • a skeleton for forming the glass composition contains 80.0 wt% or more of silica
  • the glass composition achieves heatresistant temperature resembling that of silica glass.
  • thermal expansion a property leaning toward a silica glass side is exhibited.
  • the heatresistant temperature and expansion coefficient of the glass composition of the present invention vary depending on the content ratio of CuO in the composition, the heatresistant temperature of the composition itself can be set to 700°C or more when the content ratio of silica is 80.0 wt% or more.
  • the glass composition of the present invention has a T g of 200°C or more higher than that of fluorophosphate glass.
  • the expansion coefficient of the glass composition of the present invention can be suppressed to 50 ⁇ 10 -7 /°C or less, which is at least 1/2 or less of that of the fluorophosphate glass.
  • the glass composition forms a three-dimensional skeleton by forming the network based on silica as described above, and hence shows excellent mechanical properties including strength. In the case where heatresistant temperature at a higher level is further demanded in the glass composition of the present invention depending on its application, it is appropriate to further increase the content ratio of silica in the glass composition.
  • the heatresistant temperature is further improved by adjusting the content ratio of silica to 85.0 wt% or more.
  • the content ratio of silica may be set to 90.0 wt% or more as required in accordance with a thermal process to which the glass composition of the present invention is exposed.
  • the glass composition of the present invention can be used for an infrared absorbing glass member capable of responding to a thermal process of 900°C or more.
  • the intermediate oxide to be contained in the glass composition of the present invention is a metal oxide containing a metal ion having a valence of 3, 4, or 5 in an oxide state and a Shannon's ionic radius of 0.7 ⁇ or less (preferably 0.6 ⁇ or less).
  • Specific examples thereof include Al 2 O 3 , TiO 2 , Ga 2 O 3 , and Ta 2 O 5 . Of those, Al 2 O 3 is preferred.
  • the intermediate oxide to be contained in the glass composition of the present invention is an essential component basically for realizing the homogeneity of CuO with silica (incorporation of CuO into the network based on silica).
  • the homogeneity of the intermediate oxide with silica is not satisfactory, that is, the intermediate oxide cannot be successfully incorporated into the network based on silica in some cases.
  • the intermediate oxide is also an essential component basically for controlling the dispersibility of CuO and a ligand field of CuO in the network based on silica.
  • the content ratio of the intermediate oxide is from 0.1 wt% or more to 14.0 wt% or less, more preferably from 0.2 wt% or more to 12.0 wt% or less.
  • the content ratio of the intermediate oxide exceeds 14.0 wt%, the components of CuO and silica are relatively reduced, and there is a risk in that any performance of absorption characteristics and heat resistance is impaired in the glass composition.
  • the glass composition of the present invention preferably satisfies the following formula (1) between the intermediate oxide and CuO. 0.2 ⁇ n 1 /n 2 ⁇ 5.0 (1) (In the formula (1), n 1 represents the molar amount of the intermediate oxide, and n 2 represents the molar amount of CuO.)
  • the ratio n 1 /n 2 is less than 0.2, that is, the content ratio of CuO is too high in the glass composition, the homogeneity of CuO with silica becomes poor, and the absorption characteristics of Cu 2+ are deteriorated. The resultant glass tends to be blackened.
  • the ratio n 1 /n 2 exceeds 5.0, there is a risk in that homogeneous glass is not obtained owing to the intermediate oxide affecting a ligand field structure of CuO and being contained beyond an upper limit for the compatibility with silica.
  • the ratio n 1 /n 2 is more preferably set to from 0.5 or more to 3.0 or less in order to control the ligand field around a Cu 2+ ion and realize the homogeneity of glass.
  • the intermediate oxide is an alternative to Si contained in the three-dimensional network structure based on silica.
  • the intermediate oxide exists in a form located around Cu and adjacent to Cu. Therefore, the intermediate oxide improves the compatibility of CuO with silica, and as well, can control the ligand field of Cu 2+ depending on the metal valence or ionic radius.
  • the intermediate oxide may be used in one kind or two or more kinds.
  • the content ratio of the intermediate oxide in the glass composition means the total content ratio of the intermediate oxides of all kinds
  • n 1 in the formula (1) represents the total molar amount of the intermediate oxides of all kinds.
  • CuO is a component that absorbs infrared rays.
  • the content ratio of CuO with respect to the entire composition is from 0.1 wt% or more to 14.0 wt% or less, preferably from 0.3 wt% to 14.0 wt%.
  • the content ratio of CuO is less than 0.1 wt%, an infrared absorption ability is low, and infrared absorption efficiency is not satisfactory.
  • the content ratio of CuO exceeds 14.0 wt%, there is a risk in that the heat resistance of the glass composition is impaired.
  • the total of the content ratio of the intermediate oxide and the content ratio of CuO is from 0.2 wt% or more to 20.0 wt% or less, preferably from 1.0 wt% or more to 18.0 wt% or less.
  • the total of the content ratio of the intermediate oxide and the content ratio of CuO is determined from the viewpoints of the control of the dispersibility of CuO and the ligand field of CuO in the glass composition, and the absorption characteristics and heat resistance of the glass composition.
  • a method of manufacturing the glass composition of the present invention is not particularly limited, and any melt-forming method involving heating and melting a raw material in a powder form having a high melting point as compared to general multi-component glass is adopted. In the case of the melting, the raw material is melted at a temperature approximately three times as high as its heat-resistant temperature.
  • a method involving densification through porous silica may be adopted.
  • the method involving densification is more preferred.
  • the glass composition be manufactured by a firing method (the densification method) through porous silica also from the viewpoint of optical properties, because a formation temperature set to a higher temperature side causes a remarkable reduction tendency of Cu 2+ .
  • the porous body to be made non-porous has such a precondition that the porous body necessarily contains a highly reactive constituent component even when the porous body includes a region of micrometer order (for example, a void region or a matrix region).
  • silica-based porous body that can be made non-porous in a temperature range of 1,500°C or less without performing a melting method
  • a porous body formed by combusting a vapor phase gas, a porous body derived from a liquid phase method, or a silica-based porous body obtained by phase separation and etching of glass is conveniently used.
  • any method involving appropriately depositing an oxide may be used.
  • a specific method of depositing an oxide is not particularly limited, but for example, a vapor phase method such as VAD may be adopted.
  • a specific procedure is as follows: a mixed gas prepared by mixing raw materials such as SiCl 4 , AlCl 3 , GaCl 3 , TiCl 4 , and CuCl 2 at appropriate ratios is combusted by using a hydrogen burner; and thereby, the porous body (soot) is formed.
  • a mixed gas prepared by mixing raw materials such as SiCl 4 , AlCl 3 , GaCl 3 , TiCl 4 , and CuCl 2 at appropriate ratios is combusted by using a hydrogen burner; and thereby, the porous body (soot) is formed.
  • an alternative to the chloride is not particularly limited unless a problem arises in its reactivity with a hydrogen component to be used in the hydrogen burner.
  • a halide except for a chloride (a fluoride, a bromide, or an iodide) of a metal, a metal alkoxide, or other sublimable compounds of ⁇ -diketone, or other organic complexes.
  • a chloride a fluoride, a bromide, or an iodide
  • a metal alkoxide a metal alkoxide, or other sublimable compounds of ⁇ -diketone, or other organic complexes.
  • the porous body formed of the constituent components of the glass composition may be formed by a liquid phase method.
  • complex salts such as metal alkoxides (such as a silicon alkoxide, an aluminum alkoxide, a gallium alkoxide, a copper alkoxide, and a titanium alkoxide) are hydrolyzed to form oxides in a gel form.
  • reaction conditions such as a water content and temperature are appropriately controlled in order to control the reactivity of the raw materials.
  • the reactivity of the raw materials may appropriately be controlled by adding a chelating agent of a diketone such as acetylacetone.
  • a desirable acid catalyst in accordance with the reactivity of the raw materials in order to control a hydrolysis reaction of the metal alkoxides and a condensation polymerization reaction between metal hydroxides generated through the hydrolysis reaction.
  • a base catalyst such as ammonia may be used.
  • Raw materials for oxides may be added to a gel material formed from the hydrolysis reaction of the metal alkoxides through the condensation polymerization reaction between the metal hydroxides.
  • reactive oxide particles serving as part of the raw materials and each having a particle diameter of 200 nm or less may be mixed in the gel material.
  • the oxide porous body may be obtained by adding an ammonia aqueous solution to an aqueous solution of nitrates or chlorides that may be converted into the oxides to form a gel material formed of the oxides or hydroxides.
  • the oxide porous body to be used in the production of the glass composition of the present invention one obtained by firing a silica porous body after metal oxides are introduced into the porous body may be used.
  • the silica porous body there may conveniently be used the soot obtained by the above-mentioned combustion method, the porous body obtained by the liquid phase method, and as well, porous silica obtained from spinodal phase separation borosilicate glass.
  • the phase separation glass is obtained by, for example, a method described below. Specifically, in general, homogeneous glass is separated into a silica glass phase and a borate glass phase through heat treatment in a phase separation temperature range. The glass separated into the two phases is etched with an acid aqueous solution, and thereby spinodal phase separation-type porous silica from which the borate glass phase is removed is obtained. In this case, phase separation glass having a porous structure and having a pore diameter falling within a range of from 10 nm to 100 nm is easily formed depending on the composition of the glass or the phase separation conditions.
  • Porous silica obtained from the phase separation glass is then impregnated with an aqueous solution (impregnation liquid) containing metal ions such as Al 3+ , Ti 4+ (TiO 2+ ), Cu 2+ , Ga 3+ , and Ta 5+ , followed by drying.
  • an aqueous solution containing metal ions such as Al 3+ , Ti 4+ (TiO 2+ ), Cu 2+ , Ga 3+ , and Ta 5+ , followed by drying.
  • the porous body for firing is obtained.
  • any aqueous solution that is dissolved in water may basically be used with no problem as a raw material.
  • a compound to be contained in the aqueous solution there is specifically given Al(NO 3 ) 3 , Cu(NO 3 ) 2 , Ga(NO 3 ) 3 , Ta(NO 3 ) 5 , AlCl 3 , CuCl 2 , TiOCl 2 , and GaCl 3 , and also hydrates thereof are conveniently used.
  • porous silica When porous silica is immersed in the aqueous solution, components contained in the aqueous solution are precipitated in pores in the drying stage.
  • the porous body for firing is obtained by drying porous silica, which has been dried as described above, at a temperature of 900°C or less to decompose part or the whole of the compounds depending on the compounds.
  • porous silica may be impregnated several number of times, or a process of decomposing and oxidizing the impregnated components may be conducted on the way. With this, the proper compositional deposition realizes a desirable glass composition.
  • a step of firing the porous body for firing is basically a step of making the porous body for firing non-porous.
  • a process of making the porous body for firing non-porous depends on the surface area of the porous body.
  • the surface area of the porous body for firing is preferably from 10 m 2 /g or more to less than 500 m 2 /g.
  • the surface area is less than 10 m 2 /g, surface energy contributing to making the porous body for firing non-porous is low, and a transparent silica-based glass composition tends to be hardly obtained.
  • the surface area is 500 m 2 /g or more, there is a remarkable tendency that the porous body for firing is liable to be broken owing to a weak skeleton and high water absorbability, and it becomes difficult to handle the porous body.
  • a firing temperature is appropriately determined depending on the state and composition of the porous body, but preferably falls within a range of from 800°C to 1,500°C.
  • the firing temperature is less than 800°C, a speed of making the porous body non-porous becomes low, and a silica-based glass composition of high quality is not obtained.
  • the firing temperature exceeds 1,500°C, glass itself is softened, and hence it becomes difficult to maintain the shape of the glass composition to be obtained.
  • the glass composition of the present invention realizes an infrared absorbing function by a copper component in the composition being in an oxidized state of Cu 2+ . Therefore, in the case where the copper component is in a reduced state of, for example, a Cu metal until the firing step is performed, a step of oxidizing the copper component may separately be performed.
  • a preferred method for oxidation treatment of the copper component involves firing (provisional firing) in a temperature range of from 500°C or more to the firing temperature or less in an O 2 -containing atmosphere.
  • the firing atmosphere there may appropriately be used pure air, air, a mixed gas of oxygen and nitrogen. It should be noted that this firing (provisional firing) stage is performed under the conditions in which glass itself does not proceed with firing. When the firing is performed in a temperature range close to the firing temperature, glass itself proceeds with sintering in an area that oxygen diffusion or the like does not reach, and the copper component may remain in a reduced state.
  • the glass composition of the present invention can be utilized as a base material constituting a Cu 2+ -containing glass substrate including the base material and a porous glass film for covering the surface of the base material as a surface layer.
  • a porous silica surface layer may be formed on the base material by forming a phase separation glass film on the surface of the Cu 2+ -containing substrate, and performing treatment such as etching on the phase separation glass film.
  • the porous glass film may be formed by, for example, a method disclosed in PTL 2.
  • a porous silica film is formed on the base material as described below.
  • a phase separable glass powder-containing paste is used to be formed into a film on the base material by a film formation method such as a printing method or a bar coating method.
  • the paste film formed into a film is then planarized through levelling at from 100°C to 200°C.
  • a resin component in the paste film is decomposed through heating at from 300°C to 600°C, and then heating is further performed in a temperature range of from 800°C to 1,100°C, to form the phase separation glass film on the base material.
  • phase separation glass film is subjected to phase separation in a temperature range of from 500°C to 650°C over a period of from several hours to several days.
  • boric acid volatilizes from the surface layer, and, a silica-rich surface layer arises on the outermost surface.
  • a phase separation structure may be exposed by removing the silica-rich outermost surface by a polishing method or an etching method, which allows for a state in which a phase separation glass phase can be etched.
  • a borate glass phase in phase separation glass is removed by etching through impregnation with an acid aqueous solution.
  • the surface layer formed of phase separation porous silica is formed.
  • a low refractive index can be achieved on the surface, and the reflectance on the surface can be controlled to from 0.5% to 1%.
  • anti-reflection performance can be added to the Cu 2+ -containing silica substrate.
  • the porous silica film serving as a surface layer has a refractive index of preferably 1.2 or less, more preferably 1.18 or less.
  • the porosity of the porous silica film is preferably 50% or more.
  • a gradient structure formed of porous silica having a depth of 50 nm or more exists at an interface between the porous silica film and the base material in the obtained substrate.
  • reflection of light that may be caused at the interface between the porous silica film and the base material is suppressed, and such anti-reflection function as to achieve a reflectance of the entire Cu 2+ -containing silica substrate of 1% or less can be imparted.
  • a borosilicate-based phase separation glass film can be provided on any substrate (base material) that has heatresistant temperature of 800°C or more, more preferably 900°C or more. This is because when the substrate (base material) itself has heatresistant temperature of 800°C or more, the substrate is less deformed and surface precision required for optical applications can be maintained during the firing of the phase separation glass film provided on the substrate (base material).
  • Such Cu 2+ -containing silica substrate including the porous silica film as a surface layer has a function of reducing an adhesion force to dirt or dust in addition to the infrared absorbing function exhibited by the base material and the anti-reflection function.
  • the Cu 2+ -containing silica substrate can be utilized as an optical member also excellent in dust-proof function.
  • a gap of several nanometers to several tens of nanometers exists in the vicinity of an interface to be brought into contact with dirt owing to the smoothness of the surface itself, water is condensed in the gap depending on the humidity of the air, and a liquid bridge is generated owing to the condensed water.
  • a suction force applied to dirt on the surface is said to be increased owing to the liquid bridge.
  • the porous silica film has a property of showing more remarkable optical scattering as the scale of pores constituting the porous silica film becomes larger. Based on the fact, the porous silica film has a pore diameter of preferably 50 nm or less. Such porous structure having a pore diameter controlled to a smaller value, which is formed by a high temperature process, exhibits constant strength in spite of a high porosity, and hence can be conveniently used as an optical member.
  • FIG. 1 is a schematic cross-sectional view for illustrating an example of an image pickup device in which a glass member is mounted.
  • an image pickup device 3 of FIG. 1 is a camera, specifically, an image pickup device configured to form a subject image from a lens 32 on an image pickup element 36 through an optical member 33.
  • the image pickup device 3 of FIG. 1 includes a main body 31 and a removable lens 32.
  • the image pickup device 3 of FIG. 1 is an image pickup device such as a digital single-lens reflex camera, imaging screens different in angle of field can be obtained by exchanging the photographing lens (lens 32) to be used in photographing with lenses having different focal lengths.
  • the optical member 33 herein includes a base material 10 having a function of an infrared cut filter and a surface layer 11.
  • the glass composition of the present invention is used as the base material 10, and the surface layer 11 is formed of a porous glass film.
  • the glass composition serving as the base material 10 is arranged on the image pickup element 36 side and the porous glass film serving as the surface layer 11 is arranged on the lens 32 side. That is, the optical member 33 is arranged so that the surface layer 11 is farther from the image pickup element 36 than the base material 10.
  • the image pickup element 36 forming the image pickup device 3 of FIG. 1 is accommodated in a package (not shown), and the package holds the image pickup element 36 in a sealed state by a cover glass (not shown). Further, the image pickup element 36 is connected to an image processing circuit 37, and information on an image imaged by the image pickup element 36 is converted into data by the image processing circuit 37. It should be noted that a CMOS element or a CCD element can be used as the image pickup element 36.
  • a sealing structure (not shown) is provided between an optical filter such as the low pass filter 35 and the cover glass (not shown) by means of a sealing member.
  • an optical filter such as the low pass filter 35 and the cover glass (not shown) by means of a sealing member.
  • Example 1 porous glass obtained from phase separation borosilicate glass was prepared as porous silica. It should be noted that the porous glass has a porosity of about 50% (apparent density: 1.1 g/cm 3 ), a pore diameter of 30 nm, and a thickness of 1 mm.
  • an aqueous solution of 3.3% Cu(NO 3 ) 2 ⁇ 3H 2 O and 4.9% AlCl 3 ⁇ 6H 2 O was used as sources for CuO and Al 2 O 3 . It should be noted that the aqueous solution is referred to as impregnation liquid in the following description.
  • the silica porous body was immersed in the impregnation liquid, retained for 10 minutes, and then taken out therefrom, and an extra impregnation liquid remaining on the surface was blown away with an air gun. After that, the silica porous body was dried in the air for 2 hours. Next, the silica porous body was heated at a temperature increasing rate of 10°C/min to 600°C, and retained at 600°C for 10 minutes. After that, the silica porous body was left to cool once. Thus, a silica porous body for firing containing CuO and Al 2 O 3 was obtained.
  • the silica porous body for firing was heated to 1,050°C in a stepwise fashion and then heated at 1,100°C for 10 hours, to be made non-porous.
  • a Cu 2+ -containing silica glass 1 having a plate shape (glass composition) was obtained.
  • the total of the content ratio of CuO and the content ratio of Al 2 O 3 serving as the intermediate oxide was 1.0 wt%.
  • the glass composition was evaluated for water resistance in accordance with a water resistance evaluation method for optical glass (powder method). As a result, it was confirmed that an elution amount was 0.02% or less, and the glass composition had first-grade water resistance.
  • the obtained glass composition was evaluated for an expansion coefficient in a temperature range of from 50°C to 250°C with a TMA. As a result, it was confirmed that an elongation amount was small and the expansion coefficient was at least 50 ⁇ 10 -7 /°C or less, while there was an oscillation error.
  • phase separable glass paste containing SiO 2 , B 2 O 3 , Al 2 O 3 , and Na 2 O was formed into a film by being printed on one surface of the base material.
  • the composition of the phase separable glass paste is as described below.
  • ⁇ SiO 2 63 wt% (Note)
  • ⁇ B 2 O 3 27 wt%
  • ⁇ Al 2 O 3 3 wt%
  • the base material was heated and dried at 100°C.
  • the base material was heated to 400°C in an oxygen atmosphere to remove a binder from the printed film, and then heated at 1,000°C for 10 minutes to planarize the film (glass film).
  • the base material having the film (glass film) formed thereon was cooled once, and then retained at 580°C for 50 hours to perform phase separation of the film.
  • the surface of the film was subjected to mirror polishing, and then etched at 80°C for 15 hours by using 1 N nitric acid, rinsed with pure water, and dried in the air.
  • a glass substrate (Cu 2+ -containing silica glass substrate) including the porous glass film was obtained.
  • the base material was visually observed. As a result, it was confirmed that the base material itself was less deformed, and the base material (Cu 2+ -containing silica glass substrate) had excellent heat resistance.
  • the glass substrate was measured for an absorption spectrum with a spectrophotometer. As a result, absorption by Cu 2+ (760 nm) was confirmed.
  • the reflectance on the surface on which the film was formed was measured to be about 0.8% with a surface reflectometer, and it was confirmed that the produced glass substrate also had excellent anti-reflection performance.
  • the surface on which the film was formed was observed with a SEM. As a result, it was confirmed that the film serving as a surface layer had a spinodal phase separation silica structure having a pore diameter of about 15 nm.
  • the silica porous body prepared in Example 1 was immersed in the impregnation liquid prepared in Example 1, retained for 10 minutes, and then taken out therefrom, and an extra impregnation liquid remaining on the surface was blown away with an air gun. After that, the silica porous body was dried for 2 hours in the air. It should be noted that, in Example 2, the operation of impregnation and drying was performed five times. Next, the silica porous body was subjected to heat treatment by the same method as in Example 1. Thus, a Cu 2+ -containing silica glass 2 (glass composition) having a greenish color and a plate shape was obtained.
  • the total of the content ratio of CuO and the content ratio of Al 2 O 3 serving as the intermediate oxide was 3.9 wt%.
  • a glass substrate including a porous glass film was produced by the same method as in Example 1.
  • the glass composition of Example 2 serving as a base material was heated to 1,000°C, but no deformation was observed. Therefore, it was confirmed that the glass composition of Example 2 had heatresistant temperature of about 1,000°C.
  • a glass composition was obtained by the same method as in Example 1 except that, in Example 1, an aqueous solution of 3.3% Cu(NO 3 ) 2 ⁇ 3H 2 O was used as an impregnation liquid instead of the impregnation liquid used in Example 1. However, the obtained sample was blackened, and silica-based glass having an infrared absorbing function was not obtained.
  • the glass composition of the present invention can be applied as an infrared light intensity adjusting member or window glass of an electric furnace or the like.
  • the glass composition of the present invention can be used for an application as a video sensor by utilizing sensitive absorption of infrared rays.
  • the glass substrate of the present invention is constructed of the surface layer formed of porous silica and the heat-resistant base material for absorbing infrared rays, and hence exhibits an optical anti-reflection function and a dust-proof function by virtue of performance of reducing an adhesion force to dirt, as well as an infrared light absorbing function. Accordingly, the glass substrate of the present invention can be utilized as a member of an optical material.
  • the glass composition having an infrared absorbing function, water resistance, heat resistance, and a low expansion coefficient.

Landscapes

  • Chemical & Material Sciences (AREA)
  • Life Sciences & Earth Sciences (AREA)
  • Engineering & Computer Science (AREA)
  • Chemical Kinetics & Catalysis (AREA)
  • General Chemical & Material Sciences (AREA)
  • Geochemistry & Mineralogy (AREA)
  • Materials Engineering (AREA)
  • Organic Chemistry (AREA)
  • Physics & Mathematics (AREA)
  • General Physics & Mathematics (AREA)
  • Optics & Photonics (AREA)
  • Health & Medical Sciences (AREA)
  • Toxicology (AREA)
  • Glass Compositions (AREA)
  • Optical Filters (AREA)
  • Surface Treatment Of Glass (AREA)
PCT/JP2015/003680 2014-07-29 2015-07-22 Glass composition and method of manufacturing the same, and glass member and image pickup device Ceased WO2016017118A1 (en)

Priority Applications (1)

Application Number Priority Date Filing Date Title
US15/316,472 US10494296B2 (en) 2014-07-29 2015-07-22 Glass composition and method of manufacturing the same, and glass member and image pickup device

Applications Claiming Priority (2)

Application Number Priority Date Filing Date Title
JP2014153917A JP6395489B2 (ja) 2014-07-29 2014-07-29 ガラス組成物及びその製造方法、並びにガラス部材及び撮像装置
JP2014-153917 2014-07-29

Publications (1)

Publication Number Publication Date
WO2016017118A1 true WO2016017118A1 (en) 2016-02-04

Family

ID=55217039

Family Applications (1)

Application Number Title Priority Date Filing Date
PCT/JP2015/003680 Ceased WO2016017118A1 (en) 2014-07-29 2015-07-22 Glass composition and method of manufacturing the same, and glass member and image pickup device

Country Status (3)

Country Link
US (1) US10494296B2 (enExample)
JP (1) JP6395489B2 (enExample)
WO (1) WO2016017118A1 (enExample)

Families Citing this family (2)

* Cited by examiner, † Cited by third party
Publication number Priority date Publication date Assignee Title
JP7048064B2 (ja) * 2016-09-30 2022-04-05 株式会社環境レジリエンス 個別認証媒体を用いた個別認証システム
TWI777470B (zh) * 2021-03-25 2022-09-11 富喬工業股份有限公司 玻璃組成物及玻璃纖維

Citations (3)

* Cited by examiner, † Cited by third party
Publication number Priority date Publication date Assignee Title
JPH0761835A (ja) * 1993-08-25 1995-03-07 Asahi Glass Co Ltd 紫外線及び赤外線カットガラス
JP2000313636A (ja) * 1998-06-22 2000-11-14 Olympus Optical Co Ltd 赤外吸収ガラス及びその作製方法
JP2010053013A (ja) * 2008-07-31 2010-03-11 Ohara Inc ガラス

Family Cites Families (11)

* Cited by examiner, † Cited by third party
Publication number Priority date Publication date Assignee Title
US5627113A (en) * 1995-02-22 1997-05-06 Council Of Scientific & Industrial Research Copper activated thermoluminescence dosimeter and method
JPH10236843A (ja) * 1997-02-26 1998-09-08 Kirin Brewery Co Ltd 銅イオン含有ガラス
DE10028662A1 (de) * 2000-06-09 2001-12-13 Nokia Mobile Phones Ltd Routefinder
CN100503498C (zh) * 2002-11-29 2009-06-24 独立行政法人科学技术振兴机构 发光玻璃
US7975508B2 (en) * 2003-03-20 2011-07-12 Japan Science And Technology Agency Method for producing high silicate glass and high silicate glass
JP2007302544A (ja) * 2006-05-15 2007-11-22 Fuji Electric Holdings Co Ltd 情報記録媒体用基板及び情報記録媒体
DE102006023115A1 (de) * 2006-05-16 2007-11-22 Schott Ag Backlightsystem mit IR-Absorptionseigenschaften
JP2011241130A (ja) 2010-05-20 2011-12-01 Canon Inc 相分離ガラスおよび多孔質ガラス
JP5725734B2 (ja) 2010-06-01 2015-05-27 キヤノン株式会社 ガラスの製造方法
JP5796936B2 (ja) 2010-06-01 2015-10-21 キヤノン株式会社 多孔質ガラスの製造方法
JP6049401B2 (ja) 2011-11-18 2016-12-21 キヤノン株式会社 光学部材、撮像装置及び光学部材の製造方法

Patent Citations (3)

* Cited by examiner, † Cited by third party
Publication number Priority date Publication date Assignee Title
JPH0761835A (ja) * 1993-08-25 1995-03-07 Asahi Glass Co Ltd 紫外線及び赤外線カットガラス
JP2000313636A (ja) * 1998-06-22 2000-11-14 Olympus Optical Co Ltd 赤外吸収ガラス及びその作製方法
JP2010053013A (ja) * 2008-07-31 2010-03-11 Ohara Inc ガラス

Also Published As

Publication number Publication date
JP6395489B2 (ja) 2018-09-26
US10494296B2 (en) 2019-12-03
US20170190613A1 (en) 2017-07-06
JP2016030712A (ja) 2016-03-07

Similar Documents

Publication Publication Date Title
KR101939871B1 (ko) 광전 변환 장치용 커버 유리
TWI598641B (zh) 紅外線截止濾光片及攝影裝置
JP4330661B2 (ja) 高屈折率と機械的耐磨耗性を有する酸化タンタルベースの無機ポリマー材料、その製法、および当該ポリマーを含む光学材料
AU748748B2 (en) Method for preparing a multilayer optical material with crosslinking-densifying by ultraviolet radiation and resulting optical material
CN103608295B (zh) 具有良好的光提取性能的无机粒子散射膜
EP1574881A1 (en) Film and antireflection film having fine irregularities on surface, production method for the same, and optical member using the same
JP2019066866A (ja) 光吸収性組成物及び光学フィルタ
US9487436B2 (en) Optical member, image pickup apparatus, and method for manufacturing optical member
KR20190020023A (ko) 자가-경화 혼합-금속 옥사이드
JP4989219B2 (ja) 赤外線カットガラス及びその製造方法
US6153127A (en) Optical thin film, forming composition thereof, and ultraviolet ray absorbing and thermic ray reflecting glass using the same
US10494296B2 (en) Glass composition and method of manufacturing the same, and glass member and image pickup device
WO2013073106A1 (en) Method for manufacturing optical member and method for manufacturing image pickup apparatus
WO2013088632A1 (en) Optical member, image pickup apparatus, and method for manufacturing optical member
KR102465624B1 (ko) 광흡수성 조성물 및 광학 필터
JP6627828B2 (ja) 薄膜の製造方法、薄膜形成材料、光学薄膜、及び光学部材
US20220306526A1 (en) Thermochromic materials
WO2016002223A1 (ja) 低反射コーティング付きガラス板
JP7046544B2 (ja) 光学素子、光学機器、光学素子の製造方法および塗料
JP2013105846A (ja) 防曇性膜を有する光学部品、半導体装置
WO2013140717A2 (en) Method for manufacturing optical member, optical member, and image pickup apparatus
CN115812068A (zh) 具有包含纳米嵌入物的溶胶-凝胶涂层的玻璃板
JP2020126256A (ja) 赤外線カットフィルタ
JP2018018108A (ja) 赤外線吸収層用ゾル、赤外線吸収層、赤外線吸収層の製造方法および赤外線カットフィルタの製造方法
JP2024093714A (ja) 光学フィルタ

Legal Events

Date Code Title Description
121 Ep: the epo has been informed by wipo that ep was designated in this application

Ref document number: 15827096

Country of ref document: EP

Kind code of ref document: A1

WWE Wipo information: entry into national phase

Ref document number: 15316472

Country of ref document: US

NENP Non-entry into the national phase

Ref country code: DE

122 Ep: pct application non-entry in european phase

Ref document number: 15827096

Country of ref document: EP

Kind code of ref document: A1