WO2016006187A1 - 送風装置 - Google Patents
送風装置 Download PDFInfo
- Publication number
- WO2016006187A1 WO2016006187A1 PCT/JP2015/003174 JP2015003174W WO2016006187A1 WO 2016006187 A1 WO2016006187 A1 WO 2016006187A1 JP 2015003174 W JP2015003174 W JP 2015003174W WO 2016006187 A1 WO2016006187 A1 WO 2016006187A1
- Authority
- WO
- WIPO (PCT)
- Prior art keywords
- air
- duct
- guide vane
- blower
- guide
- Prior art date
- Legal status (The legal status is an assumption and is not a legal conclusion. Google has not performed a legal analysis and makes no representation as to the accuracy of the status listed.)
- Ceased
Links
Images
Classifications
-
- B—PERFORMING OPERATIONS; TRANSPORTING
- B60—VEHICLES IN GENERAL
- B60H—ARRANGEMENTS OF HEATING, COOLING, VENTILATING OR OTHER AIR-TREATING DEVICES SPECIALLY ADAPTED FOR PASSENGER OR GOODS SPACES OF VEHICLES
- B60H1/00—Heating, cooling or ventilating [HVAC] devices
- B60H1/34—Nozzles; Air-diffusers
- B60H1/3414—Nozzles; Air-diffusers with means for adjusting the air stream direction
- B60H1/3421—Nozzles; Air-diffusers with means for adjusting the air stream direction using only pivoting shutters
-
- B—PERFORMING OPERATIONS; TRANSPORTING
- B60—VEHICLES IN GENERAL
- B60H—ARRANGEMENTS OF HEATING, COOLING, VENTILATING OR OTHER AIR-TREATING DEVICES SPECIALLY ADAPTED FOR PASSENGER OR GOODS SPACES OF VEHICLES
- B60H1/00—Heating, cooling or ventilating [HVAC] devices
- B60H1/24—Devices purely for ventilating or where the heating or cooling is irrelevant
- B60H1/241—Devices purely for ventilating or where the heating or cooling is irrelevant characterised by the location of ventilation devices in the vehicle
- B60H1/245—Devices purely for ventilating or where the heating or cooling is irrelevant characterised by the location of ventilation devices in the vehicle located in the roof
-
- F—MECHANICAL ENGINEERING; LIGHTING; HEATING; WEAPONS; BLASTING
- F24—HEATING; RANGES; VENTILATING
- F24F—AIR-CONDITIONING; AIR-HUMIDIFICATION; VENTILATION; USE OF AIR CURRENTS FOR SCREENING
- F24F13/00—Details common to, or for air-conditioning, air-humidification, ventilation or use of air currents for screening
- F24F13/02—Ducting arrangements
- F24F13/06—Outlets for directing or distributing air into rooms or spaces, e.g. ceiling air diffuser
-
- F—MECHANICAL ENGINEERING; LIGHTING; HEATING; WEAPONS; BLASTING
- F24—HEATING; RANGES; VENTILATING
- F24F—AIR-CONDITIONING; AIR-HUMIDIFICATION; VENTILATION; USE OF AIR CURRENTS FOR SCREENING
- F24F13/00—Details common to, or for air-conditioning, air-humidification, ventilation or use of air currents for screening
- F24F13/08—Air-flow control members, e.g. louvres, grilles, flaps or guide plates
- F24F13/10—Air-flow control members, e.g. louvres, grilles, flaps or guide plates movable, e.g. dampers
- F24F13/14—Air-flow control members, e.g. louvres, grilles, flaps or guide plates movable, e.g. dampers built up of tilting members, e.g. louvre
-
- B—PERFORMING OPERATIONS; TRANSPORTING
- B60—VEHICLES IN GENERAL
- B60H—ARRANGEMENTS OF HEATING, COOLING, VENTILATING OR OTHER AIR-TREATING DEVICES SPECIALLY ADAPTED FOR PASSENGER OR GOODS SPACES OF VEHICLES
- B60H1/00—Heating, cooling or ventilating [HVAC] devices
- B60H1/34—Nozzles; Air-diffusers
- B60H1/345—Nozzles; Air-diffusers with means for adjusting divergence, convergence or oscillation of air stream
-
- B—PERFORMING OPERATIONS; TRANSPORTING
- B60—VEHICLES IN GENERAL
- B60H—ARRANGEMENTS OF HEATING, COOLING, VENTILATING OR OTHER AIR-TREATING DEVICES SPECIALLY ADAPTED FOR PASSENGER OR GOODS SPACES OF VEHICLES
- B60H1/00—Heating, cooling or ventilating [HVAC] devices
- B60H1/00507—Details, e.g. mounting arrangements, desaeration devices
- B60H2001/006—Noise reduction
-
- B—PERFORMING OPERATIONS; TRANSPORTING
- B60—VEHICLES IN GENERAL
- B60H—ARRANGEMENTS OF HEATING, COOLING, VENTILATING OR OTHER AIR-TREATING DEVICES SPECIALLY ADAPTED FOR PASSENGER OR GOODS SPACES OF VEHICLES
- B60H1/00—Heating, cooling or ventilating [HVAC] devices
- B60H1/34—Nozzles; Air-diffusers
- B60H2001/3471—Details of actuators
-
- F—MECHANICAL ENGINEERING; LIGHTING; HEATING; WEAPONS; BLASTING
- F24—HEATING; RANGES; VENTILATING
- F24F—AIR-CONDITIONING; AIR-HUMIDIFICATION; VENTILATION; USE OF AIR CURRENTS FOR SCREENING
- F24F2221/00—Details or features not otherwise provided for
- F24F2221/28—Details or features not otherwise provided for using the Coanda effect
Definitions
- the present disclosure relates to a blower that blows air into a vehicle compartment.
- a blower that blows air into the vehicle compartment using the Coanda effect is known.
- Patent Document 1 describes a blower provided in a ceiling part of a passenger compartment.
- the air blown out from the first air outlet flows along the outer surface of the duct due to the Coanda effect, and moves toward the rear side of the vehicle while drawing in the surrounding air and joining.
- the air is supplied to the passenger compartment in a state where the flow rate is increased as compared to when the air is blown out from the first air outlet.
- the air blower described in the following Patent Document 1 includes a second air outlet that blows air downward, separately from the first air outlet.
- a 2nd blower outlet blows off air so that it may join from the upper part to the air which a 1st blower blows off.
- This blower can change the direction of air in the front-rear direction of the vehicle by changing the balance of the flow rate of air blown from the first blower outlet and the second blower outlet.
- a guide vane is provided on the downstream side of the first air outlet, and the air blown from the first air outlet is caused to flow along the guide vane, A method of changing the flow velocity component in the direction can be considered.
- the guide vane becomes a resistance to the air blown out from the first blower outlet at a high speed, and there is a possibility that pressure loss occurs in the air or the Coanda effect is hindered.
- the guide vane since the guide vane is provided at a position where the occupant can easily contact, the guide vane may be damaged due to accidental contact or the like.
- the present disclosure has been made in view of such problems, and an object thereof is to provide a blower that can change the direction of air in the left-right direction of a vehicle while suppressing air pressure loss and damage to the device. There is to do.
- the blower blows air to the vehicle cabin.
- the blower device includes a blower, a duct, a blower outlet, a guide vane, and a rotation mechanism.
- the blower blows air. Air blown by the blower is introduced into the duct.
- the air outlet is formed in the duct and blows air inside the duct along the lower surface of the duct to the passenger compartment.
- the guide vane changes the flow velocity component of the air in the horizontal direction of the vehicle by flowing along the air.
- the rotation mechanism rotates the guide vane.
- the guide vane is provided on the upstream side of the outlet in the duct.
- guide vanes that change the flow velocity component in the left-right direction of air are provided inside the duct. For this reason, it is set as the structure where the passenger
- the guide vane is provided on the upstream side of the air outlet, and in order to change the flow velocity component in the left-right direction in advance before air is blown out from the air outlet at high speed, It is possible to suppress pressure loss and blowing noise generated in the air.
- the flow velocity component in the left-right direction changes as it flows along the guide vanes, and then the air blown out from the blowout port retains the flow velocity component by inertia, while the Coanda effect causes the lower surface of the duct to flow downward. Flowing along. For this reason, by rotating the guide vanes, it is possible to change the amount of change in the flow velocity component in the left-right direction of the air, and to change the direction in the left-right direction of the air blown from the outlet.
- FIG. 4 is a cross-sectional view showing a cross section taken along line IV-IV in FIG. 3.
- FIG. 5 is a cross-sectional view showing a cross section taken along line VV in FIG. 4. It is a figure which shows the state which moved the guide vane of FIG.
- the blower 10 includes a blower unit 11, two ducts 12, a rotation mechanism 13, and two flaps 14 and 14.
- the air blower 10 is attached to the ceiling part VL of the compartment VC of the vehicle VH.
- the vehicle compartment VC is provided with seats S1, S2, S3 in the first to third rows, and the blower 10 is located above the head of the occupant P seated on the seats S1, S2, S3. Has been placed.
- front-rear direction when describing the front-rear direction, the left-right direction, and the up-down direction, it means the front-rear direction, the left-right direction, and the up-down direction when the occupant P faces the forward direction of the vehicle VH, respectively. To do.
- the blower unit 11 is a device that blows air supplied to the vehicle compartment VC, and includes a case 111, a blower 112, and a branching portion 113.
- the case 111 is formed in a flat shape whose vertical dimension is smaller than the dimension in the other direction, and is arranged in the center of the vehicle compartment VC in the horizontal direction.
- a suction port 111 a that communicates the inside and outside of the case 111 is formed at the front end of the case 111.
- a pair of air outlets 111b communicating with the inside and outside of the case 111 are formed on both left and right side surfaces of the rear portion of the case 111, respectively.
- the blower 112 is an electric blower that blows air, and is housed in the case 111.
- the blower 112 has a centrifugal multiblade fan (not shown) inside. As the centrifugal multiblade fan rotates, the air in the passenger compartment VC is sucked in through the suction port 111a of the case 111 and blown out rearward from the blower outlet 112a of the blower 112.
- the branch portion 113 is a T-shaped member that extends rearward from the front end portion, branches right and left in the middle, and extends to the rear end portion.
- the branch portion 113 is accommodated in the case 111, and defines a branch flow path 113 a inside the case 111.
- the branch portion 113 has a front end connected to the air outlet 112 a of the blower 112 and a rear end connected to the pair of air outlets 111 b of the case 111. Thereby, the air blown out from the blower outlet 112a of the blower 112 is introduced into the branch flow path 113a, is divided into right and left, and is supplied to the blower outlet 111b of the case 111.
- the duct 12 is provided on each of the left and right sides of the blower unit 11.
- the duct 12 is a hollow member formed so as to extend linearly in the left-right direction, and an end portion on the case 111 side is connected to the air outlet 111b of the case 111.
- a slit-like air outlet 121 is formed in a portion of the lower side surface 122 of the duct 12 closer to the front.
- the flap 14 is a flat member disposed behind the duct 12.
- the flap 14 is supported at one end on the duct 12 side by a rotating shaft 141 (see FIG. 4) extending substantially horizontally in the left-right direction. As a result, the flap 14 is rotatable about the rotation shaft 141.
- the duct 12 has a guide wall 127 that divides the inside thereof in the front-rear direction.
- the guide wall 127 is inclined in the front-rear direction and extends linearly in the left-right direction.
- the in-duct flow path 128 partitioned and formed on the front side inside the duct 12 has a gradually decreasing cross-sectional area from the case 111 side toward both left and right end portions.
- the air outlet 121 is formed in the lower surface 122 of the duct 12 at a site below the duct internal passage 128 and communicates with the inside and outside of the duct internal passage 128.
- the wall surface of the duct 12 is curved so that the end on the rear side of the air outlet 121 enters the inside of the duct internal flow path 128.
- a throttle channel 125 extending from the inlet 125a to the outlet 121 is formed between the wall surface 123 and the wall surface 124 of the duct 12 that are spaced apart from each other.
- the throttle channel 125 has a gradually decreasing cross-sectional area from the inlet 125 a toward the outlet 121.
- a plurality of guide vanes 126 are provided in the duct flow path 128 so as to be arranged in a straight line at intervals in the left-right direction.
- the number of the plurality of guide vanes 126 is five.
- the guide vane 126 has a plate-like shape having a rear end portion 126b facing the blower unit 11 and a front end portion 126a curved toward the inlet 125a side of the throttle channel 125 and having an arc-shaped outer surface in plan view. It is a member.
- each guide vane 126 is provided on the upstream side of the air outlet 121 of the duct 12 so that the front end portion 126a overlaps with the inlet 125a of the throttle channel 125 in a plan view.
- the five guide vanes 126 change the flow velocity component of the air in the left-right direction by flowing air along the arc-shaped outer surface.
- the air flowing through the duct internal flow path 128 has a forward flow rate component and a right flow velocity component.
- Lose by flowing along the outer surface of the guide vane 126, Lose.
- the air changes its direction to a direction substantially parallel to the front-rear direction and flows into the inlet 125a of the throttle channel 125.
- the air that has flowed into the inlet 125a flows through the throttle channel 125 toward the outlet 121, so that the flow velocity is increased. Since the air in the duct internal flow path 128 flows into the inlet 125a in a direction substantially parallel to the front-rear direction, the air passes through the throttle flow path 125 while maintaining a direction substantially parallel to the front-rear direction due to inertia. It is blown out from 121 toward the rear. Therefore, the direction of the air blown rearward from the air outlet 121 of the duct 12 is substantially parallel to the front-rear direction. The air blown out from the air outlet 121 of the duct 12 flows along the lower surface 122 of the duct 12 due to the Coanda effect, and forms a primary air flow F ⁇ b> 1 that is faster than the air inside the duct 12.
- the primary air flow F1 When the primary air flow F1 is formed by blowing out air from the air outlet 121, the air around the primary air flow F1 is drawn by the ejector effect of the primary air flow F1 to form the secondary air flow F2. . As a result, the air flow blown out from the air outlet 121 of the duct 12 is supplied backward while the flow rate increases.
- the primary air flow F ⁇ b> 1 and the secondary air flow F ⁇ b> 2 flow along the lower surface of the flap 14, so that the front-rear direction is changed.
- Rotating mechanism 13 for rotating five guide vanes 126 is attached to duct 12.
- the rotation mechanism 13 includes a lever 131, five rotation shafts 133, five pins 135, and a rod 136.
- the lever 131 is a member for the occupant P to operate the turning mechanism 13.
- the lever 131 is provided at a portion of the lower side surface 122 of the duct 12 that is closer to the center of the vehicle VH in the left-right direction.
- the lever 131 is formed in a flat shape in plan view, and the longitudinal direction is the longitudinal direction.
- a gear 132 is formed at the center of the upper surface of the lever 131 so as to protrude upward.
- the gear 132 is disposed inside the duct 12.
- the rotating shaft 133 is a columnar member that extends in the vertical direction from the upper end and the lower end of the guide vane 126 and is formed integrally with the guide vane 126.
- the upper and lower ends of each rotation shaft 133 are supported by the wall surface of the duct internal flow path 128, and the guide vane 126 is rotatable about the rotation shaft 133.
- a gear 134 is fixed to the end portion of the rotation shaft 1331 that is disposed closest to the blower unit 11.
- the gear 134 of the rotating shaft 1331 is disposed so as to mesh with the gear 132 of the lever 131.
- the pin 135 is formed so as to protrude downward from the lower surface of the rear end portion 126b of each guide vane 126.
- Each pin 135 is formed integrally with the guide vane 126.
- the rod 136 is a rod-like member extending linearly in the left-right direction.
- the rod 136 is engaged with the pin 135 of each guide vane 126 to connect the five guide vanes 126.
- the rod 136 When the guide vane 1261 rotates, the rod 136 receives a lateral force from the pin 1351 formed on the guide vane 1261 and transmits this force to the pin 135 of the other connected guide vane 126.
- the lateral force that the guide vane 126 other than the guide vane 1261 receives from the rod 136 at the pin 135 becomes a rotational moment around the rotation shaft 133 of each guide vane 126. Therefore, when the occupant P rotates the lever 131, the five guide vanes 126 are simultaneously rotated in the same direction.
- the air that has flowed into the inlet 125 a flows through the throttle channel 125 toward the outlet 121. While passing through the throttle channel 125, the air is blown out from the blower outlet 121 while changing the direction 180 degrees in the front-rear direction while maintaining the flow velocity component in the left direction due to inertia. Therefore, the direction of the air blown out from the air outlet 121 of the duct 12 is the left rear. This air becomes primary air that flows along the lower surface 122 of the duct 12 due to the Coanda effect. After the direction of the front-rear direction is changed by the flap 14, the air is supplied to the left rear.
- the air that has flowed into the inlet 125 a flows through the throttle channel 125 toward the outlet 121. While passing through the throttle channel 125, the air is blown out from the blower outlet 121 while changing the direction 180 degrees in the front-rear direction while maintaining the right flow velocity component due to inertia. Therefore, the direction of the air blown out from the air outlet 121 of the duct 12 is right rear. This air becomes a primary air flow that flows along the lower surface 122 of the duct 12 due to the Coanda effect, and the direction of the front-rear direction is changed by the flap 14 and then supplied to the right rear.
- the guide vane 126 that changes the flow velocity component in the left-right direction of the air is provided in the duct 12. For this reason, it is set as the structure where the passenger
- the guide vane 126 is provided on the upstream side of the air outlet 121 of the duct 12. Further, the guide vane 126 is provided on the upstream side of the throttle channel 125 whose cross-sectional area gradually decreases toward the air outlet 121. For this reason, before the air flows from the inlet 125a of the throttle channel 125 toward the blower outlet 121 to increase the flow velocity, the flow velocity component in the left-right direction of the air is changed in advance. As a result, pressure loss and blowing noise generated in the air blown out from the outlet 121 at a high speed can be suppressed.
- the flow velocity component in the left-right direction is changed by the guide vane 126 inside the duct 12, and the air blown out from the air outlet 121 is retained on the lower surface 122 of the duct 12 by the Coanda effect while maintaining the flow velocity component by inertia. Flowing along. For this reason, by rotating the guide vane 126, it is possible to change the amount of change in the flow velocity component in the left-right direction of the air and to change the direction of the air blown out from the outlet 121 in the left-right direction.
- the air blower 10 changes the flow velocity component in the front-rear direction of the air blown from the air outlet 121 of the duct 12 by the flap 14 provided outside the duct 12. Therefore, it is possible to suppress noise caused by air as compared with the case where the direction of the air in the front-rear direction is changed by merging a plurality of air.
- the lever 131 is formed such that its longitudinal direction is along the direction in which the air outlet 121 of the duct 12 blows out air. Therefore, when the occupant P operates the lever 131, it is possible to easily grasp the direction in which the air outlet 121 of the duct 12 blows out air.
- the lever 131 is provided at a position closer to the center of the vehicle VH in the left-right direction. For this reason, the lever 131 is easily operated by many occupants P in the passenger compartment VC. (Second Embodiment) Then, the air blower concerning 2nd Embodiment is demonstrated, referring FIG.8 and FIG.9.
- the air blower according to the second embodiment is different from the air turning mechanism 13 of the air blower 10 according to the first embodiment in the configuration of the rotation mechanisms 13A and 13B, but other configurations are generally the same as the air blower 10. is there. Accordingly, the same components are denoted by the same reference numerals, and the description thereof is omitted.
- five guide vanes 126 are provided in the duct internal flow path 128 so as to be arranged in a straight line at intervals in the left-right direction.
- two guide vanes 126 arranged near the right end of the duct internal flow path 128 constitute a first guide vane group 126A.
- two guide vanes 126 disposed near the left end of the duct internal flow path 128 constitute a second guide vane group 126B.
- the remaining guide vanes 126 are arranged between the first guide vane group 126A and the second guide vane group 126B.
- Rotating mechanism 13A for rotating first guide vane group 126A and rotating mechanism 13B for rotating second guide vane group 126B are independently attached to duct 12.
- the rotation mechanism 13A includes a rod 136A that connects the two guide vanes 126 of the first guide vane group 126A, and a lever 131A.
- the rotation mechanism 13B includes a rod 136B that connects the two guide vanes 126 of the second guide vane group 126B, and a lever 131B.
- the occupant P can rotate the first guide vane group 126A and the second guide vane group 126B independently by rotating the levers 131A and 131B.
- the principle that the first guide vane group 126A and the second guide vane group 126B rotate based on the rotation of the levers 131A and 131B is the same as that of the rotation mechanism 13 of the blower 10 according to the first embodiment.
- the air near the right end of the in-duct flow path 128 flows along the outer surfaces of the two guide vanes 126 of the first guide vane group 126A, thereby obtaining a flow velocity component in the left direction. Further, the air near the left end of the in-duct flow path 128 flows along the outer surfaces of the two guide vanes 126 of the second guide vane group 126B, thereby obtaining a flow velocity component in the right direction. As a result, the air near the right end of the in-duct flow path 128 changes its direction to the left front direction and flows into the inlet 125a of the throttle flow path 125. Further, the air near the left end of the duct internal flow path 128 changes its direction to the front right direction and flows into the inlet 125a of the throttle flow path 125.
- the air that has flowed into the inlet 125 a flows through the throttle channel 125 toward the outlet 121. While passing through the throttle channel 125, the air is blown out from the blower outlet 121 while changing its direction 180 degrees in the front-rear direction while maintaining the flow component in the left direction or the right direction due to inertia. Accordingly, air is blown out from the outlet 121 of the duct 12 in such a direction as to be concentrated at one point on the rear side. This air becomes a primary air flow that flows along the lower surface 122 of the duct 12 due to the Coanda effect, and the direction of the front-rear direction is changed by the flap 14 and then supplied to the rear.
- the air near the right end of the in-duct flow path 128 flows along the outer surfaces of the two guide vanes 126 of the first guide vane group 126A, thereby obtaining a flow velocity component in the right direction. Further, the air near the left end of the in-duct flow path 128 flows along the outer surface of the two guide vanes 126 of the second guide vane group 126B, thereby obtaining a flow velocity component in the left direction. As a result, the air near the right end of the in-duct flow path 128 changes its direction to the front right direction and flows into the inlet 125a of the throttle flow path 125. Further, the air near the left end of the duct internal flow path 128 changes its direction to the left front direction and flows into the inlet 125 a of the throttle flow path 125.
- the air that has flowed into the inlet 125 a flows through the throttle channel 125 toward the outlet 121. While passing through the throttle channel 125, the air is blown out from the blower outlet 121 while changing its direction 180 degrees in the front-rear direction while maintaining the flow component in the left direction or the right direction due to inertia. Accordingly, air is blown out from the outlet 121 of the duct 12 in such a direction as to diffuse in the left-right direction. This air becomes a primary air flow that flows along the lower surface 122 of the duct 12 due to the Coanda effect, and the direction of the front-rear direction is changed by the flap 14 and then supplied to the rear.
- the blower according to the second embodiment includes the first guide vane group 126A and the second guide vane group 126B.
- the first guide vane group 126 ⁇ / b> A has two guide vanes 126.
- the second guide vane group 126B has two guide vanes 126 and is provided adjacent to the first guide vane group 126A in the left-right direction.
- the first guide vane group 126A and the second guide vane group 126B are rotatable independently of each other. For this reason, air is intensively blown to a specific occupant P in the passenger compartment VC, or air is blown to the window glass of the vehicle VH to prevent fogging while blowing air to the occupant P. It is possible to blow air in various forms.
- the air blower according to the third embodiment differs from the air blower 10 according to the first embodiment in the duct 12A and the internal configuration thereof, but the other configurations are substantially the same as the air blower 10. Accordingly, the same components are denoted by the same reference numerals, and the description thereof is omitted.
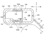
- the duct 12A has a divided portion 12U and a divided portion 12L.
- the division part 12U and the division part 12L are fitted and integrated in the fitting part 129.
- a housing 137 having a hole penetrating in the front-rear direction is provided inside the duct 12A.
- Five guide vanes 126 are arranged inside the hole of the housing 137. In FIG. 10, only one guide vane 126 is shown for convenience, but in reality, five guide vanes 126 arranged in the left-right direction are arranged.
- the housing 137 supports the upper and lower ends of the rotation shaft 133 of each guide vane 126.
- Each guide vane 126 is rotatable around a rotation shaft 133 inside the hole of the housing 137.
- the housing 137 rotatably supports the five guide vanes 126 to form one unit.
- the housing 137 When assembling the duct 12A, the housing 137 that is unitized by supporting the five guide vanes 126 is disposed between the divided portion 12U and the divided portion 12L in the vertical direction. At this time, the protrusion 137a formed on the upper surface of the housing 137 engages with the groove 12Ua formed on the divided portion 12U, and the protrusion 137b formed on the lower surface of the housing 137 engages with the groove 12La of the divided portion 12L. Thus, the housing 137 is positioned inside the duct 12A. In the present embodiment, the two protrusions 137a and the two grooves 12Ua are respectively engaged, and the two protrusions 137b and the two grooves 12La are respectively engaged.
Landscapes
- Engineering & Computer Science (AREA)
- Mechanical Engineering (AREA)
- Physics & Mathematics (AREA)
- Thermal Sciences (AREA)
- Chemical & Material Sciences (AREA)
- Combustion & Propulsion (AREA)
- General Engineering & Computer Science (AREA)
- Air-Conditioning For Vehicles (AREA)
- Air-Flow Control Members (AREA)
Priority Applications (3)
| Application Number | Priority Date | Filing Date | Title |
|---|---|---|---|
| DE112015003202.9T DE112015003202T5 (de) | 2014-07-10 | 2015-06-24 | Lüftungsvorrichtung |
| US15/305,943 US10625574B2 (en) | 2014-07-10 | 2015-06-24 | Ventilation apparatus |
| CN201580022848.7A CN106457974B (zh) | 2014-07-10 | 2015-06-24 | 送风装置 |
Applications Claiming Priority (2)
| Application Number | Priority Date | Filing Date | Title |
|---|---|---|---|
| JP2014141884A JP6428004B2 (ja) | 2014-07-10 | 2014-07-10 | 送風装置 |
| JP2014-141884 | 2014-07-10 |
Publications (1)
| Publication Number | Publication Date |
|---|---|
| WO2016006187A1 true WO2016006187A1 (ja) | 2016-01-14 |
Family
ID=55063844
Family Applications (1)
| Application Number | Title | Priority Date | Filing Date |
|---|---|---|---|
| PCT/JP2015/003174 Ceased WO2016006187A1 (ja) | 2014-07-10 | 2015-06-24 | 送風装置 |
Country Status (5)
| Country | Link |
|---|---|
| US (1) | US10625574B2 (enExample) |
| JP (1) | JP6428004B2 (enExample) |
| CN (1) | CN106457974B (enExample) |
| DE (1) | DE112015003202T5 (enExample) |
| WO (1) | WO2016006187A1 (enExample) |
Families Citing this family (6)
| Publication number | Priority date | Publication date | Assignee | Title |
|---|---|---|---|---|
| ES2661007T3 (es) * | 2013-09-16 | 2018-03-27 | Weidplas Gmbh | Depósito de agua para un automóvil |
| KR101890769B1 (ko) * | 2017-01-16 | 2018-08-22 | 인지컨트롤스 주식회사 | 차량용 통풍시트의 송풍시스템 |
| EP3736149A1 (en) * | 2019-05-06 | 2020-11-11 | NIO (Anhui) Holding Co., Ltd. | Air duct assembly |
| DE102019114922A1 (de) * | 2019-06-04 | 2020-12-10 | Bayerische Motoren Werke Aktiengesellschaft | Kraftfahrzeug |
| JP2022099755A (ja) * | 2020-12-23 | 2022-07-05 | シャープ株式会社 | 送風装置 |
| CN113619357A (zh) * | 2021-08-06 | 2021-11-09 | 蔚来汽车科技(安徽)有限公司 | 出风结构、立柱及车辆 |
Citations (5)
| Publication number | Priority date | Publication date | Assignee | Title |
|---|---|---|---|---|
| JPH044652U (enExample) * | 1990-04-25 | 1992-01-16 | ||
| JPH08197939A (ja) * | 1995-01-26 | 1996-08-06 | Nippon Plast Co Ltd | 風向調整装置 |
| WO2013145172A1 (ja) * | 2012-03-28 | 2013-10-03 | トヨタ自動車株式会社 | 車両用空調装置 |
| WO2014097605A1 (ja) * | 2012-12-20 | 2014-06-26 | 株式会社デンソー | 車両用送風装置 |
| JP2015016843A (ja) * | 2013-07-12 | 2015-01-29 | トヨタ自動車株式会社 | 車両用空調装置 |
Family Cites Families (25)
| Publication number | Priority date | Publication date | Assignee | Title |
|---|---|---|---|---|
| US2230203A (en) * | 1939-05-05 | 1941-01-28 | Cooling & Air Conditioning Cor | Air distributing apparatus |
| JPS512849U (enExample) * | 1974-06-21 | 1976-01-10 | ||
| US4022599A (en) * | 1975-09-22 | 1977-05-10 | A.R.A. Manufacturing Company | Air conditioning system |
| JPH072264Y2 (ja) * | 1989-04-19 | 1995-01-25 | 豊田合成株式会社 | 空調用グリル |
| US5238448A (en) * | 1989-04-19 | 1993-08-24 | Toyoda Gosei Co., Ltd. | Air-conditioning grille |
| DE4126713C1 (enExample) * | 1991-08-13 | 1992-08-27 | Mercedes-Benz Aktiengesellschaft, 7000 Stuttgart, De | |
| US5312133A (en) * | 1992-12-17 | 1994-05-17 | Ford Motor Company | Cross vehicular assembly including knee bolsters |
| US6494780B1 (en) * | 2001-09-14 | 2002-12-17 | Cary Products Company, Inc. | Louver with slidable face plate |
| DE10202926A1 (de) | 2002-01-25 | 2003-07-31 | Opel Adam Ag | Luftdüse |
| US6739968B1 (en) * | 2002-11-08 | 2004-05-25 | Collins & Aikman Products Co. | Interchangeable air vent assembly and vehicles incorporating same |
| EP1643805A1 (de) * | 2004-10-04 | 2006-04-05 | Behr France Rouffach SAS | Elektrische Heizungsanordnung, insbesondere für ein Kraftfahrzeug |
| CN2883995Y (zh) * | 2005-09-19 | 2007-03-28 | 松下电器产业株式会社 | 一种管道式空调机 |
| DE102008052792B4 (de) * | 2008-10-22 | 2010-11-04 | Airbus Deutschland Gmbh | Luftführungselement und Luftführungselementanordnung für eine Flugzeugklimaanlage |
| GB2468323A (en) | 2009-03-04 | 2010-09-08 | Dyson Technology Ltd | Fan assembly |
| DE102009038260A1 (de) * | 2009-08-20 | 2011-02-24 | Fischer Automotive Systems Gmbh & Co. Kg | Lüftungsdüse |
| JP2011168140A (ja) | 2010-02-17 | 2011-09-01 | Honda Motor Co Ltd | 車両用空調装置のエア吹出構造体 |
| JP6008423B2 (ja) | 2011-05-26 | 2016-10-19 | 日本プラスト株式会社 | 風向調整装置 |
| WO2013061636A1 (ja) | 2011-10-28 | 2013-05-02 | 豊和化成株式会社 | レジスタ |
| JP5404758B2 (ja) * | 2011-12-20 | 2014-02-05 | 三菱電機株式会社 | 空気調和機の室内機 |
| JP2014004974A (ja) | 2012-06-27 | 2014-01-16 | Fuji Kiko Co Ltd | シフトレバー装置 |
| JP2014019270A (ja) * | 2012-07-17 | 2014-02-03 | Toyota Motor Corp | 車両用空調装置 |
| JP6041595B2 (ja) * | 2012-09-18 | 2016-12-14 | シャープ株式会社 | 送風装置 |
| JP5924230B2 (ja) | 2012-10-22 | 2016-05-25 | 株式会社デンソー | 空調装置 |
| US20140113536A1 (en) * | 2012-10-23 | 2014-04-24 | Visteon Global Technologies, Inc. | Zonal airflow system for a vehicle |
| JP2014210564A (ja) * | 2013-04-05 | 2014-11-13 | 株式会社デンソー | 空気吹出装置 |
-
2014
- 2014-07-10 JP JP2014141884A patent/JP6428004B2/ja not_active Expired - Fee Related
-
2015
- 2015-06-24 DE DE112015003202.9T patent/DE112015003202T5/de not_active Withdrawn
- 2015-06-24 WO PCT/JP2015/003174 patent/WO2016006187A1/ja not_active Ceased
- 2015-06-24 US US15/305,943 patent/US10625574B2/en not_active Expired - Fee Related
- 2015-06-24 CN CN201580022848.7A patent/CN106457974B/zh not_active Expired - Fee Related
Patent Citations (5)
| Publication number | Priority date | Publication date | Assignee | Title |
|---|---|---|---|---|
| JPH044652U (enExample) * | 1990-04-25 | 1992-01-16 | ||
| JPH08197939A (ja) * | 1995-01-26 | 1996-08-06 | Nippon Plast Co Ltd | 風向調整装置 |
| WO2013145172A1 (ja) * | 2012-03-28 | 2013-10-03 | トヨタ自動車株式会社 | 車両用空調装置 |
| WO2014097605A1 (ja) * | 2012-12-20 | 2014-06-26 | 株式会社デンソー | 車両用送風装置 |
| JP2015016843A (ja) * | 2013-07-12 | 2015-01-29 | トヨタ自動車株式会社 | 車両用空調装置 |
Also Published As
| Publication number | Publication date |
|---|---|
| US10625574B2 (en) | 2020-04-21 |
| CN106457974B (zh) | 2019-04-19 |
| DE112015003202T5 (de) | 2017-03-30 |
| CN106457974A (zh) | 2017-02-22 |
| JP2016016796A (ja) | 2016-02-01 |
| US20170050495A1 (en) | 2017-02-23 |
| JP6428004B2 (ja) | 2018-11-28 |
Similar Documents
| Publication | Publication Date | Title |
|---|---|---|
| WO2016006187A1 (ja) | 送風装置 | |
| JP6396945B2 (ja) | 自動車の乗員室を換気するための換気ダクト | |
| US10408490B2 (en) | Air vent | |
| JP5827099B2 (ja) | レジスタ | |
| JP2015189258A5 (enExample) | ||
| US20170129312A1 (en) | Air blowing device | |
| JP2014024438A (ja) | 風向調整装置 | |
| JP6713543B2 (ja) | 空調装置の吹出装置 | |
| US20160107612A1 (en) | Front defroster nozzle apparatus | |
| JP6331955B2 (ja) | 送風装置 | |
| JP6500234B2 (ja) | 空調用薄型レジスタ | |
| JP6358028B2 (ja) | 車両空調装置 | |
| JP2019200038A (ja) | 流体吹出装置 | |
| WO2018016196A1 (ja) | 車両用空調装置 | |
| JP6544165B2 (ja) | 送風装置 | |
| JP6536307B2 (ja) | 送風装置 | |
| JP6423996B2 (ja) | 吹出口装置 | |
| WO2017081965A1 (ja) | 空気吹出装置 | |
| WO2016051754A1 (ja) | 送風装置 | |
| JP6642011B2 (ja) | 送風装置 | |
| JP2015006851A (ja) | 風向調整装置 | |
| JP7427403B2 (ja) | デフロスタダクト構造 | |
| WO2016117348A1 (ja) | 送風装置 | |
| JP5371888B2 (ja) | 空気吹出口装置 | |
| WO2016051753A1 (ja) | 送風装置 |
Legal Events
| Date | Code | Title | Description |
|---|---|---|---|
| 121 | Ep: the epo has been informed by wipo that ep was designated in this application |
Ref document number: 15819014 Country of ref document: EP Kind code of ref document: A1 |
|
| WWE | Wipo information: entry into national phase |
Ref document number: 15305943 Country of ref document: US |
|
| WWE | Wipo information: entry into national phase |
Ref document number: 112015003202 Country of ref document: DE |
|
| 122 | Ep: pct application non-entry in european phase |
Ref document number: 15819014 Country of ref document: EP Kind code of ref document: A1 |