WO2015137164A1 - 通信装置、通信方法及び通信システム - Google Patents

通信装置、通信方法及び通信システム Download PDF

Info

Publication number
WO2015137164A1
WO2015137164A1 PCT/JP2015/055868 JP2015055868W WO2015137164A1 WO 2015137164 A1 WO2015137164 A1 WO 2015137164A1 JP 2015055868 W JP2015055868 W JP 2015055868W WO 2015137164 A1 WO2015137164 A1 WO 2015137164A1
Authority
WO
WIPO (PCT)
Prior art keywords
communication
information
ecu
external
necessity
Prior art date
Legal status (The legal status is an assumption and is not a legal conclusion. Google has not performed a legal analysis and makes no representation as to the accuracy of the status listed.)
Ceased
Application number
PCT/JP2015/055868
Other languages
English (en)
French (fr)
Inventor
勇太 落合
博哉 安藤
加藤 光敏
小林 直人
Current Assignee (The listed assignees may be inaccurate. Google has not performed a legal analysis and makes no representation or warranty as to the accuracy of the list.)
Sumitomo Wiring Systems Ltd
Toyota Motor Corp
Original Assignee
Sumitomo Wiring Systems Ltd
Toyota Motor Corp
Priority date (The priority date is an assumption and is not a legal conclusion. Google has not performed a legal analysis and makes no representation as to the accuracy of the date listed.)
Filing date
Publication date
Application filed by Sumitomo Wiring Systems Ltd, Toyota Motor Corp filed Critical Sumitomo Wiring Systems Ltd
Priority to KR1020167027034A priority Critical patent/KR101851092B1/ko
Priority to EP15760750.8A priority patent/EP3119038B1/en
Priority to CN201580012543.8A priority patent/CN106464552B/zh
Priority to US15/124,214 priority patent/US10243760B2/en
Publication of WO2015137164A1 publication Critical patent/WO2015137164A1/ja
Anticipated expiration legal-status Critical
Ceased legal-status Critical Current

Links

Images

Classifications

    • HELECTRICITY
    • H04ELECTRIC COMMUNICATION TECHNIQUE
    • H04LTRANSMISSION OF DIGITAL INFORMATION, e.g. TELEGRAPHIC COMMUNICATION
    • H04L12/00Data switching networks
    • H04L12/64Hybrid switching systems
    • H04L12/6418Hybrid transport
    • HELECTRICITY
    • H04ELECTRIC COMMUNICATION TECHNIQUE
    • H04BTRANSMISSION
    • H04B1/00Details of transmission systems, not covered by a single one of groups H04B3/00 - H04B13/00; Details of transmission systems not characterised by the medium used for transmission
    • H04B1/38Transceivers, i.e. devices in which transmitter and receiver form a structural unit and in which at least one part is used for functions of transmitting and receiving
    • H04B1/3822Transceivers, i.e. devices in which transmitter and receiver form a structural unit and in which at least one part is used for functions of transmitting and receiving specially adapted for use in vehicles
    • HELECTRICITY
    • H04ELECTRIC COMMUNICATION TECHNIQUE
    • H04LTRANSMISSION OF DIGITAL INFORMATION, e.g. TELEGRAPHIC COMMUNICATION
    • H04L12/00Data switching networks
    • H04L12/02Details
    • H04L12/12Arrangements for remote connection or disconnection of substations or of equipment thereof
    • HELECTRICITY
    • H04ELECTRIC COMMUNICATION TECHNIQUE
    • H04LTRANSMISSION OF DIGITAL INFORMATION, e.g. TELEGRAPHIC COMMUNICATION
    • H04L12/00Data switching networks
    • H04L12/28Data switching networks characterised by path configuration, e.g. LAN [Local Area Networks] or WAN [Wide Area Networks]
    • H04L12/40Bus networks
    • HELECTRICITY
    • H04ELECTRIC COMMUNICATION TECHNIQUE
    • H04LTRANSMISSION OF DIGITAL INFORMATION, e.g. TELEGRAPHIC COMMUNICATION
    • H04L12/00Data switching networks
    • H04L12/28Data switching networks characterised by path configuration, e.g. LAN [Local Area Networks] or WAN [Wide Area Networks]
    • H04L12/40Bus networks
    • H04L12/40006Architecture of a communication node
    • H04L12/40039Details regarding the setting of the power status of a node according to activity on the bus
    • HELECTRICITY
    • H04ELECTRIC COMMUNICATION TECHNIQUE
    • H04LTRANSMISSION OF DIGITAL INFORMATION, e.g. TELEGRAPHIC COMMUNICATION
    • H04L12/00Data switching networks
    • H04L12/28Data switching networks characterised by path configuration, e.g. LAN [Local Area Networks] or WAN [Wide Area Networks]
    • H04L12/40Bus networks
    • H04L2012/40208Bus networks characterized by the use of a particular bus standard
    • H04L2012/40215Controller Area Network CAN
    • HELECTRICITY
    • H04ELECTRIC COMMUNICATION TECHNIQUE
    • H04LTRANSMISSION OF DIGITAL INFORMATION, e.g. TELEGRAPHIC COMMUNICATION
    • H04L12/00Data switching networks
    • H04L12/28Data switching networks characterised by path configuration, e.g. LAN [Local Area Networks] or WAN [Wide Area Networks]
    • H04L12/40Bus networks
    • H04L2012/40267Bus for use in transportation systems
    • H04L2012/40273Bus for use in transportation systems the transportation system being a vehicle
    • YGENERAL TAGGING OF NEW TECHNOLOGICAL DEVELOPMENTS; GENERAL TAGGING OF CROSS-SECTIONAL TECHNOLOGIES SPANNING OVER SEVERAL SECTIONS OF THE IPC; TECHNICAL SUBJECTS COVERED BY FORMER USPC CROSS-REFERENCE ART COLLECTIONS [XRACs] AND DIGESTS
    • Y02TECHNOLOGIES OR APPLICATIONS FOR MITIGATION OR ADAPTATION AGAINST CLIMATE CHANGE
    • Y02DCLIMATE CHANGE MITIGATION TECHNOLOGIES IN INFORMATION AND COMMUNICATION TECHNOLOGIES [ICT], I.E. INFORMATION AND COMMUNICATION TECHNOLOGIES AIMING AT THE REDUCTION OF THEIR OWN ENERGY USE
    • Y02D30/00Reducing energy consumption in communication networks
    • Y02D30/50Reducing energy consumption in communication networks in wire-line communication networks, e.g. low power modes or reduced link rate

Definitions

  • the present invention relates to a communication device connected to a network in a vehicle or the like, a communication method used for the communication device, and a communication system including the communication device.
  • a plurality of electronic control units (ECUs) mounted on a vehicle constitutes a vehicle network system that enables each other to transmit and receive information held by the ECUs by being connected to the network.
  • ECUs electronice control units
  • One of communication systems constituting such a vehicle network system is a CAN (controller area network).
  • the CAN is provided with a function for detecting a communication error.
  • the ECU that transmits data on the CAN bus monitors signals on the CAN bus at the time of data transmission, and compares these monitored signals with signals based on the transmitted data. If they match, it is determined that communication has been performed correctly. Conversely, if they do not match, it is determined that an error has occurred in communication.
  • the communication return determination method described in Patent Document 1 clears the count number of communication errors after CAN communication is stopped, and performs communication (transmission) only once after a predetermined time (for example, 100 ms).
  • a predetermined time for example, 100 ms.
  • the present invention has been made in view of such a situation, and an object of the present invention is communication based on the CAN protocol, and a communication device capable of suppressing power consumed for communication, and the communication device.
  • An object of the present invention is to provide a communication method used and a communication system including the communication device.
  • a communication apparatus is connected to an external device to acquire external information from the external device, and is connected to the communication line and performs information communication based on communication data defined in the CAN protocol via the communication line.
  • a communication apparatus a communication necessity determination unit that determines whether or not information communication is required via the communication line based on external information acquired from the external device, and information communication by the communication necessity determination unit. On the condition that the determination of NO is “necessary” and a communication error is detected, the information communication is stopped for a certain period, and after the certain period has elapsed, the information communication is resumed.
  • the gist of the present invention is to provide a communication control unit that stops transmission of communication data until a predetermined transmission resumption condition is satisfied on the condition that the determination of the necessity of information communication is “No”.
  • a communication method is connected to an external device to acquire external information from the external device, and is connected to the communication line and performs information communication based on communication data defined in the CAN protocol via the communication line.
  • a communication system is connected to an external device to acquire external information from the external device, and is connected to a communication line and performs information communication based on communication data defined in the CAN protocol via the communication line.
  • a communication system in which a plurality of communication devices are connected to the communication line, and the communication device includes the communication device described above.
  • the information communication is stopped for a certain period on the condition that information communication is necessary and a communication error is detected, and the information communication is resumed after the certain period has passed.
  • communication can be resumed in a timely manner by performing return determination.
  • the condition that information communication is not necessary since information communication is not necessary under this condition and there is no need for a return determination, transmission of communication data is suspended until a predetermined transmission resumption condition is satisfied. Will come to do. Thereby, in communication based on the CAN protocol, unnecessary communication is suppressed, and consequently, power consumed for communication by the communication device is suppressed.
  • the communication control unit continues to receive communication data when the determination of necessity of information communication by the communication necessity determination unit is “No”, and the transmission resumption condition is the communication control unit Receiving communication data via the communication line.
  • the transmission resumption condition includes that the communication necessity determination unit determines that information communication via the communication line is necessary. According to such a configuration, even if the determination of necessity of information communication by the communication necessity determination unit is “No”, the communication necessity determination unit needs information communication due to a change in the state of the vehicle or the like. When such a determination is made, a transmission resumption condition is established based on the determination. That is, when it is determined that information communication is unnecessary, it is possible to restore communication while suppressing power required for communication.
  • the communication device is mounted on a vehicle using a storage battery as a power source. According to such a configuration, it becomes possible to suppress the consumption amount of a storage battery mounted on a vehicle using the storage battery as a power source, for example, a plug-in hybrid vehicle or an electric vehicle, and the storage amount of the storage battery can be reduced. Maintenance will be planned.
  • the communication necessity determination unit determines that information communication via the communication line is unnecessary based on detecting that the storage battery of the vehicle is being charged based on the external information.
  • the charging time can be shortened by suppressing the power consumed during charging of the storage battery.
  • the communication necessity determination unit detects that only the device that does not require information communication via the communication line is operated by the external information via the communication line. Is determined to be unnecessary.
  • the operation of only the device that does not require information communication via the communication line includes at least one of a door opening / closing operation and a seat position operation.
  • the door opening / closing operation and the seat position operation may be performed while the vehicle is parked. However, if the vehicle is parked in this way, only the communication device necessary for these operations may be activated. In addition, information communication via a communication line is often unnecessary for these operations. Therefore, according to such a configuration, power consumption of the communication device can be suppressed by not performing information communication only when the door is opened or closed or the seat position is operated.
  • the communication device has setting information indicating presence / absence of a communication partner that performs information communication via the communication line corresponding to the acquired external information
  • the communication necessity determination unit includes: Based on this setting information and the acquired external information, the necessity of information communication via the communication line is determined.
  • the communication necessity determination unit stores information communication performed through the communication line as a history in association with external information at that time, and obtains based on referring to the stored history Whether or not there is a communication partner corresponding to the external information to be determined is determined.
  • information communication and external information are associated with each other and stored as a history. Then, based on referring to the stored history, the presence or absence of a communication partner according to the external information to be acquired is determined.
  • the history in this way, for example, after the vehicle is shipped, the type and number of devices connected to the communication line may be changed, or the function may be changed and the communication partner may be changed. However, it can respond to such changes. As a result, the presence or absence of a communication partner corresponding to the acquired external information can be suitably determined.
  • the vehicle 1 includes a vehicle network system as a communication system.
  • the vehicle 1 is a plug-in hybrid vehicle or an electric vehicle that includes a storage battery that can be charged from an external power source as a power source.
  • the communication system includes a first electronic control unit (ECU) 11, a second ECU 12, and a communication bus 10 as a communication line that connects the first and second ECUs 11 and 12 so that they can communicate with each other. Has been. Thus, the first and second ECUs 11 and 12 can exchange (transmit and receive) various control information and the like via the communication bus 10. Since the communication system is configured as a CAN (controller area network), the CAN protocol is applied as a communication protocol.
  • CAN controller area network
  • the communication bus 10 includes a communication line such as a twist cable, and transmits a communication message as communication data as one unit in communication in the CAN protocol via the communication line.
  • the communication bus 10 may include wireless communication as part of a communication path, or may include a path that passes through another network via a gateway or the like.
  • frames that are structures of communication messages are structures of communication messages, and one of them is a data frame Fd that can store data designated by the user.
  • a data frame Fd that can store data designated by the user.
  • the structure of a communication message as communication data of the CAN protocol will be described using the data frame Fd as an example.
  • the data frame Fd mainly stores an area (“ID” in FIG. 2) in which “message ID” indicating the content of the communication message is stored and data designated by the user.
  • An area of “data field” is provided. This “data field” is set in any length of 0 to 64 bits (8 bits ⁇ 0 to 8 bytes).
  • the data frame Fd includes an SOF (start of frame) area, an RTR (remote transmission request) area, a control field area, a CRC (CRC) area, an ACK (acknowledge) area, and an EOF area defined by the CAN protocol. Is secured.
  • the ACK area is an area for confirming that the frame has been normally received.
  • the ACK area includes a 1-bit ACK slot in which a response confirmation from the receiving side is transmitted, and a 1-bit ACK delimiter that is a delimiter of the ACK slot.
  • the ACK delimiter is always “1” (recessive).
  • the receiving side checks the content of the received data frame Fd with the check code stored in the CRC area, and sets “0” in the ACK slot if the check result is normal, and the ACK slot if there is an abnormality. An acknowledge is returned by setting "1" to. When there is no receiving side, “1” set by the transmitting side is maintained in the ACK slot.
  • the transmitting side can confirm that the data frame Fd transmitted based on the monitored ACK slot being “0” has been normally received by the receiving side.
  • the transmission side can confirm that the data frame Fd transmitted based on the monitored ACK slot being “1” is not normally received by the reception side. Therefore, the transmission side determines that an ACK error among communication errors has occurred based on detecting that the monitored ACK slot is “1”.
  • Factors that cause no response from other ECUs include a vehicle state in which only one ECU is activated on the communication bus 10, and optional ECUs that are not necessarily connected to the communication bus 10. Are all not provided (optionless).
  • a remote frame which is one of the CAN protocol communication message frames, also has an ACK area similar to the above, and therefore it is possible to determine the presence or absence of an ACK error.
  • the ECU on the transmitting side transmits a data frame Fd when there is no receiving ECU that receives the data frame Fd, an ACK error is detected and detected.
  • the error count increases due to a communication error.
  • the state is “error active”, when the error count of communication errors exceeds 127, the state is “error passive”, and when the error count of communication errors reaches 256, “bus off”. It becomes a state.
  • the “error active” state is a state where normal transmission / reception can be performed
  • the “error passive” state is a state where transmission / reception can be continued under restricted conditions
  • the “bus off” state is a state where the ECU is off the network.
  • the counter value decreases and the state is restored to the “error active” state.
  • the “bus off” state is entered, in order to return from the “bus off” state, for example, resetting or configuration of the ECU is required, so that the return is not easy. Therefore, in the first embodiment, when a communication error is detected as normal error processing, the error count of the communication error is cleared, and communication (transmission) is performed only once after a predetermined time (for example, 100 ms) has elapsed. ) To perform error handling that can be automatically restored. The predetermined time is set in advance based on experience, experiment, theory, etc. without increasing the communication load of the communication bus 10 and with little delay required for recovery.
  • each of the first and second ECUs 11 and 12 is a control device used for various controls of the vehicle 1, for example, a drive system, a traveling system, a vehicle body system, an information equipment system, or the like.
  • This is the ECU to be controlled.
  • ECUs that control the drive system include engine ECUs, HV (hybrid) ECUs, and charge control ECUs
  • ECUs that control the travel system include steering ECUs and brake ECUs.
  • examples of ECUs that control the vehicle body system include door ECUs, seat ECUs, light ECUs, window ECUs, and air conditioner ECUs
  • ECUs that control information equipment systems include audio ECUs and car navigation ECUs. Can be mentioned.
  • Each of the first and second ECUs 11 and 12 is connected to a device to be monitored as an external device or a device to be controlled so as to be able to receive a signal via a wiring, a LIN (local interconnect network), or the like.
  • the external device detects information related to the vehicle state using a sensor or the like, and outputs the detected vehicle state as external information.
  • Each of the first and second ECUs 11 and 12 acquires a signal output from an external device as external information.
  • External devices include devices that detect and control the opening and closing of doors, devices that detect and control the shape of sheets, and external information includes door opening and closing information and operation information, sheet shape information and operation information. Etc.
  • Each of the first and second ECUs 11 and 12 includes an information processing device 111 that executes processing required for various controls and processes communication information, and a CAN controller 112 that transmits and receives communication messages based on the CAN protocol. .
  • the information processing apparatus 111 and the CAN controller 112 are connected via an internal bus or the like, and various data can be exchanged between the information processing apparatus 111 and the CAN controller 112. Then, the first and second ECUs 11 and 12 perform error processing related to the communication of the CAN protocol described above through processing in the information processing apparatus 111, the CAN controller 112, and the like.
  • the CAN controller 112 transmits and receives communication messages to and from the communication bus 10.
  • the CAN controller 112 receives a communication message based on the CAN protocol and transmits a communication message based on the CAN protocol. That is, each of the first and second ECUs 11 and 12 transmits / receives a communication message to / from the communication bus 10 via the CAN controller 112. Therefore, the first and second ECUs 11 and 12 can mutually transmit and receive communication messages having a frame structure defined by the CAN protocol via each CAN controller 112.
  • the CAN controller 112 can provide the information included in the communication message to the information processing apparatus 111. Further, the CAN controller 112 transmits a communication message based on the data contents provided from the information processing apparatus 111 and a transmission instruction.
  • the CAN controller 112 monitors the communication message being transmitted, that is, monitors the communication message to detect that the communication message being transmitted collides with another communication message, and performs an arbitration or ACK response to prevent the communication message from colliding. Perform detection. Then, the CAN controller 112 provides the detected signal of the ACK area to the information processing apparatus 111. As a result, the information processing apparatus 111 determines whether or not there is an ACK error for the communication message being transmitted based on whether the signal of the ACK slot is “1” or “0” during transmission of the communication message. Detect.
  • Each information processing device 111 of the first and second ECUs 11 and 12 includes a microcomputer having a calculation device (CPU) and a storage device.
  • the information processing device 111 temporarily stores an arithmetic device that executes arithmetic processing of the control program, a read-only memory (ROM) that stores the control program and data, and the arithmetic result of the arithmetic device.
  • Volatile memory (RAM) volatile memory
  • the information processing apparatus 111 reads a control program stored in the storage device into the arithmetic device and executes it, thereby performing a predetermined function for the control target and controlling the control target.
  • the information processing apparatus 111 includes a communication necessity determination unit 113 that determines whether it is necessary to exchange a communication message via the communication bus 10 and a communication control unit 114 that controls transmission / reception of the communication message. .
  • the information processing apparatus 111 reads and executes a program for determining the necessity of transmission / reception of communication messages held in the storage device and a program for performing various processes for controlling transmission / reception of communication messages, respectively, on the arithmetic device. . Thereby, the information processing apparatus 111 is provided with the functions of the communication necessity determination unit 113 and the communication control unit 114 described above.
  • the communication necessity determination unit 113 determines whether or not information communication such as transmission of a communication message via the communication bus 10 is necessary based on external information input (acquired) to the ECUs 11 and 12. Judgment (communication necessity judgment step). Examples of such external information include operation inputs and response inputs from external devices connected to the ECUs 11 and 12. The external information may include information on the key position of the vehicle and information indicating that charging is in progress. The communication necessity determination unit 113 determines that information communication is unnecessary, that is, “No”, when it is determined by external information that the process for the control target device (external device) can be performed by the ECU alone.
  • control target device when it is determined from external information that the control target device (external device) needs to be linked with another device, it is determined that information communication is necessary, that is, “necessary”.
  • processing for a control target device that is determined not to require information communication include opening / closing processing of a door of a parked vehicle, processing of operating a seat of a parked vehicle, processing of operating an audio of a parked vehicle, etc. Is mentioned.
  • parking can be determined from the fact that the key position is “IG OFF”, the vehicle 1 is being charged, and the like.
  • an example of a process for a control target device that is determined to require information communication includes a process of operating an air conditioner of a parked vehicle. By the way, these processes and the necessity of information communication may differ depending on the vehicle type and configuration.
  • the communication control unit 114 can acquire the determination result as to whether or not information communication is necessary from the communication necessity determination unit 113, and can acquire the data of the ACK area detected by the CAN controller 112. Thus, it is possible to determine whether or not there is an ACK error. And the communication control part 114 controls the information communication performed via the CAN controller 112 based on the presence or absence of an ACK error and the judgment result whether information communication is required (communication control process).
  • the communication control unit 114 when there is no ACK error, the communication control unit 114 does not restrict transmission of a communication message from the CAN controller 112 and performs normal CAN communication.
  • the communication control unit 114 controls information communication with reference to a determination result as to whether or not information communication is necessary. In other words, when there is an ACK error and it is a determination result that information communication is necessary, transmission of a communication message from the CAN controller 112 is not restricted, normal CAN communication is maintained, and a normal error is maintained. Process. Note that in the first embodiment, as normal error processing, for example, transmission and reception of communication messages are stopped for a certain period (for example, 100 ms) on condition that a communication error is detected. Perform processing to resume communication. Therefore, every time it is determined that there is an ACK error and it is determined that information communication is necessary, this normal error processing is repeated.
  • the transmission of the communication message from the CAN controller 112 is restricted, while the reception of the communication message by the CAN controller 112 is continue.
  • the determination that there is an ACK error and that the determination result is that information communication is not necessary is maintained, transmission of communication messages and reception are continuously maintained.
  • the process proceeds to a process of performing normal CAN communication.
  • the communication message received by the CAN controller 112 includes a communication message transmitted from the ECU when another ECU is activated on the receiving side.
  • the operation of the communication error processing of the first and second ECUs 11 and 12 will be described with reference to FIG.
  • the communication error process of the first ECU 11 will be described, and the description of the communication error process of the second ECU 12 will be omitted. That is, a case where the transmission side is the first ECU 11 and the reception side is the second ECU 12 will be described.
  • the first ECU 11 starts operation by being turned on or activated from the sleep state, and starts normal CAN communication (step S10).
  • the sleep state of the ECU is a state in which the ECU is in a power saving mode in order to suppress power consumption when the ECU is supplied with power but does not need to be activated.
  • the vehicle state in which the ECU is in the sleep state the battery is being charged if it is not the charge control ECU.
  • the ECU is activated from the sleep state on condition that the device to be controlled is operated during the power saving mode. Examples of operations for starting the ECU from the sleep state include air-conditioner operations, audio operations, door opening / closing, and seat position changes.
  • the ECU is operated by the user during charging of the vehicle such as “turn on the air conditioner because it is hot”, “watch the in-vehicle TV because it is free”, “open the door to get on”, “change the seat position”, etc. Wake up from sleep.
  • the first ECU 11 determines whether or not there is a response to the transmitted communication message (step S11). Whether or not there is a response is determined by the presence or absence of an ACK error. If there is no ACK error, there is a response, and if there is an ACK error, it is determined that there is no response. In the first embodiment, there is a response when the second ECU 12 is activated, and there is no response when the second ECU 12 is not activated. If it is determined that there is a response (YES in step S11), the first ECU 11 returns the process to step S10 and starts normal CAN communication by the next communication message, that is, normal CAN communication is continued. .
  • the first ECU 11 determines whether or not the vehicle state is under a specific condition (step S12).
  • the specific condition of the vehicle state is a condition that is determined depending on whether or not information communication is necessary. More specifically, when it is determined that information communication is necessary ("necessary"), it is determined that it is not under a specific condition, and when it is not necessary (“no") Is determined to be under certain conditions.
  • step S13 If it is determined that the specific condition is not satisfied (NO in step S12), the first ECU 11 continues communication based on normal communication error processing (step S13).
  • normal communication error processing as a return determination, transmission of a communication message is repeated at regular intervals (for example, 100 ms) to confirm the presence or absence of an ACK error. Therefore, in the case of normal error processing, the first ECU 11 consumes power each time a communication message is transmitted.
  • step S12 if it is determined that the specific condition is satisfied (YES in step S12), the first ECU 11 stops transmission of the communication message (step S14) and waits for reception to continue reception of the communication message. The state is shifted (step S15). Under specific conditions, information communication is not necessary in the first place, and communication does not return. Therefore, the return determination as shown in step S13 is not executed. Therefore, since the communication message is not transmitted in the reception waiting state, the power consumption of the first ECU 11 is suppressed. For example, even if the interval is long, the amount of power consumed cannot be ignored if transmission of a communication message at regular intervals is performed over a long period of time.
  • the first ECU 11 determines whether or not a communication message is received at a predetermined interval or timing in the reception waiting state (step S16). That is, in the first embodiment, the transmission resumption condition is that a communication message is received. If it is determined that a communication message has not been received (NO in step S16), the first ECU 11 returns the process to step S15 and again enters a reception waiting state. On the other hand, if it is determined that a communication message has been received (YES in step S16), the first ECU 11 returns the process to step S10 and starts normal CAN communication using the next communication message.
  • the first ECU 11 is prepared so that it can receive communication messages from other ECUs in a reception waiting state, and can appropriately respond to communication messages from other ECUs. ing.
  • the operation of the above-described communication error processing is started when the first ECU 11 is started, and is ended when the first ECU 11 is stopped or reset.
  • the presence / absence of an ECU that requires information communication and the activation state of another ECU are determined as needed, and transmission from the ECU is stopped. Will come to be.
  • a communication device capable of suppressing power consumed for communication, a communication method used for the communication device, and a communication system including the communication device are provided. Can be provided.
  • the communication system has the effects listed below.
  • information communication is not required, information communication is not required and there is no need for return determination, so transmission of the communication message is stopped until a predetermined transmission resumption condition is satisfied. Thereby, in communication based on the CAN protocol, unnecessary communication is suppressed, and consequently, power consumed for communication by the communication device is suppressed.
  • the charging time can be shortened by suppressing the power consumed during charging of the storage battery.
  • the necessity of information communication via the communication bus 10 is determined according to the type of external information, the accuracy of such determination can be improved.
  • a second embodiment embodying a communication system including a communication device will be described with reference to FIGS.
  • the configuration of the communication system is a configuration including three communication buses that are communicably connected by a GW (gateway)
  • the configuration of the communication system is different from the configuration of the first embodiment.
  • the communication bus is used for information communication by the CAN protocol. Therefore, in the following, description of information communication using the CAN protocol described in detail in the first embodiment is omitted.
  • the vehicle 2 is a plug-in hybrid vehicle or an electric vehicle that includes a communication system and a storage battery that can be charged from an external power source.
  • the communication system provided in the vehicle 2 includes a GW (gateway) 50, a first bus 20, a second bus 30, and a first bus as communication lines connected to the GW 50, respectively. 3 buses 40.
  • the first to third buses 20, 30, and 40 are configured as buses capable of transmitting CAN protocol communication messages, and include, for example, twisted pair cables.
  • the GW 50 can relay (transfer) CAN protocol communication messages input from the first to third buses 20, 30, and 40 to other connected buses.
  • the communication system has a configuration in which the first to third buses 20, 30, and 40 are interconnected via the GW 50, that is, a so-called star network configuration, and the first to third buses 20,
  • the system is configured as a system capable of relaying (transferring) CAN protocol communication messages between 30 and 40.
  • a plurality of ECUs are connected to the first to third buses 20, 30 and 40 so that they can communicate with other ECUs via the buses.
  • an air conditioner ECU 21 and an audio ECU 22 are connected to the first bus 20 as communication devices, respectively.
  • the second bus 30 is connected to a door ECU 31, a seat ECU 32, and a charge control ECU 33 as communication devices.
  • the third bus 40 is connected to an HVECU 41 and an engine ECU 42 as communication devices.
  • these ECUs have the same configuration as the information processing apparatus 111 and the CAN controller 112 described in the first embodiment.
  • the air conditioner ECU 21 is an ECU for controlling an in-vehicle air conditioner as a control target device (external device), and acquires external information from the connected in-vehicle air conditioner.
  • the audio ECU 22 is an ECU for controlling in-vehicle audio as a device to be controlled (external device), and acquires external information from the connected in-vehicle audio.
  • the door ECU 31 is an ECU for controlling each door device for the vehicle door 61 as a device to be controlled (external device), and acquires external information from the door device connected via wiring, LIN, or the like.
  • the seat ECU 32 is an ECU for controlling each seat device for the vehicle seat 62 as a device to be controlled (external device), and obtains external information from each seat device connected via wiring, LIN, or the like.
  • the charge control ECU 33 is an ECU for controlling power output from the battery device 63 as a control target device (external device), charging of power from the external power source 70 to the battery device 63, and the like, and is connected by wiring or the like. It is possible to control charging / discharging of the battery device 63 to be performed. Note that the charging control ECU 33 can transmit information indicating that charging is being performed to each part of the vehicle 2 as needed using an appropriate communication path.
  • the HV (hybrid) ECU 41 is an ECU that performs planning and adjustment of power distribution between driving by a battery and driving by an engine.
  • the HVECU 41 acquires various types of information through CAN communication, and performs planning and adjustment of driving by the battery and driving by the engine based on the various types of information thus acquired.
  • the engine ECU 42 is an ECU that controls driving of an engine that is an internal combustion engine.
  • the engine ECU 42 controls driving of the engine based on various types of information obtained from various types of engine-related devices and other various types of devices as control target devices (external devices) connected by wiring or CAN.
  • the GW 50 is a device having a configuration for outputting a communication message input from one bus to another bus, that is, a device that relays communication messages between a plurality of buses. Accordingly, communication messages are transmitted and received between the plurality of buses 20 to 40 via the GW 50 to which the buses 20 to 40 are connected.
  • the GW 50 is a so-called ECU, and includes a microcomputer having a calculation unit and a storage unit. Therefore, the GW 50 provides a predetermined function such as a communication message relay function by reading the control program and various parameters held in the storage unit 54 into the arithmetic unit and executing them.
  • the GW 50 receives a vehicle status from an external device via wiring, LIN, or the like, and also receives a CAN protocol communication message as a vehicle status from the external device.
  • the ECUs 21 to 42 and the storage unit 54 of the GW 50 store setting information used for determining whether communication is necessary.
  • the list 80 in FIG. 5 shows an example of the relationship between the GW 50 and each of the ECUs 21 to 42 that can be activated or not, or the power-on and the key position.
  • the storage unit 54 and the like indicate that the GW 50, the air conditioner ECU 21, the audio ECU 22, the door ECU 31, the seat ECU 32, and the charge control ECU 33 can be activated when the key position is “IG OFF”, the HVECU 41, The engine ECU 42 is set to be unable to start.
  • the key position is “IG OFF”, the key position is “OFF” and the key position is “ACC”. Further, when the key position is “IG ON”, the GW 50, the door ECU 31, the seat ECU 32, the charge control ECU 33, the HVECU 41, and the engine ECU 42 are turned on and activated, and the air conditioner ECU 21 and the audio ECU 22 can be activated. Is set. Note that the setting information stored in each of the ECUs 21 to 42 may be only information related to the bus to which the ECU is connected.
  • the list 81 in FIG. 6 shows an example of the relationship between the vehicle state grasped from the external information and the GW 50 that needs to be activated in accordance with the vehicle state and each of the ECUs 21 to 42.
  • the storage unit 54 and the like have operations of “air conditioner on / off”, “audio on / off”, “door open / close”, and “seat movement” as vehicle states.
  • the relationship between the necessity of transferring the communication message of the GW 50 and the necessity of starting each of the ECUs 21 to 42 is set. In FIG. 6, “ ⁇ ” indicates that transfer or activation is required, and “X” indicates that transfer or activation is not required.
  • the GW 50 needs to be transferred, and the air conditioner ECU 21 and the charge control ECU 33 need to be activated, while other ECUs need not be activated. Is set.
  • the “audio on / off” operation it is set that the audio ECU 22 needs to be activated, while the other ECUs are unnecessary to be activated, and the transfer of the GW 50 is also unnecessary.
  • the “door open / close” operation it is set that the door ECU 31 needs to be activated, while the other ECUs are unnecessary to be activated and the GW 50 is not required to be transferred.
  • the “seat movement” operation When the “seat movement” operation is performed, it is set that the seat ECU 32 needs to be activated, while the other ECUs are not activated, and the transfer of the GW 50 is also unnecessary.
  • the setting information stored in each of the ECUs 21 to 42 may be only information related to the bus to which the ECU is connected.
  • the GW 50 is connected to the first to third buses 20 to 40, receives a communication message from the buses 20 to 40, and receives a communication message to the buses 20 to 40. It has.
  • the GW 50 includes a communication necessity determination unit 52 that determines whether the received communication message needs to be relayed, a communication control unit 53 that controls transmission of a communication message according to a determination result by the communication necessity determination unit 52, And a storage unit 54 in which setting information used for determination by the rejection determination unit 52 is stored.
  • the message receiving unit 51 receives a CAN protocol communication message, and makes the data included in the communication message available in the communication necessity determination unit 52 of the GW 50 or the like.
  • the communication control unit 53 controls the transfer of the communication message to the buses 20 to 40 to be transmitted.
  • the GW 50 transfers the communication message received from the first bus 20 to the second and third buses 30 and 40, or the communication message received from the second bus 30 to the first and third buses.
  • the communication message received from the third bus 40 is transferred to the buses 20 and 40, and the communication message received from the third bus 40 is transferred to the first and second buses 20 and 30. There may be a bus that is not transferred.
  • the communication necessity determination unit 52 has the same function as the communication necessity determination unit 113 of the first embodiment.
  • the communication necessity determination unit 52 is used for determining external information such as information input (acquired) from an external device or information of an ECU performing communication, and necessity of communication set in the storage unit 54. Based on the set information, it is determined whether information communication by transfer of a communication message is necessary.
  • the communication necessity determination unit 52 determines that information communication is unnecessary when it is determined by external information that the communicating ECU can perform processing on the device to be controlled alone, while in other cases, For example, when it is determined that another device is required to control the control target device, it is determined that information communication is necessary. Further, the communication necessity determination unit 52 acquires the key position information of the vehicle 2, and based on the key position information and the setting information used for determining the necessity of communication set in the storage unit 54. Thus, it is determined whether information communication by transfer of a communication message is necessary.
  • the communication necessity determination unit 52 activates the audio shown in the list 81, opens / closes the door 61, and activates the seat 62. It is determined that information communication is unnecessary because the ECU can process each ECU independently. On the other hand, for example, when the key position is “IG OFF”, in the process of operating the air conditioner, it is determined that information communication is necessary because processes in a plurality of ECUs with different buses are required.
  • the vehicle corresponding to the key position shown in the list 80 is “IG ON” while the vehicle is stopped or running, the audio shown in the list 81 is activated, the door 61 is opened and closed, and the seat 62 is activated.
  • the ECU can process it alone, as shown in the list 80, it is determined that information communication is necessary because the GW 50 or the like is powered on and operating.
  • the key position is “IG ON”, it is determined that information communication is necessary because the processing for operating the air conditioner requires processing by a plurality of ECUs with different connected buses.
  • the communication control unit 53 has the same function as the communication control unit 114 of the first embodiment.
  • the communication control unit 53 can acquire a determination result as to whether or not information communication is necessary from the communication necessity determination unit 52 and also acquire data in the ACK area detected by the message reception unit 51. Thus, it is possible to determine whether or not there is an ACK error.
  • the communication control part 53 controls the information communication performed via the message transmission part 55 based on the presence or absence of an ACK error and the judgment result whether information communication is required.
  • the audio ECU 22 starts its operation when the power is turned on or is activated from the sleep state, and starts normal CAN communication (step S20).
  • normal CAN communication is started, the audio ECU 22 determines whether or not there is a response to the transmitted communication message, and specifies the vehicle state based on external information or the like (step S22).
  • step S22 a case where there is no response to a communication message and a communication error is detected will be described.
  • the audio ECU 22 determines whether or not there is a communication target ECU (step S23).
  • the determination as to whether or not there is a communication target ECU is based on the relationship between the current key position and the activated ECU (see list 80), or the relationship with the ECU required for processing the “audio on / off” operation (list). 81). It is also determined that there is a communication target ECU when there is a response to the transmitted communication message. If it is determined that there is a communication target ECU (YES in step S24), the audio ECU 22 continues normal error processing (step S25). That is, the audio ECU 22 returns the process to step S20 with a certain interval, and continues normal CAN communication.
  • step S24 when it is determined that there is no communication target ECU (NO in step S24), the audio ECU 22 stops transmission of the communication message and shifts to a reception waiting state for continuing reception of the communication message (step S26). ). Then, based on the determination that the communication message has been received, the audio ECU 22 returns the process to step S20 and starts normal CAN communication.
  • the GW 50 starts operation when the power is turned on or is activated from the sleep state, and starts normal CAN communication that enables transfer of a communication message (step S20).
  • the GW 50 can determine the presence or absence of an ECU that responds in each of the buses 20 to 40 in this normal CAN communication. That is, the GW 50 determines whether or not the ECUs on the buses 20 to 40 communicate with ECUs on other buses.
  • the GW 50 determines the presence / absence of a communication error and specifies the vehicle state based on external information or the like (step S22).
  • a communication error is detected will be described.
  • the GW 50 determines whether or not the communication target ECU exists on a bus different from the communication source bus based on the specified vehicle state (step S23). If it is determined that there is a communication target ECU on another bus (YES in step S24), the GW 50 continues communication between the buses based on normal communication error processing (step S25). That is, the GW 50 returns the process to step S20 and continues normal CAN communication that enables transfer of a communication message between the buses.
  • step S24 when it is determined that there is no communication target ECU on another bus (NO in step S24), the GW 50 stops transmission of the communication message from the communication source bus to the communication destination bus, and The process shifts to a reception waiting state for continuing reception (step S26).
  • the GW 50 returns the process to step S20 and starts normal CAN communication that enables transfer of the communication message.
  • a communication device capable of suppressing power consumed for communication, a communication method used for the communication device, and a communication system including the communication device are provided. Can be provided.
  • the communication system according to the second embodiment has the effects listed below in addition to the effects (1) to (5) described in the first embodiment. (6) Since information communication is suppressed when the device operated by the user does not require information communication, power consumption can be reduced.
  • the door opening / closing operation and the seat position operation may be performed while the vehicle 2 is parked. However, if the vehicle 2 is parked in this way, only the communication device necessary for these operations may be activated. In addition, information communication via a communication line may not be necessary for these operations. Therefore, power consumption of the communication device can be reduced by not performing information communication only when opening and closing the door or operating the seat position.
  • a third embodiment embodying the communication system will be described with reference to FIG.
  • the communication history is different from that of the first embodiment in determining whether or not there is a communication target ECU, but the other configurations are the same. Therefore, in the following, the configuration that is different from the first embodiment will be mainly described, and the detailed description of the same configuration is omitted.
  • the first ECU 11 holds various vehicle states and ECUs that have communicated in the vehicle state as history.
  • the latest information is held for each vehicle state.
  • two or more pieces of latest information may be stored as a history.
  • contents of the history contents that are not updated for a predetermined period or more or a certain number of activations may be deleted.
  • the operation of the communication error processing shown in FIG. 8 will be described by taking the first ECU 11 as an example in the third embodiment.
  • the first ECU 11 starts operation by being turned on or activated from the sleep state, and starts normal CAN communication (step S30).
  • the first ECU 11 detects that there is no response to the transmitted communication message (step S31).
  • normal CAN communication is performed although not shown.
  • the first ECU 11 checks the communication history (step S32). In the confirmation of the communication history, the vehicle state is specified based on external information, and the presence / absence of an ECU that has communicated in the past in the vehicle state is acquired. And 1st ECU11 judges the presence or absence of ECU which communicated in the past in the said vehicle state (step S33).
  • the first ECU 11 When it is determined that there is an ECU that has communicated in the past in the vehicle state (YES in step S33), the first ECU 11 continues communication based on normal communication error processing (step S34) and performs such normal communication. It is determined whether the error process has been repeated a predetermined number of times or more (step S35). If it is determined that the communication error process has not been repeated more than the predetermined number of confirmations (NO in step S35), the first ECU 11 returns the process to step S30, and continues normal CAN communication while performing normal error processing. To do. That is, each time a communication message is transmitted in normal error processing, the first ECU 11 consumes power.
  • step S36 when it is determined that no ECU has communicated in the past in the vehicle state (NO in step S33), or when it is determined that the communication error process has been repeated a predetermined number of times (YES in step S35), 1 ECU11 stops transmission of a communication message (step S36).
  • the first ECU 11 shifts to a reception waiting state for continuing reception of the communication message, so that power consumption is suppressed.
  • the reception waiting state in response to the reception of the communication message, the first ECU 11 returns the process to step S30 and starts normal CAN communication using the next communication message.
  • the operation of the communication error process starts when the first ECU 11 is activated, and is terminated when the first ECU 11 is stopped or reset.
  • the communication system according to the third embodiment has the effects listed below in addition to the effects (1) to (5) described in the first embodiment.
  • Information communication and external information are associated with each other and stored as a history. Then, based on referring to the stored history, it is determined whether there is an ECU serving as a communication partner according to the external information to be acquired.
  • the history for example, after shipment of the vehicle manufacturing factory, the type or number of ECUs connected to the communication bus may be changed, or the function may be changed to change the communication partner ECU. If you do, you can respond to such changes. As a result, the presence or absence of a communication partner corresponding to the acquired external information can be suitably determined.
  • each said embodiment can also be implemented with the following aspects.
  • the case where the data frame has a standard format has been illustrated.
  • the present invention is not limited to this, and the data frame may be an extended format. Thereby, the improvement of the design freedom of a communication system comes to be aimed at.
  • the present invention is not limited to this, and the number of communication buses may be 2 or 4 or more. As a result, the applicability of such a communication system can be expanded.
  • the present invention is not limited to this, and the number of ECUs or the like connected to the bus may be any number that conforms to the CAN protocol standard, and may be four or more. Thereby, the freedom degree of the structure of a communication system is improved.
  • the ECUs 11, 12, 21 to 42 are illustrated as having a configuration including the communication necessity determination unit 113 and the communication control unit 114, but the communication necessity determination unit and the communication control unit As long as it has a configuration having a function to be exhibited, this configuration may be divided in any way.
  • the GW 50 is configured to include the message reception unit 51, the communication necessity determination unit 52, the communication control unit 53, the storage unit 54, and the message transmission unit 55 is illustrated.
  • the present invention is not limited to this, and if the GW is provided with a configuration having functions exhibited by the message reception unit, the communication necessity determination unit, the communication control unit, the storage unit, and the message transmission unit, how this configuration is classified. May be.
  • the communication resumption condition is to receive a communication message.
  • the present invention is not limited to this, and as a communication resumption condition, the communication necessity determination unit that determines that the necessity of information communication is “No” determines that information communication is necessary due to subsequent changes in the state of the vehicle, etc.
  • the transmission resumption condition may be satisfied based on the determination. That is, even if the communication apparatus suppresses the power required for communication due to the determination that information communication is not necessary, the communication is appropriately restored as necessary.
  • the present invention is not limited to this, and if it is possible to specify that there is no communication partner, there is no signal generated based on the ACK error message indicating that “transmission is not completed” or a response generated based on other errors. It may be determined that there is no communication partner based on a signal or the like. As a result, the degree of freedom in designing the communication device can be improved.
  • each ECU the case where a communication necessity determination unit is provided in each ECU is illustrated.
  • the present invention is not limited to this, and the communication necessity determination unit may be provided in some ECUs. This also makes it possible to reduce the power consumption of the ECU having the communication determination unit.
  • the present invention is not limited to this, and such settings may be set only for the required ECU or only for the GW. Then, only the required ECU or GW may determine whether or not information communication is necessary by referring to such settings. Thereby, the design freedom of the communication system can be improved.
  • the present invention is not limited to this, and if the determination of the necessity of information communication and the determination of the presence or absence of an ACK error are performed as necessary, the presence or absence of an ACK error may be determined after determining the vehicle state. These determinations may be made in parallel. As a result, the degree of freedom in designing the communication device can be improved.
  • the present invention is not limited to this, and if the determination of the necessity of information communication and the determination of the presence or absence of an ACK error are performed as necessary, the presence or absence of an ACK error may be determined after confirming the communication history. These determinations may be made in parallel. As a result, the degree of freedom in designing the communication device can be improved.
  • the communication bus is a bus based on the CAN protocol.
  • the present invention is not limited to this, and the communication protocol is a protocol other than the CAN protocol as long as it is a communication bus to which a plurality of communication devices are connected and the communication device can determine the presence or absence of the receiving side. Also good. Thereby, the applicability of the communication system can be expanded.
  • the vehicles 1 and 2 are plug-in hybrid vehicles and electric vehicles are exemplified.
  • the vehicle may be a hybrid vehicle or a vehicle using only an engine as a drive source.
  • this communication system may be provided in a mobile body other than an automobile vehicle, for example, a ship, a railway, an industrial machine, a robot, or the like.

Landscapes

  • Engineering & Computer Science (AREA)
  • Computer Networks & Wireless Communication (AREA)
  • Signal Processing (AREA)
  • Small-Scale Networks (AREA)

Abstract

 第1のECU(11)は、外部機器から外部情報を取得するとともに、通信用バス(10)を介してCANプロトコルに規定される通信メッセージに基づく情報通信を行う。第1のECU(11)は、取得する外部情報に基づいて通信用バス(10)を介しての情報通信の要否を判断する通信要否判断部(113)と、判断した情報通信の要否が「要」であるとき、通信エラーが検出されることを条件に情報通信を一定期間停止してその一定期間が経過した後に情報通信を再開する一方、判断した情報通信の要否が「否」であるとき、予め定めた送信再開条件が成立するまで通信メッセージの送信を停止する通信制御部(114)とを備える。

Description

通信装置、通信方法及び通信システム
 本発明は、車両などにおいてネットワーク接続される通信装置、及び当該通信装置に用いられる通信方法、及び当該通信装置を含んで構成される通信システムに関する。
 周知のように、車両に搭載された複数の電子制御装置(ECU)は、それぞれがネットワーク接続されることによってそれらECUの有する情報を相互に送受信可能とする車両ネットワークシステムを構成していることが多い。そして、このような車両ネットワークシステムを構成する通信システムの一つにCAN(コントローラエリアネットワーク)がある。
 ところで、CANには、通信のエラーを検出するための機能が設けられている。つまり、CANでは、CANバス上にデータを送信するECUは、データ送信時にCANバス上の信号をモニタし、このモニタしている信号と送信したデータに基づく信号とを比較してこれらの信号が一致していれば正しく通信が行なわれたと判定し、逆に一致していなければ通信にエラーが生じていると判定する。
 そして、CANの仕様によれば、データを送信するECUで積算された通信エラーのカウント数が256未満であれば通常通りの通信が実行される一方、同カウント数が256に達すると、ECUの通信が停止される。なお、このようにして通信が停止されたECUは、通信エラーのカウントがリセットされることで通信を再開させることができる。そこで、通信を再開させるために通信エラーのカウントを自動的にリセットする技術の一例が特許文献1に提案されている。
 特許文献1に記載の通信復帰判定方法は、CAN通信が停止された後、通信エラーのカウント数をクリアするとともに、所定時間(例えば、100ms)経過後に1回だけ通信(送信)を行なう。そして、この所定時間経過後に1回だけ通信(送信)を行う処理において、通信エラーが検出される場合、引き続き所定時間経過後に1回だけ通信(送信)を行う処理を繰り返す一方、通信エラーが検出されない場合には、通常の通信を再開する。
特開2001-339412号公報
 特許文献1に記載の技術によれば、CANバスに一時的な異常が生じた場合であれ、その後、正常化したときには通信が再開されるようになる。ところで近年は、蓄電池を動力源に用いる車両が多くなるに伴い、通信システムの省電力化も進められるようになってきており、例えば、都度の車両の状態に応じて必要とされるECUのみを起動させる構成なども考えられている。しかしながら、必要とされるECUのみが起動されたことを要因として通信エラーとなる場合がある。この場合、一時的な異常ではないため、通信エラーは維持され続けることとなる。このため、上述のような復帰判定の処理を行ったとしても、ECUに不要な電力の消費を強いることになってしまう。
 本発明は、このような実情に鑑みなされたものであって、その目的は、CANプロトコルに基づく通信にあって、通信に消費される電力を抑制することのできる通信装置、及び当該通信装置に用いられる通信方法、及び当該通信装置を含んで構成される通信システムを提供することにある。
 以下、上記課題を解決するための手段及びその作用効果を記載する。
 一態様による通信装置は、外部機器に接続されて該外部機器から外部情報を取得するとともに、通信回線に接続されて該通信回線を介してCANプロトコルに規定される通信データに基づく情報通信を行う通信装置であって、前記外部機器から取得する外部情報に基づいて前記通信回線を介しての情報通信の要否を判断する通信要否判断部と、前記通信要否判断部による情報通信の要否の判断が「要」であること及び通信エラーが検出されることを条件に情報通信を一定期間停止してその一定期間が経過した後に情報通信を再開する一方、前記通信要否判断部による情報通信の要否の判断が「否」であることを条件に予め定めた送信再開条件が成立するまで通信データの送信を停止する通信制御部とを備えることを要旨とする。
 別の態様による通信方法は、外部機器に接続されて該外部機器から外部情報を取得するとともに、通信回線に接続されて該通信回線を介してCANプロトコルに規定される通信データに基づく情報通信を行う通信装置に用いられる通信方法であって、前記外部機器から取得する外部情報に基づいて前記通信回線を介しての情報通信の要否を判断する通信要否判断工程と、前記情報通信の要否の判断が「要」であること及び通信エラーが検出されたことを条件に情報通信を一定期間停止してその一定期間が経過した後に情報通信を再開する一方、前記情報通信の要否の判断が「否」であることを条件に予め定めた送信再開条件が成立するまで通信データの送信を停止する通信制御工程とを備えることを要旨とする。
 他の態様による通信システムは、外部機器に接続されて該外部機器から外部情報を取得するとともに、通信回線に接続されて該通信回線を介してCANプロトコルに規定される通信データに基づく情報通信を行う通信装置が前記通信回線に複数接続されてなる通信システムであって、前記通信装置として、上記の通信装置を備えることを要旨とする。
 このような構成又は方法によれば、情報通信が必要であることと通信エラーが検出されることとを条件に情報通信を一定期間停止してその一定期間が経過した後に情報通信を再開する、つまり復帰判定を行うことで適時に通信を再開することができる。一方、情報通信が不要であることを条件に、この条件下ではそもそも情報通信が不要であって復帰判定の必要がないことから、予め定めた送信再開条件が成立するまで通信データの送信を停止するようになる。これにより、CANプロトコルに基づく通信にあって、不要な通信が抑制され、ひいては通信装置によって通信に消費される電力が抑制されるようになる。
 好ましい構成として、前記通信制御部は、前記通信要否判断部による情報通信の要否の判断が「否」であるとき、通信データの受信を継続し、前記送信再開条件は、前記通信制御部が前記通信回線を介して通信データを受信することを含む。
 このような構成によれば、通信要否判断部による情報通信の要否の判断が「否」であったとしても、車両の状態変化等により通信回線に通信データが流れるようになるときには、その流れている通信データを受信することに基づいて送信再開条件が成立する。つまり、情報通信が不要と判断されたときには、通信装置を電力消費の少ない受信待ちとしつつも、この受信待ちから通信を復帰させることができるようになる。
 好ましい構成として、前記送信再開条件は、前記通信要否判断部により前記通信回線を介しての情報通信が必要であると判断されることを含む。
 このような構成によれば、通信要否判断部による情報通信の要否の判断が「否」であったとしても、車両の状態変化等により通信要否判断部が情報通信が必要であると判断するようなときには、その判断に基づいて送信再開条件が成立する。つまり、情報通信が不要と判断されたとき、通信に要する電力を抑えつつも、通信を復帰させることができるようになる。
 好ましい構成として、当該通信装置が蓄電池を動力源に用いる車両に搭載されている。
 このような構成によれば、蓄電池を動力源に用いる車両、例えば、プラグインハイブリッド車や電気自動車などに搭載されている蓄電池の消費量を抑制することができるようになり、蓄電池の蓄電量の維持など図られるようになる。
 好ましい構成として、前記通信要否判断部は、前記外部情報により車両の蓄電池が充電中であることを検知することに基づいて、前記通信回線を介しての情報通信が不要であると判断する。
 このような構成によれば、特に、蓄電池の充電中に消費される電力を抑えることによって、充電時間の短縮が図られるようになる。
 好ましい構成として、前記通信要否判断部は、前記外部情報により前記通信回線を介しての情報通信を不要とする機器のみが操作されたことを検知することに基づいて、前記通信回線を介しての情報通信が不要であると判断する。
 このような構成によれば、操作された機器に情報通信が不要なときには情報通信が抑制されるため消費電力の抑制が図られるようになる。
 好ましい構成として、前記通信回線を介しての情報通信を不要とする機器のみの操作として、ドアの開閉操作及びシートポジションの操作の少なくとも一方の操作が含まれる。
 ドアの開閉操作やシートポジションの操作は、車両の駐車中に行われることもあるが、このように駐車中であれば、それら操作に必要な通信装置のみが起動すればよい。また、それら操作には通信回線を介しての情報通信が不要であることも少なくない。そこで、このような構成によれば、ドアの開閉操作やシートポジションの操作のみのとき情報通信を行わないようにすることで通信装置の消費電力の抑制が図られる。
 好ましい構成として、前記通信装置は、前記通信回線を介して情報通信をする通信相手の有無を示す設定情報を取得される外部情報に対応して有しており、前記通信要否判断部は、この設定情報と前記取得される外部情報とに基づいて前記通信回線を介しての情報通信の要否を判断する。
 このような構成によれば、通信回線を介しての情報通信の要否を示す設定情報が外部情報の種類に応じて判断されるようになるためこうした判断の精度向上が図られるようになる。
 好ましい構成として、前記通信要否判断部は、前記通信回線を介して行った情報通信をそのときの外部情報に対応付けて履歴として記憶するとともに、前記記憶した履歴を参照することに基づいて取得する外部情報に対応する通信相手の有無を判定する。
 このような構成によれば、情報通信と外部情報とを対応付けて履歴として記憶する。そして、この記憶した履歴を参照することに基づいて、取得する外部情報に応じての通信相手の有無が判定されるようになる。このように履歴を用いることで、例えば車両の出荷後、通信回線に接続される装置の種類や数に変更があったり、機能が変更されて通信相手が変更されたりするようなことがあったとしても、そうした変更にも対応することができる。これにより取得した外部情報に対応する通信相手の有無を好適に判定することができるようになる。
通信装置を含み構成される通信システムを具体化した第1の実施形態について、その概略構成を示すブロック図。 CANプロトコルに基づく通信メッセージの構成を説明するための説明図。 同通信システムの通信制御部による通信を停止/再開させる処理の手順を示すフローチャート。 通信装置を含み構成される通信システムを具体化した第2の実施形態について、その概略構成を示すブロック図。 同通信システムにおける外部情報に対応して起動するECUの一例を示すリスト。 同通信システムにおける外部情報に対応して起動を要するECUの組み合わせの一例を示すリスト。 同通信システムの通信装置における通信を停止/再開させる処理の手順を示すフローチャート。 通信装置を含み構成される通信システムを具体化した第3の実施形態について、その通信装置における通信を停止/再開させる処理を含む手順を示すフローチャート。
 (第1の実施形態)
 図1~3に従って、通信装置を含み構成される通信システムを具体化した第1の実施形態について説明する。
 図1に示すように、車両1は、通信システムとしての車両ネットワークシステムを備えている。車両1は、外部電源からの充電が可能な蓄電池を動力源として備えているプラグインハイブリッド自動車や電気自動車である。
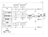
 通信システムは、第1の電子制御装置(ECU)11と、第2のECU12と、それら第1及び第2のECU11,12を相互通信可能に接続させる通信回線としての通信用バス10とから構成されている。これにより、第1及び第2のECU11,12は、制御用の各種情報等を、通信用バス10を介して相互に授受(送信及び受信)できるようになっている。なお、通信システムは、CAN(コントローラエリアネットワーク)として構成されていることから、通信プロトコルにはCANプロトコルが適用される。
 通信用バス10は、ツイストケーブルなどの通信線などから構成され、その通信線を介してCANプロトコルにおいて通信における1単位となる通信データとしての通信メッセージを伝達する。なお、通信用バス10は、通信経路の一部に無線通信を含んでいたり、ゲートウェイなどを介して他のネットワークを経由する経路が含まれていたりしてもよい。
 CANプロトコルには、通信メッセージの構造であるフレームとして4種類のフレームが規定されており、そのうちの一つにユーザが指定したデータを格納することのできるデータフレームFdがある。例えば、CANプロトコルの通信データとしての通信メッセージの構造をデータフレームFdを例に説明する。
 図2に示すように、データフレームFdには、主に、通信メッセージの内容を示す「メッセージID」が格納される領域(図2において「ID」)や、ユーザが指定したデータが格納される「データフィールド」の領域などが設けられている。この「データフィールド」は0~64ビット(8ビット×0~8バイト)のうちのいずれかの長さで設定される。また、データフレームFdには、CANプロトコルで規定される、SOF(スタートオブフレーム)領域、RTR(リモートトランスミッションリクエスト)領域、コントロールフィールド領域、CRC(シーアールシー)領域、ACK(アクノリッジ)領域、EOF領域が確保されている。
 このうち、ACK領域は、フレームが正常に受信されたことを確認するための領域である。ACK領域は、受信側からの応答確認が送信される1ビットのACKスロットと、ACKスロットの区切りである1ビットのACKデリミタとより構成されている。ACKデリミタは常に「1」(リセッシブ)とされている。ところで通信プロトコルのなかには、データフレームとは別にアクノリッジ用のフレームが用意されているプロトコルもある。しかしながら、CANプロトコルの場合、送信側がデータフレームFdのACKスロットを送信しているタイミングで、受信側が応答確認としてアクノリッジを返すようになっている。具体的には、送信側はデータフレームFdのACKスロットに「1」を設定する。受信側は受信しているデータフレームFdの内容をCRC領域に格納されたチェックコードでチェックするとともに、チェックした結果が正常であればACKスロットに「0」を設定し、異常があるときにはACKスロットに「1」を設定することでアクノリッジを返す。また、受信側が存在しないとき、ACKスロットには送信側により設定された「1」が維持される。
 これは、CANプロトコルでは、通信用バス10上の信号として、「1」(リセッシブ)よりも「0」(ドミナント)の優先度が高いため、ACKスロットに送信側が「1」を設定したとしても、受信側が「0」を設定することに応じて、送信側でモニタされるACKスロットも「0」になるからである。よって送信側は、モニタしているACKスロットが「0」であることに基づいて送信したデータフレームFdが受信側に正常に受信されたことを確認できる。一方、送信側は、モニタしているACKスロットが「1」であることに基づいて送信したデータフレームFdが受信側に正常に受信されていないことを確認できる。よって、送信側はモニタしているACKスロットが「1」であることを検出することに基づいて、通信エラーのうちのACKエラーが生じている旨を判断する。また、受信側(他のECU)からの応答がないときにも、ACK応答がないためACKエラーが生じている旨を判断する。他のECUからの応答がない要因には、通信用バス10上で起動されるECUが一個だけである車両状態であることや、通信用バス10への接続が必須とはされていないオプションECUが全て設けられていない(オプションレス)状態になっていることなどが挙げられる。
 なお、CANプロトコルの通信メッセージのフレームのうちの一つであるリモートフレームも、上記同様のACK領域を有しているため、ACKエラーの有無を判断することができる。
 このようなことからCANでは、送信側となるECUは、データフレームFdを受信する受信側のECUが1つも存在しないときにデータフレームFdを送信すると、ACKエラーを検出し、かつ、その検出した通信エラーによりエラーカウントが増加する。なお、CANでは、通信エラーのエラーカウントが127以下のとき「エラーアクティブ」状態、通信エラーのエラーカウントが127を超えるとき「エラーパッシブ」状態、通信エラーのエラーカウントが256に達すると「バスオフ」状態になる。「エラーアクティブ」状態は通常の送受信を行うことができる状態であり、「エラーパッシブ」状態は制約された状況下で送受信を継続することができる状態であり、「バスオフ」状態はECUがネットワークから切り離される状態である。「エラーパッシブ」状態のときには通信エラーのない状態が継続するとカウンタ値が低下して「エラーアクティブ」状態に回復する。しかし、一旦「バスオフ」状態になると、「バスオフ」状態から復帰するためには、例えば、ECUのリセットやコンフィグレーションを要するなど復帰が容易ではない。そうしたことから、第1の実施形態では、通常のエラー処理として、通信エラーが検出されると、通信エラーのエラーカウントをクリアするとともに、所定時間(例えば、100ms)経過後に1回だけ通信(送信)を行なうようにすることで自動的な復帰が可能なエラー処理を行う。なお所定時間は、通信用バス10の通信負荷を高めることがなく、かつ、復帰に要する遅れの少ない時間が、経験や、実験、理論などに基づいて予め設定される。
 図1に示すように、第1及び第2のECU11,12はそれぞれ、車両1の各種制御に用いられる制御装置であって、例えば、駆動系、走行系、車体系、又は情報機器系等を制御対象にしているECUである。例えば、駆動系を制御対象とするECUとしては、エンジンECUやHV(ハイブリッド)ECU、充電制御ECUが挙げられ、走行系を制御対象とするECUとしては、ステアリングECUやブレーキECUが挙げられる。また、車体系を制御対象とするECUとしては、ドアECUやシートECU、ライトECU、ウィンドウECU、エアコンECUが挙げられ、情報機器系を制御対象とするECUとしては、オーディオECUやカーナビゲーションECUが挙げられる。
 第1及び第2のECU11,12はそれぞれ、外部機器としての監視対象とする機器や制御対象とする機器に配線やLIN(ローカルインターコネクトネットワーク)などを介して信号を受信可能に接続されている。外部機器は、センサなどにより車両状態に関する情報等を検出するとともに、検出した車両状態を外部情報として出力する。第1及び第2のECU11,12はそれぞれ、外部機器から出力された信号を外部情報として取得する。外部機器としては、ドアの開閉を検出して制御する装置や、シート形状を検出して制御する装置等が挙げられ、外部情報としては、ドアの開閉情報や操作情報、シート形状情報や操作情報などが挙げられる。
 第1及び第2のECU11,12はそれぞれ、各種制御に要する処理を実行したり、通信情報を処理する情報処理装置111と、CANプロトコルに基づく通信メッセージを送受信するCANコントローラ112とを備えている。情報処理装置111とCANコントローラ112とは内部バスなどを介して接続されており、情報処理装置111とCANコントローラ112との間で各種データの授受が可能になっている。そして、第1及び第2のECU11,12は、情報処理装置111やCANコントローラ112などでの処理を通じて上述したCANプロトコルの通信に関するエラー処理などを行う。
 CANコントローラ112は、通信用バス10との間で通信メッセージを送受信する。CANコントローラ112は、CANプロトコルに基づく通信メッセージを受信するとともに、CANプロトコルに基づく通信メッセージを送信する。つまり、第1及び第2のECU11,12はそれぞれ、CANコントローラ112を介して通信用バス10との間での通信メッセージの送受信を行なう。よって第1及び第2のECU11,12は、各CANコントローラ112を介して、CANプロトコルに規定されるフレーム構造を有する通信メッセージを相互に送信及び受信可能になっている。
 CANコントローラ112は、通信メッセージに含まれているデータ等を情報処理装置111へ提供することができる。また、CANコントローラ112は、情報処理装置111からの提供されるデータ内容や送信指示に基づいて通信メッセージを送信する。
 さらに、CANコントローラ112は、送信している通信メッセージを監視、つまりモニタすることによって送信中の通信メッセージが他の通信メッセージと衝突することを検知し、通信メッセージの衝突を防ぐアービトレーションやACK応答の検知などを行う。そして、CANコントローラ112は、検知したACK領域の信号を情報処理装置111へ提供する。これにより、情報処理装置111では、通信メッセージの送信中にACKスロットの信号が「1」であるか「0」であるかに基づいて、送信している通信メッセージに対してACKエラーの有無を検知する。
 第1及び第2のECU11,12の各情報処理装置111は、演算装置(CPU)や記憶装置を有するマイクロコンピュータを含み構成されている。つまり情報処理装置111には、制御用プログラムの演算処理を実行する演算装置と、その制御用プログラムやデータなどが記憶された読み出し専用メモリ(ROM)と、演算装置の演算結果が一時的に記憶される揮発性メモリ(RAM)とが設けられている。これにより、情報処理装置111は、記憶装置に保持されている制御用プログラムを演算装置に読み込み、実行することで、制御対象に対する所定の機能を発揮して当該制御対象の制御を行なう。
 情報処理装置111は、通信用バス10を介しての通信メッセージの授受が必要であるか否かを判断する通信要否判断部113と、通信メッセージの送受信を制御する通信制御部114とを備える。なお、情報処理装置111は、記憶装置に保持されている通信メッセージの授受の必要性を判断するプログラム、通信メッセージの送受信を制御するための各種処理を行うプログラムをそれぞれ演算装置に読み込み、実行させる。これにより情報処理装置111には、上述した通信要否判断部113及び通信制御部114の機能が設けられる。
 通信要否判断部113は、各ECU11,12に入力される(取得する)外部情報に基づいて、通信用バス10を介しての通信メッセージの送信などの情報通信が必要であるか否かを判断する(通信要否判断工程)。こうした外部情報は、各ECU11,12に接続されている外部機器からの操作入力や応答入力などが挙げられる。なお外部情報には、車両のキーポジションの情報や充電中であるとの情報が含まれていてもよい。通信要否判断部113は、制御対象機器(外部機器)に対する処理をそのECU単独で行うことが可能であると外部情報によって判断する場合、情報通信は不要である、つまり「否」と判断する一方、その他の場合、例えば、制御対象機器(外部機器)を他の機器と連動させる必要があると外部情報によって判断する場合、情報通信は必要である、つまり「要」と判断する。情報通信が不要と判断される制御対象機器に対する処理の一例としては、駐車中の車両のドアの開閉処理、駐車中の車両のシートを作動させる処理、駐車中の車両のオーディオを作動させる処理などが挙げられる。なお、駐車中であることは、キーポジションが「IG OFF」であることや、車両1が充電中であることなどから判断することができる。一方、情報通信が必要と判断される制御対象機器に対する処理の一例としては、駐車中の車両のエアコンを作動させる処理などが挙げられる。ところで、これら処理と情報通信の要否とについては車種や構成の別に相違してもよい。
 通信制御部114は、通信要否判断部113から情報通信が必要であるか否かの判断結果を取得することが可能になっているとともに、CANコントローラ112の検出するACK領域のデータを取得してACKエラーの有無を判断することが可能になっている。そして通信制御部114は、ACKエラーの有無と、情報通信が必要であるか否かの判断結果とに基づいて、CANコントローラ112を介して行う情報通信を制御する(通信制御工程)。
 詳述すると、通信制御部114は、ACKエラーがない場合、CANコントローラ112からの通信メッセージの送信を規制せず、通常通りのCAN通信を行うようにする。
 一方、通信制御部114は、ACKエラーがあるとき、情報通信が必要であるか否かの判断結果も参照して情報通信を制御する。つまり、ACKエラーがある、かつ、情報通信が必要であるとの判断結果である場合、CANコントローラ112からの通信メッセージの送信を規制せず、通常通りのCAN通信を維持するとともに、通常のエラー処理を行う。なお、第1の実施形態では、通常のエラー処理として、例えば、通信エラーが検出されることを条件に通信メッセージの送受信を一定期間(例えば、100ms)停止してその一定期間が経過した後に情報通信を再開する処理を行う。よって、ACKエラーがある、かつ、情報通信が必要であるとの判断結果であると判断される都度、この通常のエラー処理が繰り返される。
 一方、ACKエラーがある、かつ、情報通信が必要ではないとの判断結果であると判断される場合、CANコントローラ112からの通信メッセージの送信を規制する一方、CANコントローラ112による通信メッセージの受信は継続する。そして、ACKエラーがある、かつ、情報通信が必要ではないとの判断結果であるとの判断が維持されるとき、通信メッセージの送信の規制及び受信の維持が継続される。そして、CANコントローラ112が通信メッセージを受信することに対応して通常のCAN通信を行う処理に移行する。これにより、送信側のECUが起動したタイミングでは受信側のECUは起動していなかったものの、その後の車両状態変化によって起動して情報通信が必要である状態へ変化したとき、その変化に対応することができる。例えば、CANコントローラ112が受信する通信メッセージとしては、受信側としての他のECUが起動され、そのECUにより送信される通信メッセージが挙げられる。
 図3を参照して、第1及び第2のECU11,12の通信エラー処理の動作について説明する。なお、以下では、説明の便宜上、第1のECU11の通信エラー処理について説明し、第2のECU12の通信エラー処理についての説明は割愛する。つまり、送信側を第1のECU11とし、受信側を第2のECU12とする場合について説明する。
 第1のECU11は、電源が入れられたり、スリープ状態から起動させられたりすることによって動作を開始するとともに、通常のCAN通信を開始する(ステップS10)。なおECUのスリープ状態とは、ECUが電源は供給されているものの起動する必要のない条件下であるとき、消費電力を抑制するために省電力モードに移行されている状態である。ECUがスリープ状態とされる車両状態の一例として、自身が充電制御ECUでないときであれば蓄電池の充電中が挙げられる。そして、ECUは、省電力モード中に制御対象とする機器が操作されることを条件に、スリープ状態から起動される。ECUをスリープ状態から起動させる操作の一例として、エアコン操作、オーディオ操作、ドアの開閉、シート位置変更などが挙げられる。すなわち、車両の充電中にユーザにより行われる「暑いのでエアコンをONする」、「暇なので車載TVを観る」、「乗るためにドアを開ける」、「シートポジションを変える」などの操作によりECUはスリープ状態から起動される。
 ステップS10で通常のCAN通信が開始されると、第1のECU11は、送信した通信メッセージに応答があるか否かを判断する(ステップS11)。応答があるか否かは、ACKエラーの有無により定まり、ACKエラーが無ければ応答があり、ACKエラーが有れば応答がないと判断される。第1の実施形態では、第2のECU12が起動しているときには応答があり、第2のECU12が起動していないときには応答がないものとなる。応答があると判断された場合(ステップS11でYES)、第1のECU11は、処理をステップS10に戻し、次の通信メッセージによる通常のCAN通信を開始する、つまり通常のCAN通信が継続される。一方、応答がないと判断された場合(ステップS11でNO)、第1のECU11は、車両状態が特定の条件下であるか否かを判断する(ステップS12)。ここで車両状態が特定の条件とは、情報通信が必要であるか否かに応じて定まる条件である。詳述すると、情報通信の要否の判断が、必要である(「要」)とされる場合には特定の条件下ではないと判断され、必要ではない(「否」)とされる場合には特定の条件下であると判断される。
 特定の条件下ではないと判断された場合(ステップS12でNO)、第1のECU11は、通常の通信エラー処理に基づいて通信を継続する(ステップS13)。通常の通信エラー処理では、復帰判定として、一定の間隔毎(例えば、100ms)に通信メッセージの送信が繰り返されてACKエラーの有無が確認される。よって、通常のエラー処理の場合、第1のECU11は、通信メッセージの送信の都度、電力を消費する。
 一方、特定の条件下であると判断された場合(ステップS12でYES)、第1のECU11は、通信メッセージの送信を停止する(ステップS14)とともに、通信メッセージの受信を継続するための受信待ち状態に移行する(ステップS15)。特定の条件下であるときはそもそも情報通信が不要であって通信は復帰しないことから、ステップS13に示すような復帰判定は実行されない。よって受信待ち状態のときには通信メッセージの送信が行われないため、第1のECU11の電力消費が抑制される。例えば、間隔が長いとしても、一定の時間毎に通信メッセージを送信することが長時間に渡り行われるようであれば消費される電力量も無視できない。このように電力消費を抑制することによって、車両1の蓄電池を外部電源によって充電しているようなときであれば、ECU等の電力消費量の抑制は充電時間の短縮につながることから、こうした電力消費の抑制によって蓄電池を備える車両1のユーザの利便性の向上も図られるようになる。
 そして、第1のECU11は、受信待ち状態において、所定の間隔やタイミングで通信メッセージの受信の有無を判断する(ステップS16)。つまり第1の実施形態では、送信再開条件を、通信メッセージが受信されることとしている。通信メッセージが受信されないと判断した場合(ステップS16でNO)、第1のECU11は、処理をステップS15に戻して再度受信待ち状態となる。一方、通信メッセージが受信されたと判断した場合(ステップS16でYES)、第1のECU11は、処理をステップS10に戻し、次の通信メッセージによる通常のCAN通信を開始する。つまり、一旦受信待ち状態になったとしても、ユーザの新たな操作などによって車両状態に変化が生じ、スリープ状態であったECUが起動することもある。このため、第1のECU11は、受信待ち状態によって、他のECUからの通信メッセージを受信できるように準備しておくとともに、他のECUからの通信メッセージに適切に応答できるようにしておくようにしている。
 なお、上述の通信エラー処理の動作は、第1のECU11の起動により実行が開始され、第1のECU11の停止や、リセットによって終了される。
 従来、製造時やメンテナンス時に外部装置から、車両装備や車両状況に応じた送信停止条件をECUに設定して送信を停止させることは可能であった。しかし、第1の実施形態によれば、車両にECUが搭載されたままであっても、情報通信が必要なECUの有無や、他のECUの起動状態が随時判断され、ECUからの送信が停止されるようになる。
 これにより、CANプロトコルに基づく通信にあって、通信に消費される電力を抑制することのできる通信装置、及び当該通信装置に用いられる通信方法、及び当該通信装置を含んで構成される通信システムを提供することができる。
 以上説明したように、第1の実施形態に係る通信システムは、以下に列記する効果を有する。
 (1)情報通信が必要であるときにはACKエラーが検出されることを条件に情報通信を一定期間停止してその一定期間が経過した後に情報通信を再開する、つまり復帰判定を行うことで適時に通信を再開する。一方、情報通信が不要であるときには、そもそも情報通信が不要であって復帰判定の必要がないことから、予め定めた送信再開条件が成立するまで通信メッセージの送信を停止する。これにより、CANプロトコルに基づく通信にあって、不要な通信が抑制され、ひいては通信装置によって通信に消費される電力が抑制されるようになる。
 (2)通信要否判断部113による情報通信の要否の判断が「否」であったとしても、車両1の状態変化等により通信用バス10に通信メッセージが流れるようになるときには、その流れている通信メッセージを受信することに基づいて送信再開条件が成立する。つまり、情報通信が不要と判断されたときには、ECUを電力消費の少ない受信待ちとしつつも、この受信待ちから通信を復帰させることができるようになる。
 (3)蓄電池を動力源に用いるプラグインハイブリッド車や電気自動車などに搭載されている蓄電池の消費量を抑制することができるようになり、蓄電池の蓄電量の維持などが図られるようになる。
 (4)特に、蓄電池の充電中に消費される電力を抑えることによって、充電時間の短縮が図られるようになる。
 (5)通信用バス10を介しての情報通信の要否が外部情報の種類に応じて判断されるようになるためこうした判断の精度向上が図られるようになる。
 (第2の実施形態)
 図4~7に従って、通信装置を含み構成される通信システムを具体化した第2の実施形態について説明する。第2の実施形態では、通信システムの構成がGW(ゲートウェイ)により通信可能に接続された3つの通信用バスを備える構成であることが第1の実施形態の構成と相違するものの、それら3つの通信用バスはCANプロトコルにより情報通信させるものであることは同様である。そこで、以下では、第1の実施形態にて詳細に説明したCANプロトコルによる情報通信についての説明は割愛する。なお、車両2は、通信システムと、外部電源からの充電が可能な蓄電池とを備えているプラグインハイブリッド自動車や電気自動車である。
 図4に示すように、車両2に設けられている通信システムは、GW(ゲートウェイ)50と、それぞれGW50に接続されている通信回線としての第1のバス20、第2のバス30、及び第3のバス40とを備える。第1~第3のバス20,30,40は、CANプロトコルの通信メッセージを伝送可能なバスとして構成されており、例えばツイストペアケーブルから構成されている。また、GW50は、第1~第3のバス20,30,40から入力されるCANプロトコルの通信メッセージを、接続されている他のバスへ中継(転送)することができる。よって通信システムは、第1~第3のバス20,30,40がGW50を介して相互接続される構成、いわゆるスター型のネットワーク構成を有しているとともに、第1~第3のバス20,30,40の相互間にCANプロトコルの通信メッセージを中継(転送)させることができるシステムとして構成されている。
 第1~第3のバス20,30,40にはそれぞれ、複数のECUが当該バスを介して他のECUとの間で通信が可能であるように接続されている。第1のバス20には、例えば、それぞれ通信装置としてのエアコンECU21及びオーディオECU22が接続されている。また、第2のバス30には、それぞれ通信装置としてのドアECU31、シートECU32、及び充電制御ECU33が接続されている。また、第3のバス40には、それぞれ通信装置としてのHVECU41及びエンジンECU42が接続されている。なお、これらのECUは、図示しないが、第1の実施形態にて説明した、情報処理装置111やCANコントローラ112と同様の構成を備えている。
 エアコンECU21は、制御対象機器(外部機器)としての車載エアコンを制御するためのECUであって、接続されている車載エアコンから外部情報を取得する。オーディオECU22は、制御対象機器(外部機器)としての車載オーディオを制御するためのECUであって、接続されている車載オーディオから外部情報を取得する。
 ドアECU31は、制御対象機器(外部機器)としての車両ドア61用の各ドア装置を制御するためのECUであって、配線やLINなどを介して接続されているドア装置から外部情報を取得する。シートECU32は、制御対象機器(外部機器)としての車両シート62用の各シート装置を制御するためのECUであって、配線やLINなどを介して接続されている各シート装置から外部情報を取得する。充電制御ECU33は、制御対象機器(外部機器)としてのバッテリ装置63からの電力の出力や外部電源70からバッテリ装置63への電力の充電などを制御するためのECUであって、配線などにより接続されるバッテリ装置63の充放電を制御することが可能となっている。なお、充電制御ECU33は、車両2の各部に必要に応じて充電中である旨を示す情報を随時、適切な通信経路を用いて発信することができるようになっている。
 HV(ハイブリッド)ECU41は、バッテリによる駆動とエンジンによる駆動との動力配分の計画や調整を行うECUである。HVECU41は、CAN通信を通じて各種の情報を取得するとともに、そうして取得した各種情報に基づいて、バッテリによる駆動とエンジンによる駆動との計画や調整を行う。エンジンECU42は、内燃機関であるエンジンの駆動を制御するECUである。エンジンECU42は、配線やCANにより接続される制御対象機器(外部機器)としての各種エンジン関連装置やその他各種装置から得られる各種情報に基づいてエンジンの駆動を制御する。
 GW50は、1つのバスから入力された通信メッセージを、その他のバスに出力する構成を有する装置、すなわち複数のバスの間に通信メッセージを中継する装置である。よって、複数のバス20~40は、それらバス20~40が接続されているGW50を介して通信メッセージが相互に送受信される。またGW50は、いわゆるECUであって、演算部や記憶部を有するマイクロコンピュータを含み構成されている。よって、GW50は、記憶部54に保持されている制御用プログラムや各種のパラメータを演算部に読み込み、実行処理することで、通信メッセージの中継機能など所定の機能を提供する。また、GW50は、外部機器からの車両状態が配線やLINなどにより入力されるとともに、外部機器からの車両状態としてCANプロトコルの通信メッセージも入力される。
 図5,6に示すように、各ECU21~42やGW50の記憶部54には、通信の要否の判断に用いられる設定情報が記憶されている。
 図5のリスト80には、GW50と各ECU21~42の起動の可・不可もしくは電源入りとキーポジションとの関係の一例が示されている。リスト80に示すように、記憶部54等には、キーポジションが「IG OFF」のときGW50、エアコンECU21、オーディオECU22、ドアECU31、シートECU32、及び充電制御ECU33が起動可能であること、HVECU41、及びエンジンECU42は起動不可能であることが設定されている。なお、キーポジションが「IG OFF」のときには、キーポジションが「OFF」のときや、キーポジションが「ACC」のときなどが含まれる。また、キーポジションが「IG ON」のときGW50、ドアECU31、シートECU32、充電制御ECU33、HVECU41、及びエンジンECU42に電源が入って起動すること、エアコンECU21、及びオーディオECU22が起動可能であることが設定されている。なお、各ECU21~42に記憶される設定情報については、そのECUが接続されているバスに関連する情報のみであってもよい。
 図6のリスト81には、外部情報より把握される車両状態とその車両状態に対応して起動する必要のあるGW50と各ECU21~42との関係の一例が示されている。リスト81に示すように、記憶部54等には、車両状態としての「エアコンの入/切」、「オーディオの入/切」、「ドアの開/閉」及び「シート移動」の操作それぞれについて、GW50の通信メッセージの転送の要否と各ECU21~42の起動の要否の関係が設定されている。図6において「○」は転送又は起動が必要なことを示し、「×」は転送又は起動が不要なことを示している。詳述すると、「エアコンの入/切」操作が行われるとき、GW50の転送が必要、かつ、エアコンECU21と充電制御ECU33との起動が必要である一方、それ以外のECUの起動は不要であることが設定されている。「オーディオの入/切」操作が行われるとき、オーディオECU22の起動が必要である一方、それ以外のECUの起動は不要であるとともに、GW50の転送も不要であることが設定されている。「ドアの開/閉」操作が行われるとき、ドアECU31の起動が必要である一方、それ以外のECUの起動は不要であるとともに、GW50の転送も不要であることが設定されている。「シート移動」操作が行われるとき、シートECU32の起動が必要である一方、それ以外のECUの起動は不要であるとともに、GW50の転送も不要であることが設定されている。なお、各ECU21~42に記憶される設定情報については、そのECUが接続されているバスに関連する情報のみであってもよい。
 GW50は、第1~第3のバス20~40に接続され、それらバス20~40から通信メッセージを受信するメッセージ受信部51と、それらバス20~40に通信メッセージを送信するメッセージ送信部55とを備えている。またGW50は、受信した通信メッセージの中継要否を判断する通信要否判断部52と、通信要否判断部52による判断結果に応じて通信メッセージの送信を制御する通信制御部53と、通信要否判断部52によって判断に用いられる設定情報が記憶される記憶部54とを備えている。
 メッセージ受信部51は、CANプロトコルの通信メッセージを受信して、通信メッセージに含まれているデータ等を当該GW50の通信要否判断部52などにて利用可能にする。メッセージ送信部55は、通信メッセージの送信対象のバス20~40への転送が通信制御部53により制御される。これにより例えば、GW50は、第1のバス20から受信した通信メッセージを第2,第3のバス30,40へ転送したり、第2のバス30から受信した通信メッセージを第1,第3のバス20,40へ転送したり、第3のバス40から受信した通信メッセージを第1,第2のバス20,30へ転送したりする。なお、転送しないバスなどがあってもよい。
 通信要否判断部52は、第1の実施形態の通信要否判断部113と同様の機能を有しているものである。通信要否判断部52は、外部機器から入力される(取得する)情報や通信をしているECUの情報などの外部情報と、記憶部54に設定されている通信の要否の判断に用いられる設定情報に基づいて、通信メッセージの転送による情報通信が必要であるか否かを判断する。通信要否判断部52は、通信をしているECUが単独で制御対象機器に対する処理を行うことが可能であると外部情報によって判断する場合、情報通信は不要と判断する一方、その他の場合、例えば、制御対象機器の制御に他の機器も要すると判断する場合、情報通信は必要であると判断する。さらに、通信要否判断部52は、車両2のキーポジションの情報を取得するとともに、キーポジションの情報と、記憶部54に設定されている通信の要否の判断に用いられる設定情報とに基づいて、通信メッセージの転送による情報通信が必要であるか否かを判断する。
 よって通信要否判断部52は、例えば、リスト80に示すキーポジションが「IG OFF」に対応する駐車中のとき、リスト81に示すオーディオを作動させる処理、ドア61の開閉処理、シート62を作動させる処理は各ECUが単独で処理できるため情報通信が不要であると判断する。一方、例えば、キーポジションが「IG OFF」のとき、エアコンを作動させる処理では、接続されているバスの異なる複数のECUでの処理が必要であることから情報通信が必要であると判断する。
 また、例えば、リスト80に示すキーポジションが「IG ON」に対応する車両停止中もしくは走行中のとき、リスト81に示すオーディオを作動させる処理、ドア61の開閉処理、シート62を作動させる処理ではECUが単独で処理できるものの、リスト80に示すように、GW50等の電源が入り作動しているため情報通信が必要と判断される。また、キーポジションが「IG ON」のとき、エアコンを作動させる処理では、接続されているバスの異なる複数のECUでの処理が必要であることから情報通信が必要であると判断する。
 通信制御部53は、第1の実施形態の通信制御部114と同様の機能を有している。通信制御部53は、通信要否判断部52から情報通信が必要であるか否かの判断結果を取得することが可能になっているとともに、メッセージ受信部51の検出するACK領域のデータを取得してACKエラーの有無を判断することが可能になっている。そして通信制御部53は、ACKエラーの有無と、情報通信が必要であるか否かの判断結果とに基づいて、メッセージ送信部55を介して行う情報通信を制御する。
 続いて、図7を参照して、各ECU21~42やGWにおける通信処理の動作について説明する。
 まず、オーディオECU22の通信処理の動作について説明する。なお、その他のECUの通信処理の動作についての説明は割愛する。
 オーディオECU22は、電源が入れられたり、スリープ状態から起動させられたりすることによって動作を開始するとともに、通常のCAN通信を開始する(ステップS20)。通常のCAN通信が開始されると、オーディオECU22は、送信した通信メッセージに応答があるか否かを判断するとともに、外部情報などに基づいて車両状態を特定する(ステップS22)。なお、ここでは例えば通信メッセージに応答がなく、通信エラーが検出される場合について説明する。次に、特定された車両状態に基づいて、オーディオECU22は、通信対象ECUがあるか否かを判断する(ステップS23)。通信対象ECUがあるか否かの判断は、現在のキーポジションと起動しているECUとの関係(リスト80参照)や、「オーディオ入/切」操作の処理に必要なECUとの関係(リスト81参照)によって判断される。また、送信した通信メッセージに応答があるときにも通信対象ECUがあると判断される。そして、通信対象ECUがあると判断された場合(ステップS24でYES)、オーディオECU22は、通常のエラー処理を継続する(ステップS25)。つまり、オーディオECU22は、一定の間隔を開けて処理をステップS20に戻し、通常のCAN通信を継続する。
 一方、通信対象ECUがないと判断された場合(ステップS24でNO)、オーディオECU22は、通信メッセージの送信を停止するとともに、通信メッセージの受信を継続するための受信待ち状態に移行する(ステップS26)。そして、通信メッセージが受信されたと判断されることに基づいて、オーディオECU22は、処理をステップS20に戻し、通常のCAN通信を開始する。
 続いて、同じく図7を参照して、GW50の通信処理の動作について説明する。
 GW50は、電源が入れられたり、スリープ状態から起動させられたりすることによって動作を開始するとともに、通信メッセージの転送を可能とした通常のCAN通信を開始する(ステップS20)。GW50は、この通常のCAN通信において、各バス20~40において応答するECUの有無を判断することができる。つまり、GW50は、各バス20~40上のECUが別のバス上のECUと通信を行うか否かを判断する。通常のCAN通信が開始されると、GW50は、通信エラーの有無を判断するとともに、外部情報などに基づいて車両状態を特定する(ステップS22)。なお、ここでは通信エラーが検出される場合について説明する。次に、GW50は、特定された車両状態に基づいて、通信元のバスと別のバス上に通信対象ECUが存在するか否かを判断する(ステップS23)。そして、別のバス上に通信対象ECUがあると判断された場合(ステップS24でYES)、GW50は、通常の通信エラー処理に基づいて当該バス間において通信を継続する(ステップS25)。つまり、GW50は、処理をステップS20に戻し、当該バス間での通信メッセージの転送を可能とした通常のCAN通信を継続する。
 一方、別のバス上に通信対象ECUがないと判断された場合(ステップS24でNO)、GW50は、通信元のバスから通信先のバスへの通信メッセージの送信を停止するとともに、通信メッセージの受信を継続するための受信待ち状態に移行する(ステップS26)。そして、当該通信元のバスで通信メッセージが受信されたと判断されると、GW50は、処理をステップS20に戻し、通信メッセージの転送を可能とした通常のCAN通信を開始する。
 これにより、CANプロトコルに基づく通信にあって、通信に消費される電力を抑制することのできる通信装置、及び当該通信装置に用いられる通信方法、及び当該通信装置を含んで構成される通信システムを提供することができる。
 以上説明したように、第2の実施形態に係る通信システムは、上記第1の実施形態にて記載した(1)~(5)の効果に加えて、以下に列記する効果を有する。
 (6)ユーザに操作された機器に情報通信が不要なときには情報通信が抑制されるため消費電力の抑制が図られるようになる。
 (7)ドアの開閉操作やシートポジションの操作は、車両2の駐車中に行われることもあるが、このように駐車中であれば、それら操作に必要な通信装置のみが起動すればよい。また、それら操作には通信回線を介しての情報通信が不要であることもある。そこで、ドアの開閉操作やシートポジションの操作のみのとき情報通信を行わないようにすることで通信装置の消費電力の抑制が図られる。
 (第3の実施形態)
 通信システムを具体化した第3の実施形態について、図8を参照して説明する。第3の実施形態では、通信対象ECUの有無の判断に、通信履歴を用いることが第1の実施形態と相違するものの、その他の構成については同様である。そこで、以下では、第1の実施形態と相違する構成について主に説明することとし、同様の構成についてはその詳細な説明を割愛する。
 第3の実施形態では、例えば、第1のECU11には、各種の車両状態と、その車両状態のときに通信したことのあるECUとが履歴として保持されている。こうした履歴は、各車両状態について、最新の情報が保持されている。なお、最新の情報2つ以上を履歴として保持していてもよい。また、履歴の内容について、所定期間以上や一定の起動回数以上の間更新されない内容については削除するようにしてもよい。
 図8に示す通信エラー処理の動作について、第3の実施形態では第1のECU11を例に説明する。
 第1のECU11は、電源が入れられたり、スリープ状態から起動させられたりすることによって動作を開始するとともに、通常のCAN通信を開始する(ステップS30)。通常のCAN通信が開始されると、第1のECU11は、送信した通信メッセージに応答がないことを検知する(ステップS31)。なお、送信した通信メッセージに応答がある場合、図示しないが通常のCAN通信が行われる。そして、応答がないことが検知されると、第1のECU11は、通信履歴の確認を行う(ステップS32)。通信履歴の確認では、外部情報に基づいて車両状態を特定するとともに、当該車両状態において過去に通信したECUの有無を取得する。そして、第1のECU11は、当該車両状態において過去に通信したECUの有無を判断する(ステップS33)。
 当該車両状態において過去に通信したECUがあると判断した場合(ステップS33でYES)、第1のECU11は、通常の通信エラー処理に基づいて通信を継続する(ステップS34)とともに、こうした通常の通信エラー処理が所定の確認回数以上繰り返されたか否かを判断する(ステップS35)。通信エラー処理が所定の確認回数以上繰り返されていないと判断した場合(ステップS35でNO)、第1のECU11は、処理をステップS30に戻し、通常のエラー処理をしつつ通常のCAN通信を継続する。つまり、通常のエラー処理における通信メッセージの送信の都度、第1のECU11は電力を消費する。
 一方、当該車両状態において過去に通信したECUがないと判断された場合(ステップS33でNO)、又は、通信エラー処理が所定の確認回数以上繰り返されたと判断した場合(ステップS35でYES)、第1のECU11は、通信メッセージの送信を停止する(ステップS36)。この通信メッセージの送信停止では、第1のECU11は、通信メッセージの受信を継続するための受信待ち状態に移行するため電力消費が抑制される。また、図示しないが、受信待ち状態においては、通信メッセージが受信されることに応じて、第1のECU11は、処理をステップS30に戻し、次の通信メッセージによる通常のCAN通信を開始する。
 なお、この通信エラー処理の動作は、第1のECU11の起動により実行が開始され、第1のECU11の停止や、リセットによって終了される。
 以上説明したように、第3の実施形態に係る通信システムは、上記第1の実施形態にて記載した(1)~(5)の効果に加えて、以下に列記する効果を有する。
 (8)情報通信と外部情報とを対応付けて履歴として記憶する。そして、この記憶した履歴を参照することに基づいて、取得する外部情報に応じての通信相手となるECUの有無が判定される。このように履歴を用いることで、例えば車両の製造工場出荷後、通信用バスに接続されるECU等の種類や数に変更があったり、機能が変更されて通信相手となるECUが変更されたりするようなことがあったとしても、そうした変更にも対応することができる。これにより取得した外部情報に対応する通信相手の有無を好適に判定することができるようになる。
 (その他の実施形態)
 なお上記各実施形態は、以下の態様で実施することもできる。
 ・上記各実施形態では、データフレームは標準フォーマットである場合について例示した。しかしこれに限らず、データフレームは拡張フォーマットであってもよい。これにより、通信システムの設計自由度の向上が図られるようになる。
 ・上記各実施形態では、通信バスの数が1又は3である場合について例示したが、これに限らず、通信バスの数は2や4以上でもよい。これにより、こうした通信システムの適用可能性の拡張が図られるようになる。
 ・上記各実施形態では、通信用バス10や第1~第3のバス20,30,40に接続されるECU等の数が2つ又は3つである場合について例示した。しかしこれに限らず、バスに接続されるECU等の数は、CANプロトコルの規格に適合する数であればよく、4つ以上であってもよい。これにより、通信システムの構成の自由度の向上が図られる。
 ・上記各実施形態では、ECU11,12,21~42は、通信要否判断部113と通信制御部114とを備える構成である場合について例示したが、通信要否判断部と通信制御部とにより発揮される機能を有する構成を備えるのであれば、この構成はどのように区分されていてもよい。
 同様に、上記第2の実施形態では、GW50は、メッセージ受信部51、通信要否判断部52、通信制御部53、記憶部54、メッセージ送信部55を備える構成である場合について例示した。しかしこれ限らず、GWは、メッセージ受信部、通信要否判定部、通信制御部、記憶部、及びメッセージ送信部より発揮される機能を有する構成を備えるのであれば、この構成はどのように区分されていてもよい。
 これにより、通信システムの設計自由度の向上が図られる。
 ・上記各実施形態では、通信再開条件が通信メッセージを受信することである場合について例示した。しかしこれに限らず、通信再開条件として、情報通信の要否の判断が「否」であるとした通信要否判断部がその後の車両の状態変化等により情報通信が必要であると判断するようなときには、その判断に基づいて送信再開条件が成立してもよい。つまり、通信装置は、情報通信が不要との判断により通信に要する電力が抑えられたとしても、必要に応じて好適に通信が復帰されるようになる。
 ・上記各実施形態では、情報通信が必要であるか否かの判断にACKエラーを用いる場合について例示した。しかしこれに限らず、通信相手がないことを特定することができるのであれば、ACKエラーに基づき生成された「送信が完了しない」旨の信号や、その他のエラーに基づき生成された応答がない旨の信号などに基づいて通信相手がないことを判断してもよい。これにより、通信装置の設計自由度の向上が図られるようになる。
 ・上記各実施形態では、各ECUに通信要否判定部が設けられている場合について例示した。しかしこれに限らず、通信要否判定部は、一部のECUに設けられていてもよい。これによっても、通信用判定部を有するECUの電力消費量の抑制が図られるようになる。
 ・上記第2の実施形態では、各ECU21~42及びGW50の記憶部54に、車両状態と、そのときに起動されるECUとの関係が設定されている場合について例示した。しかしこれに限らず、こうした設定は、必要とされるECUのみや、GWのみに設定されていてもよい。そして、必要とされるECUやGWのみがこうした設定を参照することを通じて情報通信の要否を判断するようにしてもよい。これにより、通信システムの設計自由の向上が図られるようになる。
 ・上記第1,3の実施形態の各ECU11,12に保持されている情報通信の要否の判断に用いられる情報として、第2の実施形態に示されるリスト81と同様の情報の少なくとも一部が保持されていてもよい。
 ・上記第1,2の実施形態では、ACKエラーの有無を判断した後に、車両状態を判断する場合について例示した。しかしこれに限らず、情報通信の要否の判断及び必要に応じてのACKエラーの有無の判断が行われるのであれば、車両状態を判断してからACKエラーの有無を判断してもよいし、これら判断を並行して行ってもよい。これにより、通信装置の設計自由度の向上が図られるようになる。
 ・上記第3の実施形態では、ACKエラーの有無を判断した後に、通信履歴を確認する場合について例示した。しかしこれに限らず、情報通信の要否の判断及び必要に応じてのACKエラーの有無の判断が行われるのであれば、通信履歴を確認してからACKエラーの有無を判断してもよいし、これら判断を並行して行ってもよい。これにより、通信装置の設計自由度の向上が図られるようになる。
 ・上記各実施形態では、通信用バスがCANプロトコルに基づくバスである場合について例示した。しかしこれに限らず、複数の通信装置が接続される通信用バスであって、通信装置が受信側の有無を判断することができるのであれば、通信プロトコルは、CANプロトコル以外のプロトコルであってもよい。これにより、通信システムの適用可能性の拡大が図られる。
 ・上記各実施形態では、車両1,2はプラグインハイブリッド自動車や電気自動車である場合について例示した。しかしこれに限らず、車両は、ハイブリッド自動車やエンジンのみを駆動源とする自動車であってもよい。また、この通信システムは自動車車両以外の移動体、例えば船舶、鉄道、産業機械やロボットなどに設けられていてもよい。

Claims (11)

  1.  外部機器に接続されて該外部機器から外部情報を取得するとともに、通信回線に接続されて該通信回線を介してCANプロトコルに規定される通信データに基づく情報通信を行う通信装置であって、
     前記外部機器から取得する外部情報に基づいて前記通信回線を介しての情報通信の要否を判断する通信要否判断部と、
     前記通信要否判断部による情報通信の要否の判断が「要」であること及び通信エラーが検出されることを条件に情報通信を一定期間停止してその一定期間が経過した後に情報通信を再開する一方、前記通信要否判断部による情報通信の要否の判断が「否」であることを条件に予め定めた送信再開条件が成立するまで通信データの送信を停止する通信制御部と
     を備えることを特徴とする通信装置。
  2.  前記通信制御部は、前記通信要否判断部による情報通信の要否の判断が「否」であるとき通信データの受信を継続し、前記送信再開条件は、前記通信制御部が前記通信回線を介して通信データを受信することを含む
     請求項1に記載の通信装置。
  3.  前記送信再開条件は、前記通信要否判断部により前記通信回線を介しての情報通信が必要であると判断されることを含む
     請求項1又は2に記載の通信装置。
  4.  請求項1~3のいずれか一項に記載の通信装置において、
     当該通信装置が蓄電池を動力源に用いる車両に搭載されている
     ことを特徴とする通信装置。
  5.  前記通信要否判断部は、前記外部情報により車両の蓄電池が充電中であることを検知することに基づいて、前記通信回線を介しての情報通信が不要であると判断する
     請求項4に記載の通信装置。
  6.  前記通信要否判断部は、前記外部情報により前記通信回線を介しての情報通信を不要とする機器のみが操作されたことを検知することに基づいて、前記通信回線を介しての情報通信が不要であると判断する
     請求項1~5のいずれか一項に記載の通信装置。
  7.  前記通信回線を介しての情報通信を不要とする機器のみの操作として、ドアの開閉操作及びシートポジションの操作の少なくとも一方の操作が含まれる
     請求項6に記載の通信装置。
  8.  前記通信装置は、前記通信回線を介して情報通信をする通信相手の有無を示す設定情報を取得される外部情報に対応して有しており、前記通信要否判断部は、この設定情報と前記取得される外部情報とに基づいて前記通信回線を介しての情報通信の要否を判断する
     請求項1~7のいずれか一項に記載の通信装置。
  9.  前記通信要否判断部は、前記通信回線を介して行った情報通信をそのときの外部情報に対応付けて履歴として記憶するとともに、前記記憶した履歴を参照することに基づいて取得する外部情報に対応する通信相手の有無を判定する
     請求項1~8のいずれか一項に記載の通信装置。
  10.  外部機器に接続されて該外部機器から外部情報を取得するとともに、通信回線に接続されて該通信回線を介してCANプロトコルに規定される通信データに基づく情報通信を行う通信装置に用いられる通信方法であって、
     前記外部機器から取得する外部情報に基づいて前記通信回線を介しての情報通信の要否を判断する通信要否判断工程と、
     前記情報通信の要否の判断が「要」であること及び通信エラーが検出されたことを条件に情報通信を一定期間停止してその一定期間が経過した後に情報通信を再開する一方、前記情報通信の要否の判断が「否」であることを条件に予め定めた送信再開条件が成立するまで通信データの送信を停止する通信制御工程と
     を備えることを特徴とする通信方法。
  11.  外部機器に接続されて該外部機器から外部情報を取得するとともに、通信回線に接続されて該通信回線を介してCANプロトコルに規定される通信データに基づく情報通信を行う通信装置が前記通信回線に複数接続されてなる通信システムであって、
     前記通信装置として、請求項1~9のいずれか一項に記載の通信装置を備える
     ことを特徴とする通信システム。
PCT/JP2015/055868 2014-03-10 2015-02-27 通信装置、通信方法及び通信システム Ceased WO2015137164A1 (ja)

Priority Applications (4)

Application Number Priority Date Filing Date Title
KR1020167027034A KR101851092B1 (ko) 2014-03-10 2015-02-27 통신 장치, 통신 방법 및 통신 시스템
EP15760750.8A EP3119038B1 (en) 2014-03-10 2015-02-27 Communication device, communication method and communication system
CN201580012543.8A CN106464552B (zh) 2014-03-10 2015-02-27 通信装置、通信方法以及通信系统
US15/124,214 US10243760B2 (en) 2014-03-10 2015-02-27 Communication device, communication method, and communication system

Applications Claiming Priority (2)

Application Number Priority Date Filing Date Title
JP2014046290A JP5958975B2 (ja) 2014-03-10 2014-03-10 通信装置、通信方法及び通信システム
JP2014-046290 2014-03-10

Publications (1)

Publication Number Publication Date
WO2015137164A1 true WO2015137164A1 (ja) 2015-09-17

Family

ID=54071612

Family Applications (1)

Application Number Title Priority Date Filing Date
PCT/JP2015/055868 Ceased WO2015137164A1 (ja) 2014-03-10 2015-02-27 通信装置、通信方法及び通信システム

Country Status (6)

Country Link
US (1) US10243760B2 (ja)
EP (1) EP3119038B1 (ja)
JP (1) JP5958975B2 (ja)
KR (1) KR101851092B1 (ja)
CN (1) CN106464552B (ja)
WO (1) WO2015137164A1 (ja)

Cited By (2)

* Cited by examiner, † Cited by third party
Publication number Priority date Publication date Assignee Title
US9927376B2 (en) 2016-03-15 2018-03-27 Toshiba Memory Corporation Template defect inspection method
US12483441B2 (en) * 2021-12-17 2025-11-25 Nxp B.V. Apparatus for a controller area network

Families Citing this family (63)

* Cited by examiner, † Cited by third party
Publication number Priority date Publication date Assignee Title
US10599840B2 (en) * 2016-07-21 2020-03-24 Ramot At Tel Aviv University Ltd. Anti-spoofing defense system for a can bus
JP6485437B2 (ja) * 2016-12-12 2019-03-20 トヨタ自動車株式会社 車載通信システム
JP6515911B2 (ja) * 2016-12-16 2019-05-22 トヨタ自動車株式会社 車載ネットワークシステム
US10369988B2 (en) 2017-01-13 2019-08-06 Ford Global Technologies, Llc Autonomous parking of vehicles inperpendicular parking spots
CA3048250C (en) 2017-01-25 2021-04-13 Tony FAIRWEATHER Management system for commercial electric vehicles
JP6406559B2 (ja) 2017-03-17 2018-10-17 本田技研工業株式会社 通信装置、通信方法、およびプログラム
US10683034B2 (en) 2017-06-06 2020-06-16 Ford Global Technologies, Llc Vehicle remote parking systems and methods
US10585430B2 (en) 2017-06-16 2020-03-10 Ford Global Technologies, Llc Remote park-assist authentication for vehicles
US10775781B2 (en) 2017-06-16 2020-09-15 Ford Global Technologies, Llc Interface verification for vehicle remote park-assist
US10234868B2 (en) 2017-06-16 2019-03-19 Ford Global Technologies, Llc Mobile device initiation of vehicle remote-parking
WO2019017056A1 (ja) * 2017-07-19 2019-01-24 パナソニック インテレクチュアル プロパティ コーポレーション オブ アメリカ 車載中継装置、中継方法及びプログラム
US10281921B2 (en) 2017-10-02 2019-05-07 Ford Global Technologies, Llc Autonomous parking of vehicles in perpendicular parking spots
US10580304B2 (en) 2017-10-02 2020-03-03 Ford Global Technologies, Llc Accelerometer-based external sound monitoring for voice controlled autonomous parking
US10627811B2 (en) 2017-11-07 2020-04-21 Ford Global Technologies, Llc Audio alerts for remote park-assist tethering
US10336320B2 (en) 2017-11-22 2019-07-02 Ford Global Technologies, Llc Monitoring of communication for vehicle remote park-assist
US10578676B2 (en) 2017-11-28 2020-03-03 Ford Global Technologies, Llc Vehicle monitoring of mobile device state-of-charge
US10585431B2 (en) 2018-01-02 2020-03-10 Ford Global Technologies, Llc Mobile device tethering for a remote parking assist system of a vehicle
US10583830B2 (en) 2018-01-02 2020-03-10 Ford Global Technologies, Llc Mobile device tethering for a remote parking assist system of a vehicle
US10814864B2 (en) 2018-01-02 2020-10-27 Ford Global Technologies, Llc Mobile device tethering for a remote parking assist system of a vehicle
US10974717B2 (en) 2018-01-02 2021-04-13 Ford Global Technologies, I.LC Mobile device tethering for a remote parking assist system of a vehicle
US11148661B2 (en) 2018-01-02 2021-10-19 Ford Global Technologies, Llc Mobile device tethering for a remote parking assist system of a vehicle
US10737690B2 (en) 2018-01-02 2020-08-11 Ford Global Technologies, Llc Mobile device tethering for a remote parking assist system of a vehicle
US10688918B2 (en) 2018-01-02 2020-06-23 Ford Global Technologies, Llc Mobile device tethering for a remote parking assist system of a vehicle
US10684773B2 (en) 2018-01-03 2020-06-16 Ford Global Technologies, Llc Mobile device interface for trailer backup-assist
US10747218B2 (en) 2018-01-12 2020-08-18 Ford Global Technologies, Llc Mobile device tethering for remote parking assist
US10917748B2 (en) 2018-01-25 2021-02-09 Ford Global Technologies, Llc Mobile device tethering for vehicle systems based on variable time-of-flight and dead reckoning
JP6878324B2 (ja) * 2018-01-31 2021-05-26 日立Astemo株式会社 車載ネットワークシステム、電子制御装置
US10684627B2 (en) 2018-02-06 2020-06-16 Ford Global Technologies, Llc Accelerometer-based external sound monitoring for position aware autonomous parking
US11188070B2 (en) 2018-02-19 2021-11-30 Ford Global Technologies, Llc Mitigating key fob unavailability for remote parking assist systems
US10507868B2 (en) 2018-02-22 2019-12-17 Ford Global Technologies, Llc Tire pressure monitoring for vehicle park-assist
US10732622B2 (en) 2018-04-05 2020-08-04 Ford Global Technologies, Llc Advanced user interaction features for remote park assist
US10683004B2 (en) 2018-04-09 2020-06-16 Ford Global Technologies, Llc Input signal management for vehicle park-assist
US10793144B2 (en) 2018-04-09 2020-10-06 Ford Global Technologies, Llc Vehicle remote park-assist communication counters
US10759417B2 (en) 2018-04-09 2020-09-01 Ford Global Technologies, Llc Input signal management for vehicle park-assist
US10493981B2 (en) 2018-04-09 2019-12-03 Ford Global Technologies, Llc Input signal management for vehicle park-assist
US10232673B1 (en) 2018-06-01 2019-03-19 Ford Global Technologies, Llc Tire pressure monitoring with vehicle park-assist
JP7018827B2 (ja) * 2018-06-13 2022-02-14 本田技研工業株式会社 通信システム及び車両
KR102646674B1 (ko) * 2018-09-04 2024-03-13 현대자동차주식회사 차량 및 그 제어 방법
US10384605B1 (en) 2018-09-04 2019-08-20 Ford Global Technologies, Llc Methods and apparatus to facilitate pedestrian detection during remote-controlled maneuvers
US10717432B2 (en) 2018-09-13 2020-07-21 Ford Global Technologies, Llc Park-assist based on vehicle door open positions
US10821972B2 (en) 2018-09-13 2020-11-03 Ford Global Technologies, Llc Vehicle remote parking assist systems and methods
GB201815120D0 (en) * 2018-09-17 2018-10-31 Sec Dep For Foreign And Commonwealth Affairs A method and device for transferring electronic information
WO2020059015A1 (ja) * 2018-09-18 2020-03-26 三菱電機株式会社 監視制御装置及び監視制御方法
US10529233B1 (en) 2018-09-24 2020-01-07 Ford Global Technologies Llc Vehicle and method for detecting a parking space via a drone
US10967851B2 (en) 2018-09-24 2021-04-06 Ford Global Technologies, Llc Vehicle system and method for setting variable virtual boundary
US10908603B2 (en) 2018-10-08 2021-02-02 Ford Global Technologies, Llc Methods and apparatus to facilitate remote-controlled maneuvers
US10628687B1 (en) 2018-10-12 2020-04-21 Ford Global Technologies, Llc Parking spot identification for vehicle park-assist
US11396246B2 (en) * 2018-10-15 2022-07-26 Ford Global Technologies, Llc Energy-consumption detection of vehicles in an off state
US11097723B2 (en) 2018-10-17 2021-08-24 Ford Global Technologies, Llc User interfaces for vehicle remote park assist
US11137754B2 (en) 2018-10-24 2021-10-05 Ford Global Technologies, Llc Intermittent delay mitigation for remote vehicle operation
US11789442B2 (en) 2019-02-07 2023-10-17 Ford Global Technologies, Llc Anomalous input detection
US11195344B2 (en) 2019-03-15 2021-12-07 Ford Global Technologies, Llc High phone BLE or CPU burden detection and notification
CN113647064B (zh) * 2019-04-01 2022-12-27 株式会社电装 信息处理装置
US11275368B2 (en) 2019-04-01 2022-03-15 Ford Global Technologies, Llc Key fobs for vehicle remote park-assist
US11169517B2 (en) 2019-04-01 2021-11-09 Ford Global Technologies, Llc Initiation of vehicle remote park-assist with key fob
WO2021014995A1 (ja) * 2019-07-19 2021-01-28 日立オートモティブシステムズ株式会社 ゲートウェイ装置、データフレーム送信方法およびプログラム
CN111042970B (zh) * 2019-12-11 2021-11-30 浙江锋锐发动机有限公司 一种车辆冷起动控制方法及其装置
DE102020006328A1 (de) 2019-12-16 2021-06-17 Deutz Aktiengesellschaft CAN-Kommunikationsprotokollsystem zum Austausch von Kraftstoffverbrauch und/oder betriebsflüssigkeitsverbrauchs- und geräuschoptimierenden Botschaften zwischen An- und Abtriebskomponenten, welche gleichfalls dazu beitragen, die Gesamtverfügbarkeit des Systems zu erhöhen und Verfahren
EP3838685A1 (de) * 2019-12-16 2021-06-23 DEUTZ Aktiengesellschaft Can-kommunikationsprotokollsystem zum austausch von kraftstoffverbrauch und/oder betriebsflüssigkeitsverbrauchs- und geräuschoptimierenden botschaften zwischen an- und abtriebskomponenten, welche gleichfalls dazu beitragen, die gesamtverfügbarkeit des systems zu erhöhen und verfahren
JP7336074B2 (ja) 2020-03-04 2023-08-31 スズキ株式会社 中継器
JP7314858B2 (ja) * 2020-04-30 2023-07-26 トヨタ自動車株式会社 車両用制御システム
CN113472620A (zh) * 2021-06-23 2021-10-01 重庆长安汽车股份有限公司 一种车内消息认证新鲜值的管理方法及系统
JP7753961B2 (ja) * 2022-04-04 2025-10-15 マツダ株式会社 車載ゲートウェイ装置及びインジェクション攻撃の検出方法

Citations (2)

* Cited by examiner, † Cited by third party
Publication number Priority date Publication date Assignee Title
JP2001339412A (ja) * 2000-05-26 2001-12-07 Mitsubishi Motors Corp 車両用ネットワークの通信復帰判定方法
JP2012204934A (ja) * 2011-03-24 2012-10-22 Fujitsu Ten Ltd 通信装置および通信システム

Family Cites Families (7)

* Cited by examiner, † Cited by third party
Publication number Priority date Publication date Assignee Title
JP3709769B2 (ja) * 2000-07-27 2005-10-26 株式会社デンソー 異常検出システム
JP4368902B2 (ja) * 2007-04-20 2009-11-18 富士通テン株式会社 エコラン制御装置及び制御方法
JP4407752B2 (ja) * 2008-01-10 2010-02-03 トヨタ自動車株式会社 故障箇所検出装置及び通信装置並びに故障箇所検出方法
WO2010052892A1 (ja) * 2008-11-04 2010-05-14 株式会社オートネットワーク技術研究所 通信装置、中継装置、通信システム及び通信方法
JP5717240B2 (ja) 2010-08-09 2015-05-13 国立大学法人名古屋大学 通信システム及び通信装置
US20120051241A1 (en) 2010-08-31 2012-03-01 Denso Corporation Communication system with a plurality of nodes communicably connected for communication based on NRZ (non return to zero) code
US8934351B2 (en) * 2011-03-24 2015-01-13 Fujitsu Ten Limited Communication apparatus and communication system

Patent Citations (2)

* Cited by examiner, † Cited by third party
Publication number Priority date Publication date Assignee Title
JP2001339412A (ja) * 2000-05-26 2001-12-07 Mitsubishi Motors Corp 車両用ネットワークの通信復帰判定方法
JP2012204934A (ja) * 2011-03-24 2012-10-22 Fujitsu Ten Ltd 通信装置および通信システム

Cited By (2)

* Cited by examiner, † Cited by third party
Publication number Priority date Publication date Assignee Title
US9927376B2 (en) 2016-03-15 2018-03-27 Toshiba Memory Corporation Template defect inspection method
US12483441B2 (en) * 2021-12-17 2025-11-25 Nxp B.V. Apparatus for a controller area network

Also Published As

Publication number Publication date
CN106464552A (zh) 2017-02-22
US20170026198A1 (en) 2017-01-26
JP2015168376A (ja) 2015-09-28
EP3119038A1 (en) 2017-01-18
EP3119038A4 (en) 2017-03-29
KR101851092B1 (ko) 2018-04-20
CN106464552B (zh) 2019-06-14
KR20160129042A (ko) 2016-11-08
JP5958975B2 (ja) 2016-08-02
US10243760B2 (en) 2019-03-26
EP3119038B1 (en) 2019-07-03

Similar Documents

Publication Publication Date Title
JP5958975B2 (ja) 通信装置、通信方法及び通信システム
US9819562B2 (en) Gateway device with priority arbitration function
US9224251B2 (en) Gateway device
CN104115452B (zh) 通信系统、中继装置以及电源控制方法
CN108075797B (zh) 车载通信系统
JP6460080B2 (ja) 車載ネットワークシステム
JP2015199444A (ja) 電子制御装置
US9411609B2 (en) Electronic control apparatus
JP2009296280A (ja) 通信ネットワークシステム及びその通信制御方法
CN111176251B (zh) 网络系统
JP2020022019A (ja) 車両システム
JP2006287739A (ja) ゲートウェイ装置
CN112217703B (zh) 车载网络系统
JP2019073106A (ja) 電子制御装置
JP2013129291A (ja) 車両用通信制御装置、車両用通信ネットワークの制御方法、車両用通信ネットワークの制御プログラム
JP2014187544A (ja) 通信システム、及び通信ノード並びに通信方法
JP5867350B2 (ja) 車両用電子制御装置
JP4361540B2 (ja) ゲートウェイ装置、データ転送方法及びプログラム
JP2005341495A (ja) ゲートウェイ装置および方法
US12143241B2 (en) Vehicle-mounted apparatus and a method for relaying
JP2023173734A (ja) データ通信システム
JP2014125203A (ja) 中継装置、及び通信システム並びに通信方法
JP2008167353A (ja) ゲートウェイ装置及びデータ中継方法
KR20150018186A (ko) 차량 제어기의 리프로그래밍 시스템

Legal Events

Date Code Title Description
121 Ep: the epo has been informed by wipo that ep was designated in this application

Ref document number: 15760750

Country of ref document: EP

Kind code of ref document: A1

WWE Wipo information: entry into national phase

Ref document number: 15124214

Country of ref document: US

NENP Non-entry into the national phase

Ref country code: DE

REEP Request for entry into the european phase

Ref document number: 2015760750

Country of ref document: EP

WWE Wipo information: entry into national phase

Ref document number: 2015760750

Country of ref document: EP

ENP Entry into the national phase

Ref document number: 20167027034

Country of ref document: KR

Kind code of ref document: A