WO2015115615A1 - 自動車用樹脂部品及びその製造方法 - Google Patents

自動車用樹脂部品及びその製造方法 Download PDF

Info

Publication number
WO2015115615A1
WO2015115615A1 PCT/JP2015/052747 JP2015052747W WO2015115615A1 WO 2015115615 A1 WO2015115615 A1 WO 2015115615A1 JP 2015052747 W JP2015052747 W JP 2015052747W WO 2015115615 A1 WO2015115615 A1 WO 2015115615A1
Authority
WO
WIPO (PCT)
Prior art keywords
resin
plating film
thermoplastic resin
register
automotive
Prior art date
Legal status (The legal status is an assumption and is not a legal conclusion. Google has not performed a legal analysis and makes no representation as to the accuracy of the status listed.)
Ceased
Application number
PCT/JP2015/052747
Other languages
English (en)
French (fr)
Japanese (ja)
Inventor
遊佐 敦
智史 山本
功 久保田
雅 細川
Current Assignee (The listed assignees may be inaccurate. Google has not performed a legal analysis and makes no representation or warranty as to the accuracy of the list.)
Maxell Ltd
Original Assignee
Hitachi Maxell Ltd
Priority date (The priority date is an assumption and is not a legal conclusion. Google has not performed a legal analysis and makes no representation as to the accuracy of the date listed.)
Filing date
Publication date
Application filed by Hitachi Maxell Ltd filed Critical Hitachi Maxell Ltd
Publication of WO2015115615A1 publication Critical patent/WO2015115615A1/ja
Anticipated expiration legal-status Critical
Ceased legal-status Critical Current

Links

Images

Classifications

    • BPERFORMING OPERATIONS; TRANSPORTING
    • B60VEHICLES IN GENERAL
    • B60NSEATS SPECIALLY ADAPTED FOR VEHICLES; VEHICLE PASSENGER ACCOMMODATION NOT OTHERWISE PROVIDED FOR
    • B60N3/00Arrangements or adaptations of other passenger fittings, not otherwise provided for
    • B60N3/02Arrangements or adaptations of other passenger fittings, not otherwise provided for of hand grips or straps
    • CCHEMISTRY; METALLURGY
    • C23COATING METALLIC MATERIAL; COATING MATERIAL WITH METALLIC MATERIAL; CHEMICAL SURFACE TREATMENT; DIFFUSION TREATMENT OF METALLIC MATERIAL; COATING BY VACUUM EVAPORATION, BY SPUTTERING, BY ION IMPLANTATION OR BY CHEMICAL VAPOUR DEPOSITION, IN GENERAL; INHIBITING CORROSION OF METALLIC MATERIAL OR INCRUSTATION IN GENERAL
    • C23CCOATING METALLIC MATERIAL; COATING MATERIAL WITH METALLIC MATERIAL; SURFACE TREATMENT OF METALLIC MATERIAL BY DIFFUSION INTO THE SURFACE, BY CHEMICAL CONVERSION OR SUBSTITUTION; COATING BY VACUUM EVAPORATION, BY SPUTTERING, BY ION IMPLANTATION OR BY CHEMICAL VAPOUR DEPOSITION, IN GENERAL
    • C23C18/00Chemical coating by decomposition of either liquid compounds or solutions of the coating forming compounds, without leaving reaction products of surface material in the coating; Contact plating
    • C23C18/16Chemical coating by decomposition of either liquid compounds or solutions of the coating forming compounds, without leaving reaction products of surface material in the coating; Contact plating by reduction or substitution, e.g. electroless plating
    • C23C18/1601Process or apparatus
    • C23C18/1603Process or apparatus coating on selected surface areas
    • CCHEMISTRY; METALLURGY
    • C23COATING METALLIC MATERIAL; COATING MATERIAL WITH METALLIC MATERIAL; CHEMICAL SURFACE TREATMENT; DIFFUSION TREATMENT OF METALLIC MATERIAL; COATING BY VACUUM EVAPORATION, BY SPUTTERING, BY ION IMPLANTATION OR BY CHEMICAL VAPOUR DEPOSITION, IN GENERAL; INHIBITING CORROSION OF METALLIC MATERIAL OR INCRUSTATION IN GENERAL
    • C23CCOATING METALLIC MATERIAL; COATING MATERIAL WITH METALLIC MATERIAL; SURFACE TREATMENT OF METALLIC MATERIAL BY DIFFUSION INTO THE SURFACE, BY CHEMICAL CONVERSION OR SUBSTITUTION; COATING BY VACUUM EVAPORATION, BY SPUTTERING, BY ION IMPLANTATION OR BY CHEMICAL VAPOUR DEPOSITION, IN GENERAL
    • C23C18/00Chemical coating by decomposition of either liquid compounds or solutions of the coating forming compounds, without leaving reaction products of surface material in the coating; Contact plating
    • C23C18/16Chemical coating by decomposition of either liquid compounds or solutions of the coating forming compounds, without leaving reaction products of surface material in the coating; Contact plating by reduction or substitution, e.g. electroless plating
    • C23C18/1601Process or apparatus
    • C23C18/1633Process of electroless plating
    • C23C18/1635Composition of the substrate
    • C23C18/1639Substrates other than metallic, e.g. inorganic or organic or non-conductive
    • C23C18/1641Organic substrates, e.g. resin, plastic
    • BPERFORMING OPERATIONS; TRANSPORTING
    • B60VEHICLES IN GENERAL
    • B60KARRANGEMENT OR MOUNTING OF PROPULSION UNITS OR OF TRANSMISSIONS IN VEHICLES; ARRANGEMENT OR MOUNTING OF PLURAL DIVERSE PRIME-MOVERS IN VEHICLES; AUXILIARY DRIVES FOR VEHICLES; INSTRUMENTATION OR DASHBOARDS FOR VEHICLES; ARRANGEMENTS IN CONNECTION WITH COOLING, AIR INTAKE, GAS EXHAUST OR FUEL SUPPLY OF PROPULSION UNITS IN VEHICLES
    • B60K20/00Arrangement or mounting of change-speed gearing control devices in vehicles
    • B60K20/02Arrangement or mounting of change-speed gearing control devices in vehicles of initiating means
    • CCHEMISTRY; METALLURGY
    • C23COATING METALLIC MATERIAL; COATING MATERIAL WITH METALLIC MATERIAL; CHEMICAL SURFACE TREATMENT; DIFFUSION TREATMENT OF METALLIC MATERIAL; COATING BY VACUUM EVAPORATION, BY SPUTTERING, BY ION IMPLANTATION OR BY CHEMICAL VAPOUR DEPOSITION, IN GENERAL; INHIBITING CORROSION OF METALLIC MATERIAL OR INCRUSTATION IN GENERAL
    • C23CCOATING METALLIC MATERIAL; COATING MATERIAL WITH METALLIC MATERIAL; SURFACE TREATMENT OF METALLIC MATERIAL BY DIFFUSION INTO THE SURFACE, BY CHEMICAL CONVERSION OR SUBSTITUTION; COATING BY VACUUM EVAPORATION, BY SPUTTERING, BY ION IMPLANTATION OR BY CHEMICAL VAPOUR DEPOSITION, IN GENERAL
    • C23C18/00Chemical coating by decomposition of either liquid compounds or solutions of the coating forming compounds, without leaving reaction products of surface material in the coating; Contact plating
    • C23C18/16Chemical coating by decomposition of either liquid compounds or solutions of the coating forming compounds, without leaving reaction products of surface material in the coating; Contact plating by reduction or substitution, e.g. electroless plating
    • C23C18/1601Process or apparatus
    • C23C18/1633Process of electroless plating
    • C23C18/1646Characteristics of the product obtained
    • C23C18/165Multilayered product
    • C23C18/1653Two or more layers with at least one layer obtained by electroless plating and one layer obtained by electroplating
    • CCHEMISTRY; METALLURGY
    • C25ELECTROLYTIC OR ELECTROPHORETIC PROCESSES; APPARATUS THEREFOR
    • C25DPROCESSES FOR THE ELECTROLYTIC OR ELECTROPHORETIC PRODUCTION OF COATINGS; ELECTROFORMING; APPARATUS THEREFOR
    • C25D5/00Electroplating characterised by the process; Pretreatment or after-treatment of workpieces
    • C25D5/10Electroplating with more than one layer of the same or of different metals
    • C25D5/12Electroplating with more than one layer of the same or of different metals at least one layer being of nickel or chromium
    • C25D5/14Electroplating with more than one layer of the same or of different metals at least one layer being of nickel or chromium two or more layers being of nickel or chromium, e.g. duplex or triplex layers

Definitions

  • the present invention relates to an automotive resin part in which a plating film is partially formed and a method for manufacturing the same.
  • a wet plating method is known as a method for forming a metal film on a resin molded body at a low cost.
  • a method of manufacturing a resin part partially formed with a plating film using a wet plating method a method of performing masking has been common.
  • the masking process and the masking peeling process are factors that increase the cost.
  • the butadiene rubber component is selectively eroded by the etching solution, and wet plating becomes possible.
  • PC or acrylic resin has etching resistance, it is not affected by the etching solution and the wettability of the plating solution is low. For this reason, even if the ABS / PC integrated molded product is immersed in the plating solution without masking, a plating film is formed only on the ABS resin, and no plating film is formed on the PC or acrylic resin.
  • Patent Document 2 As another method of manufacturing resin parts with a partially plated film, a two-color molding method using a resin containing a metal catalyst for electroless plating and a resin that does not contain a metal catalyst is also proposed.
  • Patent Document 2 According to this method, it is possible to form the plating film only on the site containing the metal catalyst.
  • a molded body having a plating film and a molded body having no plating film are manufactured separately and then partially plated to assemble.
  • a method of manufacturing a resin part on which a film is formed is also performed.
  • JP 2008-290295 A Japanese Patent No. 3004689
  • ABS resin has low mechanical strength and heat resistance
  • PC has low chemical resistance
  • acrylic resin has low heat resistance. Therefore, it has been difficult to use the ABS / PC integrated molded product as a resin component for automobiles that require long-term reliability in the harsh indoor environment of automobiles.
  • automotive resin parts there may be a demand for a high-quality appearance with matte in the part where the plating film is not formed, but the part formed by PC can obtain such an appearance. could not.
  • the conventional electroless plating method disclosed in Patent Document 1 has a problem of high environmental load because hexavalent chromic acid, permanganic acid, or the like is used in etching as a pretreatment for plating.
  • the method disclosed in Patent Document 2 can form a molded body using a resin having high rigidity, heat resistance, and chemical resistance, such as polyphenylene sulfide.
  • a resin having high rigidity, heat resistance, and chemical resistance such as polyphenylene sulfide.
  • Resin parts manufactured by assembling, not an integrally molded product are expensive, and there is a risk that the design property may be lowered due to a step at the interface between the part having the plating film and the part not having the plating film. There is a possibility that a squeak noise may occur, and further, the chemical resistance of the interface is also a problem.
  • the present invention solves the above-mentioned problems, has high rigidity, heat resistance and chemical resistance, can ensure long-term reliability in the harsh indoor environment of an automobile, and is partially plated with excellent design.
  • the present invention provides low-cost automotive resin parts on which a film is formed.
  • a resin part for an automobile having a first portion where a plating film is formed on the surface and a second portion where the plating film is not formed on the surface.
  • the first portion includes a first thermoplastic resin containing polyamide, a block copolymer having a hydrophilic segment, and metal fine particles
  • the second portion includes a second thermoplastic resin
  • the water absorption rate of the first part when immersed in water at 23 ° C. for 24 hours is 0.5% by weight or more and 3.0% by weight or less, and the water absorption rate of the second part is 2.0% by weight. %
  • the automotive resin component is any one of a register for an air conditioner, a component constituting the register for an air conditioner, a shift knob, and an assist grip. .
  • the part constituting the air conditioner register may be any one of a register bezel, a register blade, a slide knob, and a dial knob.
  • the bending elastic modulus at room temperature of the part with the larger occupied volume in the automotive resin part may be 5 GPa or more.
  • the first thermoplastic resin may contain at least one of mineral reinforced polyamide or glass fiber reinforced polyamide.
  • the second thermoplastic resin may contain polyamide.
  • the second thermoplastic resin may be at least one selected from the group consisting of polyamide, olefin elastomer, polyvinyl chloride, and an alloy resin of polyamide and ABS resin.
  • the first thermoplastic resin may include nylon 6, and the second thermoplastic resin may include aromatic nylon such as MXD nylon 6. The difference between the melting point of the first thermoplastic resin and the melting point of the second thermoplastic resin may be 30 ° C. or less.
  • the second part may not contain the metal fine particles.
  • the metal fine particles contained in the first part may be palladium.
  • part may be shape
  • the plating film may contain nickel phosphorus or nickel boron.
  • the domain of the block copolymer containing the metal fine particles may be present in the matrix made of the first thermoplastic resin. The difference between the water absorption rate of the first part and the water absorption rate of the second part may be 2.9% by weight or less.
  • the automotive resin component is a register blade of a register for an air conditioner, and the register blade has a plate-like main body extending in a predetermined extending direction,
  • the deflection amount of the central portion may be 5 mm or less.
  • a method for manufacturing an automotive resin component according to the first aspect comprising: a first thermoplastic resin; and a resin pellet containing the block copolymer and the metal fine particles. Plasticizing and melting into a first molten resin, plasticizing and melting the second thermoplastic resin into a second molten resin, the first molten resin and the second molten resin And forming a resin member having a first part made of the first molten resin and a second part made of the second molten resin, and forming the resin member on the surface of the first part of the resin member.
  • a method of manufacturing a resin part for an automobile which includes forming a plating film.
  • the method further comprises producing the resin pellet, wherein the resin pellet is produced by contacting the block copolymer with pressurized carbon dioxide in which the metal fine particles are dissolved or dispersed. It may include infiltrating the metal fine particles into the copolymer.
  • the manufacturing method of this aspect may form the said resin member by integrally molding a 1st site
  • the automotive resin part of the present invention having the first part having the plating film formed on the surface and the second part having no plating film formed on the surface has a clear contrast with and without the plating film and is designed. Is excellent. Moreover, the rigidity, heat resistance, and chemical resistance are high, and long-term reliability can be ensured in the harsh indoor environment of an automobile.
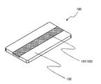
  • FIG. 1 It is a figure of the resin component which has a plating film of an embodiment. It is a cross-sectional schematic diagram of the resin component which has the plating film of embodiment.
  • (A) is a photograph of the register for the air conditioner of the embodiment
  • (b) is a photograph of the register blade of the register for the air conditioner of the embodiment
  • (c) is a photograph of the air conditioner of the embodiment. It is the photograph of the slide knob of the register for conditioners.
  • FIG. 1 It is a figure of a register brace of a register for air conditioners of an embodiment, (a) is a figure which looked at a register brate from the surface of a plate-like body, and (b) is a plate-like body of a register brace It is the figure seen from the side in which the 1st site
  • (A) And (b) is a figure of the slide knob of the register
  • (A) And (b) is a figure of the register bezel of the register
  • (A) And (b) is a figure of the assist grip of embodiment. It is a flowchart explaining the manufacturing method of the resin component of embodiment. (A)-(e) is a figure explaining the two-color molding
  • the automotive resin component of the present invention is a resin component partially formed with a plating film.
  • an evaluation sample resin part 100 shown in FIG. 1, which will be described later, will be described.
  • the resin component 100 has a first portion 101 where the plating film 103 is formed on the surface and a second portion 102 where the plating film is not formed on the surface, and the first portion 101 and the second portion
  • the part 102 is integrally molded (integrated molding).
  • the first portion 101 where the plating film 103 is formed on the surface includes a first thermoplastic resin, a block copolymer having a hydrophilic segment, and metal fine particles.
  • the first thermoplastic resin includes polyamide. Since polyamide has high water absorption, penetration of the plating solution is promoted and the plating film grows stably in the first part. Moreover, since polyamide is excellent in rigidity, heat resistance and chemical resistance, the rigidity, heat resistance and chemical resistance of resin parts can be ensured.
  • the first thermoplastic resin preferably has a polyamide as a main component.
  • the first thermoplastic resin preferably contains 50% to 100% by weight of polyamide, and 80% to 98% by weight. More preferably it is included.
  • the polyamide contained in the first thermoplastic resin is not particularly limited, and nylon 6 (PA6), nylon 66 (PA66), nylon 12 (PA12), nylon 11 (PA11), nylon 6T (PA6T), nylon MXD6 (PAMXD6: polyamide using meta-xylenediamine (MXDA).
  • MXD nylon 6 nylon 666
  • nylon 6.66 copolymer nylon 6.66 copolymer, and the like
  • Nylon 6 which has high water absorption and easily swells is preferable because of the ease of forming a plating film.
  • the first thermoplastic resin may or may not contain a resin other than polyamide.
  • the resin other than polyamide is not particularly limited, and polycarbonate, polypropylene, polymethyl methacrylate and the like can be used.
  • the first thermoplastic resin may be a non-reinforced resin not containing a filler such as mineral or glass fiber, a mineral reinforced resin containing mineral or the like, a fiber containing glass fiber (GF) or carbon fiber or the like. It may be a reinforced resin. In order to enhance the designability, it is preferable to use a mineral reinforced resin having a spherical particle shape and inconspicuous filler, and in the case where it is necessary to increase the rigidity, it is preferable to use a glass fiber reinforced resin.
  • the first thermoplastic resin when the thickness of the first portion is thick, it is preferable to use a fiber reinforced resin because the movement of the resin is increased in the thermal shock test and the plating film may be broken.
  • the content of the filler contained in the first thermoplastic resin can be appropriately determined according to the use of the resin component and the required strength.
  • the filler is preferably contained in the first thermoplastic resin in an amount of 5 wt% to 80 wt%, and more preferably 10 wt% to 60 wt%.
  • the first thermoplastic resin may contain various compatibilizing materials and adhesive materials such as maleic anhydride-modified polypropylene (PP-MAH). it can.
  • block copolymer having a hydrophilic segment contained in the first portion 101
  • the block copolymer has a hydrophilic segment and another segment different from the hydrophilic segment (hereinafter referred to as “other segment” as appropriate).
  • the block copolymer tends to move along with the metal fine particles toward the surface of the first portion 101 during the molding process or after molding, and segregate near the surface of the molded body together with the metal fine particles.
  • anionic segment a cationic segment, and a nonionic segment can be used for the hydrophilic segment of the block copolymer of the present embodiment.
  • anionic segments include polystyrene sulfonic acid
  • cationic segments include quaternary ammonium base-containing acrylate polymer systems
  • nonionic segments include polyether ester amide systems, polyethylene oxide-epichlorohydrin systems, and polyether ester systems. Can be mentioned.
  • the hydrophilic segment is a nonionic segment having a polyether structure because the heat resistance of the molded body is easily secured.
  • the polyether structure include oxyethylene groups having 2 to 4 carbon atoms of alkylene, such as oxyethylene groups, oxypropylene groups, oxytrimethylene groups, and oxytetramethylene groups, polyether diols, and polyethers. Diamines, modified products thereof, and polyether-containing hydrophilic polymers are included, and polyethylene oxide is particularly preferable.
  • the other segment of the block copolymer of the present embodiment is arbitrary as long as it is a segment that is more hydrophobic than the hydrophilic segment, and the type suitable for the purpose can be selected.
  • polyamides such as nylon 6 and nylon 12, polyolefin, polylactic acid, polyethylene and the like can be used.
  • a commercially available product may be used as the block copolymer.
  • the block copolymer of this embodiment may be commercially available as a resin-kneaded polymer type antistatic agent because it segregates (orients) near the surface of the molded body.
  • Pelestat (registered trademark) or Peletron (registered trademark) manufactured by Sanyo Chemical Industries, Ltd. can be used as the block copolymer of this embodiment.
  • Pelestat (registered trademark) NC6321, 1251 manufactured by Sanyo Chemical Industries, Ltd. is a block copolymer obtained by copolymerizing a hydrophilic segment polyether and another segment nylon with an ester bond.
  • the content of the block copolymer in the first portion 101 is arbitrary, and can be appropriately determined based on the type of the first thermoplastic resin, the type of the block copolymer, the use of the resin component, and the like.
  • the block copolymer is preferably contained in the first portion 101 in an amount of 1 to 30% by weight, more preferably 1 to 20% by weight, and even more preferably 3 to 15% by weight.
  • the permeability of the plating solution can be sufficiently increased, and when it is contained at 30% by weight or less, the heat resistance and mechanical strength of the molded body are increased.
  • the physical properties such as are not greatly impaired.
  • the metal fine particles contained in the first part 101 act as a metal catalyst for electroless plating for forming the plating film 103 on the surface of the first portion 101 in the manufacturing process of the resin component.
  • the metal fine particles are preferably metals capable of functioning as an electroless plating catalyst, for example, fine particles such as Pd, Ni, Pt, and Cu, and palladium fine particles are more preferable from the viewpoint of catalyst stability of electroless plating.
  • the metal fine particles of the present embodiment are preferably nanoparticles having a particle size of 10 nm or less. Since nanoparticles having a particle size of 10 nm or less have a large surface area and high catalytic activity, a plating film can be stably formed with a low concentration of catalyst, and the cost can be reduced.
  • the first part 101 preferably contains 1 to 50 ppm by weight of metal fine particles, and more preferably 5 to 20 ppm by weight.
  • the content of the metal fine particles in the first part 101 is obtained by dissolving a part of the first part 101 in an organic solvent and using an ICP (Inductively Coupled Plasma) emission analysis method for the amount of metal such as Pt. It is calculated
  • ICP-MS inductively coupled plasma mass spectrometer.
  • the second portion 102 where the plating film is not formed on the surface shown in FIG. 1 contains the second thermoplastic resin.
  • the second thermoplastic resin is not particularly limited. Depending on the application of the resin component, polyamides such as nylon 6, nylon 66, nylon 12, nylon 11, olefin elastomer (TPO), polyvinyl chloride, polyamide and ABS resin are used. A resin material having good adhesion to the first thermoplastic resin, such as an alloy resin of polyamide, an alloy resin of polyamide and polycarbonate, or the like can be used.
  • the second thermoplastic resin is preferably a polyamide excellent in these characteristics from the viewpoint of improving the rigidity, heat resistance and chemical resistance of the resin component.
  • part improves by including polyamide in both the 1st thermoplastic resin and the 2nd thermoplastic resin.
  • the second thermoplastic resin one kind of resin may be used alone, or two or more kinds of resins may be mixed and used.
  • the second thermoplastic resin preferably contains polyamide from the viewpoint of improving the adhesion between the first part and the second part.
  • the second part It is preferable that 5% by weight or more of the polyamide is contained in the thermoplastic resin.
  • the second thermoplastic resin is preferably a crystalline resin.
  • the crystalline resin examples include resins such as nylon, polyethylene, polypropylene, polyacetal, polyphthalamide, polyphenylene sulfide, polybutylene terephthalate, and polyethylene terephthalate.
  • the second thermoplastic resin may be a non-reinforced resin or a reinforced resin.
  • various compatibilizing materials and adhesive materials may be mixed in order to improve the adhesion between the first part and the second part.
  • the second thermoplastic resin preferably has excellent chemical resistance, particularly acid resistance.
  • the plating film 103 of the present embodiment may be a laminate in which electrolytic copper plating, electrolytic nickel plating, electrolytic chromium plating, and the like are further laminated on the electroless plating film.
  • the second portion where the plating film 103 is not formed is exposed to an acidic chemical solution such as electrolytic copper plating, electrolytic nickel, and electrolytic chromium for a long time after electroless plating.
  • an acidic chemical solution such as electrolytic copper plating, electrolytic nickel, and electrolytic chromium for a long time after electroless plating.
  • it is preferable that the difference between the melting point of the second thermoplastic resin and the melting point of the first thermoplastic resin is small.
  • the first part and the second part are integrally formed by two-color molding or insert molding.
  • the difference between the melting point of the first thermoplastic resin and the melting point of the second thermoplastic resin is large, the portion filled and solidified first in the mold and the portion filled in the mold later There is a possibility that the adhesiveness may decrease.
  • the difference between the melting point of the first thermoplastic resin and the melting point of the second thermoplastic resin is large, it is necessary to specify the order of filling the mold in order to improve the adhesion. The degree of freedom is limited. Therefore, the difference between the melting point of the first thermoplastic resin and the melting point of the second thermoplastic resin is preferably 30 ° C. or less.
  • the second thermoplastic resin is MXD nylon.
  • aromatic nylon such as 6
  • MXD nylon 6 is excellent in resistance to strong acid, its melting point is about 245 ° C., and the difference from the melting point 225 ° C. of nylon 6 is about 20 ° C.
  • Aromatic nylons other than MXD nylon 6 have high chemical resistance, but many have high melting points. For this reason, MXD nylon 6 is superior to other aromatic nylons in terms of adhesiveness with the first portion using nylon 6.
  • a resin having a low melting point formed by alloying aromatic nylon having a high melting point may be used as the second thermoplastic resin.
  • the second portion 102 does not have a plating film on the surface, it is not necessary and preferably does not include the metal fine particles that act as a catalyst for electroless plating and the block copolymer that improves the electroless plating reaction.
  • the water absorption rate of the first part when immersed in water at 23 ° C. for 24 hours is 0.5% by weight or more and 3.0% by weight or less, and the water absorption rate of the second part is 2.0% by weight or less.
  • part can be measured by the method described in the Example mentioned later, for example.
  • the first portion has a water absorption rate of less than 0.5% by weight when immersed in water at 23 ° C. for 24 hours, the plating reactivity decreases, and the water absorption rate exceeds 3.0% by weight.
  • the difference between the swelling of the resin during plating and the shrinkage of the resin after plating increases, and there is a possibility that problems such as cracking of the plating film may occur.
  • the plating solution may accumulate at the interface between the first part and the second part during electroless plating, and peeling may occur at the interface between the two resins.
  • peeling may occur at the interface between the two resins.
  • the second part when the water absorption rate after being immersed in water at 23 ° C. for 24 hours exceeds 2.0% by weight, water is immersed from the second part to the first part, and the plating film interface May occur.
  • the water absorption rate of the second part is large, the dimensional accuracy of the resin component is also reduced due to water absorption.
  • the water absorption rate of both parts must be optimized, It was found that there was a problem with the reliability of resin parts.
  • the water absorption rate of the first part when immersed in water at 23 ° C. for 24 hours is 0.5% by weight or more and 3.0% by weight or less, and the water absorption rate of the second part is 2.0% by weight or less. By doing this, it is possible to ensure the long-term reliability of the resin component.
  • the water absorption rate of the first part when immersed in water at 23 ° C. for 24 hours is preferably 0.5% by weight or more and 2.0% by weight or less.
  • the lower limit of the water absorption rate of the second part is not particularly limited and is preferably as low as possible. However, from the viewpoint of suppressing peeling due to a difference in water absorption rate with the first resin, 0.1% by weight or more is preferable. preferable.
  • the first part and the second part have the water absorption rate in the specific range described above, and the difference in the water absorption rate between the two parts is 2.9% by weight or less. It is preferable that it is 2.5 wt% or less. If the difference in water absorption between the two parts is 2.9% by weight or less, the difference in expansion coefficient between the two parts due to water absorption is also small, so that the plating film is peeled off and the first part and the second part are separated. Can be suppressed.
  • the water absorption rate of the first part and the second part may be larger than the first part as long as the water absorption rate of the second part is within the specific range described above. Conversely, the water absorption rate of the first part may be larger than that of the second part.
  • the “difference between the water absorption rates of the two parts” is a difference obtained by subtracting a small value from a large value of the water absorption rate of the first part and the water absorption rate of the second part.
  • the bending elastic modulus at room temperature of the portion having the larger occupied volume in the resin component among the first portion and the second portion is 5 GPa or more, preferably 10 GPa or more. It is more preferable that The bending elastic modulus at room temperature is measured in accordance with test method ISO 178. If the bending elastic modulus at room temperature of the part with the larger occupied volume in the automotive resin part is 5 GPa or more, it can be used for interior parts of automobiles that require high rigidity. Since glass fiber (GF) reinforced nylon mixed with a large amount of glass fiber has high rigidity, it is preferably used as a thermoplastic resin contained in a portion having a larger occupied volume in the resin component for automobiles.
  • GF glass fiber
  • part may occupy large volume of which site
  • room temperature for measuring the flexural modulus is, for example, 23 ° C.
  • the plating film 103 formed on the surface of the first portion 101 preferably contains nickel, and particularly preferably contains nickel phosphorus or nickel boron. This is because these plating films can be easily formed by an electroless plating method.
  • the plating film 103 is formed on the surface of the first portion 101 using metal fine particles as an electroless plating catalyst. For this reason, in this embodiment, the highly reliable plating film 103 can be formed on the surface of the first portion 101 without using an etching process with a high environmental load.
  • the second portion 102 does not contain an electroless plating catalyst, a plating film is not formed even when it comes into contact with the electroless plating solution.
  • the resin component 100 can obtain the partial plating film 103 with clear contrast of the presence or absence of the plating film at a low cost without using the masking process.
  • the plating film 103 is a laminate in which electrolytic copper plating, electrolytic nickel plating, electrolytic trivalent chromium plating, etc. are further laminated on an electroless plating film. It may be.
  • the resin component 100 of the present embodiment preferably does not undergo plastic deformation when left in an environment of 140 ° C. to 150 ° C. for 48 hours.
  • plastically deforming, swelling, cracking, peeling, etc. of the plating film 103 can be suppressed, and long-term reliability can be ensured in a harsh indoor environment at a high temperature of the automobile.
  • “near the surface of the first part” means an area inside the first part and close to the surface.
  • the extent to which “near the surface of the first part” means the region from the surface of the first part depends on the type of the first thermoplastic resin, block copolymer and metal fine particles. Although different, for example, a region having a depth of 0.1 to 10 ⁇ m from the surface of the molded body.
  • the vicinity of the surface of the first portion 101 of this embodiment is a domain (island) of a block copolymer containing metal fine particles 106 in a first thermoplastic resin matrix (sea) 104.
  • 105 has a matrix-domain structure (sea-island structure). Since the block copolymer has a hydrophilic segment, it moves along with the metal fine particles toward the surface of the first part, and tends to segregate near the surface of the first part together with the metal fine particles. For this reason, there are more domains (islands) 105 of the block copolymer near the surface of the first part 101 than in the central part of the first part 101. As a result, the concentration of the metal fine particles inside the first part that does not contribute to the plating reaction can be relatively lowered, the waste of material can be saved, and the material cost can be suppressed.
  • the block copolymer is oriented in stripes (is unevenly distributed) near the surface, so that the surface of the molded body is hydrophilized by the hydrophilic segment of the block copolymer. For this reason, it is considered that the penetration of the plating solution and the growth of the plating film are promoted. As a result, the first portion 101 of the present embodiment has good plating film coverage, and the plating film is formed in a short time. By shortening the plating film formation time, defects in the plating film such as pinholes are less likely to occur. Further, the plating solution easily penetrates into the hydrophilic portion.
  • the plating solution is more likely to come into contact with the metal fine particles 106 and the plating efficiency is considered to be improved.
  • the block copolymer of the present embodiment is a polymer, unlike a normal low molecular surfactant, it remains in the vicinity of the surface without falling off from the surface of the molded body, and the first portion 101 as described above. The surface vicinity of can be made hydrophilic. A normal low molecular surfactant has a high possibility of falling off the surface of the molded body, and an effect equivalent to that of the block copolymer of the present invention cannot be expected.
  • metal particles 107 made of a metal having the same composition as the plating film (electroless plating film) 103 exist in the vicinity of the surface of the first portion 101 shown in FIG. This is because, during electroless plating, the plating solution penetrates near the surface of the first portion 101 and comes into contact with the metal fine particles 106 to generate metal particles 107.
  • the metal particles 107 are connected to form a film, and a plating film (electroless plating film) 103 is finally formed. In this way, the plating film 103 grows while expanding the molded body from the inside of the molded body. Therefore, a part of the metal particles 107 is connected to the plating film 103 in the vicinity of the surface of the first part 101.
  • the electroless plating film 103 is formed on the first part 101 in a state where it has penetrated into the first part 101 (a state in which a part of the plating film has penetrated into the molded body), and has high adhesion due to the anchor effect. Showing gender.
  • the resin component of the present embodiment has a wide selection of the first thermoplastic resin and the second thermoplastic resin, has high rigidity, heat resistance, and chemical resistance, and has a plated film.
  • the contrast is high and the design is good. Since masking or the like is not used, it can be provided at a low manufacturing cost.
  • the resin component 100 of the present embodiment is an integrally molded product, there is no step at the interface between the portion having the plating film and the portion not having the plating film, the design is excellent, and the chemical resistance is reduced at the interface. There is no fear of it.
  • the resin component for automobiles of the present embodiment is any one of an air conditioner register, a component constituting the air conditioner register, a shift knob, and an assist grip.
  • Air conditioner register (hereinafter referred to as “air conditioner register” as appropriate) is a component that forms a blowout port provided in an automobile for air conditioning or ventilation.
  • warm air and cold air are sent into the vehicle from an air conditioner installed in the vehicle through an air conditioner register.
  • the air conditioner register 300 is provided with, for example, a register bezel 310 that forms the periphery of the air outlet, a plurality of air outlets, and the air supplied from the air outlet. It mainly comprises a plate-shaped register blade 320 for adjusting the orientation, a slide knob 330 provided on the register blade, a dial knob 340 provided on the register bezel, and the like.
  • the register blade 320 of the present embodiment includes a plate-like main body extending in one direction (hereinafter referred to as “extending direction”), and an extension direction of the plate-like main body. It is mainly composed of shafts 323 projecting from both ends.
  • the register braid 320 is rotatably attached to the register bezel 310 by a shaft 323.
  • the plate-like main body rotates about the axis 323 as a central axis to change the angle with respect to the register bezel 310, thereby adjusting the direction of air exiting from the air conditioner register 300.
  • the register blade 320 of this embodiment includes a first part 321 having a plating film extending in the extending direction and a second part having no plating film on the surface, which is a part other than the first part 321. 322. Similar to the resin component 100 shown in FIG. 1 described above, the first portion 321 includes a first thermoplastic resin containing polyamide, a block copolymer, and metal fine particles, and the second portion 322 includes: A second thermoplastic resin is included. As with the resin component 100 shown in FIG. 1 described above, the register blade 320 of this embodiment can form a plating film only on the first part 321 easily and at low cost. The register blade 320 of this embodiment has a clear contrast with and without a plating film and is excellent in design.
  • the plate-like main body of the register blade 320 of the present embodiment extends in the extending direction and has a front surface and a back surface facing each other.
  • 4A is a view of the register blade 320 viewed from the front surface of the plate-shaped body
  • FIG. 4B is a view in which the register blade 320 is substantially parallel to the front surface and the back surface of the plate-shaped body. It is the figure seen from the side in which the 1st site
  • the longest length in the extending direction of the plate-like body is defined as the length (L) of the register blade, and the distance between the front surface and the back surface is defined as the thickness (D) of the register blade.
  • the length (L) and the average thickness (D) of the register blade are shown in FIGS. 3 (b), 4 (a) and 4 (b).
  • (L / D) 75/1 or more is more preferable.
  • the both ends of the plate-shaped main body of the air-conditioner blade in the length (L) direction (extending direction) are supported, and the central portion in the length direction of the plate-shaped main body is 50 N in the thickness direction (substantially on the front and back surfaces).
  • the amount of deflection of the central portion is preferably 5 mm or less, and more preferably 2 mm or less.
  • the register brate is required to have chemical resistance.
  • the resistance to limonene or the like contained in an automobile fragrance is low, the use of the automobile fragrance may reduce the rigidity of the register brate.
  • the two shafts 323 are easy to break because they are thinner than the other parts.
  • the first thermoplastic resin forming the first portion 321 is made of mineral from the viewpoint of rigidity, chemical resistance, and design. Mineral reinforced polyamide mixed with 10 wt% to 60 wt% is preferable, and mineral reinforced nylon 6 is more preferable.
  • the second thermoplastic resin is preferably a glass fiber reinforced polyamide mixed with 5 to 70% by weight of glass fiber, and more preferably glass reinforced nylon 6 from the viewpoint of rigidity and chemical resistance.
  • the register plate 320 of the present embodiment uses the above thermoplastic resin as the first thermoplastic resin and the second thermoplastic resin, so that the high rigidity and chemical resistance required for the register plate can be easily obtained. And high reliability can be secured even in the shaft 323.
  • the second thermoplastic resin by using polyamide, which is a crystalline resin, as the second thermoplastic resin, it is possible to decorate with a matte finish. Further, the second portion 322 is exposed to a chromium plating solution such as trivalent chromium, which is a strong acid, for a long time when the plating film is formed. From this viewpoint, it is preferable that the second thermoplastic resin forming the second portion 322 includes an aromatic polyamide having higher chemical resistance.
  • the register blade 320 of the present embodiment injects the first and second thermoplastic resins into the mold by general-purpose two-color molding or the like, and the first part and the second part. Can be integrally molded.
  • the second thermoplastic resin is filled in the mold first and the second part is molded first because of its shape and mold structure. In this case, the volume and heat quantity of the first thermoplastic resin to be filled in the mold later are reduced. Therefore, if the melting point of the second thermoplastic resin is high, the contact interface with the first thermoplastic resin does not melt, and the adhesion between the first part and the second part may be reduced.
  • the melting point of the second thermoplastic resin is preferably lower than the melting point of the first thermoplastic resin.
  • the difference is preferably 30 ° C. or less.
  • the register brate 320 is molded by a two-color molding method using a mold having a mirror finish on the surface corresponding to the first part 321 and a textured finish on the face corresponding to the second part 322. May be. Thereby, the surface of the 2nd site
  • the slide knob 330 As shown in FIG. 3A, the slide knob 330 according to the present embodiment is provided substantially at the center in the extending direction of one of the plurality of register blades 320 provided. The driver or passenger of the automobile picks and moves the slide knob 330 to change the angle of the register blade 320 with respect to the register bezel 310, thereby adjusting the direction of air exiting from the air conditioner register 300.
  • the slide knob 330 of this embodiment includes a first portion 331 having a plating film extending in the same direction as the above-described register blade 320 extending direction.
  • the portion other than the first portion 331 is a second portion 332 having no plating film on the surface.
  • 5 (a) and 5 (b) show slide knobs 430 and 530 having different shapes from the slide knob 330 shown in FIG. 3 (c), respectively.
  • the slide knobs 430 and 530 are also formed of first portions 431 and 531 having a plating film and second portions 432 and 532 having no plating film on the surface. Similar to the resin component 100 shown in FIG.
  • the first portions 331, 431, and 531 include a first thermoplastic resin containing polyamide, a block copolymer, and metal fine particles, and a second part.
  • the portions 332, 432, and 532 include the second thermoplastic resin.
  • the slide knobs 330, 430, and 530 can form a plating film easily and at low cost only on the first portions 321, 431, and 531, similarly to the resin component 100 shown in FIG. 1 described above.
  • the slide knobs 330, 430, and 530 of the present embodiment have a clear contrast with and without a plating film and are excellent in design.
  • the slide knob is not required to be as rigid as the register brate described above, but is required to have chemical resistance against a fragrance or the like, similar to the register brate.
  • the first thermoplastic resin forming the first portions 331, 431, and 531 is preferably a mineral reinforced polyamide in which 10% to 60% by weight of a mineral is mixed from the viewpoint of chemical resistance, and the mineral reinforced nylon 6 is more preferable.
  • the second thermoplastic resin forming the second portions 332, 432, and 532 is preferably a glass fiber reinforced polyamide mixed with 5 to 70% by weight of glass fiber from the viewpoint of rigidity and chemical resistance. Reinforced nylon 66 is more preferable.
  • the slide knobs 330, 430, and 530 according to the present embodiment use the thermoplastic resin as the first thermoplastic resin and the second thermoplastic resin, so that the rigidity and chemical resistance required for the slide knob are obtained. Can be easily obtained.
  • the slide corresponding to the first portion 331 is mirror-finished and the surface corresponding to the second portion 332 is subjected to a two-color molding method. -The knob may be molded. Thereby, the surface of the 2nd part 332 which does not have a plating film can be made into the matte surface appearance.
  • the dial knob 340 is provided in the register bezel 310, and the driver or passenger of the automobile leaves the air conditioner register 300 by operating the dial knob 340. Adjust the amount of air.
  • the dial knob 340 of the present embodiment has a disk-shaped main body that can be rotated by a driver or a passenger's finger. On the curved surface of the disc-shaped main body that comes into contact with the driver's or passenger's finger, there is provided a second portion 342 that does not have a plating film, and portions other than the second portion 342 have a plating film on the surface. 1 part 341. Similar to the resin component 100 shown in FIG. 1 described above, the first portion 341 includes a first thermoplastic resin containing polyamide, a block copolymer, and metal fine particles, and the second portion 342 includes: A second thermoplastic resin is included.
  • the dial knob 340 can form a plating film easily and at low cost only on the first portion 341, similarly to the resin component 100 shown in FIG.
  • the dial knob 340 of the present embodiment has a clear contrast with and without a plating film and is excellent in design.
  • the dial knob is required to have chemical resistance against fragrances and the like in the same manner as the slide knob described above.
  • the first thermoplastic resin forming the first portion 341 is preferably a mineral-reinforced polyamide in which 10% to 60% by weight of a mineral is mixed, and more preferably a mineral-reinforced nylon 6.
  • the second thermoplastic resin forming the second portion 342 is preferably an olefin elastomer (TPO) from the viewpoint of improving the tactile sensation when the driver or passenger touches the slide knob.
  • TPO olefin elastomer
  • the slide knob 340 of the present embodiment easily obtains rigidity and chemical resistance required for the slide knob by using the thermoplastic resin as the first thermoplastic resin and the second thermoplastic resin. be able to.
  • the register bezel 310 is a part that forms the periphery of a blowout port for air sent from the air conditioner.
  • a plated film is not formed on the register bezel 310 shown in FIG. 3A, there is a need for decoration in which the plated film is partially provided on the register bezel.
  • the register bezel 410 shown in FIG. 7A and the register bezel 510 shown in FIG. 7B having a shape different from that of the register bezel 410 partially have a plating film. As shown in FIGS.
  • the register bezels 410 and 510 of the present embodiment have first portions 411 and 511 each having a plating film in the periphery of the blowout port, Portions other than the portions 411 and 511 are second portions 412 and 512 having no plating film on the surface.
  • the first portions 411 and 511 include a first thermoplastic resin containing polyamide, a block copolymer, and metal fine particles, and a second portion 412. 512 includes a second thermoplastic resin.
  • a plating film can be easily formed at low cost only on the first portions 411 and 511, as in the case of the resin component 100 shown in FIG.
  • the register bezels 410 and 510 of the present embodiment have a clear contrast with and without a plating film and are excellent in design.
  • the register bezel is required to have chemical resistance against fragrances and the like in the same manner as the slide knob described above.
  • the first thermoplastic resin forming the first parts 411 and 511 is preferably a mineral reinforced polyamide mixed with 10 to 60% by weight of mineral, and more preferably a mineral reinforced nylon 6.
  • the second thermoplastic resin forming the second portions 412 and 512 is an alloy resin of polyamide and ABS resin from the viewpoint of adhesiveness with the first thermoplastic resin, design properties, dimensional stability, and chemical resistance. Is preferred.
  • the register bezels 410 and 510 according to the present embodiment facilitate the rigidity and chemical resistance required for the register bezel by using the thermoplastic resin as the first thermoplastic resin and the second thermoplastic resin. Can get to.
  • the resin parts constituting the air conditioner register of the present invention have a wide range of selection of the first thermoplastic resin and the second thermoplastic resin, and have high rigidity and chemical resistance at a low manufacturing cost. Obtainable. Further, a crystalline resin can be used as the second thermoplastic resin, and it is possible to obtain a high-quality appearance with a matte appearance in a portion that does not have a plating film. Since the resin component constituting the air conditioner register of the present invention is an integrally molded product, there is no step at the interface between the portion having the plating film and the portion not having the plating film, and there is a risk of a decrease in chemical resistance at the interface. Nor.
  • the shift knob is a handle at the tip of the shift lever.
  • the shift lever is an operation lever that allows the driver to freely select the gear of the engine transmission at the driver's seat.
  • the shift knob is required to have rigidity. Particularly, the shift knob occupies a large volume, and the resin used as the core of the shift knob is required to have higher rigidity.
  • the first portion 601 having a plated film occupies a large volume in the shift knob and is a portion that becomes a core material of the shift knob.
  • second parts 602a, 602b, and 603c that form three surface areas not having a plating film are formed integrally with the first part 601.
  • the first portion 601 includes a first thermoplastic resin containing polyamide, a block copolymer, and metal fine particles
  • 603c includes a second thermoplastic resin.
  • a plating film can be easily formed only at the first portion 601 at a low cost.
  • the shift knob 600 has a clear contrast with and without a plating film and is excellent in design.
  • the first thermoplastic resin forming the first portion 601 is preferably a mineral reinforced polyamide in which 10% to 60% by weight of a mineral is mixed from the viewpoint of rigidity and ease of forming an electroless plating film. Nylon 6 is more preferable. Mineral reinforced nylon 6 has about twice the rigidity (flexural modulus) of ABS resin.
  • polyvinyl chloride is preferable from the viewpoint of improving the grip when the driver grips the shift knob.
  • the shift knob 600 of the present embodiment can achieve both rigidity and grip required for the shift knob by using the thermoplastic resin as the first thermoplastic resin and the second thermoplastic resin.
  • the shift knob 600 of the present invention has a wide range of choice between the first thermoplastic resin and the second thermoplastic resin, and produces an integrally molded product that achieves both high rigidity and good grip feeling at a low manufacturing cost. Can be obtained at Since the shift knob 600 of the present invention is an integrally molded product, there is no step at the interface between the portion having the plating film and the portion not having the plating film, and the design is excellent.
  • Assist grip An assist grip is a handle that is fixed to the inside of a car by a handle that a driver and passengers grab when getting on and off the car or when the vehicle body shakes. There is a need for decoration to provide a plating film in part for the assist grip, and rigidity is required because it is a handle that the driver or passenger can hold, especially for resins that occupy a large volume in the assist grip. Is required.
  • the assist grip 700 shown in FIG. 9 (a) and the assist grip 710 shown in FIG. 9 (b) having a different shape from the assist grip 700 the first portions 701 and 711 having plated films are the assist grips 700 and 710, respectively. It is a part which occupies most of the volume and becomes the core material. Second portions 702 and 712 having no plating film on the surface are formed integrally with the first portions 701 and 711 so as to cover the surfaces of the first portions 701 and 711.
  • the first portions 701 and 711 include a first thermoplastic resin containing polyamide, a block copolymer, and metal fine particles, and a second portion 702. , 712 include a second thermoplastic resin.
  • the assist grips 700 and 710 of the present embodiment can form a plating film easily and at low cost only on the surfaces of the first portions 701 and 711.
  • the assist grips 700 and 710 have a clear contrast with and without a plating film and are excellent in design.
  • the first thermoplastic resin forming the first parts 701 and 711 is preferably a mineral reinforced polyamide mixed with 10 wt% to 60 wt% of minerals in view of rigidity and ease of forming an electroless plating film. Reinforced nylon 6 is more preferable.
  • the second thermoplastic resin forming the second portions 702 and 712 is preferably an olefin-based elastomer (TPO) from the viewpoint of improving the grip feeling when the driver or passenger holds the assist grip.
  • TPO olefin-based elastomer
  • the assist grips 700 and 710 of the present embodiment can achieve both rigidity and grip required for the assist grip by using the thermoplastic resin as the first thermoplastic resin and the second thermoplastic resin. it can.
  • the assist grips 700 and 710 of the present invention have a wide selection of the first thermoplastic resin and the second thermoplastic resin, and are integrally molded products that achieve both high rigidity and a good grip feeling. It can be obtained at a low manufacturing cost. Since the assist grips 700 and 710 of the present invention are integrally molded products, there is no step at the interface between the portion having the plating film and the portion not having the plating film, and the design is excellent.
  • step S1 resin pellets in which metal fine particles are dispersed in a block copolymer are prepared (step S1).
  • resin pellet means a small lump (pellet) so that the resin can be easily processed, and the size and shape vary depending on the use of the pellet, for example, about 3 to 5 mm. It is a small piece of particulate and columnar resin.
  • the resin pellet containing a block copolymer and metal microparticles corresponds to a master batch
  • the first thermoplastic resin corresponds to a base resin into which the master batch is blended.
  • a masterbatch is a resin pellet containing functional materials such as dyes, pigments, and other additives at a high concentration, and is mixed with a base resin not containing a functional material and molded together with the base resin.
  • functional materials such as dyes, pigments, and other additives at a high concentration
  • the handling of the material is easy and the weighing accuracy is improved as compared with molding by adding metal fine particles, which are functional materials, directly to the base resin.
  • metal fine particles which are functional materials
  • the master batch (resin pellet) can be produced by any method.
  • the master batch (resin pellet) can be produced by the production method disclosed in International Patent Publication No. 2013/129659. It is preferable to include a step of infiltrating the fine metal particles into the block copolymer by bringing carbon (hereinafter referred to as “mixed pressurized fluid” if necessary) into contact with the block copolymer. Since the method using pressurized carbon dioxide does not require an organic solvent, the environmental load is low. Further, the pressurized carbon dioxide promotes uniform dispersion of the metal fine particles in the block copolymer, and can significantly reduce the particle size of the metal fine particles.
  • the metal fine particles are more easily moved to the surface of the molded body along with the block copolymer because the metal fine particles are uniformly dispersed without being aggregated.
  • a molded body having a plating film is manufactured using resin pellets manufactured using pressurized carbon dioxide, a uniform and high-quality plating film can be obtained.
  • pressurized carbon dioxide it is preferable to use pressurized carbon dioxide for the above reasons.
  • the metal fine particles used in this embodiment are preferably dissolved in pressurized carbon dioxide.
  • metal fine particles hexafluoroacetylacetonato palladium (II) metal complex
  • bis (cyclopentadienyl) nickel bis (acetyl)
  • metal complexes such as palladium are preferred.
  • a master batch (resin pellet) is manufactured by batch processing using a high-pressure vessel.
  • a pellet-shaped block copolymer (raw material pellet) and a metal complex are accommodated in a high-pressure vessel, and pressurized carbon dioxide is introduced therein.
  • the inside of the high-pressure vessel is kept in a pressurized state for a certain time.
  • the metal fine particles are dissolved in the pressurized carbon dioxide, the pressurized carbon dioxide in which the metal fine particles are dissolved contacts the block copolymer, and the metal fine particles penetrate into the block copolymer together with the pressurized carbon dioxide.
  • a resin pellet (master batch) in which metal fine particles are dispersed in the block copolymer is obtained.
  • the pressurized carbon dioxide inside the high-pressure vessel is exhausted outside the vessel, and the resin pellets (master batch) are taken out from the high-pressure vessel.
  • the amount of the metal fine particles contained in the metal container permeating into the block copolymer (raw material pellet) is 20 to 80 of the charged amount. %, Not all metal fine particles penetrate into the block copolymer.
  • the metal fine particles that do not penetrate into the block copolymer can be recovered by being discharged out of the high-pressure vessel together with the pressurized carbon dioxide and separated from the pressurized carbon dioxide.
  • the content of the metal fine particles in the resin pellet (masterbatch) is arbitrary and can be appropriately determined in consideration of the type of metal fine particles, the type of block copolymer, the use application of the resin parts, etc. From the viewpoint of plating reactivity, for example, 10 to 2000 ppm by weight is preferable, and 50 to 500 ppm by weight is more preferable.
  • pressurized carbon dioxide used for producing the resin pellets pressurized carbon dioxide in a liquid state, a gas state, or a supercritical state can be used. These pressurized carbon dioxides are harmless to the human body, are excellent in diffusibility into the block copolymer, and can be easily removed from the block copolymer.
  • the pressure and temperature of the pressurized carbon dioxide introduced into the high-pressure vessel are arbitrary, but it is preferable to use liquid carbon dioxide or supercritical carbon dioxide because of its high density and stability.
  • the temperature of the pressurized carbon dioxide is preferably in the range of 5 ° C to 50 ° C. The lower the temperature of the pressurized carbon dioxide, the higher the density and the higher the solvent effect, which is preferable, but 5 ° C.
  • the pressure of the pressurized carbon dioxide is desirably in the range of 4 to 25 MPa. From the viewpoint of obtaining an appropriate solvent effect because the solvent effect is difficult to be expressed when the pressure is low, 4 MPa or more is preferable, and from the viewpoint of suppressing the cost because the high pressure equipment is costly when the pressure is high. 25 MPa or less is preferable. Note that the pressure and carbon dioxide in which metal fine particles are dissolved or dispersed tend to fluctuate in temperature and pressure. Therefore, the above-mentioned state, temperature, and pressure of pressurized carbon dioxide are values of the state, pressure, and temperature of pressurized carbon dioxide in a stable state before being introduced into the high-pressure vessel.
  • the time for maintaining the inside of the high-pressure vessel in a pressurized state can be arbitrarily determined in consideration of the type of block copolymer, the type of metal fine particles, etc. Minutes to 120 minutes are preferred.
  • resin pellets (master batch) are manufactured by batch processing using a pressurized container, but resin pellets (master batch) are manufactured by other methods using pressurized carbon dioxide. May be.
  • Examples of other methods using pressurized carbon dioxide include the following methods. First, the block copolymer is plasticized and melted in a plasticizing cylinder of an extruder, and pressurized carbon dioxide (mixed pressurized fluid) in which metal fine particles are dissolved is introduced into the plasticizing cylinder. The block copolymer is brought into contact with the mixed pressurized fluid. Then, the block copolymer mixed with the metal fine particles is extruded and then pulverized to obtain resin pellets (master batch) formed from the block copolymer mixed with the metal fine particles.
  • the resin pellet (masterbatch) used by this embodiment demonstrated above contains only a block copolymer as a thermoplastic resin
  • a resin pellet (masterbatch) may include another thermoplastic resin as needed. May be included.
  • a thermoplastic resin the same kind of resin as the first thermoplastic resin described above can be used.
  • a resin member having a first portion 101 and a second portion 102 by a two-color molding method using a general-purpose two-color molding machine 200 shown in FIG. Is molded.
  • the resin member means a member obtained by removing the plating film 103 from the resin component 100 shown in FIG.
  • the first thermoplastic resin and the resin pellet are plasticized and melted in the first plasticizing cylinder 204 of the two-color molding machine 200 shown in FIG. (Step S2 in FIG. 10), the second thermoplastic resin is plasticized and melted in the second plasticizing cylinder 205 to form the second molten resin (Step S3).
  • the first molten resin is injected into the cavity 202 formed in the mold 201 shown in FIG. 1 part 101 is formed.
  • a core back is performed in the mold 201 by a hydraulic drive mechanism (not shown), and the cavity 202 in the mold 201 is widened to form a new space 203 as shown in FIG.
  • the second molten resin is transferred from the second plasticizing cylinder 205 to the new space 203 in the cavity 202 with the first portion 101 held in the cavity 202.
  • part is shape
  • FIG. 11E by opening the mold 201, the resin member formed from the first portion 101 and the second portion 102 can be taken out.
  • the mixing ratio of the first thermoplastic resin and the resin pellet (master batch) can be appropriately determined in consideration of the content of metal fine particles in the resin pellet (master batch).
  • the ratio of the resin pellet (master batch) is 1% by weight to the total amount of the resin pellet (master batch) and the first thermocomposable resin, that is, the total weight of the first part. It is preferably 30% by weight, more preferably 1% by weight to 15% by weight.
  • the ratio of the resin pellets (master batch) is 1% by weight or more, the permeability and plating reactivity of the plating solution can be sufficiently increased. Physical properties such as mechanical strength are not significantly impaired.
  • a general-purpose molding machine is used to simultaneously perform molding and surface modification of the molded body. Therefore, it is not necessary to make a capital investment such as purchasing a new molding machine.
  • a method of performing core back in the cavity 201 core back method
  • other known methods for example, a first molten resin was injection molded into the cavity. Thereafter, a method may be used in which the cavity is inverted and the second molten resin is injected and filled into the cavity (inversion method).
  • integral molding means that the product is integrally molded simultaneously with the joining of the members without using secondary bonding or mechanical joining.
  • the first molten resin is injected into the cavity 202 to mold the first portion 101 (FIG. 11B), and then the second molten resin is injected into the cavity 202 to
  • the second portion 102 is formed (FIG. 11D)
  • the present invention is not limited to this.
  • Either the first part or the second part may be formed first according to the shape of the molded body or the structure of the mold.
  • the difference between the melting point of the first thermoplastic resin contained in the first part and the melting point of the second thermoplastic resin contained in the second part is large, for example, the difference in melting point is from 30 ° C.
  • thermoplastic resin having a low melting point In the case where it is large, it is preferable to first mold a part containing a thermoplastic resin having a low melting point from the viewpoint of enhancing the adhesion between the first part and the second part.
  • the part containing the thermoplastic resin having a low melting point By molding the part containing the thermoplastic resin having a low melting point first, the part containing the thermoplastic resin having a low melting point is brought into contact with the thermoplastic resin having a high melting point filled in the mold later and melted. As a result, it is speculated that the adhesion between the first part and the second part is improved.
  • electroless plating solution known ones can be used, but electroless nickel phosphorous plating solution, electroless nickel boron plating solution and the like are preferable from the viewpoint that the catalyst activity is high and the solution is stable.
  • a nickel phosphorous film that is a nickel-containing film is formed on the surface of the molded body using an electroless nickel phosphorous plating solution.
  • the first member 101 contains fine metal particles that function as an electroless plating catalyst, it is not necessary to apply a catalyst to the surface of the molded body, and it is necessary to perform a surface treatment using a chemical with a high environmental load for applying the catalyst. There is no.
  • the second portion 102 does not contain an electroless plating catalyst, for example, even if the entire resin member is immersed in an electroless plating solution, the plating film is formed only on the surface of the first member, A plating film is not formed on the second portion 102. Thereby, the partial plating film 103 with a clear contrast with and without the plating film can be formed on the surface of the resin component 100 at a low cost without using a masking process.
  • a plating film such as electrolytic copper plating, electrolytic nickel plating and electrolytic trivalent chromium plating is further laminated on the plating film formed by electroless plating. May be.
  • the resin component 100 shown in FIG. 1 as an evaluation sample was manufactured by the following method.
  • Table 1 shows the materials used for manufacturing the resin component 100 and the evaluation results of the resin component 100.
  • Example 1 ⁇ Manufacture of resin members> (1) Production of master batch Resin pellets (master batch) in which metal fine particles were dispersed in a block copolymer were produced by batch processing using a high-pressure vessel. First, in a high-pressure vessel adjusted to 40 ° C., pelletized block copolymer (raw material pellet) made by Sanyo Chemical Industries, Pelestat (registered trademark) PL1251, and metal complex hexafluoroacetylacetonato palladium (II) ) The complex was accommodated. The ratio of the metal complex to the block copolymer (raw material pellet) was 2000 ppm by weight. The ratio of palladium in the metal complex to the block copolymer (raw material pellets) was about 400 ppm by weight.
  • the liquid carbon dioxide having a pressure of 15 MPa was introduced as pressurized carbon dioxide into the high-pressure vessel containing the block copolymer and the metal complex, and after the introduction, the inside of the high-pressure vessel was maintained in a pressurized state for 1 hour. Thereafter, the pressurized carbon dioxide inside the high-pressure vessel was exhausted outside the vessel and the pressure was reduced, and the resin pellet (master batch) was taken out from the high-pressure vessel. The resin pellets changed from the white color of the raw material pellets to yellow, which is the color of the metal complex.
  • the obtained resin pellet was dissolved in concentrated hydrochloric acid using a microwave dissolving apparatus, and the amount of palladium in the resin pellet was measured with an ICP emission spectrometer.
  • the content of palladium in the resin pellets was 190 ppm by weight. From this result, it was found that less than 50% by weight of palladium contained in the metal complex introduced into the high-pressure vessel penetrated into the raw material pellets.
  • the cross section of the resin pellet was observed using TEM. In TEM, palladium could not be detected in the cross section of the resin pellet. From this result, it is presumed that the palladium in the resin pellet is present at an atomic level below the detection limit of TEM.
  • the resin member having the part 101 and the second part 102 was molded.
  • the resin member means a member obtained by removing the plating film 103 from the resin component 100 shown in FIG.
  • the first thermoplastic resin glass fiber reinforced nylon 6 containing 45% by weight of glass fiber (Toray, Amilan CM1011G45)
  • the second thermoplastic resin glass fiber reinforced nylon 6 containing 60% by weight of glass fiber (manufactured by Toyobo) , Gramide TY791G60), and the resin pellets produced above were used as resin pellets (masterbatch).
  • the ratio of the resin pellets (master batch) to the total amount of the resin pellets (master batch) and the first heat-composable resin was 5% by weight.
  • the proportion of palladium in the resin pellets (master batch) used in this example was 190 ppm by weight
  • the ratio of palladium in the first portion 101 of the resin member obtained in this example was measured by ICP-MS, it was confirmed that the error of the calculated value was within 10%.
  • an electrolytic copper plating film of 10 ⁇ m, an electrolytic nickel plating film of 10 ⁇ m, and an electrolytic trivalent chromium plating film of 0.2 ⁇ m are laminated in this order on the nickel phosphorus plating film by a general-purpose method, and the resin component 100 shown in FIG. Got.
  • a third evaluation molded body having the same composition as that of the first portion 101 and a fourth evaluation molded body having the same composition as that of the second portion 102 were molded.
  • the 3rd and 4th molded object for evaluation is a molded object of the dumbbell test piece shape based on test method ISO178.
  • the bending elastic moduli at room temperature (23 ° C.) of the third and fourth molded articles for evaluation were measured by a method based on the test method, and these bending elastic moduli were respectively measured as the first and second bending elastic moduli. It was set as the bending elastic modulus of this part.
  • the flexural modulus of the first part was 13.0 GPa
  • the flexural modulus of the second part was 16.0 GPa. It turned out that the 1st site
  • Hot water test The manufactured resin component 100 was immersed in 40 degreeC water for 200 hours. The resin component 100 after immersion was visually observed and evaluated based on the following evaluation criteria. Evaluation criteria for hot water test: ⁇ : No peeling between the first part 101 and the second part 102. X: There is peeling between the first portion 101 and the second portion 102. After the hot water test, in the resin component 100 of this example, there was no peeling between the first part 101 and the second part 102, and the hot water test evaluation was “ ⁇ ”.
  • Thermal shock test A heat shock test in which the produced resin part 100 was alternately exposed to an atmosphere of ⁇ 40 ° C. and 120 ° C. was performed 50 cycles. The resin component 100 after the thermal shock test was visually observed and evaluated based on the following evaluation criteria. Thermal shock test evaluation criteria: A: The plating film 103 is not swollen, cracked, peeled off or the like. C: The plating film 103 has any swelling, cracking, peeling, or the like. In the resin component 100 of this example, the plating film 103 did not swell, crack, peel, etc., and the evaluation result was “A”.
  • the resin component 100 of this example was able to easily form a plating film only on the first portion 101, and the contrast with and without the plating film was clear and excellent in design. In the second portion 102, no deposition of the plating film was observed. Further, it has high rigidity, heat resistance and water resistance, and is suitable for automobile interior parts that require them.
  • a chromium plating film is often formed on the outermost layer of the design plating film from the viewpoint of weather resistance, but trivalent chromium plating is formed rather than hexavalent chromium plating from the viewpoint of suppressing environmental load and deterioration of the resin material. It is preferable.
  • Example 2 As the first thermoplastic resin, mineral-reinforced nylon 6 containing approximately 40% by weight of mineral (Toyobo, Gramide T777-02), and as the second thermoplastic resin, aromatic glass fiber containing 50% by weight of glass fiber.
  • a resin component 100 shown in FIG. 1 was manufactured by the same manufacturing method using the same material as in Example 1 except that reinforced 6T nylon (manufactured by Toyobo, GLAMIDE TY791G) was used.
  • the time (plating time) required until the entire surface of the first part was covered with the nickel phosphorous plating film was 3 minutes.
  • the ratio of palladium in the first portion 101 of the resin member obtained in this example was measured by ICP-MS, it was confirmed that the error of the calculated value was within 10%.
  • the resin component 100 of this example was able to easily form a plating film only on the first portion 101, and the contrast with and without the plating film was clear and excellent in design. In the second portion 102, no deposition of the plating film was observed. Further, it has high rigidity, heat resistance and water resistance, and is suitable for automobile interior parts that require them. Further, in this example, since mineral reinforced nylon having a low thermal expansion coefficient was used as the first thermoplastic resin, it was possible to increase the glossiness of the plated film as compared with Example 1.
  • the melting point of the first thermoplastic resin is 225 ° C.
  • the melting point of the second thermoplastic resin is 290 ° C.
  • the difference is as large as 65 ° C.
  • the first part including the first thermoplastic resin having a low melting point is first used in the two-color molding as in this embodiment. It is preferable to mold the second portion including the second thermoplastic resin having a high melting point later.
  • Example 3 As the first thermoplastic resin, non-reinforced nylon 6 (manufactured by Toyobo, T-802), and as the second thermoplastic resin, glass fiber reinforced MXD nylon 6 containing 50% by weight of glass fiber (manufactured by Mitsubishi Engineering Plastics, Reny 1025).
  • the ratio of the resin pellet (master batch) to the total amount of the resin pellet (master batch) and the first heat-composable resin was changed to 10% by weight.
  • a resin component 100 shown in FIG. 1 was manufactured by the same manufacturing method using the same material as in Example 1. The time (plating time) required until the entire surface of the first part was covered with the nickel phosphorous plating film was 1.5 minutes.
  • the ratio of palladium in the first portion 101 of the resin member obtained in this example was measured by ICP-MS, it was confirmed that the error of the calculated value was within 10%.
  • the resin component 100 of this example was able to easily form a plating film only on the first portion 101, and the contrast with and without the plating film was clear and excellent in design. In the second portion 102, no deposition of the plating film was observed. Further, it has high rigidity, heat resistance and water resistance, and is suitable for automobile interior parts that require them.
  • non-reinforced nylon with high water absorption was used as the first thermoplastic resin, and the masterbatch content was also 10% by weight higher than those in Examples 1 and 2.
  • the water absorption rate of the first part was as high as 2.9% by weight, the plating reactivity of the first part was improved, and the plating time was significantly shortened to 1.5 minutes.
  • the glossiness of the plating film was able to be improved.
  • the plated portion such as the register blade shown in FIG. 3B has a small volume
  • the first thermoplastic resin is used. Because of the small heat capacity, the adhesion between the first part and the second part may not be ensured.
  • Example 4 As the first thermoplastic resin, mineral-reinforced nylon 6 containing approximately 40% by weight of the same mineral as in Example 2 (Toyobo, Gramide T777-02), and as the second thermoplastic resin, glass fiber-reinforced MXD nylon 6 is used.
  • the resin component 100 of this example was able to easily form a plating film only on the first portion 101, and the contrast with and without the plating film was clear and excellent in design. In the second portion 102, no deposition of the plating film was observed. Further, it has high rigidity, heat resistance and water resistance, and is suitable for automobile interior parts that require them.
  • the melting point of the second thermoplastic resin is lower than the melting point of the first thermoplastic resin. Therefore, even in the case where the first thermoplastic resin having a small heat capacity is later injection-molded in the shape of a small volume of the plated portion (first portion 321) such as the register blade shown in FIG. Since the melting point of the second thermoplastic resin is low, the adhesion between the first part and the second part is ensured.
  • the resin component 100 having a partial plating film of this example was able to easily form a plating film only on the first portion 101, and the contrast of the presence or absence of the plating film was clear and the design was excellent. In the second portion 102, no deposition of the plating film was observed. Further, it has high rigidity, heat resistance and water resistance, and is suitable for automobile interior parts that require them.
  • the glossiness of the plated portion could be enhanced as in Example 2.
  • the highly flexible copolymer nylon is used for the 2nd site
  • the resin component 100 of the present embodiment has high flexibility as well as heat resistance and water resistance, and is suitable for automobile interior parts that require them.
  • [Comparative Example 1] Acrylonitrile-butadiene-styrene copolymer resin (ABS resin) (Toray, Toyolac 125X82) as the first thermoplastic resin, and polycarbonate (PC) (Teijin, Panlite L-1225Y) as the second thermoplastic resin
  • ABS resin Acrylonitrile-butadiene-styrene copolymer resin
  • PC polycarbonate
  • part 102 was shape
  • the resin member means a member obtained by removing the plating film 103 from the resin component 100 shown in FIG.
  • a plating film 103 was formed on the first portion 101 by a general-purpose method described below.
  • the resin member was etched using hexavalent chromic acid. Since hexavalent chromic acid etched the butadiene component of the ABS resin and did not etch the polycarbonate, only the first portion 101 was etched.
  • application (catalyst) and activation (accelerator) of palladium colloid as a catalyst core for electroless plating are performed, and then, an electroless nickel plating solution (Okuno Pharmaceutical Co., Ltd., Nicolon DK) at 85 ° C. for 10 minutes. Soaked.
  • an electrolytic copper plating film of 10 ⁇ m, an electrolytic nickel plating film of 10 ⁇ m, and an electrolytic trivalent chromium plating of 0.2 ⁇ m are laminated in this order on the nickel phosphorous plating film by the same method as in Example 1 and shown in FIG. A resin component 100 was obtained.
  • Thermal shock test A thermal shock test was performed in the same manner as in Example 1, and evaluation was performed in accordance with the same evaluation criteria as in Example 1. In the resin component 100 of this comparative example, the plating film 103 was peeled off.
  • thermal shock test evaluation criteria B: No swelling, cracking, peeling, or the like has occurred in the plating film 103.
  • D The plating film 103 has any swelling, cracking, peeling, or the like. In the resin component 100 of this comparative example, the plating film 103 did not swell, crack, peel, etc., and the evaluation result was “B”.
  • a plating film can be easily formed only on the first portion 101, the contrast with and without the plating film is clear, and the design is excellent.
  • the second portion 102 no deposition of the plating film was observed.
  • the resin part of this comparative example has lower rigidity and heat resistance than the resin parts of Examples 1 to 5 using polyamide.
  • ABS resin and polycarbonate are known to have low chemical resistance, and the resin parts of this comparative example are presumed to have low chemical resistance compared to the resin parts of Examples 1 to 5. .
  • a resin component 100 shown in FIG. 1 is manufactured by the same manufacturing method using the same material as in Example 1 except that non-reinforced nylon 6 (Toyobo's Gramide T-802) is used as the second thermoplastic resin. did.
  • the time (plating time) required until the entire surface of the first part was covered with the nickel phosphorus plating film was 1.5 minutes.
  • a part of the peeling occurred between the first part 101 and the second part 102.
  • a plating film can be easily formed only on the first portion 101, and the contrast with and without the plating film was clear.
  • the second portion 102 no deposition of the plating film was observed.
  • the resin component 100 obtained as described above part of the peeling occurred between the first portion 101 and the second portion 102. This is presumably because the water absorption rate of the second part 102 is as high as 2.6% by weight, and water has accumulated at the interface between the first part 101 and the second part 102. From the results of Example 4 and this comparative example, it was found that the water absorption rate of the second part needs to be lower than 2.6% by weight, and preferably 2.0% by weight or less.
  • Example 3 As the first thermoplastic resin, using the same material as in Example 1 except that glass fiber reinforced MXD nylon 6 (Mitsubishi Engineering Plastics, Reny 1025) containing 50% by weight of glass fiber was used, The resin component 100 shown in FIG. 1 was manufactured. In the obtained resin component 100, the nickel phosphorus plating film was missing, and the plating film 103 did not cover the entire surface of the first part. For this reason, in this comparative example, the time (plating time) required until the entire surface of the first part was covered could not be measured.
  • glass fiber reinforced MXD nylon 6 Mitsubishi Engineering Plastics, Reny 1025
  • the plating film did not grow stably, and the nickel phosphorus plating film was detached. This is presumably because the water absorption rate of the first part is too low. From this result, it was found that the water absorption rate of the first part needs to be higher than 0.4% by weight, and preferably 0.5% by weight or more.
  • Non-reinforced nylon 6 (Toyobo, T-802) was used as the first thermoplastic resin, and the ratio of the resin pellet (masterbatch) to the total amount of the resin pellet (masterbatch) and the first thermocomposable resin
  • the resin component 100 shown in FIG. 1 was manufactured by the same manufacturing method using the same material as in Example 1 except that the content was changed to 15% by weight.
  • the time (plating time) required until the entire surface of the first part was covered with the nickel phosphorous plating film was 1.2 minutes.
  • a crack was confirmed in a part of the plating film 103.
  • the resin component 100 of this comparative example can easily form a plating film only on the first portion 101, and the contrast of the presence or absence of the plating film is clear. In the second portion 102, no deposition of the plating film was observed. However, in the resin component 100 of this comparative example, a crack was confirmed in a part of the plating film 103. This is presumed that since the water absorption rate of the first member was too high, the first part was swollen during plating and adhesion to the plating film could not be secured. From this result, it was found that the water absorption rate of the first part needs to be smaller than 3.2% by weight, and preferably 3.0% by weight or less.
  • thermoplastic resin glass fiber reinforced nylon 6
  • PA6 Mineral reinforced nylon 6
  • PA6T glass fiber reinforced 6T nylon non-reinforced
  • PA6 non-reinforced nylon 6 GF reinforced
  • MXDPA6 Glass fiber reinforced MXD nylon 6
  • PA6 / PA66 copolymer nylon 6 / nylon 66 copolymer ABS resin: acrylonitrile / butadiene / styrene copolymer resin
  • PC polycarbonate
  • the register plate 320 shown in FIGS. 3B, 4A, and 4B described above was manufactured.
  • a first thermoplastic resin mineral-reinforced nylon 6 containing about 40% by weight of mineral (Toyobo, Gramide T777-02)
  • a second thermoplastic resin glass fiber-reinforced nylon 6 containing 60% by weight of glass fiber
  • the first part 321 and the second part 322 are formed by a general-purpose two-color molding method using the resin pellet (masterbatch) manufactured in Example 1 as a black grade of resin grade and a black grade of Gramide TY791-G60.
  • the resin member means a member obtained by removing the plating film from the register plate 320 shown in FIG.
  • the ratio of the resin pellet (master batch) to the total amount of the resin pellet (master batch) and the first heat-composable resin was 5% by weight.
  • molding was performed using a mold in which a surface corresponding to the first part 321 was mirror-finished and a surface corresponding to the second part 322 was subjected to a textured process.
  • a plating film was formed on the first portion 321 by the same method as in Example 1 to obtain the register plate 320 shown in FIG.
  • the time (plating time) required until the entire surface of the first part was covered with the nickel phosphorus plating film was 5 minutes.
  • High-temperature storage test The register blade 320 of this example was left in an environment of 140 ° C to 150 ° C for 48 hours. The register brate 320 after the test was visually observed and evaluated based on the following evaluation criteria. High temperature storage test evaluation criteria: ⁇ : No plastic deformation was observed, and no swelling, cracking or peeling occurred in the plating film. X: Plastic deformation was observed, and the plating film was swollen, cracked or peeled off. In the register blade 320 of this example, plastic deformation was not recognized, and the plating film did not swell, crack, peel off, etc., and the evaluation was “ ⁇ ”.
  • the length (L) of the register blade 320 was 150 mm, and the average thickness (D) was 3 mm. These ratios (L / D) were 50.
  • the center portion was pressurized with 50 N while supporting both ends in the length (L) direction (extending direction) of the register blade 320. The amount of deflection at the center was 1 mm.
  • Example 7 the slide knob 330 shown in FIG. 3C described above was manufactured.
  • the first thermoplastic resin mineral-reinforced nylon 6 containing 40% by weight of mineral (Toyobo, Gramide T777-02)
  • glass fiber-reinforced nylon 66 containing 30% by weight of glass fiber ( Toray, CM3006G-30) black grade
  • resin pellets (masterbatch) produced in Example 1 were used as resin pellets, and the first part 331 and the second part 332 were obtained by a general-purpose two-color molding method.
  • a resin member was molded.
  • the resin member means a member obtained by removing the plating film from the slide knob 330 shown in FIG.
  • the ratio of the resin pellets (master batch) to the total amount of the resin pellets (master batch) and the first heat-composable resin was 5% by weight. Further, in this example, the molding was performed using a mold in which the surface corresponding to the first part 331 was mirror-finished and the surface corresponding to the second part 332 was subjected to a graining process. Next, a plating film was formed on the first portion 331 by the same method as in Example 1 to obtain the slide knob 330 shown in FIG. The time (plating time) required until the entire surface of the first part was covered with the nickel phosphorus plating film was 4 minutes.
  • Example 8 the dial knob 340 shown in FIG. 6 described above was manufactured.
  • the first thermoplastic resin mineral-reinforced nylon 6 containing approximately 40% by weight of mineral (Toyobo, Gramide T777-02) and as the second thermoplastic resin, olefin elastomer (TPO) (manufactured by Prime Polymer, Prime TPO)
  • TPO olefin elastomer
  • the resin member having the first part 341 and the second part 342 is obtained by a general-purpose two-color molding method using the resin grade (master batch) produced in Example 1 as the black grade of E-2910) and the resin pellet. Molded.
  • the resin member means a member obtained by removing the plating film from the dial knob 340 shown in FIG.
  • the ratio of the resin pellets (master batch) to the total amount of the resin pellets (master batch) and the first heat-composable resin was 5% by weight.
  • a plating film was formed on the first part 341 in the same manner as in Example 1 on the obtained resin member, and the dial knob 340 shown in FIG. 6 was obtained.
  • the time (plating time) required until the entire surface of the first part was covered with the nickel phosphorus plating film was 4 minutes.
  • Thermal shock test A heat shock test was performed in which the manufactured dial knob 340 was alternately exposed to an atmosphere of ⁇ 40 ° C. and 90 ° C. for 50 cycles. The dial knob 340 after the thermal shock test was visually observed and evaluated based on the following evaluation criteria. Thermal shock test evaluation criteria: B: No swelling, cracking, peeling or the like occurs in the plating film. D: Any swelling, cracking, peeling, or the like occurs in the plating film. In the dial knob 340 of this example, the plating film 341 did not swell, crack, peel, etc., and the evaluation result was “B”.
  • Example 9 the shift knob 600 shown in FIG. 8 described above was manufactured.
  • Mineral-reinforced nylon 6 containing approximately 40% by weight of mineral (Toyobo, Gramide T777-02) as the first thermoplastic resin, polyvinyl chloride (Shin-Etsu Polymer, JD476), resin pellets as the second thermoplastic resin
  • the resin member (masterbatch) manufactured in Example 1 was used to mold a resin member having the first part 601 and the second parts 602a, 602b, and 602c by a general-purpose two-color molding method.
  • the resin member means a member obtained by removing the plating film from the shift knob 600 shown in FIG.
  • the ratio of the resin pellet (master batch) to the total amount of the resin pellet (master batch) and the first heat-composable resin was 5% by weight.
  • a plating film was formed on the first part 601 on the obtained resin member by the same method as in Example 1 to obtain a shift knob 600 shown in FIG.
  • the time (plating time) required until the entire surface of the first part was covered with the nickel phosphorus plating film was 4 minutes.
  • Example 10 the assist grip 700 shown in FIG. 9A described above was manufactured.
  • the first thermoplastic resin mineral-reinforced nylon 6 containing approximately 40% by weight of mineral (Toyobo, Gramide T777-02) and as the second thermoplastic resin, olefin elastomer (TPO) (manufactured by Prime Polymer, Prime TPO) E-2910) and a maleic anhydride modified polypropylene (PP-MAH) (Sanyo Chemical Industries, Yumex 1001) mixture, resin pellets (masterbatch) produced in Example 1 as resin pellets, general two-color molding A resin member having a first portion 701 and a second portion 702 was molded by the method.
  • TPO olefin elastomer
  • PP-MAH maleic anhydride modified polypropylene
  • the resin member means a member obtained by removing the plating film from the assist grip 700 shown in FIG.
  • the maleic anhydride-modified polypropylene is a compatibilizing material for improving the adhesion between the first part and the second part, and 5% by weight was mixed in the second thermoplastic resin.
  • the ratio of the resin pellets (master batch) to the total amount of the resin pellets (master batch) and the first heat-composable resin was 5% by weight.
  • a plating film was formed on the first portion 701 by the same method as in Example 1 to obtain the assist grip 700 shown in FIG. 9A.
  • the time (plating time) required until the entire surface of the first part was covered with the nickel phosphorus plating film was 5 minutes.
  • the register bezel 410 of this embodiment shown in FIG. 7A described above was manufactured.
  • the first thermoplastic resin mineral-reinforced nylon 6 containing approximately 40% by weight of mineral (Toyobo, Gramide T777-02)
  • the second thermoplastic resin an alloy resin of polyamide and ABS resin (manufactured by Daicel Polymer, Novalloy) A1300)
  • the resin member having the first part 411 and the second part 412 was molded by a general-purpose two-color molding method using the resin pellets (master batch) produced in Example 1 as the resin pellets.
  • the resin member means a member obtained by removing the plating film from the register bezel 410 shown in FIG.
  • the ratio of the resin pellets (master batch) to the total amount of the resin pellets (master batch) and the first heat-composable resin was 5% by weight.
  • a plating film was formed on the first portion 411 in the same manner as in Example 1 on the obtained resin member, and the register bezel 410 of this embodiment shown in FIG. 7A was obtained.
  • the time (plating time) required until the entire surface of the first part was covered with the nickel phosphorus plating film was 5 minutes.
  • the resin parts for automobiles of Examples 6 to 11 described above were able to easily form a plating film only on the first part, and the contrast of the presence or absence of the plating film was clear and excellent in design. No plating film was observed at the second site. Moreover, since it was an integrally molded product, no step was found between the first part and the second part. Furthermore, since it has high water resistance, rigidity, and heat resistance, long-term reliability can be ensured even in the harsh indoor environment of an automobile that is assumed to be near 100 ° C.
  • a plating film was formed on the first portion 321 by the same conventional method as in Comparative Example 1, and a register blade of this comparative example was obtained. Since hexavalent chromic acid etches the butadiene component of the ABS resin and does not etch the polycarbonate, only the first portion 321 is etched to form a plating film. The time (plating time) required until the entire surface of the first part was covered with the nickel phosphorus plating film was 3 minutes.
  • Example 6 Deflection Evaluation As in Example 6, the register blade of this comparative example had a length (L) of 150 mm and an average thickness (D) of 3 mm. These ratios (L / D) were 50. In the same manner as in Example 6, both ends of the register blade in the length (L) direction (extending direction) were supported, and the central portion was pressurized with 50N. The amount of deflection at the center was 10 mm.
  • the register blade of this comparative example has low rigidity and heat resistance.
  • ABS resin and polycarbonate are known to have low chemical resistance, it is estimated that the register blade of this comparative example also has low chemical resistance. Therefore, it is considered difficult to put the register blade of this comparative example into practical use as an automotive resin part.
  • a register blade having the same shape as the register blade 320 shown in FIGS. 3B, 4A, and 4B described above was manufactured.
  • CM3001-N manufactured by Toray Industries, Inc. was used as the second thermoplastic resin.
  • the time (plating time) required until the entire surface of the first part was covered with the nickel phosphorus plating film was 3 minutes. In the obtained register blade, some peeling occurred between the first part and the second part.
  • the register blade of this comparative example was 150 mm in length (L) and 3 mm in average thickness (D). These ratios (L / D) were 50.
  • both ends of the register blade in the length (L) direction (extending direction) were supported, and the central portion was pressurized with 50N. The amount of deflection at the center was 10 mm.
  • thermoplastic resin glass fiber reinforced nylon 6
  • PA6 Mineral reinforced nylon 6
  • PA66 glass fiber reinforced nylon 66
  • TPO Olefin-based elastomer
  • PP-MAH Maleic anhydride modified polypropylene
  • PA / ABS alloy resin Polyamide and ABS resin alloy resin
  • ABS resin Acrylonitrile butadiene styrene copolymer resin
  • PC Polycarbonate unreinforced
  • PA66 Unreinforced nylon 66
  • the resin part for automobiles of the present invention is any one of a register for an air conditioner, a shift knob, and an assist grip. These automotive resin parts have a clear contrast with the presence or absence of a partially formed plating film and are excellent in design. In addition, it has high rigidity, heat resistance, and chemical resistance, and can provide long-term reliability in the harsh indoor environment of automobiles.

Landscapes

  • Chemical & Material Sciences (AREA)
  • Engineering & Computer Science (AREA)
  • Mechanical Engineering (AREA)
  • Chemical Kinetics & Catalysis (AREA)
  • General Chemical & Material Sciences (AREA)
  • Transportation (AREA)
  • Materials Engineering (AREA)
  • Metallurgy (AREA)
  • Organic Chemistry (AREA)
  • Inorganic Chemistry (AREA)
  • Chemically Coating (AREA)
  • Arrangement Or Mounting Of Control Devices For Change-Speed Gearing (AREA)
  • Air-Conditioning For Vehicles (AREA)
  • Injection Moulding Of Plastics Or The Like (AREA)
PCT/JP2015/052747 2014-01-31 2015-01-30 自動車用樹脂部品及びその製造方法 Ceased WO2015115615A1 (ja)

Applications Claiming Priority (2)

Application Number Priority Date Filing Date Title
JP2014017522A JP6336764B2 (ja) 2014-01-31 2014-01-31 自動車用樹脂部品及びその製造方法
JP2014-017522 2014-08-11

Publications (1)

Publication Number Publication Date
WO2015115615A1 true WO2015115615A1 (ja) 2015-08-06

Family

ID=53757182

Family Applications (1)

Application Number Title Priority Date Filing Date
PCT/JP2015/052747 Ceased WO2015115615A1 (ja) 2014-01-31 2015-01-30 自動車用樹脂部品及びその製造方法

Country Status (2)

Country Link
JP (1) JP6336764B2 (enExample)
WO (1) WO2015115615A1 (enExample)

Cited By (1)

* Cited by examiner, † Cited by third party
Publication number Priority date Publication date Assignee Title
DE102023203296A1 (de) * 2023-04-12 2024-10-17 Volkswagen Aktiengesellschaft Innenraumkomponente für einen Luftausströmer, Luftausströmer und Herstellungsverfahren

Families Citing this family (4)

* Cited by examiner, † Cited by third party
Publication number Priority date Publication date Assignee Title
KR20180040203A (ko) * 2016-10-12 2018-04-20 현대자동차주식회사 도어스텝 제조 방법
JP6879141B2 (ja) 2017-09-20 2021-06-02 豊田合成株式会社 空調用レジスタフィン
JP6561157B2 (ja) * 2018-02-02 2019-08-14 マクセルホールディングス株式会社 自動車用樹脂部品及びその製造方法
JP6976917B2 (ja) * 2018-09-25 2021-12-08 ダイハツ工業株式会社 樹脂成形部材

Citations (3)

* Cited by examiner, † Cited by third party
Publication number Priority date Publication date Assignee Title
JP2006265673A (ja) * 2005-03-25 2006-10-05 Daicel Chem Ind Ltd めっき樹脂成形体
JP2008081838A (ja) * 2006-08-28 2008-04-10 Daicel Polymer Ltd めっき樹脂成形体
JP2013216746A (ja) * 2012-04-06 2013-10-24 Hitachi Maxell Ltd 成形体の製造方法

Family Cites Families (2)

* Cited by examiner, † Cited by third party
Publication number Priority date Publication date Assignee Title
JP2010132976A (ja) * 2008-12-05 2010-06-17 Hitachi Maxell Ltd めっき膜を有するプラスチック部材の製造方法
JP2013213276A (ja) * 2012-03-08 2013-10-17 Hitachi Maxell Ltd メッキ膜を有する成形体の製造方法、樹脂ペレットの製造方法、メッキ膜を有する発泡成形体及びメッキ膜を有する成形体

Patent Citations (3)

* Cited by examiner, † Cited by third party
Publication number Priority date Publication date Assignee Title
JP2006265673A (ja) * 2005-03-25 2006-10-05 Daicel Chem Ind Ltd めっき樹脂成形体
JP2008081838A (ja) * 2006-08-28 2008-04-10 Daicel Polymer Ltd めっき樹脂成形体
JP2013216746A (ja) * 2012-04-06 2013-10-24 Hitachi Maxell Ltd 成形体の製造方法

Cited By (1)

* Cited by examiner, † Cited by third party
Publication number Priority date Publication date Assignee Title
DE102023203296A1 (de) * 2023-04-12 2024-10-17 Volkswagen Aktiengesellschaft Innenraumkomponente für einen Luftausströmer, Luftausströmer und Herstellungsverfahren

Also Published As

Publication number Publication date
JP2015143381A (ja) 2015-08-06
JP6336764B2 (ja) 2018-06-06

Similar Documents

Publication Publication Date Title
JP6336764B2 (ja) 自動車用樹脂部品及びその製造方法
Olivera et al. Plating on acrylonitrile–butadiene–styrene (ABS) plastic: a review
EP3083792B1 (de) Kunststoffformmasse und deren verwendung
EP2894240B1 (en) Metal/resin composite structure and use of metal member
CN101743111B (zh) 金属和树脂的复合体及其制造方法
US20180250854A1 (en) Molded polymeric structures having a metallized surface
JP2006523544A (ja) 物品
JP6561157B2 (ja) 自動車用樹脂部品及びその製造方法
KR20200016255A (ko) 금속 표면 상의 플라스틱 오버몰딩 방법 및 플라스틱-금속 하이브리드 부품
JP2000108205A (ja) プラスチック複合成形品及びその製造方法
CN104540655A (zh) 塑料制复合材料组件
WO2015114868A1 (ja) 樹脂成形体及びその製造方法
KR102440610B1 (ko) 복합소재 조성물
CN101360772B (zh) 降冰片烯系树脂成型体及其制备方法
JP6820968B2 (ja) メッキ部品
US20210213656A1 (en) 3d-printed (lattice structured) metal - plastic matrix compound material
JP6614845B2 (ja) メッキ部品の製造方法
EP1620497B1 (de) Gegenstand mit einem schichtenverbund
JP5138394B2 (ja) ポリマー部材
CN102883881A (zh) 具有与其主体不同组成的表面以及对包覆的金属层具有增加的粘结强度的聚合制品
JP7194372B2 (ja) 樹脂成形品の被膜形成方法
JP4092360B1 (ja) ポリマー部材及びその製造方法
JP6318001B2 (ja) メッキ膜を有する成形体の製造方法
JP6559960B2 (ja) メッキ部品の製造方法及びメッキ部品
Akay Chromium coating of wollastonite filled polyamide 6 and evaluation of thermal cycle strength

Legal Events

Date Code Title Description
121 Ep: the epo has been informed by wipo that ep was designated in this application

Ref document number: 15743272

Country of ref document: EP

Kind code of ref document: A1

NENP Non-entry into the national phase

Ref country code: DE

122 Ep: pct application non-entry in european phase

Ref document number: 15743272

Country of ref document: EP

Kind code of ref document: A1