WO2015111350A1 - オイルセパレータ - Google Patents

オイルセパレータ Download PDF

Info

Publication number
WO2015111350A1
WO2015111350A1 PCT/JP2014/084130 JP2014084130W WO2015111350A1 WO 2015111350 A1 WO2015111350 A1 WO 2015111350A1 JP 2014084130 W JP2014084130 W JP 2014084130W WO 2015111350 A1 WO2015111350 A1 WO 2015111350A1
Authority
WO
WIPO (PCT)
Prior art keywords
oil
discharge port
gas
blow
cylindrical body
Prior art date
Legal status (The legal status is an assumption and is not a legal conclusion. Google has not performed a legal analysis and makes no representation as to the accuracy of the status listed.)
Ceased
Application number
PCT/JP2014/084130
Other languages
English (en)
French (fr)
Japanese (ja)
Inventor
吉良直樹
Current Assignee (The listed assignees may be inaccurate. Google has not performed a legal analysis and makes no representation or warranty as to the accuracy of the list.)
Aisin Corp
Original Assignee
Aisin Seiki Co Ltd
Priority date (The priority date is an assumption and is not a legal conclusion. Google has not performed a legal analysis and makes no representation as to the accuracy of the date listed.)
Filing date
Publication date
Application filed by Aisin Seiki Co Ltd filed Critical Aisin Seiki Co Ltd
Priority to CN201490001334.4U priority Critical patent/CN206175023U/zh
Priority to US15/110,606 priority patent/US20160333755A1/en
Publication of WO2015111350A1 publication Critical patent/WO2015111350A1/ja
Anticipated expiration legal-status Critical
Ceased legal-status Critical Current

Links

Images

Classifications

    • FMECHANICAL ENGINEERING; LIGHTING; HEATING; WEAPONS; BLASTING
    • F01MACHINES OR ENGINES IN GENERAL; ENGINE PLANTS IN GENERAL; STEAM ENGINES
    • F01MLUBRICATING OF MACHINES OR ENGINES IN GENERAL; LUBRICATING INTERNAL COMBUSTION ENGINES; CRANKCASE VENTILATING
    • F01M13/00Crankcase ventilating or breathing
    • F01M13/04Crankcase ventilating or breathing having means for purifying air before leaving crankcase, e.g. removing oil
    • F01M13/0416Crankcase ventilating or breathing having means for purifying air before leaving crankcase, e.g. removing oil arranged in valve-covers
    • BPERFORMING OPERATIONS; TRANSPORTING
    • B01PHYSICAL OR CHEMICAL PROCESSES OR APPARATUS IN GENERAL
    • B01DSEPARATION
    • B01D46/00Filters or filtering processes specially modified for separating dispersed particles from gases or vapours
    • B01D46/0027Filters or filtering processes specially modified for separating dispersed particles from gases or vapours with additional separating or treating functions
    • B01D46/003Filters or filtering processes specially modified for separating dispersed particles from gases or vapours with additional separating or treating functions including coalescing means for the separation of liquid
    • B01D46/0031Filters or filtering processes specially modified for separating dispersed particles from gases or vapours with additional separating or treating functions including coalescing means for the separation of liquid with collecting, draining means
    • BPERFORMING OPERATIONS; TRANSPORTING
    • B01PHYSICAL OR CHEMICAL PROCESSES OR APPARATUS IN GENERAL
    • B01DSEPARATION
    • B01D46/00Filters or filtering processes specially modified for separating dispersed particles from gases or vapours
    • B01D46/0027Filters or filtering processes specially modified for separating dispersed particles from gases or vapours with additional separating or treating functions
    • B01D46/0036Filters or filtering processes specially modified for separating dispersed particles from gases or vapours with additional separating or treating functions by adsorption or absorption
    • FMECHANICAL ENGINEERING; LIGHTING; HEATING; WEAPONS; BLASTING
    • F01MACHINES OR ENGINES IN GENERAL; ENGINE PLANTS IN GENERAL; STEAM ENGINES
    • F01MLUBRICATING OF MACHINES OR ENGINES IN GENERAL; LUBRICATING INTERNAL COMBUSTION ENGINES; CRANKCASE VENTILATING
    • F01M13/00Crankcase ventilating or breathing
    • FMECHANICAL ENGINEERING; LIGHTING; HEATING; WEAPONS; BLASTING
    • F01MACHINES OR ENGINES IN GENERAL; ENGINE PLANTS IN GENERAL; STEAM ENGINES
    • F01MLUBRICATING OF MACHINES OR ENGINES IN GENERAL; LUBRICATING INTERNAL COMBUSTION ENGINES; CRANKCASE VENTILATING
    • F01M13/00Crankcase ventilating or breathing
    • F01M13/02Crankcase ventilating or breathing by means of additional source of positive or negative pressure
    • F01M13/021Crankcase ventilating or breathing by means of additional source of positive or negative pressure of negative pressure
    • F01M13/022Crankcase ventilating or breathing by means of additional source of positive or negative pressure of negative pressure using engine inlet suction
    • FMECHANICAL ENGINEERING; LIGHTING; HEATING; WEAPONS; BLASTING
    • F01MACHINES OR ENGINES IN GENERAL; ENGINE PLANTS IN GENERAL; STEAM ENGINES
    • F01MLUBRICATING OF MACHINES OR ENGINES IN GENERAL; LUBRICATING INTERNAL COMBUSTION ENGINES; CRANKCASE VENTILATING
    • F01M13/00Crankcase ventilating or breathing
    • F01M13/04Crankcase ventilating or breathing having means for purifying air before leaving crankcase, e.g. removing oil
    • FMECHANICAL ENGINEERING; LIGHTING; HEATING; WEAPONS; BLASTING
    • F02COMBUSTION ENGINES; HOT-GAS OR COMBUSTION-PRODUCT ENGINE PLANTS
    • F02FCYLINDERS, PISTONS OR CASINGS, FOR COMBUSTION ENGINES; ARRANGEMENTS OF SEALINGS IN COMBUSTION ENGINES
    • F02F7/00Casings, e.g. crankcases
    • FMECHANICAL ENGINEERING; LIGHTING; HEATING; WEAPONS; BLASTING
    • F02COMBUSTION ENGINES; HOT-GAS OR COMBUSTION-PRODUCT ENGINE PLANTS
    • F02FCYLINDERS, PISTONS OR CASINGS, FOR COMBUSTION ENGINES; ARRANGEMENTS OF SEALINGS IN COMBUSTION ENGINES
    • F02F7/00Casings, e.g. crankcases
    • F02F7/006Camshaft or pushrod housings
    • FMECHANICAL ENGINEERING; LIGHTING; HEATING; WEAPONS; BLASTING
    • F01MACHINES OR ENGINES IN GENERAL; ENGINE PLANTS IN GENERAL; STEAM ENGINES
    • F01MLUBRICATING OF MACHINES OR ENGINES IN GENERAL; LUBRICATING INTERNAL COMBUSTION ENGINES; CRANKCASE VENTILATING
    • F01M13/00Crankcase ventilating or breathing
    • F01M13/04Crankcase ventilating or breathing having means for purifying air before leaving crankcase, e.g. removing oil
    • F01M2013/0438Crankcase ventilating or breathing having means for purifying air before leaving crankcase, e.g. removing oil with a filter

Definitions

  • the present invention relates to an oil separator, and more particularly to an improvement of an oil separator that collects oil from oil mist contained in blowby gas.
  • the oil mist collides with the primary collision plate, the partition wall, and the secondary collision plate to promote the separation of the oil from the oil mist and the downward flow of the separated oil. It is a thing. In this configuration, the formation of the gas passages on both sides of the collision plate prevents the oil from being rewound when the blowby gas passes.
  • Patent Document 2 shows an oil separator using a plurality of cyclones. This oil separator introduces the blowby gas flowing from the gas inlet into the plurality of cyclones arranged in a row via the flow straightening chamber, and the oil mist in the blowby gas is generated by the centrifugal force associated with the swirling flow generated inside the cyclone. Aggregate and collect the oil from the
  • the oil separator Since the oil separator is disposed in the path for returning the blowby gas to the intake system of the internal combustion engine, negative pressure from the intake system acts on the internal blowby gas circulation portion at the intake timing of the internal combustion engine.
  • the oil separator configured to collect oil from oil mist contained in the blowby gas sent to the blowby gas distribution unit and discharge it from the oil discharge port formed at the bottom by its own weight, the oil acts by negative pressure. The oil may flow back from the outlet and the oil may again become mist.
  • the oil outlet is compared in the configuration of the present invention. It becomes possible to bring the air flow spouted out into contact with the recess after being made to contact and decelerate the blow-by gas or air of the blow-by gas distribution part. With such a configuration, it is possible to suppress the scattering of oil, simplify the configuration without requiring a frame, a stay, and the like for supporting the recess, suppress an increase in the number of parts, and suppress an increase in cost. Therefore, when a negative pressure acts on the blow-by gas distribution unit, an oil separator is configured to maintain high oil collection performance even if air flows back from the oil outlet to discharge the oil. .
  • the recess is formed of a rib-like wall projecting from the wall at a position sandwiching the oil discharge port in a plan view to the blow-by gas circulating portion across a side wall connected to the wall. It is good.
  • the cylinder head 1 is provided with an intake valve 9 and an exhaust valve 10 which can be opened and closed. At an upper position of these, an intake camshaft 11 for opening and closing the intake valve 9 and an exhaust camshaft for opening and closing the exhaust valve 10 12 are rotatably supported in parallel.
  • An intake manifold 14 is connected to one side surface of the cylinder head 1 and an exhaust manifold 15 is connected to the other side surface.
  • An ignition plug 16 for igniting a mixture in the combustion chamber is provided on the upper surface of the cylinder head 1, and an injector 17 for supplying fuel to the combustion chamber is provided in an intake passage of the cylinder head 1.
  • a surge tank 18 is provided upstream of the intake manifold 14, and a throttle valve 19 is provided upstream of the surge tank 18.
  • An air filter 21 is provided on the upstream intake pipe 20.
  • the gas extraction path 23 is formed in a hole shape with respect to the components of the engine E in order to supply the blowby gas inside the crankcase 3 to the inside of the head cover 5.
  • the gas extraction path 23 does not have to be formed in a hole shape with respect to the cylinder block 2 and the cylinder head 1, for example, a flexible tube for guiding blow-by gas from the inside of the crankcase 3, metal
  • the pipe may be provided on the outer surface of the engine E.
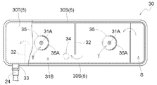
  • the oil separator 30 has a function of separating and collecting the oil from the oil mist contained in the blowby gas, and is provided inside the head cover 5.
  • the PCV valve 24 functions as a check valve that switches from the closed state to the open state by the negative pressure applied from the intake system.
  • the gas reduction path 25 is configured as a conduit that supplies blowby gas of the blowby gas flow portion formed inside the oil separator 30 to the surge tank 18 of the intake manifold 14 via the PCV valve 24.
  • the introduction path 26 is configured as a pipe that communicates with the intake pipe 20 and the blowby gas flow portion of the oil separator 30.
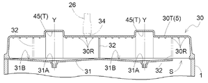
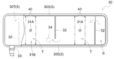
  • the oil separator 30 has a bottom wall 31 (an example of a bottom portion) disposed at a position separating the head space of the cylinder head 1 inside the head cover 5, and a plurality of control plates 32 for controlling the flow of blowby gas. It is configured to be equipped.
  • the bottom wall 31 is formed with an inlet S for introducing the blowby gas from the lower space into the blowby gas circulation unit.
  • a blow-by gas distribution unit is formed inside, a plurality of oil discharge ports 31A for discharging the collected oil downward on the bottom wall 31, and an inclined surface 31B for guiding the collected oil to the oil discharge port 31A. And are formed.
  • an upper wall 30T which is a wall facing the oil discharge port 31A, has a cylindrical cylindrical body 35 centered on the discharge port axial center Y passing through the center of the oil discharge port 31A.
  • the recess T is constituted by the internal space of the cylindrical body 35.
  • an absorbent 36 made of a sponge, non-woven fabric or the like for absorbing oil is provided inside the tubular body 35 (concave portion T).
  • the head cover 5 (upper wall 30T, side wall 30S) and the bottom wall 31 are resin moldings, and the cylindrical body 35 is integrally formed on the lower surface side of the upper wall 30T. Further, the control plate 32 is integrally formed on one of the upper wall 30T and the bottom wall 31.
  • the cylindrical body 35 is open to the lower side, and is disposed so as to be an area surrounding the oil discharge port 31A in a plan view.
  • the cylindrical body 35 has a cylindrical portion connected to the upper wall 30T, and is formed into a shape integrally formed with a protruding portion 35A having a shape in which a part of the cylindrical body 35 protrudes downward.
  • the projecting portion 35A is disposed at a position where the flow of the blowby gas is interrupted.
  • the projecting end of the projecting portion 35A may be configured to be in contact with the bottom wall 31 or may be configured to be separated upward from the bottom wall 31.
  • the shape of the cylindrical body 35 constituting the recess T in a plan view is not limited to a circle, and may be, for example, a rectangle such as a square, or may be a polygon such as a pentagon or a hexagon.
  • the cylindrical body 35 may be attached to the upper wall 30T by a technique of heat welding or screwing.
  • the blow-by gas distribution unit is provided with a plurality of control plates 32, the blow-by gas flows in such a manner as to be controlled by the control plate 32, as shown by the arrows in FIG.
  • the blow-by gas flows in such a manner as to be controlled by the control plate 32, as shown by the arrows in FIG.
  • oil particles adhere from the oil mist and drop on the surface of the control plate 32 or the surface of the rib 30R, or oil particles grow and drop in the stagnation portion of the flow of blow-by gas .
  • the oil thus dropped and collected flows along the inclined surface 31B of the bottom wall 31 and is discharged in the form of falling downward from the oil discharge port 31A.
  • the negative pressure acting on the gas reduction path 25 increases and decreases to pulsate, so that an air flow is generated that flows backward from the oil outlet 31A toward the blowby gas circulation portion as the negative pressure rises.
  • the oil just before being discharged from the oil discharge port 31A may be sprayed along the discharge port axial center Y and reach the upper wall 30T.
  • the air flow reaches the recess T of the cylindrical body 35, the flow of the cylindrical body 35 in the direction along the upper wall 30T is suppressed, so that the diffusion of oil is suppressed. Further, since the absorbent 36 is provided inside the cylindrical body 35, the air flow comes in contact with the absorbent 36, the flow velocity is reduced, the scattering of oil is suppressed, and the oil contained in the air is the absorbent Absorbed in 36.
  • Particles of oil adhere to the inner peripheral surface of the cylindrical body 35, and when the particles come in contact with the oil mist, they grow with time and drop near the oil discharge port 31A. As described above, since the protrusion 35A is formed in the cylindrical body 35, there is no inconvenience that the flow of the blowby gas inhibits the oil from falling.
  • the oil separator 30 of this embodiment arranges a plurality of control plates 32 with respect to the blow-by gas distribution unit, thereby lengthening the flow path length of the blow-by gas and simultaneously creating stagnation, and collecting oil contained in the oil mist.
  • Patent Document 1 Japanese Patent Laid-Open No. 2009-121281
  • Patent Document 2 Japanese Patent Application Laid-Open No. 2012-26321
  • a mesh filter may be used to collect oil mist.
  • the cylindrical body 35 is supported by the upper wall 30T, the relative distance between the cylindrical body 35 and the oil discharge port 31A can be increased. Therefore, for example, in comparison with the case where the member for suppressing the ejection is disposed in the vicinity position above the oil discharge port 31A, the air flow ejected from the oil discharge port 31A is brought into contact with the blowby gas or air of the blowby gas circulation unit. After being decelerated, it is introduced into the inside of the cylindrical body 35 and brought into contact with the cylindrical body 35, which makes it possible to suppress the scattering of oil.
  • the projecting portion 35A formed on the cylindrical body 35 is disposed at a position where the flow of the blowby gas is blocked, the oil dropped from the inner peripheral surface of the cylindrical body 35 is properly located in the vicinity of the oil discharge port 31A. It is dropped and further improvement of the oil recovery rate is realized.
  • a tapered oil guiding convex portion 35 B may be formed on the opening edge of the cylindrical body 35 constituting the concave portion T, as shown in FIGS.
  • the oil guiding convex portion 35B By forming the oil guiding convex portion 35B in this manner, the oil particles attached to the inner peripheral surface of the cylindrical body 35 are moved along the oil guiding convex portion 35B, and the specific area near the oil discharge port 31A is obtained. It is possible to drop it in a position and discharge it well.
  • an absorbent 36 similar to that of the embodiment is provided at the upper position of the oil discharge port 31A.
  • the recess T extends from the upper wall 30T to the upper side of the oil discharge port 31A in plan view (view in the direction along the discharge port axial center Y) to the side wall 30S. It comprises the groove-like portion 45 recessed in a concave shape.
  • the negative pressure acts on the blowby gas flow portion of the oil separator 30, and the air flow is fed into the groove 45 even when the air flow is blown out from the oil outlet 31A. Good control of oil spreading and scattering.
  • the oil separator 30 has an independent structure. According to this, it becomes possible to create the composition which collects oil without being restricted by the size of head cover 5, and it becomes possible to improve the collection performance of oil.

Landscapes

  • Engineering & Computer Science (AREA)
  • Mechanical Engineering (AREA)
  • General Engineering & Computer Science (AREA)
  • Chemical & Material Sciences (AREA)
  • Combustion & Propulsion (AREA)
  • Chemical Kinetics & Catalysis (AREA)
  • Lubrication Details And Ventilation Of Internal Combustion Engines (AREA)
  • Cylinder Crankcases Of Internal Combustion Engines (AREA)
PCT/JP2014/084130 2014-01-27 2014-12-24 オイルセパレータ Ceased WO2015111350A1 (ja)

Priority Applications (2)

Application Number Priority Date Filing Date Title
CN201490001334.4U CN206175023U (zh) 2014-01-27 2014-12-24 油分离器
US15/110,606 US20160333755A1 (en) 2014-01-27 2014-12-24 Oil separator

Applications Claiming Priority (2)

Application Number Priority Date Filing Date Title
JP2014012464A JP2015140679A (ja) 2014-01-27 2014-01-27 オイルセパレータ
JP2014-012464 2014-01-27

Publications (1)

Publication Number Publication Date
WO2015111350A1 true WO2015111350A1 (ja) 2015-07-30

Family

ID=53681167

Family Applications (1)

Application Number Title Priority Date Filing Date
PCT/JP2014/084130 Ceased WO2015111350A1 (ja) 2014-01-27 2014-12-24 オイルセパレータ

Country Status (4)

Country Link
US (1) US20160333755A1 (enExample)
JP (1) JP2015140679A (enExample)
CN (1) CN206175023U (enExample)
WO (1) WO2015111350A1 (enExample)

Cited By (2)

* Cited by examiner, † Cited by third party
Publication number Priority date Publication date Assignee Title
JP2019196707A (ja) * 2018-05-07 2019-11-14 小島プレス工業株式会社 気液分離装置
JP2021127700A (ja) * 2020-02-12 2021-09-02 マツダ株式会社 オイル分離構造

Families Citing this family (10)

* Cited by examiner, † Cited by third party
Publication number Priority date Publication date Assignee Title
JP6765260B2 (ja) * 2016-09-05 2020-10-07 株式会社マーレ フィルターシステムズ 過給機付内燃機関のブローバイガス処理装置
JP6922715B2 (ja) * 2017-12-15 2021-08-18 トヨタ自動車株式会社 内燃機関の潤滑油供給装置
JP6996463B2 (ja) * 2018-09-21 2022-01-17 株式会社豊田自動織機 シリンダヘッドカバー及びシリンダヘッドカバーの製造方法
JP7124604B2 (ja) * 2018-09-27 2022-08-24 トヨタ自動車株式会社 ブローバイガス処理装置
US11220983B2 (en) * 2019-04-22 2022-01-11 Zhejiang CFMOTO Power Co., Ltd. Air intake system for off road vehicle
JP7299089B2 (ja) * 2019-07-17 2023-06-27 トヨタ自動車株式会社 オイルセパレータ
JP7235649B2 (ja) * 2019-12-20 2023-03-08 株式会社クボタ 換気装置付エンジン
CN112128011B (zh) * 2020-09-16 2022-01-28 安徽江淮汽车集团股份有限公司 一种发动机缸盖护罩
EP4466447A4 (en) * 2022-01-18 2025-12-17 Cummins Inc ENGINE SYSTEM AND CRANKCASE VENTILATION SYSTEMS
JP2025070693A (ja) * 2023-10-20 2025-05-02 ヤンマーホールディングス株式会社 エンジン装置

Citations (3)

* Cited by examiner, † Cited by third party
Publication number Priority date Publication date Assignee Title
JP2004211564A (ja) * 2002-12-27 2004-07-29 Nissan Diesel Motor Co Ltd ロッカーカバー
JP2010084628A (ja) * 2008-09-30 2010-04-15 Daikyonishikawa Corp シリンダヘッドカバー
JP2010144696A (ja) * 2008-12-22 2010-07-01 Toyota Industries Corp フィルタ式気液分離装置

Family Cites Families (1)

* Cited by examiner, † Cited by third party
Publication number Priority date Publication date Assignee Title
JPS60145214U (ja) * 1984-03-06 1985-09-26 トヨタ自動車株式会社 ブロ−バイガスのオイル分離装置

Patent Citations (3)

* Cited by examiner, † Cited by third party
Publication number Priority date Publication date Assignee Title
JP2004211564A (ja) * 2002-12-27 2004-07-29 Nissan Diesel Motor Co Ltd ロッカーカバー
JP2010084628A (ja) * 2008-09-30 2010-04-15 Daikyonishikawa Corp シリンダヘッドカバー
JP2010144696A (ja) * 2008-12-22 2010-07-01 Toyota Industries Corp フィルタ式気液分離装置

Cited By (3)

* Cited by examiner, † Cited by third party
Publication number Priority date Publication date Assignee Title
JP2019196707A (ja) * 2018-05-07 2019-11-14 小島プレス工業株式会社 気液分離装置
JP2021127700A (ja) * 2020-02-12 2021-09-02 マツダ株式会社 オイル分離構造
JP7371518B2 (ja) 2020-02-12 2023-10-31 マツダ株式会社 オイル分離構造

Also Published As

Publication number Publication date
US20160333755A1 (en) 2016-11-17
CN206175023U (zh) 2017-05-17
JP2015140679A (ja) 2015-08-03

Similar Documents

Publication Publication Date Title
WO2015111350A1 (ja) オイルセパレータ
JP2015140679A5 (enExample)
US9598992B2 (en) Separation device for an aerosol stream
US10329975B2 (en) Oil separation device for internal combustion engine
JP6549659B2 (ja) 内燃機関のブリーザ装置
CN102297002A (zh) 发动机的油分离装置
KR20120028940A (ko) 오일 미스트 분리기
US20170175601A1 (en) Oil separator
WO2019056945A1 (zh) 一种内燃机油气分离装置
KR20090052031A (ko) 오일 분리기
JP6248804B2 (ja) オイルセパレータ
US9057295B2 (en) Positive crankcase ventilation system
CN103422941B (zh) 曲轴箱强制通风系统
JP2015217367A5 (enExample)
JP2013151905A (ja) ブローバイガス処理装置のオイルセパレータ
JP2005201159A (ja) 2サイクルエンジン
KR20090065384A (ko) 실린더 헤드커버의 블로바이 가스내 오일 포집 장치
JP6041665B2 (ja) 内燃機関
JP2014084730A (ja) オイルセパレータ
US10184370B2 (en) Oil separation device for internal combustion engine
JP6126885B2 (ja) オイルミストの分離装置
JP6056788B2 (ja) ブローバイガス還流装置
KR20150078882A (ko) 블로바이 가스의 배출 구조
JP2012237234A (ja) オイル分離装置、及びブローバイガス還流システム
KR20230064387A (ko) Pcv 가스 균일 분배를 위한 흡기 매니폴드

Legal Events

Date Code Title Description
121 Ep: the epo has been informed by wipo that ep was designated in this application

Ref document number: 14879704

Country of ref document: EP

Kind code of ref document: A1

WWE Wipo information: entry into national phase

Ref document number: 15110606

Country of ref document: US

NENP Non-entry into the national phase

Ref country code: DE

122 Ep: pct application non-entry in european phase

Ref document number: 14879704

Country of ref document: EP

Kind code of ref document: A1