WO2015098383A1 - Ledランプ - Google Patents

Ledランプ Download PDF

Info

Publication number
WO2015098383A1
WO2015098383A1 PCT/JP2014/080828 JP2014080828W WO2015098383A1 WO 2015098383 A1 WO2015098383 A1 WO 2015098383A1 JP 2014080828 W JP2014080828 W JP 2014080828W WO 2015098383 A1 WO2015098383 A1 WO 2015098383A1
Authority
WO
WIPO (PCT)
Prior art keywords
led lamp
light source
led
source support
gas
Prior art date
Legal status (The legal status is an assumption and is not a legal conclusion. Google has not performed a legal analysis and makes no representation as to the accuracy of the status listed.)
Ceased
Application number
PCT/JP2014/080828
Other languages
English (en)
French (fr)
Japanese (ja)
Inventor
泰久 松本
加奈江 松本
将幸 松崎
Current Assignee (The listed assignees may be inaccurate. Google has not performed a legal analysis and makes no representation or warranty as to the accuracy of the list.)
Iwasaki Electric Co Ltd
Original Assignee
Iwasaki Electric Co Ltd
Priority date (The priority date is an assumption and is not a legal conclusion. Google has not performed a legal analysis and makes no representation as to the accuracy of the date listed.)
Filing date
Publication date
Application filed by Iwasaki Electric Co Ltd filed Critical Iwasaki Electric Co Ltd
Priority to EP14874999.7A priority Critical patent/EP3088794A4/en
Publication of WO2015098383A1 publication Critical patent/WO2015098383A1/ja
Anticipated expiration legal-status Critical
Ceased legal-status Critical Current

Links

Images

Classifications

    • FMECHANICAL ENGINEERING; LIGHTING; HEATING; WEAPONS; BLASTING
    • F21LIGHTING
    • F21VFUNCTIONAL FEATURES OR DETAILS OF LIGHTING DEVICES OR SYSTEMS THEREOF; STRUCTURAL COMBINATIONS OF LIGHTING DEVICES WITH OTHER ARTICLES, NOT OTHERWISE PROVIDED FOR
    • F21V3/00Globes; Bowls; Cover glasses
    • F21V3/04Globes; Bowls; Cover glasses characterised by materials, surface treatments or coatings
    • F21V3/06Globes; Bowls; Cover glasses characterised by materials, surface treatments or coatings characterised by the material
    • F21V3/061Globes; Bowls; Cover glasses characterised by materials, surface treatments or coatings characterised by the material the material being glass
    • FMECHANICAL ENGINEERING; LIGHTING; HEATING; WEAPONS; BLASTING
    • F21LIGHTING
    • F21VFUNCTIONAL FEATURES OR DETAILS OF LIGHTING DEVICES OR SYSTEMS THEREOF; STRUCTURAL COMBINATIONS OF LIGHTING DEVICES WITH OTHER ARTICLES, NOT OTHERWISE PROVIDED FOR
    • F21V29/00Protecting lighting devices from thermal damage; Cooling or heating arrangements specially adapted for lighting devices or systems
    • F21V29/50Cooling arrangements
    • F21V29/70Cooling arrangements characterised by passive heat-dissipating elements, e.g. heat-sinks
    • FMECHANICAL ENGINEERING; LIGHTING; HEATING; WEAPONS; BLASTING
    • F21LIGHTING
    • F21KNON-ELECTRIC LIGHT SOURCES USING LUMINESCENCE; LIGHT SOURCES USING ELECTROCHEMILUMINESCENCE; LIGHT SOURCES USING CHARGES OF COMBUSTIBLE MATERIAL; LIGHT SOURCES USING SEMICONDUCTOR DEVICES AS LIGHT-GENERATING ELEMENTS; LIGHT SOURCES NOT OTHERWISE PROVIDED FOR
    • F21K9/00Light sources using semiconductor devices as light-generating elements, e.g. using light-emitting diodes [LED] or lasers
    • F21K9/20Light sources comprising attachment means
    • F21K9/23Retrofit light sources for lighting devices with a single fitting for each light source, e.g. for substitution of incandescent lamps with bayonet or threaded fittings
    • FMECHANICAL ENGINEERING; LIGHTING; HEATING; WEAPONS; BLASTING
    • F21LIGHTING
    • F21VFUNCTIONAL FEATURES OR DETAILS OF LIGHTING DEVICES OR SYSTEMS THEREOF; STRUCTURAL COMBINATIONS OF LIGHTING DEVICES WITH OTHER ARTICLES, NOT OTHERWISE PROVIDED FOR
    • F21V29/00Protecting lighting devices from thermal damage; Cooling or heating arrangements specially adapted for lighting devices or systems
    • F21V29/10Arrangement of heat-generating components to reduce thermal damage, e.g. by distancing heat-generating components from other components to be protected
    • FMECHANICAL ENGINEERING; LIGHTING; HEATING; WEAPONS; BLASTING
    • F21LIGHTING
    • F21VFUNCTIONAL FEATURES OR DETAILS OF LIGHTING DEVICES OR SYSTEMS THEREOF; STRUCTURAL COMBINATIONS OF LIGHTING DEVICES WITH OTHER ARTICLES, NOT OTHERWISE PROVIDED FOR
    • F21V29/00Protecting lighting devices from thermal damage; Cooling or heating arrangements specially adapted for lighting devices or systems
    • F21V29/50Cooling arrangements
    • F21V29/70Cooling arrangements characterised by passive heat-dissipating elements, e.g. heat-sinks
    • F21V29/83Cooling arrangements characterised by passive heat-dissipating elements, e.g. heat-sinks the elements having apertures, ducts or channels, e.g. heat radiation holes
    • FMECHANICAL ENGINEERING; LIGHTING; HEATING; WEAPONS; BLASTING
    • F21LIGHTING
    • F21VFUNCTIONAL FEATURES OR DETAILS OF LIGHTING DEVICES OR SYSTEMS THEREOF; STRUCTURAL COMBINATIONS OF LIGHTING DEVICES WITH OTHER ARTICLES, NOT OTHERWISE PROVIDED FOR
    • F21V31/00Gas-tight or water-tight arrangements
    • FMECHANICAL ENGINEERING; LIGHTING; HEATING; WEAPONS; BLASTING
    • F21LIGHTING
    • F21YINDEXING SCHEME ASSOCIATED WITH SUBCLASSES F21K, F21L, F21S and F21V, RELATING TO THE FORM OR THE KIND OF THE LIGHT SOURCES OR OF THE COLOUR OF THE LIGHT EMITTED
    • F21Y2107/00Light sources with three-dimensionally disposed light-generating elements
    • F21Y2107/40Light sources with three-dimensionally disposed light-generating elements on the sides of polyhedrons, e.g. cubes or pyramids
    • FMECHANICAL ENGINEERING; LIGHTING; HEATING; WEAPONS; BLASTING
    • F21LIGHTING
    • F21YINDEXING SCHEME ASSOCIATED WITH SUBCLASSES F21K, F21L, F21S and F21V, RELATING TO THE FORM OR THE KIND OF THE LIGHT SOURCES OR OF THE COLOUR OF THE LIGHT EMITTED
    • F21Y2115/00Light-generating elements of semiconductor light sources
    • F21Y2115/10Light-emitting diodes [LED]
    • FMECHANICAL ENGINEERING; LIGHTING; HEATING; WEAPONS; BLASTING
    • F21LIGHTING
    • F21YINDEXING SCHEME ASSOCIATED WITH SUBCLASSES F21K, F21L, F21S and F21V, RELATING TO THE FORM OR THE KIND OF THE LIGHT SOURCES OR OF THE COLOUR OF THE LIGHT EMITTED
    • F21Y2115/00Light-generating elements of semiconductor light sources
    • F21Y2115/10Light-emitting diodes [LED]
    • F21Y2115/15Organic light-emitting diodes [OLED]

Definitions

  • the present invention relates to an LED lamp.
  • Lighting lamps have been developed and put into practical use in general, incandescent bulbs, fluorescent lamps, HID (High Intensity Discharge) lamps, and LED (Liht Emitting Diode) lamps.
  • the LED lamp is a lamp using a light emitting diode element as a light source. LED lamps are capable of emitting white light due to the development of blue LED elements, and their use as illumination lamps has recently been expanding.
  • FIGS. 1A to 1C are diagrams showing examples of LED lamps that are currently widely sold. These LED lamps 100 are generally lamps having an output of 10 W or less (typically about 7 W). As shown in FIGS. 1A to 1C, although there are various lamp shapes, the lamp basically includes a base 102, a heat radiating portion 104, and a globe 106.
  • the heat dissipating part 104 is formed from aluminum die-casting, and in many cases, heat dissipating fins are formed on the outer peripheral surface.
  • the globe 106 is made of a translucent resin.
  • LED elements are semiconductor elements, so there is basically no need to arrange them in a vacuum atmosphere or a predetermined gas atmosphere. Accordingly, the aluminum die cast part 104 and the globe 106 are fixed with an appropriate adhesive. That is, the internal space formed by the aluminum die cast part 104 and the globe 106 is not hermetically sealed between the lamp external space.
  • JP 2012-156036 "LED lamp” (release date: 2012/08/16), applicant: Iwasaki Electric Co., Ltd.
  • WO2011 / 004798 “Ceramic substrate for mounting elements, ceramic substrate for mounting LEDs, LED lamp and headlight, and electronic component” (International publication date: 2011/01/13), Applicant: Toshiba Corporation JP 2013-8721 “Mounting board and light emitting module” (publication date: 2013/01/10), applicant: Panasonic Corporation JP 2006-147333 “Printed Circuit Board for LED Mounting” (Release Date: 2006/06/08), Applicant: Toyoda Gosei Co., Ltd.
  • the LED element is a semiconductor element, and there is a close relationship between the temperature of the semiconductor junction and the element lifetime. That is, when the temperature of the joint at the time of use is relatively low, the device lifetime becomes long, but as the temperature increases, the device lifetime decreases rapidly. Accordingly, in the LED lamp, when the temperature of the LED element is high, the lamp life is shortened and the lamp illuminance is also deteriorated. For this reason, in the LED lamp, the cooling / heat dissipating means is an important matter.
  • the applicant has proposed the following LED lamp according to the above-mentioned Patent Document 1. That is, in a hermetically sealed lamp configuration, a cooling gas (low molecular weight gas) is enclosed in the lamp.
  • a cooling gas low molecular weight gas
  • a light source support having a long shape in the lamp axis direction is disposed, and a plurality of LEDs are mounted around the light source support.
  • a through-hole is formed in the light source support along the lamp axis to form a cooling gas flow path, and the LED is efficiently cooled from the back side.
  • this idea it is confirmed that there is a certain cooling effect, and the effect is shown in a graph in FIG.
  • an object of the present invention is to provide an LED lamp provided with a novel cooling / dissipating means.
  • the LED lamp according to the present invention includes a plurality of LED elements, a plurality of LED elements each mounted thereon, a plurality of light source supports extending along the lamp axis, and surrounding the light source support so as to be hermetically sealed.
  • a plurality of light source supports each of which has a rectangular shape when viewed in a cross section perpendicular to the lamp axis so as to form a gas flow path that flows between both ends along the lamp axis.
  • n a natural number of 3, 4,..., and the light source support is provided between the LED element mounting surface and the back surface so as to form an inflow / outflow flow for the gas in the gas flow path.
  • a ventilation structure penetrating through is formed.
  • the light source support may be a metal core substrate.
  • the ventilation structure formed in the light source support may be formed as a groove, a circular opening, or a plurality of through holes.
  • the ventilation structure formed in the light source support may be formed in a region between adjacent LED elements.
  • the adjacent light source supports may be held with a gap so as to form an inflow / outflow flow for the gas in the gas flow path.
  • the gas may be a low molecular weight gas.
  • the low molecular weight gas may be a mixed gas containing at least helium and oxygen.
  • FIG. 1A is a diagram showing an example of an LED lamp that is currently widely sold.
  • FIG. 1B is a diagram showing another example of an LED lamp that is currently widely sold.
  • FIG. 1C is a diagram showing still another example of LED lamps that are currently widely sold.
  • FIG. 2A is a front view of the LED lamp according to the present embodiment.
  • FIG. 2B is a right side view of the LED lamp shown in FIG. 2A.
  • FIG. 3 is an enlarged perspective view of the LED lamp according to the present embodiment.
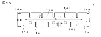
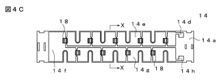
  • FIG. 4A is an external view of a light source support used in the LED lamp according to the present embodiment. 4B is a cross-sectional view taken along the line XX shown in FIG. 4C.
  • FIG. 4A is a front view of the LED lamp according to the present embodiment.
  • FIG. 2B is a right side view of the LED lamp shown in FIG. 2A.
  • FIG. 3 is an enlarged perspective view of the LED lamp according to the present embodiment.
  • FIG. 4A
  • FIG. 4C is a diagram illustrating a light source support on which LED elements are mounted.
  • FIG. 4D is an alternative example of a groove formed in the light source support.
  • FIG. 5A is a diagram illustrating the flow of the cooling flow when the LED lamp according to this embodiment is vertically lit.
  • FIG. 5B is a diagram illustrating the flow of the cooling flow when the LED lamp is horizontally lit.
  • FIG. 5C is a diagram for explaining the flow of the cooling flow as seen from the cut surface at the YY section shown in FIG. 5B, and (A) and (B) are due to the difference in the locking state of the lamp screwed into the base.
  • FIG. 6 is a flow for explaining a manufacturing method of the LED lamp according to the present embodiment.
  • FIG. 2A is a front view of the LED lamp according to the present embodiment, and FIG. 2B is a right side view thereof.
  • This LED lamp 10 is mainly intended for high-power 20-50 W class, typically 25 W LED lamps, rather than the low-power LED lamps of about 7 W currently widely promoted and sold as described in FIG. . For this reason, cooling and heat dissipation means become a further important consideration.
  • the LED lamp 10 has a plurality of LED elements 18 arranged inside an outer sphere 6 whose one end is hermetically sealed with a base 2.
  • the plurality of LED elements 18 are mounted and fixed on the light source support 14 at appropriate intervals.
  • the light source support 14 is typically made of a metal core substrate.
  • the light source support 14 is positioned and supported at an appropriate position inside the outer sphere 6 by using two metal bands 28 on the upper and lower sides of the support column 20 extending from the stem 8 fixed to one end of the outer sphere 6. ing. Therefore, the light source support 14 is formed with a recess 14n (see FIG. 4A) for holding a metal band. If desired, an insulating tube (not shown) is placed on the portion of the column 20 adjacent to the light source support 14 to ensure electrical insulation between the light source support 14 and the column 20.
  • a heat shielding member 30 may be provided inside the outer sphere 6 near the base 2.
  • the heat shielding member 30 is formed of, for example, a ceramic, a metal plate, a mica plate, or the like. The function of the heat shielding member 30 will be described later in relation to the manufacturing method shown in FIG.
  • a low molecular weight gas is sealed in the inner space 22 of the outer sphere 6.
  • the “low molecular weight gas” is a gas having a large specific heat and good thermal conductivity, typically helium gas.
  • FIG. 3 is an enlarged perspective view of the LED lamp according to the present embodiment.
  • the base 2 may be a screw-in type (E type) or an insertion type used in incandescent bulbs or HID lamps.
  • the outer sphere 6 is a BT tube made of translucent hard glass such as borosilicate glass, for example. However, it may be any shape.
  • the outer sphere 6 may be either a transparent type or a diffusion type (frosted glass type). Similar to known incandescent bulbs and HID lamps, the space between the base 2 and the outer sphere 6 is hermetically sealed, and the space between the outer space and the outer space is hermetically sealed.
  • This LED lamp 10 includes four light source supports 14, and nine LED elements 18 are mounted on each light source support, and a total of 36 LED elements realize a 25 W LED lamp.
  • the four light source supports 14 are generally arranged so as to form a rectangle when viewed in a cross section perpendicular to the lamp axis. Furthermore, it is preferable that the adjacent light source support pieces are not connected to each other and are arranged with a gap (gap) 26 therebetween.
  • the four light source support bodies 14 are arrange
  • FIG. 4A is an outline view of the light source support 14 used in the LED lamp according to the present embodiment
  • FIG. 4B is a cross-sectional view taken along the line XX shown in FIG. 4C
  • FIG. 4D is an alternative example of a groove (slit) formed in the light source support.
  • the light source support 14 shown in FIG. 4A is preferably a metal core substrate, for example, a plate-like body having a length of 100 mm ⁇ width of 20 mm ⁇ thickness of about 2 mm.
  • the LED element mounting location is indicated by reference numeral 18a.
  • the light source support 14 is formed with a groove (slit) 14b cut from an end so as to cut between adjacent LED element mounting locations 18a.
  • a thin insulating layer 14i is formed on a relatively thick main body 14a, and conductor patterns 14g and 14e typically made of copper are further formed on the insulating layer. And a thin resist layer 14j made of resin or the like is further formed thereon.
  • the main body portion 14a is made of a material having good heat conductivity, and is made of, for example, copper, aluminum, heat conductive resin, or the like.
  • the heat conductive resin is obtained by mixing a metal powder / metal piece into the resin to increase the heat conduction coefficient.
  • the member excellent in thermal conductivity, workability, economy, etc. as the light source support 14 is aluminum.
  • the conductive pattern 14g is formed by connecting the LED elements 18 in series by 14e to the upper pattern in the left direction from the first electrode 14d in the figure, and in the right direction through the upper and lower connection patterns 14f. Further, the LED elements 18 are sequentially connected in series by 14 g to the lower pattern to reach the electrode 14 h.
  • the four light source supports 14 are sequentially connected in series by lead wires (not shown). Therefore, all 36 LED elements are connected in series.
  • the groove (slit) 14 b of the light source support 14 has been described as being cut from the end, but is not limited thereto. What is necessary is just the ventilation structure (ventilation hole) which penetrates the light source support body 14. Accordingly, a rectangular opening 14k may be used instead of the groove (slit) 14b. In the case of the rectangular opening 14k, it is more preferable that the rectangular opening 14k is formed in a region between adjacent LED elements 18. Alternatively, it may be a circular opening 14l. In the case of the circular opening 141, it is more preferable to form it in a region between adjacent LED elements 18. In this case, a plurality of through holes 14m may be formed in a region between adjacent LED elements 18.
  • FIG. 6 is a flow for explaining a manufacturing method of the LED lamp according to the present embodiment.
  • step S 1 the LED element 18 is fixed to the light source support 14, the light source support is attached to the column 20, a mount is formed, and the stem 8 is attached.
  • step S2 the mount is inserted into the outer sphere 6 and the stem 8 to which the mount is attached and the outer sphere 6 are heated and sealed with a burner to be hermetically sealed.
  • step S3 the vacuum is once exhausted from the sealed outer sphere through the exhaust pipe. Thereafter, a mixed gas of helium and oxygen is sealed, and the chip is turned off (the exhaust pipe is melted and sealed with a burner).
  • the top part and the side part of the base 2 are soldered in the base attaching step of step S4.
  • the LED lamp 10 is completed through the lighting test and inspection in step S5.
  • steps S2 to S4 the outer sphere mounting portion, stem, etc. are heated to a high temperature close to 1000 ° C. by the burner.
  • a heat shielding member 30 (see FIG. 3) is provided between the base mounting portion of the outer sphere and the LED element 18. .
  • the LED lamp 10 according to the present embodiment has the following advantages and effects.
  • the light source support 14 can be reduced in weight by forming a ventilation structure (vent hole) that penetrates the light source support 14. As a result, the LED lamp 10 can be reduced in weight.
  • a ventilation structure ventilation structure
  • the surface area of the light source support 14 is increased and the heat dissipation effect is improved. That is, the cooling effect of the LED element 18 is improved.
  • FIGS. 5A to 5C Details of the cooling effect The cooling effect in consideration of the lamp lighting direction (vertical lighting, horizontal lighting) will be described with reference to FIGS. 5A to 5C. In the vertical lighting shown in FIG. 5A, the base is located on the upper side, but the same effect can be expected when the base is located on the lower side.
  • the rectangular space extending along the lamp axis formed by the four light source supports 14 forms a cooling flow Ca from the bottom to the top due to the chimney effect. Further, the gap (gap) 26 between the light source supports forms an inflow / outflow flow Cb with respect to the cooling flow Ca to enhance the cooling effect.
  • the linear heat conduction path (arrow b) from the adjacent LED element is cut off while securing the heat conduction path (arrow a) in the length direction of the light source support by the groove 14b and the like.
  • the thermal effect is reduced by reducing the size.
  • the grooves 14b and the like of the light source support 14 form an inflow / outflow flow Cb with respect to the cooling flow Ca similarly to the gap 26 of the light source support 14 and also support the light source. While securing a heat conduction path in the length direction of the body, the thermal effect is reduced by blocking or reducing the linear heat conduction path from the adjacent LED elements.
  • FIG. 5B shows a case of horizontal lighting
  • FIG. 5C shows a cross section taken along line YY
  • (A) and (B) are due to the difference in the locking state of the lamp screwed into the base. That is, (A) shows a case where four light source supports are positioned so as to form a square, and (B) shows a case where four light source supports are positioned so as to form a rhombus.
  • the cooling flow Ca due to the chimney effect described in FIG. 5A is relatively small.
  • the cooling flow Cb passing through the gap 26 between the light source supports is relatively large.
  • the grooves 14b and the like of the light source support 14 form a flow path of the cooling flow Cc, and secure a heat conduction path in the length direction of the light source support, while linearly conducting heat from adjacent LED elements. The path is blocked or reduced to reduce thermal effects.

Landscapes

  • Engineering & Computer Science (AREA)
  • General Engineering & Computer Science (AREA)
  • Physics & Mathematics (AREA)
  • Microelectronics & Electronic Packaging (AREA)
  • Optics & Photonics (AREA)
  • Non-Portable Lighting Devices Or Systems Thereof (AREA)
  • Arrangement Of Elements, Cooling, Sealing, Or The Like Of Lighting Devices (AREA)
PCT/JP2014/080828 2013-12-26 2014-11-20 Ledランプ Ceased WO2015098383A1 (ja)

Priority Applications (1)

Application Number Priority Date Filing Date Title
EP14874999.7A EP3088794A4 (en) 2013-12-26 2014-11-20 Led lamp

Applications Claiming Priority (2)

Application Number Priority Date Filing Date Title
JP2013268514A JP6261119B2 (ja) 2013-12-26 2013-12-26 Ledランプ用の光源支持体及びその組立体
JP2013-268514 2013-12-26

Publications (1)

Publication Number Publication Date
WO2015098383A1 true WO2015098383A1 (ja) 2015-07-02

Family

ID=53478255

Family Applications (1)

Application Number Title Priority Date Filing Date
PCT/JP2014/080828 Ceased WO2015098383A1 (ja) 2013-12-26 2014-11-20 Ledランプ

Country Status (3)

Country Link
EP (1) EP3088794A4 (enExample)
JP (1) JP6261119B2 (enExample)
WO (1) WO2015098383A1 (enExample)

Cited By (2)

* Cited by examiner, † Cited by third party
Publication number Priority date Publication date Assignee Title
CN110822348A (zh) * 2019-12-13 2020-02-21 中山市中沃光电科技有限公司 一种导流式投光灯
WO2025195403A1 (zh) * 2024-03-19 2025-09-25 普基照明有限公司 无线灯和充电式光源模组

Families Citing this family (6)

* Cited by examiner, † Cited by third party
Publication number Priority date Publication date Assignee Title
WO2017036924A1 (en) * 2015-09-04 2017-03-09 Philips Lighting Holding B.V. Lighting device with a flexible circuit strip wrapped around a support
CN106015980B (zh) * 2016-05-20 2019-07-26 南昌大学 一种光强空间分布均匀的led灯
JP6350594B2 (ja) * 2016-05-26 2018-07-04 三菱電機株式会社 ランプ
CN106224829A (zh) * 2016-07-22 2016-12-14 惠州市西顿工业发展有限公司 一种灯具
WO2019016032A1 (en) * 2017-07-20 2019-01-24 Philips Lighting Holding B.V. LIGHTING MODULE
KR102527952B1 (ko) * 2017-11-10 2023-05-03 서울반도체 주식회사 발광 소자 필라멘트

Citations (12)

* Cited by examiner, † Cited by third party
Publication number Priority date Publication date Assignee Title
JP2006147333A (ja) 2004-11-19 2006-06-08 Toyoda Gosei Co Ltd Led実装用プリント基板
JP2010135181A (ja) * 2008-12-04 2010-06-17 Sharp Corp 照明装置
JP3163752U (ja) * 2010-08-19 2010-10-28 ▲シ▼新能源科技有限公司 発光ダイオードライトバー及びその照明モジュール
WO2011004798A1 (ja) 2009-07-06 2011-01-13 株式会社 東芝 素子搭載用セラミックス基板、led搭載用セラミックス基板、ledランプ及びヘッドライト並びに電子部品
JP2011070986A (ja) * 2009-09-28 2011-04-07 Wu Tsu Yao Ledライト放熱構造の改良
JP3168786U (ja) * 2010-04-14 2011-06-30 李春憲 Ledバルブ
JP2012079855A (ja) * 2010-09-30 2012-04-19 Sharp Corp 発光装置及びこれを備えた照明装置
JP2012156036A (ja) 2011-01-27 2012-08-16 Iwasaki Electric Co Ltd Ledランプ
JP2013008721A (ja) 2011-06-22 2013-01-10 Panasonic Corp 実装基板および発光モジュール
JP2013524412A (ja) * 2010-03-26 2013-06-17 ソーラーコー カンパニー リミテッド Led照明モジュール及びこれを用いた照明ランプ
CN103335229A (zh) * 2013-06-27 2013-10-02 江苏华程光电科技有限公司 一种led灯
US20130301252A1 (en) * 2012-04-13 2013-11-14 Cree, Inc. Gas cooled led lamp

Family Cites Families (6)

* Cited by examiner, † Cited by third party
Publication number Priority date Publication date Assignee Title
US7387403B2 (en) * 2004-12-10 2008-06-17 Paul R. Mighetto Modular lighting apparatus
JP2009231135A (ja) * 2008-03-24 2009-10-08 Toshiba Lighting & Technology Corp 照明装置
US7810968B1 (en) * 2009-05-15 2010-10-12 Koninklijke Philips Electronics N.V. LED unit for installation in a post-top luminaire
JP5662059B2 (ja) * 2010-06-04 2015-01-28 パナソニックIpマネジメント株式会社 Ledランプ
US8757839B2 (en) * 2012-04-13 2014-06-24 Cree, Inc. Gas cooled LED lamp
JP5818167B2 (ja) * 2012-11-01 2015-11-18 岩崎電気株式会社 Ledランプ

Patent Citations (12)

* Cited by examiner, † Cited by third party
Publication number Priority date Publication date Assignee Title
JP2006147333A (ja) 2004-11-19 2006-06-08 Toyoda Gosei Co Ltd Led実装用プリント基板
JP2010135181A (ja) * 2008-12-04 2010-06-17 Sharp Corp 照明装置
WO2011004798A1 (ja) 2009-07-06 2011-01-13 株式会社 東芝 素子搭載用セラミックス基板、led搭載用セラミックス基板、ledランプ及びヘッドライト並びに電子部品
JP2011070986A (ja) * 2009-09-28 2011-04-07 Wu Tsu Yao Ledライト放熱構造の改良
JP2013524412A (ja) * 2010-03-26 2013-06-17 ソーラーコー カンパニー リミテッド Led照明モジュール及びこれを用いた照明ランプ
JP3168786U (ja) * 2010-04-14 2011-06-30 李春憲 Ledバルブ
JP3163752U (ja) * 2010-08-19 2010-10-28 ▲シ▼新能源科技有限公司 発光ダイオードライトバー及びその照明モジュール
JP2012079855A (ja) * 2010-09-30 2012-04-19 Sharp Corp 発光装置及びこれを備えた照明装置
JP2012156036A (ja) 2011-01-27 2012-08-16 Iwasaki Electric Co Ltd Ledランプ
JP2013008721A (ja) 2011-06-22 2013-01-10 Panasonic Corp 実装基板および発光モジュール
US20130301252A1 (en) * 2012-04-13 2013-11-14 Cree, Inc. Gas cooled led lamp
CN103335229A (zh) * 2013-06-27 2013-10-02 江苏华程光电科技有限公司 一种led灯

Non-Patent Citations (1)

* Cited by examiner, † Cited by third party
Title
See also references of EP3088794A4

Cited By (2)

* Cited by examiner, † Cited by third party
Publication number Priority date Publication date Assignee Title
CN110822348A (zh) * 2019-12-13 2020-02-21 中山市中沃光电科技有限公司 一种导流式投光灯
WO2025195403A1 (zh) * 2024-03-19 2025-09-25 普基照明有限公司 无线灯和充电式光源模组

Also Published As

Publication number Publication date
EP3088794A4 (en) 2017-05-10
EP3088794A1 (en) 2016-11-02
JP2015125849A (ja) 2015-07-06
JP6261119B2 (ja) 2018-01-17

Similar Documents

Publication Publication Date Title
JP6261119B2 (ja) Ledランプ用の光源支持体及びその組立体
JP5818167B2 (ja) Ledランプ
JP5448253B2 (ja) Ledランプ
JP6147977B2 (ja) Led照明器具およびledユニット
US8596821B2 (en) LED light bulbs
JP6179647B2 (ja) Ledランプの光源
JP2009117328A (ja) 照明装置
JP2011124207A (ja) 広角led照明装置
TW201502425A (zh) Led燈條式燈座及具有該燈座之燈泡
JP2012113943A (ja) Led発光ユニット及びその製造方法
JP2009245643A (ja) 照明装置
CN110168276A (zh) 带有玻璃外壳的led灯泡
JP5679526B2 (ja) Ledランプ
KR100715487B1 (ko) 엘이디를 이용한 조명등
CN101424395A (zh) 发光二极管灯具
JP6292535B2 (ja) 外球封止形ledランプ及びその製造方法
KR101469215B1 (ko) 피부 치료용 led모듈
JP2019220491A (ja) 照明用光源及び照明装置
JP5793721B2 (ja) 照明用光源及び照明装置
CN202024136U (zh) 高光效和高显色性的led蜡烛灯
JP2018107135A (ja) Ledモジュールの給電構造
JP2016129172A (ja) 半導体発光素子バルブ及びこれを用いた照明装置
JP2016012467A (ja) 気密封止形のledランプ
CN104713043A (zh) 管状光源装置
JP2019029207A (ja) ランプ装置および照明装置

Legal Events

Date Code Title Description
121 Ep: the epo has been informed by wipo that ep was designated in this application

Ref document number: 14874999

Country of ref document: EP

Kind code of ref document: A1

REEP Request for entry into the european phase

Ref document number: 2014874999

Country of ref document: EP

WWE Wipo information: entry into national phase

Ref document number: 2014874999

Country of ref document: EP

NENP Non-entry into the national phase

Ref country code: DE