WO2015072192A1 - 内視鏡システム - Google Patents

内視鏡システム Download PDF

Info

Publication number
WO2015072192A1
WO2015072192A1 PCT/JP2014/071292 JP2014071292W WO2015072192A1 WO 2015072192 A1 WO2015072192 A1 WO 2015072192A1 JP 2014071292 W JP2014071292 W JP 2014071292W WO 2015072192 A1 WO2015072192 A1 WO 2015072192A1
Authority
WO
WIPO (PCT)
Prior art keywords
light
unit
observation mode
speckle
light source
Prior art date
Legal status (The legal status is an assumption and is not a legal conclusion. Google has not performed a legal analysis and makes no representation as to the accuracy of the status listed.)
Ceased
Application number
PCT/JP2014/071292
Other languages
English (en)
French (fr)
Japanese (ja)
Inventor
麦穂 大道寺
伊藤 毅
宏幸 亀江
Current Assignee (The listed assignees may be inaccurate. Google has not performed a legal analysis and makes no representation or warranty as to the accuracy of the list.)
Olympus Corp
Original Assignee
Olympus Corp
Priority date (The priority date is an assumption and is not a legal conclusion. Google has not performed a legal analysis and makes no representation as to the accuracy of the date listed.)
Filing date
Publication date
Application filed by Olympus Corp filed Critical Olympus Corp
Priority to CN201480061249.1A priority Critical patent/CN105705074B/zh
Priority to EP14861726.9A priority patent/EP3069650A4/en
Publication of WO2015072192A1 publication Critical patent/WO2015072192A1/ja
Priority to US15/146,934 priority patent/US10542865B2/en
Anticipated expiration legal-status Critical
Ceased legal-status Critical Current

Links

Images

Classifications

    • AHUMAN NECESSITIES
    • A61MEDICAL OR VETERINARY SCIENCE; HYGIENE
    • A61BDIAGNOSIS; SURGERY; IDENTIFICATION
    • A61B1/00Instruments for performing medical examinations of the interior of cavities or tubes of the body by visual or photographical inspection, e.g. endoscopes; Illuminating arrangements therefor
    • A61B1/00002Operational features of endoscopes
    • A61B1/00004Operational features of endoscopes characterised by electronic signal processing
    • A61B1/00009Operational features of endoscopes characterised by electronic signal processing of image signals during a use of endoscope
    • AHUMAN NECESSITIES
    • A61MEDICAL OR VETERINARY SCIENCE; HYGIENE
    • A61BDIAGNOSIS; SURGERY; IDENTIFICATION
    • A61B1/00Instruments for performing medical examinations of the interior of cavities or tubes of the body by visual or photographical inspection, e.g. endoscopes; Illuminating arrangements therefor
    • A61B1/00002Operational features of endoscopes
    • A61B1/00004Operational features of endoscopes characterised by electronic signal processing
    • A61B1/00006Operational features of endoscopes characterised by electronic signal processing of control signals
    • AHUMAN NECESSITIES
    • A61MEDICAL OR VETERINARY SCIENCE; HYGIENE
    • A61BDIAGNOSIS; SURGERY; IDENTIFICATION
    • A61B1/00Instruments for performing medical examinations of the interior of cavities or tubes of the body by visual or photographical inspection, e.g. endoscopes; Illuminating arrangements therefor
    • A61B1/00002Operational features of endoscopes
    • A61B1/00043Operational features of endoscopes provided with output arrangements
    • A61B1/00045Display arrangement
    • AHUMAN NECESSITIES
    • A61MEDICAL OR VETERINARY SCIENCE; HYGIENE
    • A61BDIAGNOSIS; SURGERY; IDENTIFICATION
    • A61B1/00Instruments for performing medical examinations of the interior of cavities or tubes of the body by visual or photographical inspection, e.g. endoscopes; Illuminating arrangements therefor
    • A61B1/00064Constructional details of the endoscope body
    • A61B1/00071Insertion part of the endoscope body
    • A61B1/0008Insertion part of the endoscope body characterised by distal tip features
    • A61B1/00096Optical elements
    • AHUMAN NECESSITIES
    • A61MEDICAL OR VETERINARY SCIENCE; HYGIENE
    • A61BDIAGNOSIS; SURGERY; IDENTIFICATION
    • A61B1/00Instruments for performing medical examinations of the interior of cavities or tubes of the body by visual or photographical inspection, e.g. endoscopes; Illuminating arrangements therefor
    • A61B1/00163Optical arrangements
    • AHUMAN NECESSITIES
    • A61MEDICAL OR VETERINARY SCIENCE; HYGIENE
    • A61BDIAGNOSIS; SURGERY; IDENTIFICATION
    • A61B1/00Instruments for performing medical examinations of the interior of cavities or tubes of the body by visual or photographical inspection, e.g. endoscopes; Illuminating arrangements therefor
    • A61B1/06Instruments for performing medical examinations of the interior of cavities or tubes of the body by visual or photographical inspection, e.g. endoscopes; Illuminating arrangements therefor with illuminating arrangements
    • A61B1/0638Instruments for performing medical examinations of the interior of cavities or tubes of the body by visual or photographical inspection, e.g. endoscopes; Illuminating arrangements therefor with illuminating arrangements providing two or more wavelengths
    • AHUMAN NECESSITIES
    • A61MEDICAL OR VETERINARY SCIENCE; HYGIENE
    • A61BDIAGNOSIS; SURGERY; IDENTIFICATION
    • A61B1/00Instruments for performing medical examinations of the interior of cavities or tubes of the body by visual or photographical inspection, e.g. endoscopes; Illuminating arrangements therefor
    • A61B1/06Instruments for performing medical examinations of the interior of cavities or tubes of the body by visual or photographical inspection, e.g. endoscopes; Illuminating arrangements therefor with illuminating arrangements
    • A61B1/0655Control therefor
    • AHUMAN NECESSITIES
    • A61MEDICAL OR VETERINARY SCIENCE; HYGIENE
    • A61BDIAGNOSIS; SURGERY; IDENTIFICATION
    • A61B1/00Instruments for performing medical examinations of the interior of cavities or tubes of the body by visual or photographical inspection, e.g. endoscopes; Illuminating arrangements therefor
    • A61B1/06Instruments for performing medical examinations of the interior of cavities or tubes of the body by visual or photographical inspection, e.g. endoscopes; Illuminating arrangements therefor with illuminating arrangements
    • A61B1/07Instruments for performing medical examinations of the interior of cavities or tubes of the body by visual or photographical inspection, e.g. endoscopes; Illuminating arrangements therefor with illuminating arrangements using light-conductive means, e.g. optical fibres
    • AHUMAN NECESSITIES
    • A61MEDICAL OR VETERINARY SCIENCE; HYGIENE
    • A61BDIAGNOSIS; SURGERY; IDENTIFICATION
    • A61B5/00Measuring for diagnostic purposes; Identification of persons
    • A61B5/0059Measuring for diagnostic purposes; Identification of persons using light, e.g. diagnosis by transillumination, diascopy, fluorescence
    • A61B5/0062Arrangements for scanning
    • A61B5/0066Optical coherence imaging
    • GPHYSICS
    • G02OPTICS
    • G02BOPTICAL ELEMENTS, SYSTEMS OR APPARATUS
    • G02B23/00Telescopes, e.g. binoculars; Periscopes; Instruments for viewing the inside of hollow bodies; Viewfinders; Optical aiming or sighting devices
    • G02B23/24Instruments or systems for viewing the inside of hollow bodies, e.g. fibrescopes
    • G02B23/2407Optical details
    • G02B23/2453Optical details of the proximal end
    • GPHYSICS
    • G02OPTICS
    • G02BOPTICAL ELEMENTS, SYSTEMS OR APPARATUS
    • G02B27/00Optical systems or apparatus not provided for by any of the groups G02B1/00 - G02B26/00, G02B30/00
    • G02B27/48Laser speckle optics
    • AHUMAN NECESSITIES
    • A61MEDICAL OR VETERINARY SCIENCE; HYGIENE
    • A61BDIAGNOSIS; SURGERY; IDENTIFICATION
    • A61B1/00Instruments for performing medical examinations of the interior of cavities or tubes of the body by visual or photographical inspection, e.g. endoscopes; Illuminating arrangements therefor
    • A61B1/06Instruments for performing medical examinations of the interior of cavities or tubes of the body by visual or photographical inspection, e.g. endoscopes; Illuminating arrangements therefor with illuminating arrangements
    • A61B1/063Instruments for performing medical examinations of the interior of cavities or tubes of the body by visual or photographical inspection, e.g. endoscopes; Illuminating arrangements therefor with illuminating arrangements for monochromatic or narrow-band illumination
    • AHUMAN NECESSITIES
    • A61MEDICAL OR VETERINARY SCIENCE; HYGIENE
    • A61BDIAGNOSIS; SURGERY; IDENTIFICATION
    • A61B1/00Instruments for performing medical examinations of the interior of cavities or tubes of the body by visual or photographical inspection, e.g. endoscopes; Illuminating arrangements therefor
    • A61B1/06Instruments for performing medical examinations of the interior of cavities or tubes of the body by visual or photographical inspection, e.g. endoscopes; Illuminating arrangements therefor with illuminating arrangements
    • A61B1/0661Endoscope light sources
    • A61B1/0669Endoscope light sources at proximal end of an endoscope

Definitions

  • the present invention relates to an endoscope system having an endoscope.
  • optical probes that take advantage of the characteristics of laser light.
  • Such an optical probe analyzes tissue based on speckles generated when the tissue is irradiated with laser light.
  • Patent Document 1 is cited.
  • the optical probe is assumed to be used with an endoscope, for example.
  • the optical probe as described above When the optical probe as described above is used together with an endoscope, the optical probe is inserted into the treatment instrument insertion channel disposed inside the endoscope from the treatment instrument insertion port of the endoscope. It is possible. In this case, since the optical probe is not fixed to the endoscope, the operability of the optical probe is lowered. Therefore, it becomes difficult to properly observe speckles.
  • the optical probe is used, the optical probe is inserted into the endoscope from the treatment instrument insertion port as described above. In this case, since the treatment instrument insertion port and the treatment instrument insertion channel are used, the treatment instrument cannot be used. Further, when the optical probe is built in the insertion portion of the endoscope in advance, the diameter of the insertion portion becomes large, and a burden is imposed on the patient.
  • the present invention has been made in view of these circumstances, and speckle observation and normal observation are performed without using a treatment instrument insertion port and a treatment instrument insertion channel, and without increasing the diameter of the insertion section. It is an object to provide an endoscopic system that can be implemented.
  • One aspect of the endoscope system of the present invention has an insertion portion that is inserted into a desired site and a non-insertion portion that is disposed outside the site, and uses a light having coherence.
  • An endoscope system using any one of a plurality of observation modes including a speckle observation mode for observing the observed portion based on speckles generated in the observed portion by the light when observing According to the observation mode so as to reduce the speckle in the observation mode other than the speckle observation mode without disposing the speckle in the speckle observation mode.
  • a speckle reduction unit that stops or drives, and an illumination optical system that is built in the insertion unit, emits the light to the observed unit, and is the same for each observation mode.
  • FIG. 1A is a perspective view of an endoscope system according to the first embodiment of the present invention.
  • FIG. 1B is a schematic diagram of the endoscope system according to the first embodiment.
  • FIG. 2 is a schematic diagram of an endoscope system according to the second embodiment.
  • FIG. 3A is a schematic diagram of an endoscope system according to the third embodiment.
  • FIG. 3B is a diagram illustrating an arrangement position of the optical path length difference providing mechanism in the white light observation mode and the special light observation mode.
  • FIG. 3C is a diagram illustrating an arrangement position of the optical path length difference providing mechanism in the speckle observation mode.
  • FIG. 3D is a schematic diagram of an endoscope system according to a modification of the third embodiment.
  • FIG. 3E is a schematic diagram of an endoscope system according to a modification of the third embodiment.
  • FIG. 4 is a schematic diagram of an endoscope system according to the fourth embodiment.
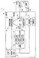
  • the endoscope system 5 includes, for example, an endoscope 10 that illuminates illumination light on an observed part and images the observed part, and a control device 14 that is detachably connected to the endoscope 10. And have.
  • the observed part is, for example, an affected part or a lesion part in a body cavity.
  • the endoscope system 5 is connected to the control device 14, and is detachably connected to the endoscope 10, for example, an image display unit 16 that is a monitor that displays the observed part imaged by the endoscope 10, It further includes a light source device 18 that is detachably connected to the control device 14 and emits light.
  • the endoscope 10 includes, for example, a hollow elongated insertion portion 20 that is inserted into a body cavity, and an operation portion 30 that is connected to the proximal end portion of the insertion portion 20 and operates the endoscope 10. is doing.
  • the insertion portion 20 has a distal end rigid portion 21, a bending portion 23, and a flexible tube portion 25 from the distal end side of the insertion portion 20 toward the proximal end portion side of the insertion portion 20. is doing.
  • the proximal end portion of the distal rigid portion 21 is connected to the distal end portion of the bending portion 23, and the proximal end portion of the bending portion 23 is connected to the distal end portion of the flexible tube portion 25.
  • the operation unit 30 is connected to a main body part 31 from which the flexible tube part 25 extends and a proximal end part of the main body part 31, and is held by an operator who operates the endoscope 10. It has a gripping part 33 and a universal cord 41 connected to the gripping part 33.
  • the main body 31 has a treatment instrument insertion port 35a.
  • the treatment instrument insertion port 35a is connected to a proximal end portion of a treatment instrument insertion channel (not shown).
  • the treatment instrument insertion channel is disposed inside the insertion portion 20 and is disposed from the main body portion 31 to the distal end hard portion 21.
  • the distal end portion of the treatment instrument insertion channel communicates with a distal end opening (not shown) disposed in the distal end hard portion 21.
  • the treatment instrument insertion port portion 35a is an insertion slot for inserting an endoscope treatment instrument (not shown) into the treatment instrument insertion channel.
  • An endoscope treatment tool (not shown) is inserted into the treatment instrument insertion channel from the treatment instrument insertion port 35a and pushed to the distal end rigid portion 21 side. And the treatment tool for endoscope protrudes from the front-end
  • the gripping part 33 has a bending operation part 37 for bending the bending part 23, and a switch part 39 for air / water supply, suction and endoscopic photography.
  • the universal cord 41 extends from the side surface of the grip portion 33.
  • the end portion of the universal cord 41 is branched, and a connection connector 41a is disposed at each end portion.
  • One of the connection connectors 41a is detachable from the control device 14, and the other one of the connection connectors 41a is detachable from the light source device 18.
  • Control Device 14 Image Display Unit 16, and Light Source Device 18
  • the control device 14 controls the endoscope 10, the image display unit 16, and the light source device 18.
  • the image display unit 16 and the light source device 18 will be described later.
  • the endoscope system 5 is disposed outside the desired part so as to be inserted into a desired part such as a body cavity and not inserted into the body cavity.
  • Non-insertion part 20a includes an operation unit 30 that is a part of the endoscope 10, a control device 14, an image display unit 16, and a light source device 18.
  • the endoscope system 5 is configured such that when the endoscope system 5 observes the observation portion using light having coherence, the observation portion is based on speckles generated in the observation portion by light.
  • One of a plurality of observation modes including a speckle observation mode for observing the image is used.
  • Observation modes include, for example, white light observation mode for observing the observed part using white light, speckle observation mode for observing the observed part based on speckles, and observation of the observed part using special light. Special light observation mode.
  • the endoscope system 5 includes an input unit 14a through which an operator inputs an observation mode, and the above-described control device 14 that performs control according to the observation mode input through the input unit 14a. And an illumination device 60 that illuminates illumination light according to the control of the control device 14.
  • the endoscope system 5 is disposed, for example, in the non-insertion portion 20a and does not reduce speckles in the speckle observation mode, and is an observation mode other than the speckle observation mode, such as white light observation.
  • a speckle reduction unit 80 that stops or drives according to the observation mode so as to reduce speckles in the mode and the special light observation mode, and an image acquisition unit 200 that acquires, for example, an image of the observed portion according to the observation mode. And further. As shown in FIG. 1B, the endoscope system 5 further includes the image display unit 16 that displays the image acquired by the image acquisition unit 200.
  • the input unit 14a inputs in the observation unit the observation mode to be observed from a plurality of observation modes, and the input unit 14a instructs the observation unit to perform the observation in the observation mode input by the operator. Input to the controller 14.
  • the input unit 14a is disposed in the non-insertion unit 20a, for example, the control device 14.
  • the input unit 14a includes, for example, a switch unit that selects the observation mode in a switching manner.
  • control device 14 As illustrated in FIG. 1B, the control device 14 includes a storage unit 14b that stores a control table in advance.
  • the control table stores, for example, the operation of the illumination device 60, the operation of the speckle reduction unit 80, and the operation of the image acquisition unit 200 in each observation mode.
  • the control device 14 operates the illumination device 60 according to the observation mode input from the input unit 14a to the control device 14 based on the control table when the control device 14 receives the observation mode from the input unit 14a.
  • the operation of the speckle reduction unit 80 and the operation of the image acquisition unit 200 are controlled in conjunction with each other.
  • the operation of the illumination device 60, the operation of the speckle reduction unit 80, and the operation of the image acquisition unit 200 for each observation mode stored in the control table are as follows.
  • Operation of the illumination device 60 Only the light source 63V and the light source 63G of the illumination device 60 are driven to be lit. Operation of speckle reduction unit 80 The speckle reduction unit 80 is driven. Specifically, the swinging portion 81 of the speckle reduction portion 80 swings the light guide member 69 of the lighting device 60. Operation of the image acquisition unit 200 The image acquisition unit 200 performs image processing suitable for special light.
  • the illumination device 60 includes a light source controller 61, a light source 63V, a light source 63R, a light source 63G, a light source 63B, a light guide member 65V, a light guide member 65R, a light guide member 65G, a light guide member 65B, and an optical multiplexing.
  • a portion 67, a light guide member 69, and an illumination optical system 71 are included.
  • the light source control unit 61, the light source 63V, the light source 63R, the light source 63G, the light source 63B, the light guide member 65V, the light guide member 65R, the light guide member 65G, the light guide member 65B, and the optical multiplexing unit 67 are, for example, the non-insertion portion 20a. It is built in the light source device 18 included.
  • the light guide member 69 is incorporated in the universal cord 41, the operation unit 30, the gripping unit 33, the main body unit 31, and the insertion unit 20 included in the non-insertion unit 20 a.
  • the illumination optical system 71 is built in the distal end portion of the insertion portion 20.
  • the light source controller 61 controls the light source 63V so that the light source 63V, the light source 63R, the light source 63G, and the light source 63B are driven or stopped according to the control of the control device 14, in other words, according to the input observation mode.
  • the light source 63R, the light source 63G, and the light source 63B are controlled.
  • the light source controller 61 controls the drive current and the drive system for the light source 63V, the light source 63R, the light source 63G, and the light source 63B.
  • the driving method controls continuous driving, pulse driving, and high-frequency superposition.
  • Light sources 63V, 63R, 63G, 63B As described above, the light sources 63V, 63R, 63G, and 63B emit light according to the observation mode.
  • the light sources 63V, 63R, 63G, and 63B emit light having high coherence such as laser light.
  • the light source 63V has, for example, a laser diode that emits purple laser light.
  • the wavelength of the laser light is, for example, 405 nm.
  • the light source 63B includes, for example, a laser diode that emits blue laser light.
  • the wavelength of the laser light is, for example, 445 nm.
  • the light source 63G includes, for example, a laser diode that emits green laser light.
  • the wavelength of the laser light is, for example, 515 nm.
  • the light source 63R includes, for example, a laser diode that emits red laser light.
  • the wavelength of the laser light is, for example, 635 nm.
  • Such light sources 63V, 63R, 63G, and 63B emit optically different light depending on the observation mode, as described above. Further, for example, as described above, the light source 63V is shared in each observation mode so that the purple laser light used in the speckle observation mode is used in the special light observation mode that is at least one observation mode other than the speckle observation mode. Has been.
  • the light guide member 65V is optically connected to the light source 63V and the optical multiplexing unit 67, and guides the laser beam emitted from the light source 63V to the optical multiplexing unit 67.
  • the light guide member 65B is optically connected to the light source 63B and the optical multiplexing unit 67, and guides the laser light emitted from the light source 63B to the optical multiplexing unit 67.
  • the light guide member 65G is optically connected to the light source 63G and the optical multiplexing unit 67, and guides the laser light emitted from the light source 63G to the optical multiplexing unit 67.
  • the light guide member 65R is optically connected to the light source 63R and the optical multiplexing unit 67, and guides the laser light emitted from the light source 63R to the optical multiplexing unit 67.
  • the light guide member 65V has, for example, a multimode single-wire optical fiber. This also applies to the light guide member 65R, the light guide member 65G, and the light guide member 65B.
  • a condensing lens (not shown) is disposed between the light source 63V and the light guide member 65V.
  • the light emitted from the light source 63V is condensed on the light guide member 65V by the condenser lens.
  • the optical multiplexing unit 67 multiplexes the laser light guided by the light guide member 65V, the light guide member 65R, the light guide member 65G, and the light guide member 65B. For example, since the light sources 63R, 63G, and 63B are driven in the white light observation mode, the light combining unit 67 combines the blue laser light, the green laser light, and the red laser light in the white light observation mode. Generate white light. Further, for example, since the light sources 63V and 63G are driven in the special light observation mode, the optical multiplexing unit 67 multiplexes the purple laser light and the green laser light in the special light observation mode to generate special light.
  • the optical multiplexing unit 67 allows the purple laser light to pass in the speckle observation mode.
  • the optical multiplexing unit 67 multiplexes each laser beam into a single illumination light so that each laser beam is emitted from the illumination optical system as a single light.
  • the optical multiplexer 67 has, for example, an optical fiber combiner.
  • the light guide member 69 is optically connected to the optical multiplexing unit 67 and the illumination optical system 71, and guides the laser light combined by the optical multiplexing unit 67 to the illumination optical system 71.
  • the light guide member 69 has, for example, a multimode single-wire optical fiber.
  • the illumination optical system 71 emits the laser light guided by the light guide member 69 to the observed part with a desired light distribution.
  • the illumination optical system 71 is the same for each observation mode and is shared by each observation mode.
  • the illumination optical system 71 has a plurality of lenses.
  • speckle reduction unit 80 In general, when light having high coherence such as laser light irradiates the observed part, the light is reflected and scattered near the surface of the observed part. As a result, the phases of the light overlap and an interference pattern reflecting the state near the surface is generated. This interference pattern is called speckle. Specifically, the speckle reduction unit 80 of the present embodiment displays the image display unit 16 in the observation mode other than the speckle observation mode, for example, in the white light observation mode and the special light observation mode, according to the observation mode. This speckle is reduced from the observed portion image.
  • the speckle reduction unit 80 includes a phase multiplexing unit 80a that multiplexes phases by converting a part of the laser light and generating laser light having a phase different from the original phase. Yes.
  • the phase multiplexing unit 80a averages the speckles in the observed portion image by multiplexing the phases, and consequently reduces the speckles.
  • the phase multiplexing unit 80a includes a phase variation unit 80b that temporally varies the phase of the laser beam so that a plurality of laser beams having different phases are generated at different phases. That is, the phase fluctuation part 80b produces speckles that are temporally different near the surface of the observed part. Changing the phase of the laser light with time is called phase fluctuation.
  • the speed of one cycle at which the phase changing unit 80b temporally changes the phase of the light is faster than the frame rate (for example, 30 fps) of the image acquisition unit 200.
  • the phase changing unit 80b includes a swinging unit 81 that swings the light guide member 69 that guides the laser light, for example, so that the phase of the laser light changes temporally.
  • the temporal variation of the phase of the laser beam indicates the speed of one cycle in which the phase of the laser beam is temporally varied, and is a time interval corresponding to the variation frequency at which the peristaltic unit 81 perturbs the light guide member 69.
  • This fluctuating frequency is preferably faster than the frame rate (for example, 30 fps) of the image acquisition unit 200 and more than several times the frame rate.
  • the swing unit 81 includes an actuator such as an electric motor or a piezoelectric body, for example.
  • the peristaltic unit 81 is controlled to drive and stop the peristaltic unit 81 according to the observation mode, and is controlled in detail by the control device 14.
  • Such a speckle reduction unit 80 is disposed, for example, in the non-insertion portion 20a so that the swinging portion 81 contacts the light guide member 69.
  • Image acquisition unit 200 As illustrated in FIG. 1B, the image acquisition unit 200 captures an image of light that has been emitted from the illumination optical system 71 and then reflected from the observed unit as an image, and imaging that transmits the image captured by the imaging unit 201.
  • a cable 203 and an image processing unit 205 that processes an image transmitted by the imaging cable 203 are provided.
  • the imaging unit 201 is built in the distal end portion of the insertion unit 20.
  • the imaging unit 201 includes, for example, a CCD or a COMS.
  • the imaging cable 203 is built in the universal cord 41, the operation unit 30, the gripping unit 33, the main body unit 31, and the insertion unit 20 included in the non-insertion unit 20 a.
  • the image processing unit 205 is disposed in the non-insertion unit 20a.
  • the image processing unit 205 processes the image according to the control of the control device 14, in other words, according to the input observation mode.
  • the image acquired by the image processing unit 205 is also called a frame, and the image processing unit 205 visualizes the image by repeatedly acquiring the frame.
  • the speed at which frames are acquired is called the frame rate, and the frame rate is, for example, 30 fps.
  • the input unit 14a is operated by the operator, and the white light observation mode is input to the input unit 14a.
  • the input unit 14a inputs an instruction to the control device 14 that the observation mode is the white light observation mode.
  • the control device 14 refers to the control table stored in the storage unit 14b and controls the operation of the illumination device 60, the operation of the speckle reduction unit 80, and the operation of the image acquisition unit 200 in conjunction with each other. To do.
  • the control device 14 controls the light source control unit 61 so that the light source 63R, the light source 63G, and the light source 63B are driven for lighting and the light source 63V is stopped.
  • the light source controller 61 controls the light sources 63R, 63G, 63B, and 63V so that the light source 63R, the light source 63G, and the light source 63B are driven for lighting and the light source 63V is stopped based on the control of the control device 14. To do.
  • the light source 63R emits red laser light
  • the light source 63G emits green laser light
  • the light source 63B emits blue laser light.
  • the red laser light is guided to the optical multiplexing unit 67 by the light guide member 65R, the green laser light is guided to the optical multiplexing unit 67 by the light guide member 65G, and the blue laser light is optically multiplexed by the light guide member 65B.
  • the light is guided to the part 67.
  • the optical combiner 67 combines these laser beams to generate white light.
  • White light is guided to the illumination optical system 71 by the light guide member 69.
  • the control device 14 controls the speckle reduction unit 80 so that the speckle reduction unit 80 is driven. Therefore, when white light is guided to the illumination optical system 71 by the light guide member 69, the swinging portion 81 of the speckle reduction portion 80 swings the light guide member 69. For this reason, the phase of white light fluctuates with time. That is, in white light, a plurality of laser beams having different phases are guided in a temporally different state.
  • the white light whose phase has been changed is converted into a desired light distribution by the illumination optical system 71. And white light is radiate
  • the observed portion is irradiated in a state where a plurality of laser beams having different phases are temporally different. Therefore, speckles generated in the observed part are also different in time.
  • the difference in time means that the swinging portion 81 is different at a time interval corresponding to a fluctuating frequency at which the light guide member 69 is swung. This averages the speckle and consequently reduces the speckle.
  • the imaging unit 201 captures the light reflected from the observed portion as an image. This image is transmitted to the image processing unit 205 via the imaging cable 203.
  • the image processing unit 205 performs image processing so that an image of white light generated by only three colors of RGB has a natural hue, and generates an observed portion image.
  • the image display unit 16 displays this image.
  • the frame rate which is the interval at which the image processing unit 205 acquires an image
  • the fluctuating frequency at which the swing unit 81 swings the light guide member 69 is one or more times slower than the fluctuating frequency at which the swing unit 81 swings the light guide member 69. Therefore, in the generated observed portion image, different speckles generated within the frame rate are averaged, and speckles are reduced.
  • the input unit 14a is operated by the operator, and the speckle observation mode is input to the input unit 14a.
  • the input unit 14a inputs an instruction indicating that the observation mode is the speckle observation mode to the control device 14. Based on this instruction, the control device 14 refers to the control table stored in the storage unit 14b and controls the operation of the illumination device 60, the operation of the speckle reduction unit 80, and the operation of the image acquisition unit 200 in conjunction with each other. To do.
  • the control device 14 controls the light source control unit 61 so that the light source 63V is driven for lighting and the light source 63R, the light source 63G, and the light source 63B are stopped.
  • the light source controller 61 controls the light sources 63R, 63G, 63B, and 63V so that the light source 63V is driven for lighting and the light sources 63R, 63G, and 63B are stopped based on the control of the control device 14. To do.
  • the light source 63V emits a purple laser beam.
  • the purple laser light is guided to the optical multiplexing unit 67 by the light guide member 65 ⁇ / b> V, passes through the optical multiplexing unit 67, and is guided to the illumination optical system 71 by the light guide member 69.
  • the control device 14 controls the speckle reduction unit 80 so that the speckle reduction unit 80 stops. Therefore, the purple laser light is converted into a desired light distribution by the illumination optical system 71.
  • the purple laser light is emitted from the illumination optical system 71 and irradiates the observed portion. Since the swinging portion 81 of the speckle reduction unit 80 does not act on the purple laser light, speckles are generated in the observed portion irradiated with the purple laser light.
  • the imaging unit 201 captures the light reflected from the observed portion as an image. This image is transmitted to the image processing unit 205 via the imaging cable 203.
  • the image processing unit 205 performs image processing so that the state of the observed portion is analyzed by speckle, and generates an observed portion image.
  • the image display unit 16 displays this image.
  • the input unit 14a is operated by the operator, and the special light observation mode is input to the input unit 14a.
  • the input unit 14a inputs an instruction to the control device 14 that the observation mode is the special light observation mode.
  • the control device 14 refers to the control table stored in the storage unit 14b and controls the operation of the illumination device 60, the operation of the speckle reduction unit 80, and the operation of the image acquisition unit 200 in conjunction with each other. To do.
  • the control device 14 controls the light source control unit 61 so that the light source 63V and the light source 63G are driven for lighting, and the light source 63R and the light source 63B are stopped.
  • the light source control unit 61 drives the light sources 63R, 63G, 63B, and 63V so that the light sources 63V and 63G are driven for lighting and the light sources 63R and 63B are stopped based on the control of the control device 14. Control.
  • the light source 63V emits a purple laser beam
  • the light source 63G emits a purple laser beam.
  • the purple laser light is guided to the optical multiplexing unit 67 by the light guide member 65V, and the green laser light is guided to the optical multiplexing unit 67 by the light guide member 65G.
  • the optical combiner 67 combines these laser beams to generate special light.
  • the special light is guided to the illumination optical system 71 by the light guide member 69.
  • the control device 14 controls the speckle reduction unit 80 so that the speckle reduction unit 80 is driven. Therefore, when the special light is guided to the illumination optical system 71 by the light guide member 69, the swinging portion 81 of the speckle reduction portion 80 swings the light guide member 69. For this reason, the phase of the special light fluctuates with time. That is, in the special light, a plurality of laser beams having different phases are guided in a state that is temporally different.
  • the special light whose phase has been changed is converted into a desired light distribution by the illumination optical system 71.
  • the special light is emitted from the illumination optical system 71 and irradiates the observed portion.
  • a plurality of laser beams having different phases irradiate the observed portion in a temporally different state. Therefore, speckles generated in the observed part are also different in time.
  • the difference in time means that the swinging portion 81 is different at a time interval corresponding to a fluctuating frequency at which the light guide member 69 is swung. This averages the speckle and consequently reduces the speckle.
  • the imaging unit 201 captures the light reflected from the observed portion as an image. This image is transmitted to the image processing unit 205 via the imaging cable 203.
  • purple laser light is strongly absorbed by hemoglobin in capillaries near the surface of living tissue
  • green laser light is strongly absorbed by hemoglobin in thick blood vessels deep in living tissue. It has properties.
  • the image processing unit 205 performs image processing so as to enhance the contrast between the capillaries and the thick blood vessels, and generates an observed portion image.
  • the image display unit 16 displays this image.
  • the frame rate which is the interval at which the image processing unit 205 acquires an image
  • the fluctuating frequency at which the swing unit 81 swings the light guide member 69 is one or more times slower than the fluctuating frequency at which the swing unit 81 swings the light guide member 69. Therefore, in the generated observed portion image, speckles are reduced as a result of averaging different speckles generated within the frame rate.
  • the speckle reduction unit 80 does not reduce speckles in the speckle observation mode, and the speckle reduction unit is in an observation mode other than the speckle observation mode, such as a white light observation mode and a special light observation mode.
  • the speckle reduction unit 80 is stopped or driven according to the observation mode so as to reduce speckles.
  • the illumination light is emitted from the same illumination optical system 71 in each observation mode.
  • an optical probe is not used, the treatment instrument insertion port 35a and the treatment instrument insertion channel are not used, and the treatment instrument can be used.
  • speckle observation for example, white light observation and special light observation are included without using the treatment instrument insertion port 35a and the treatment instrument insertion channel and without increasing the diameter of the insertion section 20. It can be implemented by switching between normal observation.
  • the speckle reduction unit 80 stops, so that speckles can be generated in the observed part reliably, and speckles can be sufficiently observed in the observed part image.
  • the speckle reduction unit 80 is driven in the observation modes other than the speckle observation mode, for example, the white light observation mode and the special light observation mode, so that speckle can be reliably reduced. Therefore, in this embodiment, in the observation modes other than the speckle observation mode, for example, the white light observation mode and the special light observation mode, it is possible to prevent the observed portion image from being deteriorated by speckle.
  • the illumination light from the same illumination optical system 71 is used by the optical multiplexing unit 67 even if the laser light used in each observation mode is different in the speckle observation mode, the white light observation mode, and the special light observation mode. Can be emitted to the outside. Moreover, according to the above, in this embodiment, a structure can be simplified.
  • the light sources 63V, 63R, 63G, and 63B emit light having high coherence. Therefore, in this embodiment, light can be efficiently incident on the light guide members 65V, 65R, 65G, and 65B, and the light sources 63V, 63R, 63G, and 63B are optically coupled to the light guide members 65V, 65R, 65G, and 65B efficiently. it can. And in this embodiment, the insertion part 20 can be thinned and illumination light can be brightened. Furthermore, in the present embodiment, as described above, for example, the white light observation mode and the special light observation mode, which are observation modes other than the speckle observation mode and the speckle observation mode, can be performed. A high endoscope 10 can be provided.
  • white light observation having the above-described laser light effect can be performed by using white light generated by laser light of three colors of R, G, and B in the white light observation mode.
  • the control apparatus 14 determines the illumination device 60 according to the observation mode input to the control apparatus 14 based on the control table.
  • the operation, the operation of the speckle reduction unit 80, and the operation of the image acquisition unit 200 are controlled in conjunction with each other. Therefore, in this embodiment, the operation of the illumination device 60, the operation of the speckle reduction unit 80, and the image acquisition unit 200 can be controlled in conjunction, and the observation mode can be switched efficiently.
  • the phase is multiplexed by the phase multiplexing unit 80a.
  • speckles can be averaged, speckles in the observed part image can be reduced, and deterioration of the observed part image due to speckles can be prevented.
  • the fluctuation frequency at which the swinging unit 81 swings the light guide member 69 is faster than the frame rate of the image acquisition unit 200. Therefore, in this embodiment, speckles in the observed part image can be averaged over time, and as a result, speckles can be reduced, and deterioration of the observed part image due to speckles can be prevented.
  • the swinging portion 81 swings the light guide member 69.
  • the phase can be multiplexed and the phase can be changed.
  • only the peristaltic part 81 is provided, so that the light transmittance of the light guide member 69 can be prevented from greatly decreasing, and the addition of members can be minimized. It can prevent that 10 itself enlarges.
  • the swinging portion 81 swings the light guide member 69 disposed at the tip of the optical multiplexing portion 67.
  • a single peristaltic part 81 can perturb a plurality of types of laser beams, thereby saving space and reducing costs.
  • the diameter of the core of the light guide member 69 is larger than the diameter of the cores of the light guide members 65V, 65R, 65G, and 65B.
  • the larger the core diameter the greater the number of phases that can be guided. Therefore, by arranging the swinging portion 81 in the light guide member 69 rather than the light guide members 65V, 65R, 65G, and 65B, the effect of phase multiplexing can be increased, speckle can be reduced effectively, and speckle. Therefore, it is possible to prevent the observed portion image from deteriorating.
  • the special light observation mode enables observation with enhanced contrast between capillaries on the surface of the living tissue and deep blood vessels.
  • the laser light in each observation mode is emitted from the common illumination optical system 71 in the observation modes other than the speckle observation mode and the speckle observation mode, for example, the white light observation mode and the special light observation mode.
  • the characteristic of the laser beam used in speckle observation and the characteristic of the laser beam used in the observation modes other than the speckle observation mode, for example, the white light observation mode and the special light observation mode are the same. In this case, the same light source can be used, and space saving and low cost are possible.
  • the light sources 63R, 63G, 63B, and 63V need not be limited to emitting laser light.
  • the light sources 63R, 63G, 63B, and 63V may emit light having coherence that causes speckles to be generated in the observed portion.
  • the optical multiplexing unit 67 may have a spatial optical system that combines light.
  • the illumination optical system 71 may include a diffusing member that diffuses laser light to widen light distribution.
  • the oscillating unit 81 applies a motion such as vibration or rotation in a desired direction to an optical member having at least one of a lens, a diffusion plate, a polarizing plate, and a polarizing plate disposed on the optical path of the laser beam. It may be moved.
  • the observation mode includes a mode in which white light of a different color is irradiated, a mode in which other known special light observation that highlights the observed part, and a fluorescence generated when the observed part or drug is irradiated with excitation light. It may have a fluorescence observation mode for observing.
  • the phase fluctuation unit 80b of the speckle reduction unit 80 is disposed in the light source control unit 61 instead of the peristaltic unit 81, and the light sources 63V, 63R, 63G, and 63B are within a range in which the phase of the laser light changes.
  • the driving current superimposing unit 83 that periodically changes the driving current with respect to is provided.
  • the output of the laser light is periodically changed in the light sources 63V, 63R, 63G, and 63B.
  • the phase of the laser beam is different between the low output side of the laser beam and the high output side of the laser beam.
  • the phase of the laser light fluctuates with time due to a periodic change in the drive current, and speckles that differ in time occur, and the speckles are averaged, resulting in a reduction in speckles.
  • the change of one cycle of the drive current in other words, the superposition frequency of the drive current is faster than the frame rate (for example, 30 fps) of the image acquisition unit 200. Further, the superposition frequency of the drive current is so fast that the light and darkness due to the periodic change of the drive current, in other words, the periodic change of the output of the laser beam cannot be visually recognized in the observed image. Note that it is preferable to superimpose a high frequency of several MHz to several GHz because the spectrum of the laser light is broadened.
  • the drive current superimposing unit 83 is driven or stopped according to the control of the control device 14, in other words, depending on the observation mode.
  • the drive current superimposing unit 83 has a circuit.
  • Control device 14 The operation of the illumination device 60, the operation of the speckle reduction unit 80, and the operation of the image acquisition unit 200 for each observation mode stored in the control table are as follows.
  • the control device 14 controls the light source control unit 61 so that the light source 63R, the light source 63G, and the light source 63B are driven for lighting and the light source 63V is stopped.
  • the light source controller 61 controls the light sources 63R, 63G, 63B, and 63V so that the light source 63R, the light source 63G, and the light source 63B are driven for lighting and the light source 63V is stopped based on the control of the control device 14. To do.
  • the light source 63R emits red laser light
  • the light source 63G emits green laser light
  • the light source 63B emits blue laser light.
  • the red laser light is guided to the optical multiplexing unit 67 by the light guide member 65R, the green laser light is guided to the optical multiplexing unit 67 by the light guide member 65G, and the blue laser light is optically multiplexed by the light guide member 65B.
  • the light is guided to the part 67.
  • the optical combiner 67 combines these laser beams to generate white light.
  • White light is guided to the illumination optical system 71 by the light guide member 69.
  • the control device 14 controls the speckle reduction unit 80 so that the speckle reduction unit 80 is driven. Therefore, when the light source control unit 61 controls the light sources 63R, 63G, and 63B, the drive current superimposing unit 83 of the speckle reduction unit 80 periodically changes the drive current for the light sources 63R, 63G, and 63B. Thereby, the phase of each laser beam output from the light sources 63R, 63G, and 63B varies with time. This averages the speckle and consequently reduces the speckle. When the high frequency is superimposed, the spectrum of the laser beam is broadened and the coherence of the laser beam is lowered, so that speckle is further reduced.
  • the frame rate which is the interval at which the image processing unit 205 acquires an image
  • the frame rate is slower by a factor of more than the superimposed frequency of the drive current. Therefore, in the generated observed portion image, different speckles generated within the frame rate are averaged, and speckles are reduced. Further, in the observed part image, brightness and darkness due to a periodic change of the drive current is not visually recognized.
  • the control device 14 controls the light source control unit 61 so that the light source 63V and the light source 63G are driven for lighting and the light source 63R and the light source 63B are stopped.
  • the light source control unit 61 drives the light sources 63R, 63G, 63B, and 63V so that the light sources 63V and 63G are driven for lighting and the light sources 63R and 63B are stopped based on the control of the control device 14. Control.
  • the light source 63V emits a purple laser beam
  • the light source 63G emits a purple laser beam.
  • the purple laser light is guided to the optical multiplexing unit 67 by the light guide member 65V, and the green laser light is guided to the optical multiplexing unit 67 by the light guide member 65G.
  • the optical combiner 67 combines these laser beams to generate special light.
  • the special light is guided to the illumination optical system 71 by the light guide member 69.
  • the control device 14 controls the speckle reduction unit 80 so that the speckle reduction unit 80 is driven. Therefore, when the light source control unit 61 controls the light sources 63V and 63G, the drive current superimposing unit 83 of the speckle reduction unit 80 periodically changes the drive current for the light sources 63V and 63G. Thereby, the phase of each laser beam output from the light sources 63V and 63G fluctuates with time. This averages the speckle and consequently reduces the speckle. When the high frequency is superimposed, the spectrum of the laser beam is broadened and the coherence of the laser beam is lowered, so that speckle is further reduced.
  • the frame rate which is the interval at which the image processing unit 205 acquires an image
  • the frame rate is slower by a factor of more than the superimposed frequency of the drive current. Therefore, in the generated observed portion image, different speckles generated within the frame rate are averaged, and speckles are reduced. Further, in the observed part image, brightness and darkness due to a periodic change of the drive current is not visually recognized.
  • speckles can be reduced by the drive current superimposing unit 83 as in the first embodiment. Further, in the present embodiment, the drive current superimposing unit 83 only needs to be disposed in the light source control unit 61, the addition of members can be minimized, and the endoscope 10 itself can be prevented from becoming large. .
  • the superposition frequency of the drive current is faster than the frame rate of the image acquisition unit 200. Therefore, in this embodiment, it is possible to make it impossible to visually recognize the light and darkness due to the drive current superposition in the observed image.
  • the high frequency is superimposed so that the spectrum of the laser beam can be broadened, the coherence of the laser beam can be lowered, and speckle can be further reduced. Therefore, in this embodiment, it can prevent that a to-be-observed part image deteriorates by a speckle.
  • the speckle reduction unit 80 is an optical path length that gives an optical path length difference to laser light in order to reduce speckles in an observation mode other than the speckle observation mode, for example, a white light observation mode and a special light observation mode.
  • a difference providing mechanism 90 is provided.
  • the optical path length difference providing mechanism 90 is disposed in the non-insertion portion 20a.
  • the optical path length difference providing mechanism 90 includes a parallel member 91a having a lens that converts the laser light emitted from the light guide member 69 into parallel light, a reflective member 93a that reflects the parallel light converted by the parallel member 91a, and a reflection A condensing member 95a for condensing the laser light reflected by the member 93a.
  • the reflecting member 93a has, for example, a movable mirror.
  • the optical path length difference providing mechanism 90 provides an optical path length difference in which the laser light condensed by the condensing member 95a is incident in an observation mode other than the speckle observation mode, for example, a white light observation mode and a special light observation mode.
  • a portion 97 is further provided.
  • the optical path length difference providing unit 97 demultiplexes the laser light into a plurality of light beams, and gives the plurality of light beams different optical path lengths. For this reason, an optical path length difference occurs in the light flux.
  • the optical path length difference providing unit 97 multiplexes light beams having different optical path lengths.
  • Such an optical path length difference providing unit 97 has, for example, a bundle fiber having a plurality of fibers having different lengths.
  • the number of fibers is, for example, several hundred to several thousand.
  • the difference in fiber length is longer than the coherence length of the laser light used in the white light observation mode and the special light observation mode. Therefore, in the optical path length difference providing unit 97, the laser light incident on the bundle fiber in the white light observation mode and the special light observation mode has an optical path length difference longer than the coherence length. In other words, in the white light observation mode and the special light observation mode, the laser light is provided with an optical path length difference longer than the coherence length by the optical path length difference providing unit 97.
  • the optical path length difference providing mechanism 90 includes a parallel member 91b having a lens that converts the laser light emitted from the optical path length difference providing unit 97 into parallel light, and a reflecting member 93b that reflects the parallel light converted by the parallel member 91b. And further.
  • the optical path length difference providing mechanism 90 further includes a condensing member 95 b that condenses the laser light reflected by the reflecting member 93 b onto the light guide member 69 a that guides the laser light to the illumination optical system 71.
  • the optical path length difference providing mechanism 90 further includes an optical path length difference control unit 99 that controls, for example, the reflecting members 93a and 93b of the optical path length difference providing mechanism 90 according to the control of the control device 14, that is, the observation mode. Yes.
  • the optical path length difference control unit 99 moves the reflection members 93a and 93b so that the reflection members 93a and 93b are arranged on the optical path of the speckle reduction unit 80 or outside the optical path according to the observation mode.
  • FIGS. 3A and 3B when the reflecting members 93a and 93b are disposed on the optical path of the speckle reduction unit 80, the parallel light converted by the parallel member 91a is collected by the reflecting member 93a. Reflected toward 95a.
  • the parallel light converted by the parallel member 91b is reflected toward the light collecting member 95b by the reflecting member 93b. As shown in FIG. 3C, when the reflecting members 93a and 93b are disposed outside the optical path of the speckle reduction unit 80, the parallel light converted by the parallel member 91a travels directly to the light collecting member 95b.
  • Control device 14 The operation of the illumination device 60, the operation of the speckle reduction unit 80, and the operation of the image acquisition unit 200 stored in the control table are as shown below.
  • [Speckle observation mode] Operation of illumination device 60 Only the light source 63V is driven to be lit. Operation of speckle reduction unit 80 The speckle reduction unit 80 is driven. Specifically, as shown in FIG. 3C, the optical path length difference control unit 99 of the speckle reduction unit 80 moves the reflecting members 93 a and 93 b to the outside of the optical path of the speckle reduction unit 80. Operation of Image Acquisition Unit 200 The image acquisition unit 200 performs image processing suitable for speckle.
  • the control device 14 controls the speckle reduction unit 80 so that the speckle reduction unit 80 is driven. Therefore, as shown in FIGS. 3A and 3B, the optical path length difference control unit 99 of the speckle reduction unit 80 moves the reflecting members 93 a and 93 b onto the optical path of the speckle reduction unit 80. Thereby, the white light emitted from the light guide member 69 enters the optical path length difference providing unit 97 via the parallel member 91a, the reflecting member 93a, and the light collecting member 95a. The white light is given an optical path length difference by an optical path length difference providing unit 97.
  • the white light to which the optical path length difference is given proceeds to the illumination optical system 71 through the parallel member 91b, the reflecting member 93b, the light collecting member 95b, and the light guide member 69a.
  • the white light is converted into a desired light distribution by the illumination optical system 71.
  • White light is emitted from the illumination optical system 71 and irradiates the observed portion.
  • White light is provided with an optical path length difference longer than the coherence length by the optical path length difference providing unit 97. Therefore, the white lights do not interfere with each other, and speckles are prevented from occurring in the observed portion.
  • the control device 14 controls the speckle reduction unit 80 so that the speckle reduction unit 80 is driven. Therefore, as shown in FIG. 3C, the optical path length difference control unit 99 of the speckle reduction unit 80 moves the reflecting members 93a and 93b to the outside of the optical path of the speckle reduction unit 80. Thereby, the purple laser light emitted from the light guide member 69 enters the light guide member 69a via the parallel member 91a and the light collecting member 95b. The purple laser light does not enter the optical path length difference providing unit 97.
  • the purple laser light is converted into a desired light distribution by the illumination optical system 71.
  • the purple laser light is emitted from the illumination optical system 71 and irradiates the observed portion.
  • speckles are generated in the observed portion.
  • the control device 14 controls the speckle reduction unit 80 so that the speckle reduction unit 80 is driven. Therefore, as shown in FIGS. 3A and 3B, the optical path length difference control unit 99 of the speckle reduction unit 80 moves the reflecting members 93 a and 93 b onto the optical path of the speckle reduction unit 80. Thereby, the special light emitted from the light guide member 69 enters the optical path length difference providing unit 97 via the parallel member 91a, the reflecting member 93a, and the light collecting member 95a. The special light is given a difference in optical path length by an optical path length difference providing unit 97.
  • the special light to which the optical path length difference is given proceeds to the illumination optical system 71 through the parallel member 91b, the reflecting member 93b, the light collecting member 95b, and the light guide member 69a.
  • the special light is converted into a desired light distribution by the illumination optical system 71.
  • the special light is emitted from the illumination optical system 71 and irradiates the observed portion.
  • the special light is provided with an optical path length difference longer than the coherence length by the optical path length difference providing unit 97. Therefore, the special lights do not interfere with each other, and speckles are prevented from occurring in the observed portion.
  • the optical path length difference imparting unit 97 can impart an optical path length difference longer than the coherence length to the laser light. . Therefore, in this embodiment, in the white light observation mode and the special light observation mode, the laser beams can be prevented from interfering with each other, and speckles can be prevented from being generated. Therefore, in this embodiment, it can prevent reliably that a to-be-observed part image deteriorates by a speckle.
  • the configuration of the present embodiment may be combined with the configuration of the first embodiment. That is, the speckle reduction unit 80 may include the peristaltic unit 81 and the optical path length difference providing mechanism 90. As shown in FIG. 3E, the configuration of the present embodiment may be combined with the configuration of the second embodiment. That is, the speckle reduction unit 80 may include the drive current superimposing unit 83 and the optical path length difference providing mechanism 90. Although not shown, the configuration of the present embodiment may be combined with the configuration of the first embodiment and the configuration of the second embodiment. That is, the speckle reduction unit 80 may include a peristaltic unit 81, a drive current superimposing unit 83, and an optical path length difference providing mechanism 90.
  • the speckle reduction unit 80 may have a plurality of the same or different means. In this case, speckle reduction can be more effectively reduced by disposing the speckle reduction unit 80 having different principles such as the drive current superimposing unit 83 and the optical path length difference providing mechanism 90.
  • phase multiplexing unit 80a that is difficult to switch between driving and stopping alone is arranged at the position of the optical path length difference providing unit 97. Good.
  • phase multiplexing unit 80a that is difficult to switch between driving and stopping include various mode scramblers in which a bending portion is added to the light guide member. Since the phases are multiplexed by the mode scrambler, speckles can be averaged in the observed image, and as a result, speckles can be reduced.
  • the reflecting members 93a and 93b may have an optical member such as an optical switch that can change the traveling direction of the laser light in accordance with the control of the control device 14, in other words, according to the observation mode.
  • the optical path length difference control unit 99 changes the optical characteristics of the reflecting members 93a and 93b so that the reflecting members 93a and 93b reflect or transmit laser light according to the control of the control device 14, in other words, the observation mode. You may let them.
  • the optical path length difference providing unit 97 demultiplexes the laser light into a plurality of light beams using an optical member such as a mirror, gives the plurality of light beams different optical path lengths, and re-divides the demultiplexed light beams. You may combine with one light beam.
  • the observation mode includes, for example, a white light observation mode and a speckle observation mode.
  • the illumination device 60 includes a light source controller 61, a light source 63B, a light guide member 65B, and an illumination optical system 71.
  • the light guide member 65B is optically connected to the light source 63B and the illumination optical system 71, and guides the light emitted from the light source 63B to the illumination optical system 71.
  • the illumination optical system 71 has a phosphor, for example.
  • the phosphor has a characteristic of being excited by blue laser light and emitting yellow fluorescence. For this reason, the illumination optical system 71 emits white light generated by overlapping the yellow fluorescence emitted from the phosphor and the blue laser light transmitted through the phosphor.
  • the control device 14 controls the light source control unit 61 so that the light source 63B is driven for lighting.
  • the light source controller 61 controls the light source 63B based on the control of the control device 14 so that the light source 63B is driven for lighting. Accordingly, the light source 63B emits blue laser light, and the blue laser light is guided to the illumination optical system 71 by the light guide member 65B.
  • the control device 14 controls the speckle reduction unit 80 so that the speckle reduction unit 80 is driven. Therefore, when the blue laser light is guided to the illumination optical system 71 by the light guide member 65B, the swinging portion 81 of the speckle reduction unit 80 swings the light guide member 65B. For this reason, the phase of the blue laser beam fluctuates with time. That is, in the blue laser light, a plurality of blue laser lights having different phases are guided in a temporally different state.
  • the blue laser light whose phase has been changed, part of the blue laser light is converted into yellow fluorescence by the phosphor, and the other part of the blue laser light is transmitted through the phosphor.
  • the yellow fluorescent light and the blue laser light are superimposed and emitted from the illumination optical system 71 as white light to irradiate the observed portion.
  • the observed portion is irradiated in a state where a plurality of laser beams having different phases are temporally different. Therefore, speckles generated in the observed part are also different in time.
  • the difference in time means that the swinging portion 81 is different at a time interval corresponding to the fluctuating frequency that swings the light guide member 65B. This averages the speckle and consequently reduces the speckle.
  • the imaging unit 201 captures the light reflected from the observed portion as an image. This image is transmitted to the image processing unit 205 via the imaging cable 203.
  • the image processing unit 205 performs image processing so that the white light image has a natural color, and generates an observed portion image.
  • the image display unit 16 displays this image.
  • the frame rate which is the interval at which the image processing unit 205 acquires an image
  • the fluctuation frequency at which the swinging unit 81 swings the light guide member 65B is one or more times slower than the fluctuation frequency at which the swinging unit 81 swings the light guide member 65B. Therefore, in the generated observed portion image, speckles are reduced as a result of averaging different speckles generated within the frame rate.
  • the control device 14 controls the light source control unit 61 so that the light source 63B is driven for lighting.
  • the light source controller 61 controls the light source 63B based on the control of the control device 14 so that the light source 63B is driven for lighting. Accordingly, the light source 63B emits blue laser light, and the blue laser light is guided to the illumination optical system 71 by the light guide member 65B.
  • the control device 14 controls the speckle reduction unit 80 so that the speckle reduction unit 80 stops. Therefore, in the blue laser light, part of the blue laser light is converted into yellow fluorescence by the phosphor, and the other part of the blue laser light is transmitted through the phosphor. The yellow fluorescent light and the blue laser light are superimposed and emitted from the illumination optical system 71 as white light to irradiate the observed portion. Since the swinging portion 81 of the speckle reduction unit 80 does not act on the blue laser light, speckle is generated in the observed portion irradiated with the blue laser light.
  • the imaging unit 201 captures the light reflected from the observed portion as an image. This image is transmitted to the image processing unit 205 via the imaging cable 203.
  • the image processing unit 205 performs image processing so that the state of the observed portion is analyzed by speckle, and generates an observed portion image.
  • the image display unit 16 displays this image.
  • a light source that emits light for speckle observation may be provided.
  • an optical combiner 67 that combines the light emitted from the light source and the blue laser light emitted from the light source 63B is provided.
  • the light emitted from the light source is not wavelength-converted by the phosphor and has a characteristic of transmitting through the phosphor.
  • the present invention is not limited to the above-described embodiment as it is, and can be embodied by modifying the constituent elements without departing from the scope of the invention in the implementation stage. Further, various inventions can be formed by appropriately combining a plurality of constituent elements disclosed in the embodiment.

Landscapes

  • Health & Medical Sciences (AREA)
  • Life Sciences & Earth Sciences (AREA)
  • Surgery (AREA)
  • Physics & Mathematics (AREA)
  • Engineering & Computer Science (AREA)
  • Optics & Photonics (AREA)
  • Medical Informatics (AREA)
  • Public Health (AREA)
  • Biomedical Technology (AREA)
  • Heart & Thoracic Surgery (AREA)
  • Biophysics (AREA)
  • Molecular Biology (AREA)
  • Radiology & Medical Imaging (AREA)
  • Animal Behavior & Ethology (AREA)
  • General Health & Medical Sciences (AREA)
  • Pathology (AREA)
  • Veterinary Medicine (AREA)
  • Nuclear Medicine, Radiotherapy & Molecular Imaging (AREA)
  • Signal Processing (AREA)
  • General Physics & Mathematics (AREA)
  • Astronomy & Astrophysics (AREA)
  • Endoscopes (AREA)
  • Instruments For Viewing The Inside Of Hollow Bodies (AREA)
PCT/JP2014/071292 2013-11-13 2014-08-12 内視鏡システム Ceased WO2015072192A1 (ja)

Priority Applications (3)

Application Number Priority Date Filing Date Title
CN201480061249.1A CN105705074B (zh) 2013-11-13 2014-08-12 内窥镜系统
EP14861726.9A EP3069650A4 (en) 2013-11-13 2014-08-12 Endoscope system
US15/146,934 US10542865B2 (en) 2013-11-13 2016-05-05 Endoscopic system with speckle reduction unit

Applications Claiming Priority (2)

Application Number Priority Date Filing Date Title
JP2013-235445 2013-11-13
JP2013235445A JP6238690B2 (ja) 2013-11-13 2013-11-13 内視鏡システム

Related Child Applications (1)

Application Number Title Priority Date Filing Date
US15/146,934 Continuation US10542865B2 (en) 2013-11-13 2016-05-05 Endoscopic system with speckle reduction unit

Publications (1)

Publication Number Publication Date
WO2015072192A1 true WO2015072192A1 (ja) 2015-05-21

Family

ID=53057138

Family Applications (1)

Application Number Title Priority Date Filing Date
PCT/JP2014/071292 Ceased WO2015072192A1 (ja) 2013-11-13 2014-08-12 内視鏡システム

Country Status (5)

Country Link
US (1) US10542865B2 (enExample)
EP (1) EP3069650A4 (enExample)
JP (1) JP6238690B2 (enExample)
CN (1) CN105705074B (enExample)
WO (1) WO2015072192A1 (enExample)

Cited By (1)

* Cited by examiner, † Cited by third party
Publication number Priority date Publication date Assignee Title
CN106388756A (zh) * 2015-07-28 2017-02-15 富士胶片株式会社 图像处理装置及其工作方法以及内窥镜系统

Families Citing this family (5)

* Cited by examiner, † Cited by third party
Publication number Priority date Publication date Assignee Title
JP6463903B2 (ja) * 2014-05-14 2019-02-06 オリンパス株式会社 内視鏡システム
JP6837217B2 (ja) * 2017-01-26 2021-03-03 パナソニックIpマネジメント株式会社 内視鏡用照明装置
CN110651219A (zh) 2017-05-19 2020-01-03 奥林巴斯株式会社 照明装置、包括该照明装置的摄像系统、包括该摄像系统的内窥镜系统及显微镜系统
WO2019138492A1 (ja) * 2018-01-11 2019-07-18 オリンパス株式会社 光源装置
CN114047623B (zh) * 2022-01-14 2022-04-05 济南显微智能科技有限公司 多光谱荧光内镜

Citations (4)

* Cited by examiner, † Cited by third party
Publication number Priority date Publication date Assignee Title
JP2004512538A (ja) 2000-10-30 2004-04-22 ザ ジェネラル ホスピタル コーポレーション 組織分析のための光学的な方法及びシステム
JP2009240560A (ja) * 2008-03-31 2009-10-22 Fujifilm Corp 内視鏡用光源装置
JP2010172651A (ja) * 2009-02-02 2010-08-12 Fujifilm Corp 内視鏡および内視鏡システム
JP2011130902A (ja) * 2009-12-24 2011-07-07 Sumitomo Electric Ind Ltd 光学プローブ

Family Cites Families (15)

* Cited by examiner, † Cited by third party
Publication number Priority date Publication date Assignee Title
US5956447A (en) * 1996-05-07 1999-09-21 Univ Central Florida Device and method for image acquisition through multi-mode fiber
US6993167B1 (en) * 1999-11-12 2006-01-31 Polartechnics Limited System and method for examining, recording and analyzing dermatological conditions
CA2413483A1 (en) * 2001-12-26 2003-06-26 Kevin R. Forrester Motion measuring device
JP4554267B2 (ja) * 2004-04-27 2010-09-29 オリンパス株式会社 内視鏡及び内視鏡システム
JP4995720B2 (ja) * 2004-07-02 2012-08-08 ザ ジェネラル ホスピタル コーポレイション ダブルクラッドファイバを有する内視鏡撮像プローブ
WO2008049118A2 (en) * 2006-10-19 2008-04-24 The General Hospital Corporation Apparatus and method for obtaining and providing imaging information associated with at least one portion of a sample and effecting such portion(s)
JP4897460B2 (ja) * 2006-12-13 2012-03-14 富士フイルム株式会社 超音波診断装置、データ解析方法及びデータ解析プログラム
US8948846B2 (en) * 2007-09-19 2015-02-03 The Research Foundation Of State University Of New York Optical coherence tomography systems and methods
US8858436B2 (en) * 2008-11-12 2014-10-14 Sonosite, Inc. Systems and methods to identify interventional instruments
JP2012515930A (ja) * 2009-01-26 2012-07-12 ザ ジェネラル ホスピタル コーポレーション 広視野の超解像顕微鏡を提供するためのシステム、方法及びコンピューターがアクセス可能な媒体
JP5258613B2 (ja) * 2009-02-16 2013-08-07 富士フイルム株式会社 ライトガイド及び光源装置並びに内視鏡システム
DE102009017940A1 (de) * 2009-04-17 2010-10-21 Storz Endoskop Produktions Gmbh Endoskopisches System
JP5417268B2 (ja) 2010-06-28 2014-02-12 富士フイルム株式会社 内視鏡システム
JP5292379B2 (ja) * 2010-11-09 2013-09-18 富士フイルム株式会社 内視鏡装置
US8792757B2 (en) * 2011-01-24 2014-07-29 Polyvalor, Limited Partnership Double clad fiber coupler and device

Patent Citations (4)

* Cited by examiner, † Cited by third party
Publication number Priority date Publication date Assignee Title
JP2004512538A (ja) 2000-10-30 2004-04-22 ザ ジェネラル ホスピタル コーポレーション 組織分析のための光学的な方法及びシステム
JP2009240560A (ja) * 2008-03-31 2009-10-22 Fujifilm Corp 内視鏡用光源装置
JP2010172651A (ja) * 2009-02-02 2010-08-12 Fujifilm Corp 内視鏡および内視鏡システム
JP2011130902A (ja) * 2009-12-24 2011-07-07 Sumitomo Electric Ind Ltd 光学プローブ

Non-Patent Citations (1)

* Cited by examiner, † Cited by third party
Title
See also references of EP3069650A4

Cited By (1)

* Cited by examiner, † Cited by third party
Publication number Priority date Publication date Assignee Title
CN106388756A (zh) * 2015-07-28 2017-02-15 富士胶片株式会社 图像处理装置及其工作方法以及内窥镜系统

Also Published As

Publication number Publication date
CN105705074B (zh) 2018-09-07
CN105705074A (zh) 2016-06-22
EP3069650A1 (en) 2016-09-21
US10542865B2 (en) 2020-01-28
JP2015093132A (ja) 2015-05-18
US20160242626A1 (en) 2016-08-25
EP3069650A4 (en) 2017-08-30
JP6238690B2 (ja) 2017-11-29

Similar Documents

Publication Publication Date Title
JP6238690B2 (ja) 内視鏡システム
EP1894510A1 (en) Endoscope
JP2012065698A (ja) 手術支援システムおよびそれを用いた手術支援方法
JP7328432B2 (ja) 医療用制御装置、医療用観察システム、制御装置及び観察システム
JP5558635B2 (ja) 内視鏡装置
JP7107308B2 (ja) 観察システム、および光源制御装置
US20230000329A1 (en) Medical image processing device, medical imaging device, medical observation system, image processing method, and computer-readable recording medium
US20160143515A1 (en) Optical scanning device and light beam scanning method
JP2006325973A (ja) 画像生成装置
JP5927077B2 (ja) 内視鏡システム
JP2010104391A (ja) 蛍光観察用プローブ
JP6138386B1 (ja) 内視鏡装置及び内視鏡システム
JP4744279B2 (ja) 電子内視鏡装置
JP6277068B2 (ja) 内視鏡用光源装置及び内視鏡システム
JP2014104138A (ja) 内視鏡及び内視鏡システム
JP2006288535A (ja) 内視鏡装置
JP5830453B2 (ja) 走査型内視鏡
JP2020146407A (ja) 光源装置、医療用観察システム、照明方法およびプログラム
JP2004180953A (ja) 光源用光学系
JP4654351B2 (ja) 電子内視鏡システム及び電子内視鏡
JP4412954B2 (ja) 内視鏡及び蛍光観察内視鏡システム
KR20170022571A (ko) 형광 영상을 촬영하는 내시경 장치
JP2011206567A (ja) 内視鏡システム
JP2006158735A (ja) 内視鏡、及び内視鏡撮像システム
JP2006192148A (ja) 内視鏡装置

Legal Events

Date Code Title Description
121 Ep: the epo has been informed by wipo that ep was designated in this application

Ref document number: 14861726

Country of ref document: EP

Kind code of ref document: A1

NENP Non-entry into the national phase

Ref country code: DE

REEP Request for entry into the european phase

Ref document number: 2014861726

Country of ref document: EP

WWE Wipo information: entry into national phase

Ref document number: 2014861726

Country of ref document: EP