WO2015064049A1 - Stt mram and magnetic head - Google Patents

Stt mram and magnetic head Download PDF

Info

Publication number
WO2015064049A1
WO2015064049A1 PCT/JP2014/005318 JP2014005318W WO2015064049A1 WO 2015064049 A1 WO2015064049 A1 WO 2015064049A1 JP 2014005318 W JP2014005318 W JP 2014005318W WO 2015064049 A1 WO2015064049 A1 WO 2015064049A1
Authority
WO
WIPO (PCT)
Prior art keywords
layer
storage
magnetization
magnetic
storage element
Prior art date
Legal status (The legal status is an assumption and is not a legal conclusion. Google has not performed a legal analysis and makes no representation as to the accuracy of the status listed.)
Ceased
Application number
PCT/JP2014/005318
Other languages
English (en)
French (fr)
Inventor
Kazutaka Yamane
Masanori Hosomi
Hiroyuki Ohmori
Kazuhiro Bessho
Yutaka Higo
Hiroyuki Uchida
Current Assignee (The listed assignees may be inaccurate. Google has not performed a legal analysis and makes no representation or warranty as to the accuracy of the list.)
Sony Corp
Original Assignee
Sony Corp
Priority date (The priority date is an assumption and is not a legal conclusion. Google has not performed a legal analysis and makes no representation as to the accuracy of the date listed.)
Filing date
Publication date
Application filed by Sony Corp filed Critical Sony Corp
Priority to US15/031,092 priority Critical patent/US9818932B2/en
Priority to CN201480057802.4A priority patent/CN105684178B/zh
Publication of WO2015064049A1 publication Critical patent/WO2015064049A1/en
Anticipated expiration legal-status Critical
Ceased legal-status Critical Current

Links

Images

Classifications

    • HELECTRICITY
    • H10SEMICONDUCTOR DEVICES; ELECTRIC SOLID-STATE DEVICES NOT OTHERWISE PROVIDED FOR
    • H10NELECTRIC SOLID-STATE DEVICES NOT OTHERWISE PROVIDED FOR
    • H10N50/00Galvanomagnetic devices
    • H10N50/80Constructional details
    • HELECTRICITY
    • H01ELECTRIC ELEMENTS
    • H01FMAGNETS; INDUCTANCES; TRANSFORMERS; SELECTION OF MATERIALS FOR THEIR MAGNETIC PROPERTIES
    • H01F10/00Thin magnetic films, e.g. of one-domain structure
    • H01F10/08Thin magnetic films, e.g. of one-domain structure characterised by magnetic layers
    • H01F10/10Thin magnetic films, e.g. of one-domain structure characterised by magnetic layers characterised by the composition
    • H01F10/12Thin magnetic films, e.g. of one-domain structure characterised by magnetic layers characterised by the composition being metals or alloys
    • H01F10/123Thin magnetic films, e.g. of one-domain structure characterised by magnetic layers characterised by the composition being metals or alloys having a L10 crystallographic structure, e.g. [Co,Fe][Pt,Pd] thin films
    • GPHYSICS
    • G11INFORMATION STORAGE
    • G11CSTATIC STORES
    • G11C11/00Digital stores characterised by the use of particular electric or magnetic storage elements; Storage elements therefor
    • G11C11/02Digital stores characterised by the use of particular electric or magnetic storage elements; Storage elements therefor using magnetic elements
    • G11C11/16Digital stores characterised by the use of particular electric or magnetic storage elements; Storage elements therefor using magnetic elements using elements in which the storage effect is based on magnetic spin effect
    • G11C11/161Digital stores characterised by the use of particular electric or magnetic storage elements; Storage elements therefor using magnetic elements using elements in which the storage effect is based on magnetic spin effect details concerning the memory cell structure, e.g. the layers of the ferromagnetic memory cell
    • GPHYSICS
    • G11INFORMATION STORAGE
    • G11CSTATIC STORES
    • G11C11/00Digital stores characterised by the use of particular electric or magnetic storage elements; Storage elements therefor
    • G11C11/02Digital stores characterised by the use of particular electric or magnetic storage elements; Storage elements therefor using magnetic elements
    • G11C11/16Digital stores characterised by the use of particular electric or magnetic storage elements; Storage elements therefor using magnetic elements using elements in which the storage effect is based on magnetic spin effect
    • G11C11/165Auxiliary circuits
    • G11C11/1675Writing or programming circuits or methods
    • HELECTRICITY
    • H01ELECTRIC ELEMENTS
    • H01FMAGNETS; INDUCTANCES; TRANSFORMERS; SELECTION OF MATERIALS FOR THEIR MAGNETIC PROPERTIES
    • H01F10/00Thin magnetic films, e.g. of one-domain structure
    • H01F10/32Spin-exchange-coupled multilayers, e.g. nanostructured superlattices
    • H01F10/324Exchange coupling of magnetic film pairs via a very thin non-magnetic spacer, e.g. by exchange with conduction electrons of the spacer
    • H01F10/3286Spin-exchange coupled multilayers having at least one layer with perpendicular magnetic anisotropy
    • HELECTRICITY
    • H10SEMICONDUCTOR DEVICES; ELECTRIC SOLID-STATE DEVICES NOT OTHERWISE PROVIDED FOR
    • H10NELECTRIC SOLID-STATE DEVICES NOT OTHERWISE PROVIDED FOR
    • H10N50/00Galvanomagnetic devices
    • H10N50/10Magnetoresistive devices
    • HELECTRICITY
    • H10SEMICONDUCTOR DEVICES; ELECTRIC SOLID-STATE DEVICES NOT OTHERWISE PROVIDED FOR
    • H10NELECTRIC SOLID-STATE DEVICES NOT OTHERWISE PROVIDED FOR
    • H10N50/00Galvanomagnetic devices
    • H10N50/80Constructional details
    • H10N50/85Materials of the active region
    • HELECTRICITY
    • H01ELECTRIC ELEMENTS
    • H01FMAGNETS; INDUCTANCES; TRANSFORMERS; SELECTION OF MATERIALS FOR THEIR MAGNETIC PROPERTIES
    • H01F10/00Thin magnetic films, e.g. of one-domain structure
    • H01F10/32Spin-exchange-coupled multilayers, e.g. nanostructured superlattices
    • H01F10/324Exchange coupling of magnetic film pairs via a very thin non-magnetic spacer, e.g. by exchange with conduction electrons of the spacer
    • H01F10/3268Exchange coupling of magnetic film pairs via a very thin non-magnetic spacer, e.g. by exchange with conduction electrons of the spacer the exchange coupling being asymmetric, e.g. by use of additional pinning, by using antiferromagnetic or ferromagnetic coupling interface, i.e. so-called spin-valve [SV] structure, e.g. NiFe/Cu/NiFe/FeMn
    • H01F10/3272Exchange coupling of magnetic film pairs via a very thin non-magnetic spacer, e.g. by exchange with conduction electrons of the spacer the exchange coupling being asymmetric, e.g. by use of additional pinning, by using antiferromagnetic or ferromagnetic coupling interface, i.e. so-called spin-valve [SV] structure, e.g. NiFe/Cu/NiFe/FeMn by use of anti-parallel coupled [APC] ferromagnetic layers, e.g. artificial ferrimagnets [AFI], artificial [AAF] or synthetic [SAF] anti-ferromagnets
    • HELECTRICITY
    • H01ELECTRIC ELEMENTS
    • H01FMAGNETS; INDUCTANCES; TRANSFORMERS; SELECTION OF MATERIALS FOR THEIR MAGNETIC PROPERTIES
    • H01F10/00Thin magnetic films, e.g. of one-domain structure
    • H01F10/32Spin-exchange-coupled multilayers, e.g. nanostructured superlattices
    • H01F10/324Exchange coupling of magnetic film pairs via a very thin non-magnetic spacer, e.g. by exchange with conduction electrons of the spacer
    • H01F10/329Spin-exchange coupled multilayers wherein the magnetisation of the free layer is switched by a spin-polarised current, e.g. spin torque effect
    • HELECTRICITY
    • H10SEMICONDUCTOR DEVICES; ELECTRIC SOLID-STATE DEVICES NOT OTHERWISE PROVIDED FOR
    • H10BELECTRONIC MEMORY DEVICES
    • H10B61/00Magnetic memory devices, e.g. magnetoresistive RAM [MRAM] devices
    • H10B61/20Magnetic memory devices, e.g. magnetoresistive RAM [MRAM] devices comprising components having three or more electrodes, e.g. transistors
    • H10B61/22Magnetic memory devices, e.g. magnetoresistive RAM [MRAM] devices comprising components having three or more electrodes, e.g. transistors of the field-effect transistor [FET] type

Definitions

  • the present technology relates to a storage element and a storage device which have a plurality of magnetic layers and perform storage using spin torque magnetization reversal.
  • the technology also relates to a magnetic head which detects a magnetic signal from a magnetic recording medium.
  • Non-volatile semiconductor memories are also advancing so as to replace an NOR flash memory, a DRAM, and the like that are currently commonly used.
  • FeRAM Ferroelectric Random Access Memory
  • MRAM Magnetic Random Access Memory
  • PCRAM Phase Change RAM
  • MRAM stores data using a magnetization direction of a magnetic material, and is therefore capable of fast-speed rewriting and nearly infinite rewriting (10 15 times or more). MRAM is already used in fields such as industrial automation or aviation.
  • an MRAM which uses spin torque magnetization reversal is referred to as a Spin Torque Transfer based Magnetic Random Access Memory (STT-MRAM).
  • Spin torque magnetization reversal is sometimes also referred to as spin injection magnetization reversal.
  • STT-MRAM comes in two types which are an in-plane magnetization type and a perpendicular magnetization type. Among them, in recent years, a perpendicular magnetization type of STT-MRAM which is more suitable for scaling is actively being developed.
  • NPL 3 it has been suggested that using a perpendicular magnetization film such as a Co/Ni multilayer film in the storage layer makes it possible both to reduce the reversal current and to ensure thermal stability.
  • the storage element in STT-MRAM is advantageous for scaling. In other words, it is possible to reduce the volume of the storage layer. However, a reduced volume generally lowers thermal stability of a magnetic material, and this causes failure in a memory operation.
  • a storage element having a layered structure and being configured for storing information comprises a storage portion with a storage magnetization that is perpendicular to a film surface of the layered structure, wherein a direction of the storage magnetization is configured to change according to the information.
  • the storage element also includes a fixed magnetization portion with reference magnetization serving as a reference to the storage magnetization, and an intermediate portion between the storage portion and the fixed magnetization portion that is made of a non-magnetic material.
  • the fixed magnetization portion includes a laminated ferrimagnetic structure that comprises a first ferromagnetic layer, a second ferromagnetic layer, and a non-magnetic layer.
  • the fixed magnetization portion includes a first magnetic material that is an alloy or a laminated structure including Pt, Co, and Y.
  • Storage devices including the storage element are also disclosed. According to one embodiment, this may be provided as a storage element which includes a layered structure including a storage layer that has magnetization perpendicular to a film surface thereof and in which the direction of the magnetization is changed corresponding to information, a magnetization fixed layer that serves as a reference for information stored in the storage layer and has magnetization perpendicular to a film surface, and an intermediate layer that is provided between the storage layer and the pinned magnetization layer and is made of a non-magnetic material. A direction of magnetization of the storage layer is changed and information is stored in the storage layer by injecting spin-polarized electrons in a lamination direction of the layered structure.
  • the magnetization fixed layer has a laminated ferrimagnetic structure made of at least two ferromagnetic layers and a non-magnetic layer, and a magnetic material which is an alloy or a laminated structure using Pt and Co, and includes Y is used as a magnetic material in the magnetization fixed layer.
  • a magnetic material that is an alloy or a laminated structure using Pt and Co and includes Y is used as a magnetic material which is not in contact with the intermediate layer in the magnetization fixed layer.
  • an addition amount of the Y element be 12 at% (atomic percent) or less.
  • the addition amount of the Y element be 1 at% to 10 at%.
  • a magnetic material which is in a contact with the intermediate layer in the magnetization fixed layer be configured to have a CoFeB magnetic layer.
  • a storage element which includes a layered structure including a storage layer that has magnetization perpendicular to a film surface and in which a direction of the magnetization is changed according to information, a magnetization fixed layer that has magnetization serving as a reference of information stored in the storage layer and perpendicular to a film surface, and an intermediate layer that is provided between the storage layer and the magnetization fixed layer and is made of a non-magnetic material, in which a direction of magnetization of the storage layer is changed and information is stored in the storage layer by injecting spin-polarized electrons in a lamination direction of the layered structure, and a magnetic material which is an alloy or a laminated structure using Pt and Co, and includes Y is used as a magnetic material in the magnetization fixed layer.
  • an addition amount of the Y element be 12 at% or less, and it is further desirable that the addition amount of the Y element be 1 at% to 10 at%.
  • a storage device which includes a storage element holding information in a magnetization state of a magnetic material, and two types of wiring intersecting with each other.
  • the storage element has the configuration in which the storage element is disposed between the two types of wiring, the current in the lamination direction flows to the storage element through the two types of wiring, and spin-polarized electrons are injected.
  • a magnetic head including the same configuration as the storage element described above.
  • the magnetic head according to the embodiment of the present technology that uses a structure of the storage element of the technology, it is possible to realize a highly reliable magnetic head with excellent thermal stability.
  • Fig. 1 is a schematic perspective view of a storage device according to an embodiment.
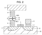
  • Fig. 2 is a cross-sectional view of a storage device according to an embodiment.
  • Fig. 3 is a plan view of a storage device according to an embodiment.
  • Fig. 4 is a diagram which describes a configuration of a storage element according to an embodiment.
  • Fig. 5 is a diagram which describes a configuration of a sample used in Experiment 1.
  • Fig. 6 is a diagram which describes a configuration of a sample used in Experiment 2.
  • Fig. 7A is a diagram which describes a coupling field and a resistance change rate of a laminated ferri-pinned structure obtained from a VSM measurement result for each sample in Experiments 1 and 2.
  • Fig. 7A is a diagram which describes a coupling field and a resistance change rate of a laminated ferri-pinned structure obtained from a VSM measurement result for each sample in Experiments 1 and 2.
  • Fig. 7B is a diagram which describes a coupling field and a resistance change rate of a laminated ferri-pinned structure obtained from a VSM measurement result for each sample in Experiments 1 and 2.
  • Fig. 8 is a diagram which describes a configuration of the magnetization fixed layer of a storage element according to an embodiment as a modification example.
  • Fig. 9A is a diagram which describes an application example of a composite magnetic head according to an embodiment.
  • Fig. 9B is a diagram which describes an application example of a composite magnetic head according to an embodiment.
  • Fig. 10 is a diagram which describes a configuration of the storage element according to an embodiment as a modification example.
  • FIG. 1 is a perspective view
  • Fig. 2 is a cross-sectional view
  • Fig. 3 is a plan view.
  • a storage device has storage elements 3 that use a Spin Transfer Torque-based Magnetic Random Access Memory (STT-MRAM) capable of holding information in a magnetization state in the vicinity of intersections of two types of address wiring (for example, word lines and bit lines) which intersect with each other.
  • STT-MRAM Spin Transfer Torque-based Magnetic Random Access Memory
  • a drain region 8, a source region 7, and a gate electrode 1 which configure a selection transistor for selecting each storage element 3 are formed, respectively, at a portion separated by an element separating layer 2 of the semiconductor substrate 10 such as a silicon substrate and the like.
  • the gate electrode 1 also serves as one address wiring (word line) extending in a front and rear direction in the figure.
  • the drain region 8 is formed so as to be shared by the right and left selection transistors in Fig. 1, and a wiring 9 are connected to the drain region 8.
  • a storage element 3 which has a storage layer in which direction of magnetization is reversed by spin torque magnetization reversal is disposed between the source region 7 and a bit line 6 disposed upside extending in a horizontal direction in Fig. 1.
  • the storage element 3 is configured to have, for example, a magnetic tunnel junction element (MTJ element).
  • MTJ element magnetic tunnel junction element
  • the storage element 3 such as an STT-MRAM which uses the MTJ element of the embodiment uses a torque (also referred to as "spin torque") applied to another free magnetic layer (direction of magnetization is not fixed) when spin-polarized electrons, which pass through a magnetic layer that is fixed in a certain direction, enter the free magnetic layer. Accordingly, the free magnetic layer is reversed when a current of a given threshold or larger flows therein. Rewriting of 0/1 is performed by changing a polarity of the current.
  • An absolute value of a current for such reversal is 1 mA or below for an element of a scale of around 0.1 micrometer. Since such a current value decreases in proportion to an element volume, scaling is also possible. In addition, since word lines for generating a storage current magnetic field that are necessary for a MRAM are unnecessary, there is a further advantage in that a cell structure becomes simplified.
  • Such an STT-MRAM is used as a nonvolatile memory capable of reducing power consumption and increasing capacity while maintaining the advantages of MRAM, i.e., fast speed and nearly infinite rewrites.
  • the storage element 3 has two magnetic layers 12 and 14.
  • one magnetic layer is set to be a magnetization fixed layer 12 in which direction of the magnetization M12 is fixed
  • the other magnetic layer is set to be a free magnetization layer, that is, a storage layer 14, in which direction of a magnetization M14 is changed.
  • the storage element 3 is connected to the bit line 6 and the source region 7 through respective upper and lower contact layers 4.
  • a storage device is configured to have a storage element 3 disposed at respective intersections of a plurality of first wiring (word lines) 1 and second wiring (bit lines) 6, which are orthogonally disposed in a matrix form.
  • a planar shape of the storage element 3 is assumed to be a circular shape as an example, and has a cross-sectional structure as shown in Fig. 2.
  • the storage element 3 has the magnetization fixed layer 12 and the storage layer 14 as shown in Fig. 2.
  • a memory cell of the storage device is configured to have each storage element 3.
  • An advantage of adopting the MTJ structure is that it is possible to increase a read signal by ensuring a large magnetic resistance change rate.
  • the tunnel insulating layer As an intermediate layer in this manner, in order to prevent an insulation breakdown of the tunnel insulating layer, limitation of an amount of current flowing in the storage element 3 occurs. That is, in terms of ensuring reliability with respect to repeatedly writing in the storage element 3, it is preferable to suppress a current necessary for the spin torque magnetization reversal.
  • the current necessary for the spin torque magnetization reversal is referred to as a reverse current, a storage current, and the like.
  • in-plane and perpendicular magnetizations there are two types of in-plane and perpendicular magnetizations for the STT-MRAM.
  • a perpendicular magnetization type of STT-MRAM more suitable for scaling is used in the embodiment.
  • Using a perpendicular magnetization film for the storage layer 14 is advantageous to ensure compatibility of reduction of the reverse current and thermal stability.
  • the storage element 3 (STT-MRAM) of the storage device is advantageous in scaling compared to a MRAM in the related art, that is, it is possible to make volume smaller. However, making volume smaller causes thermal stability of magnetization to be lowered.
  • the storage element 3 is made by laminating the magnetization fixed layer (also referred to as a reference layer) 12 in which direction of the magnetization M12 is fixed, an intermediate layer (non-magnetic layer: tunnel insulating layer) 13, the storage layer (free magnetization layer) 14 in which a direction of the magnetization M14 is variable, and the cap layer 15 on the base layer 11 in the same order.
  • the magnetization fixed layer also referred to as a reference layer
  • an intermediate layer non-magnetic layer: tunnel insulating layer
  • the storage layer (free magnetization layer) 14 in which a direction of the magnetization M14 is variable
  • the cap layer 15 on the base layer 11 in the same order.
  • the storage layer 14 has the magnetization M14 which is perpendicular to a film surface, and a direction of the magnetization is changed according to information.
  • the magnetization fixed layer 12 has the magnetization M12 which is a basis for information stored in the storage layer 14 and is perpendicular to a film surface.
  • direction of the magnetization M12 is fixed by high coercivity and the like.
  • the intermediate layer 13 is a non-magnetic material and is provided between the storage layer 14 and the magnetization fixed layer 12.
  • the base layer 11 and the cap layer 15 are used as an electrode, and function as a protection layer.
  • Electrons have two types of spin angular momentum. Assume that such types are defined as “upward” and “downward". In a non-magnetic material, both types are equal in number, while there is a difference in the number of the both types in a ferromagnetic material. A case is considered where electrons are caused to move from the magnetization fixed layer 12 to the storage layer 14 when respective magnetic moments are in opposite directions (antiparallel) in the magnetization fixed layer 12 and the storage layer 14 which are two layers of ferromagnetic material that configure an STT-MRAM.
  • the magnetization fixed layer 12 is a fixed magnetic layer in which direction of magnetic moment is fixed due to a high coercivity.
  • the electrons passing through the magnetization fixed layer 12 are spin-polarized, that is, the number of the upwards is different from the number of the downwards.
  • a thickness of the intermediate layer 13 which is a non-magnetic layer is configured to be sufficiently thin, the electrons reach another magnetic material, that is, the storage layer 14, before spin-polarization by the passage of the magnetization fixed layer 12 is relaxed to cause the electrons to be in a non-polarized state (the number of upwards is the same as the number of downwards) in a normal non-magnetic material.
  • the magnetic moment of the magnetization fixed layer 12 may not be reversed because the magnetization fixed layer 12 is fixed, and therefore the storage layer 14 is reversed to preserve the angular momentum of the entire system.
  • storage of 0/1 is performed by causing a current that corresponds to the respective polarities and is equal to or larger than a certain threshold to flow in a direction from the magnetization fixed layer 12 to the storage layer 14 or in the opposite direction.
  • a material used as the intermediate layer 13 between the magnetization fixed layer 12 and the storage layer 14 may be a metal or may be an insulator. However, a higher read signal (resistance change rate) is obtained and storage can be performed using a lower current when using an insulator as the intermediate layer. An element at this time is referred to as a ferromagnetic tunnel junction (Magnetic Tunnel Junction: MTJ).
  • MTJ Magnetic Tunnel Junction
  • a threshold value Ic of a necessary current is expressed by the following Equation 1.
  • e is a charge of the electrons
  • an eta is a spin injection efficiency
  • h with a bar is a conversion of Planck's constant
  • an alpha is a damping constant
  • k B is a Boltzmann's constant
  • T is temperature.
  • K is the anisotropic energy
  • Hk is the effective anisotropic magnetic field
  • k B is the Boltzmann's constant
  • T is temperature
  • Ms is an amount of the saturation magnetization
  • V is a volume of the storage layer.
  • the effective anisotropic magnetic field Hk is affected by shape magnetic anisotropy, induced magnetic anisotropy, crystal magnetic anisotropy, and the like, and is equal to the coercivity when assuming a coherent rotation model with a single magnetic domain.
  • an index delta of thermal stability and a current threshold value Ic are basically in a trade-off relationship. For this reason, in order to maintain memory characteristics, compatibility of these is a problem to be solved.
  • a memory cell is configured by connecting the storage element 3 to a selection transistor so as to select a memory cell on which writing is to be performed.
  • the current flowing in the storage element 3 is limited by a magnitude of the current capable of flowing in the selection transistor (a saturation current of the selection transistor).
  • a perpendicular magnetization type as described above to reduce the storage current. Since a perpendicular magnetization film is generally capable of having higher magnetic anisotropy than an in-plane magnetization film, this is also preferable in maintaining a high value for delta described above.
  • perpendicular magnetic materials such as rare earth-transition metal alloys (TbCoFe and the like), metal multilayer films (a Co/Pd multilayer film and the like), ordered alloys (FePt and the like), using interface anisotropy between an oxide and a magnetic metal (Co/MgO and the like).
  • TeCoFe and the like rare earth-transition metal alloys
  • metal multilayer films a Co/Pd multilayer film and the like
  • ordered alloys FePt and the like
  • interface anisotropy between an oxide and a magnetic metal Co/MgO and the like.
  • the metal multilayer films are also diffused by heating to cause deterioration in the perpendicular magnetic anisotropy, and since such perpendicular magnetic anisotropy is expressed to be (111) the direction of a face-centered cubic, it is difficult to realize the (001) direction desired for a high polarization layer of MgO, or Fe, CoFe, CoFeB or the like disposed adjacent to the MgO.
  • An L10 ordered alloy is stable at a high temperature and exhibits perpendicular magnetic anisotropy with a (001) direction, which means that the above problem does not occur, but it is necessary to regularly align the atoms either by heating to a sufficiently high temperature of 500 degrees Celsius or above during manufacturing or by performing a heat treatment at a high temperature of 500 degrees Celsius or above after manufacturing, which has the risk of causing undesired diffusion in other parts of the laminated film, such as the tunnel barrier, and increasing interface roughness.
  • a material that uses interface magnetic anisotropy that is, a material made by laminating a Co-based material or an Fe-based material on MgO that is a tunnel barrier is not susceptible to any of the above problems, and for that reason, is promising as a storage layer material of the STT-MRAM.
  • a perpendicular magnetization magnetic material with interface magnetic anisotropy in the magnetization fixed layer 12.
  • a material made by laminating a magnetic material including Co or Fe below the MgO that is a tunnel barrier is desirable.
  • the storage layer 14 is a CoFeB perpendicular magnetization film.
  • a magnetic tunnel junction (MTJ) element using a tunnel insulating layer made of an insulator is configured as the non-magnetic intermediate layer 13 between the storage layer 14 and the magnetization fixed layer 12.
  • MTJ magnetic tunnel junction
  • GMR giant magneto resistance effect
  • magnesium oxide MgO
  • MR ratio magneto resistance
  • a transfer efficiency of spin torque generally depends on the MR ratio, and as the MR ratio gets higher, the transfer efficiency of the spin torque is improved, and thereby it is possible to reduce a magnetization reverse current concentration.
  • the tunnel insulating layer is formed of a magnesium oxide (MgO) film in this manner, the MgO film is crystallized, and therefore it is more desirable to keep the crystal direction in the (001) direction.
  • MgO magnesium oxide
  • the intermediate layer 13 between the storage layer 14 and the magnetization fixed layer 12 can be configured using various types of insulators, dielectrics, and semiconductors such as aluminum oxide, aluminum nitride, SiO 2 , Bi 2 O 3 , MgF 2 , CaF, SrTiO 2 , AlLaO 3 , Al-N-O, and the like.
  • the tunnel insulating layer made of an MgO film in the range described above, it is desirable to set a thickness of the MgO film to 1.5 nm or below.
  • the cap layer 15 is disposed adjacent to the storage layer 14.
  • the cap layer 15 is made of oxide.
  • oxide of the cap layer 15 for example, MgO, aluminum oxide, TiO 2 , SiO 2 , Bi 2 O 3 , SrTiO 2 , AlLaO 3 , Al-N-O, and the like are used.
  • the storage element 3 although it would be conceivable to adopt a single layered structure as a structure of the magnetization fixed layer 12, it is effective to adopt a laminated ferri-pinned structure made of two or more ferromagnetic layers and a non-magnetic layer.
  • the laminated ferri-pinned structure for the magnetization fixed layer 12, it is possible to easily cancel asymmetry with respect to a direction of writing information on thermal stability, and to improve stability with respect to spin torque.
  • the magnetization fixed layer 12 has a laminated ferri-pinned structure. That is, for example, as shown in Fig. 4B, the magnetization fixed layer 12 is the laminated ferri-pinned structure which is made of at least two ferromagnetic layers 12a and 12c, and a non-magnetic layer 12b.
  • a magnetic material such as a ferromagnetic layer 12c which is not in contact with the intermediate layer 13 among magnetic materials in the magnetization fixed layer 12 is set as a magnetic material which is an alloy or a laminated structure using Pt (platinum) and Co (cobalt), and to which Y (yttrium) is added.
  • a coupling field of the laminated ferri-pinned structure is higher than when not using a single material of Co-Pt as the ferromagnetic layer 12c, and it is possible to stabilize an information write operation of a memory without reducing the resistance change rate.
  • Y is focused on as an additional material to the Co-Pt.
  • Co-Pt as a magnetic material of the ferromagnetic layer 12c which is not in contact with the intermediate layer 13 in the magnetization fixed layer 12 in the embodiment is that a thin film with a high perpendicular magnetic anisotropy energy can be created in a relatively easy manner.
  • a Co-rare earth system [Y, lanthanoid] exists as a material with a high perpendicular magnetic anisotropy energy.
  • the magnetization fixed layer 12 is configured as follows.
  • the magnetization fixed layer 12 includes a laminated ferri-pinned structure made of at least two ferromagnetic layers 12a and 12c, and a non-magnetic layer 12b.
  • a magnetic material of the ferromagnetic layer 12a which is in contact with the intermediate layer 13 among magnetic materials of the magnetization fixed layer 12 is assumed to be CoFeB.
  • a magnetic material of the ferromagnetic layer 12c which is not in contact with the intermediate layer 13 is assumed to be an alloy or a laminated structure using Pt and Co, and to be an alloy or a laminated structure using Pt and Co with Y added. That is, a coupling field of the laminated ferri-pinned structure is larger than when using a single material of Co-Pt.
  • a single material such as Ru, Os, Rh, Ir, Cu, Ag, Au, Re, V, Nb, Ta, Cr, Mo, and W, a laminated film of two types elements or more, or an alloy can be used for a non-magnetic layer 12b in the magnetization fixed layer 12.
  • the storage element 3 can reduce an amount of write current that is necessary to reverse the direction of magnetization M14 of the storage layer 14.
  • the storage elements 3 according to the embodiment as shown in Figs. 4A and 4B by consecutively forming the base layer 11 to the metal cap layer 15 inside a vacuum device and then forming a pattern of the storage element 3 by processes such as etching and the like.
  • the storage device when manufacturing the storage device, there is an advantage that it is possible to use a typical semiconductor MOS formation process. That is, the storage device according to the embodiment can be used as a general-purpose memory.
  • the storage layer 14 it is also possible to directly laminate another ferromagnetic layer of a different composition. Alternatively, it is also possible to laminate a ferromagnetic layer and a soft magnetic layer, or to laminate a plurality of ferromagnetic layers to each other through the soft magnetic layer or the non-magnetic layer. The effects of the present disclosure are still achieved even when laminating is performed in this manner.
  • the respective thicknesses of the magnetization fixed layer 12 and the storage layer 14 be in a range of 0.5 nm to 30 nm.
  • the area of the storage element 3 be 0.01 square micrometer or smaller.
  • the other configurations of the storage element 3 can be the same as a general configuration of a storage element that stores information using the spin torque magnetization reversal.
  • non-magnetic elements such as Ag, Cu, Au, Al, Si, Bi, Ta, B, C, O, N, Pd, Pt, Zr, Ta, Hf, Ir, W, Mo, Nb, V, Ru, Rh, and the like to a magnetic material.
  • a film configuration (layered structure) of the storage element 3 may be a configuration in which the storage layer 14 is disposed at a lower side of the magnetization fixed layer 12.
  • a thermal oxide film with a thickness of 300 nm is formed on a silicon substrate with a thickness of 0.725 mm, and the storage element 3 is formed using a structure shown in Fig. 5.
  • a material and a film thickness of each layer which configures the magnetization fixed layer 12 are selected as follows.
  • - Magnetization fixed layer 12 laminated film of Y-added CoPt: 2 nm/Ru:0.8 nm/CoFeB:2 nm
  • Perpendicular magnetization film in the magnetization fixed layer 12 is a CoPt film with a film thickness of 2 nm to which at% Y is added, and "x" is set in a range from 0 at% to 15 at%.
  • a material and a film thickness of each layer except for the magnetization fixed layer 12 are selected as follows.
  • Base layer 11 a laminated film made of a 10 nm-thick Ta film and a 25 nm-thick Ru film.
  • Intermediate layer (tunnel insulating layer) 13 a 0.9 nm-thick magnesium oxide film.
  • Cap layer 15 a laminated film made of 3 nm-thick Ru / 3 nm-Ta.
  • a composition of a CoFeB alloy of the magnetization fixed layer 12 is set at CoFe80% (Co30%-Fe70)-B20% (all at%).
  • the intermediate layer 13 made of a magnesium oxide (MgO) film is deposited using RF magnetron sputtering and the other films are deposited using DC magnetron sputtering.
  • MgO magnesium oxide
  • a thermal oxide film with a thickness of 300 nm is formed on a silicon substrate with a thickness of 0.725 mm, and the storage element 3 according to a structure shown in Fig. 6 is formed thereon.
  • a material and a film thickness of each layer which configures the magnetization fixed layer 12 are selected as follows.
  • - Magnetization fixed layer 12 a laminated film of Y-added CoPt:2 nm/Ru:0.8 nm/CoFeB:2 nm -
  • a perpendicular magnetization film in the magnetization fixed layer 12 is a CoPt film with a thickness of 2 nm to which x at% of Y is added, and "x" is set to a range from 0 at% to 15 at%.
  • a material and a film thickness of each layer except for in the magnetization fixed layer 12 are selected as follows.
  • Base layer 11 a laminated film made of a 10 nm-thick Ta film and a 25 nm-thick Ru film.
  • Intermediate layer (tunnel insulating layer) 13 a 0.9 nm-thick magnesium oxide film
  • Storage layer 14 1.5 nm: CoFeB.
  • Cap layer 15 a laminated film made of Ru:3 nm/Ta:3 nm.
  • a resistance change rate is measured after an element with a diameter of 50 nm phi is processed.
  • Fig. 7A shows a result of measuring a coupling field and a resistance change rate of a laminated ferri-pinned structure of the magnetization fixed layer obtained from a result of measuring Vibrating Sample Magnetometer (VSM) performed in Experiments 1 and 2.
  • a coupling field of the laminated ferri-pinned structure is 6.5 kOe (Fig. 7B) when using the Co-Pt single material.
  • a coupling field of the laminated ferri-pinned structure is 8.85 kOe, and an increase of approximately 35% can be confirmed.
  • a coupling field of the large laminated ferri-pinned structure is maintained in a range of an addition concentration of Y by 10 at%.
  • Fig. 7A it can be confirmed that when an addition amount of Y exceeds 10 at%, a coupling field of the laminated ferri-pinned structure tends to be rapidly lowered.
  • Y addition concentration dependence of a coupling field of the laminated ferri-pinned structure is intended to support the estimation mechanism described above, Y is added in excess, the state of Co in the Co-Pt changes. Therefore it can be estimated that perpendicular magnetic anisotropy of the Co-Pt is deteriorated.
  • the resistance change rate (TMR) is fixed to around 135 % when the Y addition concentration is 10 at% or less, but is greatly lowered to 100 % or less when the Y addition concentration is added up to 12 at%.
  • Such lowering of TMR corresponds to lowering of a coupling field of the laminated ferri-pinned structure due to excessive addition of Y.
  • an addition of Y to the Co-Pt is shown to be an appropriate additional element for increasing a coupling field of the laminated ferri-pinned structure of the magnetization fixed layer, and furthermore when an addition concentration of Y is 1 at% to 10 at%, it is shown that a coupling field of the large laminated ferri-pinned structure and a high resistance change rate are compatible.
  • a magnitude of the coupling field of the laminated ferri-pinned structure greatly affects information write error characteristics in a minute device, and a reverse voltage at which WER becomes 10 -7 is suppressed to be small when the addition amount of Y by which a coupling field of a large laminated ferri-pinned structure is obtained is in a range of 1 at% to 10 at%.
  • the WER necessary for an actual memory operation depends on a circuit, but is assumed to be 10 -7 or less. Accordingly, an operation characteristic of a low WER is extremely important.
  • a reason for which a low WER is realized using a device having a coupling field of a large laminated ferri-pinned structure is as follows.
  • spin torque is used when writing information.
  • An effect of the torque is mainly observed by the storage layer 14; however, affects the magnetization fixed layer 12.
  • magnetization of the storage layer 14 and the magnetization fixed layer 12 maintain high stability with respect to a thermal fluctuation, such that effects of the spin torque received by the magnetization fixed layer 12 can be ignored.
  • the device size is, for example, 50 nm or below, effects of thermal fluctuation and effects of spin torque are superimposed on each other, such that the spin torque received by the magnetization fixed layer 12 may not be ignored.
  • a magnetic material which is not in contact with the insulation layer of the magnetization fixed layer 12 is assumed to be an alloy or a laminated structure using Pt and Co, and is assumed to be an alloy or a laminated structure using Pt and Co with Y applied thereto.
  • the information write operation is stabilized without losing the resistance change rate.
  • an addition amount of a Y element be 12 at% (atomic percent) or less.
  • an addition amount of a Y element be 1 at% to 10 at%.
  • an addition amount of Y is in a range of 1 at% to 10 at%, a higher coupling field can be obtained and a desirable resistance change rate can be obtained. This is also appropriate for WER.
  • the magnetization fixed layer 12 can adopt the configuration shown in Figs. 8A to 8E.
  • Fig. 8A shows a structure of the storage element 3 which is the same as in Fig. 4A.
  • Other structures of the magnetization fixed layer 12 are exemplified in Figs. 8B to 8E in this case.
  • Fig. 8B is a configuration example which has a ferromagnetic layers 12A-1 and 12A-2, a non-magnetic layer 12B, and a ferromagnetic layer 12A-3 in an order as seen from the intermediate layer 13 side.
  • a ferromagnetic layer 12A-1 is set to be CoFeB
  • a ferromagnetic layer 12A-2 is set to be a Y-added CoPt
  • a non-magnetic layer 12B is set to be Ru
  • a ferromagnetic layer 12A-3 is set to be CoPt.
  • Fig. 8C is a configuration example as in Fig. 8B which has the ferromagnetic layers 12A-1 and 12A-2, a non-magnetic layer 12B, and a ferromagnetic layer 12A-3 sequentially from the intermediate layer 13 side, and in this case, is an example which sets both ferromagnetic layers 12A-2 and 12A-3 to be a Y-added CoPt.
  • Fig. 8D is a configuration example in which a ferromagnetic layer and a non-magnetic layer such as a ferromagnetic layer 12A-1, a non-magnetic layer 12B-1, a ferromagnetic layer 12A-2, a non-magnetic layer 12B-2, a ferromagnetic layer 12A-3 are alternately laminated sequentially from the intermediate layer 13 side.
  • a ferromagnetic layer and a non-magnetic layer such as a ferromagnetic layer 12A-1, a non-magnetic layer 12B-1, a ferromagnetic layer 12A-2, a non-magnetic layer 12B-2, a ferromagnetic layer 12A-3 are alternately laminated sequentially from the intermediate layer 13 side.
  • the ferromagnetic layer 12A-1 is set to be CoFeB
  • the ferromagnetic layer 12A-2 is set to be a Y-added CoPt
  • the non-magnetic layer 12B is set to be Ru
  • the ferromagnetic layer 12A-3 is set to be CoPt.
  • Fig. 8E is a configuration example as in Fig. 8D in which a ferromagnetic layer and a non-magnetic layer such as the ferromagnetic layer 12A-1, the non-magnetic layer 12B-1, the ferromagnetic layer 12A-2, the non-magnetic layer 12B-2, and the ferromagnetic layer 12A-3 are alternately laminated in order from the intermediate layer 13 side.
  • both the ferromagnetic layers 12A-2 and 12A-3 are set to be Y-added CoPt.
  • the non-magnetic layer 12B-1 can also take on a configuration of Ta, Nb, Cr, W, Mo, V, Hf, Zr, Ti, and the like.
  • Ru as the non-magnetic layers 12B and 12B-2
  • a single material of Os, Rh, Ir, Cu, Ag, Au, Re, V, Nb, Ta, Cr, Mo, and W a laminated film of two types or more of elements, or an alloy can be used.
  • the magnetization fixed layer 12 has a laminated ferri-pinned structure made of at least two layers of ferromagnetic layers, and a non-magnetic layer, and a magnetic material which is not in contact with the intermediate layer 13 in the magnetization fixed layer 12 is a material made by adding Y to an alloy or a laminated structure using Pt and Co. Accordingly, by increasing a coupling field of a laminated ferri-pinned structure of the magnetization fixed layer 12, a possibility of write error caused by spin torque fluctuation is reduced without sacrificing the resistance change rate. As a result, it is possible to increase stability of an information write operation of a memory in a minute device.
  • a magnetic material in the magnetization fixed layer 12 which is an alloy or a laminated structure using Pt and Co, and includes Y is described; however, a laminated structure of Pt, Co, and Y may be provided as a structure corresponding to an example of the magnetic material. That is, in a ferromagnetic layer 12c of Figs. 4A and 4B or ferromagnetic layers 12A-2, 12A-3, and the like of Figs. 8B to 8E, a structure in which a Pt layer, a Y layer, and a Co layer are laminated is considered.
  • a structure of the storage element according to the embodiments of the present technology is described as a configuration of magneto resistance effect element such as TMR element
  • a magneto resistance effect element as a TMR element can be not only the storage device described above and but also various electronic apparatuses, electrical apparatus, and the like, such as a magnetic head, a hard disk drive equipped with such a magnetic head, an integrated circuit chip, various electronic devices such as a personal computer, a mobile terminal, a mobile phone, a magnetic sensor equipment, electrical equipment, and the like.
  • Figs. 9A and Fig. 9B show examples where a magneto resistance effect element 101 using the structure of the storage element 3 described above is applied to a composite magnetic head 100.
  • Fig. 9A is a perspective view of the composite magnetic head 100 that has been partially cut away to show the internal structure
  • Fig. 9B is a cross-sectional view of the composite magnetic head 100.
  • the composite magnetic head 100 is a magnetic head used in a hard disk device and the like and has a magneto resistance effect-type magnetic head according to an embodiment of the present disclosure formed on a substrate 122 and has an inductive magnetic head formed so as to be laminated on the magneto resistance effect-type magnetic head.
  • the magneto resistance effect-type magnetic head operates as a reproduction head and the inductive magnetic head operates as a recording head. That is, the composite magnetic head 100 is configured by combining the reproduction head and the recording head.
  • the magneto resistance effect-type magnetic head embedded in the composite magnetic head 100 is a so-called "shield-type MR head" and includes a first magnetic shield 125 formed on the substrate 122 through an insulating layer 123, the magneto resistance effect element 101 formed on the first magnetic shield 125 through the insulating layer 123, and a second magnetic shield 127 formed on the magneto resistance effect element 101 through the insulating layer 123.
  • the insulating layer 123 is made from an insulation material such as Al 2 O 3 , SiO 2 , or the like.
  • the first magnetic shield 125 magnetically shields a lower layer side of the magneto resistance effect element 101, and is made of a soft magnetic material such as Ni-Fe and the like.
  • the magneto resistance effect element 101 is formed on the first magnetic shield 125 through the insulating layer 123.
  • the magneto resistance effect element 101 functions in the magneto resistance effect-type magnetic head as a magnetism sensing element that detects a magnetic signal from a magnetic recording medium.
  • the magneto resistance effect element 101 has the same film configuration (layered structure) as the storage element 3 described above.
  • the magneto resistance effect element 101 is formed in a substantially rectangular shape with one side surface exposed to a facing surface of a magnetic recording medium. Then, bias layers 128 and 129 are disposed at both ends of the magneto resistance effect element 101. In addition, connection terminals 130 and 131 that are connected to the bias layers 128 and 129 are formed. A sense current is supplied to the magneto resistance effect element 101 through the connection terminals 130 and 131.
  • the second magnetic shield 127 is provided on the bias layers 128 and 129 through the insulating layer 123.
  • the inductive magnetic head formed so as to be laminated (formed by lamination) on the magneto resistance effect-type magnetic head as described above includes a magnetic core, which is made of the second magnetic shield 127 and an upper layer core 132, and a thin-film coil 133 formed so as to be wound around the magnetic core.
  • the upper layer core 132 together with the second magnetic shield 127, forms a closed magnetic path, becomes a magnetic core of an inductive magnetic head, and is made of a soft magnetic material such as Ni-Fe and the like 44.
  • front end portions of the second magnetic shield 127 and the upper layer core 132 are exposed to the facing surface of a magnetic recording medium, and at rear end portions thereof, the second magnetic shield 127 and the upper layer core 132 are formed to be in contact each other.
  • the front end portions of the second magnetic shield 127 and the upper layer core 132 are formed so that the second magnetic shield 127 and the upper layer core 132 are spaced from each other with a predetermined gap in between at the facing surface of the magnetic recording medium.
  • the second magnetic shield 127 not only magnetically shields an upper layer side of a magneto resistance effect element 126 but also serves as the magnetic core of the inductive magnetic head, so that the magnetic core of the inductive magnetic head is configured to have the second magnetic shield 127 and the upper layer core 132. Then, the gap g becomes a recording magnetic gap of the inductive magnetic head.
  • a thin-film coil 133 embedded in the insulating layer 123 is formed on the second magnetic shield 127.
  • the thin-film coil 133 is formed so as to be wound around the magnetic core made of the second magnetic shield 127 and the upper layer core 132.
  • both end portions of the thin-film coil 133 are exposed to the outside and terminals formed at both ends of the thin-film coil 133 become external connection terminals of the inductive magnetic head. That is, when recording a magnetic signal on a magnetic recording medium, a recording current is supplied to the thin-film coil 133 from these external connection terminals.
  • a laminated structure as a storage element is capable of being used as a reproduction head for a magnetic recording medium, that is, as a magnetism sensing element that detects a magnetic signal from a magnetic recording medium.
  • the storage element (and magnetic head) according to an embodiment of the present technology
  • a structure as a storage element 3' in which the magnetization fixed layer 12 is divided and disposed on both a lower portion and a upper portion of the storage layer 14 like the base layer 11 / the lower magnetization fixed layer 12L / the lower intermediate layer 13L / the storage layer 14 / the upper intermediate layer 13U / the upper magnetization fixed layer 12U / the cap layer 15 as shown in Fig. 10.
  • the direction of magnetization M12 of the lower magnetization fixed layer 12L and the direction of magnetization M12U of the upper magnetization fixed layer 12U are both shown in Fig. 10. However, in this case, directions of magnetizations M12L and M12U are opposite to each other.
  • a lower intermediate layer 13L and an upper intermediate layer 13U are made of an oxide film of MgO and the like in the same manner as the intermediate layer 13.
  • the lower portion and the upper portion of the magnetization fixed layers 12 adopt the same structure as the magnetization fixed layer 12 described earlier, that is, a structure of a memory element in which a magnetic material that is not in contact with an intermediate layer (13U and 13L) among the magnetic materials of the magnetization fixed layer 12 is an alloy or a laminated structure using Pt and Co, and is a Y-added magnetic material and bonding intensity of the laminated ferri-pinned structure is increased compared to when using a Co-Pt single material, and thereby it is possible to obtain an effect of improving a memory operation stability in the same manner.
  • the CoFeB compositions of the storage layer 14 and the magnetization fixed layer 12 are the same as each other has been exemplified in the above description, the compositions may have various other configurations within a range that does not depart from the gist of the present technology.
  • the ferromagnetic layers 12a and 12A-1 of the magnetization fixed layer 12 which are in contact with the intermediate layer 13 is a CoFeB single layer, it is possible to add elements and oxides in a range in which there is no significant drop in the coupling field.
  • Ta, Hf, Nb, Zr, Cr, Ti, V, and W can be exemplified as an element to be added and MgO, AlO, and SiO 2 can be exemplified as an oxide.
  • the magnetization fixed layer 12 is not limited to a laminated ferri magnetic structure.
  • the base layer 11 and the cap layer 15 may be a laminated structure of a single material or a plurality of materials.
  • the present technology can also be applied to a so-called "top-laminated ferri-type STT-MRAM" and, in such case, by using the Y-added Co-Pt, the effect of improving the memory operation stability can be obtained in the same manner.
  • a storage element includes: a layered structure including a storage layer that has magnetization perpendicular to a film surface and in which an direction of magnetization is changed according to information, a magnetization fixed layer that has magnetization serving as a reference of information stored in the storage layer and perpendicular to a film surface, and an intermediate layer that is provided between the storage layer and the magnetization fixed layer and is made of a non-magnetic material, in which a direction of magnetization of the storage layer is changed and information is stored in the storage layer by injecting spin-polarized electrons in a lamination direction of the layered structure, the magnetization fixed layer has a laminated ferrimagnetic structure made of at least two ferromagnetic layers and a non-magnetic layer, and a magnetic material which is an alloy or a laminated structure using Pt and Co, and includes Y used as a magnetic material in the magnetization fixed layer.
  • a storage element includes: a layered structure including a storage layer that has magnetization perpendicular to a film surface and in which a direction of the magnetization is changed according to information, a magnetization fixed layer that has magnetization serving as a reference of information stored in the storage layer and perpendicular to a film surface, and an intermediate layer that is provided between the storage layer and the magnetization fixed layer and is made of a non-magnetic material, in which a direction of magnetization of the storage layer is changed and information is stored in the storage layer by injecting spin-polarized electrons in a lamination direction of the layered structure, and a magnetic material which is an alloy or a laminated structure using Pt and Co, and includes Y is used as a magnetic material in the magnetization fixed layer.
  • a storage device includes: a storage element which holds information by a magnetization state of a magnetic material, and two types of wiring intersecting with each other, in which the storage element includes a layered structure including a storage element that includes a layered structure including a storage layer that has magnetization perpendicular to a film surface and in which an direction of the magnetization is changed according to information, a magnetization fixed layer that has magnetization serving as a reference of information stored in the storage layer and perpendicular to a film surface, and an intermediate layer that is provided between the storage layer and the magnetization fixed layer and is made of a non-magnetic material, in which a direction of magnetization of the storage layer is changed and information is stored in the storage layer by injecting spin-polarized electrons in a lamination direction of the storage element
  • a magnetic head includes: a layered structure including a storage layer that has magnetization perpendicular to a film surface and in which a direction of magnetization is changed according to information, a magnetization fixed layer that has magnetization serving as a reference of information stored in the storage layer and perpendicular to a film surface, and an intermediate layer that is provided between the storage layer and the magnetization fixed layer and is made of a non-magnetic material, in which an direction of magnetization of the storage layer is changed by injecting spin-polarized electrons in a lamination direction of the layered structure, the magnetization fixed layer has a laminated ferri magnetic structure made of at least two ferromagnetic layers and a non-magnetic layer, and a magnetic material which is an alloy or a laminated structure using Pt and Co, and includes Y is used as a magnetic material in the magnetization fixed layer.
  • a storage element having a layered structure and being configured for storing information comprising: a storage portion that includes a storage magnetization that is perpendicular to a film surface of the layered structure, wherein a direction of the storage magnetization is configured to change according to the information, a fixed magnetization portion that includes a reference magnetization serving as a reference to the storage magnetization, and an intermediate portion that is provided between the storage portion and the fixed magnetization portion and that is made of a non-magnetic material, wherein the fixed magnetization portion includes a laminated ferrimagnetic structure that comprises a first ferromagnetic layer, a second ferromagnetic layer, and a non-magnetic layer, and the fixed magnetization portion includes a first magnetic material that is an alloy or a laminated structure including Pt, Co, and Y.
  • the storage portion, the intermediate portion and the fixed magnetization portion respectively comprise one or more layers arranged in a lamination direction of the layered structure.
  • the fixed magnetization portion comprises a third ferromagnetic layer, the non-magnetic layer, the first ferromagnetic layer, and the second ferromagnetic layer are arranged in the lamination direction, and wherein the third ferromagnetic layer includes CoPt or Y-CoPt, the non-magnetic layer includes Ru, the first ferromagnetic layer includes Y-CoPt, and the second ferromagnetic layer includes CoFeB.
  • a storage element having a layered structure and being configured for storing information comprising: a storage portion that includes a storage magnetization that is perpendicular to a film surface of the layered structure, wherein a direction of the storage magnetization is configured to change according to the information, a fixed magnetization portion that includes a reference magnetization serving as a reference to the storage magnetization, and an intermediate portion that is provided between the storage portion and the fixed magnetization portion and that is made of a non-magnetic material, wherein the fixed magnetization portion includes a first magnetic material that is an alloy or a laminated structure including Pt, Co, and Y.
  • a storage device comprising: a storage element according to (11); and two types of wiring which intersect with each other, wherein a current in a lamination direction of the layered structure flows to the storage element through the two types of wiring, and spin-polarized electrons are injected.
  • a storage device comprising: a storage element according to (23); and two types of wiring which intersect with each other, wherein a current in a lamination direction of the layered structure flows to the storage element through the two types of wiring, and spin-polarized electrons are injected.

Landscapes

  • Engineering & Computer Science (AREA)
  • Chemical & Material Sciences (AREA)
  • Crystallography & Structural Chemistry (AREA)
  • Power Engineering (AREA)
  • Computer Hardware Design (AREA)
  • Mram Or Spin Memory Techniques (AREA)
  • Hall/Mr Elements (AREA)
  • Magnetic Heads (AREA)
PCT/JP2014/005318 2013-10-28 2014-10-20 Stt mram and magnetic head Ceased WO2015064049A1 (en)

Priority Applications (2)

Application Number Priority Date Filing Date Title
US15/031,092 US9818932B2 (en) 2013-10-28 2014-10-20 Storage element, storage device, and magnetic head
CN201480057802.4A CN105684178B (zh) 2013-10-28 2014-10-20 基于自旋力矩转移的磁性随机存取储存器(stt-mram)和磁头

Applications Claiming Priority (2)

Application Number Priority Date Filing Date Title
JP2013223352A JP6194752B2 (ja) 2013-10-28 2013-10-28 記憶素子、記憶装置、磁気ヘッド
JP2013-223352 2013-10-28

Publications (1)

Publication Number Publication Date
WO2015064049A1 true WO2015064049A1 (en) 2015-05-07

Family

ID=51866293

Family Applications (1)

Application Number Title Priority Date Filing Date
PCT/JP2014/005318 Ceased WO2015064049A1 (en) 2013-10-28 2014-10-20 Stt mram and magnetic head

Country Status (5)

Country Link
US (1) US9818932B2 (enExample)
JP (1) JP6194752B2 (enExample)
CN (1) CN105684178B (enExample)
TW (1) TWI639155B (enExample)
WO (1) WO2015064049A1 (enExample)

Families Citing this family (12)

* Cited by examiner, † Cited by third party
Publication number Priority date Publication date Assignee Title
KR102451098B1 (ko) 2015-09-23 2022-10-05 삼성전자주식회사 자기 메모리 장치 및 이의 제조 방법
US11563169B2 (en) 2015-11-18 2023-01-24 Tohoku University Magnetic tunnel junction element and magnetic memory
US10490732B2 (en) 2016-03-11 2019-11-26 Toshiba Memory Corporation Magnetic memory device with sidewall layer containing boron and manufacturing method thereof
JP2017195269A (ja) 2016-04-20 2017-10-26 ソニー株式会社 磁気記憶素子
JP2018032805A (ja) * 2016-08-26 2018-03-01 ソニー株式会社 磁気抵抗素子及び電子デバイス
TWI688131B (zh) * 2016-09-14 2020-03-11 日商東芝記憶體股份有限公司 半導體裝置
JP7018652B2 (ja) * 2017-01-18 2022-02-14 国立大学法人東北大学 磁気抵抗効果素子、磁気メモリ及び磁気抵抗効果素子の製造方法
JP2020068214A (ja) * 2017-02-28 2020-04-30 Tdk株式会社 強磁性多層膜、磁気抵抗効果素子、及び強磁性多層膜を製造する方法
US9911483B1 (en) 2017-03-21 2018-03-06 International Business Machines Corporation Thermally-assisted spin transfer torque memory with improved bit error rate performance
JP2019054095A (ja) 2017-09-14 2019-04-04 東芝メモリ株式会社 磁気抵抗素子
US10727401B2 (en) * 2017-11-10 2020-07-28 Taiwan Semiconductor Manufacturing Co., Ltd. Magnetic random access memory
CN113517015B (zh) * 2021-04-29 2024-05-14 中国科学院上海微系统与信息技术研究所 一种实现存储单元多级存储的方法及装置

Citations (4)

* Cited by examiner, † Cited by third party
Publication number Priority date Publication date Assignee Title
EP1970911A1 (en) * 2007-03-15 2008-09-17 Sony Corporation Spin-polarised current driven magnetic memory device and memory
US20100080050A1 (en) * 2008-09-26 2010-04-01 Kabushiki Kaisha Toshiba Magnetoresistive effect device and magnetic memory
US20120043631A1 (en) * 2010-08-19 2012-02-23 Sony Corporation Magnetic memory element
US8374025B1 (en) * 2007-02-12 2013-02-12 Avalanche Technology, Inc. Spin-transfer torque magnetic random access memory (STTMRAM) with laminated free layer

Family Cites Families (8)

* Cited by examiner, † Cited by third party
Publication number Priority date Publication date Assignee Title
US6130814A (en) 1998-07-28 2000-10-10 International Business Machines Corporation Current-induced magnetic switching device and memory including the same
JP2003017782A (ja) 2001-07-04 2003-01-17 Rikogaku Shinkokai キャリヤスピン注入磁化反転型磁気抵抗効果膜と該膜を用いた不揮発性メモリー素子及び該素子を用いたメモリー装置
JP2008028362A (ja) * 2006-06-22 2008-02-07 Toshiba Corp 磁気抵抗素子及び磁気メモリ
US20070297220A1 (en) * 2006-06-22 2007-12-27 Masatoshi Yoshikawa Magnetoresistive element and magnetic memory
US20090218645A1 (en) * 2007-02-12 2009-09-03 Yadav Technology Inc. multi-state spin-torque transfer magnetic random access memory
DE102007007874A1 (de) * 2007-02-14 2008-08-21 Evonik Degussa Gmbh Verfahren zur Herstellung höherer Silane
JP2009239121A (ja) * 2008-03-27 2009-10-15 Toshiba Corp 磁気抵抗効果素子及び磁気ランダムアクセスメモリ
JP5203871B2 (ja) * 2008-09-26 2013-06-05 株式会社東芝 磁気抵抗効果素子及び磁気メモリ

Patent Citations (4)

* Cited by examiner, † Cited by third party
Publication number Priority date Publication date Assignee Title
US8374025B1 (en) * 2007-02-12 2013-02-12 Avalanche Technology, Inc. Spin-transfer torque magnetic random access memory (STTMRAM) with laminated free layer
EP1970911A1 (en) * 2007-03-15 2008-09-17 Sony Corporation Spin-polarised current driven magnetic memory device and memory
US20100080050A1 (en) * 2008-09-26 2010-04-01 Kabushiki Kaisha Toshiba Magnetoresistive effect device and magnetic memory
US20120043631A1 (en) * 2010-08-19 2012-02-23 Sony Corporation Magnetic memory element

Also Published As

Publication number Publication date
JP6194752B2 (ja) 2017-09-13
CN105684178A (zh) 2016-06-15
TW201532040A (zh) 2015-08-16
US20160268496A1 (en) 2016-09-15
TWI639155B (zh) 2018-10-21
JP2015088520A (ja) 2015-05-07
US9818932B2 (en) 2017-11-14
CN105684178B (zh) 2019-02-01

Similar Documents

Publication Publication Date Title
US11527261B2 (en) Storage element
US9818932B2 (en) Storage element, storage device, and magnetic head
US10217501B2 (en) Memory element and memory apparatus
CN102800803B (zh) 存储元件和存储设备
US8637947B2 (en) Memory element and memory apparatus
TWI530945B (zh) Memory elements and memory devices
CN106887247B (zh) 信息存储元件和存储装置
KR101943651B1 (ko) 저장 소자 및 저장 장치
JP2014072394A (ja) 記憶素子、記憶装置、磁気ヘッド
CN103137853A (zh) 存储元件和存储设备
US20130163315A1 (en) Memory element and memory apparatus
JP2017212464A (ja) 記憶素子、記憶装置、磁気ヘッド

Legal Events

Date Code Title Description
121 Ep: the epo has been informed by wipo that ep was designated in this application

Ref document number: 14793904

Country of ref document: EP

Kind code of ref document: A1

WWE Wipo information: entry into national phase

Ref document number: 15031092

Country of ref document: US

NENP Non-entry into the national phase

Ref country code: DE

122 Ep: pct application non-entry in european phase

Ref document number: 14793904

Country of ref document: EP

Kind code of ref document: A1