WO2015025683A1 - 内燃機関の複リンク式ピストンクランク機構 - Google Patents

内燃機関の複リンク式ピストンクランク機構 Download PDF

Info

Publication number
WO2015025683A1
WO2015025683A1 PCT/JP2014/070018 JP2014070018W WO2015025683A1 WO 2015025683 A1 WO2015025683 A1 WO 2015025683A1 JP 2014070018 W JP2014070018 W JP 2014070018W WO 2015025683 A1 WO2015025683 A1 WO 2015025683A1
Authority
WO
WIPO (PCT)
Prior art keywords
link
oil passage
pin
pin boss
lower link
Prior art date
Legal status (The legal status is an assumption and is not a legal conclusion. Google has not performed a legal analysis and makes no representation as to the accuracy of the status listed.)
Ceased
Application number
PCT/JP2014/070018
Other languages
English (en)
French (fr)
Japanese (ja)
Inventor
孝司 田辺
小林 誠
茂木 克也
Current Assignee (The listed assignees may be inaccurate. Google has not performed a legal analysis and makes no representation or warranty as to the accuracy of the list.)
Nissan Motor Co Ltd
Original Assignee
Nissan Motor Co Ltd
Priority date (The priority date is an assumption and is not a legal conclusion. Google has not performed a legal analysis and makes no representation as to the accuracy of the date listed.)
Filing date
Publication date
Application filed by Nissan Motor Co Ltd filed Critical Nissan Motor Co Ltd
Priority to RU2016109600A priority Critical patent/RU2618149C1/ru
Priority to BR112016003572-0A priority patent/BR112016003572B1/pt
Priority to EP14837631.2A priority patent/EP3037642B1/en
Priority to US14/913,054 priority patent/US9856907B2/en
Priority to JP2015532786A priority patent/JP5971422B2/ja
Priority to MX2016002207A priority patent/MX346228B/es
Priority to CN201480051873.3A priority patent/CN105579684B/zh
Publication of WO2015025683A1 publication Critical patent/WO2015025683A1/ja
Anticipated expiration legal-status Critical
Ceased legal-status Critical Current

Links

Images

Classifications

    • FMECHANICAL ENGINEERING; LIGHTING; HEATING; WEAPONS; BLASTING
    • F16ENGINEERING ELEMENTS AND UNITS; GENERAL MEASURES FOR PRODUCING AND MAINTAINING EFFECTIVE FUNCTIONING OF MACHINES OR INSTALLATIONS; THERMAL INSULATION IN GENERAL
    • F16CSHAFTS; FLEXIBLE SHAFTS; ELEMENTS OR CRANKSHAFT MECHANISMS; ROTARY BODIES OTHER THAN GEARING ELEMENTS; BEARINGS
    • F16C7/00Connecting-rods or like links pivoted at both ends; Construction of connecting-rod heads
    • F16C7/02Constructions of connecting-rods with constant length
    • F16C7/023Constructions of connecting-rods with constant length for piston engines, pumps or the like
    • FMECHANICAL ENGINEERING; LIGHTING; HEATING; WEAPONS; BLASTING
    • F02COMBUSTION ENGINES; HOT-GAS OR COMBUSTION-PRODUCT ENGINE PLANTS
    • F02BINTERNAL-COMBUSTION PISTON ENGINES; COMBUSTION ENGINES IN GENERAL
    • F02B41/00Engines characterised by special means for improving conversion of heat or pressure energy into mechanical power
    • F02B41/02Engines with prolonged expansion
    • F02B41/04Engines with prolonged expansion in main cylinders
    • FMECHANICAL ENGINEERING; LIGHTING; HEATING; WEAPONS; BLASTING
    • F02COMBUSTION ENGINES; HOT-GAS OR COMBUSTION-PRODUCT ENGINE PLANTS
    • F02BINTERNAL-COMBUSTION PISTON ENGINES; COMBUSTION ENGINES IN GENERAL
    • F02B75/00Other engines
    • F02B75/04Engines with variable distances between pistons at top dead-centre positions and cylinder heads
    • F02B75/045Engines with variable distances between pistons at top dead-centre positions and cylinder heads by means of a variable connecting rod length
    • FMECHANICAL ENGINEERING; LIGHTING; HEATING; WEAPONS; BLASTING
    • F16ENGINEERING ELEMENTS AND UNITS; GENERAL MEASURES FOR PRODUCING AND MAINTAINING EFFECTIVE FUNCTIONING OF MACHINES OR INSTALLATIONS; THERMAL INSULATION IN GENERAL
    • F16CSHAFTS; FLEXIBLE SHAFTS; ELEMENTS OR CRANKSHAFT MECHANISMS; ROTARY BODIES OTHER THAN GEARING ELEMENTS; BEARINGS
    • F16C3/00Shafts; Axles; Cranks; Eccentrics
    • F16C3/04Crankshafts, eccentric-shafts; Cranks, eccentrics
    • F16C3/06Crankshafts
    • F16C3/14Features relating to lubrication
    • FMECHANICAL ENGINEERING; LIGHTING; HEATING; WEAPONS; BLASTING
    • F01MACHINES OR ENGINES IN GENERAL; ENGINE PLANTS IN GENERAL; STEAM ENGINES
    • F01MLUBRICATING OF MACHINES OR ENGINES IN GENERAL; LUBRICATING INTERNAL COMBUSTION ENGINES; CRANKCASE VENTILATING
    • F01M11/00Component parts, details or accessories, not provided for in, or of interest apart from, groups F01M1/00 - F01M9/00
    • F01M11/02Arrangements of lubricant conduits
    • FMECHANICAL ENGINEERING; LIGHTING; HEATING; WEAPONS; BLASTING
    • F01MACHINES OR ENGINES IN GENERAL; ENGINE PLANTS IN GENERAL; STEAM ENGINES
    • F01MLUBRICATING OF MACHINES OR ENGINES IN GENERAL; LUBRICATING INTERNAL COMBUSTION ENGINES; CRANKCASE VENTILATING
    • F01M1/00Pressure lubrication
    • F01M1/06Lubricating systems characterised by the provision therein of crankshafts or connecting rods with lubricant passageways, e.g. bores
    • F01M2001/062Crankshaft with passageways
    • FMECHANICAL ENGINEERING; LIGHTING; HEATING; WEAPONS; BLASTING
    • F01MACHINES OR ENGINES IN GENERAL; ENGINE PLANTS IN GENERAL; STEAM ENGINES
    • F01MLUBRICATING OF MACHINES OR ENGINES IN GENERAL; LUBRICATING INTERNAL COMBUSTION ENGINES; CRANKCASE VENTILATING
    • F01M11/00Component parts, details or accessories, not provided for in, or of interest apart from, groups F01M1/00 - F01M9/00
    • F01M11/02Arrangements of lubricant conduits
    • F01M2011/027Arrangements of lubricant conduits for lubricating connecting rod bearings
    • FMECHANICAL ENGINEERING; LIGHTING; HEATING; WEAPONS; BLASTING
    • F02COMBUSTION ENGINES; HOT-GAS OR COMBUSTION-PRODUCT ENGINE PLANTS
    • F02BINTERNAL-COMBUSTION PISTON ENGINES; COMBUSTION ENGINES IN GENERAL
    • F02B75/00Other engines
    • F02B75/04Engines with variable distances between pistons at top dead-centre positions and cylinder heads
    • FMECHANICAL ENGINEERING; LIGHTING; HEATING; WEAPONS; BLASTING
    • F16ENGINEERING ELEMENTS AND UNITS; GENERAL MEASURES FOR PRODUCING AND MAINTAINING EFFECTIVE FUNCTIONING OF MACHINES OR INSTALLATIONS; THERMAL INSULATION IN GENERAL
    • F16CSHAFTS; FLEXIBLE SHAFTS; ELEMENTS OR CRANKSHAFT MECHANISMS; ROTARY BODIES OTHER THAN GEARING ELEMENTS; BEARINGS
    • F16C3/00Shafts; Axles; Cranks; Eccentrics
    • F16C3/04Crankshafts, eccentric-shafts; Cranks, eccentrics
    • F16C3/06Crankshafts
    • F16C3/16Features relating to cooling
    • FMECHANICAL ENGINEERING; LIGHTING; HEATING; WEAPONS; BLASTING
    • F16ENGINEERING ELEMENTS AND UNITS; GENERAL MEASURES FOR PRODUCING AND MAINTAINING EFFECTIVE FUNCTIONING OF MACHINES OR INSTALLATIONS; THERMAL INSULATION IN GENERAL
    • F16CSHAFTS; FLEXIBLE SHAFTS; ELEMENTS OR CRANKSHAFT MECHANISMS; ROTARY BODIES OTHER THAN GEARING ELEMENTS; BEARINGS
    • F16C3/00Shafts; Axles; Cranks; Eccentrics
    • F16C3/04Crankshafts, eccentric-shafts; Cranks, eccentrics
    • F16C3/18Eccentric-shafts
    • FMECHANICAL ENGINEERING; LIGHTING; HEATING; WEAPONS; BLASTING
    • F16ENGINEERING ELEMENTS AND UNITS; GENERAL MEASURES FOR PRODUCING AND MAINTAINING EFFECTIVE FUNCTIONING OF MACHINES OR INSTALLATIONS; THERMAL INSULATION IN GENERAL
    • F16JPISTONS; CYLINDERS; SEALINGS
    • F16J1/00Pistons; Trunk pistons; Plungers
    • F16J1/10Connection to driving members
    • F16J1/14Connection to driving members with connecting-rods, i.e. pivotal connections

Definitions

  • the present invention relates to a multi-link type piston crank mechanism for an internal combustion engine.
  • a multi-link type piston crank mechanism includes a control link that is swingably supported and that has the other end connected to the lower link via a control pin.
  • an oil passage formed inside a crankshaft, a crankpin oil passage formed inside a crankpin, a lower link oil passage formed on a lower link, and an upper pin are rotatable.
  • a pin boss oil passage formed on a pin boss portion of the upper link to be fitted and positioned on an extension line of the lower link oil passage as viewed in the crankshaft axial direction, and at a predetermined crank angle, the crank pin oil passage and the lower A multi-link type piston crank mechanism is disclosed that is configured to communicate with a link oil passage and to supply a part of lubricating oil ejected from the lower link oil passage to an upper pin bearing portion via a pin boss oil passage.
  • the seizure resistance of the upper pin bearing portion is lowered due to insufficient supply of the lubricating oil.
  • the lubricating oil is difficult to jump out in the direction of the opening of the lower link oil passage due to the inertia force, and the pin boss oil passage is on the extension line of the lower link oil passage as viewed from the crankshaft axial direction In such a configuration, sufficient lubricating oil may not necessarily be supplied to the pin boss oil passage.
  • the multi-link type piston crank mechanism according to the present invention is such that the crank pin oil passage and the lower link oil passage communicate with each other at a predetermined crank angle, and lubricating oil is ejected from one end side opening of the lower link oil passage.
  • the lower link oil passage has an opening on one end side of the pin boss portion on which the pin boss oil passage is formed out of the edge of the other end opening of the pin boss oil passage as viewed in the crankshaft axial direction at the predetermined crank angle. It is characterized by being formed so as to be directed to the edge on the traveling direction side.
  • the pin boss portion where the pin boss oil passage is formed moves to the spray region of the lubricant injected in advance from the one end side opening of the lower link oil passage at a timing immediately after the predetermined crank angle.
  • the lubricating oil in the spray region is generated when the pin boss portion passes through the spray region of the lubricant oil injected in advance from the one end side opening of the lower link oil passage. Can be taken in from the pin boss oil passage or the like and supplied to the bearing portion of the pin boss portion. Therefore, it is possible to relatively increase the lubricating oil supplied to the bearing portion of the pin boss portion, and to improve the seizure resistance in the pin boss portion.
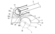
  • FIG. 1 is an explanatory view schematically showing a schematic configuration viewed from the axial direction of a crankshaft of a multi-link piston crank mechanism 1 of an internal combustion engine to which the present invention is applied.
  • This multi-link type piston crank mechanism 1 mainly includes three links (lower link 2, upper link 3, and control link 4) which will be described later.
  • the piston top dead center position can be changed. It is a compression ratio mechanism.
  • the crankshaft 5 includes a plurality of journal portions 6 and a crankpin 7, and the journal portion 6 is rotatably supported by the main bearing of the cylinder block 8.
  • the crankpin 7 is eccentric from the journal part 6 by a predetermined amount, and the lower link 2 is rotatably attached thereto.
  • the lower link 2 is configured to be split into two upper and lower members for assembly to the crankpin 7. That is, the lower link 2 is generally configured by a pair of lower link dividing members 10 and 11 that are divided vertically along a dividing surface 9 that passes through the center of the crankpin 7.
  • the upper link 3 is rotatably attached to the piston 13 by the piston pin 12 at the upper end on the one end side, and the pin boss portion 14 at the lower end on the other end side is connected to the one end side pin boss portion 16 of the lower link 2 by the first connecting pin 15. It is connected to the pivotable.
  • the piston 13 reciprocates in the cylinder 17 of the cylinder block 8.
  • the control link 4 that restricts the movement of the lower link 2 has a lower end on one end side rotatably connected to a lower portion of a cylinder block 8 that is a part of the engine body via a control shaft 18 and an upper end on the other end side.
  • the pin boss portion 19 is rotatably connected to the other end side pin boss portion 21 of the lower link 2 by the second connecting pin 20.
  • the control shaft 18 is rotatably supported by the engine body and has an eccentric cam portion 22 that is eccentric from the center of rotation. A lower end that is one end side of the control link 4 is rotatably connected to the eccentric cam portion 22.
  • the rotation position of the control shaft 18 is controlled by an actuator (not shown) for compression ratio control that operates based on a control signal from an engine control unit (not shown).
  • crankpin oil passage 31 is formed in the crankpin 7.
  • the crankpin oil passage 31 passes through the center of the crankpin as viewed in the axial direction of the crankshaft and extends linearly in the radial direction in the crankpin 7.
  • both ends of the crankpin oil passage 31 are respectively crankpins. 7 is open to the outer peripheral surface.
  • Lubricating oil pressurized by an oil pump (not shown) is supplied to the crankpin oil passage 31 via an axial oil passage 32 extending along the axial direction of the crankshaft 5.
  • the one end side pin boss portion 16 of the lower link 2 is provided on the lower link dividing member 10 and is formed in a forked shape so as to sandwich the pin boss portion 14 located on the other end side of the upper link 3. Opposite the side.
  • the first connecting pin 15 penetrates the pin boss portion 14 of the upper link 3 in a rotatable manner, and is fixed to the one end side pin boss portion 16 of the lower link 2 whose both ends are bifurcated by press fitting.
  • the elongate pin boss opposing surface 33 which opposes the outer peripheral surface of the pin boss part 14 of the upper link 3 is provided.
  • the pin boss facing surface 33 is formed to be a curved surface.
  • the other end side pin boss portion 21 of the lower link 2 is provided on the lower link dividing member 11 and is formed in a bifurcated shape so as to sandwich the pin boss portion 19 located on the other end side of the control link 4. Opposite the side.
  • the second connecting pin 20 penetrates the pin boss portion 19 of the control link 4 so as to be rotatable, and is fixed to the other end side pin boss portion 21 of the lower link 2 whose both ends are bifurcated by press fitting.
  • an elongated pin boss facing surface 34 is provided to face the outer peripheral surface of the pin boss portion 19 of the control link 4.
  • the pin boss facing surface 34 is formed to be a curved surface.
  • a pin boss oil passage 35 is formed in the pin boss portion 14 located on the other end side of the upper link 3, and the lower link split member 10.
  • a lower link oil passage 36 is formed at the bottom.
  • the pin boss oil passage 35 is a groove formed on one outer surface of the pin boss portion 14, one end side opening 35 a is opened on the inner peripheral surface of the pin boss portion 14 of the upper link 3, and the other end side opening 35 b is an upper link. 3 is open on the outer peripheral surface of the pin boss portion 14.
  • the pin boss oil passage 35 may be a through hole that penetrates the pin boss portion 14.
  • the lower link oil passage 36 is a through hole that penetrates the lower link dividing member 10, and has one end side opening 36 a that opens to the pin boss facing surface 33, and the other end side opening 36 b that opens to the crank pin bearing surface 37. is doing. Further, the lower link oil passage 36 communicates with the crankpin oil passage 31 at a predetermined crank angle (for example, bottom dead center), and is formed such that lubricating oil is ejected from the one end side opening 36a.
  • the lower link oil passage 36 has an end edge of the other end opening 35b of the pin boss oil passage 35 formed in the pin boss portion 14 of the upper link 3 at the predetermined crank angle. It is formed so as to be directed to the edge on the traveling direction side.
  • the lower link oil passage 36 has the upper link 3 out of the edges of the other end side opening 35b of the pin boss oil passage 35 formed in the pin boss portion 14 of the upper link 3 at the predetermined crank angle. It is formed so as to be directed to the edge on one end side.
  • the pin boss portion 14 on the other end side of the upper link 3 in which the pin boss oil passage 35 is formed rotates in the direction indicated by the arrow in FIG. 2 as the piston position moves from the position at the predetermined crank angle toward the top dead center. It moves to the spray region S of the lubricant injected from the one end side opening 36a of the lower link oil passage 36 while increasing the angle between the upper link 3 and the lower link 2. Therefore, even when the internal combustion engine is in the high rotation region, the lubricating oil in the spray region S can be taken in from the pin boss oil passage 35 and supplied to the bearing portion of the pin boss portion 14 of the upper link 3.
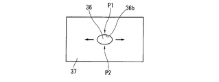
  • the lower link oil passage 36 is a through hole formed so as to be orthogonal to the mating surfaces of the pair of lower link split members 10 and 11 which are the split surfaces 9. Therefore, in this embodiment, the other end side opening 36b of the lower link oil passage 36 that opens to the crankpin bearing surface 37 has an elongated hole shape along the circumferential direction of the crankpin bearing surface, as shown in FIG. .
  • the other end side opening 36b of the lower link oil passage 36 opened to the crankpin bearing surface 37 is as shown in FIG. It becomes a substantially perfect circle shape.
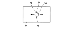
  • 3 and 4 are explanatory views schematically showing the crank pin bearing surface 37 of the lower link 2 in an expanded manner, and the left and right directions in FIGS. 3 and 4 are circumferential directions on the crank pin bearing surface 37. It corresponds to.
  • the other end side opening 36b of the lower link oil passage 36 is extended along the circumferential direction of the crankpin bearing surface by this tensile stress.
  • the other end side opening 36b of the lower link oil passage 36 has an elongated long hole shape along the circumferential direction of the crankpin bearing surface, and therefore, tensile stress along the circumferential direction of the crankpin bearing surface. The curvatures of the portions P1 and P2 extended by the above are relatively small.
  • the stress concentration on the other end side opening 36b of the lower link oil passage 36 is alleviated, and the lower link is reduced.
  • the stress generated in the other end side opening 36b of the oil passage 36 can be reduced, and the fatigue strength of the lower link 2 can be generally improved.
  • the one end side opening 36a of the lower link oil passage 36 has a long hole shape in this embodiment. More specifically, the one end side opening 36 a of the lower link oil passage 36 is formed in an elongated slot shape along the longitudinal direction of the pin boss facing surface 33. A tensile stress is generated in the pin boss facing surface 33 along the longitudinal direction of the pin boss facing surface when a load is input. Will be stretched along. However, since the one end side opening 36a of the lower link oil passage 36 has an elongated slot shape along the longitudinal direction of the pin boss facing surface, the curvature of the portion extended by the tensile stress along the longitudinal direction of the pin boss facing surface is Similar to the case of the other end side opening 36b described above, it becomes relatively small. Therefore, the stress concentration on the one end side opening 36a of the lower link oil passage 36 is relatively relaxed, and the stress generated in the other end side opening 36a of the lower link oil passage 36 can be reduced. The fatigue strength can be improved.
  • the lower link oil passage 36 is set to be orthogonal to the dividing surface 9, the lower link oil passage 36 can be easily machined using the dividing surface 9 as an impact (reference). Compared with the case where 36 is formed along the radial direction of the crankpin bearing surface 37, the processing cost can be reduced.
  • the pin boss portion 14 located on the other end side of the upper link 3 is formed so as to be relatively thin toward the base end side, and the bearing portion is closer to the base end side of the pin boss portion 14.
  • the area of is relatively small. Therefore, in the bearing portion of the pin boss portion 14 of the upper link 3, when the pin boss portion 14 passes through the spray region S, the bearing portion also extends from the base end side of the pin boss portion 14 of the upper link 3 in addition to the pin boss oil passage 35. Lubricating oil is supplied, and the seizure resistance of the pin boss portion 14 of the upper link 3 can be further improved.
  • the lubricating oil is supplied from the crankpin oil passage 31 to the connecting portion between the lower link 2 and the upper link 3, but the lower link 2 and the control are controlled from the crankpin oil passage 31.
  • the present invention can also be applied to a configuration in which lubricating oil is supplied to a connecting portion with the link 4. That is, for example, a pin boss oil passage is formed in the pin boss portion 19 located on the other end side of the control link 4, and the other end side pin boss portion 21 of the lower link 2 is opposed to the pin boss between the other end side pin boss portion 21.
  • a lower link oil passage that opens to the surface 34 and that opens to the crankpin bearing surface 37 may be formed.
  • the lower link oil passage communicates with the crankpin oil passage 31 at a predetermined crank angle, and is the edge of the other end side opening of the pin boss oil passage formed in the pin boss portion 19 of the control link 4.
  • the pin boss portion 19 is formed so as to be directed to the edge on the traveling direction side.
  • the opening of the lower link oil passage is formed in a long hole shape.
  • the lower link oil passage formed on the upper link side has a relatively large effect on reducing the stress concentration at the lower link oil passage opening.
  • the present invention can also be applied to the case where the multi-link type piston crank mechanism 1 is not a variable compression ratio mechanism.

Landscapes

  • Engineering & Computer Science (AREA)
  • General Engineering & Computer Science (AREA)
  • Mechanical Engineering (AREA)
  • Chemical & Material Sciences (AREA)
  • Combustion & Propulsion (AREA)
  • Ocean & Marine Engineering (AREA)
  • Lubrication Of Internal Combustion Engines (AREA)
  • Shafts, Cranks, Connecting Bars, And Related Bearings (AREA)
  • Transmission Devices (AREA)
PCT/JP2014/070018 2013-08-22 2014-07-30 内燃機関の複リンク式ピストンクランク機構 Ceased WO2015025683A1 (ja)

Priority Applications (7)

Application Number Priority Date Filing Date Title
RU2016109600A RU2618149C1 (ru) 2013-08-22 2014-07-30 Кривошипно-шатунный механизм с поршнем с двумя шатунами для двигателя внутреннего сгорания
BR112016003572-0A BR112016003572B1 (pt) 2013-08-22 2014-07-30 Mecanismo de manivela de pistão de ligação dupla para motor de combustão interna
EP14837631.2A EP3037642B1 (en) 2013-08-22 2014-07-30 Double-link piston crank mechanism for internal combustion engine
US14/913,054 US9856907B2 (en) 2013-08-22 2014-07-30 Double-link piston crank mechanism for internal combustion engine
JP2015532786A JP5971422B2 (ja) 2013-08-22 2014-07-30 内燃機関の複リンク式ピストンクランク機構
MX2016002207A MX346228B (es) 2013-08-22 2014-07-30 Mecanismo de pistón-manivela de doble acoplamiento para motor de combustión interna.
CN201480051873.3A CN105579684B (zh) 2013-08-22 2014-07-30 内燃机的多连杆式活塞曲柄机构

Applications Claiming Priority (2)

Application Number Priority Date Filing Date Title
JP2013171808 2013-08-22
JP2013-171808 2013-08-22

Publications (1)

Publication Number Publication Date
WO2015025683A1 true WO2015025683A1 (ja) 2015-02-26

Family

ID=52483464

Family Applications (1)

Application Number Title Priority Date Filing Date
PCT/JP2014/070018 Ceased WO2015025683A1 (ja) 2013-08-22 2014-07-30 内燃機関の複リンク式ピストンクランク機構

Country Status (8)

Country Link
US (1) US9856907B2 (enExample)
EP (1) EP3037642B1 (enExample)
JP (1) JP5971422B2 (enExample)
CN (1) CN105579684B (enExample)
BR (1) BR112016003572B1 (enExample)
MX (1) MX346228B (enExample)
RU (1) RU2618149C1 (enExample)
WO (1) WO2015025683A1 (enExample)

Cited By (3)

* Cited by examiner, † Cited by third party
Publication number Priority date Publication date Assignee Title
JP2017198073A (ja) * 2016-04-25 2017-11-02 日産自動車株式会社 複リンク式ピストン−クランク機構の潤滑構造
CN108026835A (zh) * 2015-09-04 2018-05-11 日产自动车株式会社 内燃机的活塞曲柄机构的上销的润滑构造及润滑方法
JPWO2022058766A1 (enExample) * 2020-09-15 2022-03-24

Families Citing this family (4)

* Cited by examiner, † Cited by third party
Publication number Priority date Publication date Assignee Title
EP3040527B1 (en) * 2013-08-27 2018-08-22 Nissan Motor Co., Ltd Multi-link piston-crank mechanism for internal combustion engine
WO2019234876A1 (ja) * 2018-06-07 2019-12-12 日産自動車株式会社 内燃機関の複リンク式ピストンクランク機構
CA3131953A1 (en) 2019-03-01 2020-09-10 Merrimack Pharmaceuticals, Inc. Anti-tnfr2 antibodies and uses thereof
FR3114365B1 (fr) * 2020-09-23 2022-09-09 Safran Aircraft Engines Bielle creuse

Citations (6)

* Cited by examiner, † Cited by third party
Publication number Priority date Publication date Assignee Title
JPH0447113U (enExample) * 1990-08-29 1992-04-22
JPH04105911U (ja) * 1991-02-25 1992-09-11 富士重工業株式会社 すべり軸受用潤滑油供給装置
JPH08200150A (ja) * 1995-01-20 1996-08-06 Toyota Motor Corp 内燃機関用ピストン
JPH08200152A (ja) * 1995-01-23 1996-08-06 Toyota Motor Corp 内燃機関のピストン装置
JP2001200711A (ja) * 2000-01-17 2001-07-27 Honda Motor Co Ltd エンジンにおけるピストン油冷装置
JP2010185329A (ja) 2009-02-12 2010-08-26 Nissan Motor Co Ltd 内燃機関の複リンク式ピストンクランク機構

Family Cites Families (11)

* Cited by examiner, † Cited by third party
Publication number Priority date Publication date Assignee Title
JPS61157121U (enExample) * 1985-03-20 1986-09-29
SU1353895A1 (ru) * 1986-04-15 1987-11-23 Производственное Объединение "Турбомоторный Завод" Им.К.Е.Ворошилова Кривошипно-шатунный механизм дл двигател внутреннего сгорани
JPS63174541U (enExample) * 1986-12-03 1988-11-11
RU2166653C2 (ru) * 1997-12-24 2001-05-10 Акционерное общество открытого типа - Холдинговая компания "Барнаултрансмаш" Двигатель внутреннего сгорания
JP4096700B2 (ja) * 2002-11-05 2008-06-04 日産自動車株式会社 内燃機関の可変圧縮比装置
KR100528207B1 (ko) * 2003-10-01 2005-11-15 현대자동차주식회사 피스톤의 피스톤 핀 결합구조
JP4646879B2 (ja) * 2006-09-08 2011-03-09 本田技研工業株式会社 ストローク特性可変エンジン
JP5251576B2 (ja) * 2009-02-12 2013-07-31 日産自動車株式会社 内燃機関の複リンク式ピストンクランク機構
JP5330851B2 (ja) * 2009-02-12 2013-10-30 ソフィサ 調整可能バルブの設定値を機械的に位置づけかつ読み取るためのデバイス
JP2010203270A (ja) * 2009-03-02 2010-09-16 Nissan Motor Co Ltd 複リンク式内燃機関の潤滑装置
CN102482995B (zh) * 2009-07-17 2014-05-28 日产自动车株式会社 设置有多连杆型活塞-曲柄机构的内燃机的曲轴

Patent Citations (6)

* Cited by examiner, † Cited by third party
Publication number Priority date Publication date Assignee Title
JPH0447113U (enExample) * 1990-08-29 1992-04-22
JPH04105911U (ja) * 1991-02-25 1992-09-11 富士重工業株式会社 すべり軸受用潤滑油供給装置
JPH08200150A (ja) * 1995-01-20 1996-08-06 Toyota Motor Corp 内燃機関用ピストン
JPH08200152A (ja) * 1995-01-23 1996-08-06 Toyota Motor Corp 内燃機関のピストン装置
JP2001200711A (ja) * 2000-01-17 2001-07-27 Honda Motor Co Ltd エンジンにおけるピストン油冷装置
JP2010185329A (ja) 2009-02-12 2010-08-26 Nissan Motor Co Ltd 内燃機関の複リンク式ピストンクランク機構

Non-Patent Citations (1)

* Cited by examiner, † Cited by third party
Title
See also references of EP3037642A4

Cited By (7)

* Cited by examiner, † Cited by third party
Publication number Priority date Publication date Assignee Title
CN108026835A (zh) * 2015-09-04 2018-05-11 日产自动车株式会社 内燃机的活塞曲柄机构的上销的润滑构造及润滑方法
EP3346107A4 (en) * 2015-09-04 2018-08-01 Nissan Motor Co., Ltd. Lubrication structure and lubrication method for upper pin in piston crank mechanism of internal combustion engine
US10221734B2 (en) 2015-09-04 2019-03-05 Nissan Motor Co., Ltd. Lubrication structure and lubrication method for upper pin in piston crank mechanism of internal combustion engine
JP2017198073A (ja) * 2016-04-25 2017-11-02 日産自動車株式会社 複リンク式ピストン−クランク機構の潤滑構造
JPWO2022058766A1 (enExample) * 2020-09-15 2022-03-24
WO2022058766A1 (ja) * 2020-09-15 2022-03-24 日産自動車株式会社 内燃機関ロアリンク
JP7338796B2 (ja) 2020-09-15 2023-09-05 日産自動車株式会社 内燃機関のロアリンク

Also Published As

Publication number Publication date
MX346228B (es) 2017-03-13
US9856907B2 (en) 2018-01-02
BR112016003572B1 (pt) 2021-09-14
MX2016002207A (es) 2016-06-06
JP5971422B2 (ja) 2016-08-17
EP3037642B1 (en) 2018-01-17
JPWO2015025683A1 (ja) 2017-03-02
BR112016003572A2 (enExample) 2017-08-01
US20160201717A1 (en) 2016-07-14
EP3037642A1 (en) 2016-06-29
RU2618149C1 (ru) 2017-05-02
CN105579684A (zh) 2016-05-11
CN105579684B (zh) 2017-06-13
EP3037642A4 (en) 2016-08-24

Similar Documents

Publication Publication Date Title
JP5971422B2 (ja) 内燃機関の複リンク式ピストンクランク機構
JP5298911B2 (ja) 内燃機関の複リンク式ピストンクランク機構
WO2016042605A1 (ja) 内燃機関
CN106662141B (zh) 轴承构造
JP6132057B2 (ja) 内燃機関の複リンク式ピストン−クランク機構の潤滑構造
WO2017037935A1 (ja) 内燃機関のピストンクランク機構におけるアッパピンの潤滑構造および潤滑方法
JP5810675B2 (ja) 内燃機関の複リンク式ピストン−クランク機構
US8826882B2 (en) Lubricating structure of multi-link piston-crank mechanism for internal combustion engine
WO2015025684A1 (ja) 内燃機関
JP5205991B2 (ja) リンク機構の軸受構造
WO2015029671A1 (ja) 内燃機関の複リンク式ピストンクランク機構
JP5321724B2 (ja) リンク機構の軸受構造
US10087833B2 (en) Double-link piston crank mechanism for internal combustion engine
JP7107003B2 (ja) 内燃機関の複リンク式ピストンクランク機構
US10190491B2 (en) Internal combustion engine
JP5321148B2 (ja) 複リンク式可変圧縮比内燃機関

Legal Events

Date Code Title Description
WWE Wipo information: entry into national phase

Ref document number: 201480051873.3

Country of ref document: CN

121 Ep: the epo has been informed by wipo that ep was designated in this application

Ref document number: 14837631

Country of ref document: EP

Kind code of ref document: A1

ENP Entry into the national phase

Ref document number: 2015532786

Country of ref document: JP

Kind code of ref document: A

WWE Wipo information: entry into national phase

Ref document number: 14913054

Country of ref document: US

Ref document number: MX/A/2016/002207

Country of ref document: MX

NENP Non-entry into the national phase

Ref country code: DE

REG Reference to national code

Ref country code: BR

Ref legal event code: B01A

Ref document number: 112016003572

Country of ref document: BR

ENP Entry into the national phase

Ref document number: 2016109600

Country of ref document: RU

Kind code of ref document: A

WWE Wipo information: entry into national phase

Ref document number: 2014837631

Country of ref document: EP

ENP Entry into the national phase

Ref document number: 112016003572

Country of ref document: BR

Kind code of ref document: A2

Effective date: 20160219