WO2014171100A1 - 車両用画像処理装置 - Google Patents

車両用画像処理装置 Download PDF

Info

Publication number
WO2014171100A1
WO2014171100A1 PCT/JP2014/001973 JP2014001973W WO2014171100A1 WO 2014171100 A1 WO2014171100 A1 WO 2014171100A1 JP 2014001973 W JP2014001973 W JP 2014001973W WO 2014171100 A1 WO2014171100 A1 WO 2014171100A1
Authority
WO
WIPO (PCT)
Prior art keywords
image
vehicle
unit
photographing
images
Prior art date
Legal status (The legal status is an assumption and is not a legal conclusion. Google has not performed a legal analysis and makes no representation as to the accuracy of the status listed.)
Ceased
Application number
PCT/JP2014/001973
Other languages
English (en)
French (fr)
Japanese (ja)
Inventor
丙辰 王
博彦 柳川
真和 竹市
Current Assignee (The listed assignees may be inaccurate. Google has not performed a legal analysis and makes no representation or warranty as to the accuracy of the list.)
Denso Corp
Original Assignee
Denso Corp
Priority date (The priority date is an assumption and is not a legal conclusion. Google has not performed a legal analysis and makes no representation as to the accuracy of the date listed.)
Filing date
Publication date
Application filed by Denso Corp filed Critical Denso Corp
Priority to CN201480021984.XA priority Critical patent/CN105144707B/zh
Priority to EP14785250.3A priority patent/EP2988496B1/en
Publication of WO2014171100A1 publication Critical patent/WO2014171100A1/ja
Anticipated expiration legal-status Critical
Ceased legal-status Critical Current

Links

Images

Classifications

    • BPERFORMING OPERATIONS; TRANSPORTING
    • B60VEHICLES IN GENERAL
    • B60RVEHICLES, VEHICLE FITTINGS, OR VEHICLE PARTS, NOT OTHERWISE PROVIDED FOR
    • B60R1/00Optical viewing arrangements; Real-time viewing arrangements for drivers or passengers using optical image capturing systems, e.g. cameras or video systems specially adapted for use in or on vehicles
    • B60R1/20Real-time viewing arrangements for drivers or passengers using optical image capturing systems, e.g. cameras or video systems specially adapted for use in or on vehicles
    • B60R1/22Real-time viewing arrangements for drivers or passengers using optical image capturing systems, e.g. cameras or video systems specially adapted for use in or on vehicles for viewing an area outside the vehicle, e.g. the exterior of the vehicle
    • B60R1/23Real-time viewing arrangements for drivers or passengers using optical image capturing systems, e.g. cameras or video systems specially adapted for use in or on vehicles for viewing an area outside the vehicle, e.g. the exterior of the vehicle with a predetermined field of view
    • B60R1/27Real-time viewing arrangements for drivers or passengers using optical image capturing systems, e.g. cameras or video systems specially adapted for use in or on vehicles for viewing an area outside the vehicle, e.g. the exterior of the vehicle with a predetermined field of view providing all-round vision, e.g. using omnidirectional cameras
    • GPHYSICS
    • G06COMPUTING OR CALCULATING; COUNTING
    • G06TIMAGE DATA PROCESSING OR GENERATION, IN GENERAL
    • G06T3/00Geometric image transformations in the plane of the image
    • G06T3/40Scaling of whole images or parts thereof, e.g. expanding or contracting
    • G06T3/4038Image mosaicing, e.g. composing plane images from plane sub-images
    • GPHYSICS
    • G06COMPUTING OR CALCULATING; COUNTING
    • G06VIMAGE OR VIDEO RECOGNITION OR UNDERSTANDING
    • G06V20/00Scenes; Scene-specific elements
    • G06V20/50Context or environment of the image
    • G06V20/56Context or environment of the image exterior to a vehicle by using sensors mounted on the vehicle
    • BPERFORMING OPERATIONS; TRANSPORTING
    • B60VEHICLES IN GENERAL
    • B60RVEHICLES, VEHICLE FITTINGS, OR VEHICLE PARTS, NOT OTHERWISE PROVIDED FOR
    • B60R2300/00Details of viewing arrangements using cameras and displays, specially adapted for use in a vehicle
    • B60R2300/60Details of viewing arrangements using cameras and displays, specially adapted for use in a vehicle characterised by monitoring and displaying vehicle exterior scenes from a transformed perspective
    • B60R2300/607Details of viewing arrangements using cameras and displays, specially adapted for use in a vehicle characterised by monitoring and displaying vehicle exterior scenes from a transformed perspective from a bird's eye viewpoint

Definitions

  • the present disclosure relates to an image processing apparatus for a vehicle that displays an image taken around the vehicle on a display device.
  • a technique in which a situation around a vehicle is photographed by an in-vehicle camera, a plurality of images photographed by the in-vehicle camera are combined, and the combined image is displayed on a display device.
  • image processing for a vehicle in which a front image captured by a front camera of a vehicle and a rear image captured by a rear camera are combined to create a bird's-eye image as a composite image and the bird's-eye image is displayed on a display device.
  • An apparatus is known (for example, Patent Document 1).
  • This indication is made in view of the above-mentioned subject, and aims at providing the image processing device for vehicles which can connect a plurality of pictures photoed by the photography part suitably, and can create an image. To do.
  • the vehicle image processing apparatus is applied to a vehicle and mounted on the vehicle, and includes a photographing unit, a display unit, an image creation unit, a deviation calculation unit, a correction unit, and a display control unit.
  • the photographing unit photographs a predetermined range around the vehicle.
  • the display unit displays a display image created based on a plurality of captured images captured by the capturing unit.
  • the image creation unit creates a display image to be displayed on the display unit by connecting a plurality of captured images captured by the imaging unit.
  • the shift calculation unit calculates the shift between the images of the joined portions of the plurality of captured images in the display image when creating the display image.
  • the correction unit corrects the display image based on the deviation.
  • the display control unit displays the corrected display image on the display unit.
  • FIG. 1 is a configuration diagram of an image display system according to an embodiment of the present disclosure.
  • FIG. 2 is a diagram showing a camera and its shooting range.
  • FIG. 3 is a diagram showing a perspective transformation method.
  • 4 (a) and 4 (b) are diagrams showing a vehicle periphery image
  • FIG. 5 is a diagram illustrating an overlapping area of the front past image and the back past image
  • FIG. 6 is a diagram showing a deviation calculation method.
  • FIG. 7 is a diagram showing intermediate region images before and after correction
  • FIG. 8 is a diagram showing a vehicle periphery image after correction
  • FIG. 1 is a configuration diagram of an image display system according to an embodiment of the present disclosure.
  • FIG. 2 is a diagram showing a camera and its shooting range.
  • FIG. 3 is a diagram showing a perspective transformation method.
  • 4 (a) and 4 (b) are diagrams showing a vehicle periphery image
  • FIG. 5 is a diagram illustrating an overlapping area of
  • FIG. 9 is a flowchart showing image creation processing.
  • FIG. 10 is a diagram showing a camera and its photographing range in the first modified example
  • FIG. 11 is a diagram showing a vehicle periphery image in the first modified example.
  • FIG. 12 is a diagram showing a camera and its photographing range in the second modified example
  • FIG. 13 is a diagram showing a vehicle periphery image in the second modification example.
  • FIG. 14 is a flowchart showing a deviation calculation process based on the periodicity of feature points.
  • the present image display system includes a front camera 11 and a rear camera 12 as photographing units, an image processing unit 13 to which photographing data of the cameras 11 and 12 are input, and an image processing unit 13. And an in-vehicle monitor 14 as a display unit for displaying the created display image.
  • the front camera 11 and the rear camera 12 are attached to the front side and the rear side of the vehicle, respectively.
  • a predetermined range in front of the vehicle is photographed by the front camera 11, and a predetermined range in the rear of the vehicle is photographed by the rear camera 12.
  • Each of these cameras 11 and 12 is a wide-angle camera capable of photographing in a wide-angle range.
  • the cameras 11 and 12 can photograph at a viewing angle of 180 degrees in the front and rear of the vehicle.
  • Each of the cameras 11 and 12 is a digital imaging system camera that performs imaging using a CCD image sensor or a CMOS image sensor.
  • the front camera 11 is attached to the front side portion of the roof portion
  • the rear camera 12 is attached to the rear side portion of the roof portion.
  • the front camera 11 captures the front range R1
  • the rear camera 12 captures the rear range R2.
  • the front range R1 and the rear range R2 are arranged in front of and behind the vehicle C. For this reason, when the vehicle C moves forward, the range shot as the front range R1 by the front camera 11 is shot as the rear range R2 by the rear camera 12 as the vehicle C moves forward. Further, when the vehicle C moves backward, the range shot as the rear range R2 by the rear camera 12 is shot as the front range R1 by the front camera 11 as the vehicle C moves backward.
  • both the front camera 11 and the rear camera 12 are arranged on the same line (on the center line X1) extending in the front-rear direction of the vehicle C, and photograph the front and rear of the vehicle with the center line X1 as the photographing center. .
  • the front camera 11 cannot shoot the rear side of the vehicle, and the rear camera 12 cannot shoot the front side of the vehicle. Therefore, the left and right side portions of the vehicle C are in a range R3 (intermediate region) that is out of the field of view of both cameras 11 and 12.
  • each camera 11, 12 shoots in front of the vehicle and behind the vehicle in a downward direction from the horizontal direction, so that the ground surface can be photographed. Therefore, the images taken by the cameras 11 and 12 include marking images such as white lines on the ground plane (on the road surface).
  • the in-vehicle monitor 14 is provided in a position that can be visually recognized by the user while driving, for example, in the instrument panel.
  • the shape and size of the in-vehicle monitor 14 may be arbitrary, in the present embodiment, since the vehicle peripheral image is displayed on the in-vehicle monitor 14 in a range including both the front and rear regions around the host vehicle, A vertically long display area is set on the display screen (see FIGS. 4A and 4B).
  • the vehicle monitor 14 can display information other than the vehicle periphery image. When the vehicle periphery image is not displayed on the vehicle monitor 14, the vehicle front image (for example, darkness in front of the vehicle) is displayed on the display screen. Visual information) and various information other than the captured image may be displayed.
  • the image processing unit 13 is an image processing device that creates a display image by combining the shooting data of the cameras 11 and 12 and displays the display image on the in-vehicle monitor 14.
  • the display image created based on the shooting data of each camera 11 and 12 and displayed on the in-vehicle monitor 14 is also referred to as a composite image.
  • the image processing unit 13 includes a first conversion circuit 21 that inputs the shooting data of the front camera 11 and a second conversion circuit 22 that inputs the shooting data of the rear camera 12. Performs perspective transformation on the respective shooting data of the front camera 11 and the rear camera 12 to create a bird's-eye view image.
  • the bird's-eye view image is a bird's-eye view image in a state in which the shooting range of each camera 11, 12 is looked down vertically from the sky position.
  • a front bird's-eye image and a rear bird's-eye image are created by the conversion circuits 21 and 22, respectively.
  • Each of the cameras 11 and 12 captures the front of the vehicle and the rear of the vehicle at every predetermined time. According to each of the conversion circuits 21 and 22, the bird's-eye image at the front of the vehicle and the bird's-eye image at the rear of the vehicle at each predetermined time. Can be obtained.
  • the image data of the bird's-eye view image created by the conversion circuits 21 and 22 is input to the CPU 23.
  • the CPU 23 creates a vehicle peripheral image based on the front bird's-eye image and the rear bird's-eye image. This vehicle peripheral image is created as a bird's-eye view image, similar to the image after conversion by the conversion circuits 21 and 22.
  • the range R3 outside the camera field of view is included in the vicinity (side of the vehicle) of the host vehicle, and therefore, the range R3 outside the camera field of view is taken by the front camera 11 (front bird's-eye view image). ) And any past image of the image captured by the rear camera 12 (rear bird's-eye view image).
  • the image processing unit 13 has an image memory 24 for storing past images as a configuration for creating a vehicle peripheral image using past images.
  • the vehicle C includes a vehicle speed sensor 16 that detects the vehicle speed, and a yaw rate sensor 17 that detects a yaw rate (a change speed of the rotation angle in the turning direction).
  • the detection signals of the vehicle speed sensor 16 and the yaw rate sensor 17 are sequentially input to the CPU 23.
  • the CPU 23 calculates the vehicle speed and yaw rate that are the running state of the vehicle based on the detection signals of the sensors 16 and 17. In this case, what is necessary is that the traveling state of the vehicle at the time of photographing with the cameras 11 and 12 can be grasped, and the moving distance and rotation angle of the vehicle C or the position and orientation of the vehicle C may be calculated. Further, the CPU 23 stores the past image of the front bird's-eye image and the past image of the rear bird's-eye image in association with the traveling information (vehicle speed and yaw rate) of the vehicle C at the time of image shooting in the image memory 24 at predetermined time intervals. .
  • a photographed image (forward past image) photographed in the past by the front camera 11 is taken from the image memory 24 as an image in the range R3 outside the camera field of view. Read out. Then, a vehicle peripheral image is created from the current captured images (front current image and rear current image) by the cameras 11 and 12 and the past past image. If the vehicle is moving backward, a captured image (rear past image) captured in the past by the rear camera 12 is read from the image memory 24 as an image in the range R3 outside the camera field of view. Then, a vehicle peripheral image is created from the current captured image (front current image and rear current image) by the cameras 11 and 12 and the rear past image.
  • the CPU 23 arranges and connects the front current image, the rear current image, and the front past image (or the back past image) side by side in the vehicle front-rear direction on the same plane.
  • the past image is translated and rotated (Euclidean). Conversion), and each image is synthesized as one image.
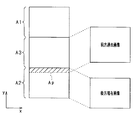
  • FIGS. 4 (a) and 4 (b) are diagrams showing a vehicle periphery image displayed on the display screen of the in-vehicle monitor 14.
  • FIG. In the same display screen, a front display area A1, a rear display area A2, and an intermediate display area A3 are defined. A front current image captured by the front camera 11 is displayed in the front display area A1, and a rear display is performed. In the area A2, the rear current image captured by the rear camera 12 is displayed, and in the intermediate display area A3, either the front past image or the rear past image is displayed.
  • FIG. 4A and FIG. 4B it is assumed that the vehicle is moving forward, and a forward past image is displayed in the intermediate display area A3.
  • the vehicle traveling direction is the y direction
  • the direction orthogonal thereto is the x direction (the same applies to FIG. 5 described later).
  • the length dimensions in the y direction of the display areas A1 to A3 may all be the same or different. Only the intermediate display region A3 may have a configuration in which the length dimension in the y direction is shorter than the other regions.
  • the host vehicle image G1 is displayed at the center position of the display screen.
  • the host vehicle image G1 is displayed at a position overlapping the forward past image (or the backward past image).
  • the user can easily grasp the surrounding situation (relative positional relationship) with reference to the host vehicle.
  • markings such as white lines drawn on the road surface are shown as information of the captured image.
  • a straight line image G2 extending in the vehicle traveling direction is displayed on the right side of the vehicle, and a lane line image G3 attached to each parking section is displayed on the left side of the vehicle. It is displayed.
  • the straight line image G2 is connected in a straight line in the vehicle traveling direction as shown in FIG. 4A. It will be.
  • the lane line image G3 the interval between adjacent lane line images G3, that is, the width W1 of the parking space is uniform, and the lane line image G3 has a width in the arrangement direction of the plurality of parking spaces. In this case, the width W2 becomes uniform.
  • Such a shift in the image joining portion is likely to occur at a portion where the images captured by different cameras are joined together. That is, when the vehicle C moves forward, a shift is likely to occur at the connecting portion between the rear current image displayed in the rear display area A2 and the front past image displayed in the intermediate display area A3. A shift is likely to occur at a joint portion between the front current image displayed in the display area A1 and the rear past image displayed in the intermediate display area A3.
  • FIG. 4B shows a state in which there is a shift in the joined portion between the current rear image displayed in the rear display area A2 and the previous past image displayed in the intermediate display area A3. That is, in FIG. 4B, a deviation in the x direction occurs with respect to the straight line image G2. Further, the lane line image G3 is shifted in the y direction, and as a result, only the lane line image G3 in the image joining portion is crushed in the y direction compared to the other lane line images G3 (W2 is small). It has become).
  • a vehicle peripheral image is appropriately created by calculating a shift in the joining portion of each image and correcting the image based on the shift.
  • an overlapping region in which the rear current image and the front past image are overlapped and overlapped is set at the boundary portion of A3.
  • the length dimension in the y direction of the forward past image is larger than the length dimension in the y direction of the intermediate display area A3, and the forward past image is displayed in the intermediate display area A3.
  • an overlapping area Ap is defined at the boundary with the intermediate display area A3, and the front past image and the rear current image are overlapped in the overlapping area Ap.
  • the CPU 23 extracts feature points for two images superimposed on each other in the overlapping area Ap, and compares the feature points of the same form to calculate the shift between the images. For example, a marking image on the road surface is extracted as a feature point, and a feature amount such as a luminance distribution around the feature point is compared to calculate a shift between the images.
  • FIG. 6 shows a backward current image displayed in the backward display area A2 and a forward past image displayed in the intermediate display area A3.
  • A2 image and “A3 image”.
  • the shifts in the x direction and the y direction are calculated by comparing the images in the overlapping portion in the overlapping region Ap. In this case, if the straight line image G2 as the feature point is shifted in the x direction in a state where the A2 image and the A3 image are superimposed, the shift amount is calculated as a shift in the x direction.
  • the lengths b1 and b2 in the y direction of the partition line image G3 as feature points are calculated with reference to the boundary line BL between the rear display area A2 and the intermediate display area A3. , B2 to calculate the displacement in the y direction.
  • an overlapping area Ap is set at the boundary between the front display area A1 and the intermediate display area A3, and in the overlapping area Ap, the overlapping area between the front current image and the rear past image A shift between images is calculated.
  • the CPU 23 calculates a correction parameter for a past image (front past image or rear past image) as a correction target based on the shift between the images in the overlapping area Ap, and uses the correction parameter to calculate the past parameter. Perform correction by perspective transformation.
  • perspective transformation is performed so that the past image is expanded and contracted in the x direction.
  • perspective transformation is performed so that the past image is expanded and contracted in the y direction.
  • the overlapping area Ap is set only at one end of the intermediate display area A3 in the y direction, and the past image in the intermediate display area A3 is based on the shift on the overlapping area Ap side.
  • the whole of is to be corrected.
  • the boundary line BL is expanded or contracted by c1 (expanded in FIG. 7).
  • a correction in the y direction it is expanded or contracted by c2 on the boundary line BL (contracted in FIG. 7).
  • the straight line image G2 in the corrected A3 image is converted so as to form an acute angle with the y direction, and the straight line image G2 in the A1 image and the straight line image G2 in the A2 image are converted. Tied. That is, the shift between the straight line image G2 in the A3 image and the straight line image G2 in the A2 image is eliminated while maintaining the connection between the straight line image G2 in the A1 image and the straight line image G2 in the A2 image. Further, compared to before correction (FIG. 4B), on the boundary line BL between the rear display area A2 and the intermediate display area A3, the lane marking image G3 in the A3 image is moved forward by c2 in the vehicle direction. .
  • the position of the lane line image G3 in the corrected A3 image and the position of the lane line image G3 in the rear display area A2 are equal with respect to the boundary line BL between the rear display area A2 and the intermediate display area A3. Therefore, the distortion of the partition line image G3 at the boundary line BL is eliminated.
  • the displacement of the white line or the like in the vehicle peripheral image displayed on the in-vehicle monitor 14 can be an obstacle when the host vehicle is traveling at a relatively low speed. Specifically, the vehicle is traveling in a parking lot. It is assumed that When traveling in a parking lot, it may be considered that the user often pays attention to markings on the road surface in order to park the vehicle in a desired parking section. Therefore, in the present embodiment, when the vehicle is traveling at a predetermined low speed, a vehicle peripheral image that is a bird's-eye view image is displayed on the in-vehicle monitor 14.
  • FIG. 9 shows a flowchart of the image creation process in the present embodiment. This image creation process is performed at predetermined intervals by the CPU 23 of the image processing unit 13.
  • step S10 the vehicle speed and yaw rate of the host vehicle are acquired.
  • step S11 it is determined whether or not the host vehicle is in a predetermined low-speed traveling state. Specifically, it is determined whether or not the current vehicle speed is a predetermined value (for example, 30 km / h) or less.
  • step S11 it may be determined whether or not the vehicle is currently traveling in the parking lot from information on the navigation device or the like. If step S11 is NO, the process ends. When step S11 is denied, information images other than vehicle periphery images, such as navigation information and a driving
  • the image processing unit 13 may acquire the position of the vehicle from a GPS sensor mounted on the vehicle and determine that the vehicle is about to be parked.
  • step S11 the process proceeds to step S12, and the bird's-eye view images (front current image and rear current image) after being converted by the first conversion circuit 21 and the second conversion circuit 22 are acquired.
  • the front current image and the rear current image are temporarily stored in the working memory, and are also stored in the image memory 24 as history images.
  • the storage in the image memory 24 is performed in association with the vehicle running state such as the vehicle speed and yaw rate at that time.
  • the history image stored in the image memory 24 is also referred to as a past image.
  • step S13 it is determined whether or not the host vehicle is in a forward traveling state. This determination is performed based on, for example, the shift position of the vehicle transmission. If the host vehicle is in the forward state, the process proceeds to step S14, and if the host vehicle is in the reverse state, the process proceeds to step S16.
  • step S14 the forward past image is read from the image memory 24 as an image to be displayed in the intermediate display area A3. In this case, a plurality of forward past images are stored in the image memory 24 in chronological order, and a target image to be used for the current image generation may be determined based on the vehicle speed.
  • step S15 an overlapping area Ap is set at the boundary between the rear display area A2 and the intermediate display area A3.
  • step S16 the backward past image is read from the image memory 24 as an image to be displayed in the intermediate display area A3.
  • a plurality of rear past images are stored in time series in the image memory 24, and an image to be used this time may be determined based on the vehicle speed.
  • step S17 an overlapping area Ap is set at the boundary between the front display area A1 and the intermediate display area A3.
  • step S18 the forward current image and backward current image acquired in step S11 and the forward past image or backward past image acquired in either step S14 or S16 are arranged on the same plane and synthesized as one image. By doing so, a vehicle periphery image is created. At this time, synthesis (joining) of the images is performed based on the vehicle travel information at the time of capturing the past image and the current vehicle travel state.
  • step S19 a shift between images in the overlapping area Ap is calculated.
  • step S20 the vehicle periphery image is corrected based on the shift between the images. At this time, image correction is performed on the past image displayed in the intermediate display area A3.
  • step S21 the corrected vehicle periphery image is output to the in-vehicle monitor 14, and the process is terminated.
  • the processes from S13 to S18 function as an image creation unit
  • the process in S19 functions as a deviation calculation unit
  • the process in S20 functions as a correction unit.
  • the process of S21 functions as a display control part.
  • each of the above parts is classified for convenience by focusing on the function of the vehicular image processing apparatus, and it is not necessary that the interior of the vehicular image processing apparatus is physically divided into seven parts.
  • Each of the above sections can be realized by hardware using a logic circuit or CPU, or can be realized by software as a computer program or a part of a program.
  • a plurality of photographed images photographed by the cameras 11 and 12 are connected to create a display image, and the created image is displayed on the in-vehicle monitor 14. Thereby, the image showing the range wider than the range image
  • FIG. for example, if the installation positions of the cameras 11 and 12 are deviated from the initial positions, a deviation occurs between the two images when the images are joined. Therefore, the shift between the images in the joined portion is calculated. Specifically, the shift between the images is calculated in at least one of the joined portion of the front current image and the intermediate region image and the joined portion of the rear current image and the intermediate region image. Then, the display image is corrected based on the calculated deviation. Thereby, it becomes possible to display a display image on the vehicle-mounted monitor 14 suitably.
  • the images are overlapped in the overlapping area Ap, and the shift between the images in the overlapping area Ap is calculated.
  • an overlapping area Ap is set at the boundary between the display areas A2 and A3.
  • an overlapping area is set at the boundary between the display areas A1 and A3. Ap is set. Accordingly, in the configuration in which the three images are combined as the vehicle peripheral image, the shift can be calculated and corrected at a portion where the shift between the images is likely to occur. In this case, it is possible to suppress an excessive increase in calculation load due to deviation calculation and correction.
  • Sense of discomfort given to the user can be reduced by adopting a configuration in which the entire image is targeted for correction.
  • the correction is performed for the end portion that is not the detection target of the shift, the correction causes a shift between the images. Therefore, by performing correction so that the end portion that is not the detection target of the shift is not changed while the entire image is set as the correction target, it is possible to eliminate the disadvantage that shift is caused by the correction.
  • the overlapping area Ap is set only at one end of the intermediate display area A3 in the y direction, and the past image in the intermediate display area A3 is corrected based on the shift on the overlapping area Ap side.
  • this may be changed as follows.
  • Overlap areas Ap are set at both ends in the y direction of the intermediate display area A3, and the past image of the intermediate display area A3 is corrected based on the shift on the overlap area Ap side. That is, for example, when the vehicle is moving forward, a deviation between the front current image and the front past image is calculated, a deviation between the front past image and the rear current image is calculated, and the front past image is corrected based on both of the deviations.
  • the vehicle peripheral image is created by using a plurality of photographing units (the front camera 11 and the rear camera 12) and combining the current image and the past image. You may change like a 1st modification and a 2nd modification.
  • a vehicle peripheral image is created by combining a plurality of current images photographed by a plurality of photographing units.
  • the past image is not used.
  • the vehicle is provided with a first camera 31 for front-side shooting, a second camera 32 for right-side shooting, and a third camera 33 for left-side shooting.
  • the captured images of these cameras 31 to 33 are input to the image processing unit 13.
  • the image conversion processing in the image processing unit 13 is the same as described above.
  • the photographing ranges of the cameras 31 to 33 are a front range R11, a right side range R12, and a left side range R13, respectively.
  • the front range R11 and the right side range R12 partially overlap, and the front range R11 and the left side range R13. And are partially overlapping.
  • the viewing angle of each camera is smaller than 180 degrees, but the angle is arbitrary, and the viewing angle may be 180 degrees as in FIG.
  • FIG. 11 is a diagram showing a vehicle periphery image displayed on the display screen of the in-vehicle monitor 14.
  • a vehicle peripheral image of a portion excluding the rear of the host vehicle image G1 is displayed.
  • a front display area A11, a right side display area A12, and a left side display area A13 are defined around the host vehicle image G1, and the first to third cameras 31 to 33 are defined in each display area.
  • the currently captured image is displayed.
  • the left and right side display areas A12 and A13 are shaded.
  • the CPU 23 calculates a shift between the images in the overlapping region of the images and corrects any image based on the shift.
  • the correction by the perspective transformation may be performed with the display image of the right side display area A12 and the display image of the left side display area A13 as correction targets.
  • a configuration in which a plurality of current images captured by a plurality of cameras are combined to create a vehicle peripheral image includes a front camera and a right-side camera (or a left-side camera).
  • a configuration in which two captured images are combined, and a configuration in which the captured images of the front and rear and left and right four cameras are combined are conceivable.
  • a vehicle peripheral image is created by synthesizing a current image and a past image taken by one photographing unit.
  • a front camera 41 for front photographing is provided in the vehicle.
  • the captured image of the front camera 41 is input to the image processing unit 13.
  • the image conversion processing in the image processing unit 13 is the same as described above.
  • the imaging range R21 of the front camera 41 may be the same as, for example, the front range R1 shown in FIG.
  • the captured image in front of the vehicle is sequentially stored in the image memory as a past image in association with the vehicle running state (similar to the configuration in FIG. 1).
  • FIG. 13 is a diagram showing a vehicle periphery image displayed on the display screen of the in-vehicle monitor 14.
  • a front display area A21 is defined at a position in front of the host vehicle image G1
  • a side display area A22 is defined at a position beside the host vehicle image G1, and each of these displays is displayed.
  • the current image and the past image are displayed in the area.
  • the CPU 23 joins the current image and the past image in a partially overlapping state at the boundary portion between the display regions A21 and A22, and calculates the shift between the images in the overlapping region (hatched portion in the figure).
  • one of the images is corrected based on the deviation.
  • correction for example, correction by perspective transformation may be performed with a past image as a correction target.
  • the vehicle peripheral image is created using one current image and one past image, but in addition to this, one current image and two (or more) past images. It is good also as a structure which produces a vehicle periphery image using. In this case, it is preferable to use a past image to create an image behind the vehicle. Regarding the correction of the image, it is preferable to calculate a deviation for a joined portion of past images and perform a correction for eliminating the deviation.
  • the shift is calculated by comparing the feature points of the image in the overlapping area Ap, and the correction is performed based on the calculated shift amount.
  • FIG. 14 shows a flow chart of a shift calculation process based on the periodicity of feature points. This process is performed by the image processing unit 13 in step S19 in the image creation process shown in FIG.
  • step S30 whether or not the display image that displays the periphery of the vehicle includes a plurality of images (repeated images) that have the same shape and size and are arranged side by side in the vehicle traveling direction. Determine whether. If the display image includes a repeated image (S30: YES), at step S31, at least one of the shape and size of the subject to be photographed at the joining portion between the images is other than the joining portion. It is determined whether or not the shape and size of the shooting target are different. If it is determined that there is a difference in the shape and size of the shooting target in the joint portion (S31: YES), in step S32, a deviation is calculated based on the difference in the shape and size of the shooting target. To finish the process.
  • the display image includes a repeated image (S30: YES)
  • step S31 at step S31, at least one of the shape and size of the subject to be photographed at the joining portion between the images is other than the joining portion. It is determined whether or not the shape and size of the shooting target are
  • photographing objects having the same shape and size may repeatedly appear at predetermined intervals along the vehicle traveling direction.
  • the display image (bird's-eye view image) including such an imaging target it is possible to suppress the inconvenience that the shape and size are different between the front side in the vehicle traveling direction and the rear side.
  • -It is good also as a structure provided with the means to determine which is made into correction object about several images. For example, when vehicle vibration exceeding a predetermined level occurs during acquisition of any one of a plurality of captured images used for creating a display image, there is a high possibility that an error has occurred for that image. The image is targeted for correction.
  • the past image is corrected based on the shift in the overlapping portion between the images, but the present image may be corrected. Moreover, it is good also as a structure which correct
  • the image may be corrected when the yaw rate detected by the yaw rate sensor 17 is greater than a predetermined value.
  • the larger the yaw rate the more likely the difference between the actual value and the calculated value of the vehicle position and the more likely the displacement between the images, so that the image can be corrected appropriately.
  • the position and orientation of the vehicle may be obtained from a GPS sensor or a digital compass, respectively.

Landscapes

  • Engineering & Computer Science (AREA)
  • Multimedia (AREA)
  • Physics & Mathematics (AREA)
  • General Physics & Mathematics (AREA)
  • Theoretical Computer Science (AREA)
  • Mechanical Engineering (AREA)
  • Closed-Circuit Television Systems (AREA)
  • Image Processing (AREA)
  • Image Analysis (AREA)
PCT/JP2014/001973 2013-04-15 2014-04-07 車両用画像処理装置 Ceased WO2014171100A1 (ja)

Priority Applications (2)

Application Number Priority Date Filing Date Title
CN201480021984.XA CN105144707B (zh) 2013-04-15 2014-04-07 车辆用图像处理装置
EP14785250.3A EP2988496B1 (en) 2013-04-15 2014-04-07 Vehicular image processing device

Applications Claiming Priority (2)

Application Number Priority Date Filing Date Title
JP2013084843A JP6024581B2 (ja) 2013-04-15 2013-04-15 車両用画像処理装置
JP2013-084843 2013-04-15

Publications (1)

Publication Number Publication Date
WO2014171100A1 true WO2014171100A1 (ja) 2014-10-23

Family

ID=51731063

Family Applications (1)

Application Number Title Priority Date Filing Date
PCT/JP2014/001973 Ceased WO2014171100A1 (ja) 2013-04-15 2014-04-07 車両用画像処理装置

Country Status (4)

Country Link
EP (1) EP2988496B1 (enExample)
JP (1) JP6024581B2 (enExample)
CN (1) CN105144707B (enExample)
WO (1) WO2014171100A1 (enExample)

Cited By (2)

* Cited by examiner, † Cited by third party
Publication number Priority date Publication date Assignee Title
WO2018070338A1 (ja) * 2016-10-14 2018-04-19 株式会社デンソー 表示制御装置
CN113170079A (zh) * 2018-07-30 2021-07-23 小马智行 用于校准车载摄像头的系统和方法

Families Citing this family (10)

* Cited by examiner, † Cited by third party
Publication number Priority date Publication date Assignee Title
JP6327160B2 (ja) * 2014-09-02 2018-05-23 株式会社デンソー 車両用画像処理装置
FI3488303T3 (fi) * 2016-08-23 2023-07-06 Siemens Mobility GmbH Kulkuneuvon ohjaamon näytön valvonta
EP3451279B8 (en) * 2017-08-30 2025-05-14 SMR Patents S.à.r.l. Rear view mirror simulation
JP7109715B2 (ja) * 2017-10-25 2022-08-01 アルパイン株式会社 画像処理装置およびその方法
JP6939580B2 (ja) * 2018-01-10 2021-09-22 株式会社デンソー 車両用画像合成装置
JP2019215702A (ja) * 2018-06-13 2019-12-19 株式会社Subaru 画像処理装置
TWI705011B (zh) * 2019-03-12 2020-09-21 緯創資通股份有限公司 車載鏡頭偏移檢測方法與車載鏡頭偏移檢測系統
JP7168895B2 (ja) * 2019-06-04 2022-11-10 日本電信電話株式会社 画像処理方法、画像処理装置、画像処理システムおよびプログラム
CN115100034A (zh) * 2022-06-07 2022-09-23 广州小鹏汽车科技有限公司 图像处理方法、拍摄系统、车辆及存储介质
NL2039746B1 (en) * 2024-02-08 2025-11-25 Mobileye Vision Technologies Ltd Parking and driving visualization

Citations (3)

* Cited by examiner, † Cited by third party
Publication number Priority date Publication date Assignee Title
JP2003189292A (ja) 2001-12-18 2003-07-04 Denso Corp 車両周辺画像処理装置及び記録媒体
JP2007288282A (ja) * 2006-04-12 2007-11-01 Toyota Motor Corp 車両周辺監視装置
JP2010109452A (ja) * 2008-10-28 2010-05-13 Panasonic Corp 車両周囲監視装置及び車両周囲監視方法

Family Cites Families (1)

* Cited by examiner, † Cited by third party
Publication number Priority date Publication date Assignee Title
JP4156214B2 (ja) * 2001-06-13 2008-09-24 株式会社デンソー 車両周辺画像処理装置及び記録媒体

Patent Citations (3)

* Cited by examiner, † Cited by third party
Publication number Priority date Publication date Assignee Title
JP2003189292A (ja) 2001-12-18 2003-07-04 Denso Corp 車両周辺画像処理装置及び記録媒体
JP2007288282A (ja) * 2006-04-12 2007-11-01 Toyota Motor Corp 車両周辺監視装置
JP2010109452A (ja) * 2008-10-28 2010-05-13 Panasonic Corp 車両周囲監視装置及び車両周囲監視方法

Non-Patent Citations (1)

* Cited by examiner, † Cited by third party
Title
See also references of EP2988496A4

Cited By (2)

* Cited by examiner, † Cited by third party
Publication number Priority date Publication date Assignee Title
WO2018070338A1 (ja) * 2016-10-14 2018-04-19 株式会社デンソー 表示制御装置
CN113170079A (zh) * 2018-07-30 2021-07-23 小马智行 用于校准车载摄像头的系统和方法

Also Published As

Publication number Publication date
EP2988496A4 (en) 2016-12-21
CN105144707B (zh) 2018-10-26
EP2988496A1 (en) 2016-02-24
EP2988496B1 (en) 2018-02-28
JP6024581B2 (ja) 2016-11-16
CN105144707A (zh) 2015-12-09
JP2014207605A (ja) 2014-10-30

Similar Documents

Publication Publication Date Title
JP6024581B2 (ja) 車両用画像処理装置
US8139114B2 (en) Surroundings monitoring apparatus and surroundings monitoring method for reducing distortion caused by camera position displacement
CN104335241B (zh) 车辆周围图像显示控制装置、显示方法及图像处理方法
CN105075247B (zh) 车辆的控制装置及存储介质
JP5190712B2 (ja) 障害物検出装置
CN103763517B (zh) 一种车载环视显示方法及系统
JP5729158B2 (ja) 駐車支援装置および駐車支援方法
CN109948398B (zh) 全景泊车的图像处理方法及全景泊车装置
US20100171828A1 (en) Driving Assistance System And Connected Vehicles
JP7000383B2 (ja) 画像処理装置および画像処理方法
KR20190047027A (ko) 차량의 차량 주변 리어뷰 미러 조망을 제공하는 방법
JP6586849B2 (ja) 情報表示装置及び情報表示方法
JP6375633B2 (ja) 車両周辺画像表示装置、車両周辺画像表示方法
JP2007274377A (ja) 周辺監視装置、プログラム
EP3690799A1 (en) Vehicle lane marking and other object detection using side fisheye cameras and three-fold de-warping
WO2016129552A1 (ja) カメラパラメータ調整装置
JP5226621B2 (ja) 車両用画像表示装置
US12080075B2 (en) Method for generating an image of vehicle surroundings, and apparatus for generating an image of vehicle surroundings
JP4679293B2 (ja) 車載パノラマカメラシステム
CN104601942A (zh) 停车区域跟踪装置及其方法
WO2016047037A1 (ja) 車両用画像処理装置
JP4905812B2 (ja) カメラ校正装置
JP4685050B2 (ja) 表示装置
US20160176340A1 (en) Perspective shifting parking camera system
JP5182589B2 (ja) 障害物検出装置

Legal Events

Date Code Title Description
WWE Wipo information: entry into national phase

Ref document number: 201480021984.X

Country of ref document: CN

121 Ep: the epo has been informed by wipo that ep was designated in this application

Ref document number: 14785250

Country of ref document: EP

Kind code of ref document: A1

NENP Non-entry into the national phase

Ref country code: DE

WWE Wipo information: entry into national phase

Ref document number: 2014785250

Country of ref document: EP