WO2014069175A1 - 熱交換器用チューブ - Google Patents

熱交換器用チューブ Download PDF

Info

Publication number
WO2014069175A1
WO2014069175A1 PCT/JP2013/077244 JP2013077244W WO2014069175A1 WO 2014069175 A1 WO2014069175 A1 WO 2014069175A1 JP 2013077244 W JP2013077244 W JP 2013077244W WO 2014069175 A1 WO2014069175 A1 WO 2014069175A1
Authority
WO
WIPO (PCT)
Prior art keywords
heat exchanger
exchanger tube
tube
flow path
wavy
Prior art date
Legal status (The legal status is an assumption and is not a legal conclusion. Google has not performed a legal analysis and makes no representation as to the accuracy of the status listed.)
Ceased
Application number
PCT/JP2013/077244
Other languages
English (en)
French (fr)
Japanese (ja)
Inventor
恭平 滝本
崇 金田
Current Assignee (The listed assignees may be inaccurate. Google has not performed a legal analysis and makes no representation or warranty as to the accuracy of the list.)
Marelli Corp
Original Assignee
Calsonic Kansei Corp
Priority date (The priority date is an assumption and is not a legal conclusion. Google has not performed a legal analysis and makes no representation as to the accuracy of the date listed.)
Filing date
Publication date
Application filed by Calsonic Kansei Corp filed Critical Calsonic Kansei Corp
Priority to US14/438,893 priority Critical patent/US20150300755A1/en
Priority to CN201380057125.1A priority patent/CN104769381A/zh
Priority to DE112013005192.3T priority patent/DE112013005192T5/de
Publication of WO2014069175A1 publication Critical patent/WO2014069175A1/ja
Anticipated expiration legal-status Critical
Ceased legal-status Critical Current

Links

Images

Classifications

    • FMECHANICAL ENGINEERING; LIGHTING; HEATING; WEAPONS; BLASTING
    • F28HEAT EXCHANGE IN GENERAL
    • F28FDETAILS OF HEAT-EXCHANGE AND HEAT-TRANSFER APPARATUS, OF GENERAL APPLICATION
    • F28F1/00Tubular elements; Assemblies of tubular elements
    • F28F1/10Tubular elements and assemblies thereof with means for increasing heat-transfer area, e.g. with fins, with projections, with recesses
    • F28F1/40Tubular elements and assemblies thereof with means for increasing heat-transfer area, e.g. with fins, with projections, with recesses the means being only inside the tubular element
    • FMECHANICAL ENGINEERING; LIGHTING; HEATING; WEAPONS; BLASTING
    • F28HEAT EXCHANGE IN GENERAL
    • F28FDETAILS OF HEAT-EXCHANGE AND HEAT-TRANSFER APPARATUS, OF GENERAL APPLICATION
    • F28F3/00Plate-like or laminated elements; Assemblies of plate-like or laminated elements
    • F28F3/02Elements or assemblies thereof with means for increasing heat-transfer area, e.g. with fins, with recesses, with corrugations
    • F28F3/04Elements or assemblies thereof with means for increasing heat-transfer area, e.g. with fins, with recesses, with corrugations the means being integral with the element
    • F28F3/042Elements or assemblies thereof with means for increasing heat-transfer area, e.g. with fins, with recesses, with corrugations the means being integral with the element in the form of local deformations of the element
    • F28F3/046Elements or assemblies thereof with means for increasing heat-transfer area, e.g. with fins, with recesses, with corrugations the means being integral with the element in the form of local deformations of the element the deformations being linear, e.g. corrugations
    • FMECHANICAL ENGINEERING; LIGHTING; HEATING; WEAPONS; BLASTING
    • F28HEAT EXCHANGE IN GENERAL
    • F28DHEAT-EXCHANGE APPARATUS, NOT PROVIDED FOR IN ANOTHER SUBCLASS, IN WHICH THE HEAT-EXCHANGE MEDIA DO NOT COME INTO DIRECT CONTACT
    • F28D1/00Heat-exchange apparatus having stationary conduit assemblies for one heat-exchange medium only, the media being in contact with different sides of the conduit wall, in which the other heat-exchange medium is a large body of fluid, e.g. domestic or motor car radiators
    • F28D1/02Heat-exchange apparatus having stationary conduit assemblies for one heat-exchange medium only, the media being in contact with different sides of the conduit wall, in which the other heat-exchange medium is a large body of fluid, e.g. domestic or motor car radiators with heat-exchange conduits immersed in the body of fluid
    • F28D1/03Heat-exchange apparatus having stationary conduit assemblies for one heat-exchange medium only, the media being in contact with different sides of the conduit wall, in which the other heat-exchange medium is a large body of fluid, e.g. domestic or motor car radiators with heat-exchange conduits immersed in the body of fluid with plate-like or laminated conduits
    • F28D1/0308Heat-exchange apparatus having stationary conduit assemblies for one heat-exchange medium only, the media being in contact with different sides of the conduit wall, in which the other heat-exchange medium is a large body of fluid, e.g. domestic or motor car radiators with heat-exchange conduits immersed in the body of fluid with plate-like or laminated conduits the conduits being formed by paired plates touching each other
    • F28D1/0325Heat-exchange apparatus having stationary conduit assemblies for one heat-exchange medium only, the media being in contact with different sides of the conduit wall, in which the other heat-exchange medium is a large body of fluid, e.g. domestic or motor car radiators with heat-exchange conduits immersed in the body of fluid with plate-like or laminated conduits the conduits being formed by paired plates touching each other the plates having lateral openings therein for circulation of the heat-exchange medium from one conduit to another
    • F28D1/0333Heat-exchange apparatus having stationary conduit assemblies for one heat-exchange medium only, the media being in contact with different sides of the conduit wall, in which the other heat-exchange medium is a large body of fluid, e.g. domestic or motor car radiators with heat-exchange conduits immersed in the body of fluid with plate-like or laminated conduits the conduits being formed by paired plates touching each other the plates having lateral openings therein for circulation of the heat-exchange medium from one conduit to another the plates having integrated connecting members
    • F28D1/0341Heat-exchange apparatus having stationary conduit assemblies for one heat-exchange medium only, the media being in contact with different sides of the conduit wall, in which the other heat-exchange medium is a large body of fluid, e.g. domestic or motor car radiators with heat-exchange conduits immersed in the body of fluid with plate-like or laminated conduits the conduits being formed by paired plates touching each other the plates having lateral openings therein for circulation of the heat-exchange medium from one conduit to another the plates having integrated connecting members with U-flow or serpentine-flow inside the conduits
    • FMECHANICAL ENGINEERING; LIGHTING; HEATING; WEAPONS; BLASTING
    • F28HEAT EXCHANGE IN GENERAL
    • F28DHEAT-EXCHANGE APPARATUS, NOT PROVIDED FOR IN ANOTHER SUBCLASS, IN WHICH THE HEAT-EXCHANGE MEDIA DO NOT COME INTO DIRECT CONTACT
    • F28D1/00Heat-exchange apparatus having stationary conduit assemblies for one heat-exchange medium only, the media being in contact with different sides of the conduit wall, in which the other heat-exchange medium is a large body of fluid, e.g. domestic or motor car radiators
    • F28D1/02Heat-exchange apparatus having stationary conduit assemblies for one heat-exchange medium only, the media being in contact with different sides of the conduit wall, in which the other heat-exchange medium is a large body of fluid, e.g. domestic or motor car radiators with heat-exchange conduits immersed in the body of fluid
    • F28D1/04Heat-exchange apparatus having stationary conduit assemblies for one heat-exchange medium only, the media being in contact with different sides of the conduit wall, in which the other heat-exchange medium is a large body of fluid, e.g. domestic or motor car radiators with heat-exchange conduits immersed in the body of fluid with tubular conduits
    • F28D1/047Heat-exchange apparatus having stationary conduit assemblies for one heat-exchange medium only, the media being in contact with different sides of the conduit wall, in which the other heat-exchange medium is a large body of fluid, e.g. domestic or motor car radiators with heat-exchange conduits immersed in the body of fluid with tubular conduits the conduits being bent, e.g. in a serpentine or zig-zag
    • F28D1/0471Heat-exchange apparatus having stationary conduit assemblies for one heat-exchange medium only, the media being in contact with different sides of the conduit wall, in which the other heat-exchange medium is a large body of fluid, e.g. domestic or motor car radiators with heat-exchange conduits immersed in the body of fluid with tubular conduits the conduits being bent, e.g. in a serpentine or zig-zag the conduits having a non-circular cross-section
    • FMECHANICAL ENGINEERING; LIGHTING; HEATING; WEAPONS; BLASTING
    • F28HEAT EXCHANGE IN GENERAL
    • F28FDETAILS OF HEAT-EXCHANGE AND HEAT-TRANSFER APPARATUS, OF GENERAL APPLICATION
    • F28F1/00Tubular elements; Assemblies of tubular elements
    • F28F1/10Tubular elements and assemblies thereof with means for increasing heat-transfer area, e.g. with fins, with projections, with recesses
    • F28F1/12Tubular elements and assemblies thereof with means for increasing heat-transfer area, e.g. with fins, with projections, with recesses the means being only outside the tubular element
    • F28F1/14Tubular elements and assemblies thereof with means for increasing heat-transfer area, e.g. with fins, with projections, with recesses the means being only outside the tubular element and extending longitudinally
    • F28F1/16Tubular elements and assemblies thereof with means for increasing heat-transfer area, e.g. with fins, with projections, with recesses the means being only outside the tubular element and extending longitudinally the means being integral with the element, e.g. formed by extrusion
    • F28F1/18Tubular elements and assemblies thereof with means for increasing heat-transfer area, e.g. with fins, with projections, with recesses the means being only outside the tubular element and extending longitudinally the means being integral with the element, e.g. formed by extrusion the element being built-up from finned sections
    • FMECHANICAL ENGINEERING; LIGHTING; HEATING; WEAPONS; BLASTING
    • F28HEAT EXCHANGE IN GENERAL
    • F28FDETAILS OF HEAT-EXCHANGE AND HEAT-TRANSFER APPARATUS, OF GENERAL APPLICATION
    • F28F1/00Tubular elements; Assemblies of tubular elements
    • F28F1/10Tubular elements and assemblies thereof with means for increasing heat-transfer area, e.g. with fins, with projections, with recesses
    • F28F1/12Tubular elements and assemblies thereof with means for increasing heat-transfer area, e.g. with fins, with projections, with recesses the means being only outside the tubular element
    • F28F1/14Tubular elements and assemblies thereof with means for increasing heat-transfer area, e.g. with fins, with projections, with recesses the means being only outside the tubular element and extending longitudinally
    • F28F1/22Tubular elements and assemblies thereof with means for increasing heat-transfer area, e.g. with fins, with projections, with recesses the means being only outside the tubular element and extending longitudinally the means having portions engaging further tubular elements

Definitions

  • the present invention relates to a heat exchanger tube.
  • Patent Document 1 and Patent Document 2 As conventional heat exchanger tubes, those described in Patent Document 1 and Patent Document 2 are known. These conventional heat exchanger tubes have tube members formed on both outer sides with beads except for the entrance and exit, with a partition bead provided at the center, and a flow path through which the medium flows in a U-shape. ing. The flow path is provided with a number of protrusions protruding inward to stir the circulating medium and improve the heat dissipation performance. The two tube plates formed in this way are assembled together to form a tube.
  • the present invention has been made paying attention to the above-mentioned problem, and the object of the present invention is to provide a heat exchanger tube that can improve heat dissipation performance while suppressing an increase in flow resistance when a medium flows. It is to provide.
  • the heat exchanger tube according to the invention is A medium inlet, A media outlet; An upstream straight flow path section and a downstream straight flow path section through which the medium flows, connecting the inlet section and the outlet section,
  • a heat exchanger tube with At least one of the upstream linear flow channel portion and the downstream linear flow channel portion is disposed in the flow channel, and is provided with a wave-shaped portion that extends in the longitudinal direction of the tube and continuously guides the medium. It is characterized by that.
  • the wave-shaped portion since the wave-shaped portion is provided, the flow resistance when the medium flows can be suppressed, and the heat dissipation performance can be improved by stirring the medium by the wave-shaped portion.
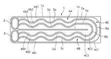
  • the heat exchanger tube 1 of the first embodiment is attached to the internal combustion engine in this embodiment, and the compressed air of a charger (turbocharger or supercharger) that compresses intake air is cooled by the engine. Used in water-cooled charge air coolers that cool with water.
  • the heat exchanger tube 1 is configured by assembling half of the tube plate.
  • the tube 1 is provided with an outer peripheral rib portion 1a that protrudes inward in the thickness direction (height direction) along the outer periphery thereof except for the inlet portion 2 and the outlet portion 3.
  • a partition rib portion (corresponding to the partition portion) 1b is provided.
  • the rib portion 1b extends on the other end side of the tube 1 to the vicinity of a U-turn flow path portion 4C described later.
  • the rib portion 1b divides the tube 1 into two regions in the width direction, that is, an upstream linear flow channel portion 4A and a downstream linear flow channel portion 4B.
  • the downstream end of the upstream linear flow path portion 4A and the upstream end of the downstream linear flow path portion 4B are communicated with each other on the other end side of the tube 1 through a U-turn flow path portion 4C.
  • the inlet portion 2 and the outlet portion 3 are provided side by side in the width direction of the tube 1.
  • a parallel circuit in which a part of engine cooling water or engine cooling water as a medium is introduced through the through hole of the inlet part 2 and the through hole of the outlet part 3, or an independent circuit different from the engine cooling water (for example, A cooling water circuit for the charger air cooler).
  • the inlet portion 2 is connected to the upstream end of the upstream linear flow passage portion 4A, and the outlet portion 3 is connected to the downstream end of the downstream straight flow passage portion 4B.
  • upstream flow paths 4A1, 4A2, and 4A3 are formed between the upper outer peripheral rib portion 1a and the partition rib portion 1b in FIG.
  • the upstream flow paths 4A1, 4A2, and 4A3 protrude between the outer peripheral rib portion 1a and the partition rib portion 1b inward in the thickness direction (front side with respect to FIG. 1), and are wavy protruding portions that are wavy when viewed from above in the thickness direction.
  • 5a and 5b are provided in parallel in a plurality of rows.
  • three downstream flow paths 4B1, 4B2, and 4B3 are formed in the downstream straight flow path section 4B between the lower outer peripheral rib section 1a and the partition rib section 1b in FIG.
  • the downstream flow paths 4B1, 4B2, and 4B3 protrude in the thickness direction between the outer peripheral rib portion 1a and the partition rib portion 1b, and are provided with a plurality of rows of wavy protruding portions 5c and 5d that are undulated when viewed from above in the thickness direction. .
  • the wavy protrusions 5a, 5b, 5c, and 5d correspond to the wavy portions of the present invention.
  • the U-turn channel portion 4C is provided inside the outer peripheral rib portion 1a on the other end side of the tube 1 and protrudes inward in the thickness direction, and has a plurality of arc-shaped protruding portions 6a that form an arc shape when viewed from above in the thickness direction. 6b are provided.
  • the curvature is set so that the arcuate protrusion 6a is larger than the arcuate protrusion 6b.
  • U-turn channel portion 4C between the outer peripheral rib portion 1a and the outer arc-shaped protruding portion 6a, between the outer arc-shaped protruding portion 6a and the inner arc-shaped protruding portion 6b, and between the inner arc-shaped protruding portion 6b and A total of three U-turn passages 4C1, 4C2, and 4C3 are formed between the partition rib portion 1b and the other end of the partition rib portion 1b.
  • the curvatures of these U-turn passages 4C1, 4C2, and 4C3 are set so as to change the inflow direction and the outflow direction of the medium by 180 degrees.
  • both end portions of the outer arcuate protrusion 6a are respectively connected to the downstream end of the wave-like protrusion 5a and the upstream end of the wave-like protrusion 5d.
  • the medium flows through the inlet portion 2, the outer upstream channel 4A1, the outer U-turn channel 4C1, the outer downstream channel 4B1, and the outlet unit 3.
  • both end portions of the inner arc-shaped protruding portion 6b are continuous with the downstream end of the wave-shaped protruding portion 5b and the upstream end of the wave-shaped protruding portion 5c, respectively.
  • the medium passes through the inlet portion 2, the central upstream channel 4A2, the central U-turn channel 4C2, the central downstream channel 4B2, the outlet unit 3, and the inlet unit 2, the inner upstream channel 4A3.
  • another tube plate is formed by molding.
  • This other tube plate has a wave-like protrusion and an arc-like protrusion that become the shape and position of the image mirror-reflected by a mirror arranged in parallel above this toward FIG.
  • the tube plate having the shape shown in FIG. 1 and the other tube plate are assembled.
  • the corrugated protrusions, the arc-shaped protrusions, and the linear protrusions of both the tubes and plates face each other at the same position.
  • both the tube plates are fixed to each other by brazing or the like such that the wavy protrusions, the arc-shaped protrusions, the linear protrusions, the outer peripheral ribs, and the partitioning ribs are fixed together by brazing or the like. can get.
  • the cooling water flowing in from the inlet portion 2 is controlled by the wavy protrusions 5a and 5b in the upstream linear flow passage portion 4A, and the three upstream flows It flows meandering along the paths 4A1, 4A2, and 4A3, and flows into the U-turn flow path section 4C along the straight protrusions 7a and 7b.
  • the flow direction of the cooling water is gradually changed by 180 degrees in the arcuate three U-turn passages 4C1, 4C2, and 4C3 along the arcuate protrusions 6a and 6b, and the three downstream parts Lead to side flow paths 4B1, 4B2, 4B3.
  • the medium is meandering through the three corrugated downstream channels 4B1, 4B2, and 4B3 while being controlled by the corrugated protrusions 5c and 5d, and flows out from the outlet 3.
  • the cooling water is stirred like a conventional dimple and flows through the tube. Since the cooling water meanders in a wavy manner, heat dissipation performance is ensured while suppressing an increase in flow resistance. In addition, as described above, the direction is gradually changed even in the U-turn portion. For this reason, it is suppressed that the cooling water hits strongly at this end portion of the tube and is damaged by erosion.
  • the high-temperature compressed air flowing outside the tube is cooled by exchanging heat with cooling water when passing through the tube. Fuel is blown into this air, and this air-fuel mixture is burned in the combustion chamber of the engine.
  • the tube of the heat exchanger according to the first embodiment can obtain the following effects. That is, since the upstream straight flow path portion 4A and the downstream straight flow path portion 4B are provided with the wave-like protrusions 5a, 5b, 5c, and 5d, respectively, the flow resistance when cooling water flows is suppressed and cooling is performed. The heat dissipation performance can be improved by allowing water to flow along the wavy protrusions 5a, 5b, 5c, and 5d.
  • the tube 1 Since the tube 1 is manufactured by assembling the half-divided tube plates with each other, the tube 1 can be manufactured easily and inexpensively. Also, in this case, the wavy protrusions 5a, 5b, 5c, 5d of both tube plates are arranged at the same position so that the wavy protrusions 5a, 5b, 5c, 5d face each other continuously. So you can meander. Further, since the end portions of the arc-shaped projecting portions 6a and 6b of the U-turn channel portion 4C are arranged so as to straddle the downstream end of the partition rib portion 1b, the disturbance of the cooling water here can be suppressed. That is, the flow between the straight flow passage portions (between the upstream straight flow passage portion 4A and the downstream straight flow passage portion 4B) is smoothly performed, and the flow resistance can be suppressed.
  • FIG. 2 shows a tube 1 of the heat exchanger according to the second embodiment.
  • the tube 1 of the heat exchanger of the second embodiment two tube plates having the same configuration as the first embodiment are prepared.
  • One of the tubes is inverted and assembled to the other to form the tube 1.
  • the arcuate protrusions 6a and 6b of the 5b, 5c and 5d and the U-turn channel 4C are as shown by broken lines in FIG.
  • the wavy protrusions 5a, 5b, 5c and 5d of both tube plates and the straight protrusions 7a and 7b are only partly facing each other, and the other parts are shifted from each other in the width direction of the tube 1. It becomes like this.
  • the arc-shaped protrusions 6a and 6b of the U-turn channel 4C are in the same position and continuously face each other. That is, a pair of corrugated protrusions 5a and 5b and corrugated protrusions 5c and 5d are alternately arranged in parallel.
  • each of the corrugated protrusions 5a and 5b (or the corrugated protrusions 5c and 5d), which is a pair of corrugated parts, crosses the corrugated part, and only the parts face each other.
  • Other configurations are the same as those of the first embodiment.
  • FIG. 3 is a cross-sectional view taken along the line S3-S3 passing through the non-facing portions in FIG. 2
  • FIG. 4 is a cross-sectional view taken along the line S4-S4 passing through the portions facing each other. .
  • the cooling water is not greatly agitated unlike many dimples in the prior art.
  • the tube 1 of the heat exchanger according to the second embodiment since the agitation can be performed as compared with the first embodiment, the heat radiation performance is improved. In this case, the flow resistance is slightly increased as compared with the first embodiment. However, since the same tube plate can be used for both tube plates to be assembled, the tube 1 can be manufactured at a lower cost than in the case of the first embodiment.
  • the present invention has been described based on the above-described embodiments.
  • the present invention is not limited to the above-described embodiments, and is included in the present invention even when there is a design change or the like without departing from the gist of the present invention.
  • the wavy protrusions 5a, 5b, 5c, and 5d are provided in both the upstream linear flow path portion 4A and the downstream straight flow path portion 4B, but only in one of them. Also good.
  • the medium may be guided using inner fins in place of the wavy protrusions 5a, 5b, 5c, 5d and the arc-shaped protrusions 6a, 6b. By configuring the inner fin, the degree of freedom in setting the wavy shape is increased.
  • both tubes of the same shape By assembling the plates, the tube 1 can be manufactured at a lower cost.
  • tube of the heat exchanger of the present invention is used for the water-cooled charge air cooler, it is not limited to this and may be used for other heat exchangers.
  • Tube (heat exchanger tube) 1a Outer peripheral rib 1b Partition rib (partition) 2 Inlet 3 Outlet 4A Upstream straight channel 4B Downstream straight channel 4C U-turn channel 4A1, 4A2, 4A3 Upstream channel 4B1, 4B2, 4B3 Downstream channel 4C1, 4C2, 4C3 U Turn passage 5a, 5b, 5c, 5d Corrugated protrusion 6a, 6b Arc-shaped protrusion 7a, 7b Linear protrusion

Landscapes

  • Engineering & Computer Science (AREA)
  • Physics & Mathematics (AREA)
  • Thermal Sciences (AREA)
  • Mechanical Engineering (AREA)
  • General Engineering & Computer Science (AREA)
  • Geometry (AREA)
  • Heat-Exchange Devices With Radiators And Conduit Assemblies (AREA)
PCT/JP2013/077244 2012-10-30 2013-10-07 熱交換器用チューブ Ceased WO2014069175A1 (ja)

Priority Applications (3)

Application Number Priority Date Filing Date Title
US14/438,893 US20150300755A1 (en) 2012-10-30 2013-10-07 Heat exchanger tube
CN201380057125.1A CN104769381A (zh) 2012-10-30 2013-10-07 热交换器管
DE112013005192.3T DE112013005192T5 (de) 2012-10-30 2013-10-07 Wärmetauscherrohr

Applications Claiming Priority (2)

Application Number Priority Date Filing Date Title
JP2012239052A JP5921413B2 (ja) 2012-10-30 2012-10-30 熱交換器用チューブ
JP2012-239052 2012-10-30

Publications (1)

Publication Number Publication Date
WO2014069175A1 true WO2014069175A1 (ja) 2014-05-08

Family

ID=50627091

Family Applications (1)

Application Number Title Priority Date Filing Date
PCT/JP2013/077244 Ceased WO2014069175A1 (ja) 2012-10-30 2013-10-07 熱交換器用チューブ

Country Status (5)

Country Link
US (1) US20150300755A1 (enExample)
JP (1) JP5921413B2 (enExample)
CN (1) CN104769381A (enExample)
DE (1) DE112013005192T5 (enExample)
WO (1) WO2014069175A1 (enExample)

Cited By (1)

* Cited by examiner, † Cited by third party
Publication number Priority date Publication date Assignee Title
WO2017115436A1 (ja) * 2015-12-28 2017-07-06 国立大学法人東京大学 熱交換器

Families Citing this family (5)

* Cited by examiner, † Cited by third party
Publication number Priority date Publication date Assignee Title
CN106796050B (zh) * 2014-10-08 2019-08-09 贝卡尔特燃烧技术股份有限公司 热交换器
JP6531325B2 (ja) * 2015-02-18 2019-06-19 有限会社和氣製作所 熱交換器
DE102016205353A1 (de) * 2016-03-31 2017-10-05 Mahle International Gmbh Stapelscheibenwärmetauscher
JP2018013262A (ja) * 2016-07-19 2018-01-25 カルソニックカンセイ株式会社 熱交換器
JP2019100565A (ja) * 2017-11-29 2019-06-24 パナソニックIpマネジメント株式会社 熱交換器及びそれを用いた冷凍システム

Citations (4)

* Cited by examiner, † Cited by third party
Publication number Priority date Publication date Assignee Title
JPS6273095A (ja) * 1985-09-25 1987-04-03 Nippon Denso Co Ltd 積層型熱交換器
JP2005195190A (ja) * 2003-12-26 2005-07-21 Toyo Radiator Co Ltd 多板型熱交換器
JP2008144997A (ja) * 2006-12-07 2008-06-26 T Rad Co Ltd 耐圧性熱交換器
WO2009013802A1 (ja) * 2007-07-23 2009-01-29 Tokyo Roki Co. Ltd. プレート積層型熱交換器

Family Cites Families (7)

* Cited by examiner, † Cited by third party
Publication number Priority date Publication date Assignee Title
JP2615730B2 (ja) * 1987-12-26 1997-06-04 アイシン精機株式会社 プレート式熱交換器
KR100200657B1 (ko) * 1996-12-19 1999-06-15 신영주 열교환기용 튜브
JP4122670B2 (ja) * 1999-01-28 2008-07-23 株式会社デンソー 熱交換器
JP2005180714A (ja) * 2003-12-16 2005-07-07 Calsonic Kansei Corp 熱交換器およびそれに用いるインナーフィン
JP4999146B2 (ja) * 2006-01-13 2012-08-15 株式会社ティラド インナーフィン及びこのインナーフィンを備えたヒートシンク
JP2010127143A (ja) * 2008-11-26 2010-06-10 Calsonic Kansei Corp チャージエアクーラ
DE102008064090A1 (de) * 2008-12-19 2010-08-12 Mahle International Gmbh Abgaskühler

Patent Citations (4)

* Cited by examiner, † Cited by third party
Publication number Priority date Publication date Assignee Title
JPS6273095A (ja) * 1985-09-25 1987-04-03 Nippon Denso Co Ltd 積層型熱交換器
JP2005195190A (ja) * 2003-12-26 2005-07-21 Toyo Radiator Co Ltd 多板型熱交換器
JP2008144997A (ja) * 2006-12-07 2008-06-26 T Rad Co Ltd 耐圧性熱交換器
WO2009013802A1 (ja) * 2007-07-23 2009-01-29 Tokyo Roki Co. Ltd. プレート積層型熱交換器

Cited By (1)

* Cited by examiner, † Cited by third party
Publication number Priority date Publication date Assignee Title
WO2017115436A1 (ja) * 2015-12-28 2017-07-06 国立大学法人東京大学 熱交換器

Also Published As

Publication number Publication date
DE112013005192T5 (de) 2015-08-27
JP5921413B2 (ja) 2016-05-24
JP2014088994A (ja) 2014-05-15
US20150300755A1 (en) 2015-10-22
CN104769381A (zh) 2015-07-08

Similar Documents

Publication Publication Date Title
US9951995B2 (en) Heat exchanger with self-retaining bypass seal
WO2014069175A1 (ja) 熱交換器用チューブ
US10047663B2 (en) Charge air cooler with multi-piece plastic housing
US10809009B2 (en) Heat exchanger having aerodynamic features to improve performance
JP6397411B2 (ja) 改良型排気ガス再循環装置およびそれを形成するための方法
JP5395783B2 (ja) 管束を有する熱交換器
CN105247312B (zh) 换热器
WO2018180058A1 (ja) 熱交換器
JP2007078194A (ja) 熱交換器用伝熱管
JP6275708B2 (ja) 熱交換器、とくに自動車のエンジンの給気冷却器
JP4175340B2 (ja) 熱交換器
JP2006336890A (ja) インタークーラ
JP6706713B1 (ja) 熱交換器
JP6197190B2 (ja) 熱交換器用チューブ
JP6577282B2 (ja) 熱交換器
JP2013213424A (ja) 排気ガス熱交換器
CN104981678A (zh) 气体热交换器,特别是用于发动机的排气的气体热交换器
JP2014088995A (ja) 熱交換器用チューブ
JP6496067B1 (ja) 熱交換器
JP6687649B2 (ja) 排気熱回収装置
KR20080065846A (ko) 오일 쿨러
JP6699588B2 (ja) 熱交換器
JP2016200071A (ja) Egrガスクーラ
JP7638753B2 (ja) Egrクーラ
JP2006329123A (ja) 内燃機関のegrガスクーラ用のクーラエレメント

Legal Events

Date Code Title Description
121 Ep: the epo has been informed by wipo that ep was designated in this application

Ref document number: 13850497

Country of ref document: EP

Kind code of ref document: A1

WWE Wipo information: entry into national phase

Ref document number: 14438893

Country of ref document: US

WWE Wipo information: entry into national phase

Ref document number: 1120130051923

Country of ref document: DE

Ref document number: 112013005192

Country of ref document: DE

122 Ep: pct application non-entry in european phase

Ref document number: 13850497

Country of ref document: EP

Kind code of ref document: A1