WO2014045730A1 - 二室容器及び二液の混合方法 - Google Patents

二室容器及び二液の混合方法 Download PDF

Info

Publication number
WO2014045730A1
WO2014045730A1 PCT/JP2013/070991 JP2013070991W WO2014045730A1 WO 2014045730 A1 WO2014045730 A1 WO 2014045730A1 JP 2013070991 W JP2013070991 W JP 2013070991W WO 2014045730 A1 WO2014045730 A1 WO 2014045730A1
Authority
WO
WIPO (PCT)
Prior art keywords
container
chamber
wall
straw
opening
Prior art date
Legal status (The legal status is an assumption and is not a legal conclusion. Google has not performed a legal analysis and makes no representation as to the accuracy of the status listed.)
Ceased
Application number
PCT/JP2013/070991
Other languages
English (en)
French (fr)
Japanese (ja)
Inventor
菜穂 山口
孝彦 岡田
徳雄 遠藤
千春 伊東
Current Assignee (The listed assignees may be inaccurate. Google has not performed a legal analysis and makes no representation or warranty as to the accuracy of the list.)
Kirin Brewery Co Ltd
Kirin Co Ltd
Original Assignee
Kirin Brewery Co Ltd
Kirin Co Ltd
Priority date (The priority date is an assumption and is not a legal conclusion. Google has not performed a legal analysis and makes no representation as to the accuracy of the date listed.)
Filing date
Publication date
Application filed by Kirin Brewery Co Ltd, Kirin Co Ltd filed Critical Kirin Brewery Co Ltd
Publication of WO2014045730A1 publication Critical patent/WO2014045730A1/ja
Anticipated expiration legal-status Critical
Ceased legal-status Critical Current

Links

Images

Classifications

    • BPERFORMING OPERATIONS; TRANSPORTING
    • B65CONVEYING; PACKING; STORING; HANDLING THIN OR FILAMENTARY MATERIAL
    • B65DCONTAINERS FOR STORAGE OR TRANSPORT OF ARTICLES OR MATERIALS, e.g. BAGS, BARRELS, BOTTLES, BOXES, CANS, CARTONS, CRATES, DRUMS, JARS, TANKS, HOPPERS, FORWARDING CONTAINERS; ACCESSORIES, CLOSURES, OR FITTINGS THEREFOR; PACKAGING ELEMENTS; PACKAGES
    • B65D81/00Containers, packaging elements, or packages, for contents presenting particular transport or storage problems, or adapted to be used for non-packaging purposes after removal of contents
    • B65D81/32Containers, packaging elements, or packages, for contents presenting particular transport or storage problems, or adapted to be used for non-packaging purposes after removal of contents for packaging two or more different materials which must be maintained separate prior to use in admixture
    • B65D81/3205Separate rigid or semi-rigid containers joined to each other at their external surfaces
    • B65D81/3211Separate rigid or semi-rigid containers joined to each other at their external surfaces coaxially and provided with means facilitating admixture

Definitions

  • the present invention relates to a two-chamber container and a two-liquid mixing method in which two kinds of components are stored separately before use and can be easily mixed at the time of use.
  • a container in which two components are stored separately before use and can be mixed at the time of use (see, for example, Patent Documents 1 to 11).
  • Patent Document 1 discloses an upper container in which an opening is sealed with a sealing sheet member obtained by laminating a PP nonwoven fabric and a PP film that is easily peeled, and a lower container in which the opening is sealed with a PP film.
  • An integrated two-chamber container is disclosed. In this two-chamber container, the PP film in the upper container and the lower container is peeled off and the opening portions are again brought into contact with each other for cooking so that the liquid food in the upper container is automatically added to the lower container.
  • Patent Document 2 discloses a lid that includes an accommodating portion having a lower surface portion, and the lower surface portion is sealed with a thin film after the accommodating portion is filled with milk.
  • Patent document 3 is disclosing the cup which sealed the sliced lemon between the lower cover and upper cover of the cup. In this cup, a straw is stabbed from the top lid, the tip of the straw is applied to the center of the sliced lemon, the bottom lid is pushed through, and the sliced lemon is placed in the drink of the cup.
  • Patent Document 4 discloses a two-component beverage container having an auxiliary container in the lower part of a beverage container.
  • a straw is inserted from the lid of the beverage container, the straw is further pushed in, a hole is made in the lid of the auxiliary container, and both liquids are mixed from this hole.
  • Patent document 5 is disclosing the cup with a lid
  • the cup with lid mixes the additive filled in the small tray with the contents filled in the cup by inserting a straw through the inner lid and piercing and penetrating the bottom surface of the small tray.
  • Patent document 6 is disclosing the mix container provided with the container main body and the small container built in a container main body. This mix container pierces the straw from the container main body, pushes through the upper closing lid and the lower closing lid of the small container, and mixes the additive in the small container with the liquid beverage in the container main body.
  • Patent Document 7 discloses a two-substance mixing container in which a first container and a second container are brought into close contact with each other with a sealing sheet in a state where their openings face each other.
  • the sealing sheet is broken at the piercing portion provided inside the second container to mix the substance in the second container with the substance in the first container.
  • a bag containing an additive is formed between a substrate and a peripheral edge of a flexible synthetic resin sheet bonded to one surface of the substrate, and along a broken line formed at the center of the substrate. And a lid that can be folded and opened along the V-shape when the substrate breaks along the breaking line and the additive in the bag is poured out. To do.
  • this lid body can fix a substrate of a folding and breaking open packaging body to a lid body provided with a cutting line or the like on the top plate and a pair of flaps on both sides with the cutting line or the like as a boundary.
  • the body is attached to the container body, and the folding break open packaging substrate is bent into a V shape along the breaking line, it is opened along the cutting line of the lid, and the packaging substrate is also broken.
  • the additive in the bag is poured out into the container body.
  • Patent Document 9 discloses a composite beverage container in which a plurality of interior aluminum foil boxes are accommodated so as to form a layer in the exterior box. This composite beverage container can enjoy a mixed taste by inserting a straw from the upper layer to the lower layer.
  • Patent Document 10 discloses a beverage container provided with a transparent container body having one end opened, and a partition member provided inside the container body and partitioning the container body into at least two beverage containers. ing.
  • the sheet member is peeled off from the partition member at the same time as the lid is opened, the notch portion provided in the partition member is opened, and two or more beverage storage portions are communicated to mix the beverage.
  • the In Patent Document 11 a partition piece for partitioning the inside of a container main body into an upper chamber and a lower chamber is provided integrally, and a rope for breaking the partition pieces is arranged along the outer peripheral surface of the lower surface of the partition piece and the inner peripheral surface of the container main body.
  • a container having a structure in which one end of the rope is locked to the inner top surface of the lid of the container and the partition piece is broken by the rope when the lid is opened is disclosed.
  • the two-chamber container of Patent Document 1 requires an operation to turn the upper container upside down with the PP film peeled off, and at this time, the contents in the upper container may spill.
  • the strength of the housing portion cannot be increased so much that the housing portion can be crushed with a finger or pierced with a straw. For this reason, a deformation
  • a small tray may peel from the inner surface of an inner lid, and there is a possibility that it may fall in a cup.
  • the mix container of patent document 6 the small container is affixed on the ceiling surface of the container main body, and similarly to patent document 5, there exists a possibility that a small container may fall out in a container main body.
  • the upper surface portion of the second container is bent and deformed inward by external force such as stacking of containers during distribution or storage, and there is a risk that unintended mixing of two liquids may be performed. .
  • the lid body of Patent Document 8 needs to be removed at the time of eating and drinking after pouring out the additive.
  • the lid is fixed with an opened folded break opening type packaging body, and there is a risk of leakage of the residual additive, so that it takes time and effort. Since the composite beverage container of Patent Document 9 is a double container, more materials are used. The beverage container of Patent Document 10 has a complicated structure and a high manufacturing cost. Since the container of Patent Document 11 peels off the peripheral edge of the partition piece from the inner surface of the container at the same time as opening the lid, a strong force is required to open the lid, and the content liquid may spill during opening.
  • An object of the present invention is to provide a two-chamber container and a two-liquid mixing method that have a simple structure, can reliably separate two liquids before use, and can easily and reliably mix two liquids before use. Is to provide.
  • a two-chamber container includes a first container having a first chamber and an opening of the first chamber, a second container having a second chamber and an opening of the second chamber, and a straw In the two-chamber container that communicates the first chamber and the second chamber by inserting the first chamber and the contents filled in the first chamber and the second chamber, respectively, the first container and the second container Are connected in a state where the first wall of the first container and the second wall of the second container are opposed to each other, and the second container is connected to a wall different from the second wall through a straw insertion portion.
  • the first wall is a first lid that closes the opening of the first chamber
  • the second wall is a second that closes the opening of the second chamber.
  • the form which is a cover body is included.
  • the two-chamber container according to the present invention includes a form in which the wall having the straw insertion portion is a second bottom wall facing the opening of the second chamber.
  • the connecting means between the first container and the second container is (1) a fitting part for fixing the first container and the second container, (2) the first container An adhesive member provided between the wall and the second wall; (3) a shrink film closely contacting the outer peripheral surface of the first container and the outer peripheral surface of the second container; and (4) the first wall and the second wall. It is preferable that it is at least one of (1) to (5) of fusion with a wall or (5) a structure in which the first container and the second container are fixed to each other. A simpler structure can be obtained.
  • the fitting component further includes a disk-shaped part or a column part interposed between the first wall and the second wall, and the disk-shaped part or the column part is It is preferable to have a blade portion. A larger communication port can be formed.
  • an area of the blade portion is larger than a cross-sectional area of the straw. The contents can be moved more smoothly from the second chamber to the first chamber.
  • the said blade part exists in the center part of the said disk-shaped part or the said support
  • a larger communication port can be formed.
  • the disc-shaped portion has a plurality of blade portions, the blade portions are on the same circumference, and the straw insertion portion is different from the second wall. It is preferable that the position is shifted from the center of the wall.
  • the communication port can be more reliably formed.
  • the disk-shaped portion has a plurality of the blade portions, and the blade portions are arranged in a state where the blade edges are collected in one place.
  • the communication port can be more reliably formed.
  • the blade portion is preferably two blade portions sharing the connection line as a rotation axis. The movement of the contents from the second chamber to the first chamber can be further promoted.
  • the blade portion has a piercing portion protruding to at least one side of the first wall or the second wall.
  • a hole can be formed with a small force by the first wall and the second wall.
  • At least one of the first wall and the second wall is made of a splittable packaging material.
  • a larger communication port can be formed.
  • the inside of the first container is in a lower pressure state than the inside of the second container.
  • the movement of the contents from the second chamber to the first chamber can be further promoted.
  • the inside of the first container is preferably in a negative pressure state.
  • a larger communication port can be formed.
  • the two-chamber container it is preferable that at least one of embossing or damage processing is performed on the surface of at least one of the first wall and the second wall.
  • the straw can be made less slippery or the straw can be pierced with a smaller force, and the communication port can be more reliably formed.
  • the first wall is a first bottom wall facing the opening of the first chamber
  • the second wall is a second facing the opening of the second chamber. It is a bottom wall
  • the said 1st bottom wall and said 2nd bottom wall include the form which has a weak part in an opposing position, respectively.
  • connection means of said 1st container and said 2nd container is (1) fitting component which fixes said 1st wall and said 2nd wall, (2) said 1st A structure in which the container and the second container are fixed to each other; (3) an adhesive member provided between the first wall and the second wall; (4) an outer peripheral surface of the first container and the second container; It is preferable that the film is at least one of (1) to (5) of a shrink film that adheres over the outer peripheral surface of the film or (5) fusion between the first wall and the second wall. A simpler structure can be obtained.
  • the inside of the first container is in a lower pressure state than the inside of the second container.
  • the movement of the contents from the second chamber to the first chamber can be further promoted.
  • the inside of the first container is preferably in a negative pressure state.
  • a larger communication port can be formed.
  • the straw when the straw is inserted from the straw insertion portion and the leading end of the straw is made to reach the inner wall surface of the first chamber, the straw is placed in the first chamber.
  • the maximum cross-sectional area of the contained portion is a thick straw that is larger than both the cross-sectional area of the straw at the same height as the first wall and the cross-sectional area of the straw at the same height as the second wall. Is preferred.
  • the two-chamber container includes a first container having a first chamber and an opening of the first chamber, a second chamber, and an opening of the second chamber.
  • the second container has a straw insertion part on a wall different from the second wall, and the first chamber and the second chamber are connected by inserting a straw.
  • the straw or the opening assisting means Q1 causes the second wall to pass through the second wall.
  • the two-chamber container includes a first container having a first chamber and an opening of the first chamber, a second chamber, and an opening of the second chamber.
  • the second container is connected with the second wall facing each other, and the second container has a straw insertion portion on a wall different from the second wall, and the first chamber and the above-mentioned are inserted by inserting a straw.
  • a two-liquid mixing method in which a second chamber is communicated to mix the contents filled in the first chamber and the second chamber, respectively, and a straw is inserted into the second chamber from the straw insertion portion.
  • the communication port Rc is formed in the second wall by the step 1B and the straw or the opening assisting means Q3.
  • Step 2B, Step 3B in which the straw is applied to the opening assisting means Q4, and further pushing the straw further into the first wall by the opening assisting means Q4 and the outer peripheral surface of the straw passing through the first wall
  • the step 4B is a step of simultaneously forming the communication port Rd and the vent hole, or the vent hole is formed after the communication port Rd is formed. It is preferable that it is a process.
  • the present invention provides a two-chamber container and a two-liquid mixing method that have a simple structure, can reliably separate two liquids before use, and can easily and reliably mix two liquids before use. be able to.
  • FIG. 3 is a cross-sectional view taken along line AA in FIG. 2. It is a partial expanded sectional view which shows the modification of a straw insertion part, (a) shows the form which formed the thin part, (b) shows the form which stuck the label.
  • FIG. 4 is an enlarged cross-sectional view of a portion C in FIG. 3. It is a fragmentary perspective view which shows the 1st example of a board-shaped part, (a) is before piercing a straw, (b) shows the state which pierced the straw.
  • FIG. 17 is a sectional view taken along line XX in FIG. 16. It is a top view which shows the 5th example of a disk-shaped part.
  • FIG. 19 is a YY broken sectional view of FIG. 18. It is sectional drawing which shows the state which inserted the straw in the container of FIG.
  • FIG. 24 is a cross-sectional view taken along the line AA in FIG. It is an expanded sectional view of the C section of FIG. It is sectional drawing which shows the state which inserted the straw.
  • a two-chamber container includes a first container having a first chamber and an opening of the first chamber, and a second container having a second chamber and an opening of the second chamber, In the two-chamber container that connects the first chamber and the second chamber by insertion and mixes the contents filled in the first chamber and the second chamber, respectively, the first container and the second container.
  • the first wall and the second wall of the second container are connected to face each other, and the second container has a straw insertion part on a wall different from the second wall, and the straw is inserted from the straw insertion part.
  • the opening area formed in the first wall is larger than the cross-sectional area of the straw at the same height as the first wall until the leading end of the straw reaches the inner wall surface of the first chamber.
  • the opening area formed in the second wall is larger than the cross-sectional area of the straw at the same height as the second wall.
  • the contents move from the second chamber to the first chamber through the generated gap, and the two liquids can be quickly mixed.
  • the contents can be moved from the second chamber to the first chamber, and when the tip of the straw is made to reach the inner wall surface of the first chamber, the contents are respectively formed on the first wall or the second wall.
  • the opening area is greater than the cross-sectional area of the straw at the same height as the first or second wall, or the same as the cross-sectional area of the straw at the same height as the first or second wall. Also good.
  • the opening area formed in the first wall is larger than the crossing area of the straw at the same height as the first wall, and the opening area formed in the second wall is the crossing of the straw at the same height as the second wall. More preferably, it is larger than the area.
  • the first wall is a first lid that closes the opening of the first chamber
  • the second wall is a second lid that closes the opening of the second chamber.
  • the first wall is a first bottom wall facing the opening of the first chamber
  • the second wall is a second bottom wall facing the opening of the second chamber
  • the first bottom is included.
  • FIG. 1 is an exploded view showing an example of a two-chamber container according to the present embodiment.
  • FIG. 2 is a perspective view showing an example of a two-chamber container according to the present embodiment.
  • 3 is a cross-sectional view taken along the line AA in FIG. 20 is a cross-sectional view showing a state where a straw is inserted into the container of FIG.
  • the two-chamber container 1 according to the present embodiment includes a first container body 110 having a first chamber 111 and an opening 113 that faces a bottom surface portion (hereinafter also referred to as a first bottom wall) 112 of the first chamber.
  • a first container 100 having a first lid 120 that closes the opening 113 of the first chamber, a second chamber 211, and a bottom surface portion of the second chamber (hereinafter also referred to as a second bottom wall) 212.
  • a second container main body 210 having an opening 213 facing each other and a second container 200 having a second lid 220 closing the opening 213 of the second chamber.
  • the second container 200 has a straw insertion portion 230a on the bottom surface portion 212 of the second chamber.
  • the first container 100 and the second container 20 Bets are linked in a state of being opposed to the first cover member 120 and the second cover member 220.
  • the first container 100 includes a first container body 110 and a first lid body 120.
  • the first container main body 110 has a bottomed cylindrical shape having a first chamber 111 therein as shown in FIGS. 1 to 3, and includes a bottom surface portion 112, a body portion 114 standing from the bottom surface portion 112, and a body portion 114. And an opening 113 formed at the upper end of the.
  • the bottom surface portion 112 and the body portion 114 may be integrally formed or may be joined separately.
  • the opening 113 preferably has a flange 115 extending outward from the periphery of the opening 113.
  • the shape of the first container body 110 is a cylindrical shape whose diameter decreases toward the bottom surface portion 112, but the present invention is not limited thereto, and the shape of the bottom surface portion 112,
  • the inclination angle of the body 114 may be arbitrarily changed.
  • the first chamber 111 is a space for accommodating the first content L1 and also a space for mixing the first content L1 and the second content L2 filled in the second chamber 211. For this reason, the capacity
  • the material of the first container body 110 is not particularly limited, but is, for example, synthetic resin, paper, or metal.
  • the synthetic resin include polyethylene, polypropylene, polyethylene terephthalate, polystyrene, polyamide, ethylene-vinyl acetate copolymer, ethylene-vinyl alcohol copolymer, and polyvinylidene chloride.
  • the metal is, for example, aluminum or steel.
  • the first container body 110 may be formed of a single layer or a laminate.
  • the laminated body is, for example, a laminated body of two or more kinds of synthetic resins, a laminated body of synthetic resin and paper, a laminated body of synthetic resin and metal, or a laminated body of synthetic resin, paper, and metal.
  • the thickness of the first container body 110 is preferably 0.2 to 1.5 mm, and more preferably 0.3 to 0.8 mm. If it is less than 0.2 mm, the strength may be insufficient and the film may be deformed in the distribution process. In addition, there are cases where gripping cannot be performed stably. If it exceeds 1.5 mm, the amount of material used is excessive, which is not preferable in terms of environment and cost.
  • the first lid 120 closes the opening 113 of the first chamber.
  • the first lid 120 has a sheet shape as shown in FIGS. 1 to 3 and is joined to the upper end of the first container body 110.
  • the first lid 120 is preferably joined to the flange 115.
  • the bonding method is not particularly limited, and examples thereof include a method of bonding by welding such as thermal welding, ultrasonic welding, high frequency welding, and laser welding, and a method of bonding using auxiliary materials such as an adhesive and an adhesive tape.
  • the first lid 120 is preferably made of a splittable packaging material.
  • the splitting property refers to the property that when a sharp object is stabbed into the packaging material, the packaging material is torn without substantially stretching.
  • the splittable packaging material is, for example, a laminate of aluminum foil and polypropylene, a laminate of aluminum foil and an adhesive layer, or a laminate of aluminum foil and an easy peel film.
  • the outer surface (the surface opposite to the first chamber 111) preferably has a high surface tension with respect to the contents. By increasing the surface tension, the contents can be moved more smoothly.
  • the wetting tension measured according to JIS-K-6768: 2008 “Plastic-film and sheet-wetting tension test method” is preferably 40 mN / m or less, and preferably 35 mN / m or less. More preferred.
  • the first lid 120 is preferably subjected to at least one of embossing or damage processing on the surface.
  • Embossing has the role of making the straw more difficult to slip and more reliably forming the communication port by providing irregularities on the outer surface of the first lid 120.
  • the damage processing is, for example, a guide wire or a weakening wire, and has a role of further reducing the force required for piercing with a straw.
  • the embossing or damage processing may be performed on the entire surface of the first lid 120 or may be partially performed on a region including a portion where a straw is inserted.
  • the second container 200 has a second container main body 210 and a second lid body 220.
  • the second container main body 210 has a bottomed cylindrical shape having a second chamber 211 therein, a bottom surface portion 212, a body portion 214 standing from the bottom surface portion 212, and an opening formed at the upper end of the body portion 214. 213.
  • the second chamber 211 is a space for accommodating the second content L2.
  • the bottom surface portion 212 and the body portion 214 may be integrally formed or may be joined separately.
  • the opening 213 preferably has a flange 215 that extends outward from the periphery of the opening 213.
  • the shape of the opening 213 of the second chamber is preferably the same as the shape of the opening 113 of the first chamber.
  • the 2nd container 200 has the straw insertion part 230a in the bottom face part 212 of a 2nd chamber.
  • the straw insertion portion 230a has a configuration in which a through hole 231 is provided in the bottom surface portion 212 as shown in a portion B of FIG. 3 and the sheet 232 is fixed to the inner wall surface of the bottom surface portion 212 to close the through hole 231.
  • the present invention is not limited to the form of the straw insertion part 230a, and various modifications may be made.
  • FIG. 4 is a partially enlarged cross-sectional view showing a modified example of the straw insertion part, where (a) shows a form in which a thin part is formed, and (b) shows a form in which a label is attached. As shown in FIG.
  • the straw insertion portions 230b and 230c have a form in which a thin portion 233 is formed on the bottom surface portion 212, or through holes 234 are formed in the bottom surface portion 212 as shown in FIG. 4B. It is good also as a form which provided and the peeling tape 235 which plugs up the through-hole 234 on the outer wall surface of the bottom face part 212.
  • a form in which the entire bottom surface part 212 is formed thin and a mark is simply made on the bottom surface part 212. It is good also as a form which provides a weakened line in the bottom face part 212.
  • the material of the second container body 210 is not particularly limited, but is exemplified as the material of the first container body 110, for example. Further, the second container body 210 may be formed of a single layer body or a stacked body, similarly to the first container body 110.
  • the thickness of the second container body 210 is preferably 0.2 to 1.5 mm, and more preferably 0.3 to 0.8 mm. If it is less than 0.2 mm, the strength may be insufficient and the film may be deformed in the distribution process. If it exceeds 1.5 mm, the amount of material used is excessive, which is not preferable in terms of environment and cost. Further, when the thin portion 233 is formed as the straw insertion portion 230b (illustrated in FIG. 4A), or when the entire bottom surface 212 is marked as the straw insertion portion (not shown), the straw insertion portion The thickness of 230b is preferably 0.1 to 0.5 mm. If it is less than 0.1 mm, the fluidity of the resin deteriorates, and molding failure may occur. If it exceeds 0.5 mm, a large force may be required to penetrate and penetrate with a straw, or it may not be possible to penetrate.
  • the second lid 220 closes the opening 213 of the second chamber.
  • the second lid 220 has a sheet shape as shown in FIGS. 1 to 3 and is joined to the upper end of the second container body 210.
  • the second lid body 220 is preferably joined to the flange portion 215.
  • the second lid body 220 is preferably made of a splittable packaging material.
  • the splittable packaging material is exemplified as the material of the first lid 120, for example.
  • a larger communication port can be formed when the first chamber 111 and the second chamber 211 are communicated by inserting a straw.
  • both the first lid body 120 and the second lid body 220 are formed of a splittable packaging material in that the contents can be moved more smoothly from the second chamber to the first chamber.
  • the thickness of the second lid 220 is generally 5 ⁇ m to 3 mm. The present invention is not limited to the thickness of the second lid 220.
  • the inner surface (the surface on the second chamber 211 side) preferably has a high surface tension with respect to the contents. By increasing the surface tension, the contents can be moved more smoothly.
  • the wetting tension measured according to JIS-K-6768: 2008 “Plastic-film and sheet-wetting tension test method” is preferably 40 mN / m or less, and preferably 35 mN / m or less. More preferred.
  • the second lid 220 is preferably subjected to at least one of embossing or damage machining on the surface.
  • the inside of the first container 100 is in a lower pressure state than the inside of the second container 200.
  • the method of setting the inside of the first container 100 to a lower pressure state than the inside of the second container 200 is, for example, a form in which the inside of the first container 100 is set to a negative pressure and a form in which the inside of the second container 200 is set to a positive pressure. .
  • the inside of the first container 100 is in a negative pressure state.
  • the negative pressure state refers to a state where the pressure in the container is smaller than the atmospheric pressure.
  • the first lid 120 is slightly recessed inward.
  • the method for bringing the inside of the first container 100 into a negative pressure state is not particularly limited.
  • the first container 111 is filled with the first content L1 by hot pack filling and cooled to cool the first container.
  • the inside of the second container 200 may be in a positive pressure state.
  • the positive pressure state refers to a state where the pressure in the container is larger than the atmospheric pressure.
  • the second lid 220 is slightly bulged outward.
  • the method of making the inside of the second container 200 a positive pressure is not particularly limited. For example, by enclosing a gas such as carbon dioxide gas or nitrogen gas in the second container 200, the pressure in the second container 200 is increased. And a method of increasing the pressure in the second container 200 by filling a liquid containing carbon dioxide gas as the second content L2.
  • the inside of the first container 100 may be in a positive pressure state.
  • the inside of the first container 100 is in a positive pressure state, if the communication port formed by piercing the straw into the first lid 120 is enlarged or an air flow path is provided, the contents are transferred to the second chamber. It is easy to move from 211 to the first chamber 111.
  • the first container 100 and the second container 200 are connected with the first lid 120 and the second lid 220 facing each other.
  • the connecting means between the first container 100 and the second container 200 includes (1) a fitting part 10 (shown in FIG. 1) for fixing the first container 100 and the second container 200, and (2) a first lid 120.
  • the fitting component 10 has the cyclic
  • the fitting component 10 has a center protrusion 17 and two engagement protrusions 18 a and 18 b facing each other with the center protrusion 17 interposed therebetween on the inner wall surface of the fitting portion 11.
  • the fitting component 10 connects the first container 100 and the second container 200 by engaging the flange portions 115 and 215 between the center protrusion 17 and the engagement protrusions 18a and 18b, respectively.
  • the fitting component 10 preferably has a plate-like portion 13 interposed between the first lid 120 and the second lid 220 as shown in FIG. Furthermore, it is preferable that the disk-shaped part 13 has blade parts 14a and 14b surrounded by connecting lines 15a and 15b that can be bent and a cutting line 16 as shown in FIG. Since the disk-shaped part 13 has the blade parts 14a and 14b, the blade parts 14a and 14b can be supported more stably.
  • the connecting lines 15a and 15b are, for example, crease lines.
  • the cut line 16 is, for example, a cut line, a half cut line, or a perforation line.
  • the shapes of the blade portions 14a and 14b are preferably substantially triangular in terms of ease of piercing.
  • the substantially triangular shape includes a triangular shape and a deformed shape of the triangular shape.
  • the deformed shape of the triangle is, for example, a shape in which the cutting edge p is sharpened like a bowl as shown in FIG.
  • the area of the blade portions 14a and 14b is preferably larger than the cross-sectional area of the straw. Since a hole larger than the straw can be opened and the air flow associated with the passage of the contents is not hindered, the contents can be more smoothly distributed from the second chamber 211 to the first chamber 111. It can be carried out.
  • the material of the fitting component 10 is not particularly limited, and is exemplified as the material of the first container body 110, for example.
  • the fitting component 10 is preferably formed of a single layer body.
  • the fitting part 11 and the board-shaped part 13 may be integrally molded, or you may join a different body.
  • FIG. 6 is a partial perspective view showing a first example of the disk-shaped part, where (a) shows a state before the straw is pierced, and (b) shows a state where the straw is pierced.
  • the disk-shaped portion 13 of the first example has a plurality of blade portions 14a and 14b, and the blade portions 14a and 14b are on the same circumference.
  • being on the same circumference means that the blade portions 14a and 14b are arranged so as to be able to draw the same circle passing over the area of each blade portion 14a and 14b. It includes a form (shown in FIG. 6A) regularly arranged along the same circumference and a form (not shown) in which the blade portions are irregularly arranged.
  • the blade portions 14 are regularly arranged along the same circumference. By arranging the blade portions 14a and 14b regularly on the same circumference, even if the consumer randomly inserts the straw 300, the straw 300 can be applied to one of the blade portions 14a and 14b.
  • Fig.6 (a) as an example of the form which arrange
  • an outwardly facing blade part 14a protruding from the inner frame-like connecting line 15a toward the outer frame-like connecting line 15b The form which has the inward blade part 14b which protrudes in the inner frame-shaped connection line 15a side from the frame-shaped connection line 15b was shown.
  • the number of the blade portions 14 is shown as an example in which there are a total of 12 outward blade portions 14a and 8 inward blade portions 14b, as an example. It is not limited. Moreover, although the form which has both the outward blade part 14a and the inward blade part 14b was shown, you may provide only the outward blade part 14a or only the inward blade part 14b.
  • the straw insertion part 230a is preferably provided at a position shifted from the center of the bottom face part 212 of the second container as shown in FIG.
  • the straw 300 hits at least one of the plurality of blade portions 14a, 14b (for example, one of the outward blade portions 14a), and the straw
  • the outward blade portion 14a is pushed downward around the inner frame-like connecting line 15a.
  • the outward blade part 14a pushes through the first lid (not shown), and forms a communication port in the first lid (not shown).
  • the two blade portions 14a and 14b are moved downward. Is pushed into.
  • FIGS. 7 to 9 have the same basic configuration as the plate-like portion 13 shown in FIG. 6, the description of the common points will be omitted here, and different points will be described.
  • FIG. 7 is a partial perspective view showing a second example of the disk-shaped part, where (a) shows a state before the straw is pierced, and (b) shows a state where the straw is pierced.
  • the blade part 24 is at the center O of the disk-shaped part 23 as shown in FIG. That is, the center portion O of the disk-shaped portion 23 is in the region surrounded by the connecting line 25 and the cut line 26.
  • the straw insertion portion is preferably provided at the center of the bottom surface portion 212 of the second container.
  • the area of the blade part 24 can be increased, a larger communication port can be formed.
  • FIG. 8 is a partial perspective view showing a third example of the disc-shaped portion, where (a) shows a state before the straw is inserted, and (b) shows a state where the straw is inserted.
  • the disk-shaped portion 33 of the third example has a plurality of blade portions 34, and the blade portions 34 are arranged in a state where the blade tips p are collected in one place.
  • the cutting edges p are preferably collected at the central portion O of the disk-shaped portion 33 as shown in FIG. In FIG.
  • the connecting line 35 is provided in a frame shape surrounding the central portion O of the plate-like portion 33, The form which provided the lead-in wire 36 radially toward the connection line 35 from the center part O of the disk-shaped part 33 was shown.
  • a straw insertion part may be provided in the center part of the bottom face part of a 2nd container, or may be provided in the position shifted
  • FIG. 9 is a partial perspective view showing a modified example of the third example of the disk-shaped part.
  • the connecting line 45 is provided in a circular shape surrounding the central portion O of the disk-shaped portion 43.
  • the form which provided radially toward the connection line 45 from the center part O of the disk-shaped part 43 was shown. Comparing the disk-shaped part 33 shown in FIG. 8 (a) with the disk-shaped part 43 shown in FIG. 9, the number of blade parts 34 is four in FIG. 8 (a).
  • the number of parts 44 is eight.
  • the connecting line 35 is linear, but in FIG. 9, the connecting line 45 is arcuate.
  • the connecting line 45 is arcuate.
  • FIG. 10 is a partial perspective view showing a modified example of the blade part, where (a) shows a state before piercing the straw, and (b) shows a state where the straw is pierced.
  • the blade portion 54 is preferably two blade portions 54 s and 54 t that share the connecting line 55 as a rotation axis.
  • the two blade portions 54s and 54t are a small blade portion 54s and a large blade portion 54t that face each other with the connecting line 55 interposed therebetween.
  • the opening area formed in the second lid body is the area of the hole formed by the straw 300 passing through the second lid body and the small blade portion 54s. Is the total area with the holes formed by breaking the second lid. For this reason, even if there is no gap between the straw 300 and the second lid, the contents can flow through the hole formed by the small blade portion 54s breaking the second lid. .
  • the straw 300 may be applied to the small blade part 54s. Then, when the straw 300 is further pushed in, the small blade portion 54s moves downward and the large blade portion 54t moves upward with the connecting line 55 as the rotation axis. At this time, the small blade portion 54s breaks the first lid (not shown) to form a communication port, and the large blade portion 54t breaks the second lid (not shown) to form a communication port. As a result, the area of the communication port formed in the second lid is larger than the area of the communication port formed in the first lid.
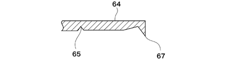
  • FIG. 16 is a plan view showing a fourth example of the disk-shaped part.
  • FIG. 17 is a sectional view taken along line XX in FIG. It is preferable that the blade part 64 has the stab part 67 which protrudes in the 1st cover body side (lower side of FIG. 16, FIG. 17). By providing the piercing part 67, a hole can be formed with a small force by the first lid and the second lid.
  • the number of piercing portions 67 is not particularly limited, and five piercing portions 67 are provided as an example in FIG. In FIG. 16, the blade part 64 showed the form which has the axial part 64a by the side of the connection line 65, and the blade edge
  • the blade part 64 has the blade edge part 64b
  • a 2nd container is fixed to a 1st container in the state by which the straw insertion part is arrange
  • the cutting edge portion 64b is not limited to a heptagon shape as shown in FIG. 16, and may be, for example, a pentagon shape or a hexagon shape.
  • the shape of the region 68 other than the blade portion 64 of the plate-like portion 63 is not particularly limited.
  • the connecting line 65 is relatively thin. The blade portion 64 can be pushed in with a smaller force.
  • FIG. 18 is a plan view showing a fifth example of the disk-shaped part.
  • 19 is a cross-sectional view taken along the line YY in FIG.
  • a plurality of blade portions 74 a and 74 b are arranged in a semicircular portion of the disc-shaped portion 73.
  • Each blade portion 74a, 74b preferably has a piercing portion 77.
  • the piercing portion 77 has the same basic structure as the piercing portion 67 shown in FIGS.
  • the second container is in a state where the straw insertion portion is disposed in the upper projection plane of the blade edge portions 74a and 74b.
  • the connecting wire 75 is preferably relatively thin. The blade portions 74a and 74b can be pushed in with a smaller force.
  • a fitting part (reference numeral in FIG. 1) 10 is replaced with a plate-like portion 13, 23, 33, 43, 53, 63, 73, and a column portion (between the first lid body and the second lid body).
  • the post portion (not shown) may have blade portions 14a, 14b, 24, 34, 44, 54, 64, 74a, 74b.
  • pillar part (not shown) is a part formed in the beam shape which spans the inner wall face of a fitting part (code
  • the blade portion 74 a With respect to the connecting line 75.
  • the fitting component may further include a reinforcing beam that connects the inner wall surface of the fitting portion and the column portion (not shown) in addition to the column portion (not shown).
  • the fitting component has a column part, or a column part and a reinforcing beam part, there is a hole in a region denoted by reference numeral 78 in FIG.
  • the present invention is not limited to the shape of the support portion. Since the fitting part has a column part (not shown), the amount of resin of the fitting part can be reduced as compared with the case where the board-like parts 13, 23, 33, 43, 53, 63, 73 are provided. .
  • the blade portion when the first lid is in a swelled state due to an environmental change (for example, temperature change or atmospheric pressure change) in the first chamber, the blade portion cannot be pushed and pressed against a predetermined position of the first lid Where the bulging portion of the first lid enters the hole formed between the support column (not shown) and the fitting portion, the blade portion is stably placed at a predetermined position of the first lid. It can be pushed through.
  • the connecting means between the first container 100 and the second container 200 may be an adhesive member (not shown) provided between the first lid 120 and the second lid 220.
  • the adhesive member may be provided on the entire surface between the first lid body 120 and the second lid body 220 or may be provided on a part thereof.
  • the adhesive member is, for example, an adhesive or an adhesive tape. The present invention is not limited to the type of adhesive member.
  • the connecting means between the first container 100 and the second container 200 may be a shrink film (not shown) that adheres over the outer peripheral surface of the first container 100 and the outer peripheral surface of the second container 200.
  • the shrink film may be provided only in a part of the region including the boundary between the first lid body 120 and the second lid body 220, or may be provided on the entire outer peripheral surface of the first container 100 and the second container 200.
  • a well-known shrink film can be used for a shrink film, and this invention is not restrict
  • the connecting means between the first container 100 and the second container 200 may be a fusion of the first lid 120 and the second lid 220.
  • the connecting means is fusion, layers made of a resin having heat sealability are provided on the mutually opposing surfaces of the first lid 120 and the second lid 220.
  • the resin having heat sealability are polyethylene, polypropylene, and ethylene-vinyl acetate copolymer. A simpler structure can be obtained by fusing the connecting means.
  • FIG. 21 shows an example of a form in which the connecting means is a structure in which the (5) first container and the second container are fixed to each other. It is sectional drawing.
  • the second container main body 210 has a mounting cylinder part 216 connected downward from the flange part 215, and the mounting cylinder part It is preferable that the inner peripheral surface of 216 has an engaging convex portion 216a that protrudes radially inward.
  • the second container 200 becomes the first container. 100 is fixed.
  • the structure in which the first container and the second container are fixed to each other is not limited to the form shown in FIG. 21.
  • the form in which the flanges 115 and 215 are engaged with each other (not shown) are provided with male screw portions (not shown) and female screw portions (not shown) standing upright from the peripheral edges thereof, and the male screw portion and the female screw portion are combined with each other.
  • FIG. 11 is a front view showing an example of a straw.
  • FIG. 12 is a cross-sectional view showing a state where the straw of FIG. 11 is inserted.
  • the two-chamber container 1 showed the form which employ
  • the two-chamber container 1 inserts a straw 310 from the bottom surface portion 212 of the second container 200 and penetrates the second lid body 220 and the first lid body 120, Communicating through the second chamber 211, the second content L2 moves from the second chamber 211 to the first chamber 111 and mixes with the first content L1. Further, the mixture may be stirred with a straw 310. The obtained mixture can be drunk as it is using the straw 310.
  • the combination of the first content L1 and the second content L2 is, for example, a combination of a base liquor such as whiskey, brandy, gin, or vodka and an auxiliary material such as fruit juice or syrup.
  • a base liquor such as whiskey, brandy, gin, or vodka
  • an auxiliary material such as fruit juice or syrup.
  • the flavor for enhancing the flavor of the fruit juice is preferably added to the base sake side. If the flavor is mixed with the juice in advance, the flavor may be impaired due to changes over time.However, by adding the flavor to the base side, the flavor and juice are mixed for the first time just before drinking. High cocktails can be offered.
  • either one or both of the base liquor and the auxiliary material may contain carbon dioxide gas. When the contents contain carbon dioxide gas, the inside of the container becomes a positive pressure.
  • first content L1 and the second content L2 are merely an example, and the present invention is not limited to these. Further, it does not matter which component is the first content L1 or the second content L2. That is, a combination of fruit juice and base liquor will be described as an example.
  • First content L1 is used as juice and second content L2 is used as base liquor, or first content L1 is used as base liquor.
  • the two contents L2 may be used as a juice.
  • the straw 310 is preferably a multistage straw in which two or more tubes 311 and 312 having different diameters are nested, and the innermost tube 311 is on the drinking mouth side.
  • the number of the tubes 311 and 312 to be nested is two as an example in FIG. 11, but the present invention is not limited to this and may be three or more.
  • the length of the outermost tube 312 is such that when the straw 310 is inserted, the end 312a on the drinking mouth side of the outermost tube 312 is the first chamber.
  • the length is preferably within 111.
  • a hole having a size corresponding to the outermost pipe 312 can be formed as the communication port 2.
  • the innermost tube 311 having the smallest diameter among the tubes of the straw 310 is disposed at the communication port 2, a gap is generated between the outer peripheral surface of the straw 310 and the communication port 2, and the second chamber The movement of the contents from 211 to the first chamber 111 can be further promoted.
  • FIG. 13 is a front view showing another example of the straw.
  • 14 is a cross-sectional view taken along the line DD in FIG.
  • FIG. 15 is a cross-sectional view showing a state where the straw of FIG. 13 is inserted.
  • the straw 320 preferably has a protrusion 324 on the outer peripheral surface.
  • the straw 320 having the protrusion 324 may be a multistage straw in which a plurality of tubes 321 and 322 are nested as shown in FIG. 13, or may be a straw made of one tube. Further, as shown in FIG. 14, the protrusion 324 may be solid or may have a hollow inside.
  • the protrusion 324 is in a position where it enters the first chamber 111 when the straw 320 is inserted, as shown in FIG.
  • a hole having a size corresponding to the projection 324 can be formed as the communication port 2.
  • the straw 320 has the constriction part 323 in the part located in the communicating port 2 when the straw 320 is inserted.
  • the straws 310 and 320 are inserted from the straw insertion portion, and the tips of the straws 310 and 320 are placed in the first chamber.
  • the opening area formed in the first lid 120 until the state reaches the inner wall surface 111 (the inner wall surface of the bottom surface portion 112 in FIGS. 12, 15, 20, and 21) is the first lid.
  • the opening area formed in the second lid 220 is larger than the transverse area of the straws 310 and 320 at the same height as the second lid 220. Become.
  • “at the same height as the first lid 120 (or the second lid 220)” means that the first lid 120 (or the first lid 120 (or the second lid 220) is the same as the first lid 120 (or the second lid 220), as shown in a partially enlarged view of FIG. This means in a virtual cut surface cut by the two-lid body 220).
  • the straw 310 When the straw 310 is inserted from the straw insertion part 230a and the leading end of the straw 310 reaches the inner wall surface of the first chamber 111 (in FIG. 12, the inner wall surface of the bottom surface portion 112), the straw 310 enters the first chamber 111. It is a thick straw that has a maximum cross-sectional area that is greater than the cross-sectional area of the straw 310 at the same height as the first lid 120 and the cross-sectional area of the straw 310 at the same height as the second lid 220. It is a form.
  • the thickest straw has a protrusion 324 and / or a constricted portion on the outer peripheral surface as shown in FIGS.
  • a straw 320 having 323 may be used.
  • the form (S2 ⁇ S1) in which the opening area S1 formed in the first lid 120 is larger than the opening area S2 formed in the second lid 220 is, for example, as shown in FIG.
  • a hole having a size corresponding to the outermost tube 312 is formed in the second lid 220 using a multistage straw 310 having a drinking mouth side, and the straw 310 is formed with the outward blade portion 14a and / or the inward blade portion (see FIG. 6 (a) is pressed against the reference numeral 14b), and a hole larger than the hole formed in the second lid 220 is formed in the first lid 120 with the outward blade 14a and / or the inward blade.
  • Form (a)) Form (hereinafter referred to as form (a)).
  • the blade portion for making a hole in the first lid 120 is replaced with the outward blade portion 14a and / or the inward blade portion, the blade portion 24 shown in FIG. 7, the blade portion 34 shown in FIG. 8, and the blade shown in FIG. It may be the portion 44, the blade portion 64 shown in FIG. 16, and the blade portions 74a and 74b shown in FIG.
  • the blade part which opens a hole in the 1st cover body 120 is the blade part 54 shown in FIG. 10
  • the straw 300 is applied to the large blade part 54t
  • the 1st cover body 120 is broken by the large blade part 54t
  • a communicating port is made.
  • the communication port may be formed by breaking the second lid 220 with the small blade portion 54s.
  • the form (S2 ⁇ S1) in which the opening area S1 formed in the first lid 120 is larger than the opening area S2 formed in the second lid 220 is not limited to the form (a).
  • the form (S2 ⁇ S1) in which the opening area S1 formed in the first lid 120 is larger than the opening area S2 formed in the second lid 220 is, for example, the first lid 120 and the second lid 220. Is a splittable packaging material, and the split ratio of the first lid 120 is larger than the split ratio of the second lid 220 (hereinafter referred to as “form (b)”), the first lid 120 and the second lid 120.
  • a planned opening area (not shown) surrounded by a guide line or weakening line is formed in the lid 220, and the area of the planned opening area provided in the first lid 120 is the area of the planned opening area provided in the second lid 220.
  • a rigid member (not shown) is pasted on the first lid 120 and the second lid 220, and the area of the rigid member pasted on the first lid 120 is set to be larger than that (hereinafter referred to as “form (c)”).
  • the splitting ratio refers to the magnification of the area of the hole formed in the wall by the piercing of the straw with respect to the maximum cross-sectional area of the portion through which the wall passes among the cross-sectional area of the straw.
  • Different means may be selected from the means in the forms (a) to (e) for the first lid 120 and the second lid 220.
  • the first lid body 120 is opened along a planned opening region formed by being surrounded by a guide line or weakening line, and the second lid body is opened.
  • the body 220 is a form which opens using a blade part.
  • the opening area S1 formed in the first lid 120 is smaller than the opening area S2 formed in the second lid 220 (S2> S1).
  • the form (S2> S1) in which the opening area S1 formed in the first lid 120 is smaller than the opening area S2 formed in the second lid 220 is, for example, the first lid 120 and the second lid 220.
  • the first lid 120 has a split ratio smaller than the split ratio of the second lid 220 (hereinafter referred to as “form (f)”), the first lid 120 and the second lid 120.
  • a planned opening area (not shown) surrounded by a guide line or weakening line is formed in the lid 220, and the area of the planned opening area provided in the first lid 120 is the area of the planned opening area provided in the second lid 220.
  • a rigid member (not shown) is pasted on the first lid 120 and the second lid 220, and the area of the rigid member pasted on the first lid 120 is set to be smaller than that (hereinafter referred to as “form (g)”).
  • Form (h)) Form (less than the area of the rigid member pasted on the second lid 220) , Form (h)), and the inside of the first container 100 and the inside of the second container 200 are both in a negative pressure state, and the inside of the second container 200 is in a lower pressure state than the inside of the first container 100 (
  • form (i)) the straw 300 is applied to the small blade portion 54s of the blade portion 54 shown in FIG. 10, the first blade body 120 is broken by the small blade portion 54s to form a communication port, and the large blade portion
  • the form (henceforth form (j)) which tears the 2nd cover body 220 at 54t and forms a communicating port may be sufficient.
  • the forms (f) to (j) may be a combination of two or more.
  • Different means may be selected from the means in the forms (f) to (j) for the first lid 120 and the second lid 220.
  • the first lid body 120 is opened along a planned opening region formed by being surrounded by a guide line or weakening line, and the second lid body is opened.
  • the body 220 is a form which opens using a blade part.
  • FIG. 22 is an exploded view showing an example of a two-chamber container according to the present embodiment.
  • FIG. 23 is a perspective view showing an example of a two-chamber container according to this embodiment.
  • 24 is a cross-sectional view taken along the line AA in FIG.
  • a two-chamber container 1000 according to the present embodiment includes a first container body 110 having a first chamber 111 and an opening 113 that faces a bottom surface portion (hereinafter also referred to as a first bottom wall) 112 of the first chamber. And a first container 100 having a first lid 120 that closes the opening 113 of the first chamber, a second chamber 211, and a bottom surface portion of the second chamber (hereinafter also referred to as a second bottom wall) 212.
  • 111 and the second chamber 211 communicate with each other, and in the two-chamber container that mixes the contents filled in the first chamber 111 and the second chamber 211, respectively, the first container 100 and the second container 200 are the bottom surfaces of each other. With the sections 112 and 212 facing each other. And has a bottom portion 112 and the second container of the bottom portion 212 of the first vessel, respectively fragile portion in the opposite position (not shown).
  • the first container 100 includes a first container body 110 and a first lid body 120. 22 to 24, the first container main body 110 has a bottomed cylindrical shape having a first chamber 111 therein, and includes a bottom surface portion 112, an opening 113 facing the bottom surface portion 112, and a bottom surface portion 112. And a body 114 that connects the opening 113.
  • the bottom surface portion 112 and the body portion 114 may be integrally formed or may be joined separately.
  • the opening 113 preferably has a flange 115 extending outward from the periphery of the opening 113.
  • the shape of the first container body 110 is a cylindrical shape having a uniform diameter from the opening 113 to the bottom surface 112.
  • the present invention is not limited thereto, and the shape of the bottom surface 112 is not limited to this.
  • the shape, the inclination angle of the body portion 114, and the like may be arbitrarily changed.
  • it is good also as a cylindrical shape which makes a diameter small as it goes to the bottom face part 112.
  • FIG. 26 it is good also as a cylindrical shape which makes a diameter small as it goes to the bottom face part 112.
  • the first container 100 has a fragile portion (not shown) at a position facing at least a fragile portion (not shown) provided on the bottom surface portion 212 of the second container in the bottom surface portion 112.
  • the fragile portion may be provided on the entire bottom surface portion 112.
  • the fragile portion has a role of reducing the force required for piercing with a straw, and is, for example, a thin portion or a damage processing portion.
  • the damage processing part is, for example, a guide line or a weakening line. Moreover, it is good also as a form which provided the through-hole (not shown) in the bottom face part 112 as a weak part, and blocked the through-hole with the thin sheet
  • the first chamber 111 is a space for accommodating the first content L1 and also a space for mixing the first content L1 and the second content L2 filled in the second chamber 211. For this reason, the capacity
  • the material of the first container body 110 is not particularly limited, but is, for example, synthetic resin, paper, or metal.
  • the synthetic resin include polyethylene, polypropylene, polyethylene terephthalate, polystyrene, polyamide, ethylene-vinyl acetate copolymer, ethylene-vinyl alcohol copolymer, and polyvinylidene chloride.
  • the metal is, for example, aluminum or steel.
  • the first container body 110 may be formed of a single layer or a laminate.
  • the laminated body is, for example, a laminated body of two or more kinds of synthetic resins, a laminated body of synthetic resin and paper, a laminated body of synthetic resin and metal, or a laminated body of synthetic resin, paper, and metal.
  • the thickness of the first container body 110 is preferably 0.2 to 1.5 mm, and more preferably 0.3 to 0.8 mm. If it is less than 0.2 mm, the strength may be insufficient and the film may be deformed in the distribution process. If it exceeds 1.5 mm, the amount of material used is excessive, which is not preferable in terms of environment and cost. Further, when a thin portion is provided as the fragile portion (not shown), the thickness of the bottom portion 112 is preferably 0.1 to 0.5 mm. If it is less than 0.1 mm, the fluidity of the resin deteriorates, and molding failure may occur. If it exceeds 0.5 mm, a large force may be required to penetrate and penetrate with a straw, or it may not be possible to penetrate.
  • the first lid 120 closes the opening 113 of the first chamber. As shown in FIGS. 22 to 24, the first lid 120 has a sheet shape and is joined to the periphery of the opening 113. When the opening 113 has the flange 115, the first lid 120 is preferably joined to the flange 115.
  • the bonding method is not particularly limited, and examples thereof include a method of bonding by welding such as thermal welding, ultrasonic welding, high frequency welding, and laser welding, and a method of bonding using auxiliary materials such as an adhesive and an adhesive tape.
  • the material of the first lid 120 is not particularly limited, but is exemplified as the material of the first container body 110, for example. Moreover, the 1st cover body 120 may be formed with a single layer body similarly to the 1st container main body 110, or may be formed with a laminated body.
  • the thickness of the first lid 120 is generally 5 ⁇ m to 100 ⁇ m. The present invention is not limited to the thickness of the first lid 120.
  • the second container 200 has a second container main body 210 and a second lid body 220.
  • the second container main body 210 has a bottomed cylindrical shape having a second chamber 211 therein, a bottom surface portion 212, a body portion 214 standing from the bottom surface portion 212, and an opening formed at the upper end of the body portion 214. 213.
  • the second chamber 211 is a space for accommodating the second content L2.
  • the bottom surface portion 212 and the body portion 214 may be integrally formed or may be joined separately.
  • the opening 213 preferably has a flange 215 that extends outward from the periphery of the opening 213.
  • the shape of the bottom surface portion 212 of the second chamber may be the same as or similar to the shape of the bottom surface portion 112 of the first chamber, as shown in FIG.
  • the second container 200 has a fragile portion (not shown) at a position facing at least a fragile portion (not shown) provided on the bottom surface portion 112 of the first container in the bottom surface portion 212.
  • the fragile portion may be provided on the entire bottom surface portion 212.
  • the fragile portion has a role of reducing the force required for piercing with a straw, and is, for example, a thin portion or a damage processing portion.
  • the damage processing part is, for example, a guide line or a weakening line.
  • the material of the second container body 210 is not particularly limited, but is exemplified as the material of the first container body 110, for example. Further, the second container body 210 may be formed of a single layer body or a stacked body, similarly to the first container body 110.
  • the thickness of the second container body 210 is preferably 0.2 to 1.5 mm, and more preferably 0.3 to 0.8 mm. If it is less than 0.2 mm, the strength may be insufficient and the film may be deformed in the distribution process. If it exceeds 1.5 mm, the amount of material used is excessive, which is not preferable in terms of environment and cost. Further, when a thin portion is provided as the fragile portion (not shown), the thickness of the bottom surface portion 212 is preferably 0.1 to 0.5 mm. If it is less than 0.1 mm, the fluidity of the resin deteriorates, and molding failure may occur. If it exceeds 0.5 mm, a large force may be required to penetrate and penetrate with a straw, or it may not be possible to penetrate.
  • the second lid 220 closes the opening 213 of the second chamber.
  • the second lid 220 has a sheet shape as shown in FIGS. 22 to 24 and is joined to the upper end of the second container body 210.
  • the second lid body 220 is preferably joined to the flange portion 215.
  • the material of the second lid 220 is not particularly limited, but is exemplified as the material of the first container body 210, for example. Further, the second lid body 220 may be formed of a single layer body or a stacked body similarly to the first container body 110.
  • the thickness of the second lid 220 is generally 5 ⁇ m to 100 ⁇ m. The present invention is not limited to the thickness of the second lid 220.
  • the second container 200 has a straw insertion part 221 in the second lid 220.
  • the straw insertion part 221 showed the form which only attaches a mark to the outer surface of the 2nd cover body 220. As shown in FIG. The present invention is not limited to this form.
  • the second lid 220 is preferably embossed on the outer surface (the surface opposite to the second chamber 211). In the embossing process, by providing unevenness on the outer surface of the second lid 220, the straw can be made less slippery and the straw can be pierced more easily.
  • the embossing may be performed on the entire outer surface of the second lid 220 or may be partially performed on a region including the straw insertion portion 221.
  • the inside of the first container 100 is in a lower pressure state than the inside of the second container 200.
  • the method of setting the inside of the first container 100 to a lower pressure state than the inside of the second container 200 is, for example, a form in which the inside of the first container 100 is set to a negative pressure and a form in which the inside of the second container 200 is set to a positive pressure. .
  • the inside of the first container 100 is in a negative pressure state.
  • the negative pressure state refers to a state where the pressure in the container is smaller than the atmospheric pressure.
  • a larger communication port can be formed when the bottom surface portion 212 of the second container and the bottom surface portion 112 of the first container are penetrated with a straw.
  • the method for bringing the inside of the first container 100 into a negative pressure state is not particularly limited.
  • the first container 111 is filled with the first content L1 by hot pack filling and cooled to cool the first container. This is a method of reducing the pressure in 100.
  • the inside of the second container 200 may be in a positive pressure state.
  • the positive pressure state refers to a state where the pressure in the container is larger than the atmospheric pressure.
  • the second lid 220 is slightly bulged outward.
  • the method of making the inside of the second container positive pressure is not particularly limited.
  • the pressure in the second container 200 is increased by sealing the second container 200 with a gas such as carbon dioxide gas or nitrogen gas.
  • the method is a method of increasing the pressure in the second container 200 by filling a liquid containing carbon dioxide gas as the second content L2.
  • the inside of the first container 100 may be in a positive pressure state.
  • the communication port formed by piercing the straw into the bottom surface portion 212 of the second container and the bottom surface portion 112 of the first container is enlarged, or the air flow path is increased.
  • the contents easily move from the second chamber 211 to the first chamber 111.
  • the first container 100 and the second container 200 are connected with the bottom surfaces 112 and 212 facing each other.
  • the connecting means between the first container 100 and the second container 200 includes: (1) a fitting part 10 (shown in FIG. 22) for fixing the bottom surface portion 112 of the first container and the bottom surface portion 212 of the second container; ) A structure (not shown) in which the first container 100 and the second container 200 are fixed to each other; and (3) an adhesive member provided between the bottom surface portion 112 of the first container and the bottom surface portion 212 of the second container ( (4) Shrink film (not shown) in close contact with the outer peripheral surface of the first container 100 and the outer peripheral surface of the second container 200 or (5) the bottom surface portion 112 of the first container and the bottom surface portion 212 of the second container. And at least one of (1) to (5).
  • the fitting component 10 has the cyclic
  • the fitting component 10 has a central protrusion 17 on the inner wall surface of the fitting portion 11.
  • the fitting component 10 has the center protrusion 17 inserted between the bottom surface portions 112 and 212, and the contact portions of the bottom surface portions 112 and 212 and the center protrusion 17 and the contact portions of the body portions 114 and 214 and the fitting portion 11. Are joined to connect the first container 100 and the second container 200 together.
  • the fitting component 10 may further include a plate-like portion (not shown) interposed between the bottom surface portions 112 and 212, and the plate-like portion may have a blade portion.
  • the disk-shaped portion is, for example, the disk-shaped portion shown in FIGS. 1, 6 to 10, and 16 to 19.
  • the connection means between the first container 100 and the second container 200 may be a fitting means (not shown) that fixes the bottom surface portion 112 of the first container and the bottom surface portion 212 of the second container.
  • the fitting by fixing the bottom surface portions 112 and 212 includes, for example, a configuration in which legs (not shown) extending from the peripheral edges of the bottom surface portions 112 and 212 are provided, and the legs are engaged with each other.
  • a leg portion (not shown) extending from the peripheral edge of 212 is provided, and a male screw or a female screw is provided on each leg portion, and the male screw and the female screw are combined with each other.
  • the connecting means between the first container 100 and the second container 200 may be an adhesive member (not shown) provided between the bottom surface portion 112 of the first container and the bottom surface portion 212 of the second container.
  • the adhesive member may be provided on the entire surface between the bottom surface portion 112 of the first container and the bottom surface portion 212 of the second container, or may be provided on a part thereof.
  • the adhesive member is, for example, an adhesive or an adhesive tape. The present invention is not limited to the type of adhesive member.
  • the connecting means between the first container 100 and the second container 200 may be a shrink film (not shown) that adheres over the outer peripheral surface of the first container 100 and the outer peripheral surface of the second container 200.
  • the shrink film is provided only in a part of the region including the boundary between the bottom surface portion 112 of the first container and the bottom surface portion 212 of the second container, or on the entire outer peripheral surface of the first container 100 and the second container 200. It may be provided.
  • a well-known shrink film can be used for a shrink film, and this invention is not restrict
  • the connecting means between the first container 100 and the second container 200 may be fusion between the bottom surface portion 112 of the first container and the bottom surface portion 212 of the second container.
  • layers made of a resin having heat sealability are provided on the mutually opposing surfaces of the bottom surface portion 112 of the first container and the bottom surface portion 212 of the second container.
  • the resin having heat sealability are polyethylene, polypropylene, and ethylene-vinyl acetate copolymer. A simpler structure can be obtained by fusing the connecting means.
  • FIG. 26 is a cross-sectional view showing a state where a straw is inserted.
  • the two-chamber container 1000 inserts the straw 310 into the second chamber 211 from the straw insertion part 221. Further, when the straw 310 is pushed in, the straw 310 penetrates the bottom surface portion 212 of the second container and the bottom surface portion 112 of the first container to form the communication port 2 and enters the first chamber 111. Then, the second content L2 moves from the second chamber 211 to the first chamber 111 through the communication port 2 and moves.
  • the mixing of the first content L1 and the second content L2 may be performed, for example, by shaking the two-chamber container 1000 or stirring with the straw 310. The resulting mixture can be drunk using a straw 310.
  • the straw 310 is preferably a multistage straw in which two or more tubes 311 and 312 having different diameters are nested and the innermost tube 311 is on the mouth side.
  • the number of the nested tubes 311 and 312 is two as an example in FIG. 26, but the present invention is not limited to this and may be three or more.
  • the length of the outermost tube 312 is such that when the straw 310 is inserted, the end 312a on the drinking mouth side of the outermost tube 312 is the first chamber.
  • the length is preferably within 111. Accordingly, as shown in FIG. 26, a hole having a size corresponding to the outermost pipe 312 can be formed as the communication port 2.
  • the innermost pipe 311 having the smallest diameter among the pipes of the straw 310 is disposed at the communication port 2, the flow of air accompanying the passage of the contents is not hindered, and the second chamber 211 is The movement of the contents to the room 111 can be further promoted.
  • the straw 320 preferably has a protrusion 324 on the outer peripheral surface.
  • the straw 320 having the protrusion 324 may be a multistage straw in which a plurality of tubes 321 and 322 are nested, or may be a straw composed of one tube.
  • the protrusion 324 may be solid or may have a hollow inside.
  • the protrusion 324 is preferably in a position where the first chamber is entered when the straw 320 is inserted into the two-chamber container.
  • a hole having a size corresponding to the protrusion 324 can be formed as a communication port. For this reason, a hole larger than the outer diameter of the straw tubes 321 and 322 can be formed, and the air flow accompanying the passage of the contents is not obstructed. The movement of the contents can be further promoted.
  • the straw 320 has the constriction part 323 in the part located in a communicating port when the straw 320 is inserted. By having the constricted part 323, the clearance gap between the outer peripheral surface of the straw 320 and a communicating port can be enlarged, and the movement of the content from a 2nd chamber to a 1st chamber can further be accelerated
  • the combination of the first content L1 and the second content L2 is, for example, a combination of a base liquor such as whiskey, brandy, gin, or vodka and an auxiliary material such as fruit juice or syrup.
  • a base liquor such as whiskey, brandy, gin, or vodka
  • an auxiliary material such as fruit juice or syrup.
  • the flavor for enhancing the flavor of the fruit juice is preferably added to the base sake side. If the flavor is mixed with the juice in advance, the flavor may be impaired due to changes over time.However, by adding the flavor to the base side, the flavor and juice are mixed for the first time just before drinking. High cocktails can be offered.
  • either one or both of the base liquor and the auxiliary material may contain carbon dioxide gas. When the contents contain carbon dioxide gas, the inside of the container becomes a positive pressure.
  • first content L1 and the second content L2 are merely an example, and the present invention is not limited to these. Further, it does not matter which component is the first content L1 or the second content L2. That is, a combination of fruit juice and base liquor will be described as an example.
  • First content L1 is used as juice and second content L2 is used as base liquor, or first content L1 is used as base liquor.
  • the two contents L2 may be used as a juice.
  • the form in which the bottom surface portion 212 of the second container is arranged in a state of facing the entire bottom surface portion 112 of the first container is shown, but the present invention is not limited to this.
  • the two-chamber container (not shown) according to the modified form may be arranged in a state where the bottom surface portion 212 of the second container faces a partial region of the bottom surface portion 112 of the first container.
  • the user can choose to add the second content to the first content. That is, if you want to add the second content to the first content, insert a straw from the second lid, and if you do not want to add the second content to the first content, Of these, a straw can be inserted into the exposed portion.
  • the straw 310 is inserted from the straw insertion portion, and the tip of the straw 310 is inserted into the inner wall surface of the first chamber 111 (in FIG. 26, the first lid 120).
  • the inner surface of the first bottom wall 112 is larger than the cross-sectional area of the straw 310 at the same height as the first bottom wall 112 until the second bottom wall is reached.
  • the opening area formed in 212 is larger than the cross-sectional area of the straw 310 at the same height as the second bottom wall 212.
  • “at the same height as the first bottom wall 112 (or the second bottom wall 212)” means the first bottom wall 112 (or the second bottom wall as shown in the partially enlarged view of FIG. 26). 212) in the virtual cut surface cut.
  • the straw 310 is inserted from the straw insertion part 221, and the leading end of the straw 310 reaches the inner wall surface of the first chamber 111 (in FIG. 26, the inner wall surface of the second lid 120)
  • the straw 310 111 is larger than both the cross-sectional area of the straw 310 at the same height as the first bottom wall 112 and the cross-sectional area of the straw 310 at the same height as the second bottom wall 212.
  • the thick straw may be a straw 320 having a protrusion 324 on the outer peripheral surface thereof as shown in FIG. 13 in addition to the multistage straw 310 having the innermost tube 311 on the drinking mouth side as shown in FIG. Good.
  • the form (S2 ⁇ S1) in which the opening area S1 formed in the first bottom wall 112 is larger than the opening area S2 formed in the second bottom wall 212 is, for example, the first bottom wall 112 and the second bottom.
  • a planned opening area (not shown) surrounded by a guide line or weakening line is formed on the wall 212, and the area of the planned opening area provided on the first bottom wall 112 is larger than the area of the planned opening area provided on the second bottom wall 212. It is a form to enlarge.
  • the opening area S1 formed in the first bottom wall 112 is smaller than the opening area S2 formed in the second bottom wall 212 (S2> S1).
  • the form (S2> S1) in which the opening area S1 formed in the first bottom wall 112 is smaller than the opening area S2 formed in the second bottom wall 212 is, for example, the first bottom wall 112 and the second bottom wall 212.
  • a planned opening area (not shown) surrounded by a guide line or weakening line is formed on the first bottom wall 112, and the area of the planned opening area provided on the first bottom wall 112 is smaller than the area of the planned opening area provided on the second bottom wall 212. It is a form to do.
  • the first wall is a first lid that closes the opening of the first chamber, and the second wall faces the opening of the second chamber.
  • the second bottom wall is a form (third embodiment), the first wall is the first bottom wall facing the opening of the first chamber, and the second wall closes the opening of the second chamber.
  • the form (4th embodiment) which is a cover body may be sufficient.
  • the fitting part may have a disk-shaped part interposed between the first wall and the second wall, and the disk-shaped part may have a blade part.
  • the disk-shaped portion is, for example, the disk-shaped portion shown in FIGS. 1, 6 to 10, and 16 to 19.
  • the two-chamber container includes a first container having a first chamber and an opening in the first chamber, a second chamber and an opening in the second chamber.
  • the second container has a straw insertion part on a wall different from the second wall, and communicates the first chamber and the second chamber by inserting the straw,
  • Step 2A for forming a communication port Ra having a gap with the outer peripheral surface of the straw passing through the second wall;
  • the communication port having a gap with the outer peripheral surface of the straw passing through the second wall (or the first wall) refers to the period until the straw reaches the inner wall surface of the first chamber. It means that there is a stage in which a gap is generated between the outer peripheral surface of the straw and the communication port. Then, the contents can be quickly circulated through the generated gap, so that the two liquids can be mixed quickly.
  • the two-liquid mixing method according to the present embodiment will be described more specifically with reference to FIG. 20, taking as an example the case where the two-chamber container is the two-chamber container 1 according to the first embodiment.
  • the two-chamber container 1 includes only the opening assisting means Q2.
  • the straw 310 is inserted into the second chamber 211 from the straw insertion part 230a (step 1A).
  • a communication port having a size corresponding to the outermost tube 312 of the straw 310 is formed in the second lid 220 with the straw 310.
  • a gap is formed between the communication port and the straw 310 when the end 312a on the drinking mouth side of the outermost tube 312 of the straw enters the first chamber 111 (step 2A).
  • a communication port having a gap with the straw 310 is formed in the first lid 120 with the blade portion 14a as the opening assisting means Q2 (step 3A).
  • steps 1A to 3A there is a stage in which a gap is formed between the second lid 220 and the straw 310 and between the first lid 120 and the straw 310, and the contents move through the gap. Therefore, the flow of air accompanying the passage of contents from the second chamber 211 to the first chamber 111 is not hindered.
  • the communication port of the first lid 120 can be made larger than the communication port of the second lid 220, the moving speed of the contents from the second chamber 211 to the first chamber 111 can be further increased. The liquid can be mixed more rapidly.
  • the opening assisting means Q1 forms the communication port Ra in at least one of the second chamber 211 and the second lid 220 itself. It is a form with a means for doing.
  • the form with the means for forming the communication port Ra in the second chamber 211 is, for example, a form in which the inside of the second chamber 211 is set to a negative pressure, or for cutting the second lid 220 in the second chamber 211. It is a form which arrange
  • the second lid 220 itself has a means for forming the communication port Ra.
  • the second lid 220 is formed of a splittable packaging material, and the second lid 220 is surrounded by a guide wire or weakening wire. This is a mode in which a planned opening region is formed, and a mode in which a rigid member (not shown) is attached to the second lid 220.
  • the opening assisting means Q2 is provided between the second lid body 220 and the first lid body 120, the first lid body 120 itself, and the first chamber.
  • 111 is a form in which there is means for forming the communication port Rb in at least one of the insides.
  • the blades 14a and 14b shown in FIGS. 6 to 9 and FIGS. 16 to 19 are provided with means for forming the communication port Rb between the second lid 220 and the first lid 120. 24, 34, 44, 54, 64, 74a, 74b.
  • the first lid 120 itself has a means for forming the communication port Rb.
  • the first lid 120 is formed of a splittable packaging material, and the first lid 120 is surrounded by a guide wire or weakening wire.
  • This is a form in which a planned opening area is formed, and a form in which a rigid member (not shown) is attached to the first lid 120.
  • the form with the means for forming the communication port Rb in the first chamber 111 is, for example, a form in which the inside of the first chamber 111 is set to a negative pressure.
  • the two-chamber container is not limited to the two-chamber container 1 according to the first embodiment, and may be the two-chamber container 1000 according to the second embodiment.
  • the opening assisting means Q1 forms the communication port Ra in at least one of the second chamber 211 and the second bottom wall 212 itself. It is a form with a means for doing.
  • the form with the means for forming the communication port Ra in the second chamber 211 is, for example, a form in which a cutting means for cutting the second lid 220 is arranged in the second chamber 211.
  • the form with the means for forming the communication port Ra in the second bottom wall 212 itself is, for example, a form in which a planned opening area surrounded by a guide line or a weakening line is formed in the second bottom wall 212.
  • the opening assisting means Q2 is provided between the second bottom wall 212 and the first bottom wall 112, the first bottom wall 112 itself, and the first chamber.
  • 111 is a form in which there is means for forming the communication port Rb in at least one of the insides.
  • the plate-like portion shown in FIGS. 1, 6 to 10, and 16 to 19 is provided with a means for forming the communication port Rb between the second bottom wall 212 and the first bottom wall 112. Is disposed between the second bottom wall 212 and the first bottom wall 112.
  • the form with the means for forming the communication port Rb in the first bottom wall 112 itself is, for example, the form in which the planned opening area surrounded by the guide line or the weakening line is formed in the first bottom wall 112.
  • the form with the means for forming the communication port Rb in the first chamber 111 is, for example, a form in which the inside of the first chamber 111 is set to a negative pressure.
  • the two-chamber container includes a first container having a first chamber and an opening in the first chamber, a second chamber and an opening in the second chamber.
  • the second container has a straw insertion portion on a wall different from the second wall, and communicates the first chamber and the second chamber by inserting the straw,
  • the two-liquid mixing method according to the present embodiment will be described more specifically with reference to FIGS. 10A and 10B, taking as an example the case where the two-chamber container is the two-chamber container 1 according to the first embodiment.
  • the two-chamber container 1 includes only the opening assisting means Q4.
  • the straw 300 is inserted into the second chamber from the straw insertion part (step 1B).
  • a communication port is formed in the second lid by the straw 300 (Step 2B).
  • the straw 300 is applied to the large blade portion 54t of the blade portion 54 as the opening assisting means Q4 (step 3B).
  • the large blade portion 54t forms a communication port in the first lid body
  • the small blade portion 54s forms a vent hole in the second lid body.
  • a gap is formed between the communication port and the outer peripheral surface of the straw 300 (step 4B).
  • the communication port formed in the second lid body may have a gap with the outer peripheral surface of the straw or may not have a gap. Since the vent hole is formed in the second lid body, the communication port formed in the second lid body does not have a gap between it and the outer peripheral surface of the straw. Does not obstruct the flow. For this reason, the content can be distributed more smoothly.
  • the vent hole functions as an air passage when the contents are distributed, or functions as a passage for the contents.
  • step 4B the formation of the communication port Rd to the first lid body is a vent hole to the second lid body. Is carried out substantially simultaneously with the formation of.
  • Step 4B may be a step of forming a vent hole in the second lid after forming the communication port Rd in the first lid.
  • the form for forming the air holes in the second lid is, for example, that the small blade portion 54s of FIG. It is a form which inclines to the cover body side (lower side of Fig.10 (a)).
  • the two-chamber container 1 may further have an opening assisting means Q3, and the opening assisting means Q3 can adopt the forms enumerated in the opening assisting means Q1.
  • the two-chamber container 1 may be the two-chamber container 1000 according to the second embodiment.

Landscapes

  • Engineering & Computer Science (AREA)
  • Mechanical Engineering (AREA)
  • Packages (AREA)
  • Closures For Containers (AREA)
  • Packging For Living Organisms, Food Or Medicinal Products That Are Sensitive To Environmental Conditiond (AREA)
  • Details Of Rigid Or Semi-Rigid Containers (AREA)
PCT/JP2013/070991 2012-09-21 2013-08-02 二室容器及び二液の混合方法 Ceased WO2014045730A1 (ja)

Applications Claiming Priority (6)

Application Number Priority Date Filing Date Title
JP2012-208725 2012-09-21
JP2012208725 2012-09-21
JP2012-208719 2012-09-21
JP2012208719 2012-09-21
JP2013159511A JP5427999B1 (ja) 2012-09-21 2013-07-31 二室容器
JP2013-159511 2013-07-31

Publications (1)

Publication Number Publication Date
WO2014045730A1 true WO2014045730A1 (ja) 2014-03-27

Family

ID=50287368

Family Applications (1)

Application Number Title Priority Date Filing Date
PCT/JP2013/070991 Ceased WO2014045730A1 (ja) 2012-09-21 2013-08-02 二室容器及び二液の混合方法

Country Status (2)

Country Link
JP (2) JP5427999B1 (enExample)
WO (1) WO2014045730A1 (enExample)

Cited By (1)

* Cited by examiner, † Cited by third party
Publication number Priority date Publication date Assignee Title
WO2019210893A1 (de) * 2018-05-02 2019-11-07 Lars Lange Container mit einer ersten zu mischenden flüssigkeit

Families Citing this family (5)

* Cited by examiner, † Cited by third party
Publication number Priority date Publication date Assignee Title
JP6226755B2 (ja) * 2014-01-20 2017-11-08 キリン株式会社 蓋付カップ容器
JP6298750B2 (ja) * 2014-09-30 2018-03-20 キリン株式会社 蓋付カップ容器
JP6461723B2 (ja) * 2015-06-12 2019-01-30 信越ファインテック株式会社 容器用連結部材
JP6930905B2 (ja) * 2017-11-30 2021-09-01 株式会社吉野工業所 容器用蓋体及び蓋付き容器
CN113928739B (zh) * 2021-09-06 2023-06-13 浙江理工大学 一种可变色和口味互搭的趣味饮料包装

Citations (4)

* Cited by examiner, † Cited by third party
Publication number Priority date Publication date Assignee Title
JPH043986U (enExample) * 1990-04-26 1992-01-14
JP2004299760A (ja) * 2003-03-31 2004-10-28 Japan Crown Cork Co Ltd 補助物質を収容した補助部材を含む容器蓋
JP2009067412A (ja) * 2007-09-11 2009-04-02 Kikuji Yamaguchi 二剤混合容器
JP2010280419A (ja) * 2009-06-05 2010-12-16 Nippon Straw Co Ltd 逆伸縮ストローの差し込み口を有する被せ蓋

Family Cites Families (10)

* Cited by examiner, † Cited by third party
Publication number Priority date Publication date Assignee Title
JPS4727016Y1 (enExample) * 1969-09-01 1972-08-18
JPS503630Y1 (enExample) * 1970-09-28 1975-01-30
JPS58130962U (ja) * 1982-02-25 1983-09-03 神崎製紙株式会社 食品包装容器
JPS6126074U (ja) * 1984-07-23 1986-02-17 赤城乳業株式会社 プラスチツク製食品包装容器
JPH01139362A (ja) * 1987-08-07 1989-05-31 Hideyo Fujii 飲料容器用キャップ状カバーと添加物用小容器並びにそれを利用した飲料用容器
JP3840774B2 (ja) * 1997-12-25 2006-11-01 ニプロ株式会社 用時調製型薬液容器
JP4090577B2 (ja) * 1998-06-18 2008-05-28 大日本印刷株式会社 包装体
JP2005289423A (ja) * 2004-03-31 2005-10-20 Toyo Seikan Kaisha Ltd 容器
JP2010070210A (ja) * 2008-09-18 2010-04-02 Ishida Co Ltd 容器
CN102481228B (zh) * 2009-09-08 2014-07-09 泰尔茂株式会社 混合器具及双头针的刺穿方法

Patent Citations (4)

* Cited by examiner, † Cited by third party
Publication number Priority date Publication date Assignee Title
JPH043986U (enExample) * 1990-04-26 1992-01-14
JP2004299760A (ja) * 2003-03-31 2004-10-28 Japan Crown Cork Co Ltd 補助物質を収容した補助部材を含む容器蓋
JP2009067412A (ja) * 2007-09-11 2009-04-02 Kikuji Yamaguchi 二剤混合容器
JP2010280419A (ja) * 2009-06-05 2010-12-16 Nippon Straw Co Ltd 逆伸縮ストローの差し込み口を有する被せ蓋

Cited By (1)

* Cited by examiner, † Cited by third party
Publication number Priority date Publication date Assignee Title
WO2019210893A1 (de) * 2018-05-02 2019-11-07 Lars Lange Container mit einer ersten zu mischenden flüssigkeit

Also Published As

Publication number Publication date
JP5427999B1 (ja) 2014-02-26
JP2014076856A (ja) 2014-05-01
JP2014076855A (ja) 2014-05-01
JP6202611B2 (ja) 2017-09-27

Similar Documents

Publication Publication Date Title
JP6202611B2 (ja) 二室容器及び二液の混合方法
US7281649B2 (en) Bottom seal for container
US5215214A (en) Multi-compartment liquid storage container
TWI468158B (zh) 營養物質輸送容器
JP2001519298A (ja) 2区画式包装
US20020126921A1 (en) Flexible stand-up pouch constructions for dispensing liquids
EP3162731B1 (en) Pouch type package and associated method for adapatation of such a package
US9309036B2 (en) Package with enclosed utensil
JP2012030884A (ja) 液体用容器及び液体用容器の蓋
JP7134765B2 (ja) 加熱容器
CA2542075A1 (en) Fluid container pouch
JP2014061925A (ja) 二室容器
JP2014061926A (ja) 二室容器
JP2018104017A (ja) 容器包装体
KR200406725Y1 (ko) 음료용 포장용기
JP2014148349A (ja) 紙容器
WO2019222792A1 (en) Liquid container
TWM589176U (zh) 飲品容器
JP3701343B2 (ja) バッグインボックス用包装袋
JP6877990B2 (ja) 容器包装体
JP3746286B2 (ja) 添加物を保持しそしてこれを容器に加える方法、容器、及び容器の製造方法
JP2017024801A (ja) 合成樹脂製蓋部材
JP2019508334A (ja) 包装容器に取り付けられる中空体及び前記中空体を作製するための方法
JP2004018079A (ja) バッグインボックス
EP3246268A1 (en) Container with multiple compartments that allow mixing before opening

Legal Events

Date Code Title Description
121 Ep: the epo has been informed by wipo that ep was designated in this application

Ref document number: 13839803

Country of ref document: EP

Kind code of ref document: A1

NENP Non-entry into the national phase

Ref country code: DE

122 Ep: pct application non-entry in european phase

Ref document number: 13839803

Country of ref document: EP

Kind code of ref document: A1