WO2014034783A1 - 反射型表示装置 - Google Patents

反射型表示装置 Download PDF

Info

Publication number
WO2014034783A1
WO2014034783A1 PCT/JP2013/073158 JP2013073158W WO2014034783A1 WO 2014034783 A1 WO2014034783 A1 WO 2014034783A1 JP 2013073158 W JP2013073158 W JP 2013073158W WO 2014034783 A1 WO2014034783 A1 WO 2014034783A1
Authority
WO
WIPO (PCT)
Prior art keywords
substrate
partition wall
adhesive layer
width
partition
Prior art date
Legal status (The legal status is an assumption and is not a legal conclusion. Google has not performed a legal analysis and makes no representation as to the accuracy of the status listed.)
Ceased
Application number
PCT/JP2013/073158
Other languages
English (en)
French (fr)
Japanese (ja)
Inventor
雅規 梅谷
徹 三好
健人 佐藤
Current Assignee (The listed assignees may be inaccurate. Google has not performed a legal analysis and makes no representation or warranty as to the accuracy of the list.)
Dai Nippon Printing Co Ltd
Original Assignee
Dai Nippon Printing Co Ltd
Priority date (The priority date is an assumption and is not a legal conclusion. Google has not performed a legal analysis and makes no representation as to the accuracy of the date listed.)
Filing date
Publication date
Application filed by Dai Nippon Printing Co Ltd filed Critical Dai Nippon Printing Co Ltd
Publication of WO2014034783A1 publication Critical patent/WO2014034783A1/ja
Anticipated expiration legal-status Critical
Ceased legal-status Critical Current

Links

Images

Classifications

    • GPHYSICS
    • G02OPTICS
    • G02FOPTICAL DEVICES OR ARRANGEMENTS FOR THE CONTROL OF LIGHT BY MODIFICATION OF THE OPTICAL PROPERTIES OF THE MEDIA OF THE ELEMENTS INVOLVED THEREIN; NON-LINEAR OPTICS; FREQUENCY-CHANGING OF LIGHT; OPTICAL LOGIC ELEMENTS; OPTICAL ANALOGUE/DIGITAL CONVERTERS
    • G02F1/00Devices or arrangements for the control of the intensity, colour, phase, polarisation or direction of light arriving from an independent light source, e.g. switching, gating or modulating; Non-linear optics
    • G02F1/01Devices or arrangements for the control of the intensity, colour, phase, polarisation or direction of light arriving from an independent light source, e.g. switching, gating or modulating; Non-linear optics for the control of the intensity, phase, polarisation or colour 
    • G02F1/0102Constructional details, not otherwise provided for in this subclass
    • G02F1/0107Gaskets, spacers or sealing of cells; Filling and closing of cells
    • BPERFORMING OPERATIONS; TRANSPORTING
    • B32LAYERED PRODUCTS
    • B32BLAYERED PRODUCTS, i.e. PRODUCTS BUILT-UP OF STRATA OF FLAT OR NON-FLAT, e.g. CELLULAR OR HONEYCOMB, FORM
    • B32B3/00Layered products comprising a layer with external or internal discontinuities or unevennesses, or a layer of non-planar shape; Layered products comprising a layer having particular features of form
    • B32B3/26Layered products comprising a layer with external or internal discontinuities or unevennesses, or a layer of non-planar shape; Layered products comprising a layer having particular features of form characterised by a particular shape of the outline of the cross-section of a continuous layer; characterised by a layer with cavities or internal voids ; characterised by an apertured layer
    • B32B3/266Layered products comprising a layer with external or internal discontinuities or unevennesses, or a layer of non-planar shape; Layered products comprising a layer having particular features of form characterised by a particular shape of the outline of the cross-section of a continuous layer; characterised by a layer with cavities or internal voids ; characterised by an apertured layer characterised by an apertured layer, the apertures going through the whole thickness of the layer, e.g. expanded metal, perforated layer, slit layer regular cells B32B3/12
    • BPERFORMING OPERATIONS; TRANSPORTING
    • B32LAYERED PRODUCTS
    • B32BLAYERED PRODUCTS, i.e. PRODUCTS BUILT-UP OF STRATA OF FLAT OR NON-FLAT, e.g. CELLULAR OR HONEYCOMB, FORM
    • B32B37/00Methods or apparatus for laminating, e.g. by curing or by ultrasonic bonding
    • B32B37/12Methods or apparatus for laminating, e.g. by curing or by ultrasonic bonding characterised by using adhesives
    • B32B37/1284Application of adhesive
    • BPERFORMING OPERATIONS; TRANSPORTING
    • B32LAYERED PRODUCTS
    • B32BLAYERED PRODUCTS, i.e. PRODUCTS BUILT-UP OF STRATA OF FLAT OR NON-FLAT, e.g. CELLULAR OR HONEYCOMB, FORM
    • B32B7/00Layered products characterised by the relation between layers; Layered products characterised by the relative orientation of features between layers, or by the relative values of a measurable parameter between layers, i.e. products comprising layers having different physical, chemical or physicochemical properties; Layered products characterised by the interconnection of layers
    • B32B7/04Interconnection of layers
    • B32B7/12Interconnection of layers using interposed adhesives or interposed materials with bonding properties
    • GPHYSICS
    • G02OPTICS
    • G02FOPTICAL DEVICES OR ARRANGEMENTS FOR THE CONTROL OF LIGHT BY MODIFICATION OF THE OPTICAL PROPERTIES OF THE MEDIA OF THE ELEMENTS INVOLVED THEREIN; NON-LINEAR OPTICS; FREQUENCY-CHANGING OF LIGHT; OPTICAL LOGIC ELEMENTS; OPTICAL ANALOGUE/DIGITAL CONVERTERS
    • G02F1/00Devices or arrangements for the control of the intensity, colour, phase, polarisation or direction of light arriving from an independent light source, e.g. switching, gating or modulating; Non-linear optics
    • G02F1/01Devices or arrangements for the control of the intensity, colour, phase, polarisation or direction of light arriving from an independent light source, e.g. switching, gating or modulating; Non-linear optics for the control of the intensity, phase, polarisation or colour 
    • G02F1/165Devices or arrangements for the control of the intensity, colour, phase, polarisation or direction of light arriving from an independent light source, e.g. switching, gating or modulating; Non-linear optics for the control of the intensity, phase, polarisation or colour  based on translational movement of particles in a fluid under the influence of an applied field
    • G02F1/166Devices or arrangements for the control of the intensity, colour, phase, polarisation or direction of light arriving from an independent light source, e.g. switching, gating or modulating; Non-linear optics for the control of the intensity, phase, polarisation or colour  based on translational movement of particles in a fluid under the influence of an applied field characterised by the electro-optical or magneto-optical effect
    • G02F1/167Devices or arrangements for the control of the intensity, colour, phase, polarisation or direction of light arriving from an independent light source, e.g. switching, gating or modulating; Non-linear optics for the control of the intensity, phase, polarisation or colour  based on translational movement of particles in a fluid under the influence of an applied field characterised by the electro-optical or magneto-optical effect by electrophoresis
    • BPERFORMING OPERATIONS; TRANSPORTING
    • B32LAYERED PRODUCTS
    • B32BLAYERED PRODUCTS, i.e. PRODUCTS BUILT-UP OF STRATA OF FLAT OR NON-FLAT, e.g. CELLULAR OR HONEYCOMB, FORM
    • B32B37/00Methods or apparatus for laminating, e.g. by curing or by ultrasonic bonding
    • B32B37/12Methods or apparatus for laminating, e.g. by curing or by ultrasonic bonding characterised by using adhesives
    • B32B2037/1253Methods or apparatus for laminating, e.g. by curing or by ultrasonic bonding characterised by using adhesives curable adhesive
    • BPERFORMING OPERATIONS; TRANSPORTING
    • B32LAYERED PRODUCTS
    • B32BLAYERED PRODUCTS, i.e. PRODUCTS BUILT-UP OF STRATA OF FLAT OR NON-FLAT, e.g. CELLULAR OR HONEYCOMB, FORM
    • B32B2307/00Properties of the layers or laminate
    • B32B2307/30Properties of the layers or laminate having particular thermal properties
    • B32B2307/31Heat sealable
    • BPERFORMING OPERATIONS; TRANSPORTING
    • B32LAYERED PRODUCTS
    • B32BLAYERED PRODUCTS, i.e. PRODUCTS BUILT-UP OF STRATA OF FLAT OR NON-FLAT, e.g. CELLULAR OR HONEYCOMB, FORM
    • B32B2310/00Treatment by energy or chemical effects
    • B32B2310/08Treatment by energy or chemical effects by wave energy or particle radiation
    • B32B2310/0806Treatment by energy or chemical effects by wave energy or particle radiation using electromagnetic radiation
    • B32B2310/0831Treatment by energy or chemical effects by wave energy or particle radiation using electromagnetic radiation using UV radiation
    • BPERFORMING OPERATIONS; TRANSPORTING
    • B32LAYERED PRODUCTS
    • B32BLAYERED PRODUCTS, i.e. PRODUCTS BUILT-UP OF STRATA OF FLAT OR NON-FLAT, e.g. CELLULAR OR HONEYCOMB, FORM
    • B32B2457/00Electrical equipment
    • BPERFORMING OPERATIONS; TRANSPORTING
    • B32LAYERED PRODUCTS
    • B32BLAYERED PRODUCTS, i.e. PRODUCTS BUILT-UP OF STRATA OF FLAT OR NON-FLAT, e.g. CELLULAR OR HONEYCOMB, FORM
    • B32B2457/00Electrical equipment
    • B32B2457/20Displays, e.g. liquid crystal displays, plasma displays
    • B32B2457/202LCD, i.e. liquid crystal displays
    • GPHYSICS
    • G02OPTICS
    • G02FOPTICAL DEVICES OR ARRANGEMENTS FOR THE CONTROL OF LIGHT BY MODIFICATION OF THE OPTICAL PROPERTIES OF THE MEDIA OF THE ELEMENTS INVOLVED THEREIN; NON-LINEAR OPTICS; FREQUENCY-CHANGING OF LIGHT; OPTICAL LOGIC ELEMENTS; OPTICAL ANALOGUE/DIGITAL CONVERTERS
    • G02F2202/00Materials and properties
    • G02F2202/28Adhesive materials or arrangements

Definitions

  • the present invention relates to a reflective display device applied to electronic paper or the like.
  • An electrophoretic display device is a device that displays information by using electrophoretic migration, that is, particle movement, of an electrophoretic body (usually electrophoretic particles) in air or in a solvent.
  • electrophoretic migration that is, particle movement
  • an electrophoretic state is controlled by applying an electric field between two substrates, thereby realizing a desired display.
  • the electrophoretic body charged powder as well as charged particles can be used. In that case, the charged powder electrophoreses in the gas.
  • the electrophoretic display device has attracted attention especially as an electronic paper.
  • an electronic paper When applied as an electronic paper, it is possible to enjoy advantages such as visibility at the printed matter level (easy for eyes), ease of information rewriting, low power consumption, and light weight.
  • display defects may occur due to sedimentation or uneven distribution of particles or powder.
  • it is used to form partition walls between the upper and lower electrode substrates and divide the migration space of the particles and powder to be electrophoresed, that is, the movement space into minute spaces.
  • This minute space is called a cell or a pixel.
  • ink or gas (display medium) containing an electrophoretic body is enclosed.
  • Japanese Patent No. 3899931 discloses a conventional example of this type of electrophoretic display device.
  • the aperture ratio of the cell is improved by tapering the partition walls partitioning the cell. Has been.
  • Japanese Patent Application Laid-Open Nos. 2012-18224 and 2009-251214 disclose a method of holding a partition between opposing substrates by bonding the partition and a substrate through an adhesive layer.
  • the present inventor has obtained the following knowledge while intensively studying the state of adhesion between the adhesive layer provided on the partition wall and the substrate, and the relationship between the aperture ratio of the cell and the strength of the partition wall. It was.
  • the adhesion between the adhesive layer provided on the partition wall and the substrate is insufficient, the display medium moves between cells when local pressure is applied from the outside, resulting in so-called display unevenness. Pressure marks are generated. Therefore, the adhesion between the adhesive layer provided on the partition and the substrate needs to be performed to a desired level or more.
  • the width of the partition wall is widened in order to ensure the strength of the partition wall, the aperture ratio decreases and the display quality deteriorates, but the aperture ratio increases. Therefore, if a large taper is applied to the partition wall, the strength of the partition wall itself is lowered.
  • the present invention has been made based on such circumstances, and its purpose is to prevent display unevenness and display failure when local pressure is applied from the outside while securing the aperture ratio of the cell.
  • the object is to provide a reflective display device.
  • a display medium containing at least one kind of electrically responsive material is sealed between two opposing substrates, at least one of which is transparent, and a predetermined electric field is applied between the two substrates.
  • the display medium displays predetermined information
  • a partition is formed in a predetermined pattern on one substrate, and each region partitioned by the partition is used as a cell.
  • the display medium is disposed in a cell, an adhesive layer is formed on an end of the partition on the other substrate side, and the adhesive layer is an end of the partition on the other substrate side. It is a reflective display device characterized in that it is bonded to the other substrate with a width wider than that of the other substrate.
  • the adhesive layer formed on the other substrate side end of the partition wall is bonded to the other substrate with a width wider than the width of the other substrate side end of the partition wall.
  • the adhesive strength between the adhesive layer provided on the other substrate and the other substrate is improved.
  • the width of the end of the partition on the one substrate side is narrower than the width of the end of the partition on the other substrate side.
  • the aperture ratio of the cell viewed from the viewing side of the reflective display device can be improved. Display quality can be improved.
  • the relationship between the width a of the end of the partition on the one substrate side and the width b of the end of the partition on the other substrate side satisfies 0.8 ⁇ (a / b) ⁇ 1. Is preferred. According to the present inventors, when such a condition is adopted, if one substrate is arranged on the viewing side of the reflective display device and functions as the viewing side substrate, the strength and reflection of the partition wall itself are reflected. A good balance with the aperture ratio of the cell viewed from the viewing side of the mold display device.
  • the adhesive layer preferably has a thickness of at least 1 ⁇ m or more between the other substrate side end of the partition and the other substrate. Thereby, sufficient adhesive strength is ensured between the adhesive layer provided on the partition and the other substrate.
  • At least one of the one substrate and the other substrate is preferably a flexible substrate.
  • the flexible substrate can be adhered while being warped. It can escape to the outside and the cell is not destroyed by the pressure of the display medium.
  • one substrate is flexible and the other substrate is rigid.
  • FIG. 1 is a flowchart schematically showing a manufacturing method of a reflective display device according to an embodiment of the present invention.
  • FIG. 2 is a diagram schematically showing an example of the partition wall forming step.
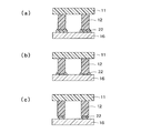
  • FIG. 3 is a diagram illustrating the definition of the width of the end of the partition on the other substrate 16 side.
  • FIG. 4 is a diagram schematically showing an example of the adhesive layer forming step.
  • FIG. 5 is a diagram for explaining an appropriate transfer pressure when transferring the adhesive layer in the adhesive layer forming step. Specifically, FIG. 5A is a diagram illustrating a case where the transfer pressure is appropriate, FIG. 5B is a diagram illustrating a case where the transfer pressure is low, and FIG. It is a figure explaining the case where it is high.
  • FIG. 5A is a diagram illustrating a case where the transfer pressure is appropriate
  • FIG. 5B is a diagram illustrating a case where the transfer pressure is low
  • FIG. It is a figure explaining the case where it is high.
  • FIG. 6 is a diagram schematically showing an example of the display medium arranging step.
  • FIG. 7 is a schematic view for explaining the function of the conductive paste.
  • FIG. 8 is a diagram schematically showing an example of the other substrate bonding step.
  • FIG. 9 is a diagram illustrating the relationship between the amount of the adhesive layer and the adhesive strength. Specifically, FIG. 9A is a diagram for explaining a case where the amount of the adhesive layer is appropriate, and FIG. 9B is an adhesion between the other substrate 16 side end of the partition wall and the other substrate. It is a figure explaining the case where the thickness of a layer is small, and FIG.9 (c) is a figure explaining the case where the width
  • FIG. 10 is a diagram illustrating the width of the adhesive layer and the thickness of the adhesive layer between the other substrate 16 side end of the partition and the other substrate.
  • FIG. 11 is a diagram for explaining manufacturing conditions and evaluation results of display devices of examples and comparative examples of the present invention
  • electrodes are provided on each surface of one substrate 11 and the other substrate 16, respectively, but these electrodes are not shown.
  • FIG. 1 is a flowchart schematically showing a manufacturing method of a reflective display device according to an embodiment of the present invention.
  • FIG. 2 is a diagram schematically showing an example of the partition wall forming step. As shown in FIG. 2, first, a partition wall having a predetermined pattern is formed on the upper surface of one substrate 11 generally placed in a horizontal direction by, for example, photolithography (exposure by ultraviolet (UV) irradiation ⁇ development ⁇ firing). 12 is formed.
  • one substrate 11 is arranged on the viewing side and functions as a viewing side substrate. Therefore, one substrate 11 needs to be transparent.
  • the other substrate 16 is arranged on the non-viewing side and functions as a non-viewing side substrate.
  • the partition wall 12 is a member that defines a plurality of cells to be described later.
  • the pattern of the partition walls 12 is a lattice shape.
  • the thickness of the partition wall is 5 to 50 ⁇ m, preferably 10 to 50 ⁇ m.
  • the cell size depends on the size of the display panel, it is 0.05 to 1 mm pitch, preferably 0.1 to 0.5 mm pitch.
  • the width of the partition wall 12 does not need to be constant from the end portion on the one substrate 11 side that is the viewing side of the reflective display device to the end portion on the other substrate 16 side that is the non-viewing side of the reflective display device. .
  • the relationship between the width a of the end portion on the one substrate 11 side corresponding to the viewing side substrate side of the partition wall 12 and the width b of the end portion on the other substrate 16 side corresponding to the non-viewing side substrate side of the partition wall 12 is According to the knowledge of the present inventors, it is preferable that 0.8 ⁇ (a / b) ⁇ 1 is satisfied. When such a condition is satisfied, the strength of the partition wall 12 itself is high, which prevents the partition wall 12 from being deformed even when a local pressure is applied.
  • the definition of the width b of the end of the partition wall 12 on the other substrate 16 side is shown in FIG. If the corner of the end portion on the other substrate 16 side of the partition wall 12 is not rounded, the width b of the end portion is defined as it is, as shown in FIGS. 3 (a) and 3 (b). On the other hand, when the corner of the other substrate 16 side end of the partition wall 12 is rounded, as shown in FIGS. 3C and 3D, the extension surface of the end portion and the extension of the wall portion are provided. It is understood as the width between the lines of intersection with the surface. On the other hand, the width a of the end portion of the partition wall 12 on the one substrate 11 side is defined as shown in FIG.
  • one substrate 11 on which the partition wall 12 is formed is embedded in a curable resin, and is microtome (manufactured by Daiwa Kogyo Co., Ltd .: FX-801) or after polishing (Marumoto Product made by Struers: Polishing device TegraPol-35)
  • a cross section of the partition 12 is cut out by an ion beam (manufactured by Hitachi High-Technologies: Ion Milling E-3500), and each width is measured based on an image taken by a scanning electron microscope (SEM). be able to.
  • the adhesive layer 22 is formed on the partition wall 12 (adhesive layer forming step).
  • a heat seal agent such as a polyester-based thermoplastic adhesive is formed by, for example, a transfer method or a printing method. Supplementing a specific description of an example of a typical thermal transfer method as a transfer method, for example, as shown in FIG. 4, a heat sealant such as a polyester-based thermoplastic adhesive having a thickness of 10 ⁇ m is formed on the PET film 21.
  • the formed transfer sheet 20 is prepared and attached to a distortion prevention substrate 211 made of, for example, a glass substrate.
  • the transfer sheet 20 is heated for 1 minute on a hot plate maintained at 120 ° C., which is a temperature equal to or higher than the softening temperature of the heat sealant.
  • a hot plate maintained at 120 ° C., which is a temperature equal to or higher than the softening temperature of the heat sealant.
  • the transfer amount of the heat sealant is affected by the temperature of the heat sealant during transfer, that is, the transfer temperature.
  • the heat sealant exhibits viscosity when heated to a temperature equal to or higher than the softening temperature. As shown in FIG. 5, the heat sealant is transferred to the partition wall 12 by attaching the viscous heat sealant to the partition wall. However, the heat sealant is more fluid at high temperatures. Can be better adhered to the partition wall 12. That is, the transfer of the heat sealant is preferably performed at a temperature higher than the softening temperature of the heat sealant, rather than near the softening temperature of the heat sealant.
  • the transfer amount of the heat sealant is also affected by the pressure pressing the end of the partition wall 12 on the other substrate 16 side against the transfer sheet 20, that is, the transfer pressure.
  • the transfer pressure is within an appropriate pressure range, when the partition wall 12 is pressed against the heat sealant, the leading end of the partition wall 12 is buried in the heat sealant, and the heat sealant. Is slightly adhered not only to the end portion of the partition wall 12 on the other substrate 16 side but also to the wall portion of the partition wall 12, so that the transfer amount of the heat sealant is slightly increased.
  • the transfer pressure of the heat sealing agent can be made suitable by setting the transfer pressure to 1 Pa to 100 kPa, more preferably 100 Pa to 10 kPa.
  • each partition 12 or each region partitioned by the partition 12 and the adhesive layer 22 is a cell, and the ink 13 as a display medium is disposed in each cell.
  • FIG. 6 is a diagram schematically showing an example of the display medium arranging step.
  • the ink 13 is dropped from the dispenser 31 or the ink jet or die coat, (2) the ink 13 is applied by the central squeegee 32, the doctor blade, or the doctor knife so as to be in-plane uniform, and (3) Excess ink that protrudes is scraped off by the squeegees 33a and 33b at both ends, or by a doctor blade or doctor knife. (4) Finally, the excess ink collected on one side is wiped off by the wiper 34.
  • FIG. 7 is a schematic view for explaining the function of the conductive paste.
  • the conductive paste 14 is a metal paste such as a silver paste, and is applied to a predetermined position by, for example, a dispenser 41 or ink jet, tampo printing, pad printing, or stacking printing. As shown in FIG. 7, the conductive paste 14 functions as a wiring for applying a voltage to the other substrate 16.
  • a predetermined electric field voltage
  • the electrophoretic particles in the ink 13 as a display medium are driven, and predetermined information such as a character pattern Is displayed. Thereafter, even if the electric field is no longer applied, the information display state is maintained until a new electric field is applied between the two substrates.
  • the other substrate 16 facing the one substrate 11 is bonded onto the adhesive layer 22 on the partition wall 12 (the other substrate bonding step). Thereby, the display medium (ink 13) is sealed in each cell.
  • the heat sealing agent 22 applied as an adhesive layer is heated to obtain an adhesive force.
  • the ink 13 is filled by heating and softening the heat sealant 22 from the periphery to a temperature exceeding the softening temperature while applying a predetermined thermocompression bonding pressure (laminating pressure) by the laminator 91.
  • the partition wall 12 and the other substrate 16 are bonded.
  • other thermocompression bonding modes may be employed.
  • the relationship between the transfer amount of the heat sealant (adhesive layer amount) and the adhesive strength will be described with reference to FIG.
  • the amount of the adhesive layer is appropriate, as shown in FIG. 9A, when the other substrate 16 is attached to the adhesive layer 22, the width c of the adhesive layer 22 is the other substrate 16 of the partition wall 12.
  • the width d of the adhesive layer between the end on the other substrate 16 side of the partition wall 12 and the other substrate 16 is also sufficient.
  • the width c of the adhesive layer is defined as the maximum width of the adhesive layer 22.
  • the thickness d of the adhesive layer is defined as the distance between the end of the partition wall 12 on the other substrate 16 side and the other substrate 16.
  • substrate 16 of the partition 12 is as having shown in FIG.
  • the width c of the adhesive layer 22 is wider than the width b of the end of the partition 12 on the other substrate 16 side, and the end of the partition 12 on the other substrate 16 side and the other substrate 16.
  • the thickness d of the adhesive layer 22 between them is sufficient, sufficient adhesive strength between the adhesive layer provided on the partition wall 12 and the other substrate 16 can be obtained.
  • FIG. 9B when the thickness d of the adhesive layer 22 between the end of the partition wall 12 on the other substrate 16 side and the other substrate 16 is insufficient, the adhesive layer 22 Is easily peeled off by the pulling force in the vertical direction.
  • FIG. 9C when the width c of the adhesive layer is narrower than the width b of the end of the partition wall 12 on the other substrate 16 side, the adhesive layer 22 is easily peeled off by the force applied in the horizontal direction. .
  • a preferable range of the width c of the adhesive layer is 105% to 300% when the width b of the end of the partition wall 12 on the other substrate 16 side is 100%. In this case, sufficient adhesive strength can be obtained. However, if the adhesive layer region that overlaps the pixel electrode of the other substrate 16 increases, the region in which the electrophoretic particles are difficult to move increases. Therefore, the width c of the adhesive layer is more preferably the other of the partition walls 12. When the width b of the end portion on the substrate 16 side is 100%, it is 110% to 150%.
  • the adhesive layer may be bonded to the other substrate 16 with a width that is at least partially wider than the width b of the end of the partition wall 12 on the other substrate 16 side. That is, the portion bonded to the other substrate 16 with a width wider than the width b of the end portion on the other substrate 16 side of the partition wall 12 needs to cover the entire region of the end portion on the other substrate 16 side of the partition wall 12. Alternatively, only the intersection part of the partition wall pattern or only the side part may be partial. Even if it is partial, the adhesive strength to the adhesive layer of the whole board
  • the preferable range of the thickness d of the adhesive layer 22 between the end of the partition wall 12 on the other substrate 16 side and the other substrate 16 is 1 ⁇ m to 10 ⁇ m. If it is thinner than 1 ⁇ m, sufficient adhesive strength cannot be obtained, and if it is thicker than 10 ⁇ m, the cell structure becomes unstable due to the flexibility of the adhesive layer itself, and there is a concern that the distance between the substrates 11 and 16 is not constant.
  • one substrate 11 on which the adhesive layer is formed is embedded in a curable resin, and a microtome (Daiwako machine) is used.
  • a microtome (Daiwako machine)
  • the cross section of the partition wall 12 is cut out and the scanning electron
  • SEM microscope
  • the sheet is cut into a predetermined size by a cutting device 51 such as a guillotine, an upper blade slide device, a laser cutting device, a laser cutter, etc., and is further subjected to outer periphery sealing processing to obtain a desired reflection.
  • a cutting device 51 such as a guillotine, an upper blade slide device, a laser cutting device, a laser cutter, etc.
  • the adhesive layer 22 is bonded to the other substrate 16 with a width wider than the width b of the end portion of the partition wall 12 on the other substrate 16 side.
  • the partition 12 and the other substrate 16 for cell formation can be suitably bonded. Therefore, when a local pressure is applied from the outside, the partition wall 12 does not fall down, and display unevenness and display failure do not occur.
  • the relationship between the width a of the end portion on the one substrate 11 side of the partition wall 12 and the width b of the end portion on the other substrate 16 side is 0.8 ⁇ (a / b) ⁇ 1. If it is determined so as to satisfy, the balance between the aperture ratio of the cell and the strength of the partition wall itself is good.
  • the width c of the adhesive layer is 105% to 300% of the width b of the end of the partition on the other substrate 16 side, the adhesive strength between the adhesive layer provided on the partition 12 and the other substrate 16 is increased. Is improved. Furthermore, if the width c of the adhesive layer is 110% to 150% of the width b of the end of the partition wall 12 on the other substrate 16 side, it is possible to sufficiently secure a region where the adhesive layer and the pixel electrode do not overlap. It is possible to prevent the adhesive layer from interfering with the movement of the electrophoretic particles.
  • the heat sealant 22 of the adhesive layer is made of a thermoplastic material, it is extremely easy to handle because it does not have tack or stickiness at room temperature. Further, since there is no tack, that is, stickiness, the subsequent display medium arranging step is easy. Specifically, even when the display medium is arranged using a squeegee, a doctor blade, a doctor knife, or the like, the display medium (ink 13) does not adhere to the heat sealant 22.
  • the adhesive layer is provided such that the width c of the adhesive layer is wider than the width b of the end of the partition wall 12 on the other substrate 16 side, the other substrate 16 on the non-viewing side in the reflective display device. It is preferable to make it adhere. This prevents the display quality from being deteriorated even if the adhesive layer protrudes into the cell.
  • the above embodiments can be applied in principle when the electrophoretic body is a charged powder and the display medium is a gas.
  • the display medium is not limited to those that electrically change optical characteristics, and may respond to an external field by magnetism or heat.
  • the present invention can be applied in principle regardless of the type of display medium. .
  • Example of Reflective Display Device> One substrate 11 was provided with an indium tin oxide (ITO) vapor deposition film (thickness 0.2 ⁇ m) as a transparent electrode on one surface of a PET film (Toyobo A4100) of 140 mm ⁇ 140 mm ⁇ thickness 0.125 mm. A substrate was prepared.
  • the transparent electrode is formed by a general film formation method such as sputtering, vacuum evaporation, or CVD, and is also formed by zinc oxide (ZnO), tin oxide (SnO), etc. in addition to indium tin oxide (ITO). obtain.
  • a negative photosensitive resin material (DuPont MRC Dry Film Resistry Dry Film Resist) is laminated on the one substrate 11 to a thickness of 30 ⁇ m and heated at 100 ° C. for 1 minute. Then, exposure is performed using an exposure mask (exposure amount: 500 mJ / cm 2 ), and thereafter development using a 1% KOH aqueous solution is performed for 30 seconds, followed by baking at 200 ° C. for 60 minutes.
  • a heat-sealing agent (Byron Boa 550 manufactured by Toyobo Co., Ltd.) is formed on the PET film 21 with a thickness of 10 ⁇ m, and an adhesive substrate in which a silicone sheet is bonded to a glass substrate having a thickness of 2 mm as a distortion preventing substrate 211 is used.
  • the PET film 21 with the heat seal layer is fixed flat, the heat seal layer is thermocompression-bonded (120 ° C., 1 kPa) to the end of the partition wall 12 on the other substrate 16 side, and then the PET film 21 is separated from the partition wall 12. Then, a heat seal layer was formed on the entire end face of the partition wall on the other substrate 16 side.
  • an ink 13 having the following components is used as a display medium, dropped from the dispenser 31, and squeezed with a central squeegee 32 (Neurong squeegee 1: made of urethane resin), and then in each cell. Filled. Excess ink that protruded in the substrate width direction was scraped off by another squeegee 33a, 33b (Nelogue Squeegee 2: made of urethane resin), and further wiped off by a roll wiper 34.
  • a central squeegee 32 Neuroong squeegee 1: made of urethane resin
  • Electrophoretic particles titanium dioxide: 60 parts by weight
  • Dispersion liquid 40 parts by weight
  • a non-alkali glass (OA-10G manufactured by Nippon Electric Glass Co., Ltd.) having a size of 150 mm ⁇ 150 mm ⁇ thickness 0.7 mm and various electrodes such as Cu electrodes formed in a pattern were used. .
  • Various electrode patterns were formed by a general etching method.
  • a silver paste (manufactured by Fujikura Kasei Co., Ltd.) was spot-coated by a dispenser 41 on the electrode part outside the partition wall area.
  • the other substrate 16 is disposed on the adhesive layer 22 on the partition wall 12 of the one substrate 11, and the cell volume in the partition wall 12 is applied while further applying a constant thermocompression pressure. While extruding excess ink exceeding 1, the partition 12 of one substrate 11 and the other substrate 16 were brought into close contact with each other (see FIG. 8). At this time, the other substrate 16 was closely attached to the partition wall 12 so that no bubbles remained in the cell.
  • the temperature during thermocompression bonding was 100 ° C.
  • the thermocompression bonding pressure was 0.1 MPa.
  • the width c of the adhesive layer on the other substrate 16 was 20 ⁇ m, which was wider than the width b of the end of the partition wall 12 on the other substrate 16 side.
  • an ultraviolet curable resin manufactured by EACH Sea Co., Ltd .: LCB-610
  • a dispenser not shown
  • UV rays exposure amount 700 mJ / cm 2
  • cured peripheral sealing treatment
  • the display quality of the display panel obtained as described above was evaluated, but it was very good because the adhesive layer 22 was provided on the non-viewing side.
  • the cell aperture ratio as viewed from the viewing side was high, and a change in display quality was evaluated by applying local pressure from the outside. Specifically, a metal piece having an area of 10 mm ⁇ 10 mm was pressurized at 1 MPa for 10 seconds, then returned to atmospheric pressure, and the change in display quality was evaluated. As a result, display unevenness and display failure did not occur. That is, the strength of the partition wall 12 itself was high, and the adhesive strength between the adhesive layer provided on the partition wall 12 and the other substrate 16 was also high. Furthermore, the driving voltage of the display panel has not increased significantly.
  • Example 2 Compared to Example 1, the development time in the partition wall forming step is changed so that the width a of the end portion on one substrate 11 side of the partition wall 12 and the width b of the end portion on the other substrate 16 side are both 15 ⁇ m. In the same process, a display panel was manufactured.
  • the display quality of the display panel thus obtained was evaluated, but it was very good because the adhesive layer 22 was provided on the non-viewing side.
  • the change in display quality due to the application of local pressure from the outside was evaluated and was very good. That is, the strength of the partition wall 12 itself was high, and the adhesive strength between the adhesive layer provided on the partition wall 12 and the other substrate 16 was also high.
  • Example 1 Compared to Example 1, the thickness of the heat seal layer formed on the PET film 21 in the adhesive layer forming step is 5 ⁇ m, and the transfer pressure is such that the heat seal agent does not adhere to the wall of the partition wall 12. Other than that, a display panel was manufactured in the same process. In the display panel thus obtained, the width c of the adhesive layer on the other substrate 16 was 13 ⁇ m, which was narrower than the width b of the end portion of the partition wall 12 on the other substrate 16 side.
  • the display panel thus obtained was evaluated for display quality, but was very good.
  • pressure is applied for 10 seconds at 1 MPa with a metal piece having an area of 10 mm ⁇ 10 mm, and then returned to atmospheric pressure
  • the flow of ink 13 between the cells is excessively generated, and the display unevenness is observed in the part where the partition walls are peeled off due to the pressure. Has occurred. That is, the contrast was lowered at the pressurized location. This is probably because the adhesive area of the adhesive layer 22 is small and the adhesive strength is weak.
  • Example 2 Compared to Example 1, the development time in the partition wall forming step is 60 seconds, the width a of the end portion on one substrate 11 side of the partition wall 12 is 7 ⁇ m, and the width b of the end portion on the other substrate 16 side is 15 ⁇ m. The other steps were the same process to produce a display panel.
  • the display panel thus obtained was evaluated for display quality, but was very good.
  • pressure is applied for 10 seconds at 1 MPa with a metal piece having an area of 10 mm ⁇ 10 mm, and then returned to atmospheric pressure
  • the flow of ink 13 between the cells is excessively generated, and the display unevenness is observed in the part where the partition walls are peeled off due to the pressure. Has occurred. That is, the contrast was lowered at the pressurized location. This is probably because the strength between the partition wall 12 and one of the substrates 11 is not sufficient, and because the taper of the partition wall 12 is too large and the strength of the partition wall itself is insufficient.
  • Example 3 Compared to Example 1, the exposure condition in the partition wall forming step is changed so that the width a of the end portion on one substrate 11 side of the partition wall 12 is 20 ⁇ m, the width b of the end portion on the other substrate 16 side is 15 ⁇ m, Further, the transfer pressure was set to such a level that the heat sealant did not adhere to the wall of the partition wall 12, and the other processes were the same, and a display panel was produced.
  • the display panel thus obtained was evaluated for display quality, but was very good.
  • the opening ratio of the cells viewed from the viewing side was low, and when the pressure was applied at 1 MPa for 10 seconds with a metal piece having an area of 10 mm ⁇ 10 mm and then returned to atmospheric pressure, the flow of ink 13 between cells was excessive.
  • the display unevenness occurred in the part where the partition wall was peeled off by pressurization. That is, the contrast was lowered at the pressurized location. This is probably because the taper of the partition wall 12 is too large and the strength of the partition wall itself is insufficient.
  • FIG. 11 the strength of the partition wall 12 itself and the adhesive strength between the adhesive layer provided on the partition wall 12 and the other substrate 16 are shown as the overall strength of the partition wall 12. That is, when the overall strength of the partition wall 12 is high, the strength of the partition wall 12 itself is high and the adhesive strength between the adhesive layer 22 provided on the partition wall 12 and the other substrate 16 is also high. When the strength is low, at least one of the strength of the partition wall 12 itself and the adhesive strength between the adhesive layer 22 provided on the partition wall 12 and the other substrate 16 is low.
  • the width c of the adhesive layer 22 is wider than the width b of the end of the partition 12 on the other substrate 16 side, and the width a of the end of the partition 12 on the one substrate 11 side.
  • the width b of the end portion on the other substrate 16 side satisfy 0.8 ⁇ (a / b) ⁇ 1, the overall strength of the partition wall 12 is high.
  • the width c of the adhesive layer 22 is narrower than the width b of the end of the partition 12 on the other substrate 16 side, the width a of the end of the partition 12 on the one substrate 11 side and the end of the other substrate 16 side.
  • the electroresponsive material examples include a charged particle material and a liquid crystal material
  • the charged particle material includes a so-called electrophoretic material in which colored particles such as white, black, and color move in response to an electric field, or two particles.
  • electrophoretic material in which colored particles such as white, black, and color move in response to an electric field, or two particles.
  • materials typified by twist balls that are color-coded and rotated by an electric field, or nanoparticle materials that move by an electric field.
  • liquid crystal materials include materials that electrically control transmission and scattering known as PDLC (Polymer Dispersed Liquid Crystal), materials obtained by mixing a dye with liquid crystal, and cholesteric liquid crystal materials.
  • a transparent film such as PE, PET, PES, PEN or the like with transparent electrodes such as ITO or ZnO on a transparent glass can be typically used.
  • the transparent electrode can be formed by a coating method, a vapor deposition method, or the like. Since the transparent electrode is used as a common electrode in the case of active matrix driving and segment driving, it is not always necessary to form a pattern, and the entire surface of the substrate may be an electrode. On the other hand, in the case of passive matrix driving, since both opposing substrates need to be pattern electrodes, the transparent electrode is also formed with a pattern such as a stripe.
  • the thickness of one substrate 11 is preferably 10 ⁇ m to 2 mm. If it is thinner than 10 ⁇ m, the strength as a panel cannot be obtained and the risk of breakage increases. On the other hand, if it is thicker than 2 mm, the panel weight becomes too heavy and handling becomes inconvenient and the cost also increases. Because.
  • the preferred thickness range that is hard to break and easy to handle is about 50 ⁇ m to 800 ⁇ m.
  • the surface of one substrate 11 may be subjected to an oxidation preventing process by a plating process. Further, a barrier layer may be provided on the back surface (outside) of one substrate 11. The function of the barrier layer is to prevent display deterioration caused by the ink adsorbing moisture.
  • the barrier layer is obtained by depositing an inorganic film, in which one substrate disposed on the viewing side may be transparent and the other substrate disposed on the non-viewing side may be transparent or opaque. Or the film in which the barrier layer was previously formed may be bonded together.
  • One substrate 11 can be applied in either a roll shape or a sheet shape.
  • the one substrate 11 is attached to the anti-strain substrate before the adhesive layer (heat sealing agent) 22 is transferred onto the partition wall 12 in the adhesive layer forming step. Accordingly, the distortion of one substrate 11 may be prevented, and the amount of heat sealant 22 transferred onto the partition wall 12 may be adjusted uniformly with high accuracy.
  • the partition wall 12 can be made of an ultraviolet curable resin, a thermosetting resin, a room temperature curable resin, or the like, and is preferably formed to a thickness of 5 to 50 ⁇ m as described above. If the thickness is 5 ⁇ m or less, the amount of ink to be filled is small, and sufficient display characteristics, in particular, contrast cannot be obtained. On the other hand, if the thickness is 50 ⁇ m or more, the panel is too thick and the drive voltage increases excessively. From the viewpoint of obtaining good display characteristics at a low driving voltage, a thickness in the range of 10 to 50 ⁇ m is preferable.
  • the pattern shape of the partition wall 12 is basically arbitrary, such as a circle, a lattice, a honeycomb shape (hexagon), and other polygons.
  • the aperture ratio is preferably 70% or more, and particularly preferably 90% or more. The higher the aperture ratio, the wider the displayable area, so that high contrast can be obtained.
  • a mold transfer method such as embossing can be adopted in addition to the photolithography method. Furthermore, a method of manufacturing a mesh-processed structure as a partition and sticking the structure to one substrate 11 may be employed.
  • the adhesive layer (heat sealant) 22 is preferably a material using a thermoplastic material, and has a property of softening by heating and solidifying when cooled, and the plasticity is reversibly when cooling and heating are repeated. It is a material that is kept. Moreover, since the heat sealant after heat transfer is cooled to room temperature and solidified again, tackiness, that is, stickiness, is eliminated. Further, since there is no tack or stickiness, the display medium filled in the cell does not adhere to the heat sealant. Then, the heat sealing agent at the end on the other substrate 16 side of the partition wall is softened by heating to a temperature exceeding the softening temperature, so that the other substrate has a tackiness. Adhered securely.
  • thermoplastic base polymers such as ethylene-vinyl acetate copolymer, polyester, polyamide, polyolefin, polyurethane, natural rubber, styrene-butadiene block copolymer, styrene-isoprene block copolymer, styrene-ethylene.
  • the partition wall 12 may be subjected to a surface treatment by ultraviolet irradiation or plasma treatment, or a primer may be formed.
  • a silane coupling agent may be added to the heat sealing agent 22.
  • the method for preventing distortion of the transfer film 20 due to heat is not limited to the method of heating the transfer film 20 after being attached to the distortion prevention substrate 211.
  • the transfer film 20 is stretched so that both ends of the transfer film are attached to each other.
  • a method of preventing distortion due to heat by pulling and applying tension to the transfer film 20 may also be employed.
  • the flexible sheet when a flexible sheet such as the transfer film 20 or the one substrate 11 is attached to the anti-strain substrate, the flexible sheet may be easily re-detached from the anti-strain substrate. It is preferable to dispose an adhesive layer between the sheet and the strain prevention substrate.
  • the pressure-sensitive adhesive layer may be formed by coating a general pressure-sensitive adhesive material, or may be composed of a commercially available double-sided pressure-sensitive adhesive film or a self-adhesive silicone sheet.
  • the strain prevention substrate is a metal plate having excellent processability, a flexible sheet may be bonded to the strain prevention substrate by vacuum suction.
  • the other substrate 16 a substrate such as a resin film, a resin plate, glass, epoxy glass (glass epoxy), etc., on which an electrode is formed by a conductive material such as metal can be used.
  • the other substrate 16 may be a light transmissive base material. Furthermore, it may be a light-transmitting and opaque substrate, such as an opaque glass substrate, resin film, resin plate, glass, epoxy glass (glass epoxy) with the other surface different from the electrode surface roughened. Can be used.
  • substrate is illustrated as a board
  • the thickness of the other substrate 16 is preferably 10 ⁇ m to 2 mm. If it is thinner than 10 ⁇ m, the strength as a panel cannot be obtained and the risk of breakage increases. On the other hand, if it is thicker than 2 mm, the panel weight becomes too heavy and handling becomes inconvenient and the cost also increases. Because. A preferred thickness range that is not easily damaged and easy to handle is about 50 ⁇ m to 800 ⁇ m.
  • a barrier film can be attached to the surface of the other substrate 16. Even if a transparent film in which a barrier layer of a transparent inorganic film is previously formed by vapor deposition or the like is employed as the other substrate 16, the same function as this can be exhibited.
  • the other substrate 16 can be applied in either a roll shape or a sheet shape.
  • a further functional layer may be added to the substrate arranged on the viewing side.
  • An ultraviolet cut film can be attached to the surface of the other substrate 16. Even if the other substrate 16 is subjected to other ultraviolet cut processing, the same function can be exhibited.
  • an AG layer antiglare layer
  • an HC layer shock prevention layer
  • an AR layer antireflection layer
  • At least one of the one substrate 11 and the other substrate 16 is preferably a flexible substrate.
  • the flexible substrate can be adhered while being warped. It can escape to the outside and the cell is not destroyed by the pressure of the display medium.
  • one substrate 11 is flexible and the other substrate 16 is rigid.
  • the peripheral sealant can be composed of a thermosetting resin, a room temperature curable resin, a heat seal resin, etc. in addition to the ultraviolet curable resin. They are applied to the periphery of both substrates 11, 16 by a dispenser, by various printing methods, or by thermocompression.

Landscapes

  • Physics & Mathematics (AREA)
  • Nonlinear Science (AREA)
  • General Physics & Mathematics (AREA)
  • Optics & Photonics (AREA)
  • Health & Medical Sciences (AREA)
  • Life Sciences & Earth Sciences (AREA)
  • Chemical & Material Sciences (AREA)
  • Chemical Kinetics & Catalysis (AREA)
  • Electrochemistry (AREA)
  • Molecular Biology (AREA)
  • Electrochromic Elements, Electrophoresis, Or Variable Reflection Or Absorption Elements (AREA)
  • Liquid Crystal (AREA)
PCT/JP2013/073158 2012-08-31 2013-08-29 反射型表示装置 Ceased WO2014034783A1 (ja)

Applications Claiming Priority (2)

Application Number Priority Date Filing Date Title
JP2012-192255 2012-08-31
JP2012192255A JP2014048524A (ja) 2012-08-31 2012-08-31 反射型表示装置

Publications (1)

Publication Number Publication Date
WO2014034783A1 true WO2014034783A1 (ja) 2014-03-06

Family

ID=50183588

Family Applications (1)

Application Number Title Priority Date Filing Date
PCT/JP2013/073158 Ceased WO2014034783A1 (ja) 2012-08-31 2013-08-29 反射型表示装置

Country Status (2)

Country Link
JP (1) JP2014048524A (enExample)
WO (1) WO2014034783A1 (enExample)

Cited By (1)

* Cited by examiner, † Cited by third party
Publication number Priority date Publication date Assignee Title
JP2025512537A (ja) * 2022-04-27 2025-04-17 イー インク コーポレイション セグメント化された電極を伴う電気光学ディスプレイスタックおよびそれを作る方法

Citations (4)

* Cited by examiner, † Cited by third party
Publication number Priority date Publication date Assignee Title
WO2005015892A2 (ja) * 2003-08-07 2005-02-17 Bridgestone Corp 画像表示装置、画像表示用パネルの製造方法及び画像表示用パネル
JP2007025596A (ja) * 2005-07-21 2007-02-01 Fujifilm Corp セル内構造の製造方法及びセル内構造並びに表示装置
JP2012013790A (ja) * 2010-06-29 2012-01-19 Dainippon Printing Co Ltd 電子ペーパーの製造方法および製造装置
JP2012040522A (ja) * 2010-08-20 2012-03-01 Mitsubishi Pencil Co Ltd 接着剤層付き基材の製造方法

Patent Citations (4)

* Cited by examiner, † Cited by third party
Publication number Priority date Publication date Assignee Title
WO2005015892A2 (ja) * 2003-08-07 2005-02-17 Bridgestone Corp 画像表示装置、画像表示用パネルの製造方法及び画像表示用パネル
JP2007025596A (ja) * 2005-07-21 2007-02-01 Fujifilm Corp セル内構造の製造方法及びセル内構造並びに表示装置
JP2012013790A (ja) * 2010-06-29 2012-01-19 Dainippon Printing Co Ltd 電子ペーパーの製造方法および製造装置
JP2012040522A (ja) * 2010-08-20 2012-03-01 Mitsubishi Pencil Co Ltd 接着剤層付き基材の製造方法

Cited By (1)

* Cited by examiner, † Cited by third party
Publication number Priority date Publication date Assignee Title
JP2025512537A (ja) * 2022-04-27 2025-04-17 イー インク コーポレイション セグメント化された電極を伴う電気光学ディスプレイスタックおよびそれを作る方法

Also Published As

Publication number Publication date
JP2014048524A (ja) 2014-03-17

Similar Documents

Publication Publication Date Title
JP5765369B2 (ja) 反射型表示装置
JP2012013934A (ja) 電子ペーパー及び電子ペーパーの製造方法
WO2014034783A1 (ja) 反射型表示装置
JP5871202B2 (ja) 反射型表示装置
JP2013210529A (ja) 電気泳動表示装置
JP2015129883A (ja) 反射型表示装置の製造方法
JP2015172647A (ja) 反射型表示装置の製造方法
WO2013137407A1 (ja) 電気泳動表示装置
JP2014089418A (ja) 反射型表示装置及びその製造方法
JP2014032285A (ja) 反射型表示装置
JP2014224869A (ja) 反射型表示装置
JP2014170188A (ja) 反射型表示装置及びその製造方法
JP2015018010A (ja) 反射型表示装置
JP2015118314A (ja) 反射型表示装置
JP2014089423A (ja) 反射型表示装置及びその製造方法
JP2014095750A (ja) 反射型表示装置の製造方法、及び、反射型表示装置製造用マザーパネル基板
JP2014153464A (ja) 反射型表示装置の製造方法
JP2015172619A (ja) 反射型表示装置、および反射型表示装置の製造方法
JP2014106468A (ja) 反射型表示装置及びその製造方法
JP2015011066A (ja) 反射型表示装置及びその製造方法
JP2014010342A (ja) 反射型表示装置
JP2015011223A (ja) 反射型表示装置の製造方法
JP2014089421A (ja) 反射型表示装置及びその製造方法
JP2015064496A (ja) 反射型表示装置及びその製造方法
JP2013210532A (ja) 電気泳動表示装置製造用シート及びその製造方法

Legal Events

Date Code Title Description
121 Ep: the epo has been informed by wipo that ep was designated in this application

Ref document number: 13834152

Country of ref document: EP

Kind code of ref document: A1

DPE2 Request for preliminary examination filed before expiration of 19th month from priority date (pct application filed from 20040101)
NENP Non-entry into the national phase

Ref country code: DE

122 Ep: pct application non-entry in european phase

Ref document number: 13834152

Country of ref document: EP

Kind code of ref document: A1