WO2014020858A1 - 画像表示装置 - Google Patents

画像表示装置 Download PDF

Info

Publication number
WO2014020858A1
WO2014020858A1 PCT/JP2013/004469 JP2013004469W WO2014020858A1 WO 2014020858 A1 WO2014020858 A1 WO 2014020858A1 JP 2013004469 W JP2013004469 W JP 2013004469W WO 2014020858 A1 WO2014020858 A1 WO 2014020858A1
Authority
WO
WIPO (PCT)
Prior art keywords
image display
display light
light
plate
projection
Prior art date
Legal status (The legal status is an assumption and is not a legal conclusion. Google has not performed a legal analysis and makes no representation as to the accuracy of the status listed.)
Ceased
Application number
PCT/JP2013/004469
Other languages
English (en)
French (fr)
Japanese (ja)
Inventor
和敬 網干
Current Assignee (The listed assignees may be inaccurate. Google has not performed a legal analysis and makes no representation or warranty as to the accuracy of the list.)
JVCKenwood Corp
Original Assignee
JVCKenwood Corp
Priority date (The priority date is an assumption and is not a legal conclusion. Google has not performed a legal analysis and makes no representation as to the accuracy of the date listed.)
Filing date
Publication date
Application filed by JVCKenwood Corp filed Critical JVCKenwood Corp
Publication of WO2014020858A1 publication Critical patent/WO2014020858A1/ja
Priority to US14/597,683 priority Critical patent/US9580015B2/en
Anticipated expiration legal-status Critical
Ceased legal-status Critical Current

Links

Images

Classifications

    • GPHYSICS
    • G02OPTICS
    • G02BOPTICAL ELEMENTS, SYSTEMS OR APPARATUS
    • G02B27/00Optical systems or apparatus not provided for by any of the groups G02B1/00 - G02B26/00, G02B30/00
    • G02B27/01Head-up displays
    • G02B27/0101Head-up displays characterised by optical features
    • GPHYSICS
    • G09EDUCATION; CRYPTOGRAPHY; DISPLAY; ADVERTISING; SEALS
    • G09FDISPLAYING; ADVERTISING; SIGNS; LABELS OR NAME-PLATES; SEALS
    • G09F19/00Advertising or display means not otherwise provided for
    • G09F19/12Advertising or display means not otherwise provided for using special optical effects
    • G09F19/18Advertising or display means not otherwise provided for using special optical effects involving the use of optical projection means, e.g. projection of images on clouds
    • GPHYSICS
    • G02OPTICS
    • G02BOPTICAL ELEMENTS, SYSTEMS OR APPARATUS
    • G02B5/00Optical elements other than lenses
    • G02B5/02Diffusing elements; Afocal elements
    • G02B5/0273Diffusing elements; Afocal elements characterized by the use
    • G02B5/0294Diffusing elements; Afocal elements characterized by the use adapted to provide an additional optical effect, e.g. anti-reflection or filter
    • GPHYSICS
    • G02OPTICS
    • G02BOPTICAL ELEMENTS, SYSTEMS OR APPARATUS
    • G02B5/00Optical elements other than lenses
    • G02B5/30Polarising elements
    • G02B5/3025Polarisers, i.e. arrangements capable of producing a definite output polarisation state from an unpolarised input state
    • GPHYSICS
    • G09EDUCATION; CRYPTOGRAPHY; DISPLAY; ADVERTISING; SEALS
    • G09FDISPLAYING; ADVERTISING; SIGNS; LABELS OR NAME-PLATES; SEALS
    • G09F9/00Indicating arrangements for variable information in which the information is built-up on a support by selection or combination of individual elements
    • BPERFORMING OPERATIONS; TRANSPORTING
    • B60VEHICLES IN GENERAL
    • B60RVEHICLES, VEHICLE FITTINGS, OR VEHICLE PARTS, NOT OTHERWISE PROVIDED FOR
    • B60R2300/00Details of viewing arrangements using cameras and displays, specially adapted for use in a vehicle
    • B60R2300/20Details of viewing arrangements using cameras and displays, specially adapted for use in a vehicle characterised by the type of display used
    • B60R2300/205Details of viewing arrangements using cameras and displays, specially adapted for use in a vehicle characterised by the type of display used using a head-up display
    • GPHYSICS
    • G02OPTICS
    • G02BOPTICAL ELEMENTS, SYSTEMS OR APPARATUS
    • G02B27/00Optical systems or apparatus not provided for by any of the groups G02B1/00 - G02B26/00, G02B30/00
    • G02B27/01Head-up displays
    • G02B27/0101Head-up displays characterised by optical features
    • G02B2027/0118Head-up displays characterised by optical features comprising devices for improving the contrast of the display / brillance control visibility

Definitions

  • the present invention relates to an image display device.
  • An image display device called a head-up display is known.
  • the head-up display has an optical element called a combiner.
  • the combiner transmits extraneous light and reflects image display light projected from the optical unit included in the head-up display. Accordingly, the user can visually recognize the image related to the image display light superimposed on the landscape via the combiner.
  • this image display device called a head-up display
  • the driver of the vehicle recognizes the information of the image projected from the optical unit with almost no change in the viewing direction and the focal position for viewing the scenery outside the vehicle. Therefore, in recent years, it has attracted attention as an in-vehicle image display device.
  • Patent Document 1 discloses a head-up display that is mounted on a dashboard of a vehicle that adjusts a space that can be visually recognized by a user by using an X-axis stage, a Z-axis stage, and a rotary stage.
  • the head-up display as described above superimposes and displays an image related to image display light on a landscape via a combiner. Therefore, when used in an environment illuminated by external light, the image display light is compared with external light. The contrast is relatively lowered, which may affect the visibility of the user.
  • the present invention has been made in view of the above circumstances, and an object thereof is to provide an image display device capable of displaying an image with high visibility to a user even in an environment illuminated by external light.
  • an image display device includes an optical unit that generates image display light based on an image signal, a projection unit that projects the image display light generated by the optical unit, and a projection A combiner that reflects the image display light projected from the unit and presents a virtual image, and the projection unit converts the linearly polarized image display light emitted from the image display element into circularly polarized image display light.
  • a first wave plate, a diffuser plate that diffuses circularly polarized image display light emitted from the first wave plate, and circularly polarized image display light diffused by the diffuser plate are converted into linearly polarized image display light.
  • an image display device capable of displaying an image with high visibility to the user even in an environment illuminated by external light.
  • FIG. 1 is a perspective view showing an aspect in which the head-up display 10 according to the present embodiment is observed from a field of view toward a windshield (not shown) of a vehicle from a room mirror 600 to which the head-up display 10 is attached.
  • FIG. 2 is a perspective view showing an aspect in which the head-up display 10 is observed with a field of view from the windshield (not shown) toward the room mirror 600.
  • the front, rear, left, right, top, and bottom directions are the front and rear of the vehicle, the left side direction of the vehicle, the right side direction, and the vehicle from the plane perpendicular to the road surface on which the vehicle is disposed. Means the side direction and the opposite direction.
  • the head-up display 10 generates an image signal related to an image displayed as a virtual image on the combiner 400, and stores a circuit board (not shown) that outputs the generated image signal to the optical unit 200. Is provided. An image signal output from an external device (not shown) such as a navigation device or a media playback device is input to the circuit board, and a predetermined process is performed on the input signal, which is then output to the optical unit 200. it can.
  • the substrate storage unit 100 is connected to an attachment member (not shown), and the rearview mirror 600 is held by the attachment member, whereby the head-up display 10 is attached to the rearview mirror 600. Note that the mounting member is not shown for easy explanation and understanding of the overall configuration of the head-up display 10.
  • the head-up display 10 includes an optical unit 200 to which an image signal output from a circuit board is input.
  • the optical unit 200 includes an optical unit main body 210 and a projection unit 300.
  • the optical unit main body 210 houses a light source, an image display element, various optical lenses, and the like which will be described later.
  • the projection unit 300 houses various projection mirrors and an intermediate image screen described later.
  • the image signal output from the circuit board is projected as image display light from the projection port to the combiner 400 having a concave shape via each device of the optical unit main body 210 and each device of the projection unit 300.
  • LCOS Liquid crystal on silicon
  • DMD Digital Micromirror Device
  • the optical system and the driving circuit according to the display element to be applied are used.
  • a laser type display device using MEMS Micro Electro Mechanical Systems or the like may be used.
  • the user who is the driver recognizes the projected image display light as a virtual image via the combiner 400.
  • the projection unit 300 projects the image display light of the character “A” onto the combiner 400.
  • the user recognizes the letter “A” as if it is displayed, for example, 1.7m to 2.0m ahead (front of the vehicle) from the user, that is, recognizes the virtual image 450. it can.
  • the central axis of the image display light projected from the projection unit 300 onto the combiner 400 is defined as the projection axis.
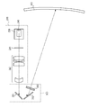
  • FIG. 3 and 4 are diagrams for describing the internal configuration of the optical unit 200 of the head-up display 10 described above.
  • FIG. 3 is a diagram showing an internal configuration of the optical unit main body 210 and a part of the internal configuration of the projection unit 300 together with an optical path related to image display light.
  • FIG. 4 is a diagram illustrating an internal configuration of the projection unit 300 and a part of the internal configuration of the optical unit main body 210 together with an optical path related to image display light projected to the combiner 400.
  • the optical unit body 210 includes a light source 231, a collimator lens 232, a UV-IR (Ultra Violet-Infrared Ray) cut filter 233, a polarizer 234, a fly-eye lens 235, a reflector 236, a field lens 237, and a wire grid polarization beam splitter 238. , A quarter wave plate 239, a phase compensation plate 241, a projection lens group 242, and a heat sink 243.
  • the light source 231 includes a light emitting diode that emits light of three colors of white, blue, green, and red.
  • a heat sink 243 is attached to the light source 231 for cooling the heat generated with light emission.
  • the light emitted from the light source 231 is converted into parallel light by the collimating lens 232.
  • the UV-IR cut filter 233 absorbs and removes ultraviolet light and infrared light from the parallel light that has passed through the collimating lens 232.
  • the polarizer 234 changes the light that has passed through the UV-IR cut filter 233 into unpolarized P-polarized light.
  • the fly-eye lens 235 uniformly adjusts the brightness of the light that has passed through the polarizer 234.
  • the reflecting mirror 236 deflects the optical path of the light passing through each cell of the fly-eye lens 235 by 90 degrees.
  • the light reflected by the reflecting mirror 236 is collected by the field lens 237.
  • the light collected by the field lens 237 is irradiated to the image display element 240 via the wire grid polarization beam splitter 238 and the quarter wavelength plate 239 that transmit the P-polarized light.
  • the image display element 240 includes red, green, and blue color filters for each pixel.
  • the light emitted to the image display element 240 has a color corresponding to each pixel, is modulated by the liquid crystal composition included in the image display element 240, and becomes S-polarized image display light, which is applied to the wire grid polarization beam splitter 238. It is injected towards.
  • the emitted S-polarized light is reflected by the wire grid polarization beam splitter 238, changes the optical path, passes through the phase compensation plate 241, and then enters the projection lens group 242.
  • the image display light transmitted through the projection lens group 242 exits the optical unit main body 210 and enters the projection unit 300. And the 1st projection mirror 351 with which the projection part 300 is provided changes the optical path of the image display light which entered.
  • the projection unit 300 includes a first projection mirror 351, a second projection mirror 352, and an intermediate image screen 360.
  • the first projection mirror 351 and the second projection mirror 352 reflect the image display light projected through the wire grid polarization beam splitter 238, the phase compensation plate 241, and the projection lens group 242 included in the optical unit main body 210, and thereby the optical path thereof. Is deflected in the direction projected onto the combiner 400.
  • the intermediate image screen 360 has a property of diffusing transmitted image display light at a predetermined light distribution angle.
  • the intermediate image screen 360 for example, a diffusion plate having fine irregularities on the surface or a diffusion film in which a bead diffusion material having a diameter of about several tens of microns is distributed is used.
  • the intermediate image screen 360 is provided at a position where a real image based on the image display light projected by the projection lens group 242 and reflected by the first projection mirror 351 and the second projection mirror 352 is formed. Accordingly, the image display light relating to the real image formed on the intermediate image screen 360 is transmitted while being diffused by the intermediate image screen 360, passes through the projection port 301, and is projected onto the combiner 400. The user recognizes a virtual image related to the image display light projected on the combiner 400 in the forward direction.
  • the image display light diffused by the intermediate image screen 360 has a predetermined light distribution angle
  • the image display light reflected by the combiner 400 and presented to the user also has a predetermined light distribution angle. Therefore, even when the user moves the line-of-sight position, the user can visually recognize the virtual image related to the image display light in a good state as long as it is within the light distribution angle range of the image display light reflected by the combiner 400. can do.
  • the user can visually recognize a virtual image based on the image signal output from the circuit board superimposed on an actual landscape via the combiner 400. Further, even when the user moves the line-of-sight position, the intermediate image screen 360 has a property of diffusing transmitted light at a predetermined light distribution angle, so that the image display light with high visibility can be confirmed.
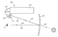
  • FIG. 5 is a diagram for explaining extraneous light reflected by a conventional intermediate image screen 360, and extraneous light 336 such as sunlight is incident on the projection axis 320 of image display light projected from the projection unit 300.
  • the state which injects along is shown.
  • the image display light emitted from the projection port 301 reaches the combiner 400 along the projection axis 320, is reflected by the combiner 400, and reaches the user's eyes E along the line-of-sight direction 340.
  • the extraneous light 336 incident along the projection axis 320 enters the projection port 301 of the projection unit 300 and reaches the intermediate image screen 360.
  • a part of the extraneous light 336 reaching the intermediate image screen 360 is diffusely reflected by the intermediate image screen 360 and reaches the combiner 400 as extraneous light 337 having a predetermined light distribution angle.
  • the extraneous light 338 reflected by the combiner 400 travels along the line-of-sight direction 340 and is visually recognized by the user.
  • the extraneous light 338 reflected by the combiner 400 reaches the user's eyes E through the same path as the image display light projected from the projection unit 300, the user displays the image display light projected by the projection unit 300. Then, an image on which the extraneous light 338 is superimposed is visually recognized. Since the extraneous light 338 is diffusely reflected by the intermediate image screen 360 at a predetermined light distribution angle, the brightness of the incident extraneous light 336 is uniformly distributed and reaches the user's eyes E.
  • an intermediate image screen 361 that can block the diffused and reflected external light 337 while maintaining the performance of diffusing the image display light projected by the projection unit 300 will be described.
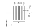
  • FIG. 6 is a side view showing the configuration of the intermediate image screen 361 according to the embodiment.
  • the intermediate image screen 361 includes a first wave plate 381, a polarization maintaining diffusion plate 382, a second wave plate 383, and an absorption polarizing plate 384.
  • the first wave plate 381, the polarization-maintaining diffusing plate 382, the second wave plate 383, and the absorption-type polarizing plate 384 are provided in order so that the image display light emitted in the direction of the projection axis 320 is incident vertically.
  • Each surface to be provided is provided in close proximity.
  • the first wave plate 381, the polarization-maintaining diffusing plate 382, the second wave plate 383, and the absorption polarizing plate 384 may be provided so that their opposing surfaces are in contact with each other.
  • the direction of the projection axis 320 from which the image display light is emitted is the z-axis direction
  • the horizontal direction perpendicular to the z-axis direction is the x-axis direction
  • the direction perpendicular to the z-axis direction and the x-axis direction is y.
  • the image display light incident on the first wave plate 381 of the intermediate image screen 361 will be described as linearly polarized light whose electric field vibrates in the y direction.
  • the first wave plate 381 is a quarter wave plate, and converts linearly polarized image display light emitted from the optical unit 200 and perpendicularly incident on the first wave plate 381 into circularly polarized image display light.
  • the first wave plate 381 has a position in which the fast axis rotates 45 ° counterclockwise and the slow axis rotates 45 ° clockwise with respect to the y-axis direction. It is provided to become. Therefore, the y-polarized image display light incident on the first wave plate 381 is transmitted through the first wave plate 381 to become clockwise circularly-polarized image display light emitted in the + z direction.
  • the polarization-maintaining diffusing plate 382 has a property of diffusing transmitted light at a predetermined light distribution angle while maintaining the polarization direction of the transmitted light, and a polymer with fine unevenness on the surface, fine unevenness It is comprised with the glass substrate etc. which provided diffusivity and provided.
  • the processing for imparting diffusibility is performed on one side or both sides of the polarization maintaining diffusion plate 382.
  • the clockwise circularly polarized image display light emitted from the first wavelength plate 381 is diffused and transmitted by the polarization maintaining diffusion plate 382 at a predetermined light distribution angle.
  • the polarization state of the image display light diffused through the polarization-maintaining diffusion plate 382 is maintained, and right-handed circularly polarized image display light diffused at a predetermined light distribution angle is emitted from the polarization-maintaining diffusion plate 382. Is done.
  • the second wave plate 383 is a quarter wave plate and is provided so as to convert the clockwise circularly polarized image display light diffused by the polarization maintaining diffusion plate 382 into linearly polarized image display light.
  • the second wave plate 383 has a fast axis 45 ° counterclockwise with respect to the y-axis direction and a slow axis clockwise when viewed in the ⁇ z direction like the first wave plate 381. It is provided to be at a position rotated by 45 °. Therefore, clockwise circularly polarized image display light incident on the second wave plate 383 is transmitted through the second wave plate 383 and becomes linearly polarized light whose electric field vibrates in the x direction.
  • the absorbing polarizing plate 384 is an absorbing polarizing plate that transmits light whose electric field vibrates in a certain direction and absorbs light whose electric field vibrates in a direction perpendicular to the transmitting vibration direction.
  • the absorptive polarizing plate 384 is provided so that the transmission axis of the absorptive polarizing plate 384 is in the x-axis direction in order to transmit the x-polarized image display light emitted from the second wave plate 383. Therefore, the x-polarized image display light incident on the absorption type polarizing plate 384 is transmitted without being absorbed by the absorption type polarizing plate 384.
  • the x-polarized image display light transmitted through the absorption type polarizing plate 384 is emitted from the projection port 301 of the projection unit 300 toward the combiner 400.
  • Non-polarized extraneous light 336 incident from the projection port 301 of the projection unit 300 enters the absorption-type polarizing plate 384. Since the absorption-type polarizing plate 384 is provided so that the transmission axis is in the x-axis direction, the component that vibrates in the y-axis direction of the external light 336 is absorbed, and the component that vibrates in the x-axis direction is transmitted. Therefore, the external light 336 transmitted through the absorption type polarizing plate 384 becomes x-polarized light. Note that an antireflection film may be provided on the surface of the absorption polarizing plate 384 in order to prevent the extraneous light 336 from being reflected by the surface of the absorption polarizing plate 384.
  • X-polarized extraneous light 336 transmitted through the absorption-type polarizing plate 384 enters the second wave plate 383.
  • the second wave plate 383 is provided such that the fast axis rotates 45 ° counterclockwise and the slow axis rotates 45 ° clockwise with respect to the x axis. ing. Therefore, the x-polarized extraneous light 336 incident on the second wavelength plate 383 in the ⁇ z direction is transmitted through the second wavelength plate 383 and becomes clockwise circularly polarized light.
  • the clockwise circularly polarized extraneous light 336 transmitted through the second wavelength plate 383 is incident on the polarization-maintaining diffusion plate 382, and a part of the light is diffusely reflected by the polarization-maintaining diffusion plate 382 while maintaining its polarization state. . Therefore, the clockwise circularly polarized extraneous light 336 incident in the ⁇ z direction is reflected by the polarization-maintaining diffusion plate 382 and becomes the counterclockwise circularly polarized extraneous light 337 emitted in the + z direction.
  • the counterclockwise circularly polarized external light 337 reflected by the polarization-maintaining diffusion plate 382 is transmitted through the second wavelength plate 383 in the + z direction and becomes linearly polarized light whose electric field vibrates in the y direction.
  • the y-polarized extraneous light 337 that has passed through the second wavelength plate 383 enters the absorption-type polarizing plate 384. Since the absorption-type polarizing plate 384 has a transmission axis in the x direction, the y-polarized extraneous light 337 is absorbed by the absorption-type polarizing plate 384 and does not pass therethrough.
  • the image display light projected by the projection unit 300 can be projected through the projection port 301 after being diffused by the polarization maintaining diffusion plate 382 at a predetermined light distribution angle.
  • the extraneous light 336 incident from the projection port 301 is diffusely reflected by the polarization-maintaining diffusing plate 382, it is absorbed by the absorption polarizing plate 384, and thus is not emitted in the direction of the projection axis 320 of the image display light. Therefore, it is possible to prevent the extraneous light 338 from reaching the user's eyes, and to suppress a decrease in contrast of the image display light presented to the user. Therefore, the user can visually recognize the image display light in a good state even in an environment illuminated by external light.
  • the image display that transmits the absorption polarizing plate 384 is used compared to the case of using the diffusion plate that does not maintain the polarization state.
  • the light can be brightened. If a diffusion plate that does not maintain the polarization state is used, the image display light that has passed through the diffusion plate contains components other than clockwise circularly polarized light. Therefore, the image display light that has passed through the second wavelength plate 383 is not x-polarized light. Contains ingredients. Components other than the x-polarized light are absorbed by the absorption polarizing plate 384, and the brightness of the image display light is reduced by the amount absorbed.
  • FIG. 7 is a side sectional view showing the configuration of the projection unit 300 according to the embodiment.
  • the intermediate image screen 361 is provided so as to block the projection port 301 of the projection unit 300, and is fixed to the projection unit 300 so that the surface thereof is perpendicular to the projection axis 320. Since the intermediate image screen 361 is provided so as to block the projection port 301, it is possible to prevent dust from entering the projection unit 300. Thereby, it is not necessary to separately provide a projection port cover for dust prevention, and the cost can be reduced.
  • FIG. 8 is a side sectional view showing the configuration of the projection unit 311 according to the first modification. Unlike the projection unit 300 described above, the projection unit 311 according to the first modification includes an intermediate image screen 362 instead of the intermediate image screen 361.
  • the intermediate image screen 362 according to the first modification is fixed to the projection unit 311 so that the polarization maintaining diffusion plate 382 and the second wavelength plate 383 are separated from each other.
  • the second wave plate 383 and the absorption-type polarizing plate 384 are provided so as to close the projection port 301 of the projection unit 311 and serve as the projection port cover 390.
  • the projection unit 311 causes the polarization maintaining diffusion plate 382 to diffuse the image display light at a predetermined light distribution angle and emit the image display light from the projection port 301 in the same manner as the projection unit 300.
  • the extraneous light 336 incident from the projection port 301 is not emitted from the projection port 301 toward the projection axis 320 of the image display light. Therefore, even in an environment illuminated by external light, it is possible to present the image display light to the user in a good state.
  • the projection port 301 is covered with the projection port cover 390, it is possible to prevent dust from entering the projection unit 311.
  • the projection port 301 is dust-proof by the projection port cover 390, the first wavelength plate 381 and the polarization-maintaining diffusion plate 382 constituting the intermediate image screen 362 have an area smaller than the opening area of the projection port 301. be able to. Thereby, compared with the intermediate image screen 361 according to the embodiment, the cost of the intermediate image screen 362 according to the first modification can be reduced.
  • FIG. 9 is a side sectional view showing the configuration of the projection unit 312 according to the second modification.
  • the projection unit 312 according to the second modification includes a projection port cover 391 instead of the projection port cover 390.
  • a projection port 302 in which a plane forming the projection port is not perpendicular to the projection axis 320 is provided.
  • the projection port cover 391 includes a second wave plate 383 and an absorption-type polarizing plate 384, and is fixed to the projection unit 312 so that each surface intersects the projection axis 320 at a predetermined angle. The mouth 302 is blocked.
  • the projection port cover 391 is provided in parallel with the plane that forms the projection port 302. Accordingly, the image display light diffused by the polarization-maintaining diffusion plate 382 is incident obliquely on the projection port cover 391 at a predetermined incident angle.
  • FIG. 10 is a side view showing the configuration of the intermediate image screen 363 according to the second modification.
  • the normal line 385 in FIG. 10 is an axis perpendicular to the surfaces that are the light incident surfaces of the second wave plate 383 and the absorption-type polarizing plate 384.
  • the second wavelength plate 383 and the absorption type polarizing plate 384 constituting the projection port cover 391 are obliquely incident on the surface of the image display light emitted along the projection axis 320 at an incident angle ⁇ with respect to the normal line 385.
  • the polarization-maintaining diffusing plate 382 is provided so that the diffused image display light is obliquely incident on the second wavelength plate 383 at an incident angle ⁇ .
  • the image display light that is obliquely incident on the second wave plate 383 at the incident angle ⁇ is refracted on the surface of the second wave plate 383 and is transmitted through the second wave plate 383 at the refraction angle ⁇ .
  • the distance that light passes through the second wave plate 383 is t / sin ⁇ , where t is the thickness of the second wave plate 383. Therefore, the thickness of the second wavelength plate 383 and the progress of the circularly polarized image display light obliquely incident on the second wavelength plate 383 become linearly polarized image display light when transmitted through a distance of t / sin ⁇ . Adjust the direction of the phase axis and slow axis.
  • the image display light transmitted through the second wavelength plate 383 becomes x-polarized image display light.
  • the x-polarized image display light emitted from the second wave plate 383 passes through the absorption polarizing plate 384 and is emitted as projection light 324 parallel to the projection axis 320.
  • the projection unit 312 according to the second modification example can set the orientation of the plane forming the projection port 302 to an arbitrary angle, and increase the degree of freedom in designing the appearance of the projection unit 312. be able to.
  • the projection port covers 390 and 391 are configured to include the second wave plate 383 and the absorption type polarizing plate 384, but the configuration is not limited thereto.
  • the projection port covers 390 and 391 may include the absorption polarizing plate 384.
  • the display apparatus for vehicles used attaching to other positions may be used.
  • a projection unit is installed at the top of the dashboard of the vehicle or inside the dashboard, and a virtual image is presented to the user by projecting image display light onto a combiner provided between the windshield and the dashboard of the vehicle. May be.
  • the description has been given as the vehicle display device disposed in the vehicle, but the image display device may be used for other purposes.
  • a virtual surface may be presented to the user by using a lens surface such as glasses worn by the user as a combiner and projecting image display light onto the combiner.
  • head-up display 200 optical unit, 240 image display element, 300, 311, 312 projection unit, 301, 302 projection port, 360, 361, 362, 363 intermediate image screen, 381 first wavelength plate, 382 polarization maintaining diffusion Plate, 383 second wavelength plate, 384 absorption polarizing plate, 400 combiner, 450 virtual image.
  • an image display device capable of displaying an image with high visibility to the user even in an environment illuminated by external light.

Landscapes

  • Physics & Mathematics (AREA)
  • General Physics & Mathematics (AREA)
  • Optics & Photonics (AREA)
  • Engineering & Computer Science (AREA)
  • Theoretical Computer Science (AREA)
  • Marketing (AREA)
  • Accounting & Taxation (AREA)
  • Business, Economics & Management (AREA)
  • Instrument Panels (AREA)
  • Polarising Elements (AREA)
  • Projection Apparatus (AREA)
  • Multimedia (AREA)
  • Mechanical Engineering (AREA)
PCT/JP2013/004469 2012-07-30 2013-07-23 画像表示装置 Ceased WO2014020858A1 (ja)

Priority Applications (1)

Application Number Priority Date Filing Date Title
US14/597,683 US9580015B2 (en) 2012-07-30 2015-01-15 Image display device

Applications Claiming Priority (2)

Application Number Priority Date Filing Date Title
JP2012-168937 2012-07-30
JP2012168937A JP6056246B2 (ja) 2012-07-30 2012-07-30 画像表示装置

Related Child Applications (1)

Application Number Title Priority Date Filing Date
US14/597,683 Continuation US9580015B2 (en) 2012-07-30 2015-01-15 Image display device

Publications (1)

Publication Number Publication Date
WO2014020858A1 true WO2014020858A1 (ja) 2014-02-06

Family

ID=50027567

Family Applications (1)

Application Number Title Priority Date Filing Date
PCT/JP2013/004469 Ceased WO2014020858A1 (ja) 2012-07-30 2013-07-23 画像表示装置

Country Status (3)

Country Link
US (1) US9580015B2 (enExample)
JP (1) JP6056246B2 (enExample)
WO (1) WO2014020858A1 (enExample)

Families Citing this family (13)

* Cited by examiner, † Cited by third party
Publication number Priority date Publication date Assignee Title
FR3029353B1 (fr) * 2014-11-28 2016-12-23 Valeo Comfort & Driving Assistance Dispositif de retroeclairage notamment pour afficheur tete haute et afficheur tete haute pour vehicule automobile
JP6372346B2 (ja) * 2014-12-24 2018-08-15 日本精機株式会社 ヘッドアップディスプレイ
WO2016171154A1 (ja) * 2015-04-24 2016-10-27 シャープ株式会社 表示装置
JP6595250B2 (ja) * 2015-08-06 2019-10-23 株式会社ポラテクノ ヘッドアップディスプレイ装置
JPWO2017061000A1 (ja) * 2015-10-08 2018-06-28 マクセル株式会社 ヘッドアップディスプレイ装置
DE102016225718B4 (de) * 2015-12-29 2021-12-23 Ford Global Technologies, Llc Head-up-Display für ein Fahrzeug sowie ein Fahrzeug
US10018840B2 (en) * 2016-02-12 2018-07-10 Lg Electronics Inc. Head up display for vehicle
KR101868684B1 (ko) * 2016-02-12 2018-07-17 엘지전자 주식회사 차량용 헤드 업 디스플레이
CN107479193B (zh) * 2016-06-08 2020-02-21 深圳市掌网科技股份有限公司 一种用于头戴式显示器的防尘结构
DE102016213687B4 (de) * 2016-07-26 2019-02-07 Audi Ag Verfahren zum Steuern einer Anzeigevorrichtung für ein Kraftfahrzeug, Anzeigevorrichtung für ein Kraftfahrzeug und Kraftfahrzeug mit einer Anzeigevorrichtung
JP6572856B2 (ja) * 2016-09-22 2019-09-11 株式会社デンソー ヘッドアップディスプレイ装置
EP4120004B1 (en) 2021-07-16 2024-11-06 Coretronic Corporation Head up display
CN115616775A (zh) * 2021-07-16 2023-01-17 中强光电股份有限公司 抬头显示器

Citations (3)

* Cited by examiner, † Cited by third party
Publication number Priority date Publication date Assignee Title
JPH07230059A (ja) * 1994-02-17 1995-08-29 Nippondenso Co Ltd ホログラム表示装置
JP2005274955A (ja) * 2004-03-24 2005-10-06 Tatsuo Uchida リアプロジェクションディスプレイ用光学系
JP2007186016A (ja) * 2006-01-11 2007-07-26 Denso Corp 車両用ヘッドアップディスプレイ装置

Family Cites Families (3)

* Cited by examiner, † Cited by third party
Publication number Priority date Publication date Assignee Title
JPH10278629A (ja) 1997-04-08 1998-10-20 Toppan Printing Co Ltd 車両用ヘッドアップディスプレイ装置
WO2005022238A1 (ja) * 2003-09-01 2005-03-10 Nikon Corporation 画像表示装置およびカメラ
WO2011077742A1 (ja) * 2009-12-25 2011-06-30 三井化学株式会社 偏光性拡散フィルムおよびその製造方法、ならびに偏光性拡散フィルムを含む液晶表示装置

Patent Citations (3)

* Cited by examiner, † Cited by third party
Publication number Priority date Publication date Assignee Title
JPH07230059A (ja) * 1994-02-17 1995-08-29 Nippondenso Co Ltd ホログラム表示装置
JP2005274955A (ja) * 2004-03-24 2005-10-06 Tatsuo Uchida リアプロジェクションディスプレイ用光学系
JP2007186016A (ja) * 2006-01-11 2007-07-26 Denso Corp 車両用ヘッドアップディスプレイ装置

Also Published As

Publication number Publication date
JP2014026245A (ja) 2014-02-06
US9580015B2 (en) 2017-02-28
US20150123879A1 (en) 2015-05-07
JP6056246B2 (ja) 2017-01-11

Similar Documents

Publication Publication Date Title
JP6056246B2 (ja) 画像表示装置
JP6115420B2 (ja) 画像表示装置
CN105874358B (zh) 透射型屏幕及使用了它的图像显示装置
TWI604225B (zh) 抬頭顯示器光學架構
CN111213114B (zh) 信息显示装置及其空间感测装置
JP2018049294A (ja) 中間像形成部
JP6127912B2 (ja) 画像表示装置
JPWO2016147570A1 (ja) ヘッドアップディスプレイ
JP5953987B2 (ja) 画像表示装置
JPWO2015159523A1 (ja) ヘッドアップディスプレイ、およびヘッドアップディスプレイを搭載した移動体
US10578867B2 (en) Head-up display with holographic optical element
JP2015034918A (ja) 画像表示方法、画像表示装置、偏光スクリーンならびに偏光板
WO2019077939A1 (ja) 虚像表示装置
JP5906968B2 (ja) 車両用表示装置
JP6683149B2 (ja) ヘッドアップディスプレイ装置
JP5910394B2 (ja) 画像表示装置
JP6330944B2 (ja) 中間像形成装置
JP2024007661A (ja) ヘッドアップディスプレイ装置
JP2024179345A (ja) ヘッドアップディスプレイ及び乗り物
JP2023057027A (ja) 画像生成ユニット及びヘッドアップディスプレイ装置
JP2019211718A (ja) 虚像表示装置
WO2016162922A1 (ja) ヘッドアップディスプレイ

Legal Events

Date Code Title Description
121 Ep: the epo has been informed by wipo that ep was designated in this application

Ref document number: 13824762

Country of ref document: EP

Kind code of ref document: A1

NENP Non-entry into the national phase

Ref country code: DE

122 Ep: pct application non-entry in european phase

Ref document number: 13824762

Country of ref document: EP

Kind code of ref document: A1