WO2013151099A1 - 血圧計 - Google Patents

血圧計 Download PDF

Info

Publication number
WO2013151099A1
WO2013151099A1 PCT/JP2013/060225 JP2013060225W WO2013151099A1 WO 2013151099 A1 WO2013151099 A1 WO 2013151099A1 JP 2013060225 W JP2013060225 W JP 2013060225W WO 2013151099 A1 WO2013151099 A1 WO 2013151099A1
Authority
WO
WIPO (PCT)
Prior art keywords
light emitting
light
sphygmomanometer
blood pressure
emitting elements
Prior art date
Legal status (The legal status is an assumption and is not a legal conclusion. Google has not performed a legal analysis and makes no representation as to the accuracy of the status listed.)
Ceased
Application number
PCT/JP2013/060225
Other languages
English (en)
French (fr)
Japanese (ja)
Inventor
恵太 池田
真孝 柳ヶ瀬
新吾 山下
西岡 孝哲
泉 八丸
Current Assignee (The listed assignees may be inaccurate. Google has not performed a legal analysis and makes no representation or warranty as to the accuracy of the list.)
Omron Healthcare Co Ltd
Original Assignee
Omron Healthcare Co Ltd
Priority date (The priority date is an assumption and is not a legal conclusion. Google has not performed a legal analysis and makes no representation as to the accuracy of the date listed.)
Filing date
Publication date
Application filed by Omron Healthcare Co Ltd filed Critical Omron Healthcare Co Ltd
Priority to US14/390,075 priority Critical patent/US9204810B2/en
Priority to CN201380016086.0A priority patent/CN104185442B/zh
Priority to DE201311001911 priority patent/DE112013001911T5/de
Publication of WO2013151099A1 publication Critical patent/WO2013151099A1/ja
Anticipated expiration legal-status Critical
Ceased legal-status Critical Current

Links

Images

Classifications

    • AHUMAN NECESSITIES
    • A61MEDICAL OR VETERINARY SCIENCE; HYGIENE
    • A61BDIAGNOSIS; SURGERY; IDENTIFICATION
    • A61B5/00Measuring for diagnostic purposes; Identification of persons
    • A61B5/02Detecting, measuring or recording for evaluating the cardiovascular system, e.g. pulse, heart rate, blood pressure or blood flow
    • A61B5/021Measuring pressure in heart or blood vessels
    • A61B5/022Measuring pressure in heart or blood vessels by applying pressure to close blood vessels, e.g. against the skin; Ophthalmodynamometers
    • A61B5/02233Occluders specially adapted therefor
    • AHUMAN NECESSITIES
    • A61MEDICAL OR VETERINARY SCIENCE; HYGIENE
    • A61BDIAGNOSIS; SURGERY; IDENTIFICATION
    • A61B5/00Measuring for diagnostic purposes; Identification of persons
    • A61B5/02Detecting, measuring or recording for evaluating the cardiovascular system, e.g. pulse, heart rate, blood pressure or blood flow
    • A61B5/021Measuring pressure in heart or blood vessels
    • AHUMAN NECESSITIES
    • A61MEDICAL OR VETERINARY SCIENCE; HYGIENE
    • A61BDIAGNOSIS; SURGERY; IDENTIFICATION
    • A61B5/00Measuring for diagnostic purposes; Identification of persons
    • A61B5/02Detecting, measuring or recording for evaluating the cardiovascular system, e.g. pulse, heart rate, blood pressure or blood flow
    • A61B5/021Measuring pressure in heart or blood vessels
    • A61B5/022Measuring pressure in heart or blood vessels by applying pressure to close blood vessels, e.g. against the skin; Ophthalmodynamometers
    • A61B5/0225Measuring pressure in heart or blood vessels by applying pressure to close blood vessels, e.g. against the skin; Ophthalmodynamometers the pressure being controlled by electric signals, e.g. derived from Korotkoff sounds
    • A61B5/02255Measuring pressure in heart or blood vessels by applying pressure to close blood vessels, e.g. against the skin; Ophthalmodynamometers the pressure being controlled by electric signals, e.g. derived from Korotkoff sounds the pressure being controlled by plethysmographic signals, e.g. derived from optical sensors
    • AHUMAN NECESSITIES
    • A61MEDICAL OR VETERINARY SCIENCE; HYGIENE
    • A61BDIAGNOSIS; SURGERY; IDENTIFICATION
    • A61B5/00Measuring for diagnostic purposes; Identification of persons
    • A61B5/68Arrangements of detecting, measuring or recording means, e.g. sensors, in relation to patient
    • A61B5/6801Arrangements of detecting, measuring or recording means, e.g. sensors, in relation to patient specially adapted to be attached to or worn on the body surface
    • A61B5/6813Specially adapted to be attached to a specific body part
    • A61B5/6824Arm or wrist
    • AHUMAN NECESSITIES
    • A61MEDICAL OR VETERINARY SCIENCE; HYGIENE
    • A61BDIAGNOSIS; SURGERY; IDENTIFICATION
    • A61B5/00Measuring for diagnostic purposes; Identification of persons
    • A61B5/74Details of notification to user or communication with user or patient; User input means
    • A61B5/742Details of notification to user or communication with user or patient; User input means using visual displays
    • GPHYSICS
    • G02OPTICS
    • G02BOPTICAL ELEMENTS, SYSTEMS OR APPARATUS
    • G02B5/00Optical elements other than lenses
    • G02B5/30Polarising elements
    • G02B5/3083Birefringent or phase retarding elements
    • GPHYSICS
    • G02OPTICS
    • G02FOPTICAL DEVICES OR ARRANGEMENTS FOR THE CONTROL OF LIGHT BY MODIFICATION OF THE OPTICAL PROPERTIES OF THE MEDIA OF THE ELEMENTS INVOLVED THEREIN; NON-LINEAR OPTICS; FREQUENCY-CHANGING OF LIGHT; OPTICAL LOGIC ELEMENTS; OPTICAL ANALOGUE/DIGITAL CONVERTERS
    • G02F1/00Devices or arrangements for the control of the intensity, colour, phase, polarisation or direction of light arriving from an independent light source, e.g. switching, gating or modulating; Non-linear optics
    • G02F1/01Devices or arrangements for the control of the intensity, colour, phase, polarisation or direction of light arriving from an independent light source, e.g. switching, gating or modulating; Non-linear optics for the control of the intensity, phase, polarisation or colour 
    • G02F1/13Devices or arrangements for the control of the intensity, colour, phase, polarisation or direction of light arriving from an independent light source, e.g. switching, gating or modulating; Non-linear optics for the control of the intensity, phase, polarisation or colour  based on liquid crystals, e.g. single liquid crystal display cells
    • G02F1/133Constructional arrangements; Operation of liquid crystal cells; Circuit arrangements
    • G02F1/1333Constructional arrangements; Manufacturing methods
    • G02F1/1335Structural association of cells with optical devices, e.g. polarisers or reflectors
    • G02F1/133528Polarisers
    • GPHYSICS
    • G02OPTICS
    • G02FOPTICAL DEVICES OR ARRANGEMENTS FOR THE CONTROL OF LIGHT BY MODIFICATION OF THE OPTICAL PROPERTIES OF THE MEDIA OF THE ELEMENTS INVOLVED THEREIN; NON-LINEAR OPTICS; FREQUENCY-CHANGING OF LIGHT; OPTICAL LOGIC ELEMENTS; OPTICAL ANALOGUE/DIGITAL CONVERTERS
    • G02F1/00Devices or arrangements for the control of the intensity, colour, phase, polarisation or direction of light arriving from an independent light source, e.g. switching, gating or modulating; Non-linear optics
    • G02F1/01Devices or arrangements for the control of the intensity, colour, phase, polarisation or direction of light arriving from an independent light source, e.g. switching, gating or modulating; Non-linear optics for the control of the intensity, phase, polarisation or colour 
    • G02F1/13Devices or arrangements for the control of the intensity, colour, phase, polarisation or direction of light arriving from an independent light source, e.g. switching, gating or modulating; Non-linear optics for the control of the intensity, phase, polarisation or colour  based on liquid crystals, e.g. single liquid crystal display cells
    • G02F1/133Constructional arrangements; Operation of liquid crystal cells; Circuit arrangements
    • G02F1/1333Constructional arrangements; Manufacturing methods
    • G02F1/1335Structural association of cells with optical devices, e.g. polarisers or reflectors
    • G02F1/133553Reflecting elements
    • GPHYSICS
    • G02OPTICS
    • G02FOPTICAL DEVICES OR ARRANGEMENTS FOR THE CONTROL OF LIGHT BY MODIFICATION OF THE OPTICAL PROPERTIES OF THE MEDIA OF THE ELEMENTS INVOLVED THEREIN; NON-LINEAR OPTICS; FREQUENCY-CHANGING OF LIGHT; OPTICAL LOGIC ELEMENTS; OPTICAL ANALOGUE/DIGITAL CONVERTERS
    • G02F1/00Devices or arrangements for the control of the intensity, colour, phase, polarisation or direction of light arriving from an independent light source, e.g. switching, gating or modulating; Non-linear optics
    • G02F1/01Devices or arrangements for the control of the intensity, colour, phase, polarisation or direction of light arriving from an independent light source, e.g. switching, gating or modulating; Non-linear optics for the control of the intensity, phase, polarisation or colour 
    • G02F1/13Devices or arrangements for the control of the intensity, colour, phase, polarisation or direction of light arriving from an independent light source, e.g. switching, gating or modulating; Non-linear optics for the control of the intensity, phase, polarisation or colour  based on liquid crystals, e.g. single liquid crystal display cells
    • G02F1/133Constructional arrangements; Operation of liquid crystal cells; Circuit arrangements
    • G02F1/1333Constructional arrangements; Manufacturing methods
    • G02F1/1335Structural association of cells with optical devices, e.g. polarisers or reflectors
    • G02F1/1336Illuminating devices
    • G02F1/133602Direct backlight
    • G02F1/133603Direct backlight with LEDs

Definitions

  • the present invention relates to a sphygmomanometer including a liquid crystal display unit.
  • Patent Document 1 Japanese Patent Application Laid-Open No. 2011-139829
  • This sphygmomanometer includes a main body, a segment liquid crystal panel provided on the surface of the main body, and LEDs provided in a region different from the segment liquid crystal panel on the surface of the main body. And a segment liquid crystal panel displays the information relevant to a test subject's blood pressure. The LED also displays posture information indicating the posture of the subject at the time of blood pressure measurement.
  • the LEDs are arranged in a region different from the segment liquid crystal panel on the surface of the main body, there is a problem that the main body of the blood pressure monitor becomes large and it is difficult to reduce the size. .
  • the LED can be arranged at a position overlapping the liquid crystal panel when viewed from the front, and the product can be reduced in size.
  • the light emitted from the LED that has passed through the panel becomes unclear. For this reason, the posture information of the subject at the time of blood pressure measurement cannot be clearly shown by the LED, and there is a problem that usability (usability) is lowered.
  • an object of the present invention is to provide a sphygmomanometer capable of downsizing a product without reducing usability.
  • the sphygmomanometer of the present invention is A blood pressure measurement cuff surrounding the measurement site; A body attached opposite the blood pressure measurement cuff; A display unit that is arranged with an extension along the outer surface of the main body opposite to the blood pressure measurement cuff, and displays information related to the blood pressure of the subject; A light emitting unit disposed in a position farther from the outer surface than the display unit inside the main body,
  • the display unit has a reflector, a first polarizing plate, a liquid crystal display element, and a second polarizing plate in order in a first direction from the inside of the main body toward the outer surface,
  • the reflector and the first polarizing plate are arranged on the light emitting unit so that the light from the light emitting unit is emitted through the liquid crystal display element and the second polarizing plate along the first direction. The corresponding region is cut out.
  • information related to blood pressure refers to systolic blood pressure (SBP (Systolic Blood Pressure)) that is the highest blood pressure, diastolic blood pressure (DBP (Diastolic Blood Pressure)) that is the lowest blood pressure, pulse rate, etc. Broadly refers to.
  • SBP Systolic Blood Pressure
  • DBP Diastolic Blood Pressure
  • the reflecting plate and the first polarizing plate of the display unit are notched in a region corresponding to the light emitting unit, and the light from the light emitting unit is directed along the first direction.
  • the light is emitted through the liquid crystal display element and the second polarizing plate.
  • the light emitting portion can be arranged so as to overlap the display portion with respect to the first direction, the area of the main body can be reduced in a direction perpendicular to the first direction, and the sphygmomanometer can be downsized. Can be realized.
  • the main body An angle detection unit for detecting an angle of the measurement site with respect to a predetermined reference direction; And a light emission control unit that controls the light emission unit to emit light based on the angle detected by the angle detection unit.
  • the light emitting unit is caused to emit light based on the angle detected by the angle detecting unit.
  • the said light emission part can show clearly the angle of the said to-be-measured site
  • the light emitting unit has three light emitting elements arranged in a line along the width direction of the blood pressure measurement cuff,
  • the light emission control unit causes the first light emitting element disposed at the center of the three light emitting elements to emit light when the detected angle is within a predetermined range, and the detected angle is predetermined.
  • the second light emitting element disposed on one side of the three light emitting elements is caused to emit light.
  • the third light emitting element disposed on the side emits light.
  • the first light emitting element emits light when the detected angle is within a predetermined range, and the second light when the detected angle is greater than the predetermined range.
  • the third light emitting element emits light. Therefore, the posture information of the subject can be shown more clearly depending on which light emitting element among the first to third light emitting elements emits light. Therefore, the test subject can more reliably measure the blood pressure in the correct posture based on this posture information.
  • the emission color of the first light emitting element is different from the emission color of the second and third light emitting elements.
  • the posture of the subject is determined by the first to third light emitting elements. Information can be shown more clearly. Therefore, the test subject can more reliably measure the blood pressure in the correct posture based on this posture information.
  • the main body includes a partition portion that partitions the emitted light from the three light emitting elements.
  • the emitted light from each of the three light emitting elements is partitioned by the partition portion, so that the subject can easily see which light emitting element emits light. Therefore, the posture information of the subject can be shown more clearly, and the subject can more reliably measure the blood pressure with the correct posture based on the posture information.
  • the main body includes a holder having a plane dimension substantially the same as the plane dimension of the liquid crystal display element between the reflective layer and the three light emitting elements.
  • the holder has a light emission path through which light from the light emitting element passes in the first direction in a region corresponding to each of the three light emitting elements with respect to a direction perpendicular to the first direction,
  • the part corresponding to between the said light emission paths which adjoin among the said holder forms the said partition part, It is characterized by the above-mentioned.
  • a portion corresponding to between the adjacent light emission paths in the holder forms the partition. Therefore, it is possible to partition the emitted light from the three light emitting elements with a simple configuration without providing an additional partition.
  • the holder has a thickness exceeding the dimension of the light emitting element with respect to the first direction, The dimension of the light emission path in the direction perpendicular to the first direction is larger in the direction toward the first direction.
  • the dimension of the light emission path in the direction perpendicular to the first direction is increased toward the first direction. Accordingly, the range of light emitted from the light emitting element is widened compared to the case where the dimension of the light emitting path in the direction perpendicular to the first direction is constant along the first direction, It becomes easier for the subject to visually recognize the light from the light emitting element.
  • FIG. 3 is a view showing a cross section of the display section taken along line BB in FIG. 2.
  • FIG. 2 is a diagram showing a partial cross section of the main body of the sphygmomanometer taken along line AA in FIG. 1.
  • FIG. 2 is a diagram showing a partial cross section of the main body of the sphygmomanometer taken along line AA in FIG. 1.
  • FIG. 2 is a diagram showing the external appearance of the holder of the said blood pressure meter. It is a figure explaining the state which the position of the said blood pressure meter exists in a position higher than a test subject's heart.
  • FIG. 1 shows a wearing state in which a sphygmomanometer (the whole is denoted by reference numeral 1) of one embodiment of the present invention is worn on a left wrist 90 as a measurement site of a subject.
  • the sphygmomanometer 1 of this embodiment includes a cuff 20 as a blood pressure measurement cuff and a main body 10 attached to face the cuff 20. Further, the sphygmomanometer 1 includes a display unit 11 disposed along the outer surface 10a opposite to the cuff 20 of the main body 10, and a light emission disposed within the main body 10 at a position farther from the outer surface 10a than the display unit 11. First to third light-emitting elements 121 to 123 as parts.
  • the cuff 20 is made of a cloth band bag.
  • the cuff 20 has an outer peripheral portion positioned on the outer peripheral side when wound around the left wrist 90 and an inner peripheral portion positioned on the inner peripheral side.
  • a surface fastener (not shown) is provided on each of the outer peripheral portion and the inner peripheral portion of the cuff 20.
  • the sphygmomanometer 1 is mounted by surrounding the cuff 20 around the left wrist 90. In this wearing state, the sphygmomanometer 1 is fixed to the left wrist 90 by the surface fastener so that the outer surface 10a of the main body 10 faces the same direction as the palm of the left hand.
  • the display unit 11 has a substantially rectangular shape.
  • the display unit 11 displays information related to the blood pressure of the subject, such as SBP, DBP, and pulse rate.
  • the first to third light-emitting elements 121 to 123 of the light-emitting portion are arranged from the upper arm side to the hand side along the width direction of the cuff 20, so that the third light-emitting element 123, the first light-emitting element 121, and the second light-emitting element
  • the light emitting elements 122 are arranged in a line in the order.
  • the first to third light emitting elements 121 to 123 have the same size and are arranged at equal intervals.
  • the first to third light emitting elements 121 to 123 display information indicating the angle of the left wrist 90 (details will be described later).
  • FIG. 2 shows the display unit 11 as viewed from the front.
  • FIG. 3 shows a cross section of the display unit 11 taken along the line BB in FIG. 2 and 3 are provided with XYZ orthogonal coordinates for the sake of easy understanding (the same applies to FIGS. 4 and 5).
  • the display portion 11 is provided with a substantially rectangular cutout portion 110 corresponding to the first to third light emitting elements 121 to 123.
  • the display unit 11 includes a reflector 111 and a first polarizing plate in a first direction from the inside of the main body 10 toward the outer surface 10a, that is, a Z direction from the lower side to the upper side in FIG. 112, lower glass 113, upper glass 114, and second polarizing plate 116 are provided in this order.
  • the cutout portion 110 is formed by cutting out regions corresponding to the first to third light emitting elements 121 to 123 in the reflection plate 111 and the first polarizing plate 112 of the display unit 11.
  • the lower glass 113 and the upper glass 114 are made of a transparent glass substrate.
  • a liquid crystal layer (not shown) is provided between the lower glass 113 and the upper glass 114, and the liquid crystal display element 115 is formed by the liquid crystal layer, the lower glass 113, and the upper glass 114.
  • the reflection plate 111 is incident from the outer surface 10a of the main body 10 and reflects light that has reached the reflection plate 111 through the second polarizing plate 116, the liquid crystal display element 115, and the first polarizing plate 112.
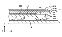
  • FIG. 4 shows a partial cross section of the main body 10 cut along the line AA in FIG. Specifically, a cross section of each part including the display unit 11 and the first to third light emitting elements 121 to 123 arranged inside the main body 10 is shown.
  • the first to third light emitting elements 121 to 123 are arranged on a substrate 15 provided inside the main body 10. Specifically, the first to third light emitting elements 121 to 123 are constituted by light emitting diodes or surface emitting lasers. The emission color of the first light emitting element 121 is blue, and the emission color of the second and third light emitting elements 122 and 123 is orange.
  • a holder 13 made of a rectangular plate-like member that holds the liquid crystal display element 115 is disposed.
  • the holder 13 extends in parallel with the liquid crystal display element 115 and has a plane dimension substantially the same as the plane dimension of the liquid crystal display element in the XY plane.
  • the holder 13 has first to third holes 131 to 133 as light emission paths at positions corresponding to the first to third light emitting elements 121 to 123, respectively.
  • the first to third holes 131 to 133 have the same size and shape.
  • a portion corresponding to the space between the first hole 131 and the second hole 132 includes light emitted from the first light emitting element 121 and light emitted from the second light emitting element 122. 1st partition part 141 which partitions off is formed.
  • a portion corresponding to between the first hole 131 and the third hole 133 is emitted from the first light emitting element 121 and the third light emitting element 123.
  • a second partition 142 that partitions light is formed. For this reason, by separately processing the existing holder 13 without providing an additional partition part, it is possible to partition the emitted light from the first to third light emitting elements 121 to 123 with a simple configuration. .
  • the plate thickness in the vicinity of the first to third holes 131 to 133 is the dimension (thickness) in the Z direction of the first to third light emitting elements 121 to 123. Is bigger than.
  • the dimensions of the first to third holes 131 to 133 in the direction perpendicular to the Z direction, that is, the XY direction, increase toward the + Z direction. For this reason, the range of light emitted from the first to third light emitting elements 121 to 123 is wider than that in the case where the dimensions in the XY direction of the first to third holes 131 to 133 are constant in the Z direction. Become. Therefore, it becomes easier for the subject to visually recognize the light emitted from the first to third light emitting elements 121 to 123.
  • a sheet-like light diffusion sheet 14 that closes the first to third holes 131 to 133 of the holder 13 is interposed.
  • Light emitted from the first to third light emitting elements 121 to 123 in the + Z direction is diffused through the light diffusion sheet 14 through the first to third holes 131 to 133, respectively.
  • the diffused light passes through the notch 110, and further passes through the lower glass 113 and the upper glass 114 of the liquid crystal display element 115 and the second polarizing plate 116, and is emitted from the outer surface 10a of the main body.
  • the light diffusion sheet 14 can widen the irradiation range of the emitted light from the first to third light emitting elements 121 to 123 and can eliminate the unevenness of the emitted light, so that the subject can easily see the emitted light.
  • the reflector 111 and the first polarizing plate 112 of the display unit 11 are provided with the notch portions 110 in regions corresponding to the first to third light emitting elements 121 to 123. .
  • the light emitted from the first to third light emitting elements 121 to 123 passes through the notch 110, and further passes through the liquid crystal display element 115 and the second polarizing plate 116, and then exits from the outer surface 10a of the main body.
  • the first to third light emitting elements 121 to 123 can be arranged so as to overlap the display unit 11 along the XY plane, so that the area of the main body 10 can be reduced in the XY direction, and the sphygmomanometer 1 can be downsized. realizable.
  • the light emitted from the first to third light emitting elements 121 to 123 through the notch 110 and further through the liquid crystal display element 115 and the second polarizing plate 116 passes, for example, a transflective liquid crystal panel. Becomes clearer than the emitted light.
  • Angle sensor 40 As shown in FIG. 4, on the substrate 15, in addition to the first to third light emitting elements 121 to 123, as an angle detection unit for detecting the angle of the wrist with respect to a predetermined reference direction. Angle sensor 40 is provided. A control unit 50 including a CPU (Central Processing Unit) and its auxiliary circuit is provided on the substrate 15. The control unit 50 performs control for causing the first to third light emitting elements 121 to 123 to emit light based on the angle detected by the angle sensor 40.
  • CPU Central Processing Unit
  • FIG. 6A to FIG. 6C explain the usage pattern of the sphygmomanometer 1 and the display of the sphygmomanometer 1.
  • the subject presses a measurement start operation unit (not shown) provided on the outer surface 10a of the main body 10 in a state where the left wrist 90 with the sphygmomanometer 1 is raised to the height of the heart to measure blood pressure.
  • the control unit 50 determines a reference direction based on the angle of the left wrist 90 detected by the angle sensor 40.
  • the control unit 50 acquires the posture information of the subject based on the angle of the left wrist 90 detected by the angle sensor 40.
  • This posture information indicates whether the detected angle of the left wrist 90 is larger or smaller than a predetermined allowable range (for example, ⁇ 5 °) with respect to the reference direction or within the above range. .
  • control unit 50 operates as a light emission control unit, and causes any one of the first to third light emitting elements 121 to 123 to emit light based on the posture information.
  • FIG. 6A when the detected angle of the left wrist 90 is larger than the allowable range and the height of the left wrist 90 is higher than the height of the heart, FIG. As shown, the second light emitting element 122 emits orange light. Thereby, it can display to the test subject that the height of the left wrist 90 is higher than the height of the heart, and the test subject can be prompted to lower the position of the left wrist 90.
  • the first light emitting element 121 emits blue light. Accordingly, the subject can be informed that the height of the left wrist 90 is substantially the same as the height of the heart, and the subject can be made aware that the position of the left wrist 90 is maintained. .
  • the third light emitting element 123 emits orange light. Thereby, it can be displayed that the height of the left wrist 90 is lower than the height of the heart with respect to the subject, and the subject can be prompted to raise the position of the left wrist 90.
  • the first to third light emitting elements 121 to 123 are caused to emit light based on the angle detected by the angle detection unit. For this reason, the first to third light emitting elements 121 to 123 can clearly indicate the angle of the measurement site during blood pressure measurement, that is, posture information of the subject. Therefore, the subject can measure the blood pressure in the correct posture based on this posture information, and can reduce the size of the sphygmomanometer 1 without reducing usability.
  • the posture information of the subject can be shown more clearly depending on which light emitting element among the first to third light emitting elements 121 to 123 emits light. Therefore, the subject can reliably measure the blood pressure in the correct posture based on this posture information.
  • the emission color of the first light emitting element 121 is different from the emission color of the second and third light emitting elements 122 and 123. That is, the emission color of the first light-emitting element 121 is blue, whereas the emission color of the second and third light-emitting elements 122 and 123 is orange.
  • the posture information of the subject can be more clearly shown by the first to third light emitting elements 121 to 123. Therefore, the test subject can more reliably measure the blood pressure in the correct posture based on this posture information.
  • the subject can determine which light emitting element is emitting light. It becomes easy to visually recognize. Therefore, the posture information of the subject can be shown more clearly, and the subject can more reliably measure the blood pressure with the correct posture based on the posture information.
  • the sphygmomanometer 1 is worn on the left wrist 90, it may be worn anywhere on the human body, such as the right wrist, ankle, or finger.
  • the light emitted from the first to third light emitting elements 121 to 123 in the + Z direction passes through the first to third holes 131 to 133, respectively. It is not limited.
  • the light emitted from the light emitting element in the ⁇ X direction may be reflected in the + Z direction by a mirror (not shown) so that the reflected light passes through a hole as a light emission path.
  • the holder 13 has the first to third holes 131 to 133.
  • the present invention is not limited to this.
  • a U-shaped cutout may be provided, or a separate partition may be provided to partition the emitted light from the plurality of light emitting elements.
  • the first to third light emitting elements 121 to 123 are arranged on the substrate 15, but may be arranged anywhere such as a side part or a bottom part of the main body.
  • the light emitting unit includes the first to third light emitting elements 121 to 123, but the present invention is not limited to this.
  • One light emitting element may be provided, and the posture information of the subject may be indicated by the blinking pattern of the light emitting element. Further, four or more light emitting elements may be provided to indicate the posture information of the subject.
  • the first to third light emitting elements 121 to 123 have the third light emitting element 123, the first light emitting element 121, and the second light emitting element 122 in the direction from the upper arm portion to the hand portion.
  • the present invention is not limited to this. As long as the subject can recognize when each light emitting element emits light and can clearly indicate the posture information of the subject, the light emitting elements may be arranged in any manner.
  • the emission color of the first light emitting element 121 is blue, and the emission color of the second and third light emitting elements 122 and 123 is orange.
  • the light emitting colors of the three light emitting elements may all be the same color.
  • the emission color of the first light emitting element 121 is blue, and the emission color of the second and third light emitting elements 122 and 123 is orange.
  • any combination of emission colors such as a combination of red and yellow may be used.

Landscapes

  • Health & Medical Sciences (AREA)
  • Physics & Mathematics (AREA)
  • Life Sciences & Earth Sciences (AREA)
  • Nonlinear Science (AREA)
  • Cardiology (AREA)
  • Medical Informatics (AREA)
  • Animal Behavior & Ethology (AREA)
  • Veterinary Medicine (AREA)
  • Public Health (AREA)
  • General Health & Medical Sciences (AREA)
  • Surgery (AREA)
  • Molecular Biology (AREA)
  • Heart & Thoracic Surgery (AREA)
  • Biophysics (AREA)
  • Pathology (AREA)
  • Engineering & Computer Science (AREA)
  • Biomedical Technology (AREA)
  • Vascular Medicine (AREA)
  • Optics & Photonics (AREA)
  • General Physics & Mathematics (AREA)
  • Chemical & Material Sciences (AREA)
  • Mathematical Physics (AREA)
  • Crystallography & Structural Chemistry (AREA)
  • Physiology (AREA)
  • Ophthalmology & Optometry (AREA)
  • Dentistry (AREA)
  • Measuring Pulse, Heart Rate, Blood Pressure Or Blood Flow (AREA)
PCT/JP2013/060225 2012-04-05 2013-04-03 血圧計 Ceased WO2013151099A1 (ja)

Priority Applications (3)

Application Number Priority Date Filing Date Title
US14/390,075 US9204810B2 (en) 2012-04-05 2013-04-03 Blood pressure meter
CN201380016086.0A CN104185442B (zh) 2012-04-05 2013-04-03 血压计
DE201311001911 DE112013001911T5 (de) 2012-04-05 2013-04-03 Blutdruckmessgerät

Applications Claiming Priority (2)

Application Number Priority Date Filing Date Title
JP2012086233A JP5895673B2 (ja) 2012-04-05 2012-04-05 血圧計
JP2012-086233 2012-04-05

Publications (1)

Publication Number Publication Date
WO2013151099A1 true WO2013151099A1 (ja) 2013-10-10

Family

ID=49300580

Family Applications (1)

Application Number Title Priority Date Filing Date
PCT/JP2013/060225 Ceased WO2013151099A1 (ja) 2012-04-05 2013-04-03 血圧計

Country Status (5)

Country Link
US (1) US9204810B2 (enExample)
JP (1) JP5895673B2 (enExample)
CN (1) CN104185442B (enExample)
DE (1) DE112013001911T5 (enExample)
WO (1) WO2013151099A1 (enExample)

Cited By (2)

* Cited by examiner, † Cited by third party
Publication number Priority date Publication date Assignee Title
JP2013215260A (ja) * 2012-04-05 2013-10-24 Omron Healthcare Co Ltd 血圧計
US11684271B2 (en) 2020-03-05 2023-06-27 Welch Allyn, Inc. Wearable device for sensing vital signs

Families Citing this family (10)

* Cited by examiner, † Cited by third party
Publication number Priority date Publication date Assignee Title
JP6123627B2 (ja) 2013-10-16 2017-05-10 株式会社デンソー 車両用回転電機
CN106037708A (zh) * 2016-07-21 2016-10-26 柳州首光科技有限公司 一种显示节能型便携式电子血压仪
EP3518753B1 (en) * 2016-09-27 2025-08-27 Itamar Medical Spry 2021, Limited Partnership Systems and methods for biological metrics measurement
JP1573824S (enExample) * 2016-10-21 2017-04-10
JP1573823S (enExample) * 2016-10-21 2017-04-10
JP1573826S (enExample) * 2016-10-24 2017-04-10
JP2018121955A (ja) * 2017-02-02 2018-08-09 Kddi株式会社 脈拍測定装置、ウェアラブル装置及び脈拍測定方法
JP1586537S (enExample) * 2017-03-07 2017-09-25
USD1055285S1 (en) * 2021-01-26 2024-12-24 Shenzhen Aoj Medical Technology Co., Ltd. Wrist electronic sphygmomanometer
USD1064278S1 (en) * 2021-01-26 2025-02-25 Shenzhen Aoj Medical Technology Co., Ltd. Wrist electronic sphygmomanometer

Citations (2)

* Cited by examiner, † Cited by third party
Publication number Priority date Publication date Assignee Title
WO2010067723A1 (ja) * 2008-12-08 2010-06-17 オムロンヘルスケア株式会社 電子血圧計
WO2010071044A1 (ja) * 2008-12-17 2010-06-24 オムロンヘルスケア株式会社 電子血圧計

Family Cites Families (6)

* Cited by examiner, † Cited by third party
Publication number Priority date Publication date Assignee Title
JP3765284B2 (ja) * 2002-04-09 2006-04-12 セイコーエプソン株式会社 液晶表示装置及びその製造方法、並びに電子機器
JP3966188B2 (ja) * 2003-02-26 2007-08-29 松下電工株式会社 血圧計
JP4590998B2 (ja) * 2004-09-15 2010-12-01 オムロンヘルスケア株式会社 血圧計
US8551023B2 (en) * 2009-03-31 2013-10-08 Depuy (Ireland) Device and method for determining force of a knee joint
JP5248531B2 (ja) 2010-01-08 2013-07-31 パナソニック株式会社 手首血圧計
JP5895673B2 (ja) * 2012-04-05 2016-03-30 オムロンヘルスケア株式会社 血圧計

Patent Citations (2)

* Cited by examiner, † Cited by third party
Publication number Priority date Publication date Assignee Title
WO2010067723A1 (ja) * 2008-12-08 2010-06-17 オムロンヘルスケア株式会社 電子血圧計
WO2010071044A1 (ja) * 2008-12-17 2010-06-24 オムロンヘルスケア株式会社 電子血圧計

Cited By (2)

* Cited by examiner, † Cited by third party
Publication number Priority date Publication date Assignee Title
JP2013215260A (ja) * 2012-04-05 2013-10-24 Omron Healthcare Co Ltd 血圧計
US11684271B2 (en) 2020-03-05 2023-06-27 Welch Allyn, Inc. Wearable device for sensing vital signs

Also Published As

Publication number Publication date
DE112013001911T5 (de) 2014-12-24
CN104185442A (zh) 2014-12-03
JP5895673B2 (ja) 2016-03-30
CN104185442B (zh) 2016-08-31
US20150112213A1 (en) 2015-04-23
JP2013215260A (ja) 2013-10-24
US9204810B2 (en) 2015-12-08

Similar Documents

Publication Publication Date Title
JP5895673B2 (ja) 血圧計
JP2013215260A5 (enExample)
JP6672899B2 (ja) 測定装置および検出装置
JP6293927B2 (ja) センサ
CN108496180A (zh) 在显示器下面的光学指纹传感器
JP5919654B2 (ja) 生体センサーおよび生体情報検出装置
JP2015073824A (ja) 生体情報測定機器
US10261236B2 (en) Area light source apparatus and liquid crystal display device
US10278652B2 (en) Display apparatus
JP2019134089A (ja) 光電センサー、光電センサーモジュール及び生体情報測定装置
JP2014018357A (ja) 生体情報測定装置
US20220240822A1 (en) Detecting device and measuring device
US12171582B2 (en) Biosignal sensor and sensor system and electronic device
US11872017B2 (en) Detecting device and measuring device
JP6507670B2 (ja) 情報取得機器
JP2009100897A (ja) センサ装着用バンド及び生体情報機器
JP2019130092A (ja) 生体情報測定装置
US10485480B2 (en) Probe
JP6107893B2 (ja) 生体センサーおよび生体情報検出装置
US12389726B2 (en) Detecting device and measuring device
JP2025010266A (ja) 検出装置および測定装置
JP2019136442A (ja) 生体情報測定装置
US20230139217A1 (en) Device for providing augmented reality
US20170340275A1 (en) Wearable device
JP7669763B2 (ja) 検出装置および測定装置

Legal Events

Date Code Title Description
121 Ep: the epo has been informed by wipo that ep was designated in this application

Ref document number: 13772463

Country of ref document: EP

Kind code of ref document: A1

WWE Wipo information: entry into national phase

Ref document number: 14390075

Country of ref document: US

WWE Wipo information: entry into national phase

Ref document number: 112013001911

Country of ref document: DE

Ref document number: 1120130019116

Country of ref document: DE

122 Ep: pct application non-entry in european phase

Ref document number: 13772463

Country of ref document: EP

Kind code of ref document: A1