WO2013140682A1 - 媒体処理装置 - Google Patents

媒体処理装置 Download PDF

Info

Publication number
WO2013140682A1
WO2013140682A1 PCT/JP2012/082395 JP2012082395W WO2013140682A1 WO 2013140682 A1 WO2013140682 A1 WO 2013140682A1 JP 2012082395 W JP2012082395 W JP 2012082395W WO 2013140682 A1 WO2013140682 A1 WO 2013140682A1
Authority
WO
WIPO (PCT)
Prior art keywords
tape
drum
control unit
tapes
state
Prior art date
Legal status (The legal status is an assumption and is not a legal conclusion. Google has not performed a legal analysis and makes no representation as to the accuracy of the status listed.)
Ceased
Application number
PCT/JP2012/082395
Other languages
English (en)
French (fr)
Japanese (ja)
Inventor
岩月 敬
Current Assignee (The listed assignees may be inaccurate. Google has not performed a legal analysis and makes no representation or warranty as to the accuracy of the list.)
Oki Electric Industry Co Ltd
Original Assignee
Oki Electric Industry Co Ltd
Priority date (The priority date is an assumption and is not a legal conclusion. Google has not performed a legal analysis and makes no representation as to the accuracy of the date listed.)
Filing date
Publication date
Application filed by Oki Electric Industry Co Ltd filed Critical Oki Electric Industry Co Ltd
Priority to CN201280068362.3A priority Critical patent/CN104093655B/zh
Priority to RU2014132886/13A priority patent/RU2583691C2/ru
Priority to US14/376,769 priority patent/US9938105B2/en
Publication of WO2013140682A1 publication Critical patent/WO2013140682A1/ja
Priority to IN6489DEN2014 priority patent/IN2014DN06489A/en
Anticipated expiration legal-status Critical
Ceased legal-status Critical Current

Links

Images

Classifications

    • BPERFORMING OPERATIONS; TRANSPORTING
    • B65CONVEYING; PACKING; STORING; HANDLING THIN OR FILAMENTARY MATERIAL
    • B65HHANDLING THIN OR FILAMENTARY MATERIAL, e.g. SHEETS, WEBS, CABLES
    • B65H29/00Delivering or advancing articles from machines; Advancing articles to or into piles
    • B65H29/006Winding articles into rolls
    • BPERFORMING OPERATIONS; TRANSPORTING
    • B65CONVEYING; PACKING; STORING; HANDLING THIN OR FILAMENTARY MATERIAL
    • B65HHANDLING THIN OR FILAMENTARY MATERIAL, e.g. SHEETS, WEBS, CABLES
    • B65H23/00Registering, tensioning, smoothing or guiding webs
    • B65H23/02Registering, tensioning, smoothing or guiding webs transversely
    • B65H23/0204Sensing transverse register of web
    • B65H23/0216Sensing transverse register of web with an element utilising photoelectric effect
    • BPERFORMING OPERATIONS; TRANSPORTING
    • B65CONVEYING; PACKING; STORING; HANDLING THIN OR FILAMENTARY MATERIAL
    • B65HHANDLING THIN OR FILAMENTARY MATERIAL, e.g. SHEETS, WEBS, CABLES
    • B65H43/00Use of control, checking, or safety devices, e.g. automatic devices comprising an element for sensing a variable
    • B65H43/08Photoelectric devices
    • BPERFORMING OPERATIONS; TRANSPORTING
    • B65CONVEYING; PACKING; STORING; HANDLING THIN OR FILAMENTARY MATERIAL
    • B65HHANDLING THIN OR FILAMENTARY MATERIAL, e.g. SHEETS, WEBS, CABLES
    • B65H2220/00Function indicators
    • B65H2220/01Function indicators indicating an entity as a function of which control, adjustment or change is performed, i.e. input
    • BPERFORMING OPERATIONS; TRANSPORTING
    • B65CONVEYING; PACKING; STORING; HANDLING THIN OR FILAMENTARY MATERIAL
    • B65HHANDLING THIN OR FILAMENTARY MATERIAL, e.g. SHEETS, WEBS, CABLES
    • B65H2220/00Function indicators
    • B65H2220/02Function indicators indicating an entity which is controlled, adjusted or changed by a control process, i.e. output
    • BPERFORMING OPERATIONS; TRANSPORTING
    • B65CONVEYING; PACKING; STORING; HANDLING THIN OR FILAMENTARY MATERIAL
    • B65HHANDLING THIN OR FILAMENTARY MATERIAL, e.g. SHEETS, WEBS, CABLES
    • B65H2220/00Function indicators
    • B65H2220/11Function indicators indicating that the input or output entities exclusively relate to machine elements
    • BPERFORMING OPERATIONS; TRANSPORTING
    • B65CONVEYING; PACKING; STORING; HANDLING THIN OR FILAMENTARY MATERIAL
    • B65HHANDLING THIN OR FILAMENTARY MATERIAL, e.g. SHEETS, WEBS, CABLES
    • B65H2301/00Handling processes for sheets or webs
    • B65H2301/40Type of handling process
    • B65H2301/41Winding, unwinding
    • B65H2301/414Winding
    • B65H2301/4144Finishing winding process
    • BPERFORMING OPERATIONS; TRANSPORTING
    • B65CONVEYING; PACKING; STORING; HANDLING THIN OR FILAMENTARY MATERIAL
    • B65HHANDLING THIN OR FILAMENTARY MATERIAL, e.g. SHEETS, WEBS, CABLES
    • B65H2301/00Handling processes for sheets or webs
    • B65H2301/40Type of handling process
    • B65H2301/41Winding, unwinding
    • B65H2301/419Winding, unwinding from or to storage, i.e. the storage integrating winding or unwinding means
    • B65H2301/4191Winding, unwinding from or to storage, i.e. the storage integrating winding or unwinding means for handling articles of limited length, e.g. AO format, arranged at intervals from each other
    • B65H2301/41912Winding, unwinding from or to storage, i.e. the storage integrating winding or unwinding means for handling articles of limited length, e.g. AO format, arranged at intervals from each other between two belt like members
    • BPERFORMING OPERATIONS; TRANSPORTING
    • B65CONVEYING; PACKING; STORING; HANDLING THIN OR FILAMENTARY MATERIAL
    • B65HHANDLING THIN OR FILAMENTARY MATERIAL, e.g. SHEETS, WEBS, CABLES
    • B65H2511/00Dimensions; Position; Numbers; Identification; Occurrences
    • B65H2511/50Occurence
    • B65H2511/51Presence
    • B65H2511/512Marks, e.g. invisible to the human eye; Patterns
    • BPERFORMING OPERATIONS; TRANSPORTING
    • B65CONVEYING; PACKING; STORING; HANDLING THIN OR FILAMENTARY MATERIAL
    • B65HHANDLING THIN OR FILAMENTARY MATERIAL, e.g. SHEETS, WEBS, CABLES
    • B65H2513/00Dynamic entities; Timing aspects
    • B65H2513/50Timing
    • B65H2513/512Starting; Stopping
    • BPERFORMING OPERATIONS; TRANSPORTING
    • B65CONVEYING; PACKING; STORING; HANDLING THIN OR FILAMENTARY MATERIAL
    • B65HHANDLING THIN OR FILAMENTARY MATERIAL, e.g. SHEETS, WEBS, CABLES
    • B65H2701/00Handled material; Storage means
    • B65H2701/10Handled articles or webs
    • B65H2701/19Specific article or web
    • B65H2701/1912Banknotes, bills and cheques or the like
    • GPHYSICS
    • G07CHECKING-DEVICES
    • G07DHANDLING OF COINS OR VALUABLE PAPERS, e.g. TESTING, SORTING BY DENOMINATIONS, COUNTING, DISPENSING, CHANGING OR DEPOSITING
    • G07D11/00Devices accepting coins; Devices accepting, dispensing, sorting or counting valuable papers
    • G07D11/10Mechanical details
    • GPHYSICS
    • G07CHECKING-DEVICES
    • G07DHANDLING OF COINS OR VALUABLE PAPERS, e.g. TESTING, SORTING BY DENOMINATIONS, COUNTING, DISPENSING, CHANGING OR DEPOSITING
    • G07D11/00Devices accepting coins; Devices accepting, dispensing, sorting or counting valuable papers
    • G07D11/10Mechanical details
    • G07D11/16Handling of valuable papers
    • G07D11/165Picking
    • GPHYSICS
    • G07CHECKING-DEVICES
    • G07DHANDLING OF COINS OR VALUABLE PAPERS, e.g. TESTING, SORTING BY DENOMINATIONS, COUNTING, DISPENSING, CHANGING OR DEPOSITING
    • G07D11/00Devices accepting coins; Devices accepting, dispensing, sorting or counting valuable papers
    • G07D11/10Mechanical details
    • G07D11/16Handling of valuable papers
    • G07D11/175Flattening, e.g. straightening out folds
    • GPHYSICS
    • G07CHECKING-DEVICES
    • G07DHANDLING OF COINS OR VALUABLE PAPERS, e.g. TESTING, SORTING BY DENOMINATIONS, COUNTING, DISPENSING, CHANGING OR DEPOSITING
    • G07D11/00Devices accepting coins; Devices accepting, dispensing, sorting or counting valuable papers
    • G07D11/10Mechanical details
    • G07D11/16Handling of valuable papers
    • G07D11/18Diverting into different paths or containers

Definitions

  • the present invention relates to a medium processing apparatus, and is suitable for application to, for example, an automatic teller machine (ATM) that inserts a medium such as banknotes and performs a desired transaction.
  • ATM automatic teller machine
  • a banknote deposit / withdrawal port for receiving and receiving banknotes with customers
  • a discrimination unit for discriminating the denomination and authenticity of inserted banknotes
  • temporarily holding inserted banknotes The thing which has a temporary storage part to perform and the banknote cassette which stores a banknote for every money type is proposed.
  • This automatic teller machine in a deposit transaction, when a customer inserts a banknote into a banknote deposit / withdrawal port, the inserted banknote is discriminated by a discrimination unit, and a banknote discriminated from a normal banknote is held in a temporary holding unit, The banknotes identified as not to be traded are returned to the banknote deposit / withdrawal port and returned to the customer. Subsequently, when the deposit amount is confirmed by the customer, the automatic teller machine re-discriminates the denomination of the banknote held in the temporary holding section by the discrimination section and stores it in each banknote cassette according to the identified denomination. .
  • the temporary storage section for example, a rotating cylindrical drum and two long tapes, and one end of each tape fixed so as to overlap the peripheral side surface of the drum has been proposed (for example, Japanese Patent Application Laid-Open No. 2010-2010). -See Fig. 1 and Fig. 2 of the 6494 publication).
  • the conventional temporary storage unit 315 includes a cylindrical drum 23 and a single tape running system 27A.
  • the tape running system 27A includes an outer tape 30A and an inner tape 40A made of a transparent resin material, and an outer reel 31A and an inner reel 41A around which these are wound.
  • the outer tape 30 ⁇ / b> A and the inner tape 40 ⁇ / b> A are fixed so that the end portions are fixed to the outer reel 31 ⁇ / b> A and the inner reel 41 ⁇ / b> A, respectively, and the start ends are overlapped with the peripheral side surface of the drum 23.
  • the drum 23 is rotated in the winding direction R1 while the banknote BL is sandwiched between the outer tape 30A and the inner tape 40A, whereby the banknote BL is removed from the outer tape 30A and the inner tape 40A. It can be wound around the peripheral side surface of the drum 23 together with the inner tape 40A.
  • the banknotes BL are sequentially discharged by rotating the drum 23 in the rewinding direction R2 while winding the outer tape 30A and the inner tape 40A around the outer reel 31A and the inner reel 41A, respectively. can do.
  • light shielding areas SA for blocking light are formed on the start side (drum side) of the outer tape 30A and the end side (reel side) of the inner tape 40A, respectively.
  • the temporary storage unit 315 generates a light reception signal of “bright” level corresponding to the transparent portion or “dark” level corresponding to the light shielding area SA by the tape sensor 35A and the tape sensor 45A that irradiates and receives the detection light.
  • control unit 321 of the temporary storage unit 315 executes the winding processing procedure RT7 shown in FIG. 21, moves to step SP61, rotates the drum 23 in the winding direction R1, and then performs the next step.
  • SP62 a light reception signal is acquired from the tape sensor 45A.
  • control unit 321 proceeds to step SP63, and returns to step SP61 again if the light reception signal is at the “bright” level, and moves to next step SP64 if the received light signal is at the “dark” level, and stops the rotation of the drum 23. Further, the process proceeds to step SP65, and the winding processing procedure RT7 is terminated.
  • the temporary storage unit 315 can stop the drum 23 before completely winding each tape from each reel, and can prevent damage to the outer tape 30A and the inner tape 40A due to excessive tension. it can.
  • the tape travel system corresponding to the tape travel system 27A. It is conceivable to configure a temporary holding unit 415 to which 427B is added.
  • the temporary storage unit 415 four tapes of two systems are similarly wound up by the cylindrical drum 23. Therefore, when the leading end portion or the ending portion of one tape is detected, the same applies to the other tapes. It is conceivable that it is considered to be in the tip portion or the end portion.
  • the light shielding area SA is not provided. It has an outer tape 430B and an inner tape 440B, and the tape sensor is omitted.
  • the temporary storage unit 415 includes the banknote BL wound around the peripheral side surface of the drum 23 when the banknote BL having a fold or a fold is wound around the drum 23 as compared with the case where the flat banknote BL is wound.
  • the apparent outer diameter (hereinafter referred to as the winding diameter) increases, so to speak.
  • the temporary storage unit 415 is wound around the drum as shown in FIG. 24A and FIG. 24B when the wrinkles or folds are biased to one side in the longitudinal direction of the bill BL, and the winding diameter (swelling) of the drum is also biased.
  • the length of the tape is different for each tape running system.
  • the outer tape 430B and the inner tape are detected before the tape sensor 45A detects the light shielding area SA at the end portion of the inner tape 40A.
  • the tape sensor 45A detects the light shielding area SA at the end portion of the inner tape 40A.
  • 440B may reach the end portion, in other words, it may not be possible to detect that the outer tape 440A and the inner tape 440B have reached the end portion.
  • the temporary holding unit 415 has a problem that excessive tension is applied to the outer tape 440A and the inner tape 440B to damage these tapes, and the operation must be stopped.
  • the present invention has been made in consideration of the above points, and intends to propose a medium processing apparatus that can operate stably.
  • a drum that is cylindrical and rotates around the central axis, and a predetermined length in the longitudinal direction, which is drawn from a pre-wound inner reel, the drum A plurality of inner tapes that are wound around the peripheral side surface of the drum at two or more different locations in the axial direction along the central axis of the drum, and a predetermined length in the longitudinal direction, and the inner tape is drawn from a pre-wound outer reel.
  • a plurality of outer tapes wound around a peripheral side surface of the drum together with the inner tape and the medium with a paper sheet medium interposed therebetween, and an end on the drum side in at least one of the plurality of inner tapes or the plurality of outer tapes Are formed at the start end, which is a portion, and at the end, which is the end on the inner reel side or the outer reel side, in all inner tapes or all outer tapes, Among the different areas having different properties and the inner tape and the outer tape in which the different areas are formed at the start or end, a plurality of physical properties are detected at a tape position between the drum, the inner reel, and the outer reel. And a control unit for controlling the rotation of the drum based on the detection results of the plurality of detection units.
  • the detection unit provided in each tape running system can detect the difference area and reliably detect the arrival of the terminal part, so that the drum rotation is stopped to prevent damage to the inner tape and the outer tape. be able to.
  • the detection unit provided in each tape running system can detect the difference area and reliably detect the arrival of the terminal part, so that the drum rotation is stopped and the inner tape and the outer tape are damaged. Can be prevented.
  • the present invention can realize a medium processing apparatus that can operate stably.
  • the automatic teller machine 1 is configured with a box-shaped housing 2 as the center, and is installed in a financial institution, for example, for a deposit transaction or a withdrawal transaction with a customer. To deal with cash.
  • the case 2 has a shape in which a bill BL is inserted or a touch panel is easily operated with a customer facing the front side, that is, a portion extending from the upper part of the front surface to the upper surface is cut off obliquely. In this portion, the customer service section 3 is provided.
  • the customer service section 3 directly exchanges cash, bankbooks, etc. with the customer, and is also configured to notify transaction information and accept operation instructions.
  • Card entry / exit 4 is a portion where various cards such as cash cards are inserted or ejected.
  • a card processing unit (not shown) for reading account numbers and the like magnetically recorded on various cards is provided on the back side of the card slot 4.
  • the deposit / withdrawal port 5 is a portion where the bill BL to be deposited by the customer is inserted and the bill BL to be dispensed to the customer is discharged.
  • the deposit / withdrawal port 5 is opened or closed by driving a shutter.
  • banknote BL is comprised, for example with the rectangular paper.
  • the operation display unit 6 is integrated with an LCD (Liquid Crystal Display) for displaying an operation screen at the time of transaction and a touch panel for selecting a transaction type, inputting a personal identification number, transaction amount, and the like.
  • LCD Liquid Crystal Display
  • the numeric keypad 7 is a physical key that accepts input of numbers such as “0” to “9”, and is used when inputting a password or transaction amount.
  • the receipt issuing port 8 is a part for issuing a receipt on which transaction details are printed at the end of transaction processing.
  • a receipt processing unit (not shown) for printing transaction contents and the like on the receipt is provided on the back side of the receipt issuing port 8.
  • the side of the automated teller machine 1 facing the customer is the front side, the opposite is the rear side, the left and right are the left side and the right side as viewed from the customer facing the front side, and the upper side and the lower side. Is defined and explained.
  • a main control unit 9 that performs overall control of the entire automatic teller machine 1, a banknote depositing and dispensing machine 10 that performs various processes related to the banknote BL, and the like.
  • the main control unit 9 is mainly configured by a CPU (Central Processing Unit) (not shown), and by reading and executing a predetermined program from a ROM, a flash memory, etc. (not shown), various transactions such as a deposit transaction and a withdrawal transaction are performed. It is made to perform the process.
  • a CPU Central Processing Unit
  • ROM Read Only Memory
  • flash memory etc.
  • the main control unit 9 includes a storage unit 9A including a RAM (Random Access Memory), a hard disk drive, a flash memory, and the like, and stores various information in the storage unit 9A.
  • a storage unit 9A including a RAM (Random Access Memory), a hard disk drive, a flash memory, and the like, and stores various information in the storage unit 9A.
  • the housing 2 is constituted by a door that can be opened and closed on a part of its side such as the front side and the rear side. That is, the housing
  • the housing 2 can be easily operated on each part by opening the doors as necessary during maintenance work performed by an operator or the like.
  • the banknote depositing and dispensing machine 10 has a configuration in which a plurality of parts that perform various processes related to the banknote BL are combined. Each part of the bill depositing / dispensing machine 10 is controlled by the bill control unit 11.
  • the banknote control unit 11 is configured around a CPU (not shown) as in the case of the main control unit 9, and determines a conveyance destination of the banknote BL by reading and executing a predetermined program from a ROM, flash memory, etc. (not shown). Various processing such as processing to perform is performed.
  • the banknote control part 11 has 11 A (FIG. 1) memory
  • the bill control unit 11 receives a predetermined operation input via the operation display unit 6, and then opens the shutter of the deposit / withdrawal port 5 to within the deposit / withdrawal unit 12. A bill BL is inserted.
  • the deposit / withdrawal unit 12 closes the shutter of the deposit / withdrawal port 5, takes out the bill BL one by one from the container 12 ⁇ / b> A, and delivers it to the transport unit 13.
  • the conveyance part 13 advances the banknote BL comprised in rectangular paper sheet shape along a short side direction, and conveys it to the discrimination part 14.
  • the discriminating unit 14 discriminates the denomination and authenticity of the bill BL, the degree of damage, etc. using the optical element, the magnetic detection element, etc. while conveying the bill BL in the inside, and bill control is performed on the discrimination result. Notification to the unit 11. In response to this, the banknote control unit 11 determines the transport destination of the banknote BL based on the acquired discrimination result.
  • the transport unit 13 temporarily holds the banknote BL discriminated as a normal banknote by the discriminating unit 14 by temporarily transporting the banknote BL to the temporary storage unit 15, and deposits / withdraws rejected banknotes identified as not to be traded. It is transported to the section 12 and returned to the customer.
  • the banknote control unit 11 allows the customer to confirm the deposit amount via the operation display unit 6, transports the banknote BL held in the temporary storage unit 15 to the discrimination unit 14 by the transport unit 13, and denomination and damage thereof. The degree of such as is discriminated, and the discrimination result is acquired.
  • banknote control part 11 will convey this to the rejection cassette 16 by the conveyance part 13 as the banknote BL which should not be reused if the extent of damage of the banknote BL is large, and if this is small, this will be stored.
  • a bill BL to be reused is transported by the transport unit 13 and stored in a bill cassette 17 corresponding to the denomination.
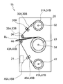
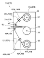
  • the temporary storage unit 15 has a configuration in which each component is attached to the frame 20.
  • 3A and 3B schematically show a right side view and a rear view of the temporary storage unit 15, respectively, and some components such as a motor and a gear are omitted for convenience of explanation.
  • the temporary holding unit 15 is controlled by the control unit 21 as a whole. Similar to the main control unit 9 and the bill control unit 11 (FIG. 1), the control unit 21 is configured around a CPU (not shown), and in cooperation with the bill control unit 11 and the like, a ROM, a flash memory, etc. not shown. By reading and executing a predetermined program from the above, various processes such as drum rotation and tape running control are performed.
  • the control unit 21 has a storage unit such as a RAM and a flash memory, and stores various information in the storage unit.
  • a cylindrical drum 23 is provided near the center of the temporary holding unit 15 in the frame 20.
  • the drum 23 is attached so as to be able to rotate in the winding direction R1 or the rewinding direction R2 around the rotation shaft 24 along the left-right direction. It is made to be transmitted.
  • the drum rotation detection unit 25 detects the rotation state such as the rotation direction and speed of the drum 23 and notifies the control unit 21 of this as a rotation signal so that the control unit 21 stores the immediately preceding rotation direction. Has been made.
  • tape running systems 27A and 27B which are configured in substantially the same manner and are different from each other in part, are provided on the left and right sides, respectively.
  • tape running system 27A on the right side.
  • the outer tape 30A and the inner tape 40A are both formed into a thin film by a resin material having high light transmittance.
  • the outer tape 30A and the inner tape 40A are both sufficiently long in the longitudinal direction, for example, 30 [m], while the length in the short direction (that is, the tape width) is, for example, 20 [mm]. It is sufficiently shorter than the long side of the bill BL.
  • the outer reel 31 ⁇ / b> A is formed in a bobbin shape, and is provided on the upper side of the drum 23 so as to rotate around a rotation shaft 32 parallel to the rotation shaft 24 of the drum 23.
  • the outer tape 30A is wound around the outer reel 31A after one end of the outer tape 30A is fixed to the peripheral side surface.
  • a pulley 33 ⁇ / b> A is provided on the front side of the drum 23.
  • the pulley 33A is formed in a columnar shape and is inserted through a shaft 34 parallel to the rotating shaft 24 of the drum 23, and can rotate freely around the shaft 34.
  • the outer tape 30A wound around the outer reel 31A is pulled out from the outermost periphery of the outer reel 31A to the front and lower side, and is folded back in the backward direction via the pulley 33A. It is fixed to the peripheral side.
  • the outer reel 31A is urged in a direction to wind up the outer tape 30A by a torque limiter (not shown) so that the outer tape 30A is always given a predetermined tension.
  • the inner reel 41A is configured in the same form as the outer reel 31A.
  • the inner reel 41A is below the outer reel 31A, that is, below the drum 23, with a rotating shaft 42 parallel to the rotating shaft 24 of the drum 23 as a center. It is provided so that it can rotate.
  • the inner tape 41A is wound around the inner reel 41A after one end of the inner tape 40A is fixed to the peripheral side surface.
  • the winding direction of the inner tape 40A on the inner reel 41A is opposite to the winding direction of the outer tape 30A on the outer reel 31A.
  • a pulley 43A is provided in front of the inner reel 41A and below the pulley 33A.
  • the pulley 43A is formed in a columnar shape similar to the pulley 33A and is inserted through a shaft 44 parallel to the rotation shaft 24 of the drum 23 so that the pulley 43A can freely rotate around the shaft 44. .
  • the inner tape 40A wound around the inner reel 41A is pulled forward from the outermost periphery of the inner reel 41A to the front and upward, and then folded back in the backward direction via the pulley 43A. It is fixed to the side.
  • the inner reel 41A is urged in a direction to wind up the inner tape 40A by a torque limiter (not shown) so that the inner tape 40A is always given a predetermined tension. .
  • the tape running system 27B on the left side includes an outer tape 30B, an outer reel 31B, an outer tape 30A, an outer reel 31A, a pulley 33A, an inner tape 40A, an inner reel 41A, and a pulley 43A that are configured in the same manner as the tape running system 27A.
  • a pulley 33B, an inner tape 40B, an inner reel 41B, and a pulley 43B are provided.
  • the temporary storage unit 15 winds the inner tape 40A and the outer tape 30A on the circumferential side surface and the inner tape 40B and the outer tape 30B. .
  • the temporary storage unit 15 sandwiches the banknote BL between the inner tapes 40A and 40B and the outer tapes 30A and 30B, the banknote BL is drummed together with the inner tapes 40A and 40B and the outer tapes 30A and 30B. Can be wrapped around
  • the temporary storage unit 15 is configured to wind the bill BL around the peripheral side surface of the drum 23 by running four tapes (the outer tapes 30A and 30B and the inner tapes 40A and 40B).
  • a tape sensor 35A serving as a detection unit is disposed at the nearest position (hereinafter referred to as a tape position).
  • the tape sensor 35A opposes a light emitting unit that emits detection light having a predetermined wavelength and a light receiving unit that receives the detection light so that the outer tape 30A is sandwiched from both sides.
  • the tape sensor 35A emits detection light from the light emitting unit, and a portion of the detection light that has passed through the outer tape 30A is received by the light receiving unit, and a light reception signal corresponding to the brightness is generated. 21 is sent out.
  • the tape sensor 35A generates a light reception signal corresponding to the ratio of transmitting the detection light at the tape position of the outer tape 30A (that is, the irradiation position of the detection light), and sends it to the control unit 21.
  • the control unit 21 determines a “bright” level if the received light signal acquired from the tape sensor 35A is equal to or greater than a predetermined threshold value, and determines a “dark” level if the received light signal is less than the predetermined threshold value. Yes. That is, the determination result obtained in the control unit 21 at this time is a value obtained by binarizing the light transmittance of the outer tape 30A at the position of the tape sensor 35A at this time point to the “light” level or the “dark” level. Become.
  • the tape running system 27A has a position where the inner tape 40A is passed between the inner reel 41A and the pulley 43A, that is, in the immediate vicinity of the outermost peripheral portion of the inner tape 40A wound around the inner reel 41A.
  • a tape sensor 45A having the same configuration as the tape sensor 35A is disposed.
  • the tape running system 27B is provided with a tape sensor 45B corresponding to the inner tape 40B, but is not provided with a tape sensor corresponding to the outer tape 30B.
  • the tape sensor 35A is provided only in one tape running system 27A for the outer tape 30 (30A and 30B), and both tape running systems 27A are provided for the inner tape 40 (40A and 40B). And 27B are provided with tape sensors 45A and 45B, respectively.
  • the outer tape 30 ⁇ / b> A is provided with a tape sensor at a starting end portion (hereinafter referred to as a starting end portion) fixed to the drum 23, similar to the outer tape 30 ⁇ / b> A in the conventional temporary holding portion 415.
  • a light blocking area SA that blocks the detection light of 35A is formed.
  • the outer tape 30A transmits the detection light of the tape sensor 35A in a transparent portion where the light shielding area SA is not formed, but blocks the detection light in the light shielding area SA.
  • the tape sensor 35A increases the signal level of the received light signal because the detection light is transmitted if the tape position of the outer tape 30A is the intermediate portion (the portion that is neither the start end portion nor the end portion) or the end portion. In this case, the detection light is blocked by the light shielding area SA, so that the signal level of the received light signal is lowered.
  • the threshold value compared with the light reception signal in the control unit 21 is appropriately selected so that the signal level lowered by the light shielding area SA is set to the “dark” level, and the signal level higher than that is set to the “light” level. Has been.
  • a light-shielding area SA is formed in a terminal portion (hereinafter referred to as a terminal portion) fixed to the inner reel 41A.
  • the tape sensor 45A raises the signal level of the received light signal because the detection light is transmitted if the tape position of the inner tape 40A is the start end portion or the intermediate portion. Since this is cut off, the signal level of the received light signal is lowered.
  • the inner tape 40B of the tape running system 27B is different from the conventional inner tape 440B in that a light-shielding area SA is formed on the end side, like the inner tape 40A.
  • the light shielding area SA is not formed at any place, as in the conventional outer tape 430B.
  • the temporary storage unit 15 has a configuration in which a tape sensor 45B is added and a light shielding area SA is added to the end side of the inner tape 40B, compared to the conventional temporary storage unit 415 (FIGS. 22A and 22B). It has become.
  • the light-shielding area SA is formed only on the outer tape 30A of the tape running system 27A, that is, only on the outer tape 30 in one tape running system 27, with respect to the starting end side of each tape. .
  • the light-shielding areas SA are formed on both the inner tapes 40A and 40B, that is, on the inner tapes 40 in all the tape running systems 27, on the end side of each tape.
  • control unit 21 of the temporary storage unit 15 controls the rotation of the drum 23 and the like according to the flowchart shown in FIG.
  • control part 21 of the temporary storage part 15 receives the instruction
  • step SP1 the control unit 21 rotates the drum 23 in the winding direction R1, and proceeds to the next step SP2.
  • the control unit 21 rotates the drum 23 by a predetermined angle by controlling a stepping motor (not shown).
  • step SP2 the control unit 21 acquires the light reception signals from the tape sensors 45A and 45B, and proceeds to the next step SP3.
  • step SP3 the control unit 21 determines whether or not all of the acquired light reception signals are at the “bright” level.
  • a positive result is obtained, it indicates that none of the inner tapes 40A and 40B has reached the end portion. That is, even if the temporary storage unit 15 continues to rotate the drum 23 in the winding direction R1, there is no possibility of damaging each tape. For this reason, the control part 21 returns to step SP1 again and continues the rotation of the drum 23.
  • step SP3 if a negative result is obtained in step SP3, it indicates that the tape position in at least one of the inner tapes 40A and 40B has reached the end portion where the light shielding area SA is formed. That is, in the temporary storage unit 15, if the rotation of the drum 23 in the winding direction R ⁇ b> 1 is continued, each tape may be damaged. Therefore, the control unit 21 proceeds to the next step SP4.
  • step SP4 after stopping the rotation of the drum 23, the control unit 21 moves to the next step SP5 and ends the winding processing procedure RT1.
  • control unit 21 of the temporary storage unit 15 rotates the drum 23 in the winding direction R1
  • it monitors at least one of the inner tapes 40A and 40B by monitoring the light reception signals of both the tape sensors 45A and 45B. The rotation is stopped when the tape position reaches the end portion.
  • the inner tapes 40A and 40B are arranged so that the light shielding area SA reaches the position of the tape sensors 45A and 45B before the inner tapes 40A and 40B wound around the inner reels 41A and 41B are all pulled out. The length from the end is properly determined.
  • the temporary holding unit 15 when the temporary holding unit 15 receives an instruction to discharge the banknote BL held inside to the outside from the banknote control unit 11 (FIG. 2) or the like, the temporary holding unit 15 starts the rewinding processing procedure RT2 and proceeds to step SP11.
  • step SP11 the control unit 21 rotates the drum 23 in the rewinding direction R2, and proceeds to the next step SP12.
  • the control unit 21 acquires a light reception signal from the tape sensor 35A, and proceeds to the next step SP13.
  • step SP13 the control unit 21 determines whether or not the acquired light reception signal is at “bright” level. If a positive result is obtained here, it indicates that the tape position of the outer tape 30A has not reached the end portion. That is, even if the temporary storage unit 15 continues to rotate the drum 23 in the rewind direction R2, there is no possibility of damaging each tape. For this reason, the control part 21 returns to step SP11 again and continues the rotation of the drum 23.
  • step SP13 if a negative result is obtained in step SP13, it indicates that the tape position of the outer tape 30A has reached the starting end where the light shielding area SA is formed. That is, in the temporary storage unit 15, if the rotation of the drum 23 in the rewind direction R2 is continued, each tape may be damaged. Therefore, the control unit 21 proceeds to the next step SP14.
  • step SP14 after stopping the rotation of the drum 23, the control unit 21 proceeds to the next step SP15 and ends the rewinding processing procedure RT2.
  • control unit 21 of the temporary storage unit 15 rotates the drum 23 in the rewind direction R2
  • the time point when the tape position of the outer tape 30A reaches the start end It is designed to stop the rotation.
  • the length of the outer tape 30A from the start end in the light shielding area SA is such that the light shielding area SA reaches the position of the tape sensor 35A before all the outer tape 30A wound around the peripheral side surface of the drum 23 is rewound. It is properly defined.
  • the temporary storage unit 15 is provided with a light-shielding area SA at the start end of only one outer tape 30A, and this is detected by the tape sensor 35A.
  • the temporary storage unit 15 is provided with the tape sensor 45B of the tape running system 27B in addition to the tape sensor 45A of the tape running system 27A, and a light shielding region at the end of the inner tape 40B. SA was provided.
  • control unit 21 of the temporary storage unit 15 monitors the light reception signals of the tape sensors 45A and 45B during the winding operation of the drum 23, and terminates when at least one of them becomes the “dark” level and detects the light shielding area SA. And the rotation of the drum 23 is stopped.
  • the temporary storage unit 15 can stop the winding operation of the drum 23 when any of the inner tapes 40A or 40B reaches the end portion during the winding operation of the drum 23, and each tape is overloaded. Damage due to the application of a proper tension can be prevented in advance.
  • the winding of the drum 23 is caused by wrinkles or the like of the bills BL as in the case of the conventional temporary storage unit 415. It is conceivable that the diameter (the apparent outer diameter including the wound banknote BL) is different between the tape running systems 27A and 27B.
  • the temporary holding portion 15 is the point where the inner tape 40B having the larger winding diameter (in this case, the inner tape 40B) has reached the end portion first, and the inner tape 40B is detected by the tape sensor 45B. Therefore, the rotation of the drum 23 can be reliably stopped.
  • the temporary storage unit 15 is provided with a tape sensor 45B equivalent to the tape sensor 45A, as compared with the conventional temporary storage unit 415, and forms a light shielding area SA similar to that of the internal tape 40A at the end of the internal tape 40B. Furthermore, it is only necessary to change a part of the winding process procedure of the control unit 21, and it is possible to extremely suppress an increase in parts and a complicated manufacturing process due to the change in configuration.
  • the temporary storage unit 15 is provided with the tape sensors 45A and 45B in both the tape running systems 27A and 27B and at the end of the inner tapes 40A and 40B, the light shielding area SA. Were provided. Then, the control unit 21 of the temporary storage unit 15 monitors the light reception signals of the tape sensors 45A and 45B during the winding operation of the drum 23, and when one of them becomes the “dark” level and detects the light shielding area SA, The rotation of the drum 23 was stopped. For this reason, the temporary storage unit 15 can stop the winding operation of the drum 23 when either the inner tape 40A or 40B reaches the terminal portion first during the winding operation of the drum 23. Damage due to excessive tension can be prevented in advance.
  • the automatic teller machine 101 (FIG. 1) according to the second embodiment is different from the automatic teller machine 1 according to the first embodiment in that it has a temporary holding unit 115 instead of the temporary holding unit 15. However, the other parts are configured similarly.
  • the temporary storage unit 115 is compared with the temporary storage unit 15 according to the first embodiment.
  • the other components are configured in the same manner except that the control unit 121 instead of the tape running system 27A and the tape running system 27B, the tape running system 127A, and the tape running system 127B are provided.
  • control unit 121 includes a CPU, a storage unit, and the like (not shown), and performs various processes such as control of drum rotation and tape running.
  • a difference is that a winding processing procedure RT3 (described later) instead of the procedure RT1 is executed. *
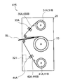
  • the tape traveling system 127A is different from the tape traveling system 27A in that it has an outer tape 130A in place of the outer tape 30A, but the other parts are configured similarly.
  • the tape running system 127B is different from the tape running system 27B in that it has an outer tape 130B instead of the outer tape 30B and a tape sensor 135B similar to the tape sensor 35A, but the other parts are the same. It is configured.
  • the outer tapes 130A and 130B have the same reference numerals as those in FIG. 4, and a light-shielding area SA is formed at the end portion as in the case of the inner tapes 40A and 40B.
  • the outer tapes 130A and 130B end the light shielding area SA so that the light shielding area SA reaches the position of the tape sensors 35A and 135B before the outer tapes 130A and 130B wound around the outer reels 31A and 31B are all pulled out. The length from is properly determined.
  • the path length of the outer tapes 130A and 130B from the outer reels 31A and 31B to the tape sensors 35A and 135B, and the path length of the inner tapes 40A and 40B from the inner reels 41A and 41B to the tape sensors 45A and 45B. are different from each other. Therefore, the lengths of the outer tapes 130A and 130B from the end of the light shielding area SA are different from those of the inner tapes 40A and 40B.
  • controller 121 controls the rotation and the like of the drum 23 according to the flowchart shown in FIG. 10 corresponding to FIG.
  • control part 121 of the temporary storage part 115 receives the instruction
  • step SP21 the control unit 121 rotates the drum 23 in the winding direction R1 as in step SP1, and proceeds to the next step SP22.
  • step SP22 the control unit 121 acquires the light reception signals from all the tape sensors, that is, the tape sensors 35A and 135B and the tape sensors 45A and 45B, and proceeds to the next step SP23.
  • step SP23 the control unit 121 determines whether or not all of the acquired light reception signals are at the “bright” level. If a positive result is obtained here, it means that none of the outer tapes 130A and 130B and the inner tapes 40A and 40B has reached the end portion. That is, even if the temporary storage unit 115 continues to rotate the drum 23 in the winding direction R1, there is no possibility of damaging each tape. Therefore, the control unit 121 returns to step SP21 again to continue the rotation of the drum 23.
  • step SP23 if a negative result is obtained in step SP23, it indicates that the position of at least one of the outer tapes 130A and 130B and the inner tapes 40A and 40B has reached the end. That is, in the temporary storage unit 115, if the rotation of the drum 23 in the winding direction R1 is continued, each tape may be damaged. Therefore, the control unit 121 proceeds to the next step SP24.
  • step SP24 the controller 121 stops the rotation of the drum 23 in the same manner as in step SP4, and then proceeds to the next step SP25 to end the winding processing procedure RT3.
  • the external tapes 130A and 130B are monitored by monitoring the light reception signals of the tape sensors 35A and 135B and the tape sensors 45A and 45B. The rotation is stopped when at least one of the inner tapes 40A and 40B reaches the end portion.
  • the temporary storage unit 115 is provided with the tape sensor 135B similar to the tape sensor 35A in the tape running system 127B, and the light shielding region SA at the end portions of the outer tapes 130A and 130B. It was.
  • the control unit 121 of the temporary storage unit 115 monitors the light reception signals of the tape sensors 35A and 135B and the tape sensors 45A and 45B during the winding operation of the drum 23, and at least one of them becomes the “dark” level and the light shielding area SA. Is detected, the drum 23 is determined to have reached the end, and the rotation of the drum 23 is stopped.
  • the temporary storage unit 115 stops the winding operation of the drum 23 when at least one tape position of the outer tapes 130A and 130B and the inner tape 40A or 40B reaches the end portion during the winding operation of the drum 23. Any tape can be prevented from being damaged due to an excessive tension applied.
  • the banknote BL interferes with surrounding parts at the time of conveyance or winding of the banknote BL having folding folds, hooks, etc., and causes clogging, etc. It can happen that it is cut. In addition, there is a possibility that the maintenance worker may accidentally cut the tape during the maintenance work.
  • the temporary holding unit 115 is originally replaced with a new tape. However, if it takes time to obtain a new tape, etc., the remaining part of the tape is cut off as an emergency measure. Are joined to each other at the joining point CP, the tape may be cut off.
  • the outer tape 30 ⁇ / b> A in which the light-shielding area SA is not formed at the end portion is cut off in the temporary storage unit 15 in the first embodiment.
  • the outer tape 30A reaches the terminal portion before the light blocking area SA of the inner tape 40A or 40B is detected by the tape sensor 45A or 45B, so that the operation is poor. And excessive tension may be applied to the outer tape 30A.
  • the temporary storage unit 115 even if the winding operation is performed in a state where the outer tape 130A is cut off, the light shielding area SA formed at the terminal portion of the outer tape 130A is removed.
  • the rotation of the drum 23 can be stopped by detection by the tape sensor 35A.
  • a light-shielding area SA is provided at the terminal portion of all the tapes (the outer tapes 130A and 130B and the inner tapes 40A and 40B), and the tape sensors (tape sensors 35A, 135B, 45A and 45B), whichever tape is cut down, detects when the shortest tape first reaches the end, and stops rotation of the drum 23 to cause malfunction. It is possible to prevent excessive tension from being applied to the tape and the tape.
  • the temporary storage unit 115 can achieve the same effects as the temporary storage unit 15 according to the first embodiment in other respects.
  • the temporary storage unit 115 is provided with the tape sensors 35A, 135B, 45A, and 45B, and the light shielding region at the end portions of the outer tapes 130A and 130B and the inner tapes 40A and 40B. SA was provided. Then, the control unit 121 of the temporary storage unit 115 monitors the light reception signals of the tape sensors 35A, 135B, 45A, and 45B during the winding operation of the drum 23, and detects one of the “dark” level and the light shielding area SA. At that time, the rotation of the drum 23 was stopped.
  • the temporary storage unit 115 immediately stops the winding operation of the drum 23 when any of the outer tapes 130A and 130B and the inner tape 40A or 40B reaches the end portion first during the winding operation of the drum 23. It is possible to prevent damage due to excessive tension applied to each tape.
  • the automatic teller machine 201 (FIG. 1) according to the third embodiment is different from the automatic teller machine 101 according to the second embodiment in that it has a temporary holding unit 215 instead of the temporary holding unit 115.
  • the other parts are configured similarly.
  • the temporary storage unit 215 differs from the temporary storage unit 115 according to the second embodiment in that it has a control unit 221 that replaces the control unit 121, but the other parts are configured in the same manner.
  • control unit 221 includes a CPU, a storage unit, and the like (not shown), and performs various processes such as control on drum rotation and tape running, but will be described later.
  • a difference is that a position determination processing procedure RT4 and a winding processing procedure RT5 (described later) instead of the winding processing procedure RT3 in the second embodiment are executed.
  • the light-shielding area SA is formed at the end of all the tapes (the outer tapes 130A and 130B and the inner tapes 40A and 40B), and the start end of the outer tape 130A. Also, a light shielding area SA is formed (FIG. 9).
  • the tape position is not always the start end, and only the outer tape 30A is earlier than other tapes because of the possibility of being the end, that is, the tape length variation or the like. The possibility of reaching the end may also be considered.
  • control unit 221 does not immediately determine the tape position based on the light reception signals obtained from the respective tape sensors (35A, 135B, 45A and 45B), but first displays a “status” indicating a state that can be determined only from the light reception signals. It was classified into three types, and the tape position was finally determined based on this “status”.
  • control unit 221 selects one of “intermediate finalized state”, “end finalized state”, and “undefined state” based on the four received light signals from the tape sensors. And store the status.
  • control unit 221 determines that the tape position is not the start end portion or the end portion but the intermediate portion.
  • control unit 221 cannot determine whether the tape position is the start end portion or the end end portion, and thus sets the “undefined state”.
  • control unit 221 immediately after the automatic teller machine 201 is turned on and the temporary holding unit 215 is activated, the control unit 221 can determine the status, but cannot determine the tape position particularly when the state is indefinite. Therefore, the control unit 221 executes the flowchart shown in FIG. 14 immediately after the temporary holding unit 215 is activated.
  • step SP31 the control unit 221 acquires a light reception signal from each tape sensor, determines whether each is a “bright” level or a “dark” level, and then proceeds to the next step SP32.
  • step SP32 the control unit 221 determines the status by comparing the acquired four received light signals with the status table TBL1 (FIG. 13). If the status is “undefined”, the tape position is one of “starting end” and “end”, but at this point it cannot be determined whether it is “starting end” or “end”. Represents that. At this time, the control unit 221 moves to the next step SP33.
  • step SP33 the control unit 221 controls the drum 23 to rotate in the winding direction R1 at a low speed, and proceeds to the next step SP34.
  • step SP34 the control unit 221 determines whether the drum 23 has actually rotated based on the rotation signal notified from the drum 23. If a positive result is obtained here, this means that the tape has been wound slightly with the rotation of the drum 23, that is, the tape position has changed slightly and the status may have changed. . Therefore, the control unit 221 returns to step SP31 again to reconfirm the status.
  • step SP34 if a negative result is obtained in step SP34, it means that the drum 23 did not rotate even if it tried to rotate, that is, one of the tapes reached the end. Therefore, the control unit 221 moves to next step SP35.
  • step SP32 when the status is “final terminal finalized state”, it indicates that at least one of the outer tape 130B and the inner tapes 40A and 40B has reached the terminal portion. At this time, the control unit 221 moves to the next step SP35.
  • step SP35 the control unit 221 sets the tape position to the end, and then proceeds to step SP37 to end the tape position determination processing procedure RT4 at the time of activation.
  • step SP32 If the status is “intermediate confirmed state” in step SP32, the control unit 221 moves to the next step SP36 because each tape is in the intermediate part.
  • step SP36 the control unit 221 sets the tape position to the intermediate part, and then proceeds to step SP37 to end the tape position determination processing procedure RT4 at the time of activation.
  • control unit 221 determines the tape position by rotating the drum 23 at a low speed in addition to the light reception signal of each tape sensor.
  • the temporary holding unit 215 updates the tape position according to the state transition diagram ST1 of FIG. 15 when the winding operation or the rewinding operation is performed after the tape position is determined.
  • the state transition diagram ST1 represents the status in the vertical direction and the tape position in the horizontal direction, and represents a combination of both by a transition mode Q represented by a rectangle.
  • a solid line arrow indicates a winding operation, which is a rightward or vertical transition in the figure.
  • the broken-line arrow represents the rewinding operation, and transitions to the left or up and down in the figure.
  • control unit 221 of the temporary storage unit 215 has the status “undefined” when the tape position is “starting end”, and enters the transition mode Q1. If the control unit 221 performs a winding operation and the status becomes “intermediate confirmed state”, the control unit 221 transits to the transition mode Q2 along the arrow P1 and sets the tape position to “intermediate part”.
  • control unit 221 when the control unit 221 further performs a winding operation and the status becomes “indeterminate state” or “termination final state”, the control unit 221 transits to the transition mode Q3 or Q4 along the arrow P2 or P3, and changes the tape position to “termination”. Part ". Further, when the control unit 221 performs the winding operation in the transition mode Q3 in which the status is “indeterminate state” and enters the “termination final state”, the control unit 221 transitions to the transition mode Q4 along the arrow P4.
  • the controller 221 when the controller 221 performs the rewinding operation in the transition mode Q4 in which the status is “termination final state” and the tape position is “termination part”, the transition occurs along the arrow P5 if the status becomes “intermediate finalization state”. Moving to mode Q2, the tape position is set to “intermediate part”, and when the status becomes “indeterminate state”, the process moves to transition mode Q3 along the arrow P6 and the tape position is kept at “end part”. Further, the control unit 221 performs a rewinding operation in the transition mode Q3, and when the status becomes the “intermediate confirmed state”, the control unit 221 transitions to the transition mode Q2 along the arrow P7 and sets the tape position to “intermediate part”.
  • control unit 221 transitions to the transition mode Q1 along the arrow P8 and sets the tape position to the “starting end”.
  • the temporary storage unit 215 changes the tape position by transitioning to the new transition mode Q according to the immediately preceding transition mode Q and the type of operation (winding operation or rewinding operation) in the state transition diagram ST1. It has been made to update.
  • the temporary holding unit 215 performs a winding operation or a rewinding operation while updating the tape position according to the state transition diagram ST1.
  • control unit 221 receives an instruction to hold the banknote BL from the banknote control unit 11 (FIG. 2) or the like in a state where the tape position is found to be the starting end part or the intermediate part, it corresponds to FIG. 5.
  • the winding processing procedure RT5 shown in FIG. 16 is started and the process proceeds to step SP41.
  • step SP41 the control unit 221 rotates the drum in the winding direction as in step SP1, and proceeds to the next step SP42.
  • step SP42 the control unit 221 updates the tape position by appropriately shifting the transition mode Q according to the state transition diagram ST1, and proceeds to the next step SP43.
  • step SP43 the control unit 221 determines whether or not the updated tape position is the end portion. If a negative result is obtained, the rotation of the drum 23 is stopped because the tape position is still the start end or the intermediate portion and the tape position is the start end even if the status is “undefined”. This means that it is not necessary to Therefore, the control unit 221 returns to step SP41 and continues the rotation of the drum 23.
  • step SP43 if an affirmative result is obtained in step SP43, it indicates that the tape position is determined to be the end even if the obtained status is “undefined”. At this time, the control unit 221 moves to the next step SP44.
  • step SP44 the control unit 221 stops the rotation of the drum 23, moves to the next step SP45, and ends the winding processing procedure RT5.
  • control part 221 receives the instruction
  • the rewinding processing procedure RT6 shown in FIG. 17 is started and the process proceeds to step SP51.
  • step SP51 the control unit 221 rotates the drum in the rewinding direction as in step SP11, and proceeds to the next step SP52.
  • step SP52 as in step SP42, the control unit 221 updates the tape position by appropriately shifting the transition mode Q according to the state transition diagram ST1, and proceeds to the next step SP53.
  • step SP53 the control unit 221 determines whether or not the updated tape position is the start end. If a negative result is obtained here, the rotation of the drum 23 is stopped because the tape position is still the terminal part or the intermediate part and the tape position is the terminal part even if the status is “undefined”. This means that it is not necessary to Therefore, the control unit 221 returns to step SP51 and continues the rotation of the drum 23.
  • step SP53 if an affirmative result is obtained in step SP53, it indicates that the tape position is determined to be the start end even if the obtained status is “indefinite state”. At this time, the control unit 221 proceeds to the next step SP54.
  • step SP54 the control unit 221 stops the rotation of the drum 23, moves to the next step SP55, and ends the rewinding processing procedure RT6.
  • the temporary storage unit 215 performs the winding operation and the rewinding operation while updating the tape position according to the state transition diagram ST1, so that the tape position is set to the start end portion or the end position even if the status is “indefinite state”. It is designed so that it can be correctly distinguished from the end portion.
  • the temporary holding portion 215 according to the third embodiment is provided at the start end portion of the outer tape 130A, the outer tape 130A and 130B, and the end portion of the inner tape 40A and 40B, as in the second embodiment.
  • a light shielding area SA was formed (FIG. 9).
  • the temporary storage unit 215 generates a light reception signal corresponding to the light transmittance of each tape by the tape sensors 35A, 135B, 45A, and 45B, and sends it to the control unit 221.
  • control unit 221 Based on the light reception signals obtained from the respective tape sensors (35A, 135B, 45A and 45B), the control unit 221 sets the status to “intermediate finalized state”, “end finalized state” or “end” according to the status table TBL1 (FIG. 13). It was decided to be one of “indefinite state”.
  • the temporary storage unit 215 sets the “undefined state” in which the tape position is not specified when only the tape sensor 35A is in the “dark” level and the tape position cannot be determined as the start end or the end end. Therefore, it is possible to reliably eliminate the risk of damaging the tape without discriminating it as an erroneous tape position.
  • the outer tape 130A is cut off during maintenance work or the like, as shown in FIG. 18, the outer tape is present both at the start end (shown by a solid line) and near the end (shown by a broken line).
  • the light shielding area SA is detected only for 130A, the tape sensor 35A becomes “dark” level, and the other tape sensors become “light” level.
  • the controller 231 when the controller 221 has just started and cannot determine the previous operation state, the controller 231, by rotating the drum 23 in the winding direction at a low speed, monitors the status change and the rotation of the drum 23, thereby accurately determining the tape position. It can be discriminated as an intermediate part or a terminal part.
  • the temporary storage unit 215 transmits a relatively low driving force so as to rotate the drum 23 at a low speed in the winding direction. Therefore, even if the tape is at the end position, the tension applied to the tape is reduced. Since it can suppress, the danger of damaging can be reduced significantly.
  • the control unit 221 updates the tape position according to the state transition diagram ST1 (FIG. 15), so that even if the status becomes “indefinite state”, the winding is performed immediately before. Depending on whether the take-up operation or the rewinding operation is performed, it can be correctly specified that the tape position is the end portion or the start end portion.
  • the temporary storage unit 215 can use the light shielding area SA having the same optical characteristics at the start end and the end end of the outer tape 130A, and can detect both of them by the tape sensor 35A. For this reason, for example, the temporary storage unit 215 has a significantly simpler configuration than the case where two different types of tape sensors are used while providing regions having different optical characteristics at the start and end portions of the outer tape 130A, for example. Can be
  • the temporary storage unit 215 since the temporary storage unit 215 has the same optical characteristics of the light shielding areas SA provided at the start end and the end of the outer tape 130A, only from the signal level of the light reception signal obtained from the tape sensor 35A. In this case, the tape position cannot be accurately determined, but the tape position is specified by considering the change in status when the drum 23 is intentionally rotated in the winding direction R1 or according to the immediately preceding tape position and operation. Can do.
  • the temporary storage unit 215 executes the winding processing procedure RT3 (FIG. 10) and the rewinding processing procedure RT2 (FIG. 6), in the vicinity of the end portion (indicated by a broken line in FIG. 18) during the winding operation.
  • the winding operation is stopped when the light shielding area SA is detected only in the outer tape 130A.
  • the temporary holding unit 215 tries to start the rewinding operation, the light blocking area SA of the outer tape 130A is detected, so that the rewinding operation is stopped immediately and each tape cannot be rewound. was there.
  • the tape position is updated according to the state transition diagram ST1, so even if the status becomes “undefined” during the rewinding operation, the transition where the tape position is in the middle If the winding operation is not performed from mode Q2, the tape position does not shift to the transition mode Q1, which is the starting end, and therefore it is possible to correctly determine whether it is the starting end or the end based on the immediately preceding operation.
  • the temporary holding unit 215 can stop the rotation only when the tape position reaches the start end by executing the rewinding processing procedure RT6 using the tape position update according to the state transition diagram ST1. Until then, the tape can be properly rewound onto the reel.
  • the temporary storage unit 215 can achieve the same effects as the temporary storage unit 115 according to the second embodiment in other respects.
  • the temporary storage unit 215 is provided with the tape sensors 35A, 135B, 45A, and 45B, and has a light shielding area at the end portions of the outer tapes 130A and 130B and the inner tapes 40A and 40B. SA was provided. Then, the control unit 221 of the temporary storage unit 215 determines the status as “intermediate finalized state”, “end finalized state”, or “undefined state” based on the light reception signals of the tape sensors 35A, 135B, 45A, and 45B. Then, after determining the tape position, the tape position is updated according to the state transition diagram ST1 according to the operation.
  • the temporary holding unit 215 can correctly determine the tape position while providing the same light-shielding area SA at the start end and the end of the outer tape 130A, so when it reaches the end during the winding operation, Alternatively, the drums 23 can be stopped when they reach the start end during the rewinding operation, and damage due to excessive tension applied to each tape can be prevented.
  • the start end portion may be detected by the inner tape 40A and the end portion may be detected by the outer tapes 30A and 30B.
  • the second and third embodiments are not limited to this.
  • the start end portion may be detected by the inner tape 40A and the end portion may be detected by the outer tapes 30A and 30B.
  • the second and third embodiments are not limited to this.
  • the present invention is not limited to this.
  • the light shielding area SA may be provided at the start end of two or more tapes, for example, the light shielding area SA may be provided at the start end of the outer tape 130B.
  • the light shielding area SA may be provided at the starting end of any one or more tapes, but the light shielding area SA is provided at the starting edge of one or more tapes in consideration of differentiation from the end. Desirably not. The same applies to the third embodiment.
  • the present invention is not limited to this.
  • the present invention when it is possible to detect whether the tape position is at the start end by another method, whether the tape position has reached the end based on the light reception signal obtained from the tape sensor. Only whether or not may be determined.
  • the light shielding areas SA are respectively formed at the start end of one tape (outer tape 130A) and the end of all the tapes, and the status is “intermediate defined state” and “end end”.
  • the tape position is determined based on the previous operating state or the change in status when the drum 23 is rotated at a low speed in the case of the “indefinite state”. I mentioned the case.
  • the present invention is not limited to this, and the light shielding areas SA may be provided at the start end of an arbitrary number of tapes and the end of an arbitrary number of tapes. In this case, it is only necessary to distinguish between the combination of the tape having the light shielding area SA at the start end and the combination of the tape having the light shielding area SA at the end. Furthermore, in this case, the status may be determined using a status table corresponding to these combinations, and the tape position may be updated by changing the state according to the state transition diagram corresponding to these combinations.
  • the status is not limited to the combination of “intermediate finalized state”, “end finalized state”, or “undefined state”, but for example, “intermediate finalized state” and “undefined state” and the start end of the tape are confirmed. It is good also as a combination of the "start end fixed state”.
  • the drum 23 may be rotated in the rewind direction R2 at a low speed, and each reel may be rotated in the direction in which each tape is taken up.
  • the tape sensors 35A, 45A and 45B generate a light reception signal corresponding to the light transmittance of each tape at the tape position and send it to the control unit 21.
  • the case where the “light” level or the “dark” level is discriminated is described.
  • the tape sensors 35A, 45A and 45B detect the light transmittance of each tape at the tape position, and compare the light transmittance with a predetermined threshold value to “bright”. It may be determined whether the level or the “dark” level and the determination result is sent to the control unit 21. The same applies to the second and third embodiments.
  • the present invention is not limited to this.
  • a motor (not shown) that supplies a driving force to the drum 23, a gear, a belt, or the like (not shown) that transmits the driving force between the motor and the drum 23.
  • the rotation of the drum 23 may be detected by providing a sensor. The same applies to the second and third embodiments.
  • the present invention is not limited to this, and the winding of the bills BL around the drum 23 may be further stabilized by providing three or more tape running systems 27 in the temporary storage unit 15.
  • the light shielding area SA may be formed at the end of the inner tape 40 of each tape running system, and the tape sensor 45 may be provided. The same applies to the second and third embodiments.
  • each tape is made of a transparent material as a whole and transmits the detection light, while the light shielding area SA that blocks the detection light is provided at a part of the start and end portions.
  • the optical transmittance of the detection light is detected by each tape sensor has been described.
  • a reflective region that reflects detection light may be provided at the start and end portions of each tape, and the reflected light of the detection light may be received by a tape sensor. It may be made of a light-shielding material, and a light-transmitting region that transmits light may be provided as appropriate at the start and end portions.
  • each tape may be made entirely of a non-magnetic material, and magnetized regions may be formed at some of the start and end portions, and the presence or absence of magnetism may be detected by a magnetic sensor. That is, according to the present invention, a region having a physical characteristic different from that of the entire tape may be provided at a part of the beginning and end of each tape, and a difference between the physical characteristics may be detected by a predetermined sensor. The same applies to the second and third embodiments.
  • the present invention is not limited to this, and may be applied to a temporary storage unit incorporated in a cashier system for a staff to perform various cash-related processes in a financial institution, or a gift certificate, a cash voucher, an admission ticket, etc. You may make it apply to the various apparatuses which hold
  • the drum 23 as a drum, the inner tapes 40A and 40B as inner tapes, the outer tapes 30A and 30B as outer tapes, and the light shielding area SA as a different area
  • the temporary storage unit 15 as the medium processing apparatus is configured by the tape sensors 35A, 45A and 45B as the detection unit and the control unit 21 as the control unit has been described.
  • the present invention is not limited to this, and the medium processing apparatus may be configured by a drum having various other configurations, an inner tape, an outer tape, a different area, a detection unit, and a control unit.
  • the present invention can also be used in various devices for temporarily holding a paper-like medium such as banknotes around a drum together with a tape.

Landscapes

  • Engineering & Computer Science (AREA)
  • Mechanical Engineering (AREA)
  • Discharge By Other Means (AREA)
  • Controlling Rewinding, Feeding, Winding, Or Abnormalities Of Webs (AREA)
  • Winding Of Webs (AREA)
  • Tyre Moulding (AREA)
PCT/JP2012/082395 2012-03-21 2012-12-13 媒体処理装置 Ceased WO2013140682A1 (ja)

Priority Applications (4)

Application Number Priority Date Filing Date Title
CN201280068362.3A CN104093655B (zh) 2012-03-21 2012-12-13 介质处理装置
RU2014132886/13A RU2583691C2 (ru) 2012-03-21 2012-12-13 Устройство приема, выдачи и хранения денежных документов
US14/376,769 US9938105B2 (en) 2012-03-21 2012-12-13 Medium processing device
IN6489DEN2014 IN2014DN06489A (enExample) 2012-03-21 2014-08-01

Applications Claiming Priority (2)

Application Number Priority Date Filing Date Title
JP2012-063270 2012-03-21
JP2012063270A JP5853798B2 (ja) 2012-03-21 2012-03-21 媒体処理装置

Publications (1)

Publication Number Publication Date
WO2013140682A1 true WO2013140682A1 (ja) 2013-09-26

Family

ID=49222168

Family Applications (1)

Application Number Title Priority Date Filing Date
PCT/JP2012/082395 Ceased WO2013140682A1 (ja) 2012-03-21 2012-12-13 媒体処理装置

Country Status (6)

Country Link
US (1) US9938105B2 (enExample)
JP (1) JP5853798B2 (enExample)
CN (2) CN104093655B (enExample)
IN (1) IN2014DN06489A (enExample)
RU (1) RU2583691C2 (enExample)
WO (1) WO2013140682A1 (enExample)

Cited By (2)

* Cited by examiner, † Cited by third party
Publication number Priority date Publication date Assignee Title
CN106297075A (zh) * 2016-08-02 2017-01-04 深圳怡化电脑股份有限公司 Atm存款方法及装置
EP3130545A4 (en) * 2014-04-09 2017-07-26 Glory Ltd. Paper-sheet bundling device

Families Citing this family (10)

* Cited by examiner, † Cited by third party
Publication number Priority date Publication date Assignee Title
JP3524297B2 (ja) 1996-10-08 2004-05-10 八洲電研株式会社 投入紙幣識別機構を有する自動販売機
CN103676990B (zh) * 2013-12-30 2016-12-07 广州广电运通金融电子股份有限公司 纸币暂存模块和其卷筒转速控制方法以及自动柜员机
JP6299435B2 (ja) * 2014-05-29 2018-03-28 沖電気工業株式会社 媒体収納装置及び媒体取引装置
JP6539991B2 (ja) 2014-11-14 2019-07-10 沖電気工業株式会社 媒体処理装置及び媒体取引装置
JP2017027198A (ja) * 2015-07-17 2017-02-02 ローレルバンクマシン株式会社 紙葉類処理装置
WO2017020186A1 (zh) * 2015-07-31 2017-02-09 深圳怡化电脑股份有限公司 纸质介质收纳装置及自动取款机
JP6412623B1 (ja) 2017-09-08 2018-10-24 日本金銭機械株式会社 紙葉還流装置、及び還流式紙葉取扱装置
US20220177251A1 (en) * 2019-03-26 2022-06-09 Jaryd Ridgeway An automatic dispenser
JP7196768B2 (ja) 2019-05-29 2022-12-27 沖電気工業株式会社 媒体処理装置及び媒体取引装置
CN114394460A (zh) * 2021-12-28 2022-04-26 苏州晔程建筑科技有限公司 卷收装置、采光系统及加工系统

Citations (2)

* Cited by examiner, † Cited by third party
Publication number Priority date Publication date Assignee Title
JP2006290513A (ja) * 2005-04-08 2006-10-26 Laurel Seiki Kk 紙葉類収納繰出装置
WO2009157264A1 (ja) * 2008-06-24 2009-12-30 沖電気工業株式会社 媒体収納操出装置

Family Cites Families (20)

* Cited by examiner, † Cited by third party
Publication number Priority date Publication date Assignee Title
DE19629900A1 (de) * 1996-07-24 1998-01-29 Siemens Nixdorf Inf Syst Rollenspeicheranordnung
CA2299827C (en) * 2000-03-02 2009-12-15 Cashcode Company Inc. Combination banknote validator and banknote dispenser
AR038760A1 (es) * 2000-09-29 2005-01-26 Diebold Inc Metodo para la acumulacion y presentacion de hojas en una maquina automatica de transacciones
JP3760375B2 (ja) * 2000-12-22 2006-03-29 日立オムロンターミナルソリューションズ株式会社 紙幣取扱装置
CA2357930A1 (en) * 2001-09-28 2003-03-28 Cashcode Company Inc. Banknote accumulator
EP1321408A1 (en) * 2001-12-20 2003-06-25 Mars Incorporated Banknote store
GB2387167A (en) * 2002-03-06 2003-10-08 Rue De Int Ltd Roll storage module
CA2502344A1 (en) * 2005-03-24 2006-09-24 Cashcode Company Inc. Validator with recycling cassette and stacker
EP1772406B1 (en) * 2005-10-06 2014-08-27 MEI, Inc. Banknote store
DE102007022558A1 (de) * 2007-05-14 2008-11-20 Wincor Nixdorf International Gmbh Rollenspeicher für blattförmige Gegenstände
DE102007022556A1 (de) * 2007-05-14 2008-11-20 Wincor Nixdorf International Gmbh Optimierte Belegführung in Selbstbedienungssystemen
JP4888442B2 (ja) * 2008-06-11 2012-02-29 沖電気工業株式会社 紙葉類収納排出装置
JP2010095340A (ja) * 2008-10-16 2010-04-30 Laurel Precision Machines Co Ltd 紙葉類収納繰出装置
JPWO2010052795A1 (ja) * 2008-11-10 2012-03-29 グローリー株式会社 紙葉類収納繰出装置
DE102009026253A1 (de) * 2009-07-27 2011-02-03 Wincor Nixdorf International Gmbh Rollenspeicher
WO2011036782A1 (ja) * 2009-09-28 2011-03-31 グローリー株式会社 紙葉類収納繰出装置
EP2579223B1 (en) * 2010-06-07 2016-08-10 Glory Ltd. Paper sheet storing and advancing device and paper sheet storing method
US8302757B1 (en) * 2010-09-09 2012-11-06 Ncr Corporation Media recycler
JP5475615B2 (ja) * 2010-10-29 2014-04-16 富士通フロンテック株式会社 紙葉類収納繰出装置
JP5853687B2 (ja) 2011-12-28 2016-02-09 沖電気工業株式会社 媒体処理装置

Patent Citations (2)

* Cited by examiner, † Cited by third party
Publication number Priority date Publication date Assignee Title
JP2006290513A (ja) * 2005-04-08 2006-10-26 Laurel Seiki Kk 紙葉類収納繰出装置
WO2009157264A1 (ja) * 2008-06-24 2009-12-30 沖電気工業株式会社 媒体収納操出装置

Cited By (2)

* Cited by examiner, † Cited by third party
Publication number Priority date Publication date Assignee Title
EP3130545A4 (en) * 2014-04-09 2017-07-26 Glory Ltd. Paper-sheet bundling device
CN106297075A (zh) * 2016-08-02 2017-01-04 深圳怡化电脑股份有限公司 Atm存款方法及装置

Also Published As

Publication number Publication date
JP5853798B2 (ja) 2016-02-09
US20150014469A1 (en) 2015-01-15
IN2014DN06489A (enExample) 2015-06-12
JP2013196431A (ja) 2013-09-30
CN106829602A (zh) 2017-06-13
US9938105B2 (en) 2018-04-10
CN106829602B (zh) 2019-02-12
RU2583691C2 (ru) 2016-05-10
CN104093655B (zh) 2017-03-08
CN104093655A (zh) 2014-10-08
RU2014132886A (ru) 2016-02-27

Similar Documents

Publication Publication Date Title
JP5853798B2 (ja) 媒体処理装置
JP5704027B2 (ja) 媒体処理装置及び媒体取引装置
JP5790567B2 (ja) 媒体処理装置
JP6187289B2 (ja) 媒体処理装置及び媒体取引装置
JP6539991B2 (ja) 媒体処理装置及び媒体取引装置
CN104854629A (zh) 介质处理装置和介质交易装置
JP5761094B2 (ja) 媒体処理装置
JP4927096B2 (ja) 紙幣処理装置
JP6127482B2 (ja) 媒体収納繰出装置及び媒体処理装置
JP5958128B2 (ja) 媒体処理装置
JP6299435B2 (ja) 媒体収納装置及び媒体取引装置
JP7354665B2 (ja) 媒体処理装置及び媒体取引装置
RU2574482C1 (ru) Устройство обработки носителя

Legal Events

Date Code Title Description
121 Ep: the epo has been informed by wipo that ep was designated in this application

Ref document number: 12871854

Country of ref document: EP

Kind code of ref document: A1

WWE Wipo information: entry into national phase

Ref document number: 14376769

Country of ref document: US

ENP Entry into the national phase

Ref document number: 2014132886

Country of ref document: RU

Kind code of ref document: A

WWE Wipo information: entry into national phase

Ref document number: IDP00201404888

Country of ref document: ID

REG Reference to national code

Ref country code: BR

Ref legal event code: B01A

Ref document number: 112014020292

Country of ref document: BR

NENP Non-entry into the national phase

Ref country code: DE

122 Ep: pct application non-entry in european phase

Ref document number: 12871854

Country of ref document: EP

Kind code of ref document: A1

ENP Entry into the national phase

Ref document number: 112014020292

Country of ref document: BR

Kind code of ref document: A2

Effective date: 20140815