WO2013136789A1 - Projector and control method for the projector - Google Patents

Projector and control method for the projector Download PDF

Info

Publication number
WO2013136789A1
WO2013136789A1 PCT/JP2013/001655 JP2013001655W WO2013136789A1 WO 2013136789 A1 WO2013136789 A1 WO 2013136789A1 JP 2013001655 W JP2013001655 W JP 2013001655W WO 2013136789 A1 WO2013136789 A1 WO 2013136789A1
Authority
WO
WIPO (PCT)
Prior art keywords
image
pattern
unit
projector
projected
Prior art date
Legal status (The legal status is an assumption and is not a legal conclusion. Google has not performed a legal analysis and makes no representation as to the accuracy of the status listed.)
Ceased
Application number
PCT/JP2013/001655
Other languages
English (en)
French (fr)
Inventor
Shiki Furui
Current Assignee (The listed assignees may be inaccurate. Google has not performed a legal analysis and makes no representation or warranty as to the accuracy of the list.)
Seiko Epson Corp
Original Assignee
Seiko Epson Corp
Priority date (The priority date is an assumption and is not a legal conclusion. Google has not performed a legal analysis and makes no representation as to the accuracy of the date listed.)
Filing date
Publication date
Application filed by Seiko Epson Corp filed Critical Seiko Epson Corp
Priority to EP13717332.4A priority Critical patent/EP2826249B1/en
Priority to KR1020147028457A priority patent/KR101631568B1/ko
Priority to US14/378,151 priority patent/US9479748B2/en
Priority to RU2014141156/07A priority patent/RU2585661C2/ru
Publication of WO2013136789A1 publication Critical patent/WO2013136789A1/en
Anticipated expiration legal-status Critical
Priority to IN8061DEN2014 priority patent/IN2014DN08061A/en
Ceased legal-status Critical Current

Links

Images

Classifications

    • HELECTRICITY
    • H04ELECTRIC COMMUNICATION TECHNIQUE
    • H04NPICTORIAL COMMUNICATION, e.g. TELEVISION
    • H04N9/00Details of colour television systems
    • H04N9/12Picture reproducers
    • H04N9/31Projection devices for colour picture display, e.g. using electronic spatial light modulators [ESLM]
    • H04N9/3179Video signal processing therefor
    • H04N9/3185Geometric adjustment, e.g. keystone or convergence
    • HELECTRICITY
    • H04ELECTRIC COMMUNICATION TECHNIQUE
    • H04NPICTORIAL COMMUNICATION, e.g. TELEVISION
    • H04N9/00Details of colour television systems
    • H04N9/12Picture reproducers
    • H04N9/31Projection devices for colour picture display, e.g. using electronic spatial light modulators [ESLM]
    • H04N9/3191Testing thereof
    • H04N9/3194Testing thereof including sensor feedback

Definitions

  • the present invention relates to a projector that projects an image on a projection surface and a control method for the projector.
  • the projector of this type projects an image for adjustment for correcting an image, photographs the projection surface, and detects a configuration image from a photographed image to perform distortion correction.
  • Such an image for adjustment is formed by, for example, a plurality of white measuring points and straight lines.
  • the projector calculates an angle and a distance of the projector with respect to the projection surface on the basis of the positions of the measurement points and the straight lines in the photographed image.
  • the position of the image for adjustment on the projection surface changes because of the influence of, for example, a zoom ratio of the projector. Therefore, in a state in which a positional relation between the projection surface and the projector is unknown, it is unknown where on the projection surface the image for adjustment is located. Therefore, the projector in the past searches the entire projection surface for the image for adjustment. As a result, the search is a time-consuming process. Therefore, there is a demand for a method of surely detecting, in a short time, the image for adjustment projected on the projection surface.
  • An advantage of some aspects of the invention is to enable a projector, which projects an image for adjustment on a projection surface and performs processing such as correction on the basis of the image for adjustment, to promptly and surely detect the image for adjustment on the projection surface.
  • An aspect of the invention is directed to a projector including: a projecting unit configured to project an image on a projection surface; a control unit configured to cause the projecting unit to project an image for adjustment including a first pattern and a second pattern; and a correcting unit configured to detect the first pattern and the second pattern included in the image for adjustment projected by the projecting unit and correct distortion of the projected image.
  • the correcting unit detects the second pattern projected on the projection surface and detects the position of the first pattern on the basis of the position of the detected second pattern.
  • the second pattern included in the image for adjustment by detecting the second pattern included in the image for adjustment, it is possible to detect the position of the first pattern on the basis of the position of the second pattern. Therefore, the first pattern is not required to be formed in a position and a shape for easily detecting the first pattern. Therefore, for example, if the second pattern arranged to be easily detected and the first pattern suitable for the distortion correction of the projected image are used, it is possible to promptly detect the image for adjustment and quickly and highly accurately correct the image. In other words, irrespective of the shape of the first pattern used for the correction, the projector can promptly detect the image for adjustment.
  • the projecting unit may include a projection lens.
  • the second pattern may be arranged to be projected in the vicinity of an intersection point of an optical axis of the projection lens and the projection surface.
  • At least a part of the second pattern may include a plurality of parallel lines colored in white or a color having high luminance compared with a color of an image projected as a background of the image for adjustment. According to this configuration, it is possible to more promptly detect the second pattern included in the image for adjustment.
  • the projector of the aspect of the invention may include an image pickup unit configured to photograph the projection surface.
  • the correcting unit may detect the first pattern from a photographed image of the image pickup unit and correct the distortion of the projected image. According to this configuration, it is possible to promptly detect the first pattern from the photographed image obtained by photographing the projection surface and correct the image.
  • the image for adjustment may include, as the second pattern, a straight line arranged to be reflected on an epipolar line of the optical axis of the projection lens or in the vicinity of the epipolar line on the photographed image of the image pickup unit.
  • the second pattern located on the epipolar line or in the vicinity of the epipolar line is less easily affected by the zoom ratio of the projector.
  • the second pattern is located in substantially the same positions on photographed images and can be easily detected. Therefore, it is possible to more promptly detect the second pattern.
  • the image for adjustment may include, as the second pattern, a figure having a predetermined shape arranged to be reflected on an epipolar line of the optical axis of the projection lens or in the vicinity of the epipolar line on the photographed image of the image pickup unit.
  • the image for adjustment may include, as the second pattern, a predetermined figure configured to be reflected in the vicinity of the optical axis of the projection lens on the photographed image of the image pickup unit. According to this configuration, since the second pattern is located in substantially the same positions on photographed images, it is possible to more promptly detect the second pattern.
  • the correcting unit may execute, a plurality of times, processing for correcting the distortion of the projected image until a predetermined completion condition is met after a start condition for the processing for correcting the distortion of the projected image holds.
  • Another aspect of the invention is directed to a control method for a projector including: controlling a projector including a projecting unit configured to project an image on a projection surface; projecting, with the projecting unit, an image for adjustment including a first pattern and a second pattern; detecting the first pattern and the second pattern included in the image for adjustment projected by the projecting unit and correcting distortion of the projected image; and detecting the second pattern projected on the projection surface and detecting the position of the first pattern on the basis of the position of the detected second pattern.
  • the second pattern included in the image for adjustment is detected, it is possible to detect the position of the first pattern on the basis of the position of the second pattern.
  • the projector can promptly detect the image for adjustment.
  • Fig. 1 is a block diagram showing the configuration of a projector according to an embodiment.
  • Fig. 2A is an explanatory diagram showing a relation between relative positions of a projector and a screen and a photographed image, and showing the relative positions of the projector and the screen.
  • Fig. 2B is an explanatory diagram showing a relation between relative positions of a projector and a screen and a photographed image, and showing the relative positions of the projector and the screen.
  • Fig. 2C is an explanatory diagram showing a relation between relative positions of a projector and a screen and a photographed image, and showing an epipolar line in the photographed image.
  • Fig. 3A is an explanatory diagram showing a correction pattern projected by the projector, and showing an example of an image to be projected.
  • Fig. 3B is an explanatory diagram showing a correction pattern projected by the projector, and showing an example of the correction pattern.
  • Fig. 3C is an explanatory diagram showing a correction pattern projected by the projector, and showing an example in which a light modulation device renders the image and the correction pattern.
  • Fig. 3D is an explanatory diagram showing a correction pattern projected by the projector, and showing an example of a photographed image.
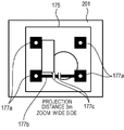
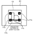
  • Fig. 4A is an explanatory diagram showing a relation between a zoom ratio of the projector and the photographed image, and showing examples of the photographed image obtained when a projection distance and the zoom ratio are variously changed.
  • FIG. 4B is an explanatory diagram showing a relation between a zoom ratio of the projector and the photographed image, and showing examples of the photographed image obtained when a projection distance and the zoom ratio are variously changed.
  • Fig. 4C is an explanatory diagram showing a relation between a zoom ratio of the projector and the photographed image, and showing examples of the photographed image obtained when a projection distance and the zoom ratio are variously changed.
  • Fig. 4D is an explanatory diagram showing a relation between a zoom ratio of the projector and the photographed image, and showing examples of the photographed image obtained when a projection distance and the zoom ratio are variously changed.
  • Fig. 5 is a flowchart for explaining the operation of the projector. Fig.
  • FIG. 6A is a diagram showing another example of a correction pattern, and showing an example of the correction pattern.
  • Fig. 6B is a diagram showing another example of a correction pattern, and showing an example in which the light modulation device renders an image and the correction pattern.
  • Fig. 6C is a diagram showing another example of a correction pattern, and showing an example of the photographed image.
  • Fig. 1 is a block diagram showing an overall configuration of a projector 100 according to the embodiment.
  • the projector 100 projects an image on a screen SC on the basis of an image stored in an image storing unit 171 incorporated therein or image data input from an external image supply apparatus (not shown in the figure) such as a personal computer or various video players.
  • the screen C stands substantially upright.
  • a screen surface is formed in a rectangular shape.
  • the image data input to the projector 100 may be either data of a moving image (a video) or data of a still image.
  • the projector 100 can project the video on the screen SC and can continue to project the still image on the screen SC.
  • an image is projected on the basis of an analog image signal input from the external image supply apparatus via a cable 200.
  • the projector 100 roughly includes a projecting unit 101 (projecting means) that performs formation of an optical image and an image processing system that controls the operation of the entire projector 100 and electrically processes an image signal.
  • the projecting unit 101 includes a light source 140, a light modulation device 130, and a projection optical system 150.
  • a light source 140 a Xenon lamp, an extra-high pressure mercury lamp, an LED (Light Emitting Diode), a laser light source, or the like can be used.
  • the light source 140 may include a reflector and an auxiliary reflector that guide light emitted by the light source 140 to the light modulation device 130 and a dimming device (not shown in the figure) that reduces the light emitted by the light source 140 on a path leading to the light modulation device 130.
  • the light modulation device 130 receives a signal from the image processing system explained below and modulates the light emitted by the light source 140 into image light.
  • Examples of a specific configuration of the light modulation device 130 include a system in which three transmissive or reflective liquid crystal light valves corresponding to the respective colors of RGB are used.
  • the light emitted by the light source 140 is separated in to respective color lights of R, G, and B by a dichroic mirror or the like and made incident on the light modulation device 130.
  • the respective color lights are modulated by liquid crystal panels for the respective colors included in the light modulation device 130. Thereafter, the respective color lights are combined by a cross-dichroic prism and guided to the projection optical system 150.
  • the light modulation device 130 includes a transmissive liquid crystal panel.
  • the light modulation device 130 is driven by a light-modulation-device driving unit 134 explained below.
  • the light modulation device 130 changes the transmittance of light in respective pixels arranged in a matrix shape to thereby form an image.
  • the projection optical system 150 includes a zoom lens 151 that performs expansion and reduction of an image to be projected and adjustment of a focus, a motor for zoom adjustment 152 that adjusts a degree of zoom, and a motor for adjustment 153 that performs adjustment of a focus.
  • Light modulated by the light modulating device 130 is made incident on the projection optical system 150.
  • the light is projected on the screen SC through the zoom lens 151 to focus a projected image.
  • the zoom lens 151 includes a lens group including a plurality of lenses.
  • the zoom lens 151 is driven by the motor for zoom adjustment 152 and the motor for focus adjustment 153 to perform, for example, position adjustment for the lenses, whereby zoom adjustment for performing expansion and reduction of the projected image on the screen SC and focus adjustment for properly focusing the projected image on the screen SC are performed.
  • the image processing system mainly includes a CPU 120 that collectively controls the entire projector 100 and a processor for images 131.
  • the image processing system includes an A/D conversion unit 110, a light-modulation-device driving unit 134, a light-source driving unit 141, a lens driving unit 154, a RAM 160, a ROM 170 including an image storing unit 171 and a correction-pattern storing unit 172, an image pickup unit 180 (image pickup means) including a CCD camera 181, a photographed image memory 182, a motion detecting unit 185, a remote-controller control unit 190, a remote controller 191, and an operation unit 195.
  • the components included in the image processing system are connected to one another via a bus 102.
  • the A/D conversion unit 110 is a device that subjects an analog input signal, which is input from the external image supply apparatus via the cable 200, to A/D conversion.
  • the A/D conversion unit 110 outputs a digital signal after the conversion to the processor for images 131.
  • the CPU 120 performs image processing in the projector 100 in cooperation with the processor for images 131.
  • the CPU 120 includes, besides a projection control unit 121 that performs control related to projection by the projector 100, a correction control unit 122, a zoom-ratio calculating unit 123, a focal-length calculating unit 124, a three-dimensional measurement unit 125, and a projection-angle calculating unit 126.
  • the units are realized by the CPU 120 executing a program stored in the ROM 170 in advance.
  • the projection control unit 121 of the CPU 120 functions as a controlling unit.
  • the processor for images 131 includes a trapezoidal-distortion correcting unit 132 and a superimposition processing unit 133.
  • the processor for images 131 processes, according to the control by the CPU 120, image data input from the A/D conversion unit 110, generates an image signal for rendering a projected image using the light modulation device 130.
  • the processor for images 131 can be configured using a general-purpose processor sold as a DSP (digital signal processor) for trapezoidal distortion correction and image processing and can be configured as a dedicated ASIC.
  • DSP digital signal processor
  • the light-modulation-device driving unit 134 drives the light modulation device 130 on the basis of an image signal input from the processor for images 131. Consequently, an image corresponding to the image signal input to the A/D conversion unit 110 is formed in an image forming region of the light modulation device 130. The image is formed on the screen SC as a projected image via the projection optical system 150.
  • the light-source driving unit 141 applies a voltage to the light source 140 and lights or extinguishes the light source 140 according to an instruction signal input from the CPU 120.
  • the lens driving unit 154 drives the motor for zoom adjustment 152 and the motor for focus adjustment 153 to perform zoom adjustment and focus adjustment according to the control by the CPU 120.
  • the RAM 160 forms a work area for temporarily storing programs and data executed by the CPU 120 and the processor for images 131.
  • the processor for images 131 may include, as a built-in RAM, a work area necessary for execution of various kinds of processing such as adjustment processing for a display state of an image performed by the processor for images 131.
  • the ROM 170 stores a program executed by the CPU 120 in order to realize the processing units and data and the like related to the program.
  • the ROM 170 includes an image storing unit 171 that stores an image projected by the projecting unit 101 and a correction-pattern storing unit 172 that stores a correction pattern used for the distortion correction processing.
  • the image pickup unit 180 includes a CCD camera 181 including a CCD, which is a well-known image sensor, and a camera lens 183 arranged in front of the CCD camera 181.
  • the image pickup unit 180 is provided on the front surface of the projector 100, i.e., in a position where the image pickup unit 180 can pick up, with the CCD camera 181, an image in a direction in which the projection optical system 150 projects an image to the screen SC.
  • the image pickup unit 180 is provided to photograph a direction same as the projecting direction of the projection optical system 150.
  • an optical axis of the camera lens 183 may be parallel to an optical axis of the zoom lens 151.
  • the optical axis of the camera lens 183 may slightly tilt to the optical axis side of the zoom lens 151.
  • a photographing direction and an angle of view of the CCD camera 181 and the camera lens 183 are set such that an entire projected image projected on the screen SC at a recommended projection distance lies within at least an image pickup range.
  • the CCD camera 181 may include, besides a CCD, a control circuit that reads out an image signal from the CCD.
  • the camera lens 183 may include, besides a fixed focal lens that forms an image on the CCD, a mechanism such as an auto iris that adjusts an amount of light made incident on the CCD.
  • Data of a photographed image photographed by the CCD camera 181 is output from the image pickup unit 180 to the photographed image memory 182 and repeatedly written in a predetermined region of the photographed image memory 182.
  • the photographed image memory 182 sequentially reverses a flag of a predetermined region. Therefore, by referring to the flag, the CPU 120 can learn whether image pickup performed using the image pickup unit 180 is completed. The CPU 120 accesses the photographed image memory 182 and acquires necessary photographed image data while referring to the flag.
  • the motion detecting unit 185 includes a gyro sensor and an acceleration sensor.
  • the motion detecting unit 185 detects a motion of a main body of the projector 100 and outputs a detection value to the CPU 120.
  • a threshold is set for the detection value of the motion detecting unit 185 in advance. When a motion exceeding the threshold is detected by the motion detecting unit 185, the CPU 120 determines that the projector 100 has moved. When a motion detected by the motion detecting unit 185 is equal to or smaller than the threshold and this state continues exceeding a standby time set in advance, the CPU 120 determines that the projector 100 has stood still.
  • the motion detecting unit 185 may be configured to output a detection signal to the CPU 120 when the threshold is set in the motion detecting unit 185 and the detection value of the motion detecting unit 185 exceeds the threshold and when the detection value of the motion detecting unit 185 is equal to or smaller than the threshold and the standby time elapses. In this case, it is possible to reduce a load on the CPU 120.
  • the remote-controller control unit 190 receives a radio signal transmitted from the remote controller 191 on the outside of the projector 100.
  • the remote controller 191 includes operators (not shown in the figure) operated by a user.
  • the remote controller 191 transmits an operation signal corresponding to operation of the operators as an infrared signal or a radio signal that is transmitted using a radio wave having a predetermined frequency.
  • the remote-controller control unit 190 includes a light receiving unit (not shown in the figure) that receives the infrared signal and a receiving circuit (not shown in the figure) that receives the radio signal.
  • the remote-controller control unit 190 receives a signal transmitted from the remote controller 191, analyzes the signal, generates a signal indicating content of the operation by the user, and outputs the signal to the CPU 120.
  • the operation unit 195 includes, for example, operators (not shown in the figure) of an operation panel arranged in a main body of the projector 100. Upon detecting operation of the operators, the operation unit 195 outputs an operation signal corresponding to the operators to the CPU 120.
  • the operators there are a switch for instructing power on/power off, a switch for instructing a distortion correction processing start, and the like.
  • the projection control unit 121 controls, on the basis of image data output by the A/D conversion unit 110, an action of projection of an image by the projecting unit 101. Specifically, the projection control unit 121 performs control for causing the light-source driving unit 141 to light/extinguish the light source 140 according to power on/off of the projector 100, control for causing the processor for images 131 to process image data output by the A/D conversion unit 110, and the like.
  • the projection control unit 121 has a function of starting and ending distortion correction processing by the correction control unit 122 for controlling the trapezoidal-distortion correcting unit 132 and correcting trapezoidal distortion.
  • the correction control unit 122 cooperates with the trapezoidal-distortion correcting unit 132 and functions as a correcting unit.
  • a start condition for starting the distortion correction processing it is set in advance that, for example, a motion of the projector 100 is detected on the basis of a detection value of the motion-detecting unit 185 or the distortion correction processing is instructed by operation of the operation unit 195 or the remote controller 191.
  • the projection control unit 121 determines that the start condition for the distortion correction processing holds.
  • the projection control unit 121 controls the superimposition processing unit 133 of the processor for images 131 to superimpose a correction pattern (an image for adjustment) stored in the correction-pattern storing unit 172 on an image being projected and project the correction pattern. Consequently, the image that has been projected from before the start of the distortion correction processing and the correction pattern are displayed one on top of the other.
  • the projection control unit 121 causes the correction control unit 122 to execute the distortion correction processing.
  • the correction control unit 122 causes the image pickup unit 180 to pick up an image of the screen SC in a state in which the correction pattern stored in the image storing unit 171 is projected on the screen SC and acquires photographed image data from the photographed image memory 182.
  • the correction control unit 122 performs processing for detecting an image of the correction pattern from the acquired photographed image data.
  • the correction control unit 122 calculates, on the basis of the detected image of the correction pattern, a projection angle, which is a tilt of an optical axis of projected light projected from the projector 100 with respect to the plane of the screen SC, and a relative distance between the projector 100 and the screen SC (hereinafter referred to as projection distance) according to the functions of the processing units, i.e., the zoom-ratio calculating unit 123, the focal-length calculating unit 124, the three-dimensional measurement unit 125, and the projection-angle calculating unit 126.
  • the correction control unit 122 controls the lens driving unit 154 according to the calculated projection distance to perform focus adjustment.
  • the correction control unit 122 calculates parameters for performing the distortion correction processing on the basis of the projection angle and the projection distance calculated by the functions of the processing units, i.e., the zoom-ratio calculating unit 123, the focal-length calculating unit 124, the three-dimensional measurement unit 125, and the projection-angle calculating unit 126.
  • the parameters are parameters for deforming an image rendered by the light modulation device 130 such that the image compensates for distortion of a projected image on the screen SC.
  • the parameters include data for defining the direction of the deformation, a deformation amount, and the like.
  • the correction control unit 122 outputs the calculated parameters to the trapezoidal-distortion correcting unit 132 and causes the trapezoidal-distortion correcting unit 132 to execute the distortion correction processing.
  • the processing units i.e., the zoom-ratio calculating unit 123, the focal-length calculating unit 124, the three-dimensional measurement unit 125, and the projection-angle calculating unit 126 perform, according to the control by the correction control unit 122, processing necessary for calculating the projection distance and the projection angle.
  • the processor for images 131 is a functional unit that processes image data input from the A/D conversion unit 110.
  • the processor for images 131 applies, to projection target image data, processing for adjusting a display state of an image such as luminance, contrast, the depth of a color, and a tint and outputs the image data after the processing to the light-modulation-device driving unit 134.
  • the trapezoidal-distortion correcting unit 132 included in the processor for images 131 performs, according to the parameters input from the correction control unit 122, processing for deforming the image of the image data output by the A/D conversion unit 110.
  • the superimposition processing unit 133 has a function of superimposing the correction pattern stored in the correction-pattern storing unit 172 on a projected image.
  • the superimposition processing unit 133 is connected to the post stage of the trapezoidal-distortion correcting unit 132.
  • the image data after the processing by the trapezoidal-distortion correcting unit 132 is input to the superimposition processing unit 133. Therefore, when the trapezoidal-distortion correcting unit 132 performs the distortion correction processing and when the trapezoidal-distortion correcting unit 132 does not perform the distortion correction processing, the superimposition processing unit 133 superimposes the correction pattern on the image data processed by the trapezoidal-distortion correcting unit 132. With this configuration, the distortion correction processing is not applied to the image on which the superimposition processing unit 133 superimposes the correction pattern.
  • the correction pattern projected by the projector 100 is always in a state in which the distortion correction processing is not applied to the correction pattern.
  • the image on which the correction pattern is superimposed by the superimposition processing unit 133 in this way is projected on the screen SC by the projection optical system 150.
  • the distortion correction processing is performed on the basis of the projected image.
  • Figs. 2A to 2C are explanatory diagrams showing a relation between relative positions of the projector 100 and the screen SC and a photographed image, wherein Figs. 2A and 2B show the relative positions of the projector and the screen and Fig. 2C shows an epipolar line in the photographed image.
  • the rear surface of the screen SC appears in Fig. 2A.
  • Fig. 2A is a perspective view of the projector 100 and the screen SC.
  • the projector 100 is set substantially in front of the screen SC and right opposed to the screen SC.
  • An optical axis 15a of the zoom lens 151 and an optical axis 18a of the CCD camera 181 are substantially parallel to each other.
  • An intersection point of the optical axis 15a and the screen SC is set as a point of attention CP and an intersection point of the optical axis 18a and the screen SC is set as a photographing center point CF.
  • Fig. 2B is a plan view showing a state of Fig. 2A.
  • an image is projected in a projection range P centering on the point of attention CP from the zoom lens 151.
  • the image pickup unit 180 photographs an image pickup range F centering on the photographing center point CF.
  • a range including the point of attention CP is reflected on a photographed image 201 photographed by the image pickup unit 180.
  • the optical axis 15a is equivalent to a straight line extending to the point of attention CP.
  • the straight line is an epipolar line 201a of the optical axis of the zoom lens 151.
  • the straight line is simply referred to as epipolar line 201a.
  • the point of attention CP and the epipolar line 201a are not reflected on an actual photographed image as images.
  • Fig. 2C a positional relation between the epipolar line 201a and the point of attention CP is illustrated.
  • the epipolar line 201a of this example is equivalent to the optical axis 15a in a range indicated by a sign L in Fig. 2B.
  • the epipolar line 201a corresponds to the position of the optical axis 15a of the zoom lens 151, the epipolar line 201a does not substantially move according to a zoom ratio of the projection optical system 150.
  • the zoom ratio of the zoom lens 151 is changed and an image is expanded or reduced, the image is expanded or reduced centering around the optical axis 15a (the point of attention CP) on the screen SP. Therefore, the positions of the point of attention CP and the optical axis 15a, which are the center of the expansion or the reduction of the image on the screen SC do not change even if the zoom ratio is changed.
  • the positions of the point of attention CP and the epipolar line 201a in the photographed image 201 sometimes change according to a distance between the projector 100 and the screen SC. This is because the optical axis 15a and the optical axis 18a do not completely coincide with each other. However, change amounts (moving amounts) of the point of attention CP and the epipolar line 201a in the photographed image 201 are small. For example, it hardly occurs that the point of attention CP and the epipolar line 201a deviate from an angle of view of the photographed image 201.
  • Figs. 3A to 3D are explanatory diagrams showing a correction pattern projected by the projector 100, wherein Fig. 3A shows an example of an image to be projected, Fig. 3B shows an example of the correction pattern, Fig. 3C shows an example in which the light modulation device renders the image and the correction pattern, and Fig. 3D shows an example of a photographed image.
  • a rectangular image 175 is projected as shown in Fig. 3A is explained.
  • a correction pattern 177 shown in Fig. 3B is explained as an example of the correction pattern.
  • the correction pattern 177 has a rectangular shape as a whole with square black markers 177a (a first pattern) arranged in the vicinity of the four corners.
  • Each of the markers 177a is a figure including a white point in a black square.
  • a linear black region 177b (a second pattern) is arranged.
  • Two position markers 177c (a second pattern) are arranged to overlap the black region 177b.
  • the position markers 177c are figures having a predetermined shape. In the example shown in Figs. 3A to 3D, the position markers 177c are rectangular. A color of the position markers 177c is white such that the position markers 177c can be clearly distinguished on the black region 177b.
  • an image shown in Fig. 3C is rendered in an image formable region 136 of the light modulation device 130.
  • the example shown in Fig. 3C indicates a state before processing for correcting trapezoidal distortion is corrected.
  • the image is rendered widely using the image formable region 136 of the light modulation device 130. Therefore, the image 175 is formed (rendered) in the entire image formable region 136.
  • the correction pattern 177 is rendered to be superimposed on the image 175.
  • the correction pattern 177 excluding the markers 177a, the black region 177b, and the position markers 177c is transparent. Therefore, the markers 177a, the black region 177b, and the position markers 177c are rendered on the image 175 one on top of another.
  • a photographed image is formed as shown in Fig. 3D.
  • the image 175 and the correction pattern 177 are reflected on the photographed image 201 shown in Fig. 3D.
  • the black region 177b is arranged to be reflected in a position overlapping the epipolar line 201a or in the vicinity of the epipolar line 201a.
  • the position of the epipolar line 201a in the photographed image 201 can be generally specified from the positional relation between the zoom lens 151 and the camera lens 183.
  • a rendering position of the correction pattern 177 in the image formable region 136 can be specified on the basis of the resolution of the correction pattern 177 and the resolution of the image formable region 136.
  • the black region 177b is arranged to be projected in the position overlapping the epipolar line 201a or the vicinity of the epipolar line 201a.
  • the position markers 177c are arranged on the black region 177b. Consequently, the black region 177b and the position markers 177c are always reflected in substantially the same positions in the photographed image 201. Therefore, if the correction control unit 122 searches through a narrow region including an epipolar line from photographed image data acquired from the photographed image memory 182, the correction control unit 122 can detect a black region and position markers.
  • the superimposition processing unit 133 is connected to the post stage of the trapezoidal-distortion correcting unit 132. Therefore, the superimposition processing unit 133 always superimposes a correction pattern not processed by the trapezoidal-distortion correcting unit 132 on an image. In other words, the distortion correction processing is not applied to the correction pattern.
  • the image formable region 136 is a largest region in which the light modulation device 130 can render an image.
  • the distortion correction processing is performed, the shape of an image to be rendered in the image formable region 136 is deformed. For example, the image deformed in a reverse trapezoidal shape is rendered in the image formable region 136 to compensate for trapezoidal distortion.
  • the size of the image is reduced.
  • the correction pattern 177 is rendered in the image formable region 136 without undergoing the distortion correction processing, positions where the markers 177a, the black region 177b, and the position markers 177c are rendered in the image formable region 136 are fixed. Therefore, the black region 177b and the position markers 177c do not substantially deviate from the epipolar line 201a. It is possible to promptly detect the black region 177b and the position markers 177c from the photographed image 201.
  • Figs. 4A to 4D are explanatory diagrams showing a relation between the zoom ratio of the projector 100 and the photographed image, and showing examples of the photographed image obtained when a projection distance and the zoom ratio are variously changed.
  • Fig. 4A an example in which the projection distance is set to 1m and the zoom ratio is set on a tele side is shown.
  • Fig. 4B an example in which the projection distance is set to 3m and the zoom ratio is set on the tele side is shown.
  • Fig. 4C an example in which the projection distance is set to 1 m and the zoom ratio is set on a wide side is shown.
  • Fig. 4D an example in which the projection distance is set to 3 m and the zoom ratio is set on the wide side is shown.
  • the correction pattern 177 is formed by placing the white position markers 177c on the black region 177b. Therefore, it is possible to easily detect the position markers 177c. If the end position of the position marker 177c in a direction along the epipolar line 201a can be detected, since the interval between the position markers 177c can be calculated, the zoom ratio can be calculated. Therefore, it is unnecessary to detect all the contours of the position markers 177c. The ends of the position markers 177c only have to be cable of being detected in the direction in which the epipolar line 201a extends in the photographed image 201.
  • the black region 177b is arranged along the epipolar line 201a, a boundary between the black region 177b and the position marker 177c only has to be capable of being detected in the length direction of the black region 177b. Therefore, the position makers 177c in this embodiment only have to be mere white rectangles, contour lines of which are not colored. A color of the position markers 177c only has to be easily distinguishable from the black region 177b. The function of the position markers 177c is sufficiently displayed if the color is a high-luminance color other than white.
  • Fig. 5 is a flowchart for explaining the operation of the projector 100.
  • the CPU 120 controls the light-source driving unit 141 to light the light source 140 (step S11). Further, the CPU 120 controls the lens driving unit 154 to execute optical adjustment in the projection optical system 150 and causes the processor for images 131 to execute adjustment or the like adapted to the brightness of an image and a designated color mode (step S12). Thereafter, the projection control unit 121 causes the projecting unit 101 to project an image output from the A/D conversion unit 110 (step S13).
  • the projection control unit 121 determines whether a start condition for the distortion correction processing holds (step S14).
  • the start condition for the distortion correction processing is that, for example, start instruction operation by the remote controller 191 or the operation unit 195 is performed or a detection value of the motion detecting unit 185 exceeds the threshold.
  • the projection control unit 121 determines that the start condition for the distortion correction processing holds (Yes in step S14), reads out the correction pattern 177 stored in the correction-pattern storing unit 172, causes the superimposition processing unit 133 to superimpose the correction pattern 177 on the image, and causes the projecting unit 101 to project the correction pattern 177 on the screen SC (step S15).
  • the correction control unit 122 causes the image pickup unit 180 to photograph the screen SC and acquires photographed image data from the photographed image memory 182 (step S16).
  • the correction control unit 122 detects the position markers 177c included in the photographed image data (step S17).
  • the correction control unit 122 calculates, with the zoom-ratio calculating unit 123, a zoom ratio on the basis of the positions of the detected position markers 177c and the interval between the two position markers 177c (step S18). Further, the correction control unit 122 estimates the positions of the markers 177a on the basis of the positions of the position markers 177c and the interval between the two position markers 177c, searches through the image data in the estimated positions, and detects the markers 177a (step S19).
  • the correction control unit 122 performs, on the basis of the positions of the markers 177a, calculation by the zoom-ratio calculating unit 123, the focal-length calculating unit 124, the three-dimensional measurement unit 125, and the projection-angle calculating unit 126 and calculates parameters for correcting trapezoidal distortion that occurs in the image on the screen SC (step S20).
  • the correction control unit 122 updates the parameter set in the trapezoidal-distortion correcting unit 132 with the new parameters (step S21) and causes the trapezoidal-distortion correcting unit 132 to execute the distortion correction processing for the image being projected.
  • the correction control unit 122 controls the lens driving unit 154 on the basis of a value calculated from the positions of the markers to execute focus adjustment (step S22).
  • the distortion correction processing based on the new parameters is applied by the trapezoidal-distortion correcting unit 132.
  • An image obtained by the superimposition processing unit 133 superimposing the correction pattern on the image after the processing is projected on the screen SC (step S23).
  • the projection control unit 121 determines whether a condition for completing the distortion correction processing holds (step S24).
  • the condition for completing the distortion correction processing is that, for example, instruction operation for completing the distortion correction processing is performed by the remote controller 191 or the operation unit 195 or the detection value of the motion detecting unit 185 is equal to or smaller than the threshold and a standby time elapses.
  • the projection control unit 121 returns to step S16.
  • the projection control unit 121 determines that the condition for completing the distortion correction processing holds (Yes in step S24) and causes ends the superimposition processing unit 133 to end the processing for superimposing the correction pattern (step S25). Thereafter, the projection control unit 121 determines whether the projector 100 ends the projection (step S26). When the projector 100 does not end the projection (No in step S26), the projection control unit 121 returns to step S14.
  • step S26 the projection control unit 121 stops the operation related to the projection of the image by the projecting unit 101 and extinguishes the light source 140 (step S27).
  • step S14 When the start condition for the distortion correction processing does not hold (No in step S14), the projection control unit 121 shifts to step S23 and determines whether the projection ends. When the projector 100 does not end the projection in step S26, the projection control unit 121 returns to step S14 and repeatedly determines whether the start condition holds. A period of the determination in step S14 is set in advance. In other words, the determination is repeatedly executed at the set period while the start condition does not hold and the projector 100 does not end the projection.
  • the projector 100 executes the distortion correction processing before the projector 100 stands still and, thereafter, repeatedly executes the distortion correction processing at the period set in advance until the condition for completing the distortion correction processing is met. Consequently, the distortion correction processing is periodically performed and an image after correction is projected on the screen SC. Therefore, the user who uses the projector 100 can see a state of the correction even before the projector 100 stands still or the operation for completing the distortion correction processing is performed. Before the standby time elapses after the movement of the projector 100 stops, the distortion correction processing is executed in a state in which the projector 100 stands still.
  • the corrected image is projected on the screen SC according to a position where the projector 100 stands still. Consequently, substantially, it is possible to project the corrected image before the standby time elapses and promptly project an image without distortion. In this case, it is desirable that the period of the repeated execution of the distortion correction processing by the projector is time shorter than the standby time.
  • the distortion correction processing is continuously executed a plurality of times in this way, if the distortion correction processing is applied to the correction pattern 177 as well, it is necessary to perform, concerning the positions of the markers 177a, calculation for excluding the influence of the distortion correction performed the plurality of times. A load of the processing for calculating the parameters increases. Therefore, as in this embodiment, if the distortion correction processing is not performed concerning the correction pattern 177, the positions of the markers 177a are always positions shifted by reflecting the setting angle and the distance between the screen SC and the projector 100. Therefore, even if the distortion correction processing is repeatedly performed, it is possible to promptly calculate the setting angle and the distance between the screen SC and the projector 100 accurately and calculate accurate parameters on the basis of the positions of the markers 177a. A load of the processing for calculating the parameters does not increase even if the distortion correction processing is repeatedly performed.
  • the correction pattern 177 is arranged such that the position markers 177c functioning as reference images are arranged in positions overlapping the epipolar line 201a or in the vicinity of the epipolar line 201a in the photographed image 201 of the image pickup unit 180. Therefore, the position markers 177c can be promptly detected from the photographed image 201.
  • a zoom ratio can be calculated on the basis of the interval between the two position markers 177c.
  • the positions of the markers 177a can be estimated from the positions of the position markers 177c. Therefore, the markers 177a can be promptly detected by processing with a small load. Consequently, it is possible to promptly detect the marker 177a projected on the screen SC and perform the distortion correction processing.
  • the superimposition processing unit 133 Since the superimposition processing unit 133 is connected to the post stage of the trapezoidal-distortion correcting unit 132, the correction pattern 177 is not affected by the trapezoidal distortion correction and is always rendered in the same position in the image formable region 136. Therefore, the positions of the position markers 177c do not substantially deviate from the epipolar line 201a. It is possible to stably and promptly detect the position markers 177c from the photographed image 201.
  • the projector 100 includes the projecting unit 101 that projects an image on the screen SC, the projection control unit 121 that causes the projecting unit 101 to project the correction pattern 177 including the markers 177a functioning as the first pattern and the black region 177b and the position markers 177c functioning as the second pattern, and the correction control unit 122 that detects at least a part of the markers 177a, the black region 177b, and the position markers 177c included in the correction pattern 177 projected by the projecting unit 101 and corrects distortion of a projected image.
  • the correction control unit 122 detects the position markers 177c projected on the screen SC and detects the positions of the markers 177a on the basis of the positions of the detected position markers 177c.
  • the position markers 177c it is possible to detect the position markers 177c from the photographed image 201, estimate the positions of the markers 177a from the positions of the position markers 177c, and promptly detect the positions of the markers 177a. Therefore, it is possible to reduce time required for the detection of the markers 177a. For example, if the position markers 177c functioning as the second pattern are arranged to be easily detected, even if the markers 177a are not easily detected, it is possible to promptly detect the markers 177a and perform correction. In this case, since the markers 177a are not required to be formed in positions and a shape for easily detecting the markers 177a, it is possible to form the markers 177a in positions and a shape suitable for correction of an image and further improve the accuracy of the correction.
  • the projecting unit 101 includes the zoom lens 151.
  • the position markers 177c are arranged to be projected in the vicinity of the intersection point of the optical axis of the zoom lens 151 and the screen SC. In this case, the positions of the position markers 177c are less easily affected by the zoom ratio of the projector 100 and can be estimated irrespective of the positional relation between the projector 100 and the screen SC. Therefore, the projector 100 can promptly detect the position markers 177c from the photographed image 201.
  • the position markers 177c include a plurality of parallel lines colored in white or a color having high luminance compared with an image projected on the screen SC as a background of the correction pattern 177 or the marker 177a. Therefore, the projector 100 can more promptly detect the position markers 177c from the photographed image 201.
  • the position markers 177c are projected together with the black region 177b.
  • the position markers 177c are formed in the color having higher luminance than the black region 177b. Therefore, it is possible to more easily detect the position markers 177c.
  • the position markers 177c are placed on the black region 177b, which is a straight line arranged to be reflected on the epipolar line 201a of the optical axis of the zoom lens 151 in the photographed image 201. Therefore, it is possible to more easily detect the position markers 177c.
  • the position markers 177c and the black region 177b may be arranged to be reflected in the vicinity of the epipolar line 201a in the photographed image 201. In this case, as in the case explained above, it is possible to more easily detect the position markers 177c. In other words, the position markers 177c and the black region 177b may be arranged to be reflected in the vicinity of the optical axis of the zoom lens 151 in the photographed image 201. In this case, as in the case explained above, it is possible to more easily detect the position markers 177c.
  • Figs. 6A to 6C are diagrams showing another example of a correction pattern, wherein Fig. 6A shows an example of a correction pattern 178, Fig. 6B shows an example in which the light modulation device 130 renders an image and the correction pattern 178, and Fig. 6C shows an example of a photographed image 201.
  • the correction pattern 178 shown in Fig. 6A includes one marker 178a (the first pattern).
  • the marker 178a is a figure having a black color or a low luminance color and a predetermined area.
  • the marker 178a is rectangular.
  • the marker 178a includes, on the inside, a plurality of white or high-luminance figures (in this example, circles).
  • the white or high-luminance figures are equivalent to the second pattern.
  • the correction pattern 178 excluding the marker 178a is transparent. Therefore, when the correction pattern 178 is rendered in the image formable region 136 to be placed on the image 175, as shown in Fig. 6B, the marker 178a is rendered to be placed on the image 175. Since the correction pattern 178 is not affected by the distortion correction processing like the correction pattern 177, a position where the marker 178a is rendered is fixed.
  • the marker 178a included in the correction pattern 178 is arranged in a position overlapping the epipolar 201a in the photographed image 201 as shown in Fig. 6C. Therefore, like the position markers 177c, the marker 178a does not move according to the zoom ratio of the projector 100. Even if the projection distance from the projector 100 to the screen SC changes, the position of the marker 178a less easily fluctuates. Therefore, if the correction control unit 122 searches through the vicinity of the epipolar line 201a in the photographed image 201, the correction control unit 122 can easily detect the high-luminance color image included in the marker 178a. Relative positions of the plurality of figures included in the marker 178a are known.
  • the positions of the circles included in the marker 178a in this modification only has to be the position overlapping the epipolar line 201a or the vicinity of the epipolar line 201a or the vicinity of the optical axis of the zoom lens 151. In this case, the projector 100 can easily detect the circles included in the marker 178a.
  • the embodiment explained above is only an example of a specific mode to which the invention is applied.
  • the embodiment does not limit the invention.
  • the invention can also be applied as a mode different from the embodiment.
  • the image input to the A/D conversion unit 110 via the cable 200 is projected.
  • the invention is not limited to this. It is also naturally possible to apply the invention when an image or a video stored in the image storing unit 171 is projected.
  • Setting values concerning times, thresholds, and the like for defining the operations of the units of the projector 100 in the embodiment are stored in the ROM 170 in advance.
  • the setting values may be stored in a storage medium or a device on the outside of the projector 100 and acquired by the projector 100 according to necessity.
  • the setting values may be input every time the remote controller 191 or the operation unit 195 is operated. Further, the correction patterns 177 and 178 and the like used by the projector 100 may be stored in a device or a storage medium on the outside of the projector 100.
  • the projecting unit 101 and the image pickup unit 180 are configured to be fixed to the main body of the projector 100. However, the invention is not limited to this. If relative positions of a principal point of the zoom lens 151 and a principal point of the camera lens 183 are known and configured not to fluctuate in the series of processing shown in Fig. 5, it is possible to configure the projecting unit 101 and the image pickup unit 180 separately. In the embodiment, the processing for correcting trapezoidal distortion that occurs in an image on the screen SC is explained. However, the invention is not limited to this. For example, the invention can also be applied to, for example, processing for correcting distortion called barrel distortion or pin-cushion distortion.
  • the image pickup unit 180 includes the CCD camera 181 including a CCD image sensor.
  • a CMOS sensor may be used as the image sensor of the image pickup unit 180.
  • the configuration including the three transmissive or reflective liquid crystal panels corresponding to the respective colors of RGB is explained as the example of the light modulation device.
  • the light modulation device may be configured by a system in which one liquid crystal panel and a color wheel are combined, a system in which three digital mirror devices (DMDs) that modulate the color lights of the RGB colors are used, or a system in which one digital mirror device and a color wheel are combined.
  • DMDs digital mirror devices
  • the functional units shown in Fig. 1 indicate the functional configuration of the projector 100.
  • a specific embodiment of the functional units is not specifically limited. In other words, hardware individually corresponding to each of the functional units does not always necessary to be mounted. It is also naturally possible to adopt a configuration in which one processor executes a program to realize functions of a plurality of functional units.
  • a part of the functions realized by software in the embodiment may be realized by hardware. Alternatively, a part of the functions realized by hardware may be realized by software.
  • projector 101 projecting unit (projecting means) 120 CPU 121 projection control unit (controlling means) 122 correction control unit (correcting means) 130 light modulation device 131 processor for images 132 trapezoidal-distortion correcting unit 133 superimposition processing unit 134 light-modulation-device driving unit 150 projection optical system 151 zoom lens (projection lens) 170 ROM 172 correction-pattern storing unit 177 correction pattern (image for adjustment) 177a markers (first pattern) 177b black region (second pattern) 177c position markers (second pattern) 180 image pickup unit (image pickup means) 183 camera lens 185 motion detecting unit 191 remote controller 195 operation unit SC screen (projection surface)

Landscapes

  • Engineering & Computer Science (AREA)
  • Multimedia (AREA)
  • Signal Processing (AREA)
  • Physics & Mathematics (AREA)
  • Geometry (AREA)
  • Projection Apparatus (AREA)
  • Transforming Electric Information Into Light Information (AREA)
PCT/JP2013/001655 2012-03-14 2013-03-13 Projector and control method for the projector Ceased WO2013136789A1 (en)

Priority Applications (5)

Application Number Priority Date Filing Date Title
EP13717332.4A EP2826249B1 (en) 2012-03-14 2013-03-13 Projector and control method for the projector
KR1020147028457A KR101631568B1 (ko) 2012-03-14 2013-03-13 프로젝터 및 프로젝터의 제어 방법
US14/378,151 US9479748B2 (en) 2012-03-14 2013-03-13 Projector and control method for the projector
RU2014141156/07A RU2585661C2 (ru) 2012-03-14 2013-03-13 Проектор и способ управления для проектора
IN8061DEN2014 IN2014DN08061A (enExample) 2012-03-14 2014-09-26

Applications Claiming Priority (2)

Application Number Priority Date Filing Date Title
JP2012056949A JP5924042B2 (ja) 2012-03-14 2012-03-14 プロジェクター、及び、プロジェクターの制御方法
JP2012-056949 2012-03-14

Publications (1)

Publication Number Publication Date
WO2013136789A1 true WO2013136789A1 (en) 2013-09-19

Family

ID=48142045

Family Applications (1)

Application Number Title Priority Date Filing Date
PCT/JP2013/001655 Ceased WO2013136789A1 (en) 2012-03-14 2013-03-13 Projector and control method for the projector

Country Status (9)

Country Link
US (1) US9479748B2 (enExample)
EP (1) EP2826249B1 (enExample)
JP (1) JP5924042B2 (enExample)
KR (1) KR101631568B1 (enExample)
CN (1) CN103313010B (enExample)
IN (1) IN2014DN08061A (enExample)
RU (1) RU2585661C2 (enExample)
TW (1) TWI566602B (enExample)
WO (1) WO2013136789A1 (enExample)

Families Citing this family (23)

* Cited by examiner, † Cited by third party
Publication number Priority date Publication date Assignee Title
JP5924020B2 (ja) * 2012-02-16 2016-05-25 セイコーエプソン株式会社 プロジェクター、及び、プロジェクターの制御方法
JP2014179698A (ja) * 2013-03-13 2014-09-25 Ricoh Co Ltd プロジェクタ及びプロジェクタの制御方法、並びに、その制御方法のプログラム及びそのプログラムを記録した記録媒体
US9733728B2 (en) * 2014-03-03 2017-08-15 Seiko Epson Corporation Position detecting device and position detecting method
JP6277816B2 (ja) * 2014-03-26 2018-02-14 セイコーエプソン株式会社 プロジェクター
WO2016047043A1 (ja) * 2014-09-25 2016-03-31 パナソニックIpマネジメント株式会社 投影装置
CN105072430B (zh) * 2015-08-19 2017-10-03 海信集团有限公司 一种调整投影图像的方法和设备
US20170094238A1 (en) * 2015-09-30 2017-03-30 Hand Held Products, Inc. Self-calibrating projection apparatus and process
TWI581636B (zh) * 2016-05-23 2017-05-01 鴻海精密工業股份有限公司 螢幕顯示比例調整裝置及方法
CN107621743B (zh) * 2016-07-14 2020-04-24 北京宝江科技有限公司 投影系统及投影影像的变形修正方法
TWI586173B (zh) 2016-07-14 2017-06-01 張修誠 投影系統及投影影像的修正方法
JP6702171B2 (ja) * 2016-12-22 2020-05-27 カシオ計算機株式会社 投影制御装置、投影制御方法及びプログラム
JPWO2018167999A1 (ja) * 2017-03-17 2020-01-16 パナソニックIpマネジメント株式会社 プロジェクタ及びプロジェクタシステム
JP6926948B2 (ja) * 2017-10-27 2021-08-25 セイコーエプソン株式会社 プロジェクター、画像投写システム、及びプロジェクターの制御方法
JP6642610B2 (ja) * 2018-03-22 2020-02-05 カシオ計算機株式会社 投影制御装置、投影装置、投影制御方法及びプログラム
JP6784944B2 (ja) * 2018-03-26 2020-11-18 カシオ計算機株式会社 投影制御装置、マーカ検出方法及びプログラム
CN108632593B (zh) * 2018-05-31 2020-05-19 歌尔股份有限公司 彩色汇聚误差的修正方法、装置及设备
CN109451289B (zh) * 2018-12-25 2019-12-27 鸿视线科技(北京)有限公司 对投影仪进行检测和校正的方法和系统
JP7243510B2 (ja) * 2019-07-29 2023-03-22 セイコーエプソン株式会社 プロジェクターの制御方法、及びプロジェクター
DE102020201097B4 (de) * 2020-01-30 2023-02-16 Carl Zeiss Industrielle Messtechnik Gmbh Anordnung und Verfahren zur optischen Objektkoordinatenermittlung
KR102803131B1 (ko) 2020-04-02 2025-05-07 삼성전자주식회사 영상 투사 장치 및 영상 투사 장치의 제어 방법
JP7184072B2 (ja) 2020-10-23 2022-12-06 セイコーエプソン株式会社 特定方法、特定システム、及びプログラム
CN115086622B (zh) * 2021-03-12 2024-05-24 中强光电股份有限公司 投影机及其校正方法
JP7703907B2 (ja) * 2021-06-02 2025-07-08 セイコーエプソン株式会社 プロジェクターおよびプロジェクターの制御方法

Citations (3)

* Cited by examiner, † Cited by third party
Publication number Priority date Publication date Assignee Title
EP1560429A2 (en) * 2004-02-02 2005-08-03 Sharp Kabushiki Kaisha Projection system
US20100128231A1 (en) * 2008-11-26 2010-05-27 Seiko Epson Corporation Projection-type display apparatus and method for performing projection adjustment
JP2010128102A (ja) 2008-11-26 2010-06-10 Seiko Epson Corp 投写型表示装置および配置関係検出方法

Family Cites Families (15)

* Cited by examiner, † Cited by third party
Publication number Priority date Publication date Assignee Title
US6422704B1 (en) * 1998-06-26 2002-07-23 Matsushita Electric Industrial Co., Ltd. Projector that automatically adjusts the projection parameters
US6753907B1 (en) * 1999-12-23 2004-06-22 Justsystem Corporation Method and apparatus for automatic keystone correction
US6527395B1 (en) * 2001-12-10 2003-03-04 Mitsubishi Electric Research Laboratories, Inc. Method for calibrating a projector with a camera
DE60327289D1 (de) * 2002-07-23 2009-06-04 Nec Display Solutions Ltd Bildprojektor mit Bild-Rückkopplungs-Steuerung
JP3882929B2 (ja) * 2004-03-29 2007-02-21 セイコーエプソン株式会社 画像処理システム、プロジェクタおよび画像処理方法
JP3960390B2 (ja) * 2004-05-31 2007-08-15 Necディスプレイソリューションズ株式会社 台形歪み補正装置を備えたプロジェクタ
JP3925521B2 (ja) * 2004-08-19 2007-06-06 セイコーエプソン株式会社 スクリーンの一部の辺を用いたキーストーン補正
JP2006121240A (ja) * 2004-10-20 2006-05-11 Sharp Corp 画像投射方法、プロジェクタ、及びコンピュータプログラム
JP4293163B2 (ja) * 2005-01-06 2009-07-08 セイコーエプソン株式会社 プロジェクタ
KR100809351B1 (ko) * 2006-04-03 2008-03-05 삼성전자주식회사 투사 영상을 보정하는 방법 및 장치
JP5251202B2 (ja) * 2008-03-27 2013-07-31 セイコーエプソン株式会社 プロジェクタの投射画像の歪補正方法、及びプロジェクタ
JP5540493B2 (ja) * 2008-10-30 2014-07-02 セイコーエプソン株式会社 投写光学系に対する投写面の位置または傾きの測定方法、その測定方法を用いる投写画像の画像処理方法およびその画像処理方法を実行するプロジェクタ、投写光学系に対する投写面の位置または傾きを測定するプログラム
CA2739136A1 (en) * 2010-05-10 2011-11-10 Xpand, Inc. 3d projector
JP5625490B2 (ja) * 2010-05-25 2014-11-19 セイコーエプソン株式会社 プロジェクター、投射状態調整方法及び投射状態調整プログラム
JP5527049B2 (ja) * 2010-06-30 2014-06-18 セイコーエプソン株式会社 発光装置、およびプロジェクター

Patent Citations (3)

* Cited by examiner, † Cited by third party
Publication number Priority date Publication date Assignee Title
EP1560429A2 (en) * 2004-02-02 2005-08-03 Sharp Kabushiki Kaisha Projection system
US20100128231A1 (en) * 2008-11-26 2010-05-27 Seiko Epson Corporation Projection-type display apparatus and method for performing projection adjustment
JP2010128102A (ja) 2008-11-26 2010-06-10 Seiko Epson Corp 投写型表示装置および配置関係検出方法

Also Published As

Publication number Publication date
US9479748B2 (en) 2016-10-25
EP2826249B1 (en) 2016-08-10
RU2014141156A (ru) 2016-05-10
CN103313010A (zh) 2013-09-18
US20150015852A1 (en) 2015-01-15
KR101631568B1 (ko) 2016-06-17
TW201338535A (zh) 2013-09-16
IN2014DN08061A (enExample) 2015-05-01
CN103313010B (zh) 2018-01-02
TWI566602B (zh) 2017-01-11
EP2826249A1 (en) 2015-01-21
JP2013190616A (ja) 2013-09-26
RU2585661C2 (ru) 2016-06-10
KR20140136031A (ko) 2014-11-27
JP5924042B2 (ja) 2016-05-25

Similar Documents

Publication Publication Date Title
EP2826249B1 (en) Projector and control method for the projector
US9678413B2 (en) Projector and control method for the projector
KR101725512B1 (ko) 프로젝터 및 프로젝터의 제어 방법
JP6343910B2 (ja) プロジェクター、及び、プロジェクターの制御方法
US9804483B2 (en) Projector and method of controlling projector
JP6119902B2 (ja) プロジェクター、及び、プロジェクターの制御方法
JP6347126B2 (ja) プロジェクター、及び、プロジェクターの制御方法
JP6245343B2 (ja) プロジェクター、及び、プロジェクターの制御方法
JP6237816B2 (ja) プロジェクター、及び、プロジェクターの制御方法

Legal Events

Date Code Title Description
121 Ep: the epo has been informed by wipo that ep was designated in this application

Ref document number: 13717332

Country of ref document: EP

Kind code of ref document: A1

WWE Wipo information: entry into national phase

Ref document number: 14378151

Country of ref document: US

NENP Non-entry into the national phase

Ref country code: DE

REEP Request for entry into the european phase

Ref document number: 2013717332

Country of ref document: EP

WWE Wipo information: entry into national phase

Ref document number: 2013717332

Country of ref document: EP

ENP Entry into the national phase

Ref document number: 20147028457

Country of ref document: KR

Kind code of ref document: A

ENP Entry into the national phase

Ref document number: 2014141156

Country of ref document: RU

Kind code of ref document: A

REG Reference to national code

Ref country code: BR

Ref legal event code: B01A

Ref document number: 112014022563

Country of ref document: BR

ENP Entry into the national phase

Ref document number: 112014022563

Country of ref document: BR

Kind code of ref document: A2

Effective date: 20140911