WO2013129407A1 - 可変容量ターボチャージャ - Google Patents

可変容量ターボチャージャ Download PDF

Info

Publication number
WO2013129407A1
WO2013129407A1 PCT/JP2013/054984 JP2013054984W WO2013129407A1 WO 2013129407 A1 WO2013129407 A1 WO 2013129407A1 JP 2013054984 W JP2013054984 W JP 2013054984W WO 2013129407 A1 WO2013129407 A1 WO 2013129407A1
Authority
WO
WIPO (PCT)
Prior art keywords
nozzle
blade
variable
rotation center
shape
Prior art date
Legal status (The legal status is an assumption and is not a legal conclusion. Google has not performed a legal analysis and makes no representation as to the accuracy of the status listed.)
Ceased
Application number
PCT/JP2013/054984
Other languages
English (en)
French (fr)
Japanese (ja)
Inventor
横山 隆雄
大迫 雄志
勲 冨田
陣内 靖明
東條 正希
聡美 永江
Current Assignee (The listed assignees may be inaccurate. Google has not performed a legal analysis and makes no representation or warranty as to the accuracy of the list.)
Mitsubishi Heavy Industries Ltd
Original Assignee
Mitsubishi Heavy Industries Ltd
Priority date (The priority date is an assumption and is not a legal conclusion. Google has not performed a legal analysis and makes no representation as to the accuracy of the date listed.)
Filing date
Publication date
Application filed by Mitsubishi Heavy Industries Ltd filed Critical Mitsubishi Heavy Industries Ltd
Priority to US14/381,237 priority Critical patent/US9926938B2/en
Priority to EP13754215.5A priority patent/EP2821616B1/en
Priority to CN201380011157.8A priority patent/CN104136736B/zh
Publication of WO2013129407A1 publication Critical patent/WO2013129407A1/ja
Anticipated expiration legal-status Critical
Ceased legal-status Critical Current

Links

Images

Classifications

    • FMECHANICAL ENGINEERING; LIGHTING; HEATING; WEAPONS; BLASTING
    • F04POSITIVE - DISPLACEMENT MACHINES FOR LIQUIDS; PUMPS FOR LIQUIDS OR ELASTIC FLUIDS
    • F04DNON-POSITIVE-DISPLACEMENT PUMPS
    • F04D27/00Control, e.g. regulation, of pumps, pumping installations or pumping systems specially adapted for elastic fluids
    • F04D27/002Control, e.g. regulation, of pumps, pumping installations or pumping systems specially adapted for elastic fluids by varying geometry within the pumps, e.g. by adjusting vanes
    • FMECHANICAL ENGINEERING; LIGHTING; HEATING; WEAPONS; BLASTING
    • F02COMBUSTION ENGINES; HOT-GAS OR COMBUSTION-PRODUCT ENGINE PLANTS
    • F02BINTERNAL-COMBUSTION PISTON ENGINES; COMBUSTION ENGINES IN GENERAL
    • F02B37/00Engines characterised by provision of pumps driven at least for part of the time by exhaust
    • F02B37/12Control of the pumps
    • F02B37/24Control of the pumps by using pumps or turbines with adjustable guide vanes
    • FMECHANICAL ENGINEERING; LIGHTING; HEATING; WEAPONS; BLASTING
    • F01MACHINES OR ENGINES IN GENERAL; ENGINE PLANTS IN GENERAL; STEAM ENGINES
    • F01DNON-POSITIVE DISPLACEMENT MACHINES OR ENGINES, e.g. STEAM TURBINES
    • F01D17/00Regulating or controlling by varying flow
    • F01D17/10Final actuators
    • F01D17/12Final actuators arranged in stator parts
    • F01D17/14Final actuators arranged in stator parts varying effective cross-sectional area of nozzles or guide conduits
    • F01D17/16Final actuators arranged in stator parts varying effective cross-sectional area of nozzles or guide conduits by means of nozzle vanes
    • FMECHANICAL ENGINEERING; LIGHTING; HEATING; WEAPONS; BLASTING
    • F01MACHINES OR ENGINES IN GENERAL; ENGINE PLANTS IN GENERAL; STEAM ENGINES
    • F01DNON-POSITIVE DISPLACEMENT MACHINES OR ENGINES, e.g. STEAM TURBINES
    • F01D17/00Regulating or controlling by varying flow
    • F01D17/10Final actuators
    • F01D17/12Final actuators arranged in stator parts
    • F01D17/14Final actuators arranged in stator parts varying effective cross-sectional area of nozzles or guide conduits
    • F01D17/16Final actuators arranged in stator parts varying effective cross-sectional area of nozzles or guide conduits by means of nozzle vanes
    • F01D17/165Final actuators arranged in stator parts varying effective cross-sectional area of nozzles or guide conduits by means of nozzle vanes for radial flow, i.e. the vanes turning around axes which are essentially parallel to the rotor centre line
    • FMECHANICAL ENGINEERING; LIGHTING; HEATING; WEAPONS; BLASTING
    • F01MACHINES OR ENGINES IN GENERAL; ENGINE PLANTS IN GENERAL; STEAM ENGINES
    • F01DNON-POSITIVE DISPLACEMENT MACHINES OR ENGINES, e.g. STEAM TURBINES
    • F01D5/00Blades; Blade-carrying members; Heating, heat-insulating, cooling or antivibration means on the blades or the members
    • F01D5/12Blades
    • F01D5/14Form or construction
    • F01D5/141Shape, i.e. outer, aerodynamic form
    • FMECHANICAL ENGINEERING; LIGHTING; HEATING; WEAPONS; BLASTING
    • F02COMBUSTION ENGINES; HOT-GAS OR COMBUSTION-PRODUCT ENGINE PLANTS
    • F02BINTERNAL-COMBUSTION PISTON ENGINES; COMBUSTION ENGINES IN GENERAL
    • F02B37/00Engines characterised by provision of pumps driven at least for part of the time by exhaust
    • F02B37/12Control of the pumps
    • F02B37/22Control of the pumps by varying cross-section of exhaust passages or air passages, e.g. by throttling turbine inlets or outlets or by varying effective number of guide conduits
    • FMECHANICAL ENGINEERING; LIGHTING; HEATING; WEAPONS; BLASTING
    • F02COMBUSTION ENGINES; HOT-GAS OR COMBUSTION-PRODUCT ENGINE PLANTS
    • F02CGAS-TURBINE PLANTS; AIR INTAKES FOR JET-PROPULSION PLANTS; CONTROLLING FUEL SUPPLY IN AIR-BREATHING JET-PROPULSION PLANTS
    • F02C6/00Plural gas-turbine plants; Combinations of gas-turbine plants with other apparatus; Adaptations of gas-turbine plants for special use
    • F02C6/04Gas-turbine plants providing heated or pressurised working fluid for other apparatus, e.g. without mechanical power output
    • F02C6/10Gas-turbine plants providing heated or pressurised working fluid for other apparatus, e.g. without mechanical power output supplying working fluid to a user, e.g. a chemical process, which returns working fluid to a turbine of the plant
    • F02C6/12Turbochargers, i.e. plants for augmenting mechanical power output of internal-combustion piston engines by increase of charge pressure
    • FMECHANICAL ENGINEERING; LIGHTING; HEATING; WEAPONS; BLASTING
    • F05INDEXING SCHEMES RELATING TO ENGINES OR PUMPS IN VARIOUS SUBCLASSES OF CLASSES F01-F04
    • F05DINDEXING SCHEME FOR ASPECTS RELATING TO NON-POSITIVE-DISPLACEMENT MACHINES OR ENGINES, GAS-TURBINES OR JET-PROPULSION PLANTS
    • F05D2220/00Application
    • F05D2220/40Application in turbochargers
    • FMECHANICAL ENGINEERING; LIGHTING; HEATING; WEAPONS; BLASTING
    • F05INDEXING SCHEMES RELATING TO ENGINES OR PUMPS IN VARIOUS SUBCLASSES OF CLASSES F01-F04
    • F05DINDEXING SCHEME FOR ASPECTS RELATING TO NON-POSITIVE-DISPLACEMENT MACHINES OR ENGINES, GAS-TURBINES OR JET-PROPULSION PLANTS
    • F05D2250/00Geometry
    • F05D2250/70Shape
    • F05D2250/71Shape curved
    • F05D2250/712Shape curved concave
    • FMECHANICAL ENGINEERING; LIGHTING; HEATING; WEAPONS; BLASTING
    • F05INDEXING SCHEMES RELATING TO ENGINES OR PUMPS IN VARIOUS SUBCLASSES OF CLASSES F01-F04
    • F05DINDEXING SCHEME FOR ASPECTS RELATING TO NON-POSITIVE-DISPLACEMENT MACHINES OR ENGINES, GAS-TURBINES OR JET-PROPULSION PLANTS
    • F05D2250/00Geometry
    • F05D2250/70Shape
    • F05D2250/71Shape curved
    • F05D2250/713Shape curved inflexed
    • FMECHANICAL ENGINEERING; LIGHTING; HEATING; WEAPONS; BLASTING
    • F05INDEXING SCHEMES RELATING TO ENGINES OR PUMPS IN VARIOUS SUBCLASSES OF CLASSES F01-F04
    • F05DINDEXING SCHEME FOR ASPECTS RELATING TO NON-POSITIVE-DISPLACEMENT MACHINES OR ENGINES, GAS-TURBINES OR JET-PROPULSION PLANTS
    • F05D2250/00Geometry
    • F05D2250/70Shape
    • F05D2250/75Shape given by its similarity to a letter, e.g. T-shaped
    • YGENERAL TAGGING OF NEW TECHNOLOGICAL DEVELOPMENTS; GENERAL TAGGING OF CROSS-SECTIONAL TECHNOLOGIES SPANNING OVER SEVERAL SECTIONS OF THE IPC; TECHNICAL SUBJECTS COVERED BY FORMER USPC CROSS-REFERENCE ART COLLECTIONS [XRACs] AND DIGESTS
    • Y02TECHNOLOGIES OR APPLICATIONS FOR MITIGATION OR ADAPTATION AGAINST CLIMATE CHANGE
    • Y02TCLIMATE CHANGE MITIGATION TECHNOLOGIES RELATED TO TRANSPORTATION
    • Y02T10/00Road transport of goods or passengers
    • Y02T10/10Internal combustion engine [ICE] based vehicles
    • Y02T10/12Improving ICE efficiencies

Definitions

  • the present invention relates to a variable displacement turbocharger used in an internal combustion engine such as an engine, and more particularly, to an airfoil shape of a variable blade that constitutes a variable nozzle mechanism.
  • exhaust gas from the engine is filled in a scroll formed in a turbine housing, and a plurality of exhaust turbochargers are provided on the inner peripheral side of the scroll
  • the structure which makes it act on the turbine rotor provided in the inner peripheral side of the nozzle vane through the nozzle vane is adopted.
  • the variable displacement turbocharger provided with the variable nozzle mechanism comprised so that the blade angle of several nozzle vanes can be changed is used abundantly.
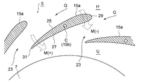
  • FIG. 8 shows an example of a variable displacement turbocharger with a variable nozzle mechanism.
  • FIG. 8 is a partial cross-sectional view along the rotational axis K.
  • the variable capacity turbocharger 1 is provided with a turbine housing 3, and a scroll 5 is formed spirally on the outer peripheral portion on the upstream side of the turbine housing 3.
  • a turbine wheel 7 is provided on the inner peripheral portion of the turbine housing 3.
  • the rotation center of the turbine shaft 9 to which the turbine wheel 7 is attached is the rotation axis K in the drawing, and is coaxial with a compressor (not shown). Further, the turbine shaft 9 is rotatably supported by the bearing housing 13 via a bearing 11.
  • a ring-shaped recess is formed on the back surface of the bearing housing 13, and the variable nozzle mechanism 19 which is a nozzle assembly provided with the nozzle 15, the nozzle mount 17, the nozzle plate 18 and the like is accommodated in the recess.
  • the nozzle 15 has a nozzle vane 15a and a nozzle shaft 15b.
  • a plurality of nozzle vanes 15 a are provided on the inner peripheral side of the scroll 5 so as to surround the outer periphery of the turbine wheel 7 at positions in the radial direction of the turbine and provided at equal intervals around the rotation axis K.
  • the nozzle shaft 15 b is rotatably supported around the movable center C by the nozzle mount 17 fixed to the bearing housing 13.
  • the variable nozzle mechanism 19 receives a turning force from an actuator through the link mechanism 21 so that the blade angle of the nozzle vanes 15a is changed.
  • FIG. 9 shows the AA arrow cross section of FIG.
  • the nozzle vanes 15a form a nozzle throat 23 between adjacent nozzle vanes 15a
  • exhaust gas G flows from the nozzle throat 23 into the turbine wheel 7, and the nozzle throat 23 has an opening degree of its flow path Is controlled by the rotation of the nozzle shaft 15b of the nozzle vane 15a.
  • the nozzle throat 23 is controlled to be closed, and when the flow rate of the exhaust gas is large, the nozzle throat 23 is controlled to be open.
  • the scroll 5 side on the outer peripheral side becomes the high pressure side H by the exhaust gas G fed as a drive fluid, sandwiching the nozzle vane 15a and the nozzle throat 23 formed between the nozzle vanes.
  • the turbine wheel 7 side on the circumferential side is a low pressure side U. Accordingly, the pressure difference between the static pressure applied to the pressure surface 25 of the nozzle vane 15a in contact with the high pressure side H and the static pressure applied to the negative pressure surface 27 in contact with the low pressure side U causes the nozzle vane 15a to rotate about the nozzle shaft 15b.
  • a moment M (-) in the closing direction of the nozzle throat 23 is generated on the front edge 29 side of the, and an opening direction moment M (+) is generated on the trailing edge 31 side.
  • Patent Document 2 Japanese Patent Laid-Open No. 2003-254074
  • Patent Document 1 discloses that a cross-sectional center line 02 of the blade 01 is formed on a wave in order to generate an open direction moment in the blade 01 as shown in FIG.
  • the blade 01 is defined by a lower cross-section 03 and an upper cross-section 05, with a cross-sectional centerline 02 extending between them from the blade leading edge to the blade trailing edge, the profile of the cross-sectional centerline 02 of the blade 01 being two A wave shape with opposing antinodes 02A, 02B, and plotted in an XY coordinate system, the first antinode 02A of the section centerline 02 starts at the blade leading edge 07 and with the leading edge 07 Between the zero passage point of the cross-sectional centerline 02 passing through the X-axis is a range 09 having a negative Y value, and the second antinode 02B is the zero of the cross-sectional centerline 02 passing through the X-axis It is disclosed to have a range 013 which always has a positive Y value from the passing point to the blade trail
  • the range on the trailing edge 011 side of the blade upper side is always the range 013 having a positive Y value, that is, it has a convexly curved shape. For this reason, on the trailing edge 011 side on the upper side of the blade, the flow path of the nozzle throat formed between adjacent blades is reduced, the flow velocity of the exhaust gas flowing through the nozzle throat increases, and the static pressure decreases. The force to push down the edge is reduced, and it is difficult to obtain a sufficient moment in the opening direction of the blade.
  • Patent Document 2 shows that the negative pressure surface 022 side is cut from the front edge 021 of the nozzle vane 020 over a predetermined distance Q to make the blade thickness thin, as shown in FIG.
  • the nozzle throat facing the modified shape 023 on the front edge 021 side of the negative pressure surface 022 is enlarged, whereby the flow velocity of the drive fluid at the nozzle throat is decreased, the static pressure is increased, and the force pushing up the front edge Is increased, and it is shown that the moment in the closing direction acting on the leading edge 021 side is decreased.
  • the shape of the front edge 021 side of the suction surface 022 of the nozzle vane 020 is adjusted, and the adjustment of the rear edge side of the pressure surface side is not disclosed.
  • the influence on the moment of the nozzle vane can not be obtained effectively as compared with the shape change on the pressure surface side in order to adjust the shape on the suction surface side.
  • the present invention has been made in view of the above problems, and in a variable displacement turbocharger provided with a variable nozzle mechanism, even if the shape of the nozzle vanes is extended to improve low speed efficiency, the moment acting on the nozzle vanes is opened. It is an object of the present invention to increase the safety at the time of failure of the variable nozzle mechanism and to improve the control accuracy of the variable nozzle mechanism.
  • the present invention provides nozzle vanes at equal intervals around the rotation axis of the turbine wheel so as to surround the outer peripheral side of the turbine wheel on the inner peripheral side of the scroll formed on the turbine housing
  • a blade cross-sectional shape in a direction perpendicular to a rotation center axis of the nozzle vane is a trailing edge side from the rotation center
  • a concavely curved concave portion is provided in at least a part of the pressure surface side, and the front edge side is formed in a convex shape from the rotation center, and the surface shape of the pressure surface is substantially S-shaped with the position of the rotation center as a boundary. It is characterized in that it is formed into
  • the blade cross-sectional shape in the direction perpendicular to the rotation center axis of the nozzle vane is provided with a concavely curved concave portion at least a part on the pressure edge side on the rear edge side from the rotation center Therefore, the flow path area of the nozzle throat formed between the adjacent nozzle vanes is expanded, the flow of exhaust gas is decelerated, and the static pressure is increased, that is, the load acting on the nozzle vanes is increased to On the pressure surface side on the trailing edge side, the moment acting on the nozzle vane in the opening direction is increased.
  • the front edge side is formed in a convex shape from the rotation center and the surface shape on the pressure surface side is formed in a substantially S shape with the position of the rotation center as a boundary, the load is increased by the recess on the rear edge side. Due to the convex portion formed on the leading edge side, the flow of the exhaust gas in the nozzle throat is reduced in pressure by the increase of the turning angle and by the reduction of the flow passage area of the nozzle throat. As a result, it is possible to increase the moment acting on the nozzle vane in the opening direction.
  • the moment acting on the nozzle vanes can be reliably applied in the opening direction, and the safety at the time of failure of the variable nozzle mechanism can be enhanced, and the moment on the open side can always be applied to the nozzle vanes.
  • the control of the variable nozzle mechanism causes hysteresis and the problem of the accuracy of the nozzle control is also eliminated.
  • the collision of the exhaust gas flow causes the nozzle vane to close the moment around the pivot center.
  • the inclination angle of the blade surface of the stagnation point may be set to a blade so that
  • the moment in the opening direction of the nozzle vane can be positively exerted to improve the safety at the time of failure of the variable nozzle mechanism, and the moment on the open side can always be applied to the nozzle vane.
  • the inclination angle in the tangential direction of the wing surface with respect to the line connecting the stagnation point and the rotation center is forward from the rotation center in the chord length direction connecting the leading edge and the trailing edge.
  • the distance to the edge is 1, it may be set to be larger than 30 degrees at a position of 0.7 or more.
  • the blade thickness Y at a half of the distance from the rotation center to the leading edge;
  • the blade thickness Y at a half of the distance from the turning center to the leading edge, and the back from the turning center in the chord length direction
  • the nozzle vanes are provided at equal intervals around the rotation axis of the turbine wheel so as to surround the outer peripheral side of the turbine wheel on the inner peripheral side of the scroll formed in the turbine housing.
  • the blade cross-sectional shape in the direction perpendicular to the central axis of rotation of the nozzle vanes is convexly formed on the front edge side with respect to the rotational center
  • the exhaust gas flow reduces the moment in the direction in which the nozzle vanes close around the pivot center. Is characterized in that it is formed upright in the chord length direction connecting the leading edge and the trailing edge.
  • the blade cross-sectional shape in the direction perpendicular to the rotation center axis of the nozzle vane is formed to be convex on the front edge side with respect to the rotation center, and the exhaust gas flowing into the front edge portion collides and the exhaust gas flow is forward
  • the exhaust gas flow reduces the momentum of the nozzle vane in the closing direction around the pivot center, and the chord angle of the blade surface at the stagnation point connects the leading edge and the trailing edge. Since it is formed to stand up to the direction, the exhaust gas flow generates a moment that the nozzle vane acts in the opening direction, and the moment in the opening direction of the nozzle vane reliably acts to enhance the safety at the time of failure of the variable nozzle mechanism.
  • variable displacement turbocharger provided with the variable nozzle mechanism
  • the moment acting on the nozzle vane can be reliably and stably opened in the opening direction.
  • By acting it is possible to improve the safety at the time of failure of the variable nozzle mechanism and to improve the control accuracy of the variable nozzle mechanism.
  • FIG. 8 shows an example of a variable displacement turbocharger with a variable nozzle mechanism.
  • FIG. 8 is a partial cross-sectional view along the rotational axis K.
  • the variable capacity turbocharger 1 is provided with a turbine housing 3, and a scroll 5 is formed spirally on the outer peripheral portion on the upstream side of the turbine housing 3.
  • a turbine wheel 7 is provided on the inner peripheral portion of the turbine housing 3.
  • the rotation center of the turbine shaft 9 to which the turbine wheel 7 is attached is the rotation axis K in the drawing, and is coaxial with a compressor (not shown). Further, the turbine shaft 9 is rotatably supported by the bearing housing 13 via a bearing 11.
  • a ring-shaped recess is formed on the back surface of the bearing housing 13, and the variable nozzle mechanism 19 which is a nozzle assembly provided with the nozzle 15, the nozzle mount 17, the nozzle plate 18 and the like is accommodated in the recess.
  • the nozzle 15 has a nozzle vane 15a and a nozzle shaft 15b.
  • a plurality of nozzle vanes 15 a are provided on the inner peripheral side of the scroll 5 so as to surround the outer periphery of the turbine wheel 7 at positions in the radial direction of the turbine and provided at equal intervals around the rotation axis K.
  • the nozzle shaft 15 b is rotatably supported around the movable center C by the nozzle mount 17 fixed to the bearing housing 13.
  • variable nozzle mechanism 19 receives a turning force from an actuator through the link mechanism 21 so that the blade angle of the nozzle vanes 15a is changed.
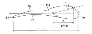
  • FIG. 8 is a cross-sectional view taken along the line AA of FIG. 8, and the nozzle vane of the present embodiment is shown in FIG.
  • the nozzle vanes 41a form a nozzle throat 43 between adjacent nozzle vanes 41a
  • exhaust gas G flows from the nozzle throat 43 into the turbine wheel 7, and the nozzle throat 43 has an opening degree of its flow path Is controlled by rotation of the nozzle shaft 41b of the nozzle vane 41a.
  • the nozzle throat 43 is closed, and when the flow rate of the exhaust gas is large, the nozzle throat 43 is controlled to open.
  • the scroll 5 side on the outer peripheral side becomes the high pressure side H by the exhaust gas G sent in as a drive fluid, sandwiching the nozzle vane 41a and the nozzle throat 43 formed therebetween
  • the turbine wheel 7 side of this is the low pressure side U. Therefore, the pressure difference between the static pressure applied to the pressure surface 45 of the nozzle vane 41a in contact with the high pressure side H and the static pressure applied to the negative pressure surface 47 in contact with the low pressure side U causes the nozzle vane 41a to rotate about the nozzle shaft 41b.
  • a moment M (-) in the closing direction of the nozzle throat 43 is generated on the front edge 49 side of the, and an opening direction moment M (+) is generated on the trailing edge 51 side.
  • the concave portion 53 which is concavely curved in the range from the rotation center C to about 0.5 It is provided.
  • the front edge 49 is formed in a convex shape with the rotation center C as a boundary.
  • the surface shape on the pressure surface 45 side is formed in a substantially S-shape (S-shape indicated by a thick dotted line in FIG. 2) with the position of the rotation center C as a boundary.
  • the formation range of the recess 53 may be up to 0.7 or 0.9. However, if the range of the recess 53 is long, the recess 53 reduces the flow velocity to increase the load and increase the static pressure. It is preferable to form in the range of 0.5 because the effect of
  • the surface shape on the pressure surface side is formed in a substantially S-shape with the position of the rotation center C as a boundary by the convex portion 55 formed in a convex shape on the front edge 49 side from the rotation center C,
  • the load is increased by the recess 53 on the edge 51 side to increase the pressure, and the flow of exhaust gas in the nozzle throat 43 is increased in the turning angle by the convex convex portion 55 formed on the front edge 49 side.
  • the reduced flow area of the throat 43 reduces the pressure. As a result, a moment acts on the nozzle vanes 41a in the opening direction.
  • the moment S acting on the nozzle vane 41a is reliably acted in the opening direction by the shape of the pressure surface 45 having a substantially S shape by the concave portion 53 on the rear edge 51 side and the convex portion 55 on the front edge 49 side. Therefore, the safety at the time of failure of the variable nozzle mechanism 19 can be enhanced, and the moment on the open side can always be applied to the nozzle vanes 41a, so that the direction of the moment acting on the nozzle vanes 41a is reversed. It is also eliminated that the problem of the accuracy of the nozzle control is caused by the hysteresis due to the backlash which the link mechanism 21 and the like that control the above has.
  • FIG. 3 shows a comparison graph of moment characteristics.
  • the horizontal axis is the exhaust gas flow rate
  • the vertical axis is the magnitude of the moment.
  • the plus side and the minus side indicate that the direction of the moment is reversed, and it is shown that the moment is reversed on the large flow rate side, and the moment is in one direction almost over the entire area.
  • the nozzle vane 41a having a thick blade on the side of the front edge 49 as in the present embodiment has a problem that if it is formed of a solid member, the weight and the cost increase, so as shown in FIG. As a hollow structure, weight reduction and material cost reduction can be achieved. It is good to manufacture by precision casting. Further, by making the sheet metal as the nozzle vanes 59 shown in FIG. 4B, the sheet metal can be easily formed by bending and welding and the like.
  • the inclination angle of the wing surface at the stagnation point is set for the shape of the wing surface at the leading edge 49.
  • the exhaust gas flowing into the leading edge 49 collides with the blade surface and the exhaust gas flow stagnates at the leading edge 49 portion.
  • the inclination angle ⁇ of the blade surface at the stagnation point P is set so that the moment M ( ⁇ ) in the direction of closing around the angle. That is, the inclination angle ⁇ in the tangential direction of the blade surface with respect to the line connecting the stagnation point P and the rotation center C is parallel to the direction of the chord length L connecting the front edge 49 and the rear edge 51 Is set to be larger than 30 ° at a position of Z> 0.7, where Z is a distance Z from the front edge 49 to the front edge 49.
  • the inclination sensitivity ⁇ may be set stepwise according to Z. In other words, if ⁇ > 30 ° at Z> 0.7, ⁇ > 35 ° at Z> 0.8, ⁇ > 40 ° at Z> 0.9, and ⁇ > 50 ° at Z> 0.95. Good.
  • the setting of the inclination angle ⁇ at each Z position is made based on the test results, and is set based on the shape of the nozzle vane having the inclination angle ⁇ as shown in FIG.
  • a dotted line shows a conventional original shape
  • a solid line shows a specimen in which the inclination angle ⁇ of the blade surface at the stagnation point P is set so that the moment in the closing direction of this embodiment is reduced.
  • a region of the desired inclination angle ⁇ is set as a range indicated by an arrow.
  • the shape of the nozzle vane of the embodiment described as having improved moment characteristics in FIG. 6 is a shape in which the recess 53 is provided on the side of the rear edge 51 described in the first embodiment.
  • the improvement of the moment characteristic can be obtained only by setting the inclination angle ⁇ of the embodiment.
  • the blade thickness at a half of the distance L 1 from the rotation center C to the trailing edge 51 in the direction of the chord length L connecting the leading edge 49 and the trailing edge 51 is for setting the X
  • the wing thickness Y at a half of the distance from the rotation center C to the leading edge 49 and the chord length L direction
  • the shape on the pressure surface 45 side is connected to the recess 53 on the rear edge 51 side described in the first embodiment, and is formed in a substantially S-shape.
  • variable displacement turbocharger provided with the variable nozzle mechanism, even if the shape of the nozzle vane is extended to improve the low speed efficiency, the moment acting on the nozzle vane is surely and stably acted in the opening direction. Since the control accuracy of the variable nozzle mechanism can be improved while improving the safety at the time of failure of the variable nozzle mechanism, it is suitable for use in a relatively small exhaust turbocharger used for an internal combustion engine for vehicles and the like. .

Landscapes

  • Engineering & Computer Science (AREA)
  • Mechanical Engineering (AREA)
  • General Engineering & Computer Science (AREA)
  • Chemical & Material Sciences (AREA)
  • Combustion & Propulsion (AREA)
  • Physics & Mathematics (AREA)
  • Fluid Mechanics (AREA)
  • Chemical Kinetics & Catalysis (AREA)
  • General Chemical & Material Sciences (AREA)
  • Geometry (AREA)
  • Supercharger (AREA)
  • Control Of Turbines (AREA)
  • Turbine Rotor Nozzle Sealing (AREA)
PCT/JP2013/054984 2012-02-29 2013-02-26 可変容量ターボチャージャ Ceased WO2013129407A1 (ja)

Priority Applications (3)

Application Number Priority Date Filing Date Title
US14/381,237 US9926938B2 (en) 2012-02-29 2013-02-26 Variable geometry turbocharger
EP13754215.5A EP2821616B1 (en) 2012-02-29 2013-02-26 Turbocharger with variable nozzle vane geometry
CN201380011157.8A CN104136736B (zh) 2012-02-29 2013-02-26 可变容量涡轮增压器

Applications Claiming Priority (2)

Application Number Priority Date Filing Date Title
JP2012043683A JP5964081B2 (ja) 2012-02-29 2012-02-29 可変容量ターボチャージャ
JP2012-043683 2012-02-29

Publications (1)

Publication Number Publication Date
WO2013129407A1 true WO2013129407A1 (ja) 2013-09-06

Family

ID=49082604

Family Applications (1)

Application Number Title Priority Date Filing Date
PCT/JP2013/054984 Ceased WO2013129407A1 (ja) 2012-02-29 2013-02-26 可変容量ターボチャージャ

Country Status (5)

Country Link
US (1) US9926938B2 (enExample)
EP (1) EP2821616B1 (enExample)
JP (1) JP5964081B2 (enExample)
CN (1) CN104136736B (enExample)
WO (1) WO2013129407A1 (enExample)

Cited By (1)

* Cited by examiner, † Cited by third party
Publication number Priority date Publication date Assignee Title
JP2017180462A (ja) * 2016-03-28 2017-10-05 株式会社豊田自動織機 可変ノズル機構

Families Citing this family (19)

* Cited by examiner, † Cited by third party
Publication number Priority date Publication date Assignee Title
US10287987B2 (en) * 2010-07-19 2019-05-14 United Technologies Corporation Noise reducing vane
KR101484415B1 (ko) * 2013-10-29 2015-01-19 현대위아 주식회사 가변 지오메트리 터보 차저용 베인 카트리지 장치
KR20150050673A (ko) * 2013-10-30 2015-05-11 현대자동차주식회사 가변 지오메트리 터보 시스템
CN105683656B (zh) 2014-03-11 2018-05-29 三菱日立电力系统株式会社 锅炉用燃烧喷烧器
CN106574514B (zh) * 2014-08-27 2019-01-25 三菱重工发动机和增压器株式会社 开关阀装置及旋转机械
JP6578617B2 (ja) 2016-03-30 2019-09-25 三菱重工エンジン&ターボチャージャ株式会社 ターボチャージャー
CN109804148B (zh) * 2016-11-10 2021-08-17 株式会社Ihi 可变喷嘴单元以及增压器
JPWO2018235857A1 (ja) * 2017-06-20 2019-11-07 株式会社Ihi 可変ノズルユニットおよび可変容量型過給機
DE102018210969A1 (de) * 2018-07-04 2020-01-09 Continental Automotive Gmbh Leitschaufel für eine Turbinenanordnung und Turbinenanordnung
WO2020100222A1 (ja) * 2018-11-13 2020-05-22 三菱重工エンジン&ターボチャージャ株式会社 ノズルベーン
KR102379376B1 (ko) * 2019-02-21 2022-03-28 에이비비 스위츠랜드 엘티디. 반경류 터빈을 위한 노즐 링 및 이를 포함하는 배기 가스 터보차저
WO2020174551A1 (ja) * 2019-02-25 2020-09-03 三菱重工エンジン&ターボチャージャ株式会社 ノズルベーン
WO2020202613A1 (ja) * 2019-04-01 2020-10-08 株式会社Ihi 可変容量型過給機
JP7029181B2 (ja) * 2019-04-22 2022-03-03 株式会社アテクト ノズルベーン
US11421702B2 (en) 2019-08-21 2022-08-23 Pratt & Whitney Canada Corp. Impeller with chordwise vane thickness variation
WO2022113570A1 (ja) * 2020-11-25 2022-06-02 三菱パワー株式会社 タービン
US11840939B1 (en) * 2022-06-08 2023-12-12 General Electric Company Gas turbine engine with an airfoil
US12410714B2 (en) * 2023-06-26 2025-09-09 Pratt & Whitney Canada Corp. Airfoil thickness profile for minimizing tip leakage flow
DE102023121472B4 (de) 2023-08-10 2025-12-18 Borgwarner Inc. Leitschaufel für eine leiteinrichtung

Citations (6)

* Cited by examiner, † Cited by third party
Publication number Priority date Publication date Assignee Title
JP2003254074A (ja) 2002-02-26 2003-09-10 Mitsubishi Heavy Ind Ltd 可変容量ターボチャージャ
JP2005351241A (ja) * 2004-06-14 2005-12-22 Toyota Motor Corp 流体そらせ隆起を備えた可変ノズル用ベーン
JP2009074542A (ja) * 2007-08-28 2009-04-09 Toyota Central R&D Labs Inc 可変容量ターボチャージャ
JP2009517578A (ja) 2005-11-25 2009-04-30 ボーグワーナー・インコーポレーテッド ターボチャージャ
JP2009215990A (ja) * 2008-03-11 2009-09-24 Ihi Corp 可変ノズルのベーン形状及び可変容量過給機
JP2011509371A (ja) * 2008-01-11 2011-03-24 コンチネンタル オートモーティヴ ゲゼルシャフト ミット ベシュレンクテル ハフツング 可変のタービンジオメトリのためのガイドベーン

Family Cites Families (18)

* Cited by examiner, † Cited by third party
Publication number Priority date Publication date Assignee Title
US4629396A (en) * 1984-10-17 1986-12-16 Borg-Warner Corporation Adjustable stator mechanism for high pressure radial turbines and the like
US5851104A (en) * 1997-12-15 1998-12-22 Atlas Copco Rotoflow, Inc. Nozzle adjusting mechanism
US7255530B2 (en) * 2003-12-12 2007-08-14 Honeywell International Inc. Vane and throat shaping
JP4460538B2 (ja) 2003-12-31 2010-05-12 ハニーウェル インターナショナル,インコーポレイティド ターボチャージャーに使用するためのキャンバー翼
WO2006053579A1 (en) * 2004-11-16 2006-05-26 Honeywell International Inc. Variable nozzle turbocharger
DE602005011683D1 (de) 2005-07-19 2009-01-22 Honeywell Int Inc Turbolader mit variabler düse
US8016551B2 (en) * 2005-11-03 2011-09-13 Honeywell International, Inc. Reverse curved nozzle for radial inflow turbines
WO2008101105A2 (en) * 2007-02-15 2008-08-21 Borgwarner Inc. Turbocharger vane
US20080271449A1 (en) * 2007-05-01 2008-11-06 Quentin Roberts Turbocharger with sliding piston, having overlapping fixed and moving vanes
JP2010112223A (ja) 2008-11-05 2010-05-20 Ihi Corp ターボチャージャ
DE102009006209B4 (de) * 2009-01-27 2022-12-01 BMTS Technology GmbH & Co. KG Ladeeinrichtung mit variabler Turbinengeometrie
JP5010631B2 (ja) 2009-02-27 2012-08-29 三菱重工業株式会社 可変容量型排気ターボ過給機
JP2010216283A (ja) 2009-03-13 2010-09-30 Akita Fine Blanking:Kk Vgsタイプターボチャージャの可変翼
EP2241722A1 (en) * 2009-04-14 2010-10-20 Siemens Aktiengesellschaft Inlet guide vane and compressor
DE102009020591B4 (de) * 2009-05-09 2021-01-07 BMTS Technology GmbH & Co. KG Ladeeinrichtung mit einer variablen Turbinengeometrie, insbesondere Abgasturbolader eines Kraftfahrzeuges
DE102009041027B4 (de) * 2009-09-14 2012-02-09 Continental Automotive Gmbh Leitschaufel für einen Turbolader, Leitschaufelanordnung, Turbolader, Kraftfahrzeug und Verfahren
DE102009057987B4 (de) * 2009-12-11 2020-08-20 BMTS Technology GmbH & Co. KG Ladeeinrichtung und Leitschaufel für eine derartige Ladeeinrichtung
US8727716B2 (en) * 2010-08-31 2014-05-20 General Electric Company Turbine nozzle with contoured band

Patent Citations (6)

* Cited by examiner, † Cited by third party
Publication number Priority date Publication date Assignee Title
JP2003254074A (ja) 2002-02-26 2003-09-10 Mitsubishi Heavy Ind Ltd 可変容量ターボチャージャ
JP2005351241A (ja) * 2004-06-14 2005-12-22 Toyota Motor Corp 流体そらせ隆起を備えた可変ノズル用ベーン
JP2009517578A (ja) 2005-11-25 2009-04-30 ボーグワーナー・インコーポレーテッド ターボチャージャ
JP2009074542A (ja) * 2007-08-28 2009-04-09 Toyota Central R&D Labs Inc 可変容量ターボチャージャ
JP2011509371A (ja) * 2008-01-11 2011-03-24 コンチネンタル オートモーティヴ ゲゼルシャフト ミット ベシュレンクテル ハフツング 可変のタービンジオメトリのためのガイドベーン
JP2009215990A (ja) * 2008-03-11 2009-09-24 Ihi Corp 可変ノズルのベーン形状及び可変容量過給機

Non-Patent Citations (1)

* Cited by examiner, † Cited by third party
Title
See also references of EP2821616A4

Cited By (1)

* Cited by examiner, † Cited by third party
Publication number Priority date Publication date Assignee Title
JP2017180462A (ja) * 2016-03-28 2017-10-05 株式会社豊田自動織機 可変ノズル機構

Also Published As

Publication number Publication date
EP2821616B1 (en) 2021-02-17
JP2013181396A (ja) 2013-09-12
US9926938B2 (en) 2018-03-27
US20150104296A1 (en) 2015-04-16
CN104136736B (zh) 2016-10-26
EP2821616A1 (en) 2015-01-07
JP5964081B2 (ja) 2016-08-03
CN104136736A (zh) 2014-11-05
EP2821616A4 (en) 2016-01-13

Similar Documents

Publication Publication Date Title
JP5964081B2 (ja) 可変容量ターボチャージャ
JP4881390B2 (ja) ターボチャージャ
EP1700007B1 (en) Vane and throat shaping for a radial turbine assembly
US8807926B2 (en) Turbocharger
US8128356B2 (en) Mixed flow turbine
AU2016212096B2 (en) Device for controlling the flow in a turbomachine, turbomachine and method
JP2007120494A (ja) 可変幾何学形状インレットガイドベーン
WO2014038054A1 (ja) 斜流タービン
JP2002129970A (ja) 可変容量タービン
EP3112608B1 (en) Turbocharger system and control method
WO2018088363A1 (ja) 可変ノズルユニットおよび過給機
US10208619B2 (en) Variable low turbine vane with aft rotation axis
JP2008008227A (ja) 可変容量タービン
EP3783209B1 (en) Nozzle vane
JP5427900B2 (ja) 斜流タービン
CN102482948A (zh) 涡轮增压器的导向叶片、导向叶片装置、涡轮增压器、汽车和方法
US11428154B2 (en) Nozzle vane
JP7517263B2 (ja) ターボチャージャ

Legal Events

Date Code Title Description
121 Ep: the epo has been informed by wipo that ep was designated in this application

Ref document number: 13754215

Country of ref document: EP

Kind code of ref document: A1

WWE Wipo information: entry into national phase

Ref document number: 14381237

Country of ref document: US

Ref document number: 2013754215

Country of ref document: EP

NENP Non-entry into the national phase

Ref country code: DE