WO2013031349A1 - 撮影装置及び撮影方法 - Google Patents

撮影装置及び撮影方法 Download PDF

Info

Publication number
WO2013031349A1
WO2013031349A1 PCT/JP2012/065835 JP2012065835W WO2013031349A1 WO 2013031349 A1 WO2013031349 A1 WO 2013031349A1 JP 2012065835 W JP2012065835 W JP 2012065835W WO 2013031349 A1 WO2013031349 A1 WO 2013031349A1
Authority
WO
WIPO (PCT)
Prior art keywords
ghost
images
image
control
determined
Prior art date
Legal status (The legal status is an assumption and is not a legal conclusion. Google has not performed a legal analysis and makes no representation as to the accuracy of the status listed.)
Ceased
Application number
PCT/JP2012/065835
Other languages
English (en)
French (fr)
Japanese (ja)
Inventor
貴嗣 青木
Current Assignee (The listed assignees may be inaccurate. Google has not performed a legal analysis and makes no representation or warranty as to the accuracy of the list.)
Fujifilm Corp
Original Assignee
Fujifilm Corp
Priority date (The priority date is an assumption and is not a legal conclusion. Google has not performed a legal analysis and makes no representation as to the accuracy of the date listed.)
Filing date
Publication date
Application filed by Fujifilm Corp filed Critical Fujifilm Corp
Priority to EP12827699.5A priority Critical patent/EP2753062A4/en
Priority to JP2013531139A priority patent/JP5536959B2/ja
Priority to CN201280042540.5A priority patent/CN103918249B/zh
Publication of WO2013031349A1 publication Critical patent/WO2013031349A1/ja
Priority to US14/186,510 priority patent/US9185389B2/en
Anticipated expiration legal-status Critical
Ceased legal-status Critical Current

Links

Images

Classifications

    • GPHYSICS
    • G02OPTICS
    • G02BOPTICAL ELEMENTS, SYSTEMS OR APPARATUS
    • G02B7/00Mountings, adjusting means, or light-tight connections, for optical elements
    • G02B7/28Systems for automatic generation of focusing signals
    • G02B7/34Systems for automatic generation of focusing signals using different areas in a pupil plane
    • HELECTRICITY
    • H04ELECTRIC COMMUNICATION TECHNIQUE
    • H04NPICTORIAL COMMUNICATION, e.g. TELEVISION
    • H04N13/00Stereoscopic video systems; Multi-view video systems; Details thereof
    • H04N13/20Image signal generators
    • H04N13/204Image signal generators using stereoscopic image cameras
    • H04N13/207Image signal generators using stereoscopic image cameras using a single 2D image sensor
    • GPHYSICS
    • G02OPTICS
    • G02BOPTICAL ELEMENTS, SYSTEMS OR APPARATUS
    • G02B7/00Mountings, adjusting means, or light-tight connections, for optical elements
    • G02B7/28Systems for automatic generation of focusing signals
    • G02B7/285Systems for automatic generation of focusing signals including two or more different focus detection devices, e.g. both an active and a passive focus detecting device
    • GPHYSICS
    • G02OPTICS
    • G02BOPTICAL ELEMENTS, SYSTEMS OR APPARATUS
    • G02B7/00Mountings, adjusting means, or light-tight connections, for optical elements
    • G02B7/28Systems for automatic generation of focusing signals
    • G02B7/36Systems for automatic generation of focusing signals using image sharpness techniques, e.g. image processing techniques for generating autofocus signals
    • HELECTRICITY
    • H04ELECTRIC COMMUNICATION TECHNIQUE
    • H04NPICTORIAL COMMUNICATION, e.g. TELEVISION
    • H04N13/00Stereoscopic video systems; Multi-view video systems; Details thereof
    • H04N13/10Processing, recording or transmission of stereoscopic or multi-view image signals
    • H04N13/106Processing image signals
    • H04N13/133Equalising the characteristics of different image components, e.g. their average brightness or colour balance
    • HELECTRICITY
    • H04ELECTRIC COMMUNICATION TECHNIQUE
    • H04NPICTORIAL COMMUNICATION, e.g. TELEVISION
    • H04N13/00Stereoscopic video systems; Multi-view video systems; Details thereof
    • H04N13/20Image signal generators
    • H04N13/204Image signal generators using stereoscopic image cameras
    • H04N13/207Image signal generators using stereoscopic image cameras using a single 2D image sensor
    • H04N13/218Image signal generators using stereoscopic image cameras using a single 2D image sensor using spatial multiplexing
    • HELECTRICITY
    • H04ELECTRIC COMMUNICATION TECHNIQUE
    • H04NPICTORIAL COMMUNICATION, e.g. TELEVISION
    • H04N13/00Stereoscopic video systems; Multi-view video systems; Details thereof
    • H04N13/20Image signal generators
    • H04N13/286Image signal generators having separate monoscopic and stereoscopic modes
    • HELECTRICITY
    • H04ELECTRIC COMMUNICATION TECHNIQUE
    • H04NPICTORIAL COMMUNICATION, e.g. TELEVISION
    • H04N13/00Stereoscopic video systems; Multi-view video systems; Details thereof
    • H04N13/20Image signal generators
    • H04N13/296Synchronisation thereof; Control thereof
    • HELECTRICITY
    • H04ELECTRIC COMMUNICATION TECHNIQUE
    • H04NPICTORIAL COMMUNICATION, e.g. TELEVISION
    • H04N23/00Cameras or camera modules comprising electronic image sensors; Control thereof
    • H04N23/60Control of cameras or camera modules
    • H04N23/67Focus control based on electronic image sensor signals
    • H04N23/672Focus control based on electronic image sensor signals based on the phase difference signals
    • HELECTRICITY
    • H04ELECTRIC COMMUNICATION TECHNIQUE
    • H04NPICTORIAL COMMUNICATION, e.g. TELEVISION
    • H04N23/00Cameras or camera modules comprising electronic image sensors; Control thereof
    • H04N23/60Control of cameras or camera modules
    • H04N23/67Focus control based on electronic image sensor signals
    • H04N23/673Focus control based on electronic image sensor signals based on contrast or high frequency components of image signals, e.g. hill climbing method
    • HELECTRICITY
    • H04ELECTRIC COMMUNICATION TECHNIQUE
    • H04NPICTORIAL COMMUNICATION, e.g. TELEVISION
    • H04N25/00Circuitry of solid-state image sensors [SSIS]; Control thereof
    • H04N25/10Circuitry of solid-state image sensors [SSIS]; Control thereof for transforming different wavelengths into image signals
    • H04N25/11Arrangement of colour filter arrays [CFA]; Filter mosaics
    • H04N25/13Arrangement of colour filter arrays [CFA]; Filter mosaics characterised by the spectral characteristics of the filter elements
    • H04N25/134Arrangement of colour filter arrays [CFA]; Filter mosaics characterised by the spectral characteristics of the filter elements based on three different wavelength filter elements
    • HELECTRICITY
    • H04ELECTRIC COMMUNICATION TECHNIQUE
    • H04NPICTORIAL COMMUNICATION, e.g. TELEVISION
    • H04N25/00Circuitry of solid-state image sensors [SSIS]; Control thereof
    • H04N25/70SSIS architectures; Circuits associated therewith
    • H04N25/703SSIS architectures incorporating pixels for producing signals other than image signals
    • H04N25/704Pixels specially adapted for focusing, e.g. phase difference pixel sets
    • GPHYSICS
    • G02OPTICS
    • G02BOPTICAL ELEMENTS, SYSTEMS OR APPARATUS
    • G02B27/00Optical systems or apparatus not provided for by any of the groups G02B1/00 - G02B26/00, G02B30/00
    • G02B27/0018Optical systems or apparatus not provided for by any of the groups G02B1/00 - G02B26/00, G02B30/00 with means for preventing ghost images
    • HELECTRICITY
    • H04ELECTRIC COMMUNICATION TECHNIQUE
    • H04NPICTORIAL COMMUNICATION, e.g. TELEVISION
    • H04N13/00Stereoscopic video systems; Multi-view video systems; Details thereof
    • H04N13/20Image signal generators
    • H04N13/204Image signal generators using stereoscopic image cameras
    • H04N13/207Image signal generators using stereoscopic image cameras using a single 2D image sensor
    • H04N13/232Image signal generators using stereoscopic image cameras using a single 2D image sensor using fly-eye lenses, e.g. arrangements of circular lenses

Definitions

  • the present invention relates to a photographing apparatus and a photographing method, and in particular, subjects images that have passed through different regions of a single photographing optical system are respectively formed on an image sensor to obtain a left eye image and a right eye image.
  • the present invention relates to a photographing apparatus and a photographing method.
  • the subject When the subject includes a bright light source such as the sun, the light from the light source is reflected in the imaging optical system or on the surface of the image sensor, and an image of the reflected light is formed on the image sensor so that the image is captured. ghost images may occur.
  • a bright light source such as the sun
  • Patent Document 1 discloses a configuration in which imaging is performed twice with different F values by changing the aperture diameter of a diaphragm in a photographing optical system, and ghost detection is performed from the difference between the two images.
  • Patent Document 2 discloses a configuration in which a focus lens is moved to capture an image at a focus position and a defocus position, and ghost detection is performed from a difference between the focus image and the defocus image.
  • Patent Document 3 includes a mechanism for rotating a wavefront conversion element in a plane orthogonal to the optical axis of an optical system in an apparatus that obtains an image with an expanded depth of field by performing image processing on a captured image.
  • a configuration is disclosed in which ghost removal is performed by performing sum and difference calculation processing between two images acquired when the wavefront conversion element is rotated at rotation angles of 0 degrees and 180 degrees.
  • Patent Documents 1 to 3 are not related to a monocular three-dimensional imaging apparatus that can capture two images by one imaging.
  • subject images that have passed through different areas in the left-right direction of the photographic lens are respectively imaged on the image sensor, and when obtaining a left-eye image and a right-eye image, a left-eye image and a right-eye image There is parallax between them. Therefore, when the inventions described in Patent Documents 1 to 3 are applied to a monocular stereoscopic imaging device, a problem of erroneous detection occurs.
  • Patent Documents 1 to 3 a ghost image cannot be processed unless imaging is performed a plurality of times with different shooting conditions. Therefore, the inventions described in Patent Documents 1 to 3 cannot be applied when continuously capturing images, for example, when capturing a live view image (through image) or capturing a moving image.
  • the present invention has been made in view of such circumstances, and it is possible to detect a ghost even when images are continuously acquired. Even when a ghost is generated, accurate automatic focusing control and automatic An object is to provide a photographing apparatus and a photographing method capable of performing exposure control and automatic white balance control.
  • an imaging apparatus includes an image acquisition unit that receives two light beams that have passed through different regions of a single imaging optical system, and acquires two images.
  • ghost detection means for detecting a ghost from two acquired images
  • first determination means for determining whether a ghost is detected from one of the two acquired images
  • first determination means If it is determined that a ghost has been detected from one of the two images, the automatic focusing control and the automatic exposure control are performed based on the image of which the ghost is not determined to be generated.
  • control means for performing at least one of automatic white balance control.
  • the photographing apparatus it is determined whether or not a ghost has occurred in one of the two images, and when the ghost is detected from either of the two images.
  • Automatic focusing control, automatic exposure control, and automatic white balance control are performed based on an image that is not determined to have a ghost out of the two images. This makes it possible to detect a ghost even when images are continuously acquired. Even when a ghost occurs, automatic focusing control, automatic exposure control, and automatic white balance control can be accurately performed.
  • the first determination means may determine whether or not a ghost has been detected from within an area set for each of the two images. Thereby, the amount of image processing can be reduced and the time required for image processing can be shortened.
  • the areas set for each of the two images can be various types such as an AF area, an AE area (photometry area), and an AWB area (light source type discrimination area).
  • the first determination unit determines that a ghost is detected from one of the two images
  • the ghost generated in one of the two images is detected.
  • a second determination unit configured to determine whether or not the intensity is equal to or greater than a certain strength, and the control unit determines whether the first determination unit determines that a ghost is detected from one of the two images; If the ghost generated in one of the two images is determined to be not more than a certain intensity by the determination means of 2, the automatic focusing control, the automatic exposure control, and the automatic white balance based on the two images At least one of the controls may be performed.
  • the ghost generated in one of the two images is not equal to or greater than a certain intensity, at least one of automatic focusing control, automatic exposure control, and automatic white balance control based on the two images. Therefore, the processing based on the two images can be performed in more cases, and the processing accuracy can be increased.
  • the first determination unit determines that a ghost is detected from one of the two images
  • the ghost is generated in one of the two images.
  • a third judging means for judging whether or not a ratio of the set area to the set area is equal to or greater than a certain value, and the control means has a ghost from one of the two images by the first judging means. If it is determined that it has been detected, and if it is determined by the third determining means that the ratio of the area where the ghost is generated in one of the two images to the set area is not more than a certain value, 2
  • At least one of automatic focusing control, automatic exposure control, and automatic white balance control may be performed based on a single image.
  • the first determination unit determines that the ghost is detected from one of the two images
  • the ghost is generated in both of the two images.
  • a fourth determination means for determining whether or not the ratio of the calculated area to the set area is equal to or greater than a certain value, and the control means includes two sheets by the first determination means. When it is determined that a ghost has been detected from any one of the images, and the fourth determination means occupies a certain ratio or more of the area where no ghost has occurred in either of the two images. If it is not determined, at least one of automatic focus control, automatic exposure control, and automatic white balance control based on an image that is not determined to have a ghost out of the two images.
  • the fourth determination means determines a region where no ghost has occurred in either of the two images. If it is determined that the percentage of the set area is equal to or greater than a certain level, automatic focusing control, automatic exposure control, and automatic white balance are performed based on the area where no ghost occurs in either of the two images. At least one of the controls may be performed. That is, when the ratio of the area where no ghost has occurred in either of the two images to the set area is not a certain level or more, it is not determined that the ghost of the two images has occurred. At least one of automatic focusing control, automatic exposure control, and automatic white balance control is performed based on the image.
  • the ghost is detected in either of the two images.
  • At least one of automatic focusing control, automatic exposure control, and automatic white balance control is performed based on a region where no occurrence occurs.
  • processing based on two images can be performed, and processing accuracy can be increased.
  • phase difference AF processing with a short processing time can be performed in more cases.
  • the ghost detection unit calculates an image shift amount due to the parallax of the subject image between the plurality of acquired images, and based on the calculated image shift amount,
  • the ghost may be detected by correcting the image shift and calculating the difference between the pixel values between the corresponding pixels of the plurality of images after the image shift correction. Thereby, generation
  • the ghost detection means applies a low-pass filter to each of the plurality of acquired images, and calculates a difference between the plurality of images subjected to the low-pass filter. May be detected. Thereby, generation
  • the first determination unit determines that no ghost is detected from the two images
  • automatic focusing control and automatic exposure control are performed based on the two images.
  • at least one of automatic white balance control may be performed. Thereby, more accurate control can be performed.
  • the control means performs the in-focus state when performing the automatic focusing control based on an image that is not determined to have a ghost out of the two images.
  • the automatic focusing control may be performed based on the phase difference between the two images. Good. Thereby, when a ghost has not occurred, AF processing can be performed in a short time.
  • the imaging apparatus includes a fifth determination unit that determines whether or not the brightness of the subject is equal to or higher than a certain brightness, and the ghost detection unit uses the fifth determination unit to detect the subject.
  • a ghost may be detected only when it is determined that the brightness of the image is equal to or higher than a certain brightness. Thereby, since a ghost is detected only when a ghost may generate
  • a step of receiving two light fluxes that have passed through different areas of a single photographing optical system to obtain two images, and a ghost from the two obtained images A step of detecting, a step of determining whether or not a ghost has been detected from one of the two acquired images, and a step of determining if a ghost has been detected from one of the two images. Performing at least one of automatic focusing control, automatic exposure control, and automatic white balance control based on an image that has not been determined to have a ghost among the images.
  • a step of receiving two light fluxes that have passed through different regions of a single photographing optical system and acquiring two images, and detecting a ghost from the two acquired images A step of determining whether a ghost has been detected from one of the two acquired images, and two if determining that a ghost has been detected from one of the two images Performing at least one of automatic focusing control, automatic exposure control, and automatic white balance control based on an image that is not determined to have a ghost in the image of Also good.
  • a computer-readable non-transitory recording medium that records the above program is also included in the present invention.
  • ghost can be detected even when images are continuously acquired, and automatic focusing control, automatic exposure control, and automatic white balance control are accurately performed even when a ghost occurs. be able to.
  • Block diagram of stereoscopic imaging device The figure which shows the structural example of a phase difference image sensor A diagram showing the main and sub-pixels one by one 3 is an enlarged view of the main part of FIG. The flowchart which shows the flow of an example of AF process in 1st Embodiment.
  • FIG. 1 is a schematic diagram showing the main pixel data in which a ghost is generated and a state in which the pixel data is superimposed and displayed
  • FIG. 1 is a schematic diagram showing the main pixel data in which a ghost is generated and a state in which the pixel data is superimposed and displayed
  • FIG. 1 is a schematic diagram showing the main pixel data
  • FIG. 1 is a schematic diagram showing the main pixel data
  • FIG. 1 is a schematic diagram showing the main pixel data in which a ghost is generated and a state in which the pixel data is superimposed and displayed
  • FIG. 1 is a schematic diagram showing the main pixel data
  • FIG. 1 is a schematic diagram showing the main pixel data
  • FIG. 1 is a schematic diagram showing the main pixel data
  • FIG. 1 is a schematic diagram showing the main pixel data
  • FIG. 1 is a schematic diagram showing the main pixel data
  • FIG. 1 is a schematic diagram showing the main pixel data
  • FIG. 1 is a schematic diagram showing the main
  • the flowchart which shows the flow of an example of AF process in 3rd Embodiment The figure which shows the main pixel data where the ghost occurs
  • the flowchart which shows the flow of an example of AF process in 4th Embodiment Part (A) is a diagram showing main pixel data in which a ghost is generated
  • part (B) is a diagram showing sub-pixel data.
  • FIG. 1 is a block diagram showing an embodiment of a monocular stereoscopic imaging device 10 according to the present invention.
  • This monocular three-dimensional imaging device 10 is a digital camera that receives light passing through a lens by an imaging device, converts it into a digital signal and records it on a storage medium, and the overall operation of the device is controlled by a central processing unit (CPU) 40. Is done.
  • CPU central processing unit
  • the stereoscopic imaging device 10 is provided with operation units 38 such as a shutter button, a mode dial, a playback button, a MENU / OK key, a cross key, and a BACK key.
  • operation units 38 such as a shutter button, a mode dial, a playback button, a MENU / OK key, a cross key, and a BACK key.
  • a signal from the operation unit 38 is input to the CPU 40, and the CPU 40 controls each circuit of the stereoscopic imaging device 10 based on the input signal. For example, lens driving control, aperture driving control, photographing operation control, image processing control, image processing Data recording / reproduction control, display control of the liquid crystal monitor 30 for stereoscopic display, and the like are performed.
  • the shutter button is an operation button for inputting an instruction to start shooting, and is configured by a two-stroke switch having an S1 switch that is turned on when half-pressed and an S2 switch that is turned on when fully pressed.
  • the mode dial is a selection means for selecting a 2D shooting mode, a 3D shooting mode, an auto shooting mode, a manual shooting mode, a scene position such as a person, a landscape, a night view, a macro mode, a moving image mode, and a parallax priority shooting mode according to the present invention. is there.
  • the playback button is a button for switching to a playback mode in which a still image or a moving image of a stereoscopic image (3D image) or a planar image (2D image) that has been recorded is displayed on the liquid crystal monitor 30.
  • the MENU / OK key is an operation key having both a function as a menu button for instructing to display a menu on the screen of the liquid crystal monitor 30 and a function as an OK button for instructing confirmation and execution of the selection contents. It is.
  • the cross key is an operation unit for inputting instructions in four directions, up, down, left, and right, and functions as a button (cursor moving operation means) for selecting an item from the menu screen or instructing selection of various setting items from each menu. To do.
  • the up / down key of the cross key functions as a zoom switch for shooting or a playback zoom switch in playback mode
  • the left / right key functions as a frame advance (forward / reverse feed) button in playback mode.
  • the BACK key is used to delete a desired object such as a selection item, cancel an instruction content, or return to the previous operation state.
  • the image light indicating the subject is imaged on the light receiving surface of the phase difference CCD 16 which is a solid-state image sensor through the photographing optical system 12 including the focus lens and the zoom lens, and the diaphragm 14.
  • the photographing optical system 12 is driven by a lens driving unit 36 controlled by the CPU 40, and performs focus control, zoom control, and the like.
  • the diaphragm 14 is composed of, for example, five diaphragm blades, and is driven by the diaphragm driving unit 34 controlled by the CPU 40.
  • the diaphragm 14 is controlled in six stages from the aperture values F1.4 to F11 in increments of 1AV.
  • the CPU 40 performs charge accumulation time (shutter speed) in the phase difference CCD 16, image signal readout control from the phase difference CCD 16, and the like via the CCD control unit 32.
  • FIG. 2 is a diagram showing a configuration example of the phase difference CCD 16 (monocular stereoscopic imaging device).
  • the phase difference CCD 16 has odd-numbered lines of pixels (main pixels) and even-numbered lines of pixels (sub-pixels) arranged in a matrix, and photoelectric conversion is performed in these main and sub-pixels.
  • the image signals for the two surfaces can be read independently.
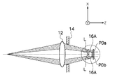
  • FIG. 3 is a diagram showing the photographic optical system 12, the diaphragm 14, and the main pixel PDa and sub-pixel PDb of the phase difference CCD 16 one by one
  • FIG. 4 is an enlarged view of the main part of FIG.
  • a light beam passing through the exit pupil enters the normal CCD pixel (photodiode PD) via the microlens L without being restricted.
  • a light shielding member 16A is formed on the main pixel PDa and the sub pixel PDb of the phase difference CCD 16, and the right half or the left half of the light receiving surface of the main pixel PDa and the sub pixel PDb is shielded by the light shielding member 16A. Yes. That is, the light shielding member 16A functions as a pupil division member.
  • the phase difference CCD 16 having the above-described configuration is configured such that the main pixel PDa and the sub-pixel PDb have different regions (right half and left half) where the light beam is limited by the light shielding member 16A.
  • the microlens L and the photodiode PD (PDa, PDb) are relatively shifted in the left-right direction, and the light flux incident on the photodiode PD is limited by the shifted direction.
  • the light flux incident on each pixel may be limited.
  • the signal charge accumulated in the phase difference CCD 16 is read out as a voltage signal corresponding to the signal charge based on the readout signal applied from the CCD control unit 32.
  • the voltage signal read from the phase difference CCD 16 is applied to the analog signal processing unit 18, where the R, G, B signals for each pixel are sampled and held, and the gain designated by the CPU 40 (corresponding to ISO sensitivity). And then added to the A / D converter 20.
  • the A / D converter 20 converts R, G, and B signals that are sequentially input into digital R, G, and B signals and outputs them to the image input controller 22.
  • the digital signal processing unit 24 performs gain control processing including gamma correction processing, gamma correction processing, synchronization processing, YC processing for digital image signals input via the image input controller 22, including offset processing, white balance correction, and sensitivity correction. Then, predetermined signal processing such as sharpness correction is performed.
  • the EEPROM 56 is a nonvolatile memory that stores a camera control program, defect information of the phase difference CCD 16, various parameters and tables used for image processing, a program diagram, a plurality of parallax priority program diagrams according to the present invention, and the like. Memory.
  • the main image data read from the main pixels of the odd-numbered lines of the phase difference CCD 16 is processed as the left viewpoint image data, and the sub-pixels of the even-numbered lines.
  • the sub-image data read from is processed as right viewpoint image data.
  • the left viewpoint image data and right viewpoint image data (3D image data) processed by the digital signal processing unit 24 are input to the VRAM 50.
  • the VRAM 50 includes an A area and a B area each storing 3D image data representing a 3D image for one frame.
  • 3D image data representing a 3D image for one frame is rewritten alternately in the A area and the B area.
  • the written 3D image data is read from an area other than the area in which the 3D image data is rewritten in the A area and the B area of the VRAM 50.
  • the 3D image data read from the VRAM 50 is encoded by the video encoder 28 and is output to a stereoscopic display liquid crystal monitor 30 (LCD) provided on the back of the camera, whereby a 3D subject image is displayed on the liquid crystal monitor 30. Displayed on the display screen.
  • LCD stereoscopic display liquid crystal monitor
  • the liquid crystal monitor 30 is a stereoscopic display unit that can display stereoscopic images (left viewpoint image and right viewpoint image) as directional images having predetermined directivities by a parallax barrier, but is not limited thereto, and is not limited thereto.
  • the left viewpoint image and the right viewpoint image may be viewed separately by using a lens, or by wearing dedicated glasses such as polarized glasses or liquid crystal shutter glasses.
  • the phase difference CCD 16 starts the AF operation and the AE operation, and the focus in the photographing optical system 12 via the lens driving unit 36. Control the lens so that it is in the in-focus position.
  • the image data output from the A / D converter 20 when the shutter button is half-pressed is taken into the AE / AWB detection unit 44.
  • the AE / AWB detection unit 44 integrates the G signals of the entire screen, or integrates the G signals that are weighted differently at the center and the periphery of the screen, and outputs the integrated value to the CPU 40.
  • the CPU 40 calculates the brightness of the subject (shooting EV value) from the integrated value input from the AE / AWB detection unit 44, and based on this shooting EV value, the aperture value of the diaphragm 14 and the electronic shutter (shutter speed of the phase difference CCD 16).
  • the aperture 14 is controlled via the aperture drive unit 34 based on the determined aperture value
  • the phase difference via the CCD control unit 32 is determined based on the determined shutter speed.
  • the charge accumulation time in the CCD 16 is controlled (AE process).
  • the AE / AWB detection unit 44 divides one screen into a plurality of areas (for example, 16 ⁇ 16) as physical quantities necessary for AWB control, and the color of the R, G, and B image signal for each divided area. Calculate another average integrated value.
  • the CPU 40 obtains the ratio of R / G and B / G for each divided area from the obtained accumulated value of R, accumulated value of B, and accumulated value of G, and R of the obtained values of R / G and B / G.
  • the light source type is discriminated based on the distribution in the color space of / G and B / G.
  • the AF processing unit 42 is a part that performs contrast AF processing or phase AF processing.
  • a high frequency component of image data in a predetermined focus area (hereinafter referred to as an AF area) is extracted from at least one of the left viewpoint image data and the right viewpoint image data.
  • An AF evaluation value indicating the in-focus state is calculated by integrating the high frequency component.
  • AF control is performed by controlling the focus lens in the photographic optical system 12 so that the AF evaluation value is maximized.
  • the calculation of the AF evaluation value may use the G signal, or may use another image signal such as a luminance signal (Y signal).
  • the phase difference between the image data corresponding to the main pixel and the sub-pixel in the predetermined AF area of the left viewpoint image data and the right viewpoint image data is detected, and this phase difference is detected.
  • the defocus amount is obtained based on the information indicating.
  • AF control is performed by controlling the focus lens in the photographing optical system 12 so that the defocus amount becomes zero.
  • the AF area is set, for example, in the center of the screen, but the entire screen may be the AF area, or a region near a desired subject (for example, a face) may be the AF area. Since the method for detecting a face is already known, the description thereof is omitted.
  • the two pieces of image data temporarily stored in the memory 48 are appropriately read out by the digital signal processing unit 24, where predetermined signals including generation processing (YC processing) of luminance data and color difference data of the image data are performed. Processing is performed.
  • the YC processed image data (YC data) is stored in the memory 48 again. Subsequently, the two pieces of YC data are respectively output to the compression / decompression processing unit 26, subjected to predetermined compression processing such as JPEGJ (joint photographic experts group), and then stored in the memory 48 again.
  • a multi-picture file (MP file: a file in a format in which a plurality of images are connected) is generated.
  • the PM file is read by the media controller 52. And recorded on the memory card 54.
  • the AF operation is not only performed when the shutter button is pressed (half-pressed) in the first stage, but also image data for two images of the left-eye image and the right-eye image, that is, right-eye image data, left This is also performed when image data for an eye is continuously photographed.
  • Examples of the case where the right-eye image data and the left-eye image data are continuously photographed include a case where a live view image (through image) is photographed and a case where a moving image is photographed.
  • the AF processing unit 42 continuously calculates the AF evaluation value or detects the phase difference while continuously capturing the right-eye image data and the left-eye image data. Continuous AF for continuously controlling the focus lens position is performed.
  • the subject light that has passed through the photographing optical system 12 is imaged on the light receiving surface of the phase difference CCD 16 through the diaphragm 14.
  • the signal charges stored in the main pixel and subpixel of the phase difference CCD 16 by the CCD control unit 32 are sequentially read out at a predetermined frame rate as a voltage signal (image signal) corresponding to the signal charge, and the analog signal processing unit 18.
  • image signal image signal
  • the digital signal processing unit 24 via the A / D converter 20 and the image input controller 22
  • image data for the left eye and image data for the right eye are sequentially generated.
  • the generated left-eye image data and right-eye image data are sequentially input to the VRAM 50.
  • the CPU 40 changes the aperture amount (F value) of the diaphragm 14 via the diaphragm drive unit 34 based on the left-eye image data and the right-eye image data. Further, the CPU 40 performs zooming via the lens driving unit 36 in response to an input from the operation unit 38.
  • the photographer can confirm the angle of view by viewing the image (through image) displayed on the liquid crystal monitor 30 in real time.
  • an S1 ON signal is input to the CPU 40, and the CPU 40 performs an AE / AF operation via the AF processing unit 42 and the AE / AWB detection unit 44.
  • FIG. 5 is a flowchart showing the flow of AF processing of the monocular stereoscopic imaging device 10.
  • the CPU 40 compares the left-eye image data and the right-eye image data acquired immediately before the S1 ON signal is input to the CPU 40 in order to detect a ghost (step S10).
  • FIG. 6A schematically shows a state in which main pixel data and sub-pixel data (left-eye image data and right-eye image data) each having a ghost image are superimposed and displayed on the liquid crystal monitor 30.
  • FIG. since it cannot display in three dimensions on this drawing, it represents as a plane image.
  • 6B shows main pixel data having a ghost image
  • FIG. 6C shows subpixel data having a ghost image.
  • the processing in step S10 will be described with reference to FIG.
  • the CPU 40 acquires main pixel data and sub-pixel data, that is, left-eye image data and right-eye image data from the VRAM 50 (step S100).
  • the main pixel data is right-eye image data
  • the sub-pixel data is left-eye image data.
  • the present invention is not limited to this.
  • the CPU 40 calculates an image shift amount due to parallax (hereinafter also referred to as “parallax amount”) (step S102). Specifically, first, the correspondence between the main pixel in the main pixel data and the sub-pixel in the sub-pixel data is detected (corresponding point detection), and then an image between corresponding pixels (between corresponding points). The amount of deviation (difference between the coordinates of the main pixel in the main pixel data and the coordinates of the subpixel in the subpixel data) is calculated, and the relationship (parallax) between each pixel (main pixel and / or subpixel) and the amount of image deviation A disparity map indicating the distribution) is generated.
  • parallax amount hereinafter also referred to as “parallax amount”.
  • the parallax map of this example shows the correspondence between each sub-pixel in the sub-pixel data and the image shift amount.
  • the tree image is shifted by D.
  • the image shift amount D is associated with the pixel. 9A and 9B, there is almost no image shift in the human image, but actually, a small image shift corresponding to the subject distance occurs in the human image.
  • the CPU 40 corrects the image shift caused by the parallax of the subject image between the main pixel data and the sub-pixel data based on the parallax map.
  • the coordinates of the main pixel in the main pixel data and the coordinates of the subpixel in the subpixel data corresponding to the main pixel are matched (step S104).
  • the tree image is moved leftward by D.
  • the CPU 40 calculates a difference in pixel value (signal amount) between the main pixel and the sub-pixel after the image shift correction in this way (step S106).
  • the difference between pixel values in the AF area set for each of the main pixel and the sub-pixel after image shift correction is calculated. Thereby, the main pixel data and the sub-pixel data are compared.
  • the CPU 40 determines whether there is a difference in the signal amount of the AF area, that is, whether the difference calculated in step S106 is not 0 (step S12).
  • the signal amount difference does not become zero.
  • the value of the region where the ghost image exists in the main pixel data becomes positive
  • the value of the region where the ghost image exists in the subpixel data becomes negative.
  • the signal amount difference does not become zero.
  • step S12 If it is determined in step S12 that there is a difference in signal amount difference (Yes in step S12), the CPU 40 determines whether or not the difference is equal to or greater than a certain value (step S14).
  • the case where the difference is greater than or equal to a certain value is a case where the ghost is strong and seems to affect AF.
  • step S14 When it is determined in step S14 that the difference is greater than or equal to a certain value (Yes in step S14), the CPU 40 determines an image with a small signal amount in the AF area as an AF target image and inputs the image to the AF processing unit 42. .
  • the AF processing unit 42 performs contrast AF processing based on the image data of the AF area of the AF target image (step S16). Since an image in which a ghost is generated has a large signal amount, an image having a small signal amount may not have a ghost, or the influence may be small even if a ghost has occurred. In this embodiment, an image with a small signal amount is defined as an image in which no ghost is generated. Therefore, the risk of misfocusing can be reduced by performing AF using an image with a small signal amount in the AF area.
  • step S12 If it is determined in step S12 that there is no difference in signal amount difference (No in step S12), or if it is determined in step S12 that there is a difference in signal amount (Yes in step S12), and step S14 If it is determined that the difference is not equal to or greater than a certain value (No in step S14), the ghost is not generated, or the ghost is weak enough not to affect the AF even if the ghost has occurred (this book). In the present invention, these two cases are defined as cases where no ghost has occurred), so the AF processing unit 42 performs phase difference AF processing based on the signals of the AF areas of the two images (step S18). ).
  • an S2 ON signal is input to the CPU 40, and the CPU 40 starts photographing and recording processing. That is, the phase difference CCD 16 is exposed with the shutter speed and aperture value determined based on the photometric result.
  • Two pieces of image data respectively output from the main pixel and the sub-pixel of the phase difference CCD 16 are taken into the VRAM 50 via the analog processing unit 60, the A / D converter 20, and the image input controller 22, and the image signal processing unit. After being converted into a luminance / color difference signal at 64, it is stored in the VRAM 50.
  • the left-eye image data stored in the VRAM 50 is added to the compression / decompression processing unit 26, compressed according to a predetermined compression format (for example, JPEG format), and then stored in the VRAM 50.
  • An MP file is generated from the two compressed data stored in the VRAM 50, and the MP file is recorded on the memory card 54 via the media controller 2. As a result, a stereoscopic image is captured and recorded.
  • the monocular stereoscopic imaging apparatus 10 can capture both a planar image and a stereoscopic image.
  • photographing a planar image it is only necessary to perform photographing using only the main pixel or the sub-pixel of the phase difference CCD 16. Since the details of the photographing process are the same as those for photographing a stereoscopic image, description thereof is omitted.
  • the image recorded on the memory card 54 as described above can be reproduced and displayed on the liquid crystal monitor 30 by setting the mode of the monocular stereoscopic imaging device 10 to the reproduction mode with the reproduction button.
  • the CPU 40 When the playback mode is set, the CPU 40 outputs a command to the media controller 52 to read out the image file recorded last on the memory card 54.
  • the compressed image data of the read image file is added to the compression / decompression processing unit 26, decompressed to an uncompressed luminance / color difference signal, and then output to the liquid crystal monitor 30 via the video encoder 28.
  • the frame advance of the image is performed by operating the left and right keys of the cross key, and when the right key of the cross key is pressed, the next image file is read from the memory card 54 and reproduced and displayed on the liquid crystal monitor 30.
  • the left key of the cross key is pressed, the previous image file is read from the memory card 54 and reproduced and displayed on the liquid crystal monitor 30.
  • the phase difference AF process is prone to misfocusing when there is a difference in the signal amount of the two images to be used.
  • the contrast AF process using a ghost-free image avoids misfocusing. can do.
  • step S12 when it is determined in step S12 that there is no difference in signal amount difference (No in step S12), and in step S12, it is determined that there is a difference in signal amount difference (step If it is determined that the difference is not equal to or greater than a certain value in step S14 (No in step S14), the phase difference AF process is performed based on the AF area signals of the two images (step S18).
  • the AF processing may be performed by performing contrast AF processing on each of the two images based on the signal of the AF area. When the subject is dark or the like, there is a possibility that the noise is large and the lens is in focus.
  • a ghost is detected from the image data for the left eye and the image data for the right eye, and the AF process is changed accordingly.
  • the AF process is changed depending on whether or not the ghost is generated. It is not limited.
  • the AE process may be changed or the AWB process may be changed depending on whether or not a ghost is generated.
  • the AE / AWB detection unit 44 performs AE processing and AWB processing using the image data of the two images.
  • the AE / AWB detection unit 44 selects an image with a small signal amount on the entire screen as the AE target image.
  • the AE process and the AWB process are performed using the image data of the AE target image.
  • the AE / AWB detection unit 44 may obtain an integrated value based on the R, G, and B signals of the entire image data and perform AE processing / AWB processing, or may be applied to a part of the image.
  • An AE area / AWB area may be set.
  • the difference between the signal amounts in the set AE area / AWB area is obtained, and when it is determined that there is no difference in the difference or when it is determined that there is a difference in the signal amount and When it is determined that the difference is not equal to or greater than a certain value, AE processing / AWB processing is performed using the image data of the two images, and when it is determined that there is a difference in the signal amount and the difference is equal to or greater than a certain value.
  • the image is determined as the target image for AE processing / AWB processing, and the image data of the target image for AE processing / AWB processing is used for AE processing / An AWB process may be performed.
  • an image shift due to the parallax of the subject image between the main pixel data and the sub-pixel data is corrected based on the parallax map, and the main pixel and the sub-pixel after the image shift correction are performed.
  • the ghost is detected by calculating the difference between the pixel values (signal amount), the ghost detection method is not limited to this.
  • the monocular stereoscopic imaging device 10-1 according to the second embodiment will be described. Since the difference between the monocular stereoscopic imaging device 10 according to the first embodiment and the monocular stereoscopic imaging device 10-1 according to the second embodiment is only the AF processing, only the AF processing will be described, and the others will be described. Is omitted. In addition, about the part same as 1st Embodiment, the same code
  • FIG. 10 is a flowchart showing an AF process flow of the monocular stereoscopic imaging device 11.
  • the CPU 40 acquires main pixel data and sub-pixel data, that is, left-eye image data and right-eye image data from the VRAM 50, and calculates a difference in pixel value (signal amount) between the main pixel and the sub-pixel (step S20). ). Thereby, difference data for one image is generated. Since there is a parallax between the main pixel and the sub-pixel, the difference data never becomes 0.
  • CPU 40 divides the difference data generated in step S20 into a plurality of areas, and calculates an average value of the difference data for each area (step S21).
  • the CPU 40 determines whether or not there is a difference in signal amount difference, that is, whether or not there is a difference in the average value of difference data calculated for each region (step S22). For example, the standard deviation or variance of the average value of the difference data for each region may be calculated, and it may be determined that there is a difference when this is a predetermined value or more.
  • the signal amount difference is calculated without correcting the image shift. Therefore, if no ghost is generated, the signal amount difference should be substantially constant regardless of the position of the image. is there. Therefore, a difference in the average value of the difference data indicates that there is a high possibility that a ghost has occurred. Thereby, it is possible to easily determine the possibility of occurrence of a ghost.
  • the CPU 40 determines whether or not a ghost has occurred and its strength. Specifically, a low-pass filter is applied to each of the main pixel data and the sub-pixel data (step S23), and a difference in signal amount between the main pixel data and the sub-pixel data subjected to the low-pass filter is calculated to obtain an image. Difference data for one sheet is generated (step S24). And CPU40 divides
  • the CPU 40 determines whether or not there is a difference in the signal amount difference, that is, whether or not there is a difference in the average value of the difference data calculated for each region by the same method as in step S22 (step S26). .
  • a ghost occurs, a low frequency component is added.
  • the effect of image shift can be eliminated by applying a low-pass filter, but the effect of a ghost composed of low-frequency components remains. Accordingly, it can be determined that a ghost has occurred in an image if there is a difference in signal amount even after the low-pass filter is applied.
  • the CPU 40 determines an image with a small signal amount in the AF area as an AF target image and inputs it to the AF processing unit 42.
  • an image with a small signal amount in the AF area is defined as an image in which no ghost occurs.
  • the AF processing unit 42 performs contrast AF processing based on the image data of the AF area of the AF target image (step S16).
  • step S22 If it is determined in step S22 that there is no difference in signal amount difference (No in step S12), if it is determined in step S22 that there is a difference in signal amount (Yes in step S22), and in step S26 When it is determined that there is no difference in the signal amount difference (No in step S26), the ghost is not generated, or the ghost is weak enough not to affect the AF even if the ghost is generated. That is, there is no occurrence of a ghost in the present invention.
  • the AF processing unit 42 performs phase difference AF processing based on the AF area signals of the two images (step S18).
  • the image shift is not corrected, it is possible to determine whether or not a ghost has occurred in a short time. Since it takes time to correct the image shift, it is not appropriate when acquiring corrected image data continuously, that is, when shooting live view images or moving images, especially when performing continuous AF processing There is. However, by using a low-pass filter, it is possible to determine the occurrence of a ghost in a short time.
  • ⁇ Third Embodiment> when no ghost is generated or when the ghost is weak enough not to affect the AF even if the ghost is generated, that is, the occurrence of the ghost referred to in the present invention.
  • phase difference AF processing is performed based on the two images, and when the ghost is strong, contrast AF is performed based on the image where no ghost is generated.
  • the AF processing mode is not limited to this. I can't.
  • the phase difference AF process is performed using only the range where no ghost is generated.
  • the monocular stereoscopic imaging device 10-2 according to the third embodiment will be described below. Since the difference between the monocular stereoscopic imaging device 10 according to the first embodiment and the monocular stereoscopic imaging device 10-2 according to the third embodiment is only the AF processing, only the AF processing will be described, and others will be described. Is omitted. In addition, about the part same as 1st Embodiment, the same code
  • FIG. 11 is a flowchart showing an AF process flow of the monocular stereoscopic imaging device 10-2.
  • the CPU 40 compares the main pixel data and the sub-pixel data acquired immediately before the S1 ON signal is input to the CPU 40 in order to detect the ghost (step S10).
  • the CPU 40 determines whether there is a difference in the signal amount of the AF area, that is, whether the difference calculated in step S106 is not 0 (step S12).
  • step S12 determines whether or not the difference is greater than or equal to a certain value (step S14).
  • step S14 determines whether or not the difference is greater than or equal to a certain value (Yes in step S14). If it is determined in step S14 that the difference is greater than or equal to a certain value (Yes in step S14), the CPU 40 determines whether or not the range in which the signal amount in the AF area has a difference occupies a certain value or more in the entire AF area. Is determined (step S30). That is, it is determined whether or not the ratio of the area where the ghost is generated in either the main image data or the sub image data to the AF area is equal to or greater than a certain value.
  • the CPU 40 selects an image with a small signal amount in the AF area as an AF target image.
  • the AF processing unit 42 determines and inputs the result to the AF processing unit 42.
  • the AF processing unit 42 performs contrast AF processing based on the image data of the AF area of the target image of AF (step S16).
  • the CPU 40 determines from the AF area of the main pixel data and the AF area of the sub-pixel data.
  • a region where no ghost has occurred in both main pixel data and sub-pixel data is specified (step S32). For example, when the main pixel data shown in FIG. 12 is input, the CPU 40 extracts a region b in which no ghost is generated in the AF area a. For example, a low-pass filter is applied to the image data in the AF area a, and an area where no signal remains can be extracted as an area b where no ghost is generated.
  • the CPU 40 extracts an area where no ghost has occurred from the AF area of the sub-pixel data by a similar method. Then, the CPU 40 sets an overlapping portion between the area where the ghost of the main pixel data is not generated and the area where the ghost of the sub pixel data is not generated as the area where no ghost is generated in both the main pixel data and the sub pixel data. Identify. The CPU 40 inputs information on an area where no ghost has occurred in both the identified main pixel data and sub-pixel data to the AF processing unit 42. However, in the monocular stereoscopic imaging device 10-2, as shown in FIG. 6, since the position where the ghost occurs differs between the main pixel data and the sub-pixel data, no ghost occurs in the AF area of one image. There are many things.
  • the AF processing unit 42 performs phase difference AF processing based on AF area signals of two images in an area where no ghost occurs in both the main pixel data and sub-pixel data in the AF area (step S34).
  • step S12 If it is determined in step S12 that there is no difference in signal amount difference (No in step S12), if it is determined in step S12 that there is a difference in signal amount (Yes in step S12), and in step S14 If it is determined that the difference is not equal to or greater than a certain value (No in step S14), if no ghost has occurred or if the ghost is weak enough not to affect AF even if a ghost has occurred, that is, this Since there is no occurrence of ghost in the invention, the AF processing unit 42 performs phase difference AF processing based on the signals of the AF areas of the two images (step S18).
  • the phase difference AF process can be performed in more cases.
  • the phase difference AF process can be focused faster than the contrast AF process, it is desirable to perform the phase difference AF process as much as possible. Therefore, even when a strong ghost is detected, the range in which the ghost is generated in the AF area is specified, and the phase in which no ghost is generated in both images can be used to perform phase difference AF processing. It becomes.
  • a range in which no ghost is generated is used, erroneous focusing can be avoided.
  • step S14 it is determined whether or not the difference in signal amount is greater than or equal to a certain value (step S14). If it is determined that the difference is greater than or equal to a certain value (Yes in step S14), the AF area It is determined whether or not a range having a difference in signal amount occupies a certain amount or more of the entire AF area (step S30), and if it does not occupy a certain amount or more (No in step S30), within the AF area The phase difference AF processing was performed based on the AF area signals of the two images in the area where no ghost occurred together with the main pixel data and subpixel data (steps S32 and S34), but the difference in signal amount is constant. It is not essential to determine whether this is the case.
  • step S12 It is determined whether there is a difference in the signal amount in the AF area (step S12). If it is determined that there is a difference in the signal amount (Yes in step S12), there is a difference in the signal amount in the AF area. It may be determined whether or not the range occupies a certain amount or more of the entire AF area (step S30).
  • the ghost is detected from the image data for the left eye and the image data for the right eye, and the AF process is changed accordingly.
  • the AE process / AWB process is changed depending on whether or not the ghost is generated. May be. For example, it is determined whether or not the difference in the signal amount is greater than or equal to a certain level. If it does not occupy a certain amount or more, the AE process and the AWB process are performed based on the image signals of the two images in the area where no ghost occurs in both the main pixel data and the sub-pixel data. do it.
  • ⁇ Fourth embodiment> In the first embodiment of the present invention, when no ghost is generated or when the ghost is weak enough not to affect the AF even if the ghost is generated, that is, the occurrence of the ghost referred to in the present invention. When there is no ghost, phase difference AF processing is performed based on the two images, and when the ghost is strong, contrast AF is performed based on the image where no ghost is generated.
  • the AF processing mode is not limited to this. I can't.
  • the phase difference AF process is performed using only a range where no ghost is generated.
  • a monocular stereoscopic imaging device 10-3 according to the fourth embodiment will be described below. Since the difference between the monocular stereoscopic imaging device 10 according to the first embodiment and the monocular stereoscopic imaging device 10-3 according to the fourth embodiment is only the AF processing, only the AF processing will be described, and the others will be described. Is omitted. Note that the same portions as those in the first to third embodiments are denoted by the same reference numerals and description thereof is omitted.
  • FIG. 13 is a flowchart showing an AF process flow of the monocular stereoscopic imaging device 10-3.
  • the CPU 40 compares the main pixel data and the sub-pixel data acquired immediately before the S1 ON signal is input to the CPU 40 in order to detect the ghost (step S10).
  • the CPU 40 determines whether there is a difference in the signal amount of the AF area, that is, whether the difference calculated in step S106 is not 0 (step S12).
  • step S12 determines whether or not the difference is greater than or equal to a certain value (step S14).
  • step S14 If it is determined in step S14 that the difference is greater than or equal to a certain value (Yes in step S14), the CPU 40 determines whether or not the range in which the signal amount in the AF area has a difference occupies a certain value or more in the entire AF area. Is determined (step S30).
  • the CPU 40 determines from the AF area of the main pixel data and the AF area of the sub-pixel data. A region where no ghost has occurred in both main pixel data and sub-pixel data is specified (step S32). The CPU 40 inputs information on an area where no ghost has occurred in both the identified main pixel data and sub-pixel data to the AF processing unit 42.
  • step S40 determines whether or not the area specified in step S32 occupies a certain range or more in the AF area (step S40). If it is equal to or greater than a certain range (Yes in step S40), the AF processing unit 42 generates two images in the area where no ghost occurs in both the main pixel data and subpixel data in the AF area specified in step S32. Phase difference AF processing is performed based on the signal of the AF area of the image (step S42).
  • step S30 When the range in which the signal amount in the AF area has a difference occupies a certain amount or more of the entire AF area (Yes in step S30), and the region specified in step S32 occupies a certain range or more in the AF area. If not (No in step S40), the CPU 40 determines an image with a small signal amount in the AF area as an AF target image and inputs the image to the AF processing unit 42. The AF processing unit 42 then selects the AF target image. Contrast AF processing is performed based on the image data in the AF area (step S16).
  • FIG. 14 (A) part is main pixel data, and (B) part is sub-pixel data. Since the position where the ghost is generated is different between the main pixel data and the sub pixel data, the area b where the ghost is not generated in the AF area a of the main pixel data is relatively large, but the area b in the AF area a of the sub pixel data is The area c where no ghost is generated is small.
  • step S12 If it is determined in step S12 that there is no difference in signal amount difference (No in step S12), if it is determined in step S12 that there is a difference in signal amount (Yes in step S12), and in step S14 If it is determined that the difference is not equal to or greater than a certain value (No in step S14), if no ghost has occurred or if the ghost is weak enough not to affect AF even if a ghost has occurred, that is, this Since there is no occurrence of ghost in the invention, the AF processing unit 42 performs phase difference AF processing based on the signals of the AF areas of the two images (step S18).
  • the phase difference AF process can be performed only when the process is sufficient. Therefore, the accuracy of AF processing can be increased, and erroneous focusing can be avoided.
  • the ghost The contrast AF process is performed based on the image data of the AF area of the image that has not occurred (step S16).
  • the contrast AF process may be performed on each of the two images. . Thereby, the accuracy can be further increased.
  • step S14 it is determined whether or not the difference in signal amount is greater than or equal to a certain value (step S14). If it is determined that the difference is greater than or equal to a certain value (Yes in step S14), the AF area It is determined whether or not a range having a difference in signal amount occupies a certain amount or more of the entire AF area (step S30), and if it does not occupy a certain amount or more (No in step S30), within the AF area The phase difference AF processing is performed based on the AF area signals of the two images in the region where no ghost occurs in both the main pixel data and the subpixel data (steps S32 to S42).
  • step S12 it is determined whether there is a difference in the signal amount in the AF area. If it is determined that there is a difference in the signal amount (Yes in step S12), there is a difference in the signal amount in the AF area. It may be determined whether or not the range occupies a certain amount or more of the entire AF area (step S30).
  • Ghost is detected for all images, but the ghost may be limited to a bright place (for example, outdoors) where sunlight can enter.
  • the brightness of a subject is confirmed, a ghost does not occur in a dark place, and a ghost discrimination process is not performed.
  • a monocular stereoscopic imaging device 10-4 according to a fifth embodiment will be described. Note that description of the same parts as those of the first embodiment is omitted.
  • an S1 ON signal is input to the CPU 40, and the CPU 40 performs an AE / AF operation via the AF processing unit 42 and the AE / AWB detection unit 44.
  • the CPU 40 first detects the brightness of the subject.
  • the brightness of the subject can be detected using the luminance signal (Y signal) of the image data for the right eye and the image data for the left eye that are continuously acquired. Since the method for detecting the brightness of the subject is already known, a description thereof will be omitted.
  • the CPU 40 determines whether the brightness of the subject is equal to or higher than a certain level.
  • the subject brightness is calculated based on the average integrated value calculated by the AE / AWB detection unit 44, and it can be determined whether the brightness of the subject is above a certain level based on the brightness. If the brightness of the right-eye image data and the left-eye image data as a whole is set to a value that can cause outdoor shooting, and the average brightness of the entire screen is equal to or greater than that brightness, the subject The brightness may be a certain level or more. Also, the brightness that the light source can take is set as a constant brightness, and if the right-eye image data and the left-eye image data have a part that exceeds that brightness, the brightness of the subject is above a certain level.
  • the photometry method performed by the AE / AWB detection unit 44 is not limited to the average photometry, and various photometry methods such as center filling photometry and spot photometry can be used, but in this embodiment, the photometry area used for automatic exposure is used. It is desirable to perform photometry with weight.
  • Ghosts may be limited to places with bright sunlight (for example, outdoors).
  • the brightness of the subject is confirmed, and it is assumed that no ghost occurs in a dark place, and no ghost discrimination process is performed. Note that the shorter the calculation time, the better. Therefore, it is desirable to perform the process of detecting the luminance of the subject first.
  • the CPU 40 performs a normal AF process, here a phase difference detection AF process using two images. .
  • the CPU 40 When the brightness of the subject is equal to or higher than a certain level, the CPU 40 performs an AF process shown in FIG. Note that the AF processing shown in FIG. 5 is the same as that of the monocular stereoscopic imaging device 10 according to the first embodiment, and a description thereof will be omitted.
  • the calculation time can be shortened. Since a certain amount of computation time is required to calculate the signal amount difference between the main image data and the sub-image data, it takes a long time to detect the ghost only when there is a possibility that a ghost may occur. Can be minimized.
  • CMOS complementary metal-oxide-semiconductor
  • left-right and vertical phase difference CCDs can be used instead of the left-right phase difference CCD as shown in FIG. 2, left-right and vertical phase difference CCDs can be used.
  • two desired images are selected such as an upper left image and an upper right image, an upper left image and a lower left image, and an upper left image and a lower right image.
  • a similar result can be obtained by performing the processing on the two selected images a plurality of times.
  • the present invention is not limited to the case where two images are acquired just because the description in the scope of claims refers to two images, and two or more images are not included.
  • a ghost is detected from the image data for the left eye and the image data for the right eye, and the AF process, the AE process, and the AWB process are changed accordingly.
  • the ghost is changed depending on whether or not the ghost is generated. It is not limited to these.
  • various processes based on image matching, such as face recognition and automatic tracking, may be changed according to whether or not a ghost has occurred.

Landscapes

  • Engineering & Computer Science (AREA)
  • Multimedia (AREA)
  • Signal Processing (AREA)
  • Physics & Mathematics (AREA)
  • Optics & Photonics (AREA)
  • General Physics & Mathematics (AREA)
  • Computer Vision & Pattern Recognition (AREA)
  • Spectroscopy & Molecular Physics (AREA)
  • Studio Devices (AREA)
  • Testing, Inspecting, Measuring Of Stereoscopic Televisions And Televisions (AREA)
  • Stereoscopic And Panoramic Photography (AREA)
  • Automatic Focus Adjustment (AREA)
  • Focusing (AREA)
  • Color Television Image Signal Generators (AREA)
  • Exposure Control For Cameras (AREA)
PCT/JP2012/065835 2011-08-30 2012-06-21 撮影装置及び撮影方法 Ceased WO2013031349A1 (ja)

Priority Applications (4)

Application Number Priority Date Filing Date Title
EP12827699.5A EP2753062A4 (en) 2011-08-30 2012-06-21 IMAGING DEVICE AND IMAGING METHOD
JP2013531139A JP5536959B2 (ja) 2011-08-30 2012-06-21 撮影装置、撮影方法及びプログラム
CN201280042540.5A CN103918249B (zh) 2011-08-30 2012-06-21 成像装置和成像方法
US14/186,510 US9185389B2 (en) 2011-08-30 2014-02-21 Imaging device and imaging method

Applications Claiming Priority (2)

Application Number Priority Date Filing Date Title
JP2011187561 2011-08-30
JP2011-187561 2011-08-30

Related Child Applications (1)

Application Number Title Priority Date Filing Date
US14/186,510 Continuation US9185389B2 (en) 2011-08-30 2014-02-21 Imaging device and imaging method

Publications (1)

Publication Number Publication Date
WO2013031349A1 true WO2013031349A1 (ja) 2013-03-07

Family

ID=47755861

Family Applications (1)

Application Number Title Priority Date Filing Date
PCT/JP2012/065835 Ceased WO2013031349A1 (ja) 2011-08-30 2012-06-21 撮影装置及び撮影方法

Country Status (5)

Country Link
US (1) US9185389B2 (enExample)
EP (1) EP2753062A4 (enExample)
JP (2) JP5536959B2 (enExample)
CN (1) CN103918249B (enExample)
WO (1) WO2013031349A1 (enExample)

Cited By (2)

* Cited by examiner, † Cited by third party
Publication number Priority date Publication date Assignee Title
CN104717476A (zh) * 2013-12-11 2015-06-17 佳能株式会社 图像处理方法、图像处理装置和图像捕获装置
JP2015207851A (ja) * 2014-04-18 2015-11-19 キヤノン株式会社 画像処理方法、画像処理装置、撮像装置、画像処理プログラム、および、記憶媒体

Families Citing this family (8)

* Cited by examiner, † Cited by third party
Publication number Priority date Publication date Assignee Title
US10063829B2 (en) 2014-04-18 2018-08-28 Canon Kabushiki Kaisha Image processing method, image processing apparatus, image pickup apparatus, and non-transitory computer-readable storage medium
CN105763805B (zh) * 2016-02-29 2019-03-08 Oppo广东移动通信有限公司 控制方法、控制装置及电子装置
CN106651798B (zh) * 2016-12-16 2020-04-28 四川长虹电器股份有限公司 一种有效的图像镜面反射移除方法
JP6921567B2 (ja) * 2017-03-15 2021-08-18 オリンパス株式会社 画像処理装置、撮像装置、画素異常検出方法およびプログラム
US20180288306A1 (en) * 2017-03-30 2018-10-04 Qualcomm Incorporated Mask-less phase detection autofocus
KR102513680B1 (ko) * 2018-06-08 2023-03-24 엘지이노텍 주식회사 카메라 모듈 및 그의 깊이 정보 추출 방법
JP7743236B2 (ja) * 2021-09-14 2025-09-24 キヤノン株式会社 交換レンズ、及び撮像装置
CN114549870B (zh) * 2022-02-17 2024-11-22 山东大学 一种基于质心点搜索的动态点云快速全局运动匹配方法及系统

Citations (6)

* Cited by examiner, † Cited by third party
Publication number Priority date Publication date Assignee Title
JP2001356260A (ja) * 2000-06-15 2001-12-26 Olympus Optical Co Ltd ピント合わせ装置及び測距装置
JP2005091865A (ja) 2003-09-18 2005-04-07 Olympus Corp 被写界深度拡大システム
JP2008054206A (ja) 2006-08-28 2008-03-06 Matsushita Electric Ind Co Ltd ゴースト検出装置およびその関連技術
JP2008228181A (ja) 2007-03-15 2008-09-25 Canon Inc 画像処理装置、撮像装置及び画像処理プログラム
JP2010139942A (ja) * 2008-12-15 2010-06-24 Sony Corp 撮像装置および合焦制御方法
JP2011205531A (ja) * 2010-03-26 2011-10-13 Fujifilm Corp 立体撮像装置、ゴースト像処理装置およびゴースト像処理方法

Family Cites Families (14)

* Cited by examiner, † Cited by third party
Publication number Priority date Publication date Assignee Title
US4743932A (en) * 1985-06-24 1988-05-10 Minolta Camera Kabushiki Kaisha Focus detection device for a camera
US4980716A (en) * 1988-04-28 1990-12-25 Canon Kabushiki Kaisha Focus detecting device
JP2762463B2 (ja) * 1988-06-10 1998-06-04 キヤノン株式会社 焦点検出装置
US5532755A (en) * 1994-01-05 1996-07-02 Samsung Electronics Co., Ltd. Apparatus for suppressing ghosts in signals modulating a carrier in quadrature phasing with a video carrier
JP4560173B2 (ja) * 2000-05-30 2010-10-13 キヤノン株式会社 焦点検出装置
CN100460919C (zh) * 2005-11-07 2009-02-11 佳能株式会社 光学装置
US7660477B2 (en) * 2006-02-28 2010-02-09 Cisco Technology, Inc. Multiple image artifact correction of images for a display having a partially-silvered surface
JP2007304525A (ja) * 2006-05-15 2007-11-22 Ricoh Co Ltd 画像入力装置および電子機器および画像入力方法
JP5066851B2 (ja) * 2006-07-05 2012-11-07 株式会社ニコン 撮像装置
JP2008035324A (ja) * 2006-07-31 2008-02-14 Matsushita Electric Ind Co Ltd 撮像装置
JP5084322B2 (ja) * 2007-03-29 2012-11-28 キヤノン株式会社 撮像装置及びその制御方法
JP2009115893A (ja) * 2007-11-02 2009-05-28 Canon Inc 撮像装置
JP5317562B2 (ja) * 2008-07-17 2013-10-16 キヤノン株式会社 位相差検出装置、撮像装置、位相差検出方法、位相差検出プログラム
KR101248908B1 (ko) * 2010-03-24 2013-03-28 삼성전자주식회사 자동초점 검출장치, 이를 적용한 카메라, 및 피사체 거리 산출방법

Patent Citations (6)

* Cited by examiner, † Cited by third party
Publication number Priority date Publication date Assignee Title
JP2001356260A (ja) * 2000-06-15 2001-12-26 Olympus Optical Co Ltd ピント合わせ装置及び測距装置
JP2005091865A (ja) 2003-09-18 2005-04-07 Olympus Corp 被写界深度拡大システム
JP2008054206A (ja) 2006-08-28 2008-03-06 Matsushita Electric Ind Co Ltd ゴースト検出装置およびその関連技術
JP2008228181A (ja) 2007-03-15 2008-09-25 Canon Inc 画像処理装置、撮像装置及び画像処理プログラム
JP2010139942A (ja) * 2008-12-15 2010-06-24 Sony Corp 撮像装置および合焦制御方法
JP2011205531A (ja) * 2010-03-26 2011-10-13 Fujifilm Corp 立体撮像装置、ゴースト像処理装置およびゴースト像処理方法

Non-Patent Citations (1)

* Cited by examiner, † Cited by third party
Title
See also references of EP2753062A4

Cited By (5)

* Cited by examiner, † Cited by third party
Publication number Priority date Publication date Assignee Title
CN104717476A (zh) * 2013-12-11 2015-06-17 佳能株式会社 图像处理方法、图像处理装置和图像捕获装置
US9684954B2 (en) 2013-12-11 2017-06-20 Canon Kabushiki Kaisha Image processing method, image processing apparatus, image capturing apparatus and non-transitory computer-readable storage medium
CN104717476B (zh) * 2013-12-11 2017-11-17 佳能株式会社 图像处理方法、图像处理装置和图像捕获装置
US10049439B2 (en) 2013-12-11 2018-08-14 Canon Kabushiki Kaisha Image processing method, image processing apparatus, image capturing apparatus and non-transitory computer-readable storage medium
JP2015207851A (ja) * 2014-04-18 2015-11-19 キヤノン株式会社 画像処理方法、画像処理装置、撮像装置、画像処理プログラム、および、記憶媒体

Also Published As

Publication number Publication date
US20140168387A1 (en) 2014-06-19
JP5536959B2 (ja) 2014-07-02
US9185389B2 (en) 2015-11-10
EP2753062A1 (en) 2014-07-09
JP5871989B2 (ja) 2016-03-01
JP2014171236A (ja) 2014-09-18
CN103918249A (zh) 2014-07-09
JPWO2013031349A1 (ja) 2015-03-23
CN103918249B (zh) 2017-06-23
EP2753062A4 (en) 2015-02-11

Similar Documents

Publication Publication Date Title
JP5871989B2 (ja) 撮影装置、撮影方法及びプログラム
JP5192096B2 (ja) 立体撮像装置
JP5421829B2 (ja) 撮像装置
US8885026B2 (en) Imaging device and imaging method
JP5180407B2 (ja) 立体撮像装置および視差画像復元方法
JP5368350B2 (ja) 立体撮像装置
JP5502205B2 (ja) 立体撮像装置および立体撮像方法
JP5469258B2 (ja) 撮像装置および撮像方法
JP5284306B2 (ja) 立体撮像装置、ゴースト像処理装置およびゴースト像処理方法
JP2011199755A (ja) 撮像装置
US9124875B2 (en) Stereoscopic imaging apparatus
WO2012002298A1 (ja) 撮像装置および撮像方法
JP5595505B2 (ja) 立体撮像装置および立体撮像方法
JP5457240B2 (ja) 立体撮像装置
JP2012124650A (ja) 撮像装置および撮像方法
JP2014063190A (ja) 撮像装置
JP5649837B2 (ja) 立体撮像装置

Legal Events

Date Code Title Description
121 Ep: the epo has been informed by wipo that ep was designated in this application

Ref document number: 12827699

Country of ref document: EP

Kind code of ref document: A1

ENP Entry into the national phase

Ref document number: 2013531139

Country of ref document: JP

Kind code of ref document: A

NENP Non-entry into the national phase

Ref country code: DE