WO2013027533A1 - 車両用ウインドウシェード装置 - Google Patents

車両用ウインドウシェード装置 Download PDF

Info

Publication number
WO2013027533A1
WO2013027533A1 PCT/JP2012/069082 JP2012069082W WO2013027533A1 WO 2013027533 A1 WO2013027533 A1 WO 2013027533A1 JP 2012069082 W JP2012069082 W JP 2012069082W WO 2013027533 A1 WO2013027533 A1 WO 2013027533A1
Authority
WO
WIPO (PCT)
Prior art keywords
shaft
window shade
support
screw
winding
Prior art date
Legal status (The legal status is an assumption and is not a legal conclusion. Google has not performed a legal analysis and makes no representation as to the accuracy of the status listed.)
Ceased
Application number
PCT/JP2012/069082
Other languages
English (en)
French (fr)
Japanese (ja)
Inventor
裕規 石田
Current Assignee (The listed assignees may be inaccurate. Google has not performed a legal analysis and makes no representation or warranty as to the accuracy of the list.)
Ashimori Industry Co Ltd
Original Assignee
Ashimori Industry Co Ltd
Priority date (The priority date is an assumption and is not a legal conclusion. Google has not performed a legal analysis and makes no representation as to the accuracy of the date listed.)
Filing date
Publication date
Application filed by Ashimori Industry Co Ltd filed Critical Ashimori Industry Co Ltd
Publication of WO2013027533A1 publication Critical patent/WO2013027533A1/ja
Anticipated expiration legal-status Critical
Ceased legal-status Critical Current

Links

Images

Classifications

    • BPERFORMING OPERATIONS; TRANSPORTING
    • B60VEHICLES IN GENERAL
    • B60JWINDOWS, WINDSCREENS, NON-FIXED ROOFS, DOORS, OR SIMILAR DEVICES FOR VEHICLES; REMOVABLE EXTERNAL PROTECTIVE COVERINGS SPECIALLY ADAPTED FOR VEHICLES
    • B60J1/00Windows; Windscreens; Accessories therefor
    • B60J1/20Accessories, e.g. wind deflectors, blinds
    • B60J1/2011Blinds; curtains or screens reducing heat or light intensity
    • B60J1/2013Roller blinds
    • B60J1/2036Roller blinds characterised by structural elements
    • B60J1/2038Storage boxes
    • BPERFORMING OPERATIONS; TRANSPORTING
    • B60VEHICLES IN GENERAL
    • B60JWINDOWS, WINDSCREENS, NON-FIXED ROOFS, DOORS, OR SIMILAR DEVICES FOR VEHICLES; REMOVABLE EXTERNAL PROTECTIVE COVERINGS SPECIALLY ADAPTED FOR VEHICLES
    • B60J1/00Windows; Windscreens; Accessories therefor
    • B60J1/20Accessories, e.g. wind deflectors, blinds
    • B60J1/2011Blinds; curtains or screens reducing heat or light intensity
    • B60J1/2013Roller blinds
    • B60J1/2036Roller blinds characterised by structural elements
    • B60J1/205Winding tubes, e.g. telescopic tubes or conically shaped tubes
    • BPERFORMING OPERATIONS; TRANSPORTING
    • B60VEHICLES IN GENERAL
    • B60JWINDOWS, WINDSCREENS, NON-FIXED ROOFS, DOORS, OR SIMILAR DEVICES FOR VEHICLES; REMOVABLE EXTERNAL PROTECTIVE COVERINGS SPECIALLY ADAPTED FOR VEHICLES
    • B60J1/00Windows; Windscreens; Accessories therefor
    • B60J1/20Accessories, e.g. wind deflectors, blinds
    • B60J1/2011Blinds; curtains or screens reducing heat or light intensity
    • B60J1/2013Roller blinds
    • B60J1/2063Mounting arrangements for roller blind or its storage box, e.g. integration into beltline or window frame

Definitions

  • the present invention relates to a vehicle window shade device that covers a vehicle window so as to be shielded and openable.
  • a typical vehicle window shade device includes a winding shaft disposed along a lower edge of the window, and a shade wound around the winding shaft. And the shade pulled out from the winding shaft shields the window.
  • Patent Documents 1 and 2 disclose a technique for moving the winding shaft along the axial direction in accordance with the withdrawal of the shade.
  • the winding shaft is rotatably supported by screwing a screw into a screw hole formed in the winding shaft.
  • the winding shaft rotates in accordance with the withdrawal of the shade, the winding shaft moves along the axial direction by the screwed structure of the screw and the screw hole.
  • the winding shaft is moved along the axial direction in accordance with the degree of withdrawal of the shade, so that the gap between the side edge of the shade and the side edge of the window is made as small as possible.
  • the screw By the way, from the viewpoint of weight reduction and the like, it is preferable to form the screw with a resin.
  • the problem of resin sinking will be prominent and it will be difficult to form an accurate screw groove. That is, there is a restriction on the resin thickness in order to form the screw groove with high accuracy. Therefore, in order to form a highly accurate screw groove, it is preferable to hollow the inside of the screw.
  • the present invention aims to improve the accuracy of the screw portion and the strength of the screw portion when the screw portion that supports the winding shaft so as to move in the axial direction is formed of resin. To do.
  • a first aspect is a vehicle window shade device that covers a window so that the window can be shielded and opened, and a window shade that can shield the window, and a winding that can wind the window shade.
  • An urging mechanism for urging the winding shaft in the direction of winding the window shade is provided on at least one end side.
  • the second aspect is the vehicle window shade device according to the first aspect, wherein the reinforcing shaft is made of metal.
  • a third aspect is a vehicle window shade device according to the first or second aspect, wherein the reinforcing shaft is inserted into the screw support shaft as an insert when the screw support shaft is molded by a mold. Inserted.
  • a 4th aspect is a vehicle window shade apparatus which concerns on the 1st or 2nd aspect, Comprising:
  • the said screw support shaft is integral with a shaft support part in the protrusion attitude
  • the reinforcing shaft is inserted into the central hole of the screw support shaft through the shaft support portion, and a head is formed on the reinforcement shaft that contacts the shaft support portion from the outside.
  • a fifth aspect is a vehicle window shade device according to any one of the first, second, and fourth aspects, wherein the screw support shaft is in a protruding posture to rotatably support the winding shaft. It is integrally formed with respect to the shaft support part, the reinforcing shaft is inserted through the center hole of the screw support shaft through the shaft support part, and a cap receiving part is provided on the outer surface of the shaft support part. A cap member for pressing the reinforcing shaft toward the center hole in the attached state is further provided.
  • a 6th aspect is a vehicle window shade apparatus which concerns on a 5th aspect, Comprising: The said cap member is inserted in the direction orthogonal to the axial direction of the said reinforcement shaft with respect to the said cap receiving part. And attached to the cap receiving portion.
  • a seventh aspect is a vehicle window shade device according to any one of the first to sixth aspects, wherein at least one of the pair of support shafts is inserted into at least one end of the winding shaft.
  • One end portion of the biasing mechanism is connected to the biasing side support shaft so as not to rotate relative to the biasing side support shaft, and the other end portion is connected to the inside of the winding shaft so as not to rotate relative to the biasing side support shaft.
  • An urging member inserted into the winding shaft in a state and an elastic tube covering the urging member are provided, and an elastic ring is positioned and fixed to the urging side support shaft.
  • At least one end portion of the winding shaft has a screw hole
  • at least one of the pair of support shafts has a screw portion that is screwed into the screw hole. Therefore, the winding shaft can be moved along the axial direction according to the pulling degree of the window shade by the screwing structure.
  • at least one of the pair of support shafts is made of resin and has a center hole along the center axis of the threaded portion, the thickness of the threaded portion can be reduced to improve accuracy. Can do.
  • the reinforcement shaft is arrange
  • the reinforcing shaft is made of metal, the strength of the screw portion can be further improved.
  • the screw support shaft is used.
  • the support strength of the winding shaft is further improved.
  • the fifth aspect it is possible to easily prevent the reinforcing shaft from being removed by the cap member.
  • the cap member is attached to the cap receiving part by being inserted in a direction perpendicular to the axial direction of the reinforcing shaft with respect to the cap receiving part. It can be more easily and reliably retained.
  • the contact sound between the biasing member and the inner peripheral surface of the winding shaft can be suppressed by the elastic tube. Further, when the winding shaft moves along the axial direction, the elastic tube easily moves along the axial direction in the winding shaft. Therefore, the state where the elastic tube covers the urging member can be more reliably maintained by the elastic ring positioned and fixed to the urging side support shaft.
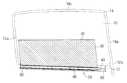
  • FIGS. 1 to 3 are explanatory views showing a state in which the vehicle window shade device 20 is attached to the vicinity of the window 10 of the vehicle
  • FIG. 1 is a state in which the window shade 30 is completely wound
  • FIG. FIG. 3 shows a state where the shade 30 is pulled out partway
  • FIG. 3 shows a state where the window shade 30 is completely pulled out.
  • the window 10 is a side window on the side of the rear seat, that is, a side window between the B pillar and the C pillar will be described. It may be.
  • the window 10 has an upper edge 12a of the door panel 12 that is a first frame, and one side frame that is a second frame that is inclined with respect to the edge 12a (here, inclined at an obtuse angle). 14a is disposed inside.
  • the window 10 is disposed in a window frame 14 above the door panel 12 so as to be opened and closed. That is, a window frame 14 is disposed above the upper edge portion 12a of the door panel 12 so as to surround both sides and the upper three sides of the upper region.
  • One side frame portion 14a of the window frame 14 (left side in FIGS. 1 to 3 and rear side in the vehicle) has an oblique posture that forms an obtuse angle from the rear end portion of the upper edge portion 12a of the door panel 12, in this case, the rear of the vehicle. It extends upward in a posture inclined to the side.
  • the other side frame portion 14b of the window frame 14 (the right side in FIGS.
  • the front side in the vehicle has an oblique posture with an acute angle from the front end portion of the upper edge portion 12a of the door panel 12, in this case, the rear of the vehicle. It extends upward in a posture inclined to the side. That is, one side frame portion 14a and the other side frame portion 14b are in a parallel posture. However, it is not essential that the side frame portions 14a and 14b are in a parallel posture.
  • the upper frame portion 14c of the window frame 14 is disposed in an oblique (slightly oblique) posture with respect to the upper edge portion 12a of the door panel 12 and spaced from the upper edge portion 12a. But the upper frame part 14c of the window frame 14 may be a parallel attitude
  • the window 10 is provided so as to be openable and closable from the door panel 12 into the window frame 14. In a state where the window 10 is closed so as to cover the entire inside of the window frame 14, the exposed area of the window 10 is an internal area surrounded by the edge 12 a of the door panel 12 and the window frame 14.
  • the vehicle window shade device 20 relates to a technique for reducing the gap between the window shade 30 and the one side frame portion 14a in the vicinity of the one side frame portion 14a as much as possible.
  • the winding shaft 40 that winds up the window shade 30 is disposed along the edge 12 a of the door panel 12.
  • the take-up shaft 40 moves in the axial direction, that is, along the upper edge 12 a of the door panel 12 in accordance with the degree of drawing out of the window shade 30. That is, in a state where the window shade 30 is completely wound around the winding shaft 40, the winding shaft 40 exists at a position away from the one side frame portion 14a. In this state, a gap is formed between the winding shaft 40 and the one side frame portion 14a, and the window shade 30 is wound around the winding shaft 40 in a state of extending to the gap. (See FIG. 1).
  • the winding shaft 40 moves toward the one side frame portion 14a along the axial direction.
  • the edge portion along the one side frame portion 14a of the window shade 30 moves to the one side frame portion 14a side.
  • a gap between the side edge portion on the one side frame portion 14a side of the window shade 30 and the one side frame portion 14a can be narrowed (see FIG. 2).
  • the winding shaft 40 further moves toward the one side frame portion 14a along the axial direction. Concurrently with this movement, the edge portion of the window shade 30 along the one side frame portion 14a further moves to the one side frame portion 14a side. By this movement, a gap between the side edge portion on the one side frame portion 14a side of the window shade 30 and the one side frame portion 14a can be narrowed (see FIG. 3).
  • FIG. 4 is a transparent perspective view showing the vehicle window shade device 20
  • FIG. 5 is an exploded perspective view of one end portion of the vehicle window shade device 20
  • FIG. 6 is the other end side of the vehicle window shade device 20. It is a disassembled perspective view of a part.
  • the window shade 30 is abbreviate
  • the vehicle window shade device 20 includes a window shade 30, a winding shaft 40, a screw support shaft 50 and an urging side support shaft 60 as a pair of support shafts, a reinforcing shaft 70, and an urging mechanism 80. I have.
  • the window shade 30 is a sheet-like member formed by cutting and sewing materials such as a mesh cloth and a resin sheet (see FIG. 3).
  • the window shade 30 is formed in a size and shape that covers an exposed portion surrounded by the edge 12 a of the door panel 12 and the window frame 14 in the window 10.
  • the window shade 30 preferably has a size and a shape that can shield almost the entire window 10, but can have a shape and size that shields a part of the window 10, or a plurality of windows can be shielded collectively. It may be formed in a shape and size.
  • the drawer length of the window shade 22 is, for example, 400 mm to 500 mm.
  • the stay 32 is attached to the end of the window shade 30 in the drawing direction.
  • the window shade 30 is wound up by the winding shaft 40 and is drawn upward along the window 10 from the winding shaft 40, the upper end portion of the window shade 30 is the drawing direction side end portion.
  • the stay 32 is disposed in a drawer slit 46h of the case 46 described later or in an opening thereof.
  • the stay 32 is provided with a hook portion (not shown) that can be locked to a locked portion provided in the upper frame portion 14 c of the window frame 14.
  • the window shade 30 is maintained in the state pulled out by latching the said hook part to the said to-be-latched part.
  • the winding shaft 40 is configured to be able to wind the window shade 30. More specifically, the winding shaft 40 includes a shaft main body 41, a screw support bearing 42, and a bearing 43.
  • the length dimension of the winding shaft 40 is smaller than the length dimension of the edge 12a of the door panel 12 and the length dimension of the case 46 described later. Therefore, the winding shaft 40 can be moved along the longitudinal direction of the edge portion 12a and the case 46 in a state where the winding shaft 40 is disposed in a posture along the longitudinal direction of the edge portion 12a and the case 46.
  • the shaft body 41 is formed on a cylindrical member made of metal or the like. On the inner peripheral portion of the shaft main body 41, a ridge extending along the longitudinal direction is formed.
  • the screw support bearing 42 is formed in a cylindrical shape that can be inserted into one end of the shaft body 41 (see FIG. 5).
  • a spline groove 42 a is formed in the outer peripheral portion of the screw support bearing 42 along the axial direction thereof.
  • the protrusion on the inner peripheral portion of the shaft main body 41 is fitted into the spline groove 42 a, and the screw support bearing 42 is inserted into the shaft main body 41.
  • the rotation is stopped.
  • a flange 42 b is formed at one end of the screw support bearing 42.
  • the screw support bearing 42 In a state where the screw support bearing 42 is inserted into one end portion of the shaft main body portion 41, the flange portion 42b contacts the one end side opening portion of the shaft main body portion 41, whereby the screw support bearing 42 is positioned in the axial direction. ing. Further, a screw hole 42 s formed with a screw groove into which a screw portion 51 of a screw support shaft 50 described later can be screwed is formed in the inner peripheral portion of the screw support bearing 42.
  • the bearing 43 is formed in a cylindrical shape that can be inserted into the other end of the shaft main body 41 (see FIG. 6).
  • a spline groove 43 a is formed in the outer peripheral portion of the bearing 43 along the axial direction thereof.
  • the protrusion on the inner peripheral portion of the shaft main body 41 is fitted into the spline groove 43 a, and the bearing 43 rotates with respect to the shaft main body 41. It has come to be stopped.
  • a flange 43 b is formed at one end of the bearing 43.
  • the flange portion 43b contacts the other end side opening portion of the shaft main body portion 41, thereby positioning the bearing 43 in the axial direction.
  • an insertion hole 43h through which an urging-side support shaft 60 described later can be rotatably inserted is formed in the inner peripheral portion of the bearing 43.
  • the take-up shaft 40 is accommodated in the case 46.
  • the case 46 is a long member formed of a metal such as aluminum, a cylindrical portion 47 that can accommodate the winding shaft 40 and the window shade 30 wound around the winding shaft 40, and a pair of flange portions. 48 (see FIGS. 5 and 6).
  • a slit is formed in one side portion of the cylindrical portion 47, and a pair of flange portions 48 are formed so as to extend outward from both side edge portions sandwiching the slit.
  • An extraction slit 46 h is formed by the space formed between the slit formed in the tubular portion 47 and the pair of flange portions 48.
  • the window shade 30 is pulled out and wound up through the main drawing slit 46h, and the stay 32 is disposed in the opening of the drawing slit 46h or inside the window shade 30 in a state where the window shade 30 is completely wound up.
  • the case 46 is formed with a screw stop 45 to which the screw S can be screwed (see FIG. 6).
  • the screwing portion 45 projects a part of the case 46 into a thin cylindrical shape extending along the longitudinal direction thereof. This is not essential.
  • a shaft support portion 54 of the screw support shaft 50 and a shaft support portion 54B of the urging side support shaft 50, which will be described later, are screwed and fixed using the main screw fixing portion 45. That is, the case 46 has a role of fixing the shaft support portions 54 and 54B in a state in which the rotation is restricted at both ends of the winding shaft 40.
  • FIG. 7 is a longitudinal sectional view showing one end portion of the vehicle window shade device 20, and FIGS. 9 and 10 are exploded perspective views showing the cap receiving portion 56 and the cap member 74.
  • the screw support shaft 50 is configured to rotatably support one end portion of the winding shaft 40.
  • the screw support shaft 50 is formed as a rod-shaped member made of resin. Nylon resin etc. can be used as resin.
  • a screw groove is formed in the entire longitudinal direction of the outer periphery of the screw support shaft 50, and the entire longitudinal direction of the screw support shaft 50 is a screw portion 51.
  • a part of the screw support shaft 50 may be a screw portion.
  • the length dimension of the screw part 51 is determined by the length dimension (for example, 40 mm) to which the winding shaft 40 is to be moved.
  • a central hole 52 is formed along the central axis of the screw support shaft 50.
  • the center hole 52 is opened at one end of the screw support shaft 50 (the end facing the outside in the support state of the winding shaft 40) and closed at the other end.
  • the center hole 52 is a non-through hole.
  • the center hole 52 may be a hole that penetrates the screw support shaft 50.
  • the center hole 52 is formed in a portion of the screw portion 51 that is screwed with the screw hole 42s. This is because it is preferable to reduce the thickness of this portion to increase the accuracy of the screw portion 51.
  • the diameter of the screw support shaft 50 is set according to a length dimension or the like where the window shade 22 is to be wound by one winding of the winding shaft 40.
  • the diameter of the center hole 52 is set according to the thickness or the like that is preferable for the screw support shaft 50 in terms of accuracy when processing the resin.
  • An example of the diameter of the screw support shaft 50 is 8 mm, and the diameter of the hollow hole 52 in this case is 3 mm, for example.
  • the thickness of the screw support shaft 50 can be about 2.5 mm, and the screw portion 51 having a groove depth of about 1 mm can be formed with high accuracy.
  • the center hole 52 does not need to be a circular hole and may be a square hole or the like.
  • the screw support shaft 50 is integrally formed with a mold together with a shaft support portion 54 by a resin.
  • the shaft support portion 54 is a member that can be fixed to one end portion of the case 46 by screws or the like.
  • the screw support shaft 50 is integrally formed in a projecting posture with respect to the shaft support portion 54, thereby supporting the winding shaft 40 in a rotatable manner.
  • the shaft support portion 54 is formed as a plate-like member capable of closing the one end side opening of the case 46. More specifically, the shaft support portion 54 is formed in a plate shape in which the protruding plate portion 54b protrudes from the outer peripheral portion of the disc portion 54a (see FIGS. 9 and 10).
  • the disc portion 54a is formed in a plate-like portion that can close one end of the cylindrical portion 47
  • the protruding plate portion 54b is formed in a plate-like portion that can close one-end openings of the pair of flange portions 48.
  • the screw support shaft 50 protrudes from the central portion of the disc portion 54a in a posture orthogonal to the disc portion 54a.
  • a screw retaining piece 54c having a screw insertion hole is provided on the outer periphery of the shaft support portion 54 so as to project. Then, with the shaft support portion 54 disposed so as to close the opening on the one end side of the case 46, the screw S is inserted into the screw stop piece 54c and screwed into the screw stop portion 45 of the case 46. The shaft support portion 54 is attached and fixed to one end portion of the case 46. In this state, the screw support shaft 50 projecting from the shaft support portion 54 is disposed along the central axis of the tubular portion 47.
  • the screw support shaft 50 is screwed into the screw hole 42 s of the screw support bearing 42 of the take-up shaft 40, so that one end of the take-up shaft 40 can be rotated in the cylindrical portion 47 and accompanying the rotation. It is supported so as to be movable in the axial direction.
  • a hole-like mold surface 104 in which screw grooves are formed is formed in the mold 102.
  • the outer shape of the screw support shaft 50 may be formed on the mold surface 104.
  • the mold 102 can be released from the outer peripheral surface of the screw support shaft 50 by rotating the mold 102 relative to the screw support shaft 50 along the spiral direction A of the screw.
  • the reinforcing shaft 70 is configured to be able to be inserted into the center hole 52. That is, the reinforcing shaft 70 is formed as a rod-shaped member that can be inserted into the center hole 52 without a gap.
  • the length of the reinforcing shaft 70 is preferably the same as the length of the central hole 52, but this is not essential.
  • the reinforcing shaft 70 may have a length dimension that reaches the middle of the center hole 52.
  • the reinforcing shaft may be longer than the center hole and protrude from the tip of the screw support shaft.
  • the reinforcing shaft 70 is preferably formed of a metal such as iron or steel, but this is not essential and may be formed of resin or the like.
  • the reinforcing shaft 70 will be described with an example made of metal.
  • a head 72 is formed at one end of the reinforcing shaft 70.
  • the head 72 is formed in a disk-like portion that protrudes over the entire outer periphery of one end of the reinforcing shaft 70.
  • the head 72 has a role of positioning the reinforcing shaft 70 in the direction of insertion into the center hole 52.
  • a cap receiving portion 56 is provided on the outer surface of the shaft support portion 54, and a cap member 74 is attached to the cap receiving portion 56. It is like that.
  • the cap member 74 presses the head 72 toward the center hole 52, thereby preventing the reinforcing shaft 70 from coming off. Note that the presence of the head 72 is not essential. Even when there is no head 72, the outward end of the reinforcing shaft 70 is pressed toward the center hole 52 by the same configuration as the cap receiving portion 74 and the cap member 74, so that the reinforcing shaft 70 can be prevented from being detached. it can.
  • a semicircular receiving wall portion 56a is formed on the outer surface of the shaft support portion 54 so as to surround the opening of the center hole 52 opened on the outer surface (see FIG. 9).
  • the head 72 is brought into contact with the outer surface of the shaft support portion 54 in the receiving wall portion 56a.
  • the protrusion part 56b which protrudes toward the inner peripheral side is formed in the part away from the outer surface of the shaft support part 54 among the inner peripheral parts of the receiving wall part 56a.
  • the protruding portion 56b protrudes outward (upward in FIG. 9) at both end portions of the receiving wall portion 56a.
  • the cap member 74 is a member formed of resin or the like, and has a cap main body 74a and a protrusion 74c (see FIGS. 9 and 10).
  • the cap main body 74 a is formed so as to be disposed in the receiving wall portion 56 a and has a recess 74 b that can accommodate the head 72.
  • the protrusion 74c is provided so as to protrude from one main surface of the cap main body 74a and can be disposed in the protrusion 56b.
  • the reinforcing shaft 70 is inserted into the center hole 52, and the cap member 74 is inserted into the cap receiving portion 56 in a state where the head 72 is placed in contact with the outer surface of the shaft support portion 54. More specifically, the cap member 74 is inserted in a direction perpendicular to the axial direction of the reinforcing shaft 70 with respect to the cap receiving portion 56 (see arrow B in FIGS. 9 and 10), and the cap body portion 74a is inserted. It arrange
  • the reinforcing shaft 70 may be fixed in the center hole 52 by an adhesive, screwing, or the like. Further, when forming the screw support shaft 50 as a mold, the reinforcing shaft 70 may be inserted as an insert.
  • FIG. 11 is a longitudinal sectional view showing the other end portion of the vehicle window shade device 20.
  • the biasing support shaft 60 is configured to rotatably support the other end of the winding shaft 40.
  • the urging side support shaft 60 is formed as a rod-shaped member made of resin. Unlike the screw support shaft 50, no screw groove is formed on the outer peripheral portion of the urging side support shaft 60.
  • a central hole 62 is formed along the central axis of the urging side support shaft 60.
  • the center hole 62 is opened at one end of the urging-side support shaft 60 (the end facing outward when the winding shaft 40 is supported) and closed at the other end. That is, the center hole 62 is a non-through hole.
  • the center hole 52 may be a hole that penetrates the urging side support shaft 60.
  • the center hole 62 may not be formed in the biasing side support shaft 60.
  • the urging side support shaft 60 is integrally formed with a mold together with the shaft support portion 54B.
  • As the resin nylon resin or the like can be used similarly to the screw support shaft 50.
  • the shaft support portion 54B is a member having a plane symmetrical structure with the shaft support portion 54.
  • the urging side support shaft 60 is integrally formed in a projecting posture with respect to the shaft support portion 54B.
  • the shaft support portion 54 ⁇ / b> B is attached and fixed to the other end portion of the case 46 with a screw S so that the other end side opening of the case 46 is closed.
  • the urging-side support shaft 60 protruding from the shaft support portion 54 ⁇ / b> B is disposed along the central axis of the tubular portion 47.
  • the urging-side support shaft 60 is fitted into the insertion hole 43h of the bearing 43 of the take-up shaft 40, so that the other end of the take-up shaft 40 can be rotated in the tubular portion 47 and moved in the axial direction thereof. Supported by In this state, the urging-side support shaft 60 is inserted into one end portion of the winding shaft 40.
  • the reinforcing shaft 70B is inserted into the center hole 62 of the bias side support shaft 60, and the strength of the bias side support shaft 60 is improved.
  • the reinforcing shaft 70B may be made of a metal such as iron or steel in the same manner as the reinforcing shaft 70.
  • a cap receiving portion 56B is provided on the outer surface of the shaft support portion 54B, and the cap member 74B is attached to the cap receiving portion 56. Thereby, the reinforcing shaft 70B is prevented from coming off.
  • the shaft support portion 54B, the reinforcing shaft 70B, the cap receiving portion 56B, and the cap member 74B are members having a plane symmetrical structure with the shaft supporting portion 54, the reinforcing shaft 70, the cap receiving portion 56, and the cap member 74, respectively. Then, those detailed explanations are omitted.
  • the winding shaft 40 is attached to the end of the winding shaft 40 that is supported by the biasing support shaft 60, and the window shade 30 is attached.
  • An urging mechanism 80 for urging in the winding direction is provided.
  • the urging mechanism 80 includes a coil spring 82 as an urging member and an elastic tube 86 that covers the coil spring 82.
  • one end of the coil spring 82 is connected to one end of the biasing side support shaft 60.
  • the tip of the L-shaped portion at one end of the coil spring 82 is inserted through a hole formed at the tip of the urging-side support shaft 60 (see FIG. 11).
  • One end portion of 82 is connected to the tip end portion of the urging-side support shaft 60 so as not to be relatively rotatable.
  • the other end of the coil spring 82 is connected to the inside of the winding shaft 40 so as not to be relatively rotatable.
  • the connection is performed using a spring connecting member 88.
  • the spring connecting member 88 is formed as a long member that can be inserted into the shaft main body 41.
  • a spline groove 88a is formed along at least a part of the outer peripheral portion of the spring connecting member 88 along the axial direction thereof. Then, in a state where the spring connecting member 88 is disposed in the shaft main body 41, the protrusion on the inner peripheral portion of the shaft main body 41 is fitted into the spline groove 88a.
  • the spring connecting member 88 is prevented from rotating in a state in which the spring connecting member 88 can move along the axial direction in the shaft main body 41. Further, a hole extending along the radial direction is formed at one end portion of the spring coupling member 88, and the tip end portion (see FIG. 6) of the L-shaped portion at the other end portion of the coil spring 82 is inserted into the hole. As a result (see FIG. 11), the other end of the coil spring 82 is connected to the spring connecting member 88 so as not to be relatively rotatable.
  • the elastic tube 86 is a member formed of an elastomer such as rubber, and is formed in a cylindrical member that covers the coil spring 82.
  • the elastic tube 86 is formed in a length dimension that is larger than the natural length of the coil spring 82.
  • annular groove 62g is formed at a position intermediate from the portion where the coil spring 82 is connected in the urging side support shaft 60 (see FIG. 11), and the annular groove 62g is formed of an elastic material such as rubber.
  • the ring 89 is positioned and fixed.
  • the spring connecting member 88 is formed with a step portion 88s facing the coil spring 82 between a portion where the spline groove 88a is formed and a portion where the coil spring 82 is connected.
  • both ends of the elastic tube 86 are also attached to one end of the spring connecting member 88 and the end of the biasing side support shaft 60 on the side where the coil spring 82 is connected. It is fitted and disposed between the step 88s and the elastic ring 89.
  • the elastic tube 86 is regulated by the step 88s and the elastic ring 89 so as to be positioned between them.
  • the window shade 30 is completely wound around the winding shaft 40, and the entire window 10 is exposed (see FIGS. 1 and 4).
  • the winding shaft 40 exists at a position away from the one side frame portion 14a.
  • the other end portion of the winding shaft 40 reaches the other end portion of the case 46 and is located near the shaft support portion 54B.
  • the winding shaft 40 is further rotated along with the drawing.
  • the winding shaft 40 is further moved to one side frame portion 14a side by screwing the screw hole 42s of the screw supporting bearing 42 at one end of the winding shaft 40 and the screw supporting shaft 50 (FIGS. 3 and 13). reference).
  • the take-up shaft 40 reaches one end of the case 46 and is located near the shaft support 54. In this state, the window shade 30 is pulled out so as to cover almost the whole of the window 10, and the stay 32 at the leading end side in the pulling direction is attached to the upper frame portion 14c, so that the window shade 30 is maintained in the pulled-out state. Is done.
  • the winding shaft 40 When the window shade 30 is pulled out as described above, the winding shaft 40 is rotated relative to the urging-side support shaft 60, so that the spring is attached to the winding shaft 40 so as not to rotate relative thereto.
  • the coil spring 82 is twisted between the connecting member 88 and the biasing support shaft 60. Accordingly, when the force for pulling out the window shade 30 is released, the take-up shaft 40 is rotated in the direction for taking up the window shade 30 by the force for eliminating the twist of the coil spring 82, and the window shade 30 is taken up by the take-up shaft 40. Rolled up. At this time, the winding shaft 40 is moved in the opposite direction to the initial state by screwing with the screw hole 42 s of the screw support bearing 42 at one end of the winding shaft 40, and returns to the initial position.
  • the bearing 43 on the winding shaft 40 side moves with the urging side support shaft 60 as an axis, and the spring connecting member 88 moves in the shaft main body 41.
  • the elastic tube 86 is regulated so as to be positioned between the step portion 88s and the elastic ring 89, the state of covering the coil spring 82 is more reliably maintained.
  • the window shade 30 is pulled out by screwing between the screw hole 42 s formed in one end portion of the winding shaft 40 and the screw portion 51 of the screw support shaft 50.
  • the winding shaft 40 can be moved along the axial direction according to the degree, that is, the degree of rotation of the winding shaft 40.
  • the winding shaft 40 is disposed along the edge portion 12a which is the first frame portion, one side frame portion which is the second frame portion which is inclined with respect to the edge portion 12a. It is possible to make the gap between the side edge portion on the side frame portion 14a side of the window shade 30 as small as possible.
  • the screw support shaft 50 is made of resin, the weight can be reduced.
  • the center hole 52 is formed in the screw support shaft 50, the thickness of the screw support shaft 50 is made as small as possible to suppress resin sinking and the like, and the accuracy of the screw portion 51 formed in the screw support shaft 50 is improved. Can be achieved.
  • the reinforcing shaft 70 is inserted into the center hole 52, the strength of the screw portion 51 can be improved.
  • the reinforcing shaft 70 is made of metal, the strength of the screw portion 51 can be further improved.
  • the screw support shaft 50 is inserted. Can be more reliably supported in an orthogonal posture with respect to the shaft support portion 54, and the support strength of the winding shaft 40 by the screw support shaft 50 is further improved.
  • cap receiving portion 56 is provided on the outer surface of the shaft support portion 54, and the cap member 74 attached to the cap receiving portion 56 presses the head 72 toward the center hole 52. 70 can be secured.
  • the cap member 74 is inserted in the direction perpendicular to the axial direction of the reinforcing shaft 70 with respect to the cap receiving portion 56, the reinforcing shaft 70 can be more easily and reliably retained.
  • the reinforcing shaft 70B, the cap receiving part 56B, and the cap receiving part 56B are provided on the urging side support shaft 60 side, the same effects as described above can be obtained on the urging side support shaft 60 side. it can.
  • the elastic tube 86 covering the coil spring 82 may be displaced. Therefore, as in the present embodiment, the elastic ring 89 is positioned and fixed to the biasing side support shaft 60, whereby the displacement of the elastic tube 86 toward the biasing side support shaft 60 can be suppressed. Thereby, the state in which the elastic tube 86 covers the coil spring 82 is more reliably maintained, and the contact sound by the coil spring 82 is more reliably maintained.
  • the elastic ring 89 itself is formed of an elastomer such as a spring, it is difficult to generate a contact sound with the inner peripheral portion of the shaft main body 41. Further, the displacement of the elastic tube 86 to the inside of the shaft main body 41 is suppressed by the step portion 88 s of the spring connecting member 88.
  • screw support shafts 50 may be provided on both sides of the winding shaft 40.
  • biasing mechanism 80 may be incorporated on the screw support shaft 50 side. Further, it may be incorporated only on the screw support shaft 50 side.

Landscapes

  • Engineering & Computer Science (AREA)
  • Mechanical Engineering (AREA)
  • Operating, Guiding And Securing Of Roll- Type Closing Members (AREA)
PCT/JP2012/069082 2011-08-25 2012-07-27 車両用ウインドウシェード装置 Ceased WO2013027533A1 (ja)

Applications Claiming Priority (2)

Application Number Priority Date Filing Date Title
JP2011-183725 2011-08-25
JP2011183725A JP5936834B2 (ja) 2011-08-25 2011-08-25 車両用ウインドウシェード装置

Publications (1)

Publication Number Publication Date
WO2013027533A1 true WO2013027533A1 (ja) 2013-02-28

Family

ID=47746284

Family Applications (1)

Application Number Title Priority Date Filing Date
PCT/JP2012/069082 Ceased WO2013027533A1 (ja) 2011-08-25 2012-07-27 車両用ウインドウシェード装置

Country Status (2)

Country Link
JP (1) JP5936834B2 (enExample)
WO (1) WO2013027533A1 (enExample)

Cited By (1)

* Cited by examiner, † Cited by third party
Publication number Priority date Publication date Assignee Title
US10501988B2 (en) * 2017-02-02 2019-12-10 Hunter Douglas Inc. Power assist module for coverings for architectural structures

Families Citing this family (1)

* Cited by examiner, † Cited by third party
Publication number Priority date Publication date Assignee Title
KR102253655B1 (ko) * 2019-10-21 2021-05-18 코리아에프티 주식회사 자동차 윈도우용 차광 장치

Citations (5)

* Cited by examiner, † Cited by third party
Publication number Priority date Publication date Assignee Title
JP3092031U (ja) * 2002-08-09 2003-02-28 秀枝 陶 ロールスクリーンのレール装置
JP2009102916A (ja) * 2007-10-24 2009-05-14 Shikada Sangyo:Kk ロールスクリーン装置及び巻取制動方法
JP2011011688A (ja) * 2009-07-03 2011-01-20 Asmo Co Ltd 遮光装置
JP2011063229A (ja) * 2009-09-18 2011-03-31 Asmo Co Ltd 遮光装置
WO2011090042A1 (ja) * 2010-01-20 2011-07-28 芦森工業株式会社 サンシェード装置

Patent Citations (5)

* Cited by examiner, † Cited by third party
Publication number Priority date Publication date Assignee Title
JP3092031U (ja) * 2002-08-09 2003-02-28 秀枝 陶 ロールスクリーンのレール装置
JP2009102916A (ja) * 2007-10-24 2009-05-14 Shikada Sangyo:Kk ロールスクリーン装置及び巻取制動方法
JP2011011688A (ja) * 2009-07-03 2011-01-20 Asmo Co Ltd 遮光装置
JP2011063229A (ja) * 2009-09-18 2011-03-31 Asmo Co Ltd 遮光装置
WO2011090042A1 (ja) * 2010-01-20 2011-07-28 芦森工業株式会社 サンシェード装置

Cited By (1)

* Cited by examiner, † Cited by third party
Publication number Priority date Publication date Assignee Title
US10501988B2 (en) * 2017-02-02 2019-12-10 Hunter Douglas Inc. Power assist module for coverings for architectural structures

Also Published As

Publication number Publication date
JP5936834B2 (ja) 2016-06-22
JP2013043593A (ja) 2013-03-04

Similar Documents

Publication Publication Date Title
JP5646934B2 (ja) サンシェード装置
US8702150B2 (en) Tonneau cover apparatus
CN102712239B (zh) 遮阳装置
JP6433818B2 (ja) サンシェード装置の取付構造
JP5936834B2 (ja) 車両用ウインドウシェード装置
WO2014088022A1 (ja) シェード装置
JP2010273626A (ja) 魚釣用リール
JP2005157158A (ja) スクリーン装置
JP3337603B2 (ja) 魚釣用スピニングリール
JP2021010364A (ja) リールシート及びこれを備える釣り竿
KR20110100561A (ko) 차량용 블라인드장치
JP5700399B2 (ja) 回動軸部構造
WO2013073441A1 (ja) 車両用ウインドウシェード装置
JP6297809B2 (ja) 給電装置
JP6162017B2 (ja) 給電装置及び給電装置の組立方法
JP3815727B2 (ja) カバーシートの係止構造
JP6829612B2 (ja) スピニングリール
JP4995329B1 (ja) シート巻き取り装置用の巻き取り軸及びシート巻き取り装置
WO2015178244A1 (ja) ロールサンシェード装置
JP2014129032A (ja) シートベルト用リトラクタ
JP2010132106A (ja) 車両用ミラー装置
JP6373683B2 (ja) サンシェード
JP3162850U (ja) ロールシェード用ローラー装置
JP6151966B2 (ja) シート巻取装置の取付部構造
JP2011000898A (ja) 車両用サンバイザ

Legal Events

Date Code Title Description
121 Ep: the epo has been informed by wipo that ep was designated in this application

Ref document number: 12826458

Country of ref document: EP

Kind code of ref document: A1

NENP Non-entry into the national phase

Ref country code: DE

122 Ep: pct application non-entry in european phase

Ref document number: 12826458

Country of ref document: EP

Kind code of ref document: A1