WO2013002124A1 - X線管球及びx線ct装置 - Google Patents

X線管球及びx線ct装置 Download PDF

Info

Publication number
WO2013002124A1
WO2013002124A1 PCT/JP2012/065913 JP2012065913W WO2013002124A1 WO 2013002124 A1 WO2013002124 A1 WO 2013002124A1 JP 2012065913 W JP2012065913 W JP 2012065913W WO 2013002124 A1 WO2013002124 A1 WO 2013002124A1
Authority
WO
WIPO (PCT)
Prior art keywords
electron beam
ray
electron
rays
ray tube
Prior art date
Legal status (The legal status is an assumption and is not a legal conclusion. Google has not performed a legal analysis and makes no representation as to the accuracy of the status listed.)
Ceased
Application number
PCT/JP2012/065913
Other languages
English (en)
French (fr)
Japanese (ja)
Inventor
玄 近藤
Current Assignee (The listed assignees may be inaccurate. Google has not performed a legal analysis and makes no representation or warranty as to the accuracy of the list.)
Toshiba Corp
Canon Medical Systems Corp
Original Assignee
Toshiba Corp
Toshiba Medical Systems Corp
Priority date (The priority date is an assumption and is not a legal conclusion. Google has not performed a legal analysis and makes no representation as to the accuracy of the date listed.)
Filing date
Publication date
Application filed by Toshiba Corp, Toshiba Medical Systems Corp filed Critical Toshiba Corp
Priority to CN201280012576.9A priority Critical patent/CN103430630B/zh
Priority to US13/979,861 priority patent/US9418816B2/en
Publication of WO2013002124A1 publication Critical patent/WO2013002124A1/ja
Anticipated expiration legal-status Critical
Ceased legal-status Critical Current

Links

Images

Classifications

    • HELECTRICITY
    • H01ELECTRIC ELEMENTS
    • H01JELECTRIC DISCHARGE TUBES OR DISCHARGE LAMPS
    • H01J35/00X-ray tubes
    • H01J35/24Tubes wherein the point of impact of the cathode ray on the anode or anticathode is movable relative to the surface thereof
    • H01J35/30Tubes wherein the point of impact of the cathode ray on the anode or anticathode is movable relative to the surface thereof by deflection of the cathode ray
    • HELECTRICITY
    • H01ELECTRIC ELEMENTS
    • H01JELECTRIC DISCHARGE TUBES OR DISCHARGE LAMPS
    • H01J35/00X-ray tubes
    • H01J35/02Details
    • H01J35/14Arrangements for concentrating, focusing, or directing the cathode ray
    • H01J35/153Spot position control
    • AHUMAN NECESSITIES
    • A61MEDICAL OR VETERINARY SCIENCE; HYGIENE
    • A61BDIAGNOSIS; SURGERY; IDENTIFICATION
    • A61B6/00Apparatus or devices for radiation diagnosis; Apparatus or devices for radiation diagnosis combined with radiation therapy equipment
    • A61B6/02Arrangements for diagnosis sequentially in different planes; Stereoscopic radiation diagnosis
    • A61B6/03Computed tomography [CT]
    • A61B6/032Transmission computed tomography [CT]
    • AHUMAN NECESSITIES
    • A61MEDICAL OR VETERINARY SCIENCE; HYGIENE
    • A61BDIAGNOSIS; SURGERY; IDENTIFICATION
    • A61B6/00Apparatus or devices for radiation diagnosis; Apparatus or devices for radiation diagnosis combined with radiation therapy equipment
    • A61B6/40Arrangements for generating radiation specially adapted for radiation diagnosis
    • A61B6/4021Arrangements for generating radiation specially adapted for radiation diagnosis involving movement of the focal spot
    • AHUMAN NECESSITIES
    • A61MEDICAL OR VETERINARY SCIENCE; HYGIENE
    • A61BDIAGNOSIS; SURGERY; IDENTIFICATION
    • A61B6/00Apparatus or devices for radiation diagnosis; Apparatus or devices for radiation diagnosis combined with radiation therapy equipment
    • A61B6/40Arrangements for generating radiation specially adapted for radiation diagnosis
    • A61B6/4064Arrangements for generating radiation specially adapted for radiation diagnosis specially adapted for producing a particular type of beam
    • A61B6/4078Fan-beams
    • AHUMAN NECESSITIES
    • A61MEDICAL OR VETERINARY SCIENCE; HYGIENE
    • A61BDIAGNOSIS; SURGERY; IDENTIFICATION
    • A61B6/00Apparatus or devices for radiation diagnosis; Apparatus or devices for radiation diagnosis combined with radiation therapy equipment
    • A61B6/48Diagnostic techniques
    • A61B6/482Diagnostic techniques involving multiple energy imaging
    • HELECTRICITY
    • H01ELECTRIC ELEMENTS
    • H01JELECTRIC DISCHARGE TUBES OR DISCHARGE LAMPS
    • H01J35/00X-ray tubes
    • H01J35/02Details
    • H01J35/04Electrodes ; Mutual position thereof; Constructional adaptations therefor
    • H01J35/08Anodes; Anti cathodes
    • HELECTRICITY
    • H01ELECTRIC ELEMENTS
    • H01JELECTRIC DISCHARGE TUBES OR DISCHARGE LAMPS
    • H01J35/00X-ray tubes
    • H01J35/24Tubes wherein the point of impact of the cathode ray on the anode or anticathode is movable relative to the surface thereof
    • HELECTRICITY
    • H05ELECTRIC TECHNIQUES NOT OTHERWISE PROVIDED FOR
    • H05GX-RAY TECHNIQUE
    • H05G1/00X-ray apparatus involving X-ray tubes; Circuits therefor
    • H05G1/08Electrical details
    • H05G1/26Measuring, controlling or protecting
    • H05G1/30Controlling
    • H05G1/52Target size or shape; Direction of electron beam, e.g. in tubes with one anode and more than one cathode
    • HELECTRICITY
    • H01ELECTRIC ELEMENTS
    • H01JELECTRIC DISCHARGE TUBES OR DISCHARGE LAMPS
    • H01J2235/00X-ray tubes
    • H01J2235/06Cathode assembly
    • H01J2235/068Multi-cathode assembly
    • HELECTRICITY
    • H01ELECTRIC ELEMENTS
    • H01JELECTRIC DISCHARGE TUBES OR DISCHARGE LAMPS
    • H01J2235/00X-ray tubes
    • H01J2235/08Targets (anodes) and X-ray converters
    • H01J2235/086Target geometry
    • HELECTRICITY
    • H05ELECTRIC TECHNIQUES NOT OTHERWISE PROVIDED FOR
    • H05GX-RAY TECHNIQUE
    • H05G1/00X-ray apparatus involving X-ray tubes; Circuits therefor
    • H05G1/08Electrical details
    • H05G1/58Switching arrangements for changing-over from one mode of operation to another, e.g. from radioscopy to radiography, from radioscopy to irradiation or from one tube voltage to another

Definitions

  • the present invention relates to an X-ray tube apparatus used in an X-ray CT apparatus.
  • An X-ray computed tomography apparatus (hereinafter referred to as “X-ray CT apparatus”) irradiates a subject with X-rays and detects X-rays transmitted through the subject, thereby detecting X-rays within the subject. Projection data consisting of absorption coefficients is obtained.
  • the X-ray CT apparatus includes a multi-tube X-ray CT apparatus provided with a plurality of X-ray tubes (that is, X-ray tube apparatuses). Some of such X-ray apparatuses generate two different X-ray images in one scan by alternately exposing two X-rays having different energies. However, a multi-tube X-ray CT apparatus needs to include a plurality of X-ray tubes, which increases the scale of the apparatus and the manufacturing cost.
  • An object of the embodiment of the present invention is to provide an X-ray tube that can be irradiated while switching a plurality of X-rays having different energy with a simple configuration at high speed, and an X-ray CT apparatus using the X-ray tube.
  • a first aspect of the present invention is an X-ray tube including a first electron generation unit, a second electron generation unit, a deflection unit, and a target.
  • the first electron generator emits a first electron beam.
  • the second electron generation unit emits a second electron beam having energy different from that of the first electron beam.
  • the deflecting unit is configured to be capable of switching a direction in which the first electron beam and the second electron beam are transmitted to at least a first direction and a second direction different from the first direction.
  • the target includes a first surface, a second surface, a third surface, and a fourth surface.
  • the first surface receives the first electron beam transmitted in the first direction and irradiates the first X-ray toward a predetermined irradiation field.
  • the second surface receives the second electron beam transmitted in the first direction and emits a second X-ray different from the first X-ray in a direction different from the predetermined irradiation field. Irradiate.
  • the third surface receives the first electron beam transmitted in the second direction and irradiates the first X-ray in a direction different from the predetermined irradiation field.
  • the fourth surface receives the second electron beam transmitted in the second direction and irradiates the second X-ray toward the predetermined irradiation field.
  • the 2nd form of this invention is an X-ray CT apparatus provided with an X-ray tube and an X-ray detector.
  • the X-ray tube includes an irradiation window that irradiates the subject with X-rays.
  • the X-ray detector detects X-rays emitted from the X-ray tube.
  • the X-ray tube includes a first electron generation unit, a second electron generation unit, a deflection unit, and a target.
  • the first electron generator emits a first electron beam.
  • the second electron generation unit emits a second electron beam different from the first electron beam.
  • the deflecting unit is configured to be capable of switching a direction in which the first electron beam and the second electron beam are transmitted to at least a first direction and a second direction different from the first direction.
  • the target includes a first surface, a second surface, a third surface, and a fourth surface.
  • the first surface receives the first electron beam transmitted in the first direction and irradiates the subject with the first X-rays through the irradiation window.
  • the second surface receives the second electron beam transmitted in the first direction and irradiates the second X-ray different from the first X-ray in a direction different from the irradiation window. .
  • the third surface receives the first electron beam transmitted in the second direction and irradiates the first X-ray in a direction different from the irradiation window.
  • the fourth surface receives the second electron beam transmitted in the second direction and irradiates the subject with the second X-ray through the irradiation window.
  • the X-ray detector distinguishes and detects the first X-ray and the second X-ray by time division in synchronization with the switching by the deflecting means.
  • the X-ray CT apparatus includes a gantry 1 that houses a rotating ring 2, an X-ray tube 3 that generates a conical X-ray beam, and an X-ray filter 4.
  • the gantry 1 has an array type X-ray detector 5 including detection elements arranged one-dimensionally or two-dimensionally.
  • the X-ray tube 3 and the X-ray detector 5 are installed on the rotating ring 2 and are located on the opposite side with the subject lying on the slide bed 6 interposed therebetween.
  • the X-ray detector 5 includes a plurality of detection elements 5A.
  • the X-ray tube 3 is opposed to the subject via the X-ray filter 4.
  • the X-ray controller 8 generates a trigger signal based on control from the control unit 10. Based on the trigger signal, the X-ray controller 8 determines the operation of the high-voltage device 7, the deflection control unit 11, the X-ray detector 5, and the data collection unit 12 based on the control from the control unit 10 and the operation timing thereof. Control.
  • the high voltage device 7 drives the X-ray tube 3.
  • the high voltage device 7 applies a high voltage to the X-ray tube 3 when the output of the trigger signal is started. Thereby, X-rays are irradiated from the X-ray tube 3 toward the subject. A series of these operations and their operation timing will be described later together with details of the X-ray controller 8.
  • the X-ray tube 3 according to the present embodiment is configured to be able to irradiate while alternately switching two X-rays having different energies.
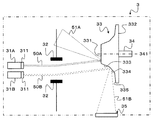
  • a specific configuration of the X-ray tube 3 will be described with reference to FIGS. 2A and 2B.
  • 2A and 2B are schematic views showing a schematic configuration of the X-ray tube 3 according to the present embodiment.
  • the X-ray tube 3 includes electron generation units 31A and 31B, a deflection electrode 32, a target 33, a drive unit 34, and an irradiation window 35.
  • the target 33 includes a small diameter surface 331, a large diameter surface 332, a first side surface 333, a second side surface 334, and a third side surface 335.
  • the electron generators 31A and 31B each have a filament 311.
  • a high voltage generated by the high voltage device 7 is applied between the filament 311 and the target 33. Thereby, electrons jump out of the filament 311 and the electrons collide with the target 33 (anode). Thereby, X-rays are irradiated from the target 33.
  • the electron beam 50A generated and emitted from the filament 311 of the electron generator 31A travels straight toward the first side surface 333 as shown in FIG. 2A. At this time, the electron beam 50 ⁇ / b> A passes between the deflection electrodes 32.
  • the electron beam 50 ⁇ / b> B generated and emitted from the filament 311 of the electron generator 31 ⁇ / b> B travels straight toward the third side surface 335. At this time, the electron beam 50 ⁇ / b> B passes between the deflection electrodes 32.
  • the deflection electrode 32 is composed of two metal plates, and is arranged so that the electron beams 50A and 50B pass between the two metals.
  • a voltage is applied to the deflection electrode 32, one metal plate becomes an anode and the other becomes a cathode.
  • the upper side in FIG. 2A is the anode
  • the lower side is the cathode.
  • a state in which a voltage is applied to the deflection electrode 32 is referred to as on, and a state in which no voltage is applied to the deflection electrode 32 is referred to as off.
  • FIG. 2A shows a state when the deflection electrode 32 is off.
  • the electron beams 50A and 50B travel straight without being deflected.
  • the electron beam 50A travels in the direction of the first side surface 333
  • the electron beam 50B travels in the direction of the third side surface 335.
  • FIG. 2B shows a state when the deflection electrode 32 is on.
  • the electron beams 50A and 50B are refracted.
  • the electron beam 50A travels in the direction of the small diameter surface 331, and the electron beam 50B travels in the direction of the second side surface 334.
  • the deflection electrode 32 is switched on / off, thereby causing the electron beams 50A and 50B emitted from the filaments 311 of the electron generators 31A and 31B to be switched in two different directions.
  • the deflection electrode 32 corresponds to “deflection means”.
  • the electron beam is deflected by applying a voltage to the deflecting electrode 32 to generate an electric field, but this may be replaced by another method.
  • the electron beam may be deflected by arranging a coil next to the traveling direction of the electron beam and applying a magnetic field to the coil. Alternatively, both an electric field and a magnetic field may be used.
  • This on / off is performed when the deflection electrode 32 receives a control signal from the deflection control unit 11 (see FIG. 1) described later.
  • the deflecting electrode 32 turned on refracts the electron beams 50A and 50B passing between the electrodes toward the anode side. Thereby, the traveling directions of the electron beams 50A and 50B are changed. By changing the traveling direction, the electron beam 50A travels in the direction of the small diameter surface 331, and the electron beam 50B travels in the direction of the second side surface 334. Note that the smaller the refraction angle of the electron beams 50A and 50B, the better the response of switching between on and off.
  • the larger the refraction angle the easier it is to control the traveling direction of the reflected electron beams 50A and 50B. Therefore, the refraction angles of the electron beams 50A and 50B, the small-diameter surface 331, and the installation positions of the first side surface 333 to the third side surface 335 are irradiated from the on / off switching response and the target 33. This is determined in consideration of the ease of control of the X-ray direction.
  • the irradiation window 35 is provided to output X-rays irradiated from the target 33 to the outside of the X-ray tube 3.
  • the inner wall of the X-ray tube 3 other than the irradiation window 35 is formed of a material that absorbs X-rays. Therefore, the X-rays irradiated from the target 33 are output from the irradiation window 35 to the outside of the X-ray tube 3.
  • the target 33 is also called an “anode” and is made of copper, aluminum, tungsten, or the like.
  • the target 33 is a shaft body that rotates around a central axis 341 and has a shape to be rotated.
  • the target 33 includes a small-diameter surface 331 and a large-diameter surface 332.
  • the small-diameter surface 331 and the large-diameter surface 332 are provided such that the central axis 341 penetrates the center of each surface vertically.
  • the first side surface 333, the second side surface 334, and the third side surface 335 are continuously arranged in this order so that the shaft diameter continuously increases from the small diameter surface 331 toward the large diameter surface 332. Is provided.
  • the first side surface 333, the second side surface 334, and the third side surface 335 are formed so that the angles formed by the respective surfaces with respect to the central axis 341 are the first side surface 333, the second side surface 334, and the third side surface.
  • the side surfaces 335 are provided so as to increase in order.
  • the target 33 is disposed so that the direction in which the electron beams 50A and 50B are emitted from the filaments 311 of the electron generators 31A and 31B and the central axis 341 are parallel to each other.
  • the target 33 is arranged such that when the deflection electrode 32 is off, the electron beam 50A that has traveled straight hits the first side surface 333, and the electron beam 50B that has traveled straight hits the third side surface 335. .
  • the electron beam 50A hits the target 33, X-rays 51A are generated.
  • the first side surface 333 is formed at a predetermined angle with respect to the central axis 341 so that the X-ray 51A generated on the first side surface 333 is irradiated toward the irradiation window 35. Further, when the electron beam 50B hits the target 33, X-rays 51B are generated.
  • the third side surface 335 has a predetermined angle with respect to the central axis 341 so that the X-rays 51B generated on the third side surface 335 are irradiated in a direction different from the position where the irradiation window 35 is provided. Is formed.
  • the target 33 corresponds to an “X-ray generation unit”.
  • the first side surface 333 corresponds to the “first surface”
  • the third side surface 335 corresponds to the “second surface”.
  • the target 33 has the electron beam 50A deflected by the deflection electrode 32 strikes the surface 331 having a small diameter, and the electron beam 50B deflected by the deflection electrode 32 is second. It arrange
  • the small-diameter surface 331 is formed such that X-rays 51A generated on the small-diameter surface 331 are irradiated in a direction different from the position where the irradiation window 35 is provided.
  • the second side surface 334 is formed at a predetermined angle with respect to the central axis 341 so that the X-ray 51B generated on the second side surface 334 is irradiated toward the irradiation window 35. Yes.
  • the small-diameter surface 331 corresponds to a “third surface”, and the second side surface 334 corresponds to a “fourth surface”.
  • the driving unit 34 rotates the target 33 around the central axis 341. If the electron beams 50A and 50B are continuously irradiated to specific places, the target 33 is dissolved by high heat. Therefore, by rotating the target 33 by the drive unit 34, the positions where the electron beams 50A and 50B are irradiated are changed gradually, and the electron beams 50A and 50B are continuously irradiated only at specific locations on the target 33. The situation is prevented.
  • the electron beam 50A is incident on the first side surface 333 at an angle smaller than the incident angle of the electron beam 50B with respect to the second side surface 334. That is, the area of the portion receiving the electron beam 50A on the first side 333 is larger than the area of the portion receiving the electron beam 50B on the second side 334. Therefore, it is possible to reduce the temperature rise of the target 33 by using the electron beam 50A as the electron beam with higher energy among the electron beams 50A and 50B.
  • the energy of the electron beam is calculated from the amount of heat based on one or both of the voltage applied to the filament 311 and the voltage between the filament 311 and the target 33 and the irradiation time of the electron beam.
  • X-rays 51A and 51B irradiated in a direction different from the position where the irradiation window 35 is provided are not used for imaging. Therefore, the small-diameter surface 331 and the third side surface 335 do not necessarily need to generate X-rays with conditions predetermined for imaging. Therefore, materials other than the above-described copper, aluminum, or tungsten may be used for the small-diameter surface 331 and the third side surface 335. For example, materials having higher heat resistance than these materials may be used for the small-diameter surface 331 and the third side surface 335.
  • a cooling unit that actively cools the target 33 not irradiated with the electron beams 50A and 50B may be provided. In this case, a material having high thermal conductivity may be used for the small-diameter surface 331 and the third side surface 335 in order to increase the cooling efficiency.
  • the target 33 includes the small-diameter surface 331 and the first side surface 333 to the third side surface 335.
  • the X-ray 51A generated on the first side surface 333 is irradiated from the irradiation window 35 to the outside of the X-ray tube 3 (that is, toward the subject).
  • the X-ray 51B generated on the second side surface 334 is irradiated from the irradiation window 35 to the outside of the X-ray tube 3.
  • the irradiation of the X-rays 51A and 51B can be switched at a high speed by turning on / off the deflection electrode 32.
  • the X-ray 51 ⁇ / b> A generated on the small diameter surface 331 and the X-ray 51 ⁇ / b> B generated on the third side surface 335 are absorbed by the inner wall of the X-ray tube 3. Therefore, when any one of the X-rays 51 ⁇ / b> A and 51 ⁇ / b> B is irradiated from the irradiation window 35 to the outside of the X-ray tube 3, irradiation to the outside of the other X-ray tube 3 can be blocked.
  • the deflection control unit 11 receives a trigger signal from the X-ray controller 8.
  • the deflection control unit 11 applies a voltage to the deflection electrode 32 of the X-ray tube 3 in synchronization with the trigger signal. Thereby, the deflection electrode 32 is turned on / off. This switching timing will be described later together with details of the X-ray controller 8.
  • the gantry / bed controller 9 controls the rotation of the rotating ring 2 of the gantry 1 and the sliding of the sliding bed 6 synchronously.
  • the control unit 10 constitutes the control center of the entire system, controls the X-ray controller 8, the gantry / bed controller 9, and the sliding bed 6, while irradiating X-rays from the X-ray tube 3, The rotating ring 2 is rotated around the desired path.
  • the X-ray controller 8 controls the operation and operation timing of the high voltage device 7, the deflection control unit 11, the X-ray detector 5, and the data collection unit 12.
  • the X-ray controller 8 referring to FIG. 3, together with the operation timings of the high-voltage device 7, the deflection control unit 11, and the X-ray detector 5, and the operation of the data collection unit 12 in accordance with each timing. While explaining.
  • FIG. 3 is a diagram for explaining the control timing of the X-ray CT apparatus.
  • the X-ray controller 8 first receives the operating conditions of the X-ray CT apparatus input by the operator from the control unit 10. This operating condition includes information indicating tube voltage, irradiation timing (that is, timing for switching X-rays 51A and 51B), and the like as irradiation conditions for X-ray 51A and X-ray 51B.
  • the X-ray controller 8 outputs information indicating the tube voltage received from the control unit 10 to the high voltage device 7. Based on this information, the high voltage device 7 determines an applied voltage for outputting the electron beams 50A and 50B.
  • the X-ray controller 8 generates a synchronization trigger signal shown in FIG. 3 based on information indicating the timing for switching the X-rays 51A and 51B.
  • the X-ray controller 8 outputs the generated trigger signal to the high voltage device 7, the deflection control unit 11, the X-ray detector 5, and the data collection unit 12. Further, the X-ray controller 8 notifies the deflection control unit 11 and the data collection unit 12 of timing for switching the X-rays 51A and 51B (at which timing of the synchronization trigger signal is switched).
  • the high voltage device 7 applies a voltage between each filament 311 of the electron generators 31A and 31B and the target 33. Thereby, the electron beams 50A and 50B are output from the electron generators 31A and 31B.
  • An output P50A in FIG. 3 indicates the energy of the electron beam 50A output from the electron generator 31A.
  • the output P50B indicates the energy of the electron beam 50B output from the electron generator 31B.
  • the deflection control unit 11 receives from the X-ray controller 8 the synchronization trigger signal and the timing for switching the X-rays 51A and 51B.
  • the deflection control unit 11 generates the deflection pulse shown in FIG. 3 in synchronization with the synchronization trigger signal based on the timing of switching the X-rays 51A and 51B.
  • the deflection control unit 11 outputs the generated deflection pulse to the deflection electrode 32 of the X-ray tube 3. By this deflection pulse, the deflection electrode 32 is switched on / off.
  • the X-rays irradiated from the irradiation window 35 of the X-ray tube 3 are switched between the X-rays 51A and 51B in accordance with this on / off. Specific operation timing will be described below with reference to FIG.
  • the deflection pulse is not supplied from the deflection control unit 11 to the deflection electrode 32 from time t1 to time t2. That is, the deflection electrode 32 is in an off state. In this case, the electron beams 50A and 50B go straight without being deflected. At this time, the electron beam 50A hits the first side surface 333, and the electron beam 50B hits the third side surface 335.
  • the X-ray 51 ⁇ / b> A generated when the electron beam 50 ⁇ / b> A hits the first side surface 333 is irradiated toward the irradiation window 35.
  • the X-ray 51B generated when the electron beam 50B hits the third side surface 335 is irradiated in a direction different from the position where the irradiation window 35 is provided. Thereby, X-ray 51A is irradiated to the exterior of X-ray tube 3 from irradiation window 35 between time t1 and t2.
  • the X-ray 51 ⁇ / b> B generated when the electron beam 50 ⁇ / b> B hits the second side surface 334 is emitted toward the irradiation window 35.
  • X-rays 51 ⁇ / b> B are irradiated from the irradiation window 35 to the outside of the X-ray tube 3 during a period from the time t ⁇ b> 2 to t ⁇ b> 3 when the deflection pulse is output to the deflection electrode 32.
  • the output of the deflection pulse from the deflection control unit 11 to the deflection electrode 32 is stopped. Therefore, the deflection electrode 32 is turned off, and the X-ray 51 ⁇ / b> A is irradiated from the irradiation window 35 to the outside of the X-ray tube 3. In this manner, the X-ray tube 3 emits the X-ray 51A and the X-ray 51B while being alternately switched in synchronization with the synchronization trigger signal.
  • the X-ray detector 5 includes a plurality of detection elements 5A.
  • the detection element 5A constituting the X-ray detector 5 is irradiated from the X-ray tube 3 both when the subject is interposed between the X-ray tube 3 and the detection element 5A and when it is not interposed.
  • the intensity of the X-rays 51A and 51B can be measured.
  • Each detection element 5A includes a scintillator and a photodiode (PD).
  • PD photodiode
  • the number of elements of the scintillator and the photodiode is equal, and the X-rays incident on the scintillator are converted into visible light and converted into an electric signal by the photodiode. Furthermore, the electrical signal (that is, the analog output signal) converted by the photodiode is guided to the data collection unit 12.
  • the irradiated X-ray 51A and X-ray 51B are detected by the X-ray detector 5 operating in synchronization with the synchronization trigger signal.
  • the X-ray detector 5 converts the detected X-rays 51 ⁇ / b> A and X-rays 51 ⁇ / b> B into electric signals and outputs them to the data collection unit 12.
  • the data collection unit 12 receives from the X-ray controller 8 the synchronization trigger signal and the timing for switching the X-rays 51A and 51B.
  • the data collection unit 12 reads the signal of each detection element 5A in a time division manner in synchronization with the synchronization trigger signal.
  • the data collection unit 12 distinguishes the signal read in time division into a signal based on the X-ray 51A and a signal based on the X-ray 51B according to the notified timing of switching the X-rays 51A and 51B. This operation will be specifically described below with reference to FIG.
  • a deflection pulse is output to the deflection electrode 32, and X-ray 51B is irradiated from the irradiation window 35 of the X-ray tube 3.
  • the data collection unit 12 recognizes that the X-ray 51 ⁇ / b> B is irradiated by a notification from the X-ray controller 8. Therefore, the data collection unit 12 recognizes and processes a signal read during time t2 to t3 as a signal B1 based on the X-ray 51B.
  • the data collection unit 12 amplifies each signal read in synchronization with the synchronization trigger signal and converts each signal into digital data.
  • digital data obtained by converting a signal based on the X-ray 51A is referred to as “digital data based on the X-ray 51A”.
  • digital data obtained by converting the signal based on the X-ray 51B is referred to as “digital data based on the X-ray 51B”.
  • the data collection unit 12 distinguishes the digital data based on the X-ray 51 ⁇ / b> A and the digital data based on the X-ray 51 ⁇ / b> B and outputs them to the preprocessing unit 13.
  • the preprocessing unit 13 receives the digital data based on the X-ray 51A and the digital data based on the X-ray 51B from the data collection unit 12 in a distinguished manner.
  • the pre-processing unit 13 performs processing such as sensitivity correction on each of these digital data to obtain projection data.
  • the preprocessing unit 13 stores these projection data in the X-ray projection data storage unit 14.
  • the reconstruction processing unit 15 reads the projection data stored in the X-ray projection data storage unit 14.
  • the reconstruction processing unit 15 generates X-ray image data by back projecting the read projection data using a reconstruction algorithm called, for example, the Feldkamp method.
  • the reconstruction processing unit 15 causes the display unit 16 to display the reconstructed X-ray image data.
  • the electron beams 50A and 50B are not necessarily emitted. It is not necessary to arrange the direction to be parallel to the central axis 341. For example, the electron beams 50A and 50B may be emitted in different directions so that they do not interfere with each other. In this case, the positions and angles of the first side surface 333, the second side surface 334, the third side surface 335, and the small diameter surface 331 may be adjusted in accordance with the emission directions of the electron beams 50A and 50B.
  • FIGS. 4A to 4C Three types of X-rays (electron beam 50A, electron beam 50B, and electron beam 50C) are output by three electron generators (electron generator 31A, electron generator 31B, and electron generator 31C).
  • FIG. 4A shows a state where the deflection electrode 32 is off.
  • 4B and 4C show a state when the deflection electrode 32 is on.
  • the voltage applied to the deflection electrode 32 is a voltage whose polarity is reversed.
  • the target 33 has a fourth side surface 336, a fifth side surface 337, and a sixth side surface 338 so that the shaft diameter continuously increases from the small diameter surface 331 toward the large diameter surface 332. They are provided continuously in this order.
  • the electron beam 50A, the electron beam 50B, and the electron beam 50C travel straight without being deflected.
  • the electron beam 50A travels in the direction of the fifth side surface 337
  • the electron beam 50B travels in the direction of the sixth side surface 338
  • the electron beam 50C travels in the direction of the fourth side surface 336.
  • the electron beam 50A, the electron beam 50B, and the electron beam 50C are also refracted when a voltage opposite in polarity to that in FIG. 4B is applied to the deflection electrode 32 (when ON). To do. At this time, the electron beam 50A and the electron beam 50B travel in the direction of the sixth side surface 338, and the electron beam 50C travels in the direction of the fifth side surface 337.
  • the electron beam 50A that has traveled straight hits the fifth side surface 337
  • the electron beam 50B that has traveled straight hits the sixth side surface 338
  • the electron beam 50C that has traveled straight travels the fourth side surface. 336.
  • the electron beam 50A hits the target 33 X-rays 51A are generated.
  • the fifth side surface 337 has a predetermined angle with respect to the central axis 341 so that the X-rays generated in the fifth side surface 337 (X-ray 51A in the case of FIG. 4A) are irradiated toward the irradiation window 35. Is formed.
  • X-rays 51B are generated.
  • the sixth side surface 338 is irradiated with X-rays generated in the sixth side surface 338 (X-ray 51B in the case of FIG. 4A) in a direction different from the position where the irradiation window 35 is provided. It is formed at a predetermined angle with respect to the central axis 341. Further, when the electron beam 50C hits the target 33, X-rays 51C are generated.
  • the fourth side surface 336 is irradiated with X-rays generated in the fourth side surface 336 (in the case of FIG. 4A, X-ray 51C) in a direction different from the position where the irradiation window 35 is provided. It is formed at a predetermined angle with respect to the central axis 341.
  • the electron beam 50A and the electron beam 50C deflected by the deflection electrode 32 hit the fourth side surface 336, and the electron beam 50B deflected by the deflection electrode 32 is the fifth side surface. 337 is arranged to hit.
  • the X-ray 51 ⁇ / b> B is emitted toward the irradiation window 35.
  • the X-ray 51A and the X-ray 51C are irradiated in a direction different from the position where the irradiation window 35 is provided.
  • the target 33 has the electron beam 50A and electron beam 50B deflected by the deflecting electrode 32 hit the sixth side surface 338, and the electron beam 50C deflected by the deflecting electrode 32 is the fifth side surface. 337 is arranged to hit.
  • X-rays 51 ⁇ / b> C are emitted toward the irradiation window 35.
  • the X-ray 51A and the X-ray 51B are irradiated in a direction different from the position where the irradiation window 35 is provided.
  • the fifth side surface 337 corresponds to the “first surface” and the “fourth surface”
  • the fourth side surface 336 and the sixth side surface 338 correspond to the “second surface” and the “third surface”. Is equivalent to Moreover, it is applicable also to photon counting by using the structure which provides multiple electron generation parts.
  • the shape of the side surface of the target 33 may be adjusted so that the X-rays output from the irradiation window 35 are switched according to each direction.
  • a plurality of targets 33 may be provided, and X-rays 51A and 51B may be generated by receiving electron beams 50A and 50B with different targets 33, respectively.
  • the straightly traveling electron beams 50A and 50B and the deflected electron beams 50A and 50B may be received by different targets 33, respectively.
  • the X-ray CT apparatus As described above, according to the X-ray CT apparatus according to the present embodiment, it is possible to irradiate a plurality of different X-rays by the single X-ray tube 3 while sequentially switching. Therefore, the apparatus is not complicated and the cost is lower.
  • the electron beams 50A and 50B are always irradiated, and the X-rays irradiated from the irradiation window 35 are switched by deflecting them. With such a configuration, switching of the X-rays 51A and 51B can be electronically controlled. Thereby, high-speed switching that is difficult to synchronize by mechanical switching is also possible in the X-ray CT apparatus according to the present embodiment.

Landscapes

  • Health & Medical Sciences (AREA)
  • Life Sciences & Earth Sciences (AREA)
  • Engineering & Computer Science (AREA)
  • Medical Informatics (AREA)
  • General Health & Medical Sciences (AREA)
  • Heart & Thoracic Surgery (AREA)
  • Surgery (AREA)
  • Nuclear Medicine, Radiotherapy & Molecular Imaging (AREA)
  • Optics & Photonics (AREA)
  • Pathology (AREA)
  • Radiology & Medical Imaging (AREA)
  • Biomedical Technology (AREA)
  • Physics & Mathematics (AREA)
  • Molecular Biology (AREA)
  • High Energy & Nuclear Physics (AREA)
  • Animal Behavior & Ethology (AREA)
  • Biophysics (AREA)
  • Public Health (AREA)
  • Veterinary Medicine (AREA)
  • Pulmonology (AREA)
  • Theoretical Computer Science (AREA)
  • Toxicology (AREA)
  • Apparatus For Radiation Diagnosis (AREA)
  • X-Ray Techniques (AREA)
PCT/JP2012/065913 2011-06-28 2012-06-21 X線管球及びx線ct装置 Ceased WO2013002124A1 (ja)

Priority Applications (2)

Application Number Priority Date Filing Date Title
CN201280012576.9A CN103430630B (zh) 2011-06-28 2012-06-21 X射线管球以及x射线ct装置
US13/979,861 US9418816B2 (en) 2011-06-28 2012-06-21 X-ray tube and X-ray CT device

Applications Claiming Priority (2)

Application Number Priority Date Filing Date Title
JP2011142839 2011-06-28
JP2011-142839 2011-06-28

Publications (1)

Publication Number Publication Date
WO2013002124A1 true WO2013002124A1 (ja) 2013-01-03

Family

ID=47424021

Family Applications (1)

Application Number Title Priority Date Filing Date
PCT/JP2012/065913 Ceased WO2013002124A1 (ja) 2011-06-28 2012-06-21 X線管球及びx線ct装置

Country Status (4)

Country Link
US (1) US9418816B2 (enExample)
JP (1) JP6104526B2 (enExample)
CN (1) CN103430630B (enExample)
WO (1) WO2013002124A1 (enExample)

Families Citing this family (7)

* Cited by examiner, † Cited by third party
Publication number Priority date Publication date Assignee Title
WO2013144771A2 (en) * 2012-03-26 2013-10-03 Koninklijke Philips N.V. Simulated spatial live viewing of an object from variable view-points
JP6377370B2 (ja) * 2014-03-04 2018-08-22 キヤノンメディカルシステムズ株式会社 X線管球装置及びx線ct装置
JP2015180859A (ja) * 2014-03-05 2015-10-15 株式会社東芝 フォトンカウンティングct装置
TWI629474B (zh) * 2014-05-23 2018-07-11 財團法人工業技術研究院 X光光源以及x光成像的方法
CN105070625A (zh) * 2015-08-18 2015-11-18 上海宏精医疗器械有限公司 一种高效的x射线管装置
US10695020B2 (en) 2017-01-13 2020-06-30 Varian Medical Systems, Inc. Systems, methods, and devices for multi-energy X-ray imaging
DE102019125350A1 (de) * 2019-09-20 2021-03-25 DENNEC GmbH Computertomograph

Citations (3)

* Cited by examiner, † Cited by third party
Publication number Priority date Publication date Assignee Title
WO2009011422A1 (ja) * 2007-07-19 2009-01-22 Hitachi Medical Corporation X線発生装置及びこれを用いたx線ct装置
JP2010027340A (ja) * 2008-07-17 2010-02-04 Toshiba Corp X線管装置及びx線ct装置
JP2010103111A (ja) * 2008-10-24 2010-05-06 General Electric Co <Ge> 二重エネルギCT用の高速kVpスイッチング・システム及び方法

Family Cites Families (16)

* Cited by examiner, † Cited by third party
Publication number Priority date Publication date Assignee Title
US3158745A (en) * 1962-08-14 1964-11-24 Gen Electric X-ray tube with means to selectively deflect the electron beam to plural targets
JP2002102217A (ja) * 2000-09-28 2002-04-09 Ge Medical Systems Global Technology Co Llc X線ctシステム、ガントリ装置、コンソール端末及びその制御方法及び記憶媒体
US6553096B1 (en) * 2000-10-06 2003-04-22 The University Of North Carolina Chapel Hill X-ray generating mechanism using electron field emission cathode
JP2003290207A (ja) * 2002-04-04 2003-10-14 Mitsubishi Heavy Ind Ltd 多線源型x線ct装置
US7012989B2 (en) * 2002-09-03 2006-03-14 Parker Medical, Inc. Multiple grooved x-ray generator
JP4878311B2 (ja) 2006-03-03 2012-02-15 キヤノン株式会社 マルチx線発生装置
CN101076218B (zh) * 2006-05-19 2011-05-11 清华大学 产生具有不同能量的x射线的设备、方法及材料识别系统
CN101536134B (zh) * 2006-11-10 2014-03-12 皇家飞利浦电子股份有限公司 具有多电子束操作单元的多焦斑x射线管
WO2008068691A2 (en) * 2006-12-04 2008-06-12 Philips Intellectual Property & Standards Gmbh X-ray tube with multiple electron sources and common electron deflection unit
JP5295503B2 (ja) * 2007-01-15 2013-09-18 ジーイー・メディカル・システムズ・グローバル・テクノロジー・カンパニー・エルエルシー X線発生装置およびx線ct装置
US8189736B2 (en) 2007-08-06 2012-05-29 Hitachi Medical Corporation X-ray CT apparatus
US8520803B2 (en) * 2008-08-14 2013-08-27 Koninklijke Philips N.V. Multi-segment anode target for an X-ray tube of the rotary anode type with each anode disk segment having its own anode inclination angle with respect to a plane normal to the rotational axis of the rotary anode and X-ray tube comprising a rotary anode with such a multi-segment anode target
DE102009004186A1 (de) * 2009-01-09 2010-01-07 Siemens Aktiengesellschaft Verfahren zum Betrieb einer Röntgenröhre und eines Detektors in einem CT-System
CN101897595B (zh) * 2009-05-28 2013-02-27 株式会社东芝 X射线计算机断层摄影系统
JP5675808B2 (ja) * 2009-08-13 2015-02-25 コーニンクレッカ フィリップス エヌ ヴェ 独立したx及びz方向の動的フォーカルスポット偏向を持つX線管
US8483361B2 (en) * 2010-12-22 2013-07-09 General Electric Company Anode target for an x-ray tube and method for controlling the x-ray tube

Patent Citations (3)

* Cited by examiner, † Cited by third party
Publication number Priority date Publication date Assignee Title
WO2009011422A1 (ja) * 2007-07-19 2009-01-22 Hitachi Medical Corporation X線発生装置及びこれを用いたx線ct装置
JP2010027340A (ja) * 2008-07-17 2010-02-04 Toshiba Corp X線管装置及びx線ct装置
JP2010103111A (ja) * 2008-10-24 2010-05-06 General Electric Co <Ge> 二重エネルギCT用の高速kVpスイッチング・システム及び方法

Also Published As

Publication number Publication date
JP2013031645A (ja) 2013-02-14
CN103430630B (zh) 2016-01-20
US20130294571A1 (en) 2013-11-07
US9418816B2 (en) 2016-08-16
JP6104526B2 (ja) 2017-03-29
CN103430630A (zh) 2013-12-04

Similar Documents

Publication Publication Date Title
JP6104526B2 (ja) X線管球及びx線ct装置
US7580500B2 (en) Computer tomography system having a ring-shaped stationary X-ray source enclosing a measuring field
JP5797727B2 (ja) 分散型x線を発生するデバイス及びその方法
US9259194B2 (en) Method and apparatus for advanced X-ray imaging
JP5675794B2 (ja) 2つの焦点スポットを生成するx線管及びこれを有する医療デバイス
JP2004357724A (ja) X線ct装置、x線発生装置及びx線ct装置のデータ収集方法
CN102498540A (zh) 分布式x射线源和包括其的x射线成像系统
CN101536134A (zh) 具有多电子束操作单元的多焦斑x射线管
JP5295503B2 (ja) X線発生装置およびx線ct装置
US7643606B2 (en) X-ray computed tomography apparatus with light beam-controlled x-ray source
JP2010533356A (ja) 放射線を測定するためのx線源
JP4693358B2 (ja) X線検査システム及びそれを作動させる方法
JP5486762B2 (ja) 複数焦点x線システムのための方法及びシステム
CN116153746A (zh) 阴极单元化的x射线源、静态ct成像系统及图像增强方法
JP2010118283A (ja) 回転陽極x線管装置及びそれを用いたx線ct装置
JP6377370B2 (ja) X線管球装置及びx線ct装置
JP5812679B2 (ja) X線コンピュータ断層撮影装置
KR101415025B1 (ko) 엑스선 발생기 및 이를 포함한 엑스선 촬영 장치
JP2020022689A (ja) 医用画像処理装置およびx線ct装置
JP7242255B2 (ja) X線ct装置および検出器ユニット
JP5839812B2 (ja) X線コンピュータ断層撮影装置
JP5823178B2 (ja) X線ct装置
CN219626586U (zh) 阴极单元化的x射线发射装置及静态ct成像系统
JP2019029273A (ja) X線管、x線検査装置、およびx線検査方法
JP2006255089A (ja) X線コンピュータ断層撮影装置

Legal Events

Date Code Title Description
121 Ep: the epo has been informed by wipo that ep was designated in this application

Ref document number: 12804979

Country of ref document: EP

Kind code of ref document: A1

WWE Wipo information: entry into national phase

Ref document number: 13979861

Country of ref document: US

NENP Non-entry into the national phase

Ref country code: DE

122 Ep: pct application non-entry in european phase

Ref document number: 12804979

Country of ref document: EP

Kind code of ref document: A1