WO2012140864A1 - Laser apparatus and photoacoustic apparatus - Google Patents

Laser apparatus and photoacoustic apparatus Download PDF

Info

Publication number
WO2012140864A1
WO2012140864A1 PCT/JP2012/002463 JP2012002463W WO2012140864A1 WO 2012140864 A1 WO2012140864 A1 WO 2012140864A1 JP 2012002463 W JP2012002463 W JP 2012002463W WO 2012140864 A1 WO2012140864 A1 WO 2012140864A1
Authority
WO
WIPO (PCT)
Prior art keywords
laser
light
plane
oscillation
laser medium
Prior art date
Legal status (The legal status is an assumption and is not a legal conclusion. Google has not performed a legal analysis and makes no representation as to the accuracy of the status listed.)
Ceased
Application number
PCT/JP2012/002463
Other languages
English (en)
French (fr)
Inventor
Shigeru Ichihara
Shuichi Kobayashi
Current Assignee (The listed assignees may be inaccurate. Google has not performed a legal analysis and makes no representation or warranty as to the accuracy of the list.)
Canon Inc
Original Assignee
Canon Inc
Priority date (The priority date is an assumption and is not a legal conclusion. Google has not performed a legal analysis and makes no representation as to the accuracy of the date listed.)
Filing date
Publication date
Application filed by Canon Inc filed Critical Canon Inc
Priority to US14/009,561 priority Critical patent/US9293886B2/en
Publication of WO2012140864A1 publication Critical patent/WO2012140864A1/en
Anticipated expiration legal-status Critical
Ceased legal-status Critical Current

Links

Images

Classifications

    • HELECTRICITY
    • H01ELECTRIC ELEMENTS
    • H01SDEVICES USING THE PROCESS OF LIGHT AMPLIFICATION BY STIMULATED EMISSION OF RADIATION [LASER] TO AMPLIFY OR GENERATE LIGHT; DEVICES USING STIMULATED EMISSION OF ELECTROMAGNETIC RADIATION IN WAVE RANGES OTHER THAN OPTICAL
    • H01S3/00Lasers, i.e. devices using stimulated emission of electromagnetic radiation in the infrared, visible or ultraviolet wave range
    • H01S3/10Controlling the intensity, frequency, phase, polarisation or direction of the emitted radiation, e.g. switching, gating, modulating or demodulating
    • H01S3/105Controlling the intensity, frequency, phase, polarisation or direction of the emitted radiation, e.g. switching, gating, modulating or demodulating by controlling the mutual position or the reflecting properties of the reflectors of the cavity, e.g. by controlling the cavity length
    • AHUMAN NECESSITIES
    • A61MEDICAL OR VETERINARY SCIENCE; HYGIENE
    • A61BDIAGNOSIS; SURGERY; IDENTIFICATION
    • A61B5/00Measuring for diagnostic purposes; Identification of persons
    • A61B5/0093Detecting, measuring or recording by applying one single type of energy and measuring its conversion into another type of energy
    • A61B5/0095Detecting, measuring or recording by applying one single type of energy and measuring its conversion into another type of energy by applying light and detecting acoustic waves, i.e. photoacoustic measurements
    • HELECTRICITY
    • H01ELECTRIC ELEMENTS
    • H01SDEVICES USING THE PROCESS OF LIGHT AMPLIFICATION BY STIMULATED EMISSION OF RADIATION [LASER] TO AMPLIFY OR GENERATE LIGHT; DEVICES USING STIMULATED EMISSION OF ELECTROMAGNETIC RADIATION IN WAVE RANGES OTHER THAN OPTICAL
    • H01S3/00Lasers, i.e. devices using stimulated emission of electromagnetic radiation in the infrared, visible or ultraviolet wave range
    • H01S3/05Construction or shape of optical resonators; Accommodation of active medium therein; Shape of active medium
    • H01S3/08Construction or shape of optical resonators or components thereof
    • H01S3/08059Constructional details of the reflector, e.g. shape
    • H01S3/08063Graded reflectivity, e.g. variable reflectivity mirror
    • HELECTRICITY
    • H01ELECTRIC ELEMENTS
    • H01SDEVICES USING THE PROCESS OF LIGHT AMPLIFICATION BY STIMULATED EMISSION OF RADIATION [LASER] TO AMPLIFY OR GENERATE LIGHT; DEVICES USING STIMULATED EMISSION OF ELECTROMAGNETIC RADIATION IN WAVE RANGES OTHER THAN OPTICAL
    • H01S3/00Lasers, i.e. devices using stimulated emission of electromagnetic radiation in the infrared, visible or ultraviolet wave range
    • H01S3/05Construction or shape of optical resonators; Accommodation of active medium therein; Shape of active medium
    • H01S3/08Construction or shape of optical resonators or components thereof
    • H01S3/08059Constructional details of the reflector, e.g. shape
    • H01S3/08068Holes; Stepped surface; Special cross-section
    • HELECTRICITY
    • H01ELECTRIC ELEMENTS
    • H01SDEVICES USING THE PROCESS OF LIGHT AMPLIFICATION BY STIMULATED EMISSION OF RADIATION [LASER] TO AMPLIFY OR GENERATE LIGHT; DEVICES USING STIMULATED EMISSION OF ELECTROMAGNETIC RADIATION IN WAVE RANGES OTHER THAN OPTICAL
    • H01S3/00Lasers, i.e. devices using stimulated emission of electromagnetic radiation in the infrared, visible or ultraviolet wave range
    • H01S3/05Construction or shape of optical resonators; Accommodation of active medium therein; Shape of active medium
    • H01S3/08Construction or shape of optical resonators or components thereof
    • H01S3/08072Thermal lensing or thermally induced birefringence; Compensation thereof
    • HELECTRICITY
    • H01ELECTRIC ELEMENTS
    • H01SDEVICES USING THE PROCESS OF LIGHT AMPLIFICATION BY STIMULATED EMISSION OF RADIATION [LASER] TO AMPLIFY OR GENERATE LIGHT; DEVICES USING STIMULATED EMISSION OF ELECTROMAGNETIC RADIATION IN WAVE RANGES OTHER THAN OPTICAL
    • H01S3/00Lasers, i.e. devices using stimulated emission of electromagnetic radiation in the infrared, visible or ultraviolet wave range
    • H01S3/14Lasers, i.e. devices using stimulated emission of electromagnetic radiation in the infrared, visible or ultraviolet wave range characterised by the material used as the active medium
    • H01S3/16Solid materials
    • H01S3/1601Solid materials characterised by an active (lasing) ion
    • H01S3/162Solid materials characterised by an active (lasing) ion transition metal
    • H01S3/1625Solid materials characterised by an active (lasing) ion transition metal titanium
    • HELECTRICITY
    • H01ELECTRIC ELEMENTS
    • H01SDEVICES USING THE PROCESS OF LIGHT AMPLIFICATION BY STIMULATED EMISSION OF RADIATION [LASER] TO AMPLIFY OR GENERATE LIGHT; DEVICES USING STIMULATED EMISSION OF ELECTROMAGNETIC RADIATION IN WAVE RANGES OTHER THAN OPTICAL
    • H01S3/00Lasers, i.e. devices using stimulated emission of electromagnetic radiation in the infrared, visible or ultraviolet wave range
    • H01S3/14Lasers, i.e. devices using stimulated emission of electromagnetic radiation in the infrared, visible or ultraviolet wave range characterised by the material used as the active medium
    • H01S3/16Solid materials
    • H01S3/163Solid materials characterised by a crystal matrix
    • H01S3/1631Solid materials characterised by a crystal matrix aluminate
    • H01S3/1636Al2O3 (Sapphire)

Definitions

  • the present invention relates to a laser apparatus and a photoacoustic apparatus.
  • Lasers have been developed with the object of applications to biochemical measurements and semiconductor measurements in a range from ultraviolet radiation to the visible light and medical measurements in a range from the visible light to near-infrared radiation.
  • Patent Literature 1 discloses a method for determining the laser preparation completion state in which the warm-up process of causing laser oscillation is performed in a stepwise manner and the laser output is stabilized.
  • Patent Literature 2 discloses a method for stabilizing laser output by performing temperature control of a KTP crystal, which is a nonlinear optical crystal, by using a Peltier element in a laser generator using the KTP crystal.
  • a variable wavelength laser with titanium sapphire (Ti:sa) or a dye as a laser medium uses a basic wave of Nd:YAG or the like or a harmonic thereof as an excitation light source and generates laser radiation by causing selective resonance of the wavelength at which the generation is possible.
  • NPL 1 discloses a photoacoustic measurement apparatus as a medical diagnostic apparatus incorporating a variable wavelength laser in which the presence of a tumor inside a breast mass is diagnosed by using a photoacoustic effect.
  • a measurement site is irradiated with nanosecond pulse laser radiation, ultrasound waves generated in the measurement site are received, and the received signal is analyzed, thereby obtaining an image.
  • a wavelength-variable laser such that uses Ti:sa
  • a variable wavelength laser such as a Ti:sa laser that is used in photoacoustic measurement apparatuses for medical applications
  • a high and stabilized laser output be obtained regardless of the usage state.
  • the problem encountered when using a laser apparatus that requires the warm-up process such as described in Patent Literature 1 is that the time that should be allocated for a patient in diagnostics is extended and the diagnostic interval is extended. Further, when a high-output laser is used, it is desirable that no laser oscillation be induced prior to diagnostic. Therefore, it is preferred that the conventional warm-up process of inducing laser oscillation be avoided.
  • FIG. 12 shows a laser resonator 1201 of a Ti:sa laser that has been conventionally used in a variable wavelength mode.
  • a laser medium 1202 constituted by a Ti:sa crystal is excited by excitation light with a wavelength 532 nm, which is a double harmonic of the Nd:YAG laser.
  • a reflecting mirror 1203 is provided at one end side of the laser medium 1202 in the laser resonator 1201.
  • a first Brewster dispersing prism 1204 and a second Brewster dispersing prism 1205, which are wavelength selecting elements, are provided between the reflecting mirror 1203 and the laser medium 1202. In the examples shown herein, two dispersing prisms are used.
  • the laser output measured by using the above-described Ti:sa laser is plotted against the ordinate, and time is plotted against the abscissa.
  • a laser beam with a wavelength of 532 nm, which is the second harmonic of the Nd:YAG laser is used as the excitation light.
  • the Ti:sa crystal is irradiated in a stabilized state of the excitation light output.
  • the output of the Ti:sa laser is low immediately after the irradiation with the excitation light.
  • the time elapses the laser output gradually increases and an equilibrium state with the stabilized output is reached.
  • the Ti:sa crystal immediately after the incidence of the excitation light is equal to the surrounding ambient temperature, and the temperature of the Ti:sa crystal is low. As the time of excitation light irradiation elapses, the temperature of the Ti:sa crystal rises. In order to obtain a stable laser output, it is necessary that laser medium be in a thermal equilibrium state. Thus, as the present measurement results show, the problem associated with stabilization of the output of the Ti:sa lasers that have been conventionally used is that a warm-up process is required in which laser oscillation is induced and which takes a certain time.
  • a method by which a birefringence filter or a diffraction grating is inserted into the resonator is an example of the conventional approach that does not use the wavelength selection mechanism.
  • the aforementioned wavelength selective elements have large internal loss, the laser oscillation efficiency decreases, and increase in the output is inhibited.
  • the present invention provides a laser apparatus comprising: a laser medium; a light source that radiates light to the laser medium, thereby exciting the laser medium and raising a temperature of the laser medium; a reflecting unit having a first plane that reflects light within a predetermined wavelength range from light generated by excitation of the laser medium; and an output mirror disposed opposite the reflecting unit, with the laser medium being interposed therebetween, and causing laser oscillation by inducing resonance of the light within a predetermined wavelength range between the first plane and the output mirror, wherein the reflecting unit is configured to be movable between a position in which light resonance is induced between the output mirror and the first plane and the laser apparatus is set to an oscillation state and a position in which the laser apparatus is set to a non-oscillation state.
  • FIG. 1 is a plan view of a basic structure of a laser resonator.
  • FIG. 2 illustrates the initial oscillation characteristic of a Ti:sa laser.
  • FIG. 3 is a plan view of the laser resonator of the first example.
  • FIG. 4 is a plan view illustrating the non-oscillation state of the laser resonator of the first example.
  • FIG. 5 is a plan view illustrating the oscillation state of the laser resonator of the first example.
  • FIG. 6 is a plan view of the laser resonator of the second example.
  • FIG. 7 is a plan view illustrating the non-oscillation state of the laser resonator of the second example.
  • FIG. 1 is a plan view of a basic structure of a laser resonator.
  • FIG. 2 illustrates the initial oscillation characteristic of a Ti:sa laser.
  • FIG. 3 is a plan view of the laser resonator of the first example.
  • FIG. 4 is
  • FIG. 8 is a plan view illustrating the oscillation state of the laser resonator of the second example.
  • FIG. 9 is a plan view illustrating a laser resonator using a rotating reflecting mirror.
  • FIG. 10 is a plan view of the laser resonator of the third example.
  • FIG. 11 is a flowchart illustrating a method for controlling a laser apparatus.
  • FIG. 12 shows the structure of a laser resonator using the conventional variable wavelength mechanism.
  • FIG. 13 is a schematic diagram of a photoacoustic measurement device that can use the present invention.
  • FIG. 1 shows the basic configuration of a laser resonator 101 of a variable wavelength laser.
  • the resonator 101 is formed by a laser medium 102 and a resonator portion set equivalent to feedback.
  • the resonator portion is constituted by an output mirror 103 that takes out the laser light and a reflecting mirror 104.
  • the laser medium is irradiated by an excitation laser light source according to the absorption characteristic of the laser medium.
  • a laser medium having a gain in a wide wavelength range such as a dye laser or a titanium sapphire (Ti:sa) laser, it is possible to produce a variable wavelength laser.
  • the dye include Rhodamine 6G and Coumarin 102, and the oscillation wavelength band differs depending on the dye.
  • Ti:sa is a crystal obtained by doping sapphire with titanium.
  • the Ti:sa laser is a solid state laser capable of oscillating in a wavelength range of 650 nm to 1100 nm. Dyes and Ti:sa are thus laser media with a wide oscillation wavelength region.
  • the basic condition of laser oscillation is that electrons located at the lower level zone are excited to the upper level zone by irradiating the laser medium 102 with the excitation light 105 and population inversion is formed.
  • the gain at the laser medium component is denoted by G and the loss inside the resonator during laser oscillation is denoted by L.
  • the loss inside the resonator as referred to herein is a sum total of a loss on a transmittance of the output mirror 103 relating to the output take-out and an internal loss caused by the optical members located inside the resonator that are other than the output mirror 103.
  • the condition of G > L should be fulfilled. Meanwhile, since the number of atoms at the upper level of the laser medium decreases with the increase in the photoelectric field intensity, the gain decreases. Therefore, a balance of the gain and loss is required to obtain stationary laser oscillation. By contrast, when G ⁇ L, stationary laser oscillation cannot be obtained.
  • a configuration is obtained in which a non-oscillation state can be attained by controlling and increasing the loss (L) inside the resonator, while irradiating the laser medium 102 with the excitation light 105.
  • the laser medium 102 absorbs the energy of the excitation light 105 and the temperature of the laser medium rises prior to laser oscillation.
  • the temperature of the laser medium can be raised without laser oscillation, a thermal equilibrium state with a stable output can be produced, and the output is stabilized simultaneously with the oscillation.
  • the reflecting mirror 104 of the laser resonator shown in FIG. 1 With a wavelength selection mechanism, it is possible to construct a variable wavelength laser of a simple configuration.
  • a dielectric reflecting film that reflects the wavelength within a predetermined range is formed on the reflecting mirror 104 as a wavelength selection mechanism. Wavelength selection can be performed by moving the reflecting mirror 104 with respect to the output mirror 103 and forming a resonator structure.
  • the laser medium 102 absorbs the energy of the excitation light 105 and a fluorescence of a characteristic wide wavelength width is generated in the laser medium.
  • a dielectric reflecting film that reflects actively only a predetermined wavelength for example, a wavelength close to 750 nm
  • the output mirror 103 which forms a pair with the reflecting mirror, is an output coupler and induces laser oscillation by reflecting/transmitting the incident light at a fixed ratio.
  • the wavelength of the oscillating laser can be selected by preparing in advance a dielectric antireflective film of a necessary type to be provided on the reflective mirror 104.
  • the reflection characteristic of the dielectric reflecting film formed on the reflecting mirror 104 affects the laser quality, it is possible that the wavelength width will be expanded and the coherence characteristic will decrease.
  • no special element for wavelength selection is inserted into the laser resonance, it is possible to suppress loss inside the resonator and obtain a high output.
  • the reflecting mirror 104 is controlled uniaxially in wavelength selection, the control mechanism is simple and stable oscillation can be easily obtained with a high positional accuracy of the output mirror. Thus, it is possible to produce a wavelength variable laser that generates high-output oscillations while having a small and simple structure.
  • a laser resonator 301 is shown as a first example in FIG. 3.
  • the reflecting mirror includes a high-transmittance portion 305 that has increased transmittance, a region 306 where a dielectric reflecting film A is formed, and a region 307 where another dielectric reflecting film B is formed.
  • the high-reflectance portion 305 is formed by a dielectric antireflection film.
  • a plurality of (two) reflecting films are used, but the number of reflecting films is not limited to two.
  • An excitation laser light source is used for the excitation of the laser medium.
  • the reflecting mirror corresponds to the reflecting unit in accordance with the present invention.
  • the dielectric reflecting film A and the dielectric reflecting film B correspond to the first plane in accordance with the present invention.
  • the high-transmittance portion corresponds to the second plane in accordance with the present invention.
  • the plane as referred to herein may be a plane to a degree necessary for laser oscillation.
  • FIG. 4 and FIG. 5 show the state of the resonator in the case where the reflecting mirror 304 is moved while being maintained opposite the output mirror 303.
  • FIG. 4 shows a state in which the position of the reflecting mirror 304 is controlled so that the laser medium 302 is disposed on the line connecting the high-transmittance portion 305 and the output mirror 303.
  • the high-transmittance portion and the output mirror face each other, with the laser medium being interposed therebetween.
  • the loss inside the resonator which is a loss factor other than the loss relating to the output of the output mirror 303, is large and a non-oscillation state is assumed in which the laser oscillation condition is not fulfilled.
  • Such a non-oscillation state is a standby state that also serves to warm up the laser medium. By performing the warm-up in the standby state, it is possible to maintain the temperature of the laser medium at a level higher than the predetermined value necessary for stable laser oscillation.
  • FIG. 5 illustrates the case in which the reflecting mirror 304 is moved so that the region 306 in which the dielectric reflecting film A has been formed and the output mirror 303 form a resonator.
  • the region 306, in which the dielectric reflecting film A has been formed, and the output mirror 303 face each other, with the laser medium being interposed therebetween.
  • This state is an oscillation state.
  • the reflecting mirror 304 is moved so that the region 307 where the dielectric reflecting film B has been formed and the output mirror 303 form a resonator, wavelength selection becomes possible and the wavelength is determined according to the selected dielectric reflecting film.
  • a drive unit such as a stepping motor may be provided to obtain a configuration in which the reflecting mirror 304 can be moved between a position in which the non-oscillation state is obtained and the position in which the oscillation film is obtained.
  • the standby state which is the non-oscillation state
  • the standby state can be formed by controlling the position of the reflecting mirror in the resonator, that is, even without providing a special wavelength selection mechanism.
  • the reflected light is not always necessary in the standby state. Therefore, a configuration may be used in which an antireflective film constituted by a dielectric film is formed on the reflecting mirror surface to reduce the unnecessary reflected light.
  • FIG. 6 shows a laser resonator 601 as a second example.
  • the reflecting mirror 604 includes a nonparallel plane portion 605 that is disposed opposite the output mirror 603, a region 606 having formed therein a dielectric reflecting film A that selects the oscillation wavelength in a wavelength range in which laser oscillation can be generated, and a region 607 where another dielectric reflecting film B is formed.
  • a plurality of (two) reflecting films are used, but the number of reflecting films is not limited to two.
  • An excitation laser light source is used for the excitation of the laser medium.
  • the reflecting mirror 604 inside the resonator shown in FIG. 6 is positionally controlled along one axis as shown by an arrow in the figure.
  • the nonparallel plane portion corresponds to the third plane in accordance with the present invention.
  • FIG. 7 and FIG. 8 show the state of the resonator in the case where the reflecting mirror 604 is moved while causing it to be opposite the output mirror 603.
  • FIG. 7 shows a state in which the position of the reflecting mirror 604 is controlled so that a laser medium 602 is disposed on the inside of a line connecting the nonparallel plane portion 605 and the output mirror 603.
  • the loss inside the resonator which is a loss factor other than the loss relating to the output of the output mirror 603 is large and a non-oscillation state is assumed in which the laser oscillation condition is not fulfilled.
  • Such a non-oscillation state is a standby state that also serves to warm up the laser medium.
  • FIG. 8 illustrates the case in which the reflecting mirror 604 is moved so that the region 606 in which the dielectric reflecting film A has been formed and the output mirror 603 form a resonator.
  • This state is an oscillation state.
  • laser light in the above-described process, it is possible to obtain laser light with stable oscillation and good rise characteristic of the initial state of laser oscillation.
  • laser light with stable oscillation and good initial rise characteristic is obtained with a configuration including only basic laser resonator and the reflecting mirror 604 having a wavelength selection mechanism. Further, wavelength selection becomes possible when the reflecting mirror 604 is moved so that the region 607 where the dielectric reflecting film B has been formed and the output mirror 603 form a resonator.
  • a reflecting film corresponding to the predetermined wavelength is formed orthogonally to the movement direction of the reflecting mirror and a non-oscillation portion is formed at the end of the reflecting mirror.
  • a disk-like flat plate performing a rotation motion the disk-like reflecting mirror is rotated in the center, an output mirror 903 and a reflecting mirror 904 are disposed at mutually opposing positions, and a resonator structure is obtained in which the laser medium is disposed at a position offset from the central axis.
  • the reflecting mirror 904 is divided into fan-shaped sections, a high-transmittance portion 905 with increased transmission is used in the non-oscillation state, and portions 906 and 907 which are dielectric reflecting film portions are used in the oscillation state.
  • the high-transmittance portion 905 is used as a resonator, the loss inside the resonator is as large as in Examples 1 and 2 and therefore a non-oscillation state is assumed in which the laser oscillation condition is not fulfilled.
  • the arrangement of the non-oscillation portion and the reflecting film provided at the reflecting mirror can be selected at random.
  • the non-oscillation portion may be disposed in the center and the reflecting films for a predetermined wavelength may be configured at both sides.
  • the laser beams with two necessary wavelengths can be rapidly ON/OFF switched.
  • the reflecting film and the non-oscillation portion can be produced at random and the reflecting mirror can be movably used. In such a case, a random combination of ON/OFF switching and selection of oscillation wavelength can be used, while maintaining the laser output stability.
  • FIG. 10 shows a laser resonator 1001 as a third example.
  • An excitation laser light source is used for exciting the laser medium.
  • a reflecting mirror 1004 and an output mirror 1003 are disposed opposite each other.
  • the control is performed such that a configuration is obtained in which the control range of the reflecting mirror is expanded and the laser medium is not placed on the orthogonal optical axis connecting the reflecting mirror and the output mirror.
  • the laser resonator structure collapses, and therefore the laser oscillation condition cannot be fulfilled and laser oscillation cannot be induced.
  • This configuration includes only a basic laser resonator and the reflecting mirror 1004 having a wavelength selection mechanism, and stable laser light with good initial rise characteristic can be obtained during laser oscillation.
  • the effect obtained with such a configuration is similar to that obtained by installing a shutter mechanism inside the resonator.
  • a method for controlling the laser apparatus having the laser resonator configured as in the above-described examples will be explained below with reference to the flowchart shown in FIG. 11.
  • a photoacoustic diagnostic apparatus is used as a specific example of laser apparatus.
  • the configuration of the first example is explained as a specific example, but this configuration is not limiting.
  • step S101 a reflecting mirror position is selected at which the resonance condition is not satisfied.
  • the high-transmittance portion 305 of the reflecting mirror 304 is set opposite the output mirror 303. This state is a non-oscillation state.
  • step S102 the laser medium 302 is irradiated with the excitation laser light of the output to be used.
  • step S103 this state is maintained and a standby state is assumed.
  • the temperature of the laser medium rises and stabilizes. After the present process and selection and setting of the diagnostic site can be performed.
  • step S104 the reflecting mirror position is selected to satisfy the resonance condition such that the laser light of a desired wavelength is generated.
  • the position is selected such that a portion of the region 306 where the dialectic reflecting film A has been formed or the region 307 where the dielectric reflecting film B has been formed is used.
  • Laser oscillation is then performed. A laser oscillation state is assumed as a result of the present process, and a photoacoustic signal can be acquired. With the above-described processing, it is possible to radiate laser light of a desirable wavelength and a constant output.
  • the laser apparatuses of the above-described examples can be used in photoacoustic apparatuses using a photoacoustic imaging technique.
  • photoacoustic imaging an examination object is irradiated with pulsed light and an acoustic wave (typically, ultrasound wave) generated due to the absorption of the energy of light propagating and diffusing inside the examination object by a light absorbing body is received.
  • Information on the internal portions of the examination object is then converted into an image by using the received signal of the acoustic wave.
  • This technique makes it possible to obtain optical characteristic distribution information, such as the initial pressure generation distribution or light absorption coefficient distribution inside the examination body, as image data.
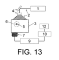
  • FIG. 13 is a schematic diagram of a photoacoustic apparatus to which the present invention can be applied.
  • the photoacoustic apparatus in accordance with the present invention includes at least the laser apparatus 1 described in any of the aforementioned examples, an acoustic wave detector 7, a signal processing unit 9, and a data processing unit 10.
  • a light 2 emitted from the laser apparatus 1 described in any of the aforementioned examples is radiated to an examination object 3 via an optical member 4 such as a lens, a mirror and an optical fiber.
  • an optical member 4 such as a lens, a mirror and an optical fiber.
  • the irradiated light is absorbed by a light absorbing body 5 (for example, tumor or blood vessel) located inside the examination object, thereby generating an acoustic wave 6.
  • a light absorbing body 5 for example, tumor or blood vessel
  • the acoustic wave detector 7 receives the acoustic wave 6, converts the received acoustic wave into an electric signal, and outputs the electric signal to the signal processing unit 9.
  • the signal processing unit 9 performs signal processing, such as A/D conversion or amplification, with respect to the inputted electric signal and outputs the processed signal to the data processing unit 10.
  • the data processing unit 10 generates image data by using the inputted signal and outputs the generated image data to the display unit 12.
  • the display unit 12 displays an image on the basis of the inputted image data.

Landscapes

  • Physics & Mathematics (AREA)
  • Health & Medical Sciences (AREA)
  • Life Sciences & Earth Sciences (AREA)
  • Engineering & Computer Science (AREA)
  • Electromagnetism (AREA)
  • Biomedical Technology (AREA)
  • Surgery (AREA)
  • Optics & Photonics (AREA)
  • Biophysics (AREA)
  • Pathology (AREA)
  • Plasma & Fusion (AREA)
  • Heart & Thoracic Surgery (AREA)
  • Medical Informatics (AREA)
  • Molecular Biology (AREA)
  • Acoustics & Sound (AREA)
  • Animal Behavior & Ethology (AREA)
  • General Health & Medical Sciences (AREA)
  • Public Health (AREA)
  • Veterinary Medicine (AREA)
  • Lasers (AREA)
  • Ultra Sonic Daignosis Equipment (AREA)
  • Investigating Or Analyzing Materials By The Use Of Ultrasonic Waves (AREA)
PCT/JP2012/002463 2011-04-11 2012-04-09 Laser apparatus and photoacoustic apparatus Ceased WO2012140864A1 (en)

Priority Applications (1)

Application Number Priority Date Filing Date Title
US14/009,561 US9293886B2 (en) 2011-04-11 2012-04-09 Laser apparatus and photoacoustic apparatus

Applications Claiming Priority (2)

Application Number Priority Date Filing Date Title
JP2011087696A JP5917012B2 (ja) 2011-04-11 2011-04-11 レーザー装置および光音響装置
JP2011-087696 2011-04-11

Publications (1)

Publication Number Publication Date
WO2012140864A1 true WO2012140864A1 (en) 2012-10-18

Family

ID=46052842

Family Applications (1)

Application Number Title Priority Date Filing Date
PCT/JP2012/002463 Ceased WO2012140864A1 (en) 2011-04-11 2012-04-09 Laser apparatus and photoacoustic apparatus

Country Status (3)

Country Link
US (1) US9293886B2 (enExample)
JP (1) JP5917012B2 (enExample)
WO (1) WO2012140864A1 (enExample)

Cited By (3)

* Cited by examiner, † Cited by third party
Publication number Priority date Publication date Assignee Title
US20140109678A1 (en) * 2012-10-23 2014-04-24 Canon Kabushiki Kaisha Laser apparatus and control method thereof
CN104248453A (zh) * 2013-06-26 2014-12-31 佳能株式会社 被检体信息获取装置和激光装置
US20150000411A1 (en) * 2013-06-26 2015-01-01 Canon Kabushiki Kaisha Object information acquiring apparatus and laser apparatus

Families Citing this family (5)

* Cited by examiner, † Cited by third party
Publication number Priority date Publication date Assignee Title
JP2013214722A (ja) * 2012-03-09 2013-10-17 Fujifilm Corp レーザ装置及び光音響計測装置
JP2014072506A (ja) 2012-10-02 2014-04-21 Canon Inc レーザー装置および光音響装置
JP6207289B2 (ja) 2013-08-06 2017-10-04 キヤノン株式会社 被検体情報取得装置、レーザー装置および医療装置
JP6400153B2 (ja) * 2017-07-04 2018-10-03 キヤノン株式会社 レーザー装置および光音響装置
WO2021020475A1 (ja) 2019-07-31 2021-02-04 国立研究開発法人理化学研究所 レーザ装置およびその製造方法

Citations (5)

* Cited by examiner, † Cited by third party
Publication number Priority date Publication date Assignee Title
US5249192A (en) * 1991-06-27 1993-09-28 Laserscope Multiple frequency medical laser
JPH09162479A (ja) 1995-12-05 1997-06-20 Sony Corp 遠紫外レーザ装置とその制御方法
US5840023A (en) * 1996-01-31 1998-11-24 Oraevsky; Alexander A. Optoacoustic imaging for medical diagnosis
US7123632B2 (en) * 2000-12-28 2006-10-17 Robert Bosch Gmbh Laser beam source
JP2008262976A (ja) 2007-04-10 2008-10-30 Fanuc Ltd レーザ装置

Family Cites Families (13)

* Cited by examiner, † Cited by third party
Publication number Priority date Publication date Assignee Title
JPH0311778A (ja) * 1989-06-09 1991-01-21 Matsushita Electric Ind Co Ltd 半導体レーザ励起固体レーザ装置
JPH09289347A (ja) * 1996-04-23 1997-11-04 Mitsubishi Electric Corp レーザ装置
JP3968868B2 (ja) * 1998-04-27 2007-08-29 株式会社島津製作所 固体レーザ装置
JP2002094156A (ja) * 2000-09-13 2002-03-29 Toshiba Corp レーザ光源装置およびそれを用いた時分割表示装置
JP5178187B2 (ja) 2007-12-28 2013-04-10 キヤノン株式会社 原子磁気センサ、及び磁気センシング方法
JP5264242B2 (ja) 2008-03-26 2013-08-14 キヤノン株式会社 原子磁力計及び磁力計測方法
JP5294998B2 (ja) 2008-06-18 2013-09-18 キヤノン株式会社 超音波探触子、該超音波探触子を備えた光音響・超音波システム並びに検体イメージング装置
JP5697361B2 (ja) 2010-04-26 2015-04-08 キヤノン株式会社 光音響波測定装置
JP5995414B2 (ja) 2011-06-20 2016-09-21 キヤノン株式会社 レーザー装置
JP2013089680A (ja) 2011-10-14 2013-05-13 Canon Inc レーザー装置およびその制御方法
JP2014072506A (ja) 2012-10-02 2014-04-21 Canon Inc レーザー装置および光音響装置
JP2014086531A (ja) 2012-10-23 2014-05-12 Canon Inc レーザー装置およびその制御方法
JP6108774B2 (ja) 2012-11-08 2017-04-05 キヤノン株式会社 レーザ装置およびそれを用いた光音響装置

Patent Citations (5)

* Cited by examiner, † Cited by third party
Publication number Priority date Publication date Assignee Title
US5249192A (en) * 1991-06-27 1993-09-28 Laserscope Multiple frequency medical laser
JPH09162479A (ja) 1995-12-05 1997-06-20 Sony Corp 遠紫外レーザ装置とその制御方法
US5840023A (en) * 1996-01-31 1998-11-24 Oraevsky; Alexander A. Optoacoustic imaging for medical diagnosis
US7123632B2 (en) * 2000-12-28 2006-10-17 Robert Bosch Gmbh Laser beam source
JP2008262976A (ja) 2007-04-10 2008-10-30 Fanuc Ltd レーザ装置

Non-Patent Citations (2)

* Cited by examiner, † Cited by third party
Title
S. MANOHAR ET AL., PROC. OF SPIE, vol. 6437, 2007, pages 643702 - 1
WYSS C ET AL: "MODULATION AND SINGLE-SPIKE SWITCHING OF A DIODE-PUMPED ER3+:LIYF4 LASER AT 2.8 MUM", IEEE JOURNAL OF QUANTUM ELECTRONICS, IEEE SERVICE CENTER, PISCATAWAY, NJ, USA, vol. 34, no. 6, 1 June 1998 (1998-06-01), pages 1041 - 1045, XP000765506, ISSN: 0018-9197, DOI: 10.1109/3.678600 *

Cited By (7)

* Cited by examiner, † Cited by third party
Publication number Priority date Publication date Assignee Title
US20140109678A1 (en) * 2012-10-23 2014-04-24 Canon Kabushiki Kaisha Laser apparatus and control method thereof
CN103779773A (zh) * 2012-10-23 2014-05-07 佳能株式会社 激光设备及其控制方法
EP2725667A3 (en) * 2012-10-23 2014-06-11 Canon Kabushiki Kaisha Multiple wavelength laser apparatus and control method thereof
CN104248453A (zh) * 2013-06-26 2014-12-31 佳能株式会社 被检体信息获取装置和激光装置
US20150000411A1 (en) * 2013-06-26 2015-01-01 Canon Kabushiki Kaisha Object information acquiring apparatus and laser apparatus
EP2846347A1 (en) * 2013-06-26 2015-03-11 Canon Kabushiki Kaisha Object information acquiring apparatus and laser apparatus
US9585570B2 (en) 2013-06-26 2017-03-07 Canon Kabushiki Kaisha Object information acquiring apparatus and laser apparatus

Also Published As

Publication number Publication date
JP5917012B2 (ja) 2016-05-11
US9293886B2 (en) 2016-03-22
US20140031667A1 (en) 2014-01-30
JP2012222207A (ja) 2012-11-12

Similar Documents

Publication Publication Date Title
US9293886B2 (en) Laser apparatus and photoacoustic apparatus
US9131877B2 (en) Laser apparatus and photoacoustic apparatus
US6466806B1 (en) Photoacoustic material analysis
EP2725667B1 (en) Multiple wavelength laser apparatus and control method thereof
JP6219258B2 (ja) レーザ装置、及び光音響計測装置
US8761225B2 (en) Laser apparatus and method of controlling the laser apparatus
JP6296927B2 (ja) 被検体情報取得装置およびレーザー装置
TWI261397B (en) Narrow bandwidth high repetition rate optical parametric oscillator
JP6257190B2 (ja) 被検体情報取得装置およびレーザー装置
JP6532295B2 (ja) 多波長レーザー発振装置および多波長レーザー発振方法
JP6400153B2 (ja) レーザー装置および光音響装置
JP6052802B2 (ja) レーザ装置、その制御方法、及び光音響計測装置
JP6108774B2 (ja) レーザ装置およびそれを用いた光音響装置
JP7545750B2 (ja) 光発振器、光発振器の設計方法およびレーザー装置
JP6039240B2 (ja) レーザ装置
JP2014216538A (ja) 固体レーザー装置
EP3082204B1 (en) Birefringent filter unit
JP2008058918A (ja) テラヘルツ電磁波発生方法及び分光・イメージング測定装置
JP5976613B2 (ja) レーザチャンバ、固体レーザ装置、及び光音響計測装置
JP2018125539A (ja) レーザー装置および情報取得装置
CN120651491A (zh) 激光增益介质出光性能的测量装置及方法
WO2015198570A1 (ja) 固体レーザ装置及び光音響計測装置

Legal Events

Date Code Title Description
121 Ep: the epo has been informed by wipo that ep was designated in this application

Ref document number: 12720291

Country of ref document: EP

Kind code of ref document: A1

WWE Wipo information: entry into national phase

Ref document number: 14009561

Country of ref document: US

NENP Non-entry into the national phase

Ref country code: DE

122 Ep: pct application non-entry in european phase

Ref document number: 12720291

Country of ref document: EP

Kind code of ref document: A1