WO2012131921A1 - 無段変速機 - Google Patents

無段変速機 Download PDF

Info

Publication number
WO2012131921A1
WO2012131921A1 PCT/JP2011/057902 JP2011057902W WO2012131921A1 WO 2012131921 A1 WO2012131921 A1 WO 2012131921A1 JP 2011057902 W JP2011057902 W JP 2011057902W WO 2012131921 A1 WO2012131921 A1 WO 2012131921A1
Authority
WO
WIPO (PCT)
Prior art keywords
continuously variable
shaft
rotation
variable transmission
rotating
Prior art date
Legal status (The legal status is an assumption and is not a legal conclusion. Google has not performed a legal analysis and makes no representation as to the accuracy of the status listed.)
Ceased
Application number
PCT/JP2011/057902
Other languages
English (en)
French (fr)
Japanese (ja)
Inventor
貴弘 椎名
村上 新
小川 裕之
大輔 友松
有希 荒津
Current Assignee (The listed assignees may be inaccurate. Google has not performed a legal analysis and makes no representation or warranty as to the accuracy of the list.)
Toyota Motor Corp
Original Assignee
Toyota Motor Corp
Priority date (The priority date is an assumption and is not a legal conclusion. Google has not performed a legal analysis and makes no representation as to the accuracy of the date listed.)
Filing date
Publication date
Application filed by Toyota Motor Corp filed Critical Toyota Motor Corp
Priority to US13/394,596 priority Critical patent/US8961363B2/en
Priority to IN2017DEN2012 priority patent/IN2012DN02017A/en
Priority to PCT/JP2011/057902 priority patent/WO2012131921A1/ja
Priority to CN201180004773.1A priority patent/CN103608607B/zh
Priority to EP11820887.5A priority patent/EP2653747A4/en
Priority to JP2011539572A priority patent/JP5201272B2/ja
Publication of WO2012131921A1 publication Critical patent/WO2012131921A1/ja
Anticipated expiration legal-status Critical
Ceased legal-status Critical Current

Links

Images

Classifications

    • FMECHANICAL ENGINEERING; LIGHTING; HEATING; WEAPONS; BLASTING
    • F16ENGINEERING ELEMENTS AND UNITS; GENERAL MEASURES FOR PRODUCING AND MAINTAINING EFFECTIVE FUNCTIONING OF MACHINES OR INSTALLATIONS; THERMAL INSULATION IN GENERAL
    • F16HGEARING
    • F16H15/00Gearings for conveying rotary motion with variable gear ratio, or for reversing rotary motion, by friction between rotary members
    • F16H15/02Gearings for conveying rotary motion with variable gear ratio, or for reversing rotary motion, by friction between rotary members without members having orbital motion
    • F16H15/04Gearings providing a continuous range of gear ratios
    • F16H15/06Gearings providing a continuous range of gear ratios in which a member A of uniform effective diameter mounted on a shaft may co-operate with different parts of a member B
    • F16H15/26Gearings providing a continuous range of gear ratios in which a member A of uniform effective diameter mounted on a shaft may co-operate with different parts of a member B in which the member B has a spherical friction surface centered on its axis of revolution
    • F16H15/28Gearings providing a continuous range of gear ratios in which a member A of uniform effective diameter mounted on a shaft may co-operate with different parts of a member B in which the member B has a spherical friction surface centered on its axis of revolution with external friction surface
    • FMECHANICAL ENGINEERING; LIGHTING; HEATING; WEAPONS; BLASTING
    • F16ENGINEERING ELEMENTS AND UNITS; GENERAL MEASURES FOR PRODUCING AND MAINTAINING EFFECTIVE FUNCTIONING OF MACHINES OR INSTALLATIONS; THERMAL INSULATION IN GENERAL
    • F16HGEARING
    • F16H15/00Gearings for conveying rotary motion with variable gear ratio, or for reversing rotary motion, by friction between rotary members
    • F16H15/48Gearings for conveying rotary motion with variable gear ratio, or for reversing rotary motion, by friction between rotary members with members having orbital motion
    • F16H15/50Gearings providing a continuous range of gear ratios
    • F16H15/52Gearings providing a continuous range of gear ratios in which a member of uniform effective diameter mounted on a shaft may co-operate with different parts of another member
    • FMECHANICAL ENGINEERING; LIGHTING; HEATING; WEAPONS; BLASTING
    • F16ENGINEERING ELEMENTS AND UNITS; GENERAL MEASURES FOR PRODUCING AND MAINTAINING EFFECTIVE FUNCTIONING OF MACHINES OR INSTALLATIONS; THERMAL INSULATION IN GENERAL
    • F16HGEARING
    • F16H15/00Gearings for conveying rotary motion with variable gear ratio, or for reversing rotary motion, by friction between rotary members
    • F16H15/02Gearings for conveying rotary motion with variable gear ratio, or for reversing rotary motion, by friction between rotary members without members having orbital motion
    • F16H15/04Gearings providing a continuous range of gear ratios
    • F16H15/40Gearings providing a continuous range of gear ratios in which two members co-operative by means of balls, or rollers of uniform effective diameter, not mounted on shafts

Definitions

  • the present invention includes a plurality of rotating elements having a common rotating shaft, and a plurality of rolling members arranged radially with respect to the rotating shaft, and each rolling element sandwiched between two of the rotating elements.
  • the present invention relates to a continuously variable transmission that continuously changes a gear ratio between input and output by tilting a member.
  • a transmission shaft serving as a rotation center
  • a plurality of rotational elements capable of relative rotation with the central axis of the transmission shaft as a first rotation central axis
  • the first rotation central shaft And a plurality of rolling members radially arranged around the first rotation center axis, the first rotation element and the second rotation element disposed opposite to each other.
  • So-called traction planetary gears in which each rolling member is sandwiched between the outer peripheral surface of the third rotating element and the gear ratio is steplessly changed by tilting the rolling member.
  • the continuously variable transmission includes a support shaft (rotary shaft) that rotates and supports the rolling member, and a fixed element that holds the rolling member via respective protruding portions of the support shaft from the rolling member. And are prepared.
  • Patent Documents 1-3 listed below disclose this type of continuously variable transmission.
  • a sun roller as a third rotating element has a two-part structure in the axial direction and is supported by an angular bearing.
  • the sun roller is fixed to the carrier as a fixed element by a snap ring.
  • the continuously variable transmissions of Patent Documents 2 and 3 include an iris plate (disk member) for tilting the rolling member.
  • the iris plate is provided with an iris groove into which the end of the support shaft is inserted.
  • the end of the support shaft is rotated with the rotation of the worm gear so that the end of the support shaft becomes the most decelerating portion and the most reduced speed ratio.
  • Guidance is provided between the highest speed increasing portion that provides the speed change ratio.
  • the first rotating element and the disk serving as the second rotating element are disposed radially inward of the rolling member.
  • an object of the present invention is to provide a continuously variable transmission that can improve the disadvantages of the conventional example and can realize the positioning of the rolling member in the axial direction at a low cost.
  • the present invention provides a first and a first relatively rotatable shaft having a transmission shaft as a fixed shaft serving as a rotation center and a common first rotation center shaft arranged opposite to each other on the transmission shaft.
  • 2 rotation elements and a second rotation center axis parallel to the first rotation center axis, and a plurality of the rotation elements arranged radially about the first rotation center axis are arranged in the first and second rotation elements.
  • a rolling member held between the rolling member and a supporting shaft of the rolling member having both ends protruding from the rolling member, and a recess recessed radially inwardly on the outer peripheral surface;
  • Each rolling member is disposed, the transmission shaft, a third rotation element capable of relative rotation with respect to the first and second rotation elements, and a protrusion of each of the support shafts fixed to the transmission shaft.
  • a fixing element that holds the rolling member via a portion, the first rotating element, and the A transmission for changing a rotation ratio between the two rotating elements by a tilting operation of each of the rolling members, and first and second rotating shafts individually fixed to the first and second rotating elements, respectively.
  • a first positioning structure that sets a movable amount of the first rotating element in the axial direction relative to the fixed element; and a second positioning structure that sets a movable amount of the second rotating element in the axial direction relative to the fixed element.
  • a positioning structure; and a third positioning structure that sets an axially movable amount of the third rotating element with respect to the fixed element.
  • the second rotation shaft fixed to the second rotation element is disposed so as to be able to rotate relative to the transmission shaft about the first rotation center axis, and the first rotation element
  • the fixed first rotating shaft is arranged on the outer peripheral surface of the second rotating shaft so as to be able to rotate relative to the second rotating shaft around the first rotating center axis, and the third rotating element
  • the movable amount in the axial direction relative to the fixed element is set to be smaller than the movable amount in the axial direction relative to the fixed element of the second rotating element.
  • the amount of movement of the rolling member in the axial direction relative to the third rotating element caused by the side slip force accompanying the shift of the support shaft is determined as the movement of the second rotating element in the axial direction relative to the fixed element. It is desirable to set it smaller than the sum of the possible amount and the axially movable amount of the third rotating element with respect to the fixed element.
  • the present invention provides a first relatively rotatable first shaft having a transmission shaft as a fixed shaft serving as a rotation center and a common first rotation center shaft disposed opposite to each other on the transmission shaft. And a second rotation element and a second rotation center axis parallel to the first rotation center axis, and a plurality of the rotation elements are arranged radially about the first rotation center axis.
  • Each of the rolling members is disposed in a recess, and each of the transmission shaft, a third rotating element capable of relative rotation with respect to the first and second rotating elements, and a support shaft fixed to the transmission shaft, respectively.
  • a fixing element that holds the rolling member via a protruding portion of the first rotating element A transmission for changing a rotation ratio between the second rotating element and the first and second rotating elements by a tilting operation of each rolling member, and an outer peripheral surface of the transmission shaft.
  • the first and second rotary shafts capable of relative rotation about the first rotation center axis with respect to the transmission shaft and the movable amount of the first rotary element in the axial direction with respect to the fixed element are set.
  • a first positioning structure that performs a second positioning structure that sets a movable amount of the second rotating element in the axial direction relative to the fixed element, and a movable amount of the third rotating element in the axial direction relative to the fixed element
  • a third positioning structure for setting is the amount of movement of the first rotating element in the axial direction relative to the fixed element or the amount of movement of the second rotating element. It is characterized in that it is set smaller than the smaller one of the movable amounts in the axial direction relative to the fixed element.
  • the amount of movement of the rolling member in the axial direction relative to the third rotating element caused by the side slip force accompanying the shift of the support shaft is determined as the movement of the first rotating element in the axial direction relative to the fixed element.
  • the smaller of the possible amount or the movable amount of the second rotating element in the axial direction relative to the fixed element and the sum of the movable amount of the third rotating element in the axial direction relative to the fixed element is set smaller It is desirable to do.
  • the movable amount in the axial direction of the third rotating element with respect to the fixed element is set to 0 by a fastening member that presses the third rotating element toward the fixed element in the axial direction. Is desirable.
  • the fixing element is integrally formed.
  • the continuously variable transmission according to the present invention can position the rolling member in the axial direction with the fixed element and the third rotating element having the recess.
  • this continuously variable transmission can improve the dimensional accuracy and placement accuracy of the fixed element, the third rotating element, and related parts (parts to which these are attached) for positioning the rolling member. That's fine. Therefore, the continuously variable transmission according to the present invention reduces the number of parts with high required accuracy, so that the positioning of the rolling member in the axial direction can be realized at low cost.
  • FIG. 1 is a partial cross-sectional view showing a configuration of a first embodiment of a continuously variable transmission according to the present invention.
  • FIG. 2 is a diagram for explaining another form of recess in the sun roller.
  • FIG. 3 is a diagram for explaining the guide groove of the carrier and the interval between the connecting shafts.
  • FIG. 4 is a diagram illustrating the iris plate.
  • FIG. 5 is a partial cross-sectional view showing a configuration of a continuously variable transmission according to a second embodiment of the present invention.
  • FIG. 6 is a partial cross-sectional view showing a configuration of another form of embodiment 2 of the continuously variable transmission according to the present invention.
  • 7 is a cross-sectional view of the axial force transmission member and the like cut along line XX in FIG. FIG.
  • FIG. 8 is a partial cross-sectional view illustrating the continuously variable transmission according to the third embodiment.
  • FIG. 9 is a diagram for explaining the positional deviation between the planetary ball and the sun roller.
  • FIG. 10 is a partial cross-sectional view for explaining another continuously variable transmission according to the third embodiment.
  • FIG. 11 is a partial cross-sectional view for explaining another continuously variable transmission according to the third embodiment.
  • FIG. 12 is a partial cross-sectional view for explaining another continuously variable transmission according to the third embodiment.
  • FIG. 13 is a partial cross-sectional view for explaining another continuously variable transmission according to the third embodiment.
  • FIG. 14 is a partial cross-sectional view showing a configuration of a continuously variable transmission according to a fourth embodiment of the present invention.
  • Example 1 A first embodiment of a continuously variable transmission according to the present invention will be described with reference to FIGS.
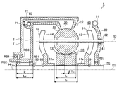
  • Reference numeral 1 in FIG. 1 indicates a continuously variable transmission according to this embodiment.
  • the continuously variable transmission mechanism that forms the main part of the continuously variable transmission 1 includes first to third rotating elements 10, 20, 30 that are capable of relative rotation with each other and have a common first rotation center axis R 1.
  • a plurality of rolling members 40 each having a second rotation center axis R2 parallel to the first rotation center axis R1 and a reference position to be described later, and rotations of the first to third rotation elements 10, 20, 30 This is a so-called traction planetary gear mechanism having a shaft 50 as a transmission shaft arranged at the center and a fixing element 60 fixed to the shaft 50 and holding each rolling member 40 in a tiltable manner. is there.
  • the continuously variable transmission 1 changes the speed ratio ⁇ between input and output by inclining the second rotation center axis R2 with respect to the first rotation center axis R1 and tilting the rolling member 40.
  • the direction along the first rotation center axis R1 and the second rotation center axis R2 is referred to as the axial direction
  • the direction around the first rotation center axis R1 is referred to as the circumferential direction.
  • the direction orthogonal to the first rotation center axis R1 is referred to as a radial direction, and among these, the inward side is referred to as a radial inner side, and the outward side is referred to as a radial outer side.
  • the continuously variable transmission 1 torque is transmitted between the first rotating element 10, the second rotating element 20, and the third rotating element 30 via each rolling member 40.
  • one of the first to third rotating elements 10, 20, 30 is an input part of torque (power), and at least one of the remaining rotating elements is torque. Output section.
  • the ratio of the rotational speed (the number of rotations) between any rotation element serving as an input unit and any rotation element serving as an output unit is the gear ratio ⁇ .
  • the continuously variable transmission 1 is disposed on the power transmission path of the vehicle. In that case, the input part is connected with the power source side, such as an engine and a motor, and the output part is connected with the drive wheel side.
  • each rotation element when torque is input to the rotation element as the input unit is referred to as normal drive
  • the rotation element as the output unit is in the direction opposite to that during normal drive.
  • the rotating operation of each rotating element when torque is input is called reverse driving.
  • Driving when the torque is input from the power source side to the rotating element as the input unit and the rotating element is rotated as in acceleration or the like, Driving is performed, and reverse driving is performed when torque in the opposite direction to that during forward driving is input to the rotating rotating element serving as the output unit from the driving wheel side, such as deceleration.
  • a plurality of rolling members 40 are arranged radially about the central axis of the shaft 50 (first rotation central axis R1).
  • the respective rolling members 40 are sandwiched between the first rotating element 10 and the second rotating element 20 that are arranged to face each other, and are disposed on the outer peripheral surface of the third rotating element 30. Further, each rolling member 40 rotates around its own rotation center axis (second rotation center axis R2).
  • the continuously variable transmission 1 is configured to roll with the first to third rotating elements 10, 20, 30 by pressing at least one of the first and second rotating elements 10, 20 against the rolling member 40. An appropriate tangential force (traction force) is generated between the member 40 and torque can be transmitted therebetween.
  • the continuously variable transmission 1 tilts each rolling member 40 on a tilt plane including its second rotation center axis R2 and first rotation center axis R1, and the first rotation element 10 By changing the ratio of the rotation speed (rotation speed) between the second rotation element 20 and the second rotation element 20, the ratio of the rotation speed (rotation speed) between the input and output is changed.
  • the first and second rotating elements 10 and 20 function as a ring gear as a planetary gear mechanism.
  • the third rotating element 30 functions as a sun roller of the traction planetary gear mechanism.
  • the rolling member 40 functions as a ball-type pinion in the traction planetary gear mechanism, and the fixing element 60 functions as a carrier.
  • first and second rotating elements 10 and 20 are referred to as “first and second rotating members 10 and 20”, respectively.
  • the third rotating element 30 is referred to as “sun roller 30”, and the rolling member 40 is referred to as “planetary ball 40”.
  • the fixing element 60 is referred to as a “carrier 60”.
  • the shaft 50 is fixed to a fixed portion of the continuously variable transmission 1 in a housing or a vehicle body (not shown), and is a columnar fixed shaft configured not to rotate relative to the fixed portion.
  • the first and second rotating members 10 and 20 are disk members (disks) or ring members (rings) whose center axes coincide with the first rotation center axis R1, and each planetary ball is opposed in the axial direction. 40 is interposed. In this example, both are circular members.
  • the first and second rotating members 10 and 20 have a contact surface that comes into contact with the outer peripheral curved surface on the radially outer side of each planetary ball 40 described in detail later.
  • Each contact surface has, for example, a concave arc surface having a curvature equivalent to the curvature of the outer peripheral curved surface of the planetary ball 40, a concave arc surface having a curvature different from the curvature of the outer peripheral curved surface, a convex arc surface, or a flat surface. is doing.
  • the first and second contact surfaces are formed so that the distance from the first rotation center axis R1 to the contact portion with each planetary ball 40 becomes the same length in the state of a reference position described later.
  • the contact angles ⁇ of the rotating members 10 and 20 with respect to the planetary balls 40 are the same.
  • the contact angle ⁇ is an angle from the reference to the contact portion with each planetary ball 40.
  • the radial direction is used as a reference.
  • the respective contact surfaces are in point contact or surface contact with the outer peripheral curved surface of the planetary ball 40. Further, each contact surface is radially inward with respect to the planetary ball 40 when an axial force (pressing force) is applied from the first and second rotating members 10 and 20 toward the planetary ball 40. And an oblique force (normal force) is applied.
  • the first rotating member 10 acts as a torque input portion when the continuously variable transmission 1 is positively driven
  • the second rotating member 20 acts as a torque output portion when the continuously variable transmission 1 is positively driven.
  • the input shaft (first rotation shaft) 11 is connected to the first rotation member 10
  • the output shaft (second rotation shaft) 21 is connected to the second rotation member 20.
  • the input shaft 11 may be used as an output shaft
  • the output shaft 21 may be used as an input shaft.
  • the output shaft 21 includes a disk portion 21a and a cylindrical portion 21b having a central axis coinciding with the first rotation central axis R1.
  • the cylindrical portion 21b is provided on the inner peripheral side of the disk portion 21a, and the inner peripheral surface is attached to the outer peripheral surface of the shaft 50 via radial bearings RB1 and RB2. Therefore, the output shaft 21 and the second rotating member 20 connected to the output shaft 21 can perform relative rotation in the circumferential direction with respect to the shaft 50.
  • the input shaft 11 also includes a disk portion 11a and a cylindrical portion 11b that are the same as the output shaft 21 whose center axis coincides with the first rotation center axis R1.
  • the cylindrical portion 11b has an inner peripheral surface attached to the outer peripheral surface of the cylindrical portion 21b of the output shaft 21 via radial bearings RB3 and RB4.
  • the input shaft 11 can perform relative rotation in the circumferential direction with respect to the output shaft 21 by the radial bearings RB3, RB4 and the thrust bearing TB described below.
  • a torque cam 71, an annular member 72, and a thrust bearing TB are disposed between the outer peripheral planes of the disk portion 11a of the input shaft 11 and the disk portion 21a of the output shaft 21.
  • the annular member 72 and the output shaft 21 can rotate relative to each other via the thrust bearing TB.
  • the torque cam 71 generates an axial force between the input shaft 11 and the annular member 72 and transmits rotational torque by engaging the engaging member on the input shaft 11 side and the engaging member on the annular member 72 side. And rotate them together.
  • the axial force is transmitted to the first rotating member 10 and the second rotating member 20, and becomes a pressing force when they press each planetary ball 40.
  • the sun roller 30 has a cylindrical shape with a center axis coinciding with the first rotation center axis R1, and can be rotated relative to the shaft 50 in the circumferential direction by the radial bearings RB5 and RB6.
  • the sun roller 30 includes an annular portion 31 that bulges radially inward at a central portion on the inner peripheral surface side.
  • the radial bearings RB5 and RB6 are press-fitted into the sun roller 30 until the outer ring contacts the side surface of the annular portion 31.
  • a plurality of planetary balls 40 are radially arranged at substantially equal intervals on the outer circumferential surface of the sun roller 30. Accordingly, the outer peripheral surface of the sun roller 30 becomes a rolling surface when the planetary ball 40 rotates.
  • the rolling surface is formed with a concave portion 32 in which a central portion in the axial direction is recessed radially inward from both end portions.
  • the concave portion 32 is formed once in the circumferential direction. Further, the concave portion 32 may be, for example, a curved shape shown in FIG. 1 or a V-shape shown in FIG.
  • Each planetary ball 40 is arranged so as to come to the center portion (the most recessed portion) of the recess 32 when driven.
  • the planetary ball 40 is restrained from moving relative to the sun roller 30 in the axial direction as compared to the rolling surface without the recess 32.
  • the sun roller 30 can roll (rotate) each planetary ball 40 by its own rotation, or can rotate along with the rolling operation (rotation) of each planetary ball 40.
  • the planetary ball 40 is a rolling member that rolls on the outer peripheral surface of the sun roller 30.
  • the planetary ball 40 is preferably a perfect sphere, but it may have a spherical shape at least in the rolling direction, for example, a rugby ball having an elliptical cross section.
  • the planetary ball 40 is rotatably supported by a support shaft 41 that passes through the center of the planetary ball 40.
  • the planetary ball 40 can rotate relative to the support shaft 41 with the second rotation center axis R2 as a rotation axis (that is, rotate) by a bearing (not shown) disposed between the outer periphery of the support shaft 41. I am doing so.
  • the planetary ball 40 can roll on the outer peripheral surface of the sun roller 30 around the support shaft 41. Both ends of the support shaft 41 are projected from the planetary ball 40. Note that there is a small backlash (gap) between the planetary ball 40 and the support shaft 41 due to the bearing or the like.
  • the reference position of the support shaft 41 is a position where the second rotation center axis R2 is parallel to the first rotation center axis R1, as shown in FIG.
  • the support shaft 41 is inclined from the reference position and from within the tilt plane including the rotation center axis (second rotation center axis R2) and the first rotation center axis R1 formed at the reference position. It can swing (tilt) with the planetary ball 40 between the positions. The tilt is performed with the center of the planetary ball 40 as a fulcrum in the tilt plane.
  • the carrier 60 holds each projecting portion of the support shaft 41 so as not to disturb the tilting operation of each planetary ball 40.
  • first and second disk members 61 and 62 having a center axis coinciding with the first rotation center axis R1 are arranged to face each other, and the first and second disk members 61 and 62 are opposed to each other.
  • the carrier 60 has an open portion on the outer peripheral surface.
  • Each planetary ball 40 is disposed between the first and second disk members 61 and 62, and is in contact with the first rotating member 10 and the second rotating member 20 through an open portion thereof.
  • the carrier 60 fixes the inner peripheral surface side of the first and second disk members 61 and 62 to the outer peripheral surface side of the shaft 50, and relative rotation in the circumferential direction and relative movement in the axial direction with respect to the shaft 50 are performed. I can't do it.
  • the carrier 60 can inhibit such relative rotation in the circumferential direction by spline fitting the inner peripheral surfaces of the first and second disk members 61 and 62 with the outer peripheral surface of the shaft 50.
  • the carrier 60 includes annular portions 61a and 62a that extend in the axial direction and toward the sun roller 30 on the inner peripheral surface side. Therefore, when applying spline fitting, splines are formed on the inner peripheral surfaces of the annular portions 61a and 62a.
  • locking members 91 and 92 such as snap rings are disposed on the respective side surfaces of the carrier 60 in the axial direction.
  • the carrier 60 may regulate relative rotation and relative movement by press-fitting into the shaft 50.
  • the continuously variable transmission 1 is provided with a guide portion for guiding the support shaft 41 in the tilting direction when each planetary ball 40 tilts.
  • the guide portion is provided on the carrier 60.
  • the guide portions are radial guide grooves 63 and 64 for guiding the support shaft 41 protruding from the planetary ball 40 in the tilt direction, and the first and second disk members 61 and 62 are opposed to each other.
  • a portion is formed for each planetary ball 40 (FIG. 3). That is, all the guide grooves 63 and all the guide grooves 64 are radially formed when viewed from the axial direction (the direction of arrow A in FIG. 1).
  • the guide groove 63 has a groove width in the circumferential direction of the first disk member 61 and a groove bottom in the radial direction.
  • the guide groove 64 has a groove width in the circumferential direction of the second disk member 62 and a groove bottom in the radial direction.
  • a gap is provided in the groove width direction between the support shaft 41 and the guide grooves 63 and 64 in order to realize a tilting operation and to make it smooth.
  • the clearance is set to a size that can cause a side slip between the sun roller 30 and the planetary ball 40 for the tilting operation, for example.
  • the sun rollers 30 are adjacent to each other so that the sun roller 30 can be disposed between the first disk member 61 and the second disk member 62 of the bowl-shaped carrier 60.
  • the interval Ij between the connecting shafts 65 is larger than the diameter Ds of the sun roller 30.
  • the planetary ball 40 in which the support shaft 41 is inserted is assembled from the outside in the radial direction. Therefore, the interval Ij between the connecting shafts 65 is set larger than the diameter Db of the planetary ball 40.
  • the diameters (maximum outer diameters) of the first and second disk members 61 and 62 are set to the inner diameters of the contact portions of the first rotating member 10 and the second rotating member 20 with the planetary ball 40 ( Smaller than the minimum inner diameter). Since the first and second rotating members 10 and 20 are inserted into the shaft 50 after the planetary ball 40 is assembled to the carrier 60, the first and second disk members 61 and 62 have an outer shape. This is to prevent the insertion of the two rotating members 10 and 20 from being hindered.
  • the second rotating member 20 has a lower rotation (deceleration) than the first rotating member 10 when the planetary ball 40 is tilted in one direction, and the first rotating member 10 is tilted in the other direction. (High speed). Therefore, in the continuously variable transmission 1, the rotation ratio (speed ratio ⁇ ) between the first rotating member 10 and the second rotating member 20 can be changed steplessly by changing the tilt angle. it can. At the time of acceleration ( ⁇ ⁇ 1) here, the upper planetary ball 40 in FIG.
  • the continuously variable transmission 1 is provided with a transmission that changes its transmission ratio ⁇ . Since the gear ratio ⁇ changes with changes in the tilt angle of the planetary ball 40, a tilting device that tilts each planetary ball 40 is used as the speed change device.
  • the transmission is provided with a disk-shaped iris plate (tilting element) 80.
  • the iris plate 80 is attached to the shaft 50 via the radial bearing RB7 on the radially inner side, and can rotate relative to the shaft 50 about the first rotation center axis R1.
  • An actuator such as a motor (not shown) is used for the relative rotation.
  • the driving force of this driving unit is transmitted to the outer peripheral portion of the iris plate 80 via the worm gear 81.
  • the iris plate 80 is disposed on the input side (contact portion side with the first rotating member 10) or the output side (contact portion side with the second rotating member 20) of each planetary ball 40 and outside the carrier 60. . In this example, it is arranged on the input side.
  • the iris plate 80 is formed with a throttle hole (iris hole) 82 into which one protrusion of the support shaft 41 is inserted. If the radial direction of the starting point is assumed to be the reference line L, the throttle hole 82 has an arc shape that moves away from the reference line L in the circumferential direction from the radially inner side to the radially outer side. (Fig. 4). 4 is a view seen from the direction of arrow A in FIG.
  • One projecting portion of the support shaft 41 moves to the center side of the iris plate 80 along the aperture 82 when the iris plate 80 rotates in the clockwise direction in FIG.
  • the respective protrusions of the support shaft 41 are inserted into the guide grooves 63 and 64 of the carrier 60, one protrusion inserted into the throttle hole 82 moves radially inward.
  • one of the protrusions moves to the outer peripheral side of the iris plate 80 along the aperture hole 82 when the iris plate 80 rotates counterclockwise in FIG.
  • the one protrusion moves outward in the radial direction by the action of the guide grooves 63 and 64.
  • the support shaft 41 can move in the radial direction by the guide grooves 63 and 64 and the throttle hole 82. Therefore, the planetary ball 40 can be tilted as described above.
  • the positional deviation in the axial direction of each planetary ball 40 (the axial direction of the first rotation central axis R1) is suppressed so that the planetary ball 40 does not interfere with the carrier 60.
  • the concave portion 32 of the sun roller 30 suppresses relative movement of the planetary ball 40 in the axial direction with respect to the sun roller 30, so that displacement of the planetary ball 40 in the axial direction is suppressed.
  • the continuously variable transmission 1 it is preferable to reduce the movable amount ⁇ Tss of the sun roller 30 in the axial direction with respect to the shaft 50 in order to suppress the displacement. This is because the planetary ball 40 may move as the sun roller 30 moves in the axial direction. Therefore, the continuously variable transmission 1 is provided with a positioning structure (third positioning structure) that sets the axially movable amount ⁇ Tss of the sun roller 30 with respect to the shaft 50.
  • the first and second disk members 61 and 62 of the carrier 60 are provided with annular portions 61a and 62a, and the free ends of the annular portions 61a and 62a and radial bearings are provided.
  • the third positioning structure can be configured by the annular portions 61a and 62a of the carrier 60 and the radial bearings RB5 and RB6 of the sun roller 30.
  • Equation 1 is a distance between the free end of the annular portion 61a and the free end of the annular portion 62a, as shown in FIG. “Is” is a distance between the right side surface of the radial bearing RB5 in FIG. 1 and the left side surface of the radial bearing RB6 in FIG.
  • the gap in the axial direction between the sun roller 30 (strictly, radial bearings RB5, RB6) and the carrier 60 (strictly, the free ends of the annular portions 61a, 62a) is the movable amount ⁇ Tsc.
  • an elastic member such as a string spring is disposed in the gap, the maximum amount of movement between the sun roller 30 and the carrier 60 obtained by expansion and contraction of the elastic member is set as a movable amount ⁇ Tsc.
  • the continuously variable transmission 1 is configured such that the axially movable amount ⁇ Tss of the sun roller 30 with respect to the shaft 50 of the sun roller 30 (the axial direction of the sun roller 30 with respect to the carrier 60).
  • the movable amount ⁇ Tsc By reducing the movable amount ⁇ Tsc), the positional deviation of the planetary ball 40 in the axial direction can be suppressed.
  • the movement of the first rotating member 10 and the second rotating member 20 in the axial direction can be cited.
  • the second rotating member 20 is disposed on the outer peripheral surface side of the shaft 50, while the first rotating member 10 is the outer peripheral surface of the second rotating member 20. Arranged on the side.
  • the first rotating member 10 is restricted by the torque cam 71 relative to the second rotating member 20 in the right direction of the drawing in FIG. 1, but on the left side of the drawing in FIG. 1, for example, in the axial direction of the torque cam 71.
  • the relative movement with respect to the second rotating member 20 can be performed within the operating range.
  • the second rotating member 20 is provided on the side of the radial bearing RB1 (on the right side in FIG. 1) and on the side of the radial bearing RB2 (on the left side in FIG. 1).
  • the movable member ⁇ Touts in the axial direction with respect to the shaft 50 is regulated by the disposed locking member 94. Accordingly, when the planetary ball 40 is focused only on the first and second rotating members 10 and 20, the influence of the movement in the axial direction of the second rotating member 20 to which the shaft 50 is attached is larger. It can move in the axial direction within the range of ⁇ Touts.
  • “Isr” in the formula 2 is a distance between the locking member 93 and the locking member 94 as shown in FIG. “Ir” is a distance between the right side surface of the radial bearing RB1 in FIG. 1 and the left side surface of the radial bearing RB2 in FIG.
  • the gap in the axial direction between the second rotating member 20 (strictly, radial bearings RB1, RB2) and the carrier 60 (strictly, locking members 93, 94) is set as the movable amount ⁇ Toutc.
  • an elastic member such as a string spring
  • the maximum moving force between the second rotating member 20 and the carrier 60 obtained by expansion / contraction of the elastic member is expressed as a movable amount ⁇ Toutc.
  • the torque cam 71, the annular member 72, the thrust bearing TB, the first rotating member 10, the radial bearings RB ⁇ b> 3 and RB ⁇ b> 4 of the input shaft 11, and the following second positioning structure are included in the first rotating member 10.
  • a first positioning structure is set for setting an amount of movement ⁇ Tinc in the axial direction relative to the carrier 60.
  • the retaining members 93, 94, the second rotating member 20, the radial bearings RB 1, RB 2 of the output shaft 21, and the retaining grooves of the retaining members 93, 94 on the shaft 50 are in the axial direction with respect to the carrier 60 of the second rotating member 20.
  • the second positioning structure is set to set the movable amount ⁇ Toutc.
  • the axial dimensional accuracy (dimension tolerance) in the mounting grooves of the locking members 93 and 94 of the shaft 50 and the assembly accuracy (tolerance at the time of assembling) are shifted.
  • the sun roller 30, the carrier 60, and the planetary ball In addition to the dimensional accuracy and assembly accuracy of the components related to 40, the dimensional accuracy and assembly accuracy of the components related to the second rotating member 20 are also affected. Therefore, in this case, in addition to the movable amount ⁇ Toutc, the position of the planetary ball 40 in the axial direction is determined by these dimensional accuracy and assembly accuracy.
  • the movable amount ⁇ Tsc is smaller than the movable amount ⁇ Toutc, the movable amount ⁇ Tsc, the sun roller 30, the carrier 60, and the planets are not affected by the parts related to the second rotating member 20.
  • the position of the planetary ball 40 in the axial direction is determined by the dimensional accuracy and assembly accuracy of the components related to the ball 40.
  • the parts related to the sun roller 30 naturally refer to the radial bearings RB5 and RB6 which are press-fitted into the sun roller 30 itself.
  • the parts related to the carrier 60 refer to the carrier 60 itself, the locking members 91 and 92 for locking the carrier 60, and the shaft 50 to which the locking members 91 and 92 are attached.
  • the components related to the planetary ball 40 are the planetary ball 40 itself, the support shaft 41 and the bearing that support the planetary ball 40, and strictly speaking, the carrier 60 that holds the support shaft 41, the iris plate 80, and the like. It also points to that.
  • the larger the stacking tolerance the wider the interval between the parts (corresponding to the movable amount ⁇ Tsc and the movable amount ⁇ Toutc described above), thereby preventing the interference between the components.
  • the smaller the number of parts that are subject to tolerance accumulation the shorter the interval between parts, so that the size of the product can be reduced.
  • the continuously variable transmission 1 is not affected by the components related to the second rotating member 20 when determining the position of the planetary ball 40 in the axial direction, and accordingly requires accuracy in the axial direction accordingly.
  • the number of parts can be reduced. That is, for the parts related to the second rotating member 20, it is not necessary to perform tolerance management with high accuracy as compared with the parts related to the sun roller 30, the carrier 60, and the planetary ball 40. Therefore, the continuously variable transmission 1 can increase the positioning accuracy of the planetary ball 40 in the axial direction while reducing the cost.
  • the tolerance management is for suppressing the positional deviation of the planetary ball 40 in the axial direction, and indicates that the dimensional tolerance is reduced or the assembly position of components in the axial direction is restricted.
  • the continuously variable transmission 1 since the continuously variable transmission 1 has few parts that are subject to accumulation of tolerances, the accumulation tolerance is reduced. Therefore, the continuously variable transmission 1 can reduce the distance between the planetary ball 40 and the carrier 60 in the axial direction, and thus can be made compact.
  • the first rotating member 10 and the second rotating member 20 can still move in the axial direction even when the sun roller 30 abuts on the carrier 60.
  • the planetary ball 40 pressed against the sun roller 30 by the rotating member 10 and the second rotating member 20 can move to the central portion (the most recessed portion) of the recess 32.
  • the continuously variable transmission 1 in this case can be further downsized because the distance between the planetary ball 40 and the carrier 60 in the axial direction is further reduced.
  • the sun roller 30 (strictly speaking, radial bearings RB5, RB6) pushed in the axial direction by the skew of each planetary ball 40 is applied to the carrier 60.
  • the phenomenon of collision can be prevented.
  • the skew occurs, for example, when the continuously variable transmission 1 is switched between driving and non-driving.
  • the continuously variable transmission 1 since such a collision is eliminated, no sound is generated due to the collision, so that silence can be improved.
  • the free ends of the annular portions 61a and 62a are brought into contact with the side surfaces of the inner rings of the radial bearings RB5 and RB6 so that the sun roller 30 cannot move in the axial direction.
  • the movable amount ⁇ Tsc may be generated depending on the dimensional accuracy and assembly accuracy in the axial direction of the sun roller 30 and the annular portions 61a and 62a. Therefore, in order to ensure that the movable amount ⁇ Tsc is zero, it is preferable to adopt the structure illustrated in FIG. 5 or FIG.
  • Reference numeral 2 shown in FIG. 5 represents an example of a continuously variable transmission in which the movable amount ⁇ Tsc is set to zero.
  • the continuously variable transmission 2 has the following structural differences from the continuously variable transmission 1 described above.
  • the continuously variable transmission 2 is provided with a shaft 150 instead of the shaft 50.
  • the shaft 150 has a bulging portion 151 that bulges radially outward on the outer peripheral surface side of the shaft 50.
  • the bulging portion 151 is a columnar portion or a cylindrical portion concentric with the main portion of the shaft 150.
  • the sun roller 30 is held on the shaft 150 via radial bearings RB5 and RB6 inserted on the outer peripheral surface of the bulging portion 151.
  • the radial bearing RB6 in order to bring the side surface of the inner ring into contact with the free end of the annular portion 62a, it is more axial than the end portion of the bulging portion 151 (here, the left end portion in FIG. 5). Keep protruding.
  • a cylindrical member 95 longer than the axial length of the annular portion 31 of the sun roller 30 is disposed between the radial bearing RB5 and the radial bearing RB6.
  • the cylindrical member 95 has an inner diameter equivalent to the inner ring of the radial bearings RB5 and RB6 and an outer diameter smaller than the inner diameter of the outer ring, and is inserted into the outer peripheral surface of the bulging portion 151.
  • a fastening member that presses the sun roller 30 toward the carrier 60 in the axial direction is disposed.
  • a male screw is threaded on the outer peripheral surface of the end of the bulging portion 151 (here, the end on the right side in FIG. 5).
  • a member (for example, a nut) 96 is arranged as a fastening member.
  • the female screw member 96 has a shape that generates an axial force only on the inner ring of the radial bearing RB5. Therefore, in the continuously variable transmission 2, an external force in the axial direction is applied to the inner ring of the radial bearing RB5 as it is tightened. However, as described above, the rotation operation of the sun roller 30 in the circumferential direction is hindered. Therefore, deterioration of fuel consumption due to an increase in driving loss can be prevented.
  • a third positioning structure is constituted by the annular portion 62a of the carrier 60, the radial bearings RB5 and RB6 of the sun roller 30, the cylindrical member 95, the female screw member 96, and the shaft 150.
  • the continuously variable transmission 2 can reliably set the movable amount ⁇ Tsc to 0, the influence of the assembly accuracy is eliminated, and the tolerance management regarding the dimensional accuracy of the parts related to the sun roller 30, the carrier 60, and the planetary ball 40 is managed. By doing so, the planetary ball 40 can be positioned in the axial direction.
  • the carrier 60 cannot be formed into a bowl shape in advance when the assembly is assembled, and the second disk member 62, the radial bearings RB5, RB6, and the cylindrical member 95 are attached.
  • the sun rollers 30 are sequentially inserted into the shaft 150 and tightened with the female screw member 96, and then the first disk member 61 is inserted into the shaft 150 to form the bowl-shaped carrier 60. Therefore, since the continuously variable transmission 2 cannot regulate the size in the axial direction within the range of the dimensional tolerance in the state of the carrier 60 alone, a jig or assembly workability for regulating the size can be reduced. If this is taken into account, the cost may increase.
  • the continuously variable transmission 3 shown in FIG. 6 is an improvement on that point.
  • the continuously variable transmission 3 has the following structural differences from the continuously variable transmission 1 described above.
  • a cylindrical member 95 similar to the continuously variable transmission 2 is disposed between the radial bearings RB5 and RB6. Therefore, also in this continuously variable transmission 3, regardless of whether or not an external force in the axial direction acts on the radial bearings RB5 and RB6, the rotational operation of the sun roller 30 in the circumferential direction is not hindered by the external force.
  • the continuously variable transmission 3 is provided with an axial force transmission member 97 capable of transmitting an axial force directed toward the cylindrical member 95 to the inner ring of the radial bearing RB5.
  • the axial force transmission member 97 has an inner diameter equivalent to the inner ring of the radial bearing RB5 and an outer diameter smaller than the inner diameter of the outer ring, and the cylindrical member 95 sandwiching the radial bearing RB5 on the shaft 250 Are arranged on the opposite side (the right side of FIG. 6). Therefore, the axial force transmission member 97 can have one end abutted on the side surface of the radial bearing RB5 opposite to the side surface of the inner ring with which the cylindrical member 95 is in contact, and can transmit the axial force from the side surface.
  • the axial force transmission member 97 has an arc-shaped divided structure that sandwiches the shaft 250 from the radially outer side.
  • the axial force is generated by tightening a female screw member (for example, a nut) 98 as the fastening member disposed at the other end.
  • the cylindrical member 95 When the continuously variable transmission 3 is assembled, the cylindrical member 95 is inserted inside the sun roller 30, and the radial bearings RB5 and RB6 are press-fitted from both ends thereof.
  • the carrier 160 is formed in a bowl shape. Similar to the continuously variable transmission 1, the continuously variable transmission 3 has the sun roller 30 disposed between the carriers 160, and the shaft 250 is inserted into these. Then, the axial force transmission member 97 is inserted into the shaft 250 and tightened with the female screw member 98.
  • the carrier 160 replaces the first disk member 61 with the first disk member 161 in the carrier 60 exemplified above.
  • the first disk member 161 can insert the axial force transmission member 97 into the first disk member 61 and can be left in a state in which the axial force transmission member 97 is inserted.
  • the opening is formed on the inner peripheral surface side.
  • a groove 161a is formed as the opening.
  • a gap is formed between the inner peripheral surface of the first disk member 161 and the outer peripheral surface of the shaft 250, so that the axial force transmission member 97 can be inserted from the gap.
  • the carrier 160 can fit or press-fit the inner peripheral surface of the first disc member 161 other than the groove portion 161a to the outer peripheral surface of the shaft 250, the carrier 160 can be arranged concentrically with the shaft 250.
  • the first disk member 161 is not provided with the annular portion 61 a unlike the first disk member 61.
  • the axial length of the axial force transmission member 97 is such that the other end of the axial force transmission member 97 is more than the first disc member 161 in the assembled state in the shaft 250 so that the female screw member 98 after being inserted into the shaft 250 can be tightened.
  • the length protrudes to the right side of the sheet of FIG.
  • the shaft 250 has a male screw threaded on the outer peripheral surface corresponding to the arrangement of the female screw member 98 in the shaft 50 exemplified above.
  • the outer diameter on the right side of the paper surface of FIG. 6 is made smaller than the outer diameter of the portion where the sun roller 30 or the like is arranged, and the male screw portion and the female screw member 98 are screwed together. It is possible.
  • the iris plate 80 is attached to the small diameter portion via a radial bearing RB7.
  • the third positioning structure is configured by the annular portion 62a of the carrier 160, the radial bearings RB5 and RB6 of the sun roller 30, the cylindrical member 95, the axial force transmission member 97, the female screw member 98, and the shaft 250. ing.
  • the continuously variable transmission 3 can reliably set the movable amount ⁇ Tsc to 0 as compared with the continuously variable transmission 1. Further, the continuously variable transmission 3 can perform the assembling work of the sun roller 30 and the like after the carrier 160 is first assembled as compared with the continuously variable transmission 2. Therefore, the continuously variable transmission 3 has improved workability compared to the continuously variable transmission 2, and a jig for correcting the dimensional accuracy of the carrier 160 in the axial direction within a specified range. In addition, the cost of assembly work can be reduced. Furthermore, the continuously variable transmission 3 is made of a carrier 160 formed by assembling the first disk member 161, the second disk member 62, and the connecting shaft 65 by casting, powder metallurgy, or the like, compared to the continuously variable transmission 2. Since it can be replaced with an integrated structure, the cost can be reduced by reducing the number of parts. That is, the continuously variable transmission 3 can reliably reduce the movable amount ⁇ Tsc to 0 at low cost while obtaining good assembling workability.
  • the axial displacement of the planetary ball 40 with respect to the sun roller 30 is not considered due to the recess 32.
  • the planetary ball 40 may be displaced in the axial direction with respect to the sun roller 30. This is because a spin moment is generated in the planetary ball 40 at the time of driving, and the support shaft 41 is caused by the clearance in the groove width direction between the guide grooves 63 and 64, a bearing, and the like due to the spin moment. This is because the first rotation center axis R1 is shifted by a minute amount of backlash.
  • the rotation speed of the sun roller 30 is between the sun roller 30 and the planetary ball 40 at that time. This is because a side slip speed determined by the rotational speed of the planetary ball 40 is generated, and the side slip force works by the side slip speed.
  • the planetary ball 40 may move on the concave portion 32 due to the side slip force accompanying the shift of the support shaft 41, and may shift in the axial direction with respect to the sun roller 30.
  • the side slip force is a force in the axial direction if the planetary ball 40 exists at the center of the recess 32, and in the direction along the curved surface of the recess 32 if the planetary ball 40 deviates from the center of the recess 32. It becomes power.
  • the axial deviation of the planetary ball 40 relative to the sun roller 30 is taken into consideration.
  • This movable amount ⁇ Tbs is a maximum movement distance ⁇ d1 when a side slip force Fss1 in one direction is applied and a maximum movement distance ⁇ d2 when a side slip force Fss2 in the opposite direction is applied. And the sum (Formula 3).
  • a normal force Fr from the first rotating member 10 and the second rotating member 20 and a normal force Fs from the sun roller 30 act on the planetary ball 40.
  • the normal force Fr is determined by, for example, the axial force of the torque cam 71 or the like.
  • the normal force Fs is determined by the normal force Fr, the side slip force Fss1 (Fss2), and the like.
  • the x-direction component of the side slip force Fss1 and the x-direction component of the normal force Fr from the first and second rotating members 10 and 20 Moves on the recess 32 to an angle ⁇ 1 at which they are balanced.
  • the movement distance in the axial direction from the center of the recess 32 of the planetary ball 40 in the balanced state of FIG. 9 is the axis of the planetary ball 40 relative to the sun roller 30 when the one-side side slip force Fss1 is applied. This is the maximum movement distance ⁇ d1 in the direction (Formula 4).
  • Rs in Equation 4 indicates the radius of the recess 32, and “Rb” indicates the radius of the planetary ball 40.
  • the following expression 7 is an arithmetic expression derived from the expressions 5 and 6. By this equation 7, the angle ⁇ 1 when the forces are balanced can be obtained.
  • ⁇ 2 represents an angle when the side slip force Fss2 in the reverse direction works and each force is in a balanced state.
  • This angle ⁇ 2 can be obtained by the following equation 9 which is the same arithmetic expression as the angle ⁇ 1.
  • the movable amount ⁇ Tbs of the planetary ball 40 in the axial direction relative to the sun roller 30 can be obtained by an arithmetic expression in which Expressions 4 and 8 are substituted into Expression 3 (Expression 10).
  • the planetary ball 40 is positioned in the axial direction. Therefore, in this continuously variable transmission 1, the amount of movement ⁇ Tbs of the planetary ball 40 in the axial direction relative to the sun roller 30 is greater than or equal to the sum of the amount of movement ⁇ Tsc and the amount of movement ⁇ Toutc.
  • the planetary ball 40 is positioned in the axial direction by reducing the movable amount ⁇ Tsc to zero. Therefore, in the continuously variable transmissions 1, 2, and 3, when the movable amount ⁇ Tbs is greater than or equal to the movable amount ⁇ Toutc, the planetary ball 40 is axial with respect to the sun roller 30.
  • the side slip force Fss1 Fss2
  • RB6 radial bearing RB6
  • the radial bearings RB5 and RB6 may be replaced with angular bearings or conical roller bearings capable of absorbing the thrust force. In this case, while the rotational operation of the sun roller 30 becomes smooth, preloading is possible. And drag resistance increases, which is not preferable.
  • the continuously variable transmission 1 of the present embodiment sets the movable amount ⁇ Tsc to be smaller than the movable amount ⁇ Toutc ( ⁇ Tsc ⁇ Toutc) as in the first embodiment, and the movable amount.
  • ⁇ Tbs is set smaller than the sum of the movable amount ⁇ Tsc and the movable amount ⁇ Toutc ( ⁇ Tbs ⁇ Tsc + ⁇ Toutc).
  • the radial bearing RB6 (RB5) does not receive an axial force (thrust force) due to the side slip force Fss1 (Fss2).
  • the radial bearing RB6 (RB5) does not receive the axial force (thrust force) due to the side slip force Fss1 (Fss2).
  • the continuously variable transmission 2 is illustrated as a representative.
  • the continuously variable transmissions 1, 2, and 3 according to the present embodiment are not applied with the thrust force due to the side slip force Fss1 (Fss2) to the radial bearing RB6 (RB5). Therefore, the continuously variable transmissions 1, 2, 3 of this embodiment can reduce the rated capacity of the radial bearings RB 5, RB 6 compared to those exemplified in Embodiments 1 and 2, so It is possible to reduce the weight and further reduce the cost. Further, the continuously variable transmissions 1, 2, and 3 of the present embodiment require a preload such as an angular bearing or a conical roller bearing for rotation of the sun roller 30 and do not use a bearing having a large drag resistance. Since a low-loss bearing such as a cylindrical roller bearing can be used, fuel consumption can be improved by reducing the loss.
  • the continuously variable transmission may be set as follows.
  • This continuously variable transmission 4 not only has the same effects as the continuously variable transmissions 1, 2, and 3 of this embodiment, but also prevents interference between the sun roller 30 and the carrier 60. Therefore, the continuously variable transmission 4 does not require the radial bearings RB5 and RB6, unlike the continuously variable transmission 5 shown in FIG.
  • the continuously variable transmission 5 is the continuously variable transmission 4 in which the sun rollers 130 are inserted into the shaft 50 without providing the radial bearings RB5 and RB6. Therefore, since the continuously variable transmission 5 can reduce the number of parts compared to the continuously variable transmission 4, the cost can be reduced.
  • the sun roller 130 is supported by a plurality of planetary balls 40 disposed on the recess 132.
  • the recess 132 has the same shape as the recess 32 of the sun roller 30.
  • the input shaft 11 and the output shaft 21 are arranged together on one side when viewed from the planetary ball 40, for example, and the input shaft 11 is the output shaft 21. Is arranged via radial bearings RB3, RB4. Accordingly, in these continuously variable transmissions 1-6, the second rotary member 20 and the output shaft 21 are compared as targets for comparison of the axially movable amount ⁇ Tsc of the sun roller 30 (130) with respect to the carrier 60 (160).
  • the continuously variable transmission 7 replaces the first rotating member 10 and the input shaft 11 with the first rotating member 110 and the input shaft 111, and the second rotating member 20 and the output.
  • the shaft 21 is replaced with the second rotating member 120 and the output shaft 121.
  • components such as bearings related to the first rotating member 10 and the input shaft 11, the second rotating member 20 and the output shaft 21 are as follows. Replace with
  • the first rotating member 110 and the second rotating member 120 have the same shape as the second rotating member 20 exemplified above. Furthermore, the input shaft 111 and the output shaft 121 have the same shape as the output shaft 21 exemplified above. Therefore, the input shaft 111 includes a disk portion 111a and a cylindrical portion 111b having a central axis coinciding with the first rotation central axis R1. In addition, the output shaft 121 includes a disk portion 121a and a cylindrical portion 121b whose center axis coincides with the first rotation center axis R1.
  • a torque cam 171, an annular member 172, and a thrust bearing TB1 are disposed between the outer peripheral plane of the disk portion 111a and the casing Ca.
  • the thrust bearing TB1 can relatively rotate the input shaft 111 and the annular member 172.
  • the torque cam 171 generates an axial force that presses the first rotating member 110 against the planetary ball 40 by engaging the engagement member on the housing Ca side and the engagement member on the annular member 172 side.
  • an elastic member 173 such as a coiled spring is disposed between the engagement member on the casing Ca side and the casing Ca.
  • the elastic member 173 generates an elastic force in the axial direction for pressing the first rotating member 110 against the planetary ball 40 when not driven, and an initial load due to the elastic force is applied to the annular member 172. Deployed in. Further, the cylindrical portion 111b of the input shaft 111 has an inner peripheral surface attached to the outer peripheral surface of the shaft 50 via radial bearings RB8 and RB9. That is, the input shaft 111 can perform relative rotation in the circumferential direction with respect to the shaft 50 by the radial bearings RB8 and RB9 and the thrust bearing TB1.
  • the planetary ball 40 with respect to the shaft 50 of the first rotating member 110 is secured by a locking member 99 such as a snap ring disposed on the side surface side of the radial bearing RB9 (left side in FIG. 14). Movement in the axial direction toward the side is restricted.
  • the first positioning structure is constituted by Ca.
  • a torque cam 175, an annular member 176, and a thrust bearing TB2 are disposed between the outer peripheral plane of the disk portion 121a and the casing Ca.
  • the thrust bearing TB2 can relatively rotate the output shaft 121 and the annular member 176.
  • the torque cam 175 generates an axial force that presses the second rotating member 120 against the planetary ball 40 by engaging the engagement member on the housing Ca side and the engagement member on the annular member 176 side.
  • an elastic member 177 such as a coiled spring is disposed between the engagement member on the casing Ca side and the casing Ca.
  • the elastic member 177 generates an elastic force in the axial direction for pressing the second rotating member 120 against the planetary ball 40 when not driven, and an initial load due to the elastic force is applied to the annular member 176. Deployed in. Further, the cylindrical portion 121b of the output shaft 121 has an inner peripheral surface attached to the outer peripheral surface of the shaft 50 via radial bearings RB1 and RB2. That is, the output shaft 121 can perform relative rotation in the circumferential direction with respect to the shaft 50 by the radial bearings RB1 and RB2 and the thrust bearing TB2.
  • the locking member 93 disposed on the side surface side (the right side in FIG. 14) of the radial bearing RB ⁇ b> 1 is directed toward the planetary ball 40 side with respect to the shaft 50 of the second rotating member 120. Movement in the axial direction is restricted.
  • the second positioning structure is constituted by Ca.
  • the continuously variable transmission 7 is based on the same idea as the setting of the continuously variable transmission 1 of the third embodiment, and the movable amount ⁇ Tsc is smaller than the smaller one of the movable amount ⁇ Tinc or the movable amount ⁇ Toutc.
  • the movable amount ⁇ Tbs may be set smaller than the sum of the movable amount ⁇ Tsc and the movable amount ⁇ Tinc or the smaller one of the movable amounts ⁇ Toutc. According to the continuously variable transmission 7 of this setting, the same effect as the continuously variable transmission 1 of the third embodiment can be obtained.
  • the continuously variable transmission 7 of the present embodiment makes the free ends of the annular portions 61a and 62a contact the side surfaces of the inner rings of the radial bearings RB5 and RB6, like the continuously variable transmission 1 of the second embodiment.
  • the movable amount ⁇ Tsc may be set to 0, and the same effect as that of the continuously variable transmission 1 can be obtained.
  • the continuously variable transmission 7 may be provided with the cylindrical member 95 and the female screw member 96 of the continuously variable transmission 2, and the shaft 50 may be replaced with the shaft 150.
  • the same effect as that of the continuously variable transmission 2 can be obtained.
  • the cylindrical member 95, the axial force transmission member 97, and the female screw member 98 of the continuously variable transmission 3 are provided, and the carrier 60 and the shaft 50 are respectively connected to the carrier 160 and the shaft 250 of the continuously variable transmission 3.
  • the same effect as the continuously variable transmission 3 can be obtained.
  • the movable amount ⁇ Tsc is set to 0 based on the continuously variable transmission 7, based on the same idea as the continuously variable transmissions 1, 2, and 3 of the third embodiment
  • the movable amount ⁇ Tbs may be set smaller than the smaller one of the movable amount ⁇ Tinc or the movable amount ⁇ Toutc. According to these continuously variable transmissions, the same effects as the continuously variable transmissions 1, 2, and 3 of the third embodiment can be obtained.
  • the continuously variable transmission 7 of the present embodiment is based on the same idea as the continuously variable transmission 4 of the third embodiment, and the larger of the movable amount ⁇ Tinc or the movable amount ⁇ Toutc is greater than the movable amount ⁇ Tsc. May be set smaller, and the movable amount ⁇ Tbs may be set smaller than the sum of the movable amount ⁇ Tsc and the smaller of the movable amount ⁇ Tinc and the movable amount ⁇ Toutc. According to the continuously variable transmission 7, the same effect as that of the continuously variable transmission 4 can be obtained. Since the continuously variable transmission 7 can prevent the sun roller 30 and the carrier 60 from interfering with each other, the sun roller 30 can be replaced with the sun roller 130, and the same effect as the continuously variable transmission 5 of the third embodiment is obtained. Can be obtained.
  • the continuously variable transmission 7 according to the present embodiment is based on the same idea as the continuously variable transmission 6 according to the third embodiment, so long as the movable amount ⁇ Tinc and the movable amount ⁇ Toutc can be set to 0. Along with the setting, the movable amount ⁇ Tbs may be set smaller than the movable amount ⁇ Tsc. According to the continuously variable transmission 7, the same effect as that of the continuously variable transmission 6 can be obtained.

Landscapes

  • Engineering & Computer Science (AREA)
  • General Engineering & Computer Science (AREA)
  • Mechanical Engineering (AREA)
  • Friction Gearing (AREA)
  • Gear Transmission (AREA)
PCT/JP2011/057902 2011-03-29 2011-03-29 無段変速機 Ceased WO2012131921A1 (ja)

Priority Applications (6)

Application Number Priority Date Filing Date Title
US13/394,596 US8961363B2 (en) 2011-03-29 2011-03-29 Continuously variable transmission
IN2017DEN2012 IN2012DN02017A (enExample) 2011-03-29 2011-03-29
PCT/JP2011/057902 WO2012131921A1 (ja) 2011-03-29 2011-03-29 無段変速機
CN201180004773.1A CN103608607B (zh) 2011-03-29 2011-03-29 无级变速器
EP11820887.5A EP2653747A4 (en) 2011-03-29 2011-03-29 CONTINUOUS ADJUSTABLE TRANSMISSION
JP2011539572A JP5201272B2 (ja) 2011-03-29 2011-03-29 無段変速機

Applications Claiming Priority (1)

Application Number Priority Date Filing Date Title
PCT/JP2011/057902 WO2012131921A1 (ja) 2011-03-29 2011-03-29 無段変速機

Publications (1)

Publication Number Publication Date
WO2012131921A1 true WO2012131921A1 (ja) 2012-10-04

Family

ID=46929747

Family Applications (1)

Application Number Title Priority Date Filing Date
PCT/JP2011/057902 Ceased WO2012131921A1 (ja) 2011-03-29 2011-03-29 無段変速機

Country Status (6)

Country Link
US (1) US8961363B2 (enExample)
EP (1) EP2653747A4 (enExample)
JP (1) JP5201272B2 (enExample)
CN (1) CN103608607B (enExample)
IN (1) IN2012DN02017A (enExample)
WO (1) WO2012131921A1 (enExample)

Cited By (5)

* Cited by examiner, † Cited by third party
Publication number Priority date Publication date Assignee Title
CN107339385A (zh) * 2016-10-31 2017-11-10 西华大学 一种无自旋单环盘式无级变速单元
JP2018146005A (ja) * 2017-03-03 2018-09-20 摩特動力工業股▲ふん▼有限公司Motive Power Industry Co.,Ltd. 無段変速環状ベース部の駆動機構
TWI644032B (zh) * 2018-05-31 2018-12-11 摩特動力工業股份有限公司 Parallel two-way full clamping mechanism of stepless transmission
TWI668382B (zh) * 2019-02-25 2019-08-11 摩特動力工業股份有限公司 Series two-way full clamping mechanism of stepless transmission
CN110608273A (zh) * 2018-06-15 2019-12-24 吴丹凤 一种变速装置

Families Citing this family (27)

* Cited by examiner, † Cited by third party
Publication number Priority date Publication date Assignee Title
US7011600B2 (en) 2003-02-28 2006-03-14 Fallbrook Technologies Inc. Continuously variable transmission
KR101422475B1 (ko) 2005-11-22 2014-07-28 폴브룩 인텔렉츄얼 프로퍼티 컴퍼니 엘엘씨 연속 가변 변속기를 구비한 자전거
EP1963713B1 (en) * 2005-12-09 2015-02-25 Fallbrook Intellectual Property Company LLC Continuously variable transmission
EP1811202A1 (en) 2005-12-30 2007-07-25 Fallbrook Technologies, Inc. A continuously variable gear transmission
EP2125469A2 (en) 2007-02-01 2009-12-02 Fallbrook Technologies Inc. System and methods for control of transmission and/or prime mover
CN101657653B (zh) * 2007-02-12 2014-07-16 福博科知识产权有限责任公司 一种传动装置
EP2700843A3 (en) 2007-02-16 2017-11-08 Fallbrook Intellectual Property Company LLC Infinitely variable transmissions, continuously variable transmissions, methods, assemblies, subassemblies, and components therefor
EP2573424A3 (en) 2007-04-24 2017-07-26 Fallbrook Intellectual Property Company LLC Electric traction drives
CN103939602B (zh) 2007-11-16 2016-12-07 福博科知识产权有限责任公司 用于变速传动装置的控制器
PL2234869T3 (pl) 2007-12-21 2012-12-31 Fallbrook Tech Inc Przekładnie automatyczne i sposoby dla przekładni automatycznych
WO2009148461A1 (en) 2008-06-06 2009-12-10 Fallbrook Technologies Inc. Infinitely variable transmissions, continuously variable transmissions, methods, assemblies, subassemblies, and components therefor
EP2304272B1 (en) 2008-06-23 2017-03-08 Fallbrook Intellectual Property Company LLC Continuously variable transmission
US8469856B2 (en) 2008-08-26 2013-06-25 Fallbrook Intellectual Property Company Llc Continuously variable transmission
US8167759B2 (en) 2008-10-14 2012-05-01 Fallbrook Technologies Inc. Continuously variable transmission
KR101820351B1 (ko) 2009-04-16 2018-02-28 폴브룩 인텔렉츄얼 프로퍼티 컴퍼니 엘엘씨 무단 변속기를 위한 고정자 조립체 및 시프팅 장치
US8512195B2 (en) 2010-03-03 2013-08-20 Fallbrook Intellectual Property Company Llc Infinitely variable transmissions, continuously variable transmissions, methods, assemblies, subassemblies, and components therefor
US8888643B2 (en) 2010-11-10 2014-11-18 Fallbrook Intellectual Property Company Llc Continuously variable transmission
CA2861889A1 (en) 2012-01-23 2013-08-01 Fallbrook Intellectual Property Company Llc Infinitely variable transmissions, continuously variable transmissions, methods, assemblies, subassemblies, and components therefor
JP6660876B2 (ja) 2013-04-19 2020-03-11 フォールブルック インテレクチュアル プロパティー カンパニー エルエルシー 連続可変変速機
EP3147541B1 (en) * 2014-05-23 2019-06-19 NSK Ltd. Friction roller-type transmission
US10400872B2 (en) 2015-03-31 2019-09-03 Fallbrook Intellectual Property Company Llc Balanced split sun assemblies with integrated differential mechanisms, and variators and drive trains including balanced split sun assemblies
US10047861B2 (en) 2016-01-15 2018-08-14 Fallbrook Intellectual Property Company Llc Systems and methods for controlling rollback in continuously variable transmissions
EP3430287B1 (en) 2016-03-18 2020-12-23 Fallbrook Intellectual Property Company LLC Continuously variable transmissions systems and methods
US10023266B2 (en) 2016-05-11 2018-07-17 Fallbrook Intellectual Property Company Llc Systems and methods for automatic configuration and automatic calibration of continuously variable transmissions and bicycles having continuously variable transmissions
US11215268B2 (en) 2018-11-06 2022-01-04 Fallbrook Intellectual Property Company Llc Continuously variable transmissions, synchronous shifting, twin countershafts and methods for control of same
CN111271422B (zh) * 2018-12-05 2022-08-05 西安交通大学 一种双排传动变速组件和汽车无级变速器
WO2020176392A1 (en) 2019-02-26 2020-09-03 Fallbrook Intellectual Property Company Llc Reversible variable drives and systems and methods for control in forward and reverse directions

Citations (5)

* Cited by examiner, † Cited by third party
Publication number Priority date Publication date Assignee Title
JPS4912742B1 (enExample) * 1969-10-15 1974-03-27
JPS51150380U (enExample) 1975-05-26 1976-12-01
JPS5235481U (enExample) * 1975-09-04 1977-03-12
JPS55135259A (en) 1979-04-05 1980-10-21 Toyota Motor Corp Cup-type stepless speed change gear
US20100267510A1 (en) 2009-04-16 2010-10-21 Fallbrook Technologies Inc. Continuously variable transmission

Family Cites Families (25)

* Cited by examiner, † Cited by third party
Publication number Priority date Publication date Assignee Title
US3248960A (en) * 1959-11-13 1966-05-03 Roller Gear Ltd Variable speed drive transmission
JPS5320180B2 (enExample) 1972-05-09 1978-06-24
JPS51150380A (en) 1975-06-18 1976-12-23 Babcock Hitachi Kk Response property variable ae sensor
JPS5916719B2 (ja) 1975-09-13 1984-04-17 松下電工株式会社 放電灯始動装置
US4069718A (en) * 1976-09-13 1978-01-24 The United States Of America As Represented By The Secretary Of The Army Speed change device
US4203328A (en) * 1978-09-15 1980-05-20 The Perkin-Elmer Corporation Rotary-to-linear-motion converter
US5562564A (en) * 1991-03-14 1996-10-08 Synkinetics, Inc. Integral balls and cams type motorized speed converter with bearings arrangement
DE4126993A1 (de) * 1991-08-16 1993-02-18 Fichtel & Sachs Ag Antriebsnabe für ein Fahrzeug, insbesondere Fahrrad, mit stufenlos einstellbarem Übersetzungsverhältnis.
MY113160A (en) * 1994-03-04 2001-12-31 Mimura Kenji Differential gear
US6551210B2 (en) * 2000-10-24 2003-04-22 Motion Technologies, Llc. Continuously variable transmission
US6241636B1 (en) * 1997-09-02 2001-06-05 Motion Technologies, Llc Continuously variable transmission
CN100470091C (zh) * 2003-02-28 2009-03-18 福尔布鲁克科技公司 连续可变速传动装置
US7166052B2 (en) * 2003-08-11 2007-01-23 Fallbrook Technologies Inc. Continuously variable planetary gear set
EP1811202A1 (en) * 2005-12-30 2007-07-25 Fallbrook Technologies, Inc. A continuously variable gear transmission
US8313405B2 (en) * 2008-02-29 2012-11-20 Fallbrook Intellectual Property Company Llc Continuously and/or infinitely variable transmissions and methods therefor
US8167759B2 (en) * 2008-10-14 2012-05-01 Fallbrook Technologies Inc. Continuously variable transmission
TWI378192B (en) * 2008-11-07 2012-12-01 Ind Tech Res Inst Speed adjusting mechanism for roller traction toroidal continuously variable transmission
JP5316691B2 (ja) * 2010-02-22 2013-10-16 トヨタ自動車株式会社 動力伝達装置
CN102265063B (zh) * 2010-03-18 2014-04-09 丰田自动车株式会社 无级变速器
WO2011134076A1 (en) * 2010-04-30 2011-11-03 Transmission Cvtcorp Inc. Pressure applying mechanism for toric-drive transmission
CN201723669U (zh) * 2010-07-24 2011-01-26 王骁杰 行星轮无级变速器
CN103797274B (zh) * 2011-09-22 2016-06-15 丰田自动车株式会社 无级变速器
US9347532B2 (en) * 2012-01-19 2016-05-24 Dana Limited Tilting ball variator continuously variable transmission torque vectoring device
US9429217B2 (en) * 2013-01-28 2016-08-30 Robert Hornblower Meyer Continuously variable drive mechanism
WO2014151889A2 (en) * 2013-03-14 2014-09-25 Dana Limited Cvt variator ball and method of construction thereof

Patent Citations (5)

* Cited by examiner, † Cited by third party
Publication number Priority date Publication date Assignee Title
JPS4912742B1 (enExample) * 1969-10-15 1974-03-27
JPS51150380U (enExample) 1975-05-26 1976-12-01
JPS5235481U (enExample) * 1975-09-04 1977-03-12
JPS55135259A (en) 1979-04-05 1980-10-21 Toyota Motor Corp Cup-type stepless speed change gear
US20100267510A1 (en) 2009-04-16 2010-10-21 Fallbrook Technologies Inc. Continuously variable transmission

Non-Patent Citations (1)

* Cited by examiner, † Cited by third party
Title
See also references of EP2653747A4

Cited By (6)

* Cited by examiner, † Cited by third party
Publication number Priority date Publication date Assignee Title
CN107339385A (zh) * 2016-10-31 2017-11-10 西华大学 一种无自旋单环盘式无级变速单元
CN107339385B (zh) * 2016-10-31 2023-08-15 西华大学 一种无自旋单环盘式无级变速单元
JP2018146005A (ja) * 2017-03-03 2018-09-20 摩特動力工業股▲ふん▼有限公司Motive Power Industry Co.,Ltd. 無段変速環状ベース部の駆動機構
TWI644032B (zh) * 2018-05-31 2018-12-11 摩特動力工業股份有限公司 Parallel two-way full clamping mechanism of stepless transmission
CN110608273A (zh) * 2018-06-15 2019-12-24 吴丹凤 一种变速装置
TWI668382B (zh) * 2019-02-25 2019-08-11 摩特動力工業股份有限公司 Series two-way full clamping mechanism of stepless transmission

Also Published As

Publication number Publication date
CN103608607B (zh) 2015-09-30
EP2653747A1 (en) 2013-10-23
JP5201272B2 (ja) 2013-06-05
EP2653747A4 (en) 2014-11-26
IN2012DN02017A (enExample) 2015-07-31
US8961363B2 (en) 2015-02-24
CN103608607A (zh) 2014-02-26
US20140011629A1 (en) 2014-01-09
JPWO2012131921A1 (ja) 2014-07-24

Similar Documents

Publication Publication Date Title
JP5201272B2 (ja) 無段変速機
JP5500118B2 (ja) 無段変速機
JP5263446B1 (ja) 無段変速機
JP5783260B2 (ja) 無段変速機
WO2017043316A1 (ja) トルク変動抑制装置、トルクコンバータ、及び動力伝達装置
WO2017029940A1 (ja) トルク変動抑制装置、トルクコンバータ、及び動力伝達装置
JP6657041B2 (ja) トルク変動抑制装置、トルクコンバータ、及び動力伝達装置
WO2013051457A1 (ja) 歯車伝動装置
US10001195B2 (en) Gear transmission
JP2009257392A (ja) 動力伝達シャフト
JP6265061B2 (ja) 遊星ローラ式トラクションドライブ装置
JP4968082B2 (ja) トロイダル型無段変速機
WO2012169057A1 (ja) 無段変速機
EP2199633B1 (en) Input shaft support structure
JP5919773B2 (ja) トロイダル型無段変速機
JP6506115B2 (ja) 電動パワーステアリング装置
JP2013190019A (ja) 無段変速機
JP5761445B2 (ja) 無段変速機
JP2019086069A (ja) 捩り振動低減装置
JP2024041462A (ja) ワンウェイクラッチ
JP2024042447A (ja) ワンウェイクラッチ
JP2013170613A (ja) 無段変速機
JP5488492B2 (ja) 無段変速機
JP6132750B2 (ja) 動力伝達装置
JP2017044232A (ja) 遊星ローラ式の動力伝達装置

Legal Events

Date Code Title Description
ENP Entry into the national phase

Ref document number: 2011539572

Country of ref document: JP

Kind code of ref document: A

WWE Wipo information: entry into national phase

Ref document number: 2017/DELNP/2012

Country of ref document: IN

WWE Wipo information: entry into national phase

Ref document number: 13394596

Country of ref document: US

REEP Request for entry into the european phase

Ref document number: 2011820887

Country of ref document: EP

WWE Wipo information: entry into national phase

Ref document number: 2011820887

Country of ref document: EP

121 Ep: the epo has been informed by wipo that ep was designated in this application

Ref document number: 11820887

Country of ref document: EP

Kind code of ref document: A1

NENP Non-entry into the national phase

Ref country code: DE