WO2012096302A1 - 内視鏡システム - Google Patents
内視鏡システム Download PDFInfo
- Publication number
- WO2012096302A1 WO2012096302A1 PCT/JP2012/050370 JP2012050370W WO2012096302A1 WO 2012096302 A1 WO2012096302 A1 WO 2012096302A1 JP 2012050370 W JP2012050370 W JP 2012050370W WO 2012096302 A1 WO2012096302 A1 WO 2012096302A1
- Authority
- WO
- WIPO (PCT)
- Prior art keywords
- electromagnetic wave
- unit
- endoscope system
- scope
- insertion portion
- Prior art date
- Legal status (The legal status is an assumption and is not a legal conclusion. Google has not performed a legal analysis and makes no representation as to the accuracy of the status listed.)
- Ceased
Links
Images
Classifications
-
- A—HUMAN NECESSITIES
- A61—MEDICAL OR VETERINARY SCIENCE; HYGIENE
- A61B—DIAGNOSIS; SURGERY; IDENTIFICATION
- A61B1/00—Instruments for performing medical examinations of the interior of cavities or tubes of the body by visual or photographical inspection, e.g. endoscopes; Illuminating arrangements therefor
- A61B1/06—Instruments for performing medical examinations of the interior of cavities or tubes of the body by visual or photographical inspection, e.g. endoscopes; Illuminating arrangements therefor with illuminating arrangements
- A61B1/0655—Control therefor
-
- A—HUMAN NECESSITIES
- A61—MEDICAL OR VETERINARY SCIENCE; HYGIENE
- A61B—DIAGNOSIS; SURGERY; IDENTIFICATION
- A61B1/00—Instruments for performing medical examinations of the interior of cavities or tubes of the body by visual or photographical inspection, e.g. endoscopes; Illuminating arrangements therefor
- A61B1/00002—Operational features of endoscopes
- A61B1/00004—Operational features of endoscopes characterised by electronic signal processing
- A61B1/00006—Operational features of endoscopes characterised by electronic signal processing of control signals
-
- A—HUMAN NECESSITIES
- A61—MEDICAL OR VETERINARY SCIENCE; HYGIENE
- A61B—DIAGNOSIS; SURGERY; IDENTIFICATION
- A61B1/00—Instruments for performing medical examinations of the interior of cavities or tubes of the body by visual or photographical inspection, e.g. endoscopes; Illuminating arrangements therefor
- A61B1/00002—Operational features of endoscopes
- A61B1/00025—Operational features of endoscopes characterised by power management
- A61B1/00036—Means for power saving, e.g. sleeping mode
-
- A—HUMAN NECESSITIES
- A61—MEDICAL OR VETERINARY SCIENCE; HYGIENE
- A61B—DIAGNOSIS; SURGERY; IDENTIFICATION
- A61B1/00—Instruments for performing medical examinations of the interior of cavities or tubes of the body by visual or photographical inspection, e.g. endoscopes; Illuminating arrangements therefor
- A61B1/06—Instruments for performing medical examinations of the interior of cavities or tubes of the body by visual or photographical inspection, e.g. endoscopes; Illuminating arrangements therefor with illuminating arrangements
- A61B1/0661—Endoscope light sources
-
- A—HUMAN NECESSITIES
- A61—MEDICAL OR VETERINARY SCIENCE; HYGIENE
- A61B—DIAGNOSIS; SURGERY; IDENTIFICATION
- A61B5/00—Measuring for diagnostic purposes; Identification of persons
- A61B5/06—Devices, other than using radiation, for detecting or locating foreign bodies ; Determining position of diagnostic devices within or on the body of the patient
- A61B5/061—Determining position of a probe within the body employing means separate from the probe, e.g. sensing internal probe position employing impedance electrodes on the surface of the body
-
- G—PHYSICS
- G02—OPTICS
- G02B—OPTICAL ELEMENTS, SYSTEMS OR APPARATUS
- G02B23/00—Telescopes, e.g. binoculars; Periscopes; Instruments for viewing the inside of hollow bodies; Viewfinders; Optical aiming or sighting devices
- G02B23/24—Instruments or systems for viewing the inside of hollow bodies, e.g. fibrescopes
- G02B23/2476—Non-optical details, e.g. housings, mountings, supports
-
- A—HUMAN NECESSITIES
- A61—MEDICAL OR VETERINARY SCIENCE; HYGIENE
- A61B—DIAGNOSIS; SURGERY; IDENTIFICATION
- A61B17/00—Surgical instruments, devices or methods
- A61B2017/00017—Electrical control of surgical instruments
- A61B2017/00022—Sensing or detecting at the treatment site
- A61B2017/00057—Light
-
- A—HUMAN NECESSITIES
- A61—MEDICAL OR VETERINARY SCIENCE; HYGIENE
- A61B—DIAGNOSIS; SURGERY; IDENTIFICATION
- A61B34/00—Computer-aided surgery; Manipulators or robots specially adapted for use in surgery
- A61B34/20—Surgical navigation systems; Devices for tracking or guiding surgical instruments, e.g. for frameless stereotaxis
Definitions
- the present invention relates to an endoscope system in which an insertion part of an endoscope apparatus is inserted from an object insertion port and an inner surface of the object is observed.
- Endoscope devices use a light source for illuminating the inner surface of an object to be observed, such as a laser with a small emission point, or a device that emits relatively high energy light such as ultraviolet light or blue light. It has been.
- the maximum exposure allowance (MPE) of the human body is greatly different for the eye and the skin. That is, the MPE for the skin is several tens of times greater than the MPE for the eyes. Therefore, in a living body endoscope apparatus, a detecting means for detecting whether the insertion part of the endoscope apparatus in which the illumination light emitting part is arranged at the distal end or the like is inside or outside the body is desired. .
- a light amount upper limit based on MPE for the eye is set outside the body, and the light source is controlled to emit light with a light amount necessary for observation while assuming the light amount upper limit for the skin inside the body. Is possible.
- detection means for detecting the inside and outside of the body is desired.
- the light source in order to extend the life of the light source apparatus or achieve power saving, the light source is stopped or dimmed when the insertion portion is outside the object to be observed.
- detection means for detecting the inside and outside of the object to be observed.
- Patent Document 1 describes a technique for detecting in-vivo and in-vivo by detecting flicker of a fluorescent lamp with a detector attached to the tip of a scope.
- Patent Document 1 uses flicker of a fluorescent lamp. Therefore, in the living body endoscope apparatus, the inside and outside of the insertion portion cannot be detected in an examination room that does not use a fluorescent lamp. On the other hand, in an industrial endoscope apparatus, the inside and outside of the object to be observed in the insertion portion cannot be detected in an outdoor use environment. Even if there are fluorescent lamps in the room, if other lighting devices are used together, or if strong external light is incident from windows, etc., they will be buried in these lights to ensure flicker of the fluorescent lamps. May not be detected.
- the present invention has been made in view of the above points, and an object of the present invention is to provide an endoscope system that can reliably detect the inside and outside of an object of an insertion portion in any lighting environment.
- One aspect of the endoscope system of the present invention is: In an endoscope system in which an insertion portion of an endoscope apparatus is inserted from an object insertion port and an inner surface of the object is observed, An electromagnetic radiation unit for emitting electromagnetic waves; Detection means for detecting the electromagnetic wave; Determination means for determining whether the insertion portion is in an object based on a detection result of the detection means; Comprising One of the electromagnetic wave radiation unit and the detection means is disposed outside the object, and the other is disposed in the insertion portion.
- an electromagnetic wave is actively radiated from the electromagnetic wave radiation unit, and it is determined whether or not the insertion portion is in the object by the detection state of the electromagnetic wave in the insertion portion of the endoscope apparatus. Even in an illumination environment, it is possible to provide an endoscope system that can reliably detect the inside and outside of an object in an insertion portion.
- FIG. 1 is a schematic configuration diagram of an endoscope system according to a first embodiment of the present invention.
- FIG. 2 is a diagram illustrating an operation flowchart of the endoscope system according to the first embodiment.
- FIG. 3 is a diagram illustrating a configuration of the endoscope system according to the first embodiment.
- FIG. 4 is a diagram illustrating a configuration relating to illumination of the endoscope system according to the first embodiment.
- FIG. 5 is a perspective view showing a distal end portion of the scope in the endoscope system according to the first embodiment.
- FIG. 6 is a diagram illustrating the configuration of the electromagnetic wave radiation unit in the endoscope system according to the first embodiment.
- FIG. 7A is a cross-sectional view showing the configuration of the electromagnetic wave detector in the endoscope system according to the second embodiment of the present invention.
- FIG. 7B is a perspective view illustrating a configuration of an electromagnetic wave detector in the endoscope system according to the second embodiment.
- FIG. 8 is a perspective view showing another configuration example of the electromagnetic wave detector.
- FIG. 9 is a perspective view showing the vicinity of the operation unit of the scope unit in the endoscope system according to the third embodiment of the present invention.
- FIG. 10 is a perspective view illustrating the vicinity of the operation unit of the scope unit in a modification of the endoscope system according to the third embodiment.
- FIG. 11 is a diagram illustrating an arrangement position of the electromagnetic wave radiation unit in the endoscope system according to the fourth embodiment of the present invention.
- FIG. 12 is a schematic diagram illustrating the configuration of the insertion portion in the endoscope system according to the fifth embodiment of the present invention.
- FIG. 13 is a schematic configuration diagram of an endoscope system according to
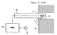
- the endoscope system includes an insertion unit 10, an electromagnetic wave radiation unit 12, an electromagnetic wave detector 14, and a determination unit 16.
- the insertion unit 10 is an insertion unit of an endoscope apparatus that is inserted from the insertion port I of the object O.
- the electromagnetic wave radiation unit 12 radiates electromagnetic waves.
- the electromagnetic wave detector 14 is a detection unit that detects an electromagnetic wave radiated from the electromagnetic wave radiation unit 12. Based on the detection result of the electromagnetic wave detector 14, the determination unit 16 determines whether the insertion unit 10 is in the object O I.
- electromagnetic radiation unit 12 is disposed outside the object O O
- the electromagnetic wave detector 14 is disposed in the insertion portion 10.
- the determination unit 16 causes the electromagnetic wave radiation unit 12 to start emitting an electromagnetic wave when the operation of the endoscope apparatus starts (step S1).
- the determination unit 16 receives the detection result of the electromagnetic wave detector 14, and determines whether or not the electromagnetic wave is detected by the electromagnetic wave detector 14 based on the detection result (step S2). Here, if it is determined that the electromagnetic wave is detected by the electromagnetic wave detector 14, it is determined that the insertion portion 10 is outside the object OO , and a message to that effect is output (step S3). Thereafter, it is determined whether or not the operation of the endoscope apparatus is finished (step S4). If the operation is not finished yet, the process returns to step S2.
- step S2 determines that the electromagnetic wave detector 14 no longer detects the electromagnetic wave
- the determination unit 16 determines that the insertion unit 10 is in the object O I and outputs that effect. (Step S5). Thereafter, the process proceeds to step S4, where it is determined whether or not the operation of the endoscope apparatus has ended. If the operation has not ended yet, the process returns to step S2.
- step S4 If it is determined in step S4 that the operation of the endoscope apparatus has ended, the determination unit 16 causes the electromagnetic wave emission unit 12 to end emission of electromagnetic waves (step S6) and ends the operation.
- any determination result is output here, if at least one determination result is output, the member that receives the output of the determination unit 16 determines whether the determination result is output or not. 10 it is possible to know which one the O I, of an exterior O O objects.
- the endoscope apparatus is a living body endoscope apparatus.
- the bioendoscopic device is configured to be separable into a scope unit 18 that an operator such as a doctor holds in his hand and a main body unit 20 mounted on the trolley T. ing.
- the connection cable 22 extending from the scope unit 18 is configured to be detachable from the connection unit 24 such as a connector of the main body unit 20.
- the trolley T refers to a movable rack in which an endoscope apparatus is mounted.
- a printer that prints a captured image in addition to the monitor M is mounted.
- the trolley T is provided with a holding portion that holds the scope portion 18, and the scope portion 18 can be suspended and held in a state where the scope portion 18 is connected to the main body portion 20. It is like that. When in use, the scope unit 18 is removed from the holding unit.
- the main unit 20 includes an image processing device (video processor) 26 and various other members necessary for endoscopic observation.
- the image processing device 26 supplies power to the scope unit 18 and processes an image captured by an imaging unit (described later) disposed at the distal end of the scope unit 18. Examples of other members include a light source device 28 for emitting illumination light from the distal end of the scope unit 18.
- the main unit 20 is connected to a monitor M that displays an image taken by the imaging unit.
- the determination unit 16 described above may be configured in the image processing device 26, may be configured in the light source device 28, or may be configured in the main body unit 20 independently of them. Absent.
- FIG. 3 shows an example in which the image processing device 26 and the light source device 28 are incorporated in the housing of one main body unit 20.
- a single main body 20 may be configured as a whole by combining a plurality of devices each having a separate housing. In the latter case, the electromagnetic wave radiation unit 12 described above may be incorporated in either the image processing device 26 or the light source device 28.
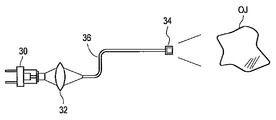
- the light source device 28 includes, for example, an excitation light source 30, an optical system 32, and a light source control unit (not shown) as shown in FIG.
- the excitation light source 30 is an LED that emits a laser with a small emission point, or a relatively high energy light such as ultraviolet light or blue light.
- the optical system 32 condenses the excitation light from the excitation light source 30.
- the light source control unit controls the light emission amount and the light emission timing of the excitation light source 30.
- the illumination object OJ needs to be illuminated with light having a wavelength suitable for observation such as white light. Therefore, a wavelength conversion unit 34 is mounted at the distal end of the scope unit 18.
- the excitation light source 30 and the wavelength conversion unit 34 are connected by an optical fiber 36.
- the optical fiber 36 is disposed inside the connection cable 22 and the scope unit 18. Therefore, when the excitation light emitted from the excitation light source 30 is applied to the wavelength conversion unit 34 via the optical fiber 36, the illumination light is emitted from the wavelength conversion unit 34, and the illumination light is directed toward the illumination object OJ. Irradiated.
- connection cable 22 in addition, it goes without saying that, in addition to the optical fiber 36, electrical wiring between the scope portion 18 and the main body portion 20 is also formed in the connection cable 22.
- the scope unit 18 includes an insertion unit 10 and an operation unit 38.
- the insertion unit 10 is inserted into a living body lumen by an operator such as a doctor holding the vicinity of the tip with the right hand.
- the operation unit 38 is operated by the operator with the left hand.
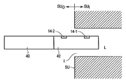
- the insertion part 10 includes a bending part 40 and a hard part 42.
- the bending portion 40 is configured to be easily deformable according to the bending of the lumen, and is bent by the operation of the operation portion 38.
- the hard part 42 is provided at the tip of the bending part 40 and does not deform. As shown in FIG.
- two illumination light emitting portions 44 for emitting illumination light, an imaging portion 46 for taking an image, and a channel 48 for inserting forceps and the like are provided on the distal end surface of the hard portion 42. Is provided.
- the wavelength converter 34 is mounted inside the hard part 42 of the illumination light emitting part 44. Further, an imaging element (not shown) such as a CCD is mounted inside the hard part 42 of the imaging unit 46.
- the electromagnetic wave detector 14 described above is provided on the side surface of the hard portion 42 of the insertion portion 10. From the electromagnetic wave detector 14, wires (not shown) such as a power supply wire to which power is supplied and a signal wire for transmitting a detected signal extend in the insertion portion 10 toward the operation portion 38.
- the electromagnetic wave detector 14 when inserting the insertion portion 10 into the lumen of the subject, it is desirable to determine that the object in the O I clogging the body when it is inserted to a certain depth Has a suitable depth.
- the electromagnetic wave detector 14 when inserting the insertion portion 10 from the mouth, which is a lumen, into the esophagus and stomach, it is necessary to illuminate the subject's throat brightly to ensure insertion into the esophagus. Therefore, in consideration of the length from the lip to the throat, which is the length of the mouth, the electromagnetic wave detector 14 is specifically installed within a range of about 5 cm from the end of the tip of the hard part 42. Is desirable. Furthermore, in order to avoid detecting the inside of the body at the moment when the hard portion 42 is inserted into the mouth, it is desirable that the hard portion 42 be disposed at a position of 1 cm or more from the end portion.
- the electromagnetic wave detector 14 needs to be disposed outside the shield or disposed with an opening in the shield.
- the electromagnetic wave radiated from the electromagnetic wave radiation unit 12 and detected by the electromagnetic wave detector 14 is an infrared ray that is a wavelength region that does not transmit through the human body, or a radio wave in a wavelength region that is sufficiently attenuated by a human tissue having a thickness of several centimeters. It is necessary.
- the electromagnetic wave radiation unit 12 is an infrared radiation element and the electromagnetic wave detector 14 is an infrared detector.
- the electromagnetic wave radiation unit 12 may be a radio wave radiation element
- the electromagnetic wave detector 14 may be a radio wave detector.
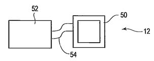
- the electromagnetic wave radiation unit 12 includes an infrared LED 50 that emits infrared light and an electromagnetic wave control circuit 52.
- the infrared LED 50 and the electromagnetic wave control circuit 52 are connected by a wiring 54.
- the electromagnetic wave control circuit 52 has a function of controlling the radiation amount of electromagnetic waves emitted from the infrared LED 50, the modulation pattern, and the like.
- the electromagnetic wave radiated from the infrared LED 50 is modulated in a predetermined pattern, for example, blinking, so that the electromagnetic wave of the same wavelength radiated from another device is not erroneously detected. Therefore, the electromagnetic wave control circuit 52 has a storage portion (not shown) that stores the predetermined modulation pattern (flashing pattern).
- the electromagnetic wave control circuit 52 supplies power to the infrared LED 50 through the wiring 54 in a predetermined blinking pattern stored in advance in the storage portion, and causes the infrared LED 50 to blink.
- electromagnetic wave control circuit 52 is connected to a power source (not shown) in the main body 20 by electrical wiring (not shown).
- the endoscope system in the case of the living body endoscope detects the electromagnetic wave (infrared ray) radiated from the electromagnetic wave radiation unit 12 on the hard part 42 at the distal end of the insertion part 10 of the scope part 18.
- the electromagnetic radiation unit 12 is installed in advance on the trolley T or the main body 20 mounted thereon. Since the main body portion 20 on the trolley T is connected to the scope portion 18, the positional relationship among the trolley T and the main body portion 20, the scope portion 18, the subject, and the operator (doctor) is almost determined. Yes. Therefore, the electromagnetic wave radiation unit 12 is installed in advance at the position of the trolley T or the main body 20 so that the infrared ray is reliably irradiated to the insertion port I of the lumen of the subject. By doing so, infrared rays are reliably irradiated to the insertion port I of the lumen.
- the electromagnetic wave detector 14 cannot detect infrared rays even though the hard portion 42 at the tip of the scope portion 18 is outside the body, and it is determined to be inside the body. Can be almost eliminated.
- the light from the room light or the like is not used, and a dedicated transmitter (electromagnetic radiation unit 12) and receiver (electromagnetic wave detector 14) are used.
- the electromagnetic wave radiation unit 12 blinks in a predetermined blinking pattern. Therefore, the determination unit 16 can reliably detect whether the electromagnetic wave detector 14 is inside or outside of the body, that is, whether the insertion unit 10 is inside or outside the body, depending on whether or not infrared rays matching the blinking pattern are detected. .
- the determination unit 16 can be connected to a light source control unit (not shown) of the light source device 28 and output the determination result to the light source control unit.
- the light source control unit sets an upper limit on the amount of light based on MPE for the eyes outside the body, and is excited so that the amount of light necessary for observation can be obtained while assuming an upper limit on the amount of light based on MPE for the skin.
- the light source 30 can be controlled.
- the second embodiment will also be described as an endoscope system using a biological endoscope apparatus. Only the parts different from the first embodiment will be described below.
- the electromagnetic wave radiation unit 12 is positioned at a position where the infrared rays of the trolley T or the main body portion 20 mounted on the trolley T or the opening of the lumen such as the mouth of the subject are reliably irradiated. It was assumed that it was installed in advance.
- emission unit 12 is comprised as an independent unit which can be attached or detached at arbitrary positions.
- the infrared LED 50, the electromagnetic wave control circuit 52, and the like are mounted in one casing 56, and the mounting member for fixing it to an arbitrary position on the casing 56 is provided.
- the attachment member 58 is configured as a hook of a type that is attached so as to be hooked on an attachment portion such as a pocket of an operator (doctor or nurse).
- the attachment member 58 has the slipper 60 so that the attachment state to a to-be-attached part can be maintained reliably.
- an infrared LED 50 and an electromagnetic wave control circuit 52 are assembled on a common wiring board 62, and a battery 64 for supplying power to them via a wiring (not shown) on the wiring board 62 is mounted. ing.
- the casing 56 is provided with an infrared radiation window 66 that transmits infrared rays at a position corresponding to the infrared LED 50.
- the attachment member 58 can be configured as a hook of a type that is attached so as to sandwich a frame of a bed on which a subject lies or an operator's arm.
- the attachment member 58 may be provided in the housing 56 by selecting a shape and function suitable for the attached portion.
- the electromagnetic wave radiation unit 12 having the above-described configuration irradiates infrared light more reliably to the insertion port I of the lumen when the insertion portion 10 is inserted into the insertion port I of the subject's lumen. It can be installed in possible positions.
- the electromagnetic wave radiation unit 12 can be attached to a position where the insertion portion 10 can be directly or indirectly illuminated by an operator's chest, arm, bed pole, or frame.
- the electromagnetic radiation unit 12 can be attached to various places such as a trolley T of an endoscope system and a wall in an examination room.
- the electromagnetic wave radiation unit 12 can be moved to an optimum position, and therefore the optimum position according to the positional relationship of the operator, the subject, the scope unit 18 and the like, which varies depending on the type of examination, etc.
- the electromagnetic wave radiation unit 12 can be disposed on the surface. That is, the electromagnetic wave radiation unit 12 can be arranged at an appropriate position according to the hospital environment.
- the electromagnetic wave radiation unit 12 uses the battery 64 and has no wiring or the like, the degree of freedom of arrangement is higher.
- the third embodiment will also be described as an endoscope system using a biological endoscope apparatus. Only the parts different from the first embodiment will be described below.
- the electromagnetic wave radiation unit 12 is placed at a position on the trolley T or the main body 20 mounted on the trolley T so that infrared rays are reliably irradiated to the insertion port I of the lumen such as the mouth of the subject. It was assumed that it was installed in advance.
- the electromagnetic wave radiation unit 12 is mounted on the scope unit 18 together with the electromagnetic wave detector 14.
- the electromagnetic wave radiation unit 12 is mounted on the operation unit 38 (see FIG. 3) of the scope unit 18. Specifically, as shown in FIG. 9, the electromagnetic wave radiation unit 12 is in the vicinity of a connection portion where the operation portion 38 (a hard member such as plastic and does not easily deform) is connected to the bending portion 40 of the insertion portion 10. It is mounted on the operation unit 38 side end.
- the infrared LED 50 infrared light emission window of the electromagnetic wave emission unit 12 is arranged in a region of the operation unit 38 where the operator's hand is not applied. Specifically, it is attached to a position that faces the right side when the operator holds the operation unit 38 with the left hand on the scope distal end side of the operation unit 38.
- the electromagnetic wave radiation unit 12 is mounted at a position where the left hand is not applied when the operator grips the grip portion 68 of the operation unit 38 with the left hand and facing the right hand side.
- emission unit 12 is comprised so that infrared rays can be radiated
- the electromagnetic wave radiation unit 12 may be provided at a position closer to the main body 20 than the grip 68 of the operation unit 38 as shown in FIG. Also in this case, it is more desirable that the electromagnetic wave radiation unit 12 faces the right side when the operator holds the operation unit 38 with the left hand.
- the electromagnetic wave radiation unit 12 can be disposed near the center of gravity of the grip portion 68 in the position as illustrated in FIG. 10, the operator is less likely to feel the size and weight of the electromagnetic wave radiation unit 12 than the position illustrated in FIG. 9. . Therefore, it is possible to prevent the infrared rays from being blocked by the operator, the subject, other members in the examination room, etc., and improve the reliability of detecting whether the insertion portion 10 is inside or outside the subject. You can enjoy the effect of being able to do it more comfortably.
- the position of the electromagnetic wave radiation unit 12 is another position of the scope unit 18 as long as it is a position that the operator never holds and faces the opening of a lumen such as the mouth of the subject. Of course.
- the fourth embodiment will also be described as an endoscope system using a living body endoscope apparatus.
- only one electromagnetic wave radiation unit 12 is used.
- a plurality of electromagnetic wave radiation units 12 are arranged to eliminate blind spots. Is.
- the electromagnetic wave radiation units 12 are combined and attached to various places.
- the trolley T, the main body 20, the pockets and arms of the operator (doctor or nurse) OP, the frame of the bed on which the subject SU itself or the subject SU lies, the wall in the examination room, the scope unit 18, etc. is there.
- the synchronization may be achieved by using one electromagnetic wave radiation unit 12 as a master unit and synchronizing it. Tuning is easy because fast and precise tuning, eg at the microsecond level, is not necessary.
- the certainty of detection can be improved by eliminating the blind spot by emitting the same infrared light from a plurality of points.
- the fifth embodiment is also described as an endoscope system using a living body endoscope apparatus.
- one electromagnetic wave detector 14 is disposed on the hard portion 42 at the distal end of the insertion portion 10 of the scope portion 18.
- a plurality of electromagnetic wave detectors 14 are arranged in the hard part 42 and the difference between the detection results is taken, so that the inside of the hard part 42 at the distal end of the insertion part 10 of the scope part 18 This is to ensure detection outside the body.
- the first electromagnetic wave detector 14-1 and the second electromagnetic wave detector 14-2 are mounted at a predetermined distance from the hard portion 42.
- the tip side is the first electromagnetic wave detector 14-1 and the hand side is the second electromagnetic wave detector 14-2
- the first portion is the case where the entire hard part 42 is in the extracorporeal SU O of the subject SU.
- the second electromagnetic wave detectors 14-1 and 14-2 detect substantially the same infrared rays.
- the first electromagnetic wave detector 14-1 does not detect infrared rays.
- the second electromagnetic wave detector 14-2 continues to detect the electromagnetic wave.
- the first and second electromagnetic wave detectors 14-1 and 14-2 do not detect infrared rays.
- the detection amount (infrared light amount) of the first electromagnetic wave detector 14-1 is smaller than that of the second electromagnetic wave detector 14-2 and gradually changes. In this case, it can be determined that the hard portion 42 at the distal end of the insertion portion 10 is being gradually inserted into the lumen L (inside body SU I ).
- the cases other than the above three cases are cases where the electromagnetic wave from the electromagnetic wave radiation unit 12 is not radiated correctly or is affected by a shielding object or the like. That is, in such a case, there is a possibility that it cannot be correctly detected whether the hard portion 42 at the distal end of the insertion portion 10 is inside or outside the lumen L (inside the body SU I or outside body SU O ).
- the detection amount of the two detectors is compared, and the insertion unit 10 is in the subject's body SU I It is possible to more reliably detect which of the extracorporeal SU O is. Further, it can be confirmed whether or not the mechanism for detecting the inside and outside of the lumen is operating normally.
- one electromagnetic wave detector 14 is disposed on the hard portion 42 at the distal end of the insertion portion 10 of the scope portion 18.
- the second electromagnetic wave detector is further arranged in a portion other than the hard portion 42, and the difference between the two detection results is taken, so that the distal end of the insertion portion 10 of the scope portion 18 is hard. The detection of the inside and outside of the part 42 is ensured.
- the first electromagnetic wave detector 14-1 and the second electromagnetic wave detector 14-2 are mounted on the hard portion 42, but in the present embodiment, the second electromagnetic wave detector 14- 2 is attached to the operation unit 38 of the scope unit 18, for example.
- the electromagnetic wave radiation unit 12 is operating normally based on the detection result (infrared light reception amount) of the second electromagnetic wave detector 14-2.
- the strength of the first electromagnetic wave detector 14-1 provided at the hard portion 42 at the distal end of the insertion portion 10 can be obtained. The certainty of detection can be improved by comparing with the detection intensity.
- the second electromagnetic wave detector 14-2 may be attached to the main body 20, for example. With such a configuration, it can be confirmed that the electromagnetic wave radiation unit 12 is operating normally based on the detection result (the amount of received infrared light) of the second electromagnetic wave detector 14-2.
- the electromagnetic radiation unit 12 disposed outside the object O O are arranged in the electromagnetic wave detector 14 (14-1 and 14-2 or 14-1) inserting unit 10 .
- the arrangement relationship between the electromagnetic wave radiation unit 12 and the electromagnetic wave detector 14 may be reversed.
- the insertion of the endoscope apparatus inserted through the insertion port I of the object O is the same as in the first to sixth embodiments.
- Unit 10 electromagnetic wave radiation unit 12 that radiates electromagnetic waves, electromagnetic wave detector 14 as a detection unit that detects electromagnetic waves radiated from electromagnetic wave radiation unit 12, and insertion based on the detection result of electromagnetic wave detector 14
- a determination unit 16 that determines whether the unit 10 is in the object O I or not.
- electromagnetic radiation unit 12 is disposed in the insertion portion 10, the electromagnetic wave detector 14 is arranged outside the object O O.
- the determination unit 16 can connect to a light source control unit (not shown) of the light source device 28 and output the determination result to the light source control unit.
- the light source control section, the object outside O O, or extend the life of the light source device 28, in order to achieve power saving, or dim the illumination light, with or stop, the object in O In I it is possible to control the excitation light source 30 so that a light amount necessary for observation can be obtained.
- the light source device 28 may use a scattering unit that does not convert the wavelength but scatters, or an outgoing light characteristic conversion unit that converts a beam divergence angle or the like, instead of the wavelength conversion unit 34.
Landscapes
- Health & Medical Sciences (AREA)
- Life Sciences & Earth Sciences (AREA)
- Surgery (AREA)
- Physics & Mathematics (AREA)
- Engineering & Computer Science (AREA)
- Medical Informatics (AREA)
- Animal Behavior & Ethology (AREA)
- Veterinary Medicine (AREA)
- Optics & Photonics (AREA)
- Public Health (AREA)
- Biomedical Technology (AREA)
- Heart & Thoracic Surgery (AREA)
- Biophysics (AREA)
- Molecular Biology (AREA)
- Pathology (AREA)
- General Health & Medical Sciences (AREA)
- Nuclear Medicine, Radiotherapy & Molecular Imaging (AREA)
- Radiology & Medical Imaging (AREA)
- Astronomy & Astrophysics (AREA)
- General Physics & Mathematics (AREA)
- Signal Processing (AREA)
- Human Computer Interaction (AREA)
- Endoscopes (AREA)
- Instruments For Viewing The Inside Of Hollow Bodies (AREA)
Priority Applications (1)
| Application Number | Priority Date | Filing Date | Title |
|---|---|---|---|
| US13/932,330 US20130289347A1 (en) | 2011-01-12 | 2013-07-01 | Endoscopic system |
Applications Claiming Priority (2)
| Application Number | Priority Date | Filing Date | Title |
|---|---|---|---|
| JP2011-004118 | 2011-01-12 | ||
| JP2011004118A JP5959150B2 (ja) | 2011-01-12 | 2011-01-12 | 内視鏡システム |
Related Child Applications (1)
| Application Number | Title | Priority Date | Filing Date |
|---|---|---|---|
| US13/932,330 Continuation US20130289347A1 (en) | 2011-01-12 | 2013-07-01 | Endoscopic system |
Publications (1)
| Publication Number | Publication Date |
|---|---|
| WO2012096302A1 true WO2012096302A1 (ja) | 2012-07-19 |
Family
ID=46507196
Family Applications (1)
| Application Number | Title | Priority Date | Filing Date |
|---|---|---|---|
| PCT/JP2012/050370 Ceased WO2012096302A1 (ja) | 2011-01-12 | 2012-01-11 | 内視鏡システム |
Country Status (3)
| Country | Link |
|---|---|
| US (1) | US20130289347A1 (enExample) |
| JP (1) | JP5959150B2 (enExample) |
| WO (1) | WO2012096302A1 (enExample) |
Cited By (1)
| Publication number | Priority date | Publication date | Assignee | Title |
|---|---|---|---|---|
| CN111587084A (zh) * | 2018-02-03 | 2020-08-25 | 深圳帧观德芯科技有限公司 | 内窥镜 |
Families Citing this family (13)
| Publication number | Priority date | Publication date | Assignee | Title |
|---|---|---|---|---|
| CN103841880A (zh) | 2011-05-03 | 2014-06-04 | Endosee股份有限公司 | 用于子宫镜检查和子宫内膜活组织检查的方法和器械 |
| US9468367B2 (en) | 2012-05-14 | 2016-10-18 | Endosee Corporation | Method and apparatus for hysteroscopy and combined hysteroscopy and endometrial biopsy |
| US9622646B2 (en) | 2012-06-25 | 2017-04-18 | Coopersurgical, Inc. | Low-cost instrument for endoscopically guided operative procedures |
| US9516239B2 (en) | 2012-07-26 | 2016-12-06 | DePuy Synthes Products, Inc. | YCBCR pulsed illumination scheme in a light deficient environment |
| US10568496B2 (en) | 2012-07-26 | 2020-02-25 | DePuy Synthes Products, Inc. | Continuous video in a light deficient environment |
| CA2906798A1 (en) | 2013-03-15 | 2014-09-18 | Olive Medical Corporation | Super resolution and color motion artifact correction in a pulsed color imaging system |
| US9777913B2 (en) | 2013-03-15 | 2017-10-03 | DePuy Synthes Products, Inc. | Controlling the integral light energy of a laser pulse |
| WO2014144986A1 (en) * | 2013-03-15 | 2014-09-18 | Olive Medical Corporation | Scope sensing in a light controlled environment |
| JP5782064B2 (ja) * | 2013-04-15 | 2015-09-24 | 富士フイルム株式会社 | 内視鏡システム |
| EP3119265B1 (en) | 2014-03-21 | 2019-09-11 | DePuy Synthes Products, Inc. | Card edge connector for an imaging sensor |
| US10702305B2 (en) | 2016-03-23 | 2020-07-07 | Coopersurgical, Inc. | Operative cannulas and related methods |
| EP3439530B1 (en) * | 2016-06-02 | 2022-06-01 | Gyrus ACMI, Inc. (D/B/A Olympus Surgical Technologies America) | Endoscope working channel protection |
| EP3861920A1 (de) * | 2020-02-05 | 2021-08-11 | Erbe Elektromedizin GmbH | Chirurgisches instrument mit einer positionserkennungseinrichtung |
Citations (4)
| Publication number | Priority date | Publication date | Assignee | Title |
|---|---|---|---|---|
| JPH08122654A (ja) * | 1994-10-26 | 1996-05-17 | Olympus Optical Co Ltd | 内視鏡装置 |
| JP2002028125A (ja) * | 2000-07-14 | 2002-01-29 | Fuji Photo Film Co Ltd | 蛍光内視鏡装置 |
| JP2003310549A (ja) * | 2002-04-25 | 2003-11-05 | Olympus Optical Co Ltd | 内視鏡装置および光源装置 |
| JP2006523129A (ja) * | 2003-03-07 | 2006-10-12 | ネオガイド システムズ, インコーポレイテッド | 挿入深さを探知するための方法及び装置 |
Family Cites Families (37)
| Publication number | Priority date | Publication date | Assignee | Title |
|---|---|---|---|---|
| DE3743920A1 (de) * | 1986-12-26 | 1988-07-14 | Olympus Optical Co | Endoskopeinrichtung |
| JPH07108284B2 (ja) * | 1986-12-26 | 1995-11-22 | オリンパス光学工業株式会社 | 体外観察装置 |
| JP2750201B2 (ja) * | 1990-04-13 | 1998-05-13 | オリンパス光学工業株式会社 | 内視鏡の挿入状態検出装置 |
| US5295483A (en) * | 1990-05-11 | 1994-03-22 | Christopher Nowacki | Locating target in human body |
| US6675040B1 (en) * | 1991-01-28 | 2004-01-06 | Sherwood Services Ag | Optical object tracking system |
| US5375596A (en) * | 1992-09-29 | 1994-12-27 | Hdc Corporation | Method and apparatus for determining the position of catheters, tubes, placement guidewires and implantable ports within biological tissue |
| US5682890A (en) * | 1995-01-26 | 1997-11-04 | Picker International, Inc. | Magnetic resonance stereotactic surgery with exoskeleton tissue stabilization |
| US5617857A (en) * | 1995-06-06 | 1997-04-08 | Image Guided Technologies, Inc. | Imaging system having interactive medical instruments and methods |
| DK0893967T3 (da) * | 1997-01-03 | 2004-06-21 | Biosense Inc | Konformt kateter |
| US7024237B1 (en) * | 1999-10-29 | 2006-04-04 | University Of Florida Research Foundation, Inc. | Mask system and method for stereotactic radiotherapy and image guided procedures |
| US6610007B2 (en) * | 2000-04-03 | 2003-08-26 | Neoguide Systems, Inc. | Steerable segmented endoscope and method of insertion |
| US6468204B2 (en) * | 2000-05-25 | 2002-10-22 | Fuji Photo Film Co., Ltd. | Fluorescent endoscope apparatus |
| EP1858179A1 (en) * | 2002-10-24 | 2007-11-21 | Nakagawa Laboratories, Inc. | Illumination light communication device |
| WO2004068840A2 (en) * | 2003-01-29 | 2004-08-12 | Everest Vit, Inc. | Remote video inspection system |
| US8882657B2 (en) * | 2003-03-07 | 2014-11-11 | Intuitive Surgical Operations, Inc. | Instrument having radio frequency identification systems and methods for use |
| AU2004214572B2 (en) * | 2003-09-30 | 2010-04-29 | Olympus Corporation | Inserting shape detecting probe |
| US20080269596A1 (en) * | 2004-03-10 | 2008-10-30 | Ian Revie | Orthpaedic Monitoring Systems, Methods, Implants and Instruments |
| JP4505345B2 (ja) * | 2004-03-31 | 2010-07-21 | オリンパス株式会社 | 内視鏡挿入補助用プローブ及びこれを適用する内視鏡装置 |
| JP4481711B2 (ja) * | 2004-04-09 | 2010-06-16 | オリンパス株式会社 | 挿入形状検出プローブ |
| US20060009679A1 (en) * | 2004-07-08 | 2006-01-12 | Pentax Corporation | Electronic endoscope system capable of detecting inserted length |
| US8031227B2 (en) * | 2005-03-07 | 2011-10-04 | The Regents Of The University Of Michigan | Position tracking system |
| JP2006334076A (ja) * | 2005-06-01 | 2006-12-14 | Pentax Corp | 電子内視鏡用光源装置 |
| JP4813112B2 (ja) * | 2005-07-08 | 2011-11-09 | オリンパスメディカルシステムズ株式会社 | 内視鏡装置 |
| US20070106114A1 (en) * | 2005-11-09 | 2007-05-10 | Pentax Corporation | Endoscope-shape monitoring system |
| JP2007130174A (ja) * | 2005-11-09 | 2007-05-31 | Pentax Corp | 内視鏡挿入部形状把握システム |
| JP2007175210A (ja) * | 2005-12-27 | 2007-07-12 | Pentax Corp | 自家蛍光観察装置 |
| CA2642481C (en) * | 2006-02-16 | 2016-04-05 | David W. Smith | System utilizing radio frequency signals for tracking and improving navigation of slender instruments during insertion into the body |
| JP4868959B2 (ja) * | 2006-06-29 | 2012-02-01 | オリンパスメディカルシステムズ株式会社 | 体腔内プローブ装置 |
| JP5283888B2 (ja) * | 2006-11-02 | 2013-09-04 | 株式会社東芝 | 超音波診断装置 |
| US8500771B2 (en) * | 2007-01-16 | 2013-08-06 | Radiadyne, Llc | Rectal balloon apparatus with pressure relieving lumen and sensors |
| US8932207B2 (en) * | 2008-07-10 | 2015-01-13 | Covidien Lp | Integrated multi-functional endoscopic tool |
| US8488130B2 (en) * | 2009-11-13 | 2013-07-16 | Intuitive Surgical Operations, Inc. | Method and system to sense relative partial-pose information using a shape sensor |
| US9039698B2 (en) * | 2009-11-30 | 2015-05-26 | Medwaves, Inc. | Radio frequency ablation system with tracking sensor |
| CN102781306B (zh) * | 2010-02-19 | 2015-01-21 | 富士胶片株式会社 | 电子内窥镜系统 |
| US20120316486A1 (en) * | 2010-08-20 | 2012-12-13 | Andrew Cheung | Surgical Component Navigation Systems And Methods |
| US20120046536A1 (en) * | 2010-08-20 | 2012-02-23 | Manhattan Technologies, Llc | Surgical Instrument Navigation Systems and Methods |
| US9439606B2 (en) * | 2010-12-09 | 2016-09-13 | Koninklijke Philips N.V. | Interventional apparatus activated computed tomography (CT) |
-
2011
- 2011-01-12 JP JP2011004118A patent/JP5959150B2/ja active Active
-
2012
- 2012-01-11 WO PCT/JP2012/050370 patent/WO2012096302A1/ja not_active Ceased
-
2013
- 2013-07-01 US US13/932,330 patent/US20130289347A1/en not_active Abandoned
Patent Citations (4)
| Publication number | Priority date | Publication date | Assignee | Title |
|---|---|---|---|---|
| JPH08122654A (ja) * | 1994-10-26 | 1996-05-17 | Olympus Optical Co Ltd | 内視鏡装置 |
| JP2002028125A (ja) * | 2000-07-14 | 2002-01-29 | Fuji Photo Film Co Ltd | 蛍光内視鏡装置 |
| JP2003310549A (ja) * | 2002-04-25 | 2003-11-05 | Olympus Optical Co Ltd | 内視鏡装置および光源装置 |
| JP2006523129A (ja) * | 2003-03-07 | 2006-10-12 | ネオガイド システムズ, インコーポレイテッド | 挿入深さを探知するための方法及び装置 |
Cited By (3)
| Publication number | Priority date | Publication date | Assignee | Title |
|---|---|---|---|---|
| CN111587084A (zh) * | 2018-02-03 | 2020-08-25 | 深圳帧观德芯科技有限公司 | 内窥镜 |
| US11737651B2 (en) | 2018-02-03 | 2023-08-29 | Shenzhen Xpectvision Technology Co., Ltd. | Endoscope |
| CN111587084B (zh) * | 2018-02-03 | 2024-03-15 | 深圳帧观德芯科技有限公司 | 内窥镜 |
Also Published As
| Publication number | Publication date |
|---|---|
| US20130289347A1 (en) | 2013-10-31 |
| JP2012143391A (ja) | 2012-08-02 |
| JP5959150B2 (ja) | 2016-08-02 |
Similar Documents
| Publication | Publication Date | Title |
|---|---|---|
| JP5959150B2 (ja) | 内視鏡システム | |
| US9615729B2 (en) | Endoscope detecting system | |
| US20140012078A1 (en) | Accelorometer Based Endoscopic Light Source Safety System | |
| CN107923606B (zh) | 具有亮度调节的手术灯 | |
| JP2022036256A (ja) | 内視鏡用光源装置 | |
| US10264956B2 (en) | Endoscope system having processor for calculating a size of a convex portion | |
| JP5816464B2 (ja) | 挿入口装着器 | |
| US9936859B2 (en) | Medical system | |
| US8727558B2 (en) | Medical headlamp for tracking eye locations | |
| US20080249355A1 (en) | Video endoscopic device with detachable control circuit | |
| JP2009201684A (ja) | 内視鏡及び医療用システム | |
| EP1832225A3 (en) | Endoscopic light source safety and control system with optical sensor | |
| US20050251119A1 (en) | Illuminated stylet | |
| EP1772096A3 (en) | Endoscopic light source safety and control system witch optical sensor | |
| CN105636496B (zh) | 视线无线式内窥镜 | |
| EP2916711B1 (en) | Intracavity illumination device | |
| JP2009201543A (ja) | 内視鏡システム | |
| CN118382389A (zh) | 用于基于激光的医疗装置照明的系统和方法 | |
| US20170258302A1 (en) | Endoscope and endoscope system | |
| JP6515109B2 (ja) | 内視鏡照明システム | |
| JP5138444B2 (ja) | 内視鏡 | |
| WO2017104048A1 (ja) | 内視鏡用照明装置及び内視鏡システム | |
| WO2016098449A1 (ja) | 内視鏡及びこの内視鏡を含む内視鏡システム | |
| JP7251940B2 (ja) | 斜視内視鏡 | |
| JP6280406B2 (ja) | 内視鏡システム |
Legal Events
| Date | Code | Title | Description |
|---|---|---|---|
| 121 | Ep: the epo has been informed by wipo that ep was designated in this application |
Ref document number: 12734592 Country of ref document: EP Kind code of ref document: A1 |
|
| NENP | Non-entry into the national phase |
Ref country code: DE |
|
| 122 | Ep: pct application non-entry in european phase |
Ref document number: 12734592 Country of ref document: EP Kind code of ref document: A1 |