WO2012039078A1 - フォトマスク及びそれを用いたパターン形成方法 - Google Patents

フォトマスク及びそれを用いたパターン形成方法 Download PDF

Info

Publication number
WO2012039078A1
WO2012039078A1 PCT/JP2011/002241 JP2011002241W WO2012039078A1 WO 2012039078 A1 WO2012039078 A1 WO 2012039078A1 JP 2011002241 W JP2011002241 W JP 2011002241W WO 2012039078 A1 WO2012039078 A1 WO 2012039078A1
Authority
WO
WIPO (PCT)
Prior art keywords
light
mask pattern
semi
photomask
shielding
Prior art date
Legal status (The legal status is an assumption and is not a legal conclusion. Google has not performed a legal analysis and makes no representation as to the accuracy of the status listed.)
Ceased
Application number
PCT/JP2011/002241
Other languages
English (en)
French (fr)
Japanese (ja)
Inventor
野並勇治
三坂章夫
Current Assignee (The listed assignees may be inaccurate. Google has not performed a legal analysis and makes no representation or warranty as to the accuracy of the list.)
Panasonic Corp
Original Assignee
Panasonic Corp
Priority date (The priority date is an assumption and is not a legal conclusion. Google has not performed a legal analysis and makes no representation as to the accuracy of the date listed.)
Filing date
Publication date
Application filed by Panasonic Corp filed Critical Panasonic Corp
Publication of WO2012039078A1 publication Critical patent/WO2012039078A1/ja
Priority to US13/691,142 priority Critical patent/US20130095416A1/en
Anticipated expiration legal-status Critical
Ceased legal-status Critical Current

Links

Images

Classifications

    • GPHYSICS
    • G03PHOTOGRAPHY; CINEMATOGRAPHY; ANALOGOUS TECHNIQUES USING WAVES OTHER THAN OPTICAL WAVES; ELECTROGRAPHY; HOLOGRAPHY
    • G03FPHOTOMECHANICAL PRODUCTION OF TEXTURED OR PATTERNED SURFACES, e.g. FOR PRINTING, FOR PROCESSING OF SEMICONDUCTOR DEVICES; MATERIALS THEREFOR; ORIGINALS THEREFOR; APPARATUS SPECIALLY ADAPTED THEREFOR
    • G03F1/00Originals for photomechanical production of textured or patterned surfaces, e.g., masks, photo-masks, reticles; Mask blanks or pellicles therefor; Containers specially adapted therefor; Preparation thereof
    • G03F1/54Absorbers, e.g. of opaque materials
    • GPHYSICS
    • G03PHOTOGRAPHY; CINEMATOGRAPHY; ANALOGOUS TECHNIQUES USING WAVES OTHER THAN OPTICAL WAVES; ELECTROGRAPHY; HOLOGRAPHY
    • G03FPHOTOMECHANICAL PRODUCTION OF TEXTURED OR PATTERNED SURFACES, e.g. FOR PRINTING, FOR PROCESSING OF SEMICONDUCTOR DEVICES; MATERIALS THEREFOR; ORIGINALS THEREFOR; APPARATUS SPECIALLY ADAPTED THEREFOR
    • G03F1/00Originals for photomechanical production of textured or patterned surfaces, e.g., masks, photo-masks, reticles; Mask blanks or pellicles therefor; Containers specially adapted therefor; Preparation thereof
    • GPHYSICS
    • G03PHOTOGRAPHY; CINEMATOGRAPHY; ANALOGOUS TECHNIQUES USING WAVES OTHER THAN OPTICAL WAVES; ELECTROGRAPHY; HOLOGRAPHY
    • G03FPHOTOMECHANICAL PRODUCTION OF TEXTURED OR PATTERNED SURFACES, e.g. FOR PRINTING, FOR PROCESSING OF SEMICONDUCTOR DEVICES; MATERIALS THEREFOR; ORIGINALS THEREFOR; APPARATUS SPECIALLY ADAPTED THEREFOR
    • G03F1/00Originals for photomechanical production of textured or patterned surfaces, e.g., masks, photo-masks, reticles; Mask blanks or pellicles therefor; Containers specially adapted therefor; Preparation thereof
    • G03F1/50Mask blanks not covered by G03F1/20 - G03F1/34; Preparation thereof
    • GPHYSICS
    • G03PHOTOGRAPHY; CINEMATOGRAPHY; ANALOGOUS TECHNIQUES USING WAVES OTHER THAN OPTICAL WAVES; ELECTROGRAPHY; HOLOGRAPHY
    • G03FPHOTOMECHANICAL PRODUCTION OF TEXTURED OR PATTERNED SURFACES, e.g. FOR PRINTING, FOR PROCESSING OF SEMICONDUCTOR DEVICES; MATERIALS THEREFOR; ORIGINALS THEREFOR; APPARATUS SPECIALLY ADAPTED THEREFOR
    • G03F7/00Photomechanical, e.g. photolithographic, production of textured or patterned surfaces, e.g. printing surfaces; Materials therefor, e.g. comprising photoresists; Apparatus specially adapted therefor
    • G03F7/20Exposure; Apparatus therefor
    • G03F7/2002Exposure; Apparatus therefor with visible light or UV light, through an original having an opaque pattern on a transparent support, e.g. film printing, projection printing; by reflection of visible or UV light from an original such as a printed image
    • GPHYSICS
    • G03PHOTOGRAPHY; CINEMATOGRAPHY; ANALOGOUS TECHNIQUES USING WAVES OTHER THAN OPTICAL WAVES; ELECTROGRAPHY; HOLOGRAPHY
    • G03FPHOTOMECHANICAL PRODUCTION OF TEXTURED OR PATTERNED SURFACES, e.g. FOR PRINTING, FOR PROCESSING OF SEMICONDUCTOR DEVICES; MATERIALS THEREFOR; ORIGINALS THEREFOR; APPARATUS SPECIALLY ADAPTED THEREFOR
    • G03F7/00Photomechanical, e.g. photolithographic, production of textured or patterned surfaces, e.g. printing surfaces; Materials therefor, e.g. comprising photoresists; Apparatus specially adapted therefor
    • G03F7/20Exposure; Apparatus therefor
    • G03F7/2002Exposure; Apparatus therefor with visible light or UV light, through an original having an opaque pattern on a transparent support, e.g. film printing, projection printing; by reflection of visible or UV light from an original such as a printed image
    • G03F7/201Exposure; Apparatus therefor with visible light or UV light, through an original having an opaque pattern on a transparent support, e.g. film printing, projection printing; by reflection of visible or UV light from an original such as a printed image characterised by an oblique exposure; characterised by the use of plural sources; characterised by the rotation of the optical device; characterised by a relative movement of the optical device, the light source, the sensitive system or the mask
    • HELECTRICITY
    • H01ELECTRIC ELEMENTS
    • H01LSEMICONDUCTOR DEVICES NOT COVERED BY CLASS H10
    • H01L21/00Processes or apparatus adapted for the manufacture or treatment of semiconductor or solid state devices or of parts thereof
    • H01L21/02Manufacture or treatment of semiconductor devices or of parts thereof
    • H01L21/027Making masks on semiconductor bodies for further photolithographic processing not provided for in group H01L21/18 or H01L21/34
    • H01L21/0271Making masks on semiconductor bodies for further photolithographic processing not provided for in group H01L21/18 or H01L21/34 comprising organic layers
    • H01L21/0273Making masks on semiconductor bodies for further photolithographic processing not provided for in group H01L21/18 or H01L21/34 comprising organic layers characterised by the treatment of photoresist layers
    • H01L21/0274Photolithographic processes

Definitions

  • the present disclosure relates to a photomask for forming a fine pattern used for manufacturing a semiconductor integrated circuit device, and a pattern forming method using the photomask.
  • LSI large scale integrated circuit devices
  • circuit patterns have become increasingly finer.
  • SRAM Static Random Access Memory
  • LSI has a fine dense pattern typified by SRAM (Static Random Access Memory) and the like, and a fine isolated space pattern often found in standard cells.
  • SRAM Static Random Access Memory
  • oblique incidence exposure called super-resolution exposure.
  • This method is advantageous for forming a finer dense pattern and also has an effect of improving the DOF (Depth Of Focus) of the densely arranged dense pattern.
  • the oblique incidence exposure method has no effect of improving the resolution with respect to the isolated space pattern, and conversely, the DOF is greatly deteriorated.
  • the optimum illumination conditions for a fine isolated space pattern and a fine dense pattern are in a reciprocal relationship. Therefore, in order to perform the formation of a fine dense pattern and the formation of a fine isolated space pattern at the same time, the interference degree is 0.5 to 0.00 so that both the normal incidence component and the oblique incidence component from the light source exist. About 6 light sources are used.
  • FIG. 16 is a graph showing the light intensity at the XVI-XVI ′ line in FIG. 15 when oblique incidence illumination is used for the pattern illustrated in FIG. Exposure is performed by placing an auxiliary pattern 31 made of a light transmissive portion having a size that cannot be resolved near the main pattern 30 made of the light transmissive portion (corresponding to the isolated space pattern).
  • the light intensity has periodicity such as bright, dark, bright, dark, and bright, and as a result, the DOF in the isolated space pattern portion is improved.
  • the width of the auxiliary pattern 31 is set to a dimension smaller than the main pattern 30 and less than the resolution limit.
  • the auxiliary pattern is arranged in a rule base with respect to the main pattern. After the auxiliary pattern is arranged, model-based OPC (Optical / Proximity / Correction) is usually performed on the main pattern.
  • the auxiliary pattern needs to have a dimension less than the resolution limit.
  • the size of the auxiliary pattern necessary for obtaining a large DOF enlargement effect is close to the resolution limit.
  • the auxiliary pattern is arranged on a rule basis with respect to a random pattern such as a standard cell.
  • the light intensity corresponding to the auxiliary pattern may exceed the threshold value of the light intensity at which transfer occurs.
  • an unnecessary pattern called a side lobe is formed on the wafer.
  • the auxiliary pattern needs to be smaller than the main pattern.
  • the main pattern itself is miniaturized and approaches the mask production limit, it becomes difficult to manufacture a mask having an auxiliary pattern designed to be smaller than the main pattern.
  • the dimension variation of the auxiliary pattern in the photomask greatly affects the dimension of the main pattern to be transferred, it is necessary to create the mask of the auxiliary pattern with high dimensional accuracy.
  • the auxiliary pattern is reduced to near the mask production limit, it is difficult and impossible to produce a mask with high dimensional accuracy. Furthermore, mask inspection or the like becomes difficult, and there is a possibility of prolonging the mask preparation time and increasing the mask manufacturing cost.
  • the technology of the present disclosure can improve the DOF (particularly for an isolated space pattern when oblique incidence illumination is used to form a fine dense pattern) and generate side lobes in the transferred pattern.
  • An object of the present invention is to realize a photomask and a pattern forming method using the same.
  • the inventors of the present application have studied various methods for improving the DOF and suppressing the occurrence of side lobes without using the auxiliary pattern composed of the light transmitting portion as described above.
  • the idea is to use a semi-shielding portion that partially transmits exposure light in order to give the light intensity distribution periodicity such as bright, dark, bright, and dark. did.
  • a first photomask of the present disclosure includes a transparent substrate, and a first mask pattern and a second mask pattern formed on the transparent substrate so as to have portions facing each other with a space interposed therebetween,
  • One mask pattern includes a semi-light-shielding part that partially transmits light and a light-shielding part.
  • the semi-light-shielding part is arranged to have a portion that faces the space with the light shielding part interposed therebetween.
  • the dimension of the first mask pattern is larger than (0.7 ⁇ ⁇ / NA) ⁇ M, and the dimension of the space is (0.5 ⁇ ⁇ / NA) ⁇ M or less (where ⁇ is the wavelength of the exposure light, NA is the numerical aperture of the reduction projection optical system of the exposure machine, and M is the magnification of the reduction projection optical system).
  • the opposing direction of the first mask pattern and the second mask pattern is aligned with the semi-light-shielding portion of the first mask pattern, the light-shielding portion of the first mask pattern, the space, and the second mask pattern.
  • the light intensity distribution corresponding to these portions at the time of exposure can have periodicity such as bright, dark, bright, dark, and the DOF can be improved.
  • the space DOF is increased, unlike the case of a binary mask that does not include a semi-light-shielding portion, so that any pattern can be formed more appropriately. can do.
  • the light transmittance of the semi-light-shielding part is set so that the light transmitted through the semi-light-shielding part has a light intensity that does not sensitize the resist or the like (does not generate a photosensitive area) when performing exposure using a photomask. can do.
  • the semi-light-shielding portion provided for improving the DOF from generating an unnecessary pattern (side lobe).
  • the dimensions of the semi-light-shielding part and the light-shielding part in the first mask pattern can be made larger than the processing limit of the mask. That is, it becomes easier to create a photomask.
  • the second mask pattern includes a light-shielding portion, and the dimension of the second mask pattern is (0.7 ⁇ ⁇ / NA) ⁇ M or less in the opposing direction of the first mask pattern and the second mask pattern. Also good.
  • the second mask pattern is made of a light shielding portion and set to the above dimensions. Thereby, DOF can be improved about any pattern.
  • the semi-light-shielding portion and the light-shielding portion are also included in the second mask pattern as other semi-light-shielding portions and other light-shielding portions.
  • the other semi-light-shielding portions are replaced with other light-shielding portions. You may arrange
  • the light intensity at the time of exposure is aligned with the semi-light-shielding portion of the first mask pattern, the light-shielding portion of the first mask pattern, the space, the light-shielding portion of the second mask pattern, and the semi-light-shielding portion of the second mask pattern.
  • periodicity of light, dark, light, dark, and light is realized. Thereby, DOF improves.
  • the dimension of the second mask pattern may be larger than (0.7 ⁇ ⁇ / NA) ⁇ M in the opposing direction of the first mask pattern and the second mask pattern.
  • the second mask pattern When the dimension of the second mask pattern in the portion facing the first mask pattern through the space is large, the second mask pattern includes the light shielding part and the semi-light shielding part and is set to the above dimension. . Thereby, DOF can be improved about any pattern.
  • the dimension of the light shielding part and the dimension of the semi-light shielding part may be set based on ⁇ , NA and M (where ⁇ is the exposure light)
  • NA is the numerical aperture of the reduction projection optical system of the exposure machine
  • M is the magnification of the reduction projection optical system
  • the dimension of the light shielding portion may be (0.13 ⁇ ⁇ / NA) ⁇ M or more.
  • the dimension of the light shielding part may be (1.13 ⁇ ⁇ / NA) ⁇ M or less.
  • the DOF can be remarkably improved.
  • the dimension of the semi-light-shielding portion may be (0.42 ⁇ ⁇ / NA) ⁇ M or more.
  • the DOF can be remarkably improved.
  • the semi-shielding part may transmit light with the same phase as the space.
  • the pattern can be exposed more appropriately.
  • the light shielding part may be arranged so as to surround the semi-light shielding part.
  • the width of the light shielding part may be wider at the convex corner part of the semi-light-shielding part than the concave corner part of the semi-light-shielding part.
  • the desired exposure pattern can be obtained more reliably by the optical proximity effect correction, particularly with respect to the shape of the corner portion.
  • the semi-light-shielding part may be divided into a plurality of parts by the light-shielding part.
  • the light shielding part may have a portion sandwiched between the semi-light shielding parts in the facing direction.
  • the light, light, and light shading parts can further improve the light, dark, and light periodicity of the light intensity distribution during exposure.
  • the light transmittance of the semi-light-shielding part may be set so that the light transmitted through the semi-light-shielding part has a light intensity that is weaker than the light intensity that generates the photosensitive region.
  • the semi-light-shielding part may be arranged only in a part facing the space with the light-shielding part interposed therebetween.
  • the photomask in addition to being able to enlarge the DOF at a necessary location, the photomask can be easily processed and the drawing time can be shortened, thereby reducing the mask cost.
  • a second photomask of the present disclosure includes a reflective substrate, and a first mask pattern and a second mask pattern formed on the reflective substrate so as to have portions facing each other with a space interposed therebetween,
  • One mask pattern includes a semi-reflective part that partially reflects light and a non-reflective part that does not substantially reflect light.
  • the semi-reflective part includes a space with the non-reflective part interposed therebetween.
  • the dimensions of the first mask pattern are larger than (0.7 ⁇ ⁇ / NA) ⁇ M in the facing direction of the first mask pattern and the second mask pattern. (0.5 ⁇ ⁇ / NA) ⁇ M or less (where ⁇ is the wavelength of exposure light, NA is the numerical aperture of the reduction projection optical system of the exposure machine, and M is the magnification of the reduction projection optical system) is there).
  • the transparent substrate is read as a reflective substrate, the semi-light-shielding part as a semi-reflective part, the light-shielding part as a non-reflective part, the transmission as reflected, and the light transmittance as light reflectance.
  • the second photomask is described.
  • the pattern forming method of the present disclosure uses any one photomask of the present disclosure to form a resist film on the substrate (a) and irradiate the resist film with exposure light through the photomask. And a step (c) of developing a resist film irradiated with exposure light and patterning the resist film.
  • DOF can be improved while suppressing generation of unnecessary patterns during exposure.
  • the DOF increases for the isolated space pattern, so that any pattern can be formed more appropriately.
  • oblique incidence illumination may be used.
  • the photomask of the present disclosure and the pattern forming method using the photomask, it is possible to form a pattern with high accuracy and without generation of side lobes, and to easily create a photomask.
  • a fine dense pattern and an isolated space pattern are formed together using oblique incidence illumination, a remarkable effect can be exhibited and a fine semiconductor device can be manufactured.
  • FIGS. 1A, 1B, and 1C show an exemplary pattern to be formed in an embodiment of the present disclosure, a planar configuration of an exemplary photomask used for the formation, and a cross-sectional configuration along the line Ic-Ic ′.
  • FIG. FIG. 2 is a diagram schematically showing the light usage distribution at the time of exposure using the photomask shown in FIGS. 1B and 1C.
  • FIG. 3 is a diagram illustrating the CD change with respect to the focus variation for the photomasks of the present disclosure and the comparative example.
  • FIG. 4 is a diagram illustrating a relationship between the width of the light shielding part and the DOF in the isolated space for the exemplary photomask of the present disclosure.
  • FIG. 5 is a diagram illustrating a relationship between the width of the light-shielding portion and NILS regarding the isolated space pattern for the exemplary photomask of the present disclosure.
  • FIG. 6 is a diagram illustrating a result of obtaining the relationship of DOF with respect to the width of the semi-light-shielding portion by simulation for the exemplary photomask of the present disclosure.
  • 7A to 7D are diagrams schematically illustrating a pattern forming method using an exemplary photomask of the present disclosure.
  • FIGS. 9A and 9B are diagrams schematically illustrating a planar configuration and a cross-sectional configuration taken along the line IXb-IXb ′ of another exemplary photomask used for forming the exemplary pattern of FIG. is there.
  • FIG. 10 is a diagram schematically showing a light usage distribution at the time of exposure using the photomask shown in FIGS.
  • FIG. 11 is a diagram schematically showing a planar configuration of still another example photomask used for forming the example pattern of FIG.
  • FIG. 12 is a diagram schematically showing a planar configuration of still another example photomask used for forming the example pattern of FIG.
  • FIG. 13 is a diagram illustrating an example different from the cross-sectional configuration of FIG. 1C for an exemplary photomask of the present disclosure.
  • FIG. 14 is a diagram illustrating still another example of the exemplary photomask of the present disclosure that is different from the cross-sectional configuration of FIG.
  • FIG. 15 is a diagram illustrating a planar configuration of a background art photomask.
  • FIG. 16 is a diagram schematically showing a light usage distribution at the time of exposure using the photomask of FIG.
  • the reduction magnification must be considered when discussing the pattern dimensions on the mask.
  • the pattern dimensions on the mask are described in correspondence with a desired pattern to be formed (for example, a resist pattern)
  • the dimensions are reduced by a reduction ratio unless otherwise specified.
  • the converted value is used.
  • a resist pattern having a width of 63 nm is formed by a mask pattern having a width of M ⁇ 63 nm in a 1 / M reduction projection system, both the mask pattern width and the resist pattern width are expressed as 63 nm.
  • M and NA represent the reduction magnification and numerical aperture of the reduction projection optical system of the exposure machine, respectively, and ⁇ represents the wavelength of the exposure light.
  • the mask pattern formed on the photomask is created with predetermined optical conditions (M, NA, ⁇ ) of the exposure apparatus used from the viewpoint of pattern dimension controllability when transferring to a resist film or the like. The Therefore, it is generally not used in an exposure apparatus having an optical condition different from a predetermined optical condition.
  • the pattern formation will be described assuming a positive resist process in which the non-photosensitive region of the resist becomes a resist pattern.
  • the non-photosensitive region of the resist is removed in the negative resist process, so the resist pattern in the positive resist process may be read as a space pattern. .
  • the description will be made on the assumption that the photomask is a transmissive mask.
  • the transmissive area and the light-shielded area of the transmissive mask become a reflective area and a non-reflective area, respectively.
  • an opening or a transmissive region of the transmissive mask may be read as a reflective portion or a reflective region, and a light shielding portion may be read as a non-reflective portion.
  • a region that partially transmits light (semi-shielding portion) in the transmission mask may be read as a region that partially reflects light (semi-reflecting portion), and the transmittance may be read as reflectance.
  • the semi-light-shielding portion is set to have a transmittance of, for example, 9% with respect to the exposure light, and the transmitted light is in phase with the transmitted light in the transmissive portion. Further, the transmittance of the light shielding portion with respect to the exposure light is 0%, that is, the light shielding portion is set to completely shield the exposure light.
  • the dense pattern is, for example, a pattern in which three or more lines / spaces with a pitch of 120 nm or less are gathered, and the isolated space is a pattern in which at least one line width is at least three times the space width with respect to the space width. It was supposed to be.
  • FIG. 1A is a plan view showing an exemplary pattern 50 to be formed in the present embodiment
  • FIG. 1B is a plan view showing an exemplary photomask 40 used for forming the pattern 50
  • FIG. 1C is a cross-sectional view taken along the line Ic-Ic ′ in FIG.
  • the transparent substrate 11 through which the exposure light is transmitted has a denseness having a line width L1 of, for example, 60 nm smaller than 0.7 ⁇ ⁇ / NA.
  • Mask pattern 15 and mask patterns 14a and 14b having a line width L2 of, for example, 200 nm larger than 0.7 ⁇ ⁇ / NA are arranged.
  • the dense mask pattern 15 and the mask patterns 14a and 14b have a structure in which a light shielding film 22 is laminated on a semi-light shielding film 23, as shown in FIG.
  • the dense mask pattern 15 since the light shielding film 22 is laminated on the entire semi-light shielding film 23, the whole is a light shielding portion.
  • the mask patterns 14a and 14b since the light shielding film 22 is laminated on a part (mainly the outer peripheral part) of the semi-light shielding film 23, the semi-light shielding parts 13a and 13b on the center side and the surrounding light shielding. It has the structure where the parts 12a and 12b were provided.
  • the light-shielding portion and the semi-light-shielding portion are referred to with respect to the planar configuration as shown in FIG.
  • the semi-light-shielding portions 13a and 13b transmit light in the same phase with reference to the opening (the portion of the transparent substrate 11 where no mask pattern is arranged).
  • an isolated space 16 is arranged between the mask pattern 14a and the mask pattern 14b, and an isolated space 17 is arranged between the mask pattern 14b and the dense mask pattern 15.
  • the isolated space 16 has the width S1
  • the light shielding portions 12a and 12b have the width B1
  • the semi-light shielding portion 13a and 13b has a width H1.
  • FIG. 2 is a diagram showing an image of transmitted light when exposure is performed using the photomask 40.
  • the light transmitted through the isolated spaces 16 and 17 and the light transmitted through the semi-shielding portions 13a and 13b have the same phase.
  • the semi-light-shielding portion 13a, the light-shielding portion 12a, the isolated space 16 (opening), the light-shielding portion 12b, and the semi-light-shielding portion 13b are arranged in this order, so that the periphery of the isolated space 16
  • the optical environment is bright, dark, bright, dark, bright, and has a highly periodic distribution. As a result, the DOF is improved.
  • FIG. 3 shows a CD (line width dimension) change with respect to a focus variation when exposure is performed on the mask of the present embodiment including the light-shielding portion and the reflection rear portion and a normal binary mask having a pattern including only the light-shielding portion. . Both the case of normal illumination and the case of oblique incidence illumination are shown.
  • the maximum width of the focus that can realize a dimensional variation of ⁇ 10 nm with respect to the target 63 nm, that is, a size within the range of 63 ⁇ 10 nm is defined as DOF.
  • DOF 112 nm in combination with oblique incidence illumination
  • DOF 117 nm in combination with normal illumination.
  • DOF 128 nm in combination with normal illumination
  • DOF 146 nm in combination with oblique incidence illumination.
  • the CD change with respect to the focus fluctuation is small as compared with the case where the binary mask is used. That is, the DOF is large.
  • the DOF is larger in the case of using the normal illumination than in the case of using the oblique illumination, whereas in the case of the photomask of the present embodiment, the oblique incidence illumination is used rather than using the normal illumination.
  • the DOF is larger when used. This indicates that when oblique incidence illumination is used to form a fine dense pattern, it is possible to simultaneously refine the isolated space pattern (in the case of a binary mask, the fine dense pattern is reduced). If oblique incidence illumination is used to form an isolated space pattern, it becomes difficult to miniaturize the isolated space pattern because the DOF decreases.
  • the light shielding portions (12a and 12b) in the photomask 40 will be further described.
  • the width B1 of the light-shielding portion (see FIG. 1C) increases, the degree of light interference between the semi-light-shielding portion and the opening decreases, and the DOF related to the isolated space (16 and 17) becomes smaller than that of the binary mask. Approach the behavior. That is, it becomes difficult to obtain the effect of DOF expansion related to the isolated space. Therefore, in order to increase the DOF, it is necessary to set the width B1 of the light shielding portion to a certain value or less.
  • FIG. 4 shows the relationship between the width of the light shielding part and the DOF in the isolated space.
  • DOF is defined as, for example, the maximum focus width that can realize a dimensional variation within ⁇ 10 nm with respect to a target width of 63 nm.
  • the width of the light-shielding portion is 0.05 ⁇ ⁇ / NA (7 nm according to the example described as the premise) or more and 1.13 ⁇ ⁇ / NA (161 nm according to the same example) or less. Then, the DOF is improved by 10 or more compared to the binary mask.
  • the width of the light-shielding portion is set to 0.12 ⁇ ⁇ / NA (17 nm according to the same example) or more and 0.63 ⁇ ⁇ / NA (90 nm according to the same example) or less, 20% or more is achieved.
  • the DOF can be improved.
  • the width B1 of the light shielding part needs to be set to a certain dimension or more from the viewpoint of NILS.
  • NILS is defined as follows.
  • NILS ( ⁇ lnI / ⁇ x) ⁇ W
  • I is the light intensity
  • ( ⁇ lnI / ⁇ x) is the logarithmic gradient of the light intensity
  • W is the pattern dimension
  • NILS is preferably 1.3 or more, for example.
  • FIG. 5 is a diagram showing the relationship between the width B1 of the light shielding portion and NILS regarding the isolated space pattern.
  • the NILS value is preferably 1.3 or more. From FIG. 5, it can be seen that the width B1 of the light shielding portion needs to be 0.13 ⁇ ⁇ / NA (18 nm in the case of the premise) or more. In addition, the width B1 of the light shielding portion necessary for obtaining a desired NILS can be obtained from FIG.
  • the distance between the mask pattern having a width L2 larger than 0.7 ⁇ ⁇ / NA and the adjacent mask pattern (space dimension S1) is smaller than 0.5 ⁇ ⁇ / NA.
  • the semi-light-shielding portions 13a and 13b are arranged in the mask patterns 14a and 14b having the width L2, and the light-shielding portions having a width of 0.13 ⁇ ⁇ / NA or more and 1.13 ⁇ ⁇ / NA or less around the periphery. 12a and 12b are arranged.
  • sufficient NILS can be secured and the DOF of the isolated space can be improved by 10% or more.
  • the width of the light shielding portion is 0.13 ⁇ ⁇ / NA or more and 0.63 ⁇ ⁇ / NA or less, sufficient NILS can be ensured and the DOF of the isolated space can be improved by 20 or more.
  • the width of the semi-light-shielding part will be described. If the width of the semi-light-shielding portion is small, the light intensity corresponding to the semi-light-shielding portion becomes smaller than the light intensity corresponding to the isolated space pattern when exposure is performed. As a result, the periodicity of the light intensity distribution is not sufficiently increased, and the effect of DOF expansion is difficult to obtain. This will be described with reference to FIG.
  • FIG. 6 shows the result of the simulation of the relationship of DOF with respect to the width of the semi-light-shielding portion. From FIG. 6, when the width of the semi-light-shielding part is larger than 0.42 ⁇ ⁇ / NA (according to the example described as the premise, it is larger than 60 nm), an example of the binary mask without the semi-light-shielding part (half It can be seen that the DOF can be enlarged by 10% compared to the case where the width of the light shielding portion is 0 nm.
  • the DOF can be enlarged by 20% compared to the binary mask.
  • width H1 of the semi-light-shielding portion and the width B1 of the light-shielding portion can be set to values larger than the limit of mask creation, mask creation is facilitated and cost can be reduced.
  • FIGS. 7A to 7D are cross-sectional views schematically showing each step.
  • a film to be processed 101 such as a metal film or an insulating film is formed on a substrate 100 made of silicon or the like.
  • a positive resist film 102 is formed on the film 101 to be processed.
  • the exposure light 103 is irradiated using an ArF excimer laser, a KrF excimer laser, or the like as a light source.
  • the resist film 102 is exposed to the transmitted light 105 that has passed through the openings of the photomask 40 (isolated spaces 16 and 17, areas between the dense mask patterns 15 and the like), and as a result, a latent image corresponding to the openings. A portion 102a is formed.
  • the latent image portion 102a is irradiated with exposure energy sufficient to completely dissolve the resist film 102 in the development process.
  • the transmitted light 104 transmitted through the halftone portions (semi-shielding portions 13a and 13b) in the photomask 40 has the same phase as the transmitted light 105 transmitted through the opening, but the resist film 102 is exposed to form a latent image portion. Just don't have energy. Accordingly, only the resist film 102 corresponding to the opening of the photomask 40 is exposed.
  • the mask patterns 14a and 14b having the width L2 larger than 0.7 ⁇ ⁇ / NA are spaced from the neighboring patterns by 0.5 ⁇ ⁇ / NA or less (space dimension S1).
  • space dimension S1 space dimension S1
  • a semi-light-shielding portion having a width larger than 0.42 ⁇ ⁇ / NA is disposed inside the pattern having the width L2, and the width thereof is larger than 0.13 ⁇ ⁇ / NA, and 1.13 ⁇ A light shielding part smaller than ⁇ / NA is arranged.
  • a fine dense mask pattern 15 having a line width L1 smaller than 0.7 ⁇ ⁇ / NA is arranged with a space dimension S1 as an interval from the pattern of width L2.
  • the photomask can be provided with periodicity such as bright, dark, bright, and dark in the light intensity distribution during exposure by the arrangement of the opening, the light-shielding part, and the semi-light-shielding part.
  • periodicity such as bright, dark, bright, and dark in the light intensity distribution during exposure by the arrangement of the opening, the light-shielding part, and the semi-light-shielding part.
  • the dimensional relationship indicated by 4-6 is realized.
  • FIG. 8A is a plan view showing an exemplary pattern 51 to be formed in the present modification
  • FIG. 8B is a plan view showing an exemplary photomask 41 used for forming the pattern 51
  • 8C is a cross-sectional view taken along line VIIIc-VIIIc ′ in FIG. 5B
  • FIG. 8D is a cross-sectional view taken along line VIIId-VIIId ′ in FIG. 5B.
  • FIGS. 8A to 8D the same components as those in FIGS. 1A to 1C are denoted by the same reference numerals.
  • the photomask 41 also includes semi-light-shielding portions 13a and 13b inside the mask patterns 14a and 14b, and the light-shielding portions 12a and 12b are arranged around it. Further, the mask patterns 14a and 14b having the width L2 are arranged with a space dimension S1 in the Vc-Vc ′ line direction (in a direction in which the mask patterns face each other with an isolated space therebetween).
  • the mask pattern 14a is not arranged side by side with the mask pattern 14b, and a space dimension S2 larger than 0.5 ⁇ ⁇ / NA ⁇ M is provided.
  • the mask pattern 15a is arranged side by side.
  • a predetermined value a value determined by ⁇ , NA, M, for example, 0.5 ⁇ ⁇ / NA ⁇ M. In such a portion, the semi-light-shielding portion 13a is not disposed.
  • the semi-light-shielding portion 13b is arranged in a portion aligned with the mask pattern 14a and the space dimension S1.
  • the semi-light-shielding portion is disposed in the mask pattern, and the portion disposed with the space dimension S2 having a size that does not require DOF expansion is semi-light-shielded.
  • the part is not arranged.
  • FIG. 9A is a plan view showing another exemplary photomask 42, and the photomask 42 has a pattern for forming the pattern of FIG. 1A.
  • FIG. 9B is a diagram showing a cross section taken along line IXb-IXb ′ in FIG.
  • the light shielding portions 12a and 12b are arranged on the peripheral portions of the mask patterns 14a and 14b, and the semi-light shielding portions 13a and 13b are formed as a continuous region.
  • the light shielding portions 12a and 12b are also formed inside the mask patterns 14a and 14b, and the semi-light shielding portions 13a and 13b are divided into a plurality of portions.
  • the periodicity of light, dark, bright, and dark in the light intensity distribution can be further enhanced as shown in FIG. 10, so that the DOF of the isolated space is further expanded. be able to.
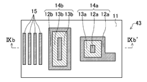
  • FIG. 11 shows still another exemplary photomask 43 for forming the pattern of FIG.
  • the light shielding portions 12a and 12b are arranged in an independent island shape inside the semi-light shielding portions 13a and 13b in addition to the peripheral portions of the mask patterns 14a and 14b.
  • the cross section taken along line IXb-IXb ′ in FIG. 11 is the same as FIG. 9B. Therefore, the light and darkness in the light intensity distribution when exposed using the photomask 43 has high periodicity, and the DOF expansion can be realized.
  • the semi-light-shielding portions and the light-shielding portions are arranged alternately.
  • a protruding portion that does not reach the light shielding portion on the opposite side may be provided from a part of the light shielding portion that surrounds the semi-light shielding portion.
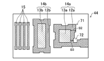
  • FIG. 12 shows still another exemplary photomask 44 for forming the pattern of FIG.
  • the photomask 44 is the same as the photomask 40 in FIG. 1B in that the semi-light-shielding portions 13a and 13b are arranged at the peripheral portions of the mask patterns 14a and 14b.
  • the width B2 of the planar convex corner portion 71 is larger than the width B3 of the concave corner portion 72.
  • OPC optical proximity effect correction
  • FIGS. 13 and 14 are schematic cross-sectional views illustrating other configurations for providing the semi-light-shielding portion and the light-shielding portion.
  • the semi-light-shielding portions 23a and 13b are formed by forming the semi-light-shielding film 23 on the transparent substrate 11 and providing the light-shielding film 22 at necessary locations on the semi-light-shielding film 23.
  • the light shielding portions 12a and 12b are configured.
  • the light shielding film 22 is formed at a necessary location on the transparent substrate 11, and the semi-light shielding film 23 is formed at the necessary location on the transparent substrate 11 so as to cover the light shielding film 22.
  • semi-light-shielding portions 13a and 13b and light-shielding portions 12a and 12b are configured.
  • the semi-light-shielding film 23 is patterned at a necessary portion on the transparent substrate 11, and the light-shielding film 22 is formed on the semi-light-shielding film 23 and the necessary portions on the transparent substrate 11, thereby forming a semi-light-shielding portion. 13a and 13b and light shielding parts 12a and 12b are configured.
  • the side surfaces of the semi-light-shielding film 23 and the light-shielding film 22 are flush, whereas in the case of FIG. 14, the light-shielding film 22 is formed so as to cover the side surface of the semi-light-shielding film 23. A portion in contact with the transparent substrate 11 is provided.
  • the width of the light shielding portion is from the edge on the space pattern side to the edge on the opposite side in the light shielding portion.
  • the width of the light shielding portion is set to a predetermined value (for example, a value larger than 0.13 ⁇ ⁇ / NA and smaller than 1.13 ⁇ ⁇ / NA), so that the isolation is achieved.
  • a predetermined value for example, a value larger than 0.13 ⁇ ⁇ / NA and smaller than 1.13 ⁇ ⁇ / NA
  • the photomask of the present disclosure and the pattern forming method using the photomask, it is possible to simultaneously form a dense pattern and an isolated space pattern without generating side lobes, and to easily create a photomask. Therefore, it is also useful in pattern formation in a process in which an SRAM portion (dense pattern) and a logic portion (isolated space pattern) such as element isolation exist simultaneously.

Landscapes

  • Physics & Mathematics (AREA)
  • General Physics & Mathematics (AREA)
  • Engineering & Computer Science (AREA)
  • Condensed Matter Physics & Semiconductors (AREA)
  • Manufacturing & Machinery (AREA)
  • Computer Hardware Design (AREA)
  • Microelectronics & Electronic Packaging (AREA)
  • Power Engineering (AREA)
  • Preparing Plates And Mask In Photomechanical Process (AREA)
  • Exposure And Positioning Against Photoresist Photosensitive Materials (AREA)
PCT/JP2011/002241 2010-09-21 2011-04-15 フォトマスク及びそれを用いたパターン形成方法 Ceased WO2012039078A1 (ja)

Priority Applications (1)

Application Number Priority Date Filing Date Title
US13/691,142 US20130095416A1 (en) 2010-09-21 2012-11-30 Photomask and pattern formation method

Applications Claiming Priority (2)

Application Number Priority Date Filing Date Title
JP2010-210672 2010-09-21
JP2010210672A JP2012068296A (ja) 2010-09-21 2010-09-21 フォトマスク及びそれを用いたパターン形成方法

Related Child Applications (1)

Application Number Title Priority Date Filing Date
US13/691,142 Continuation US20130095416A1 (en) 2010-09-21 2012-11-30 Photomask and pattern formation method

Publications (1)

Publication Number Publication Date
WO2012039078A1 true WO2012039078A1 (ja) 2012-03-29

Family

ID=45873585

Family Applications (1)

Application Number Title Priority Date Filing Date
PCT/JP2011/002241 Ceased WO2012039078A1 (ja) 2010-09-21 2011-04-15 フォトマスク及びそれを用いたパターン形成方法

Country Status (3)

Country Link
US (1) US20130095416A1 (enExample)
JP (1) JP2012068296A (enExample)
WO (1) WO2012039078A1 (enExample)

Families Citing this family (3)

* Cited by examiner, † Cited by third party
Publication number Priority date Publication date Assignee Title
JP6035884B2 (ja) * 2012-06-07 2016-11-30 大日本印刷株式会社 フォトマスクの製造方法
JP6315033B2 (ja) * 2016-07-09 2018-04-25 大日本印刷株式会社 フォトマスク
TWI877283B (zh) 2020-01-28 2025-03-21 日商Hoya股份有限公司 光罩、光罩之製造方法、顯示裝置用元件之製造方法

Citations (5)

* Cited by examiner, † Cited by third party
Publication number Priority date Publication date Assignee Title
JP2002107909A (ja) * 2000-10-03 2002-04-10 Nec Corp フォトマスク及びそのマスクパターン設計方法
WO2005040919A1 (ja) * 2003-10-23 2005-05-06 Matsushita Electric Industrial Co., Ltd. フォトマスク、そのフォトマスクを用いたパターン形成方法及びマスクデータ作成方法
JP2006221078A (ja) * 2005-02-14 2006-08-24 Renesas Technology Corp フォトマスク、マスクパターンの生成方法、および、半導体装置のパターンの形成方法
JP2008191364A (ja) * 2007-02-05 2008-08-21 Elpida Memory Inc マスクパターンの設計方法
JP2009075207A (ja) * 2007-09-19 2009-04-09 Panasonic Corp フォトマスク及びそれを用いたパターン形成方法

Family Cites Families (2)

* Cited by examiner, † Cited by third party
Publication number Priority date Publication date Assignee Title
WO2007102337A1 (ja) * 2006-03-06 2007-09-13 Matsushita Electric Industrial Co., Ltd. フォトマスク、その作成方法、そのフォトマスクを用いたパターン形成方法及びマスクデータ作成方法
JP5193715B2 (ja) * 2008-07-18 2013-05-08 株式会社エスケーエレクトロニクス 多階調フォトマスク

Patent Citations (5)

* Cited by examiner, † Cited by third party
Publication number Priority date Publication date Assignee Title
JP2002107909A (ja) * 2000-10-03 2002-04-10 Nec Corp フォトマスク及びそのマスクパターン設計方法
WO2005040919A1 (ja) * 2003-10-23 2005-05-06 Matsushita Electric Industrial Co., Ltd. フォトマスク、そのフォトマスクを用いたパターン形成方法及びマスクデータ作成方法
JP2006221078A (ja) * 2005-02-14 2006-08-24 Renesas Technology Corp フォトマスク、マスクパターンの生成方法、および、半導体装置のパターンの形成方法
JP2008191364A (ja) * 2007-02-05 2008-08-21 Elpida Memory Inc マスクパターンの設計方法
JP2009075207A (ja) * 2007-09-19 2009-04-09 Panasonic Corp フォトマスク及びそれを用いたパターン形成方法

Also Published As

Publication number Publication date
JP2012068296A (ja) 2012-04-05
US20130095416A1 (en) 2013-04-18

Similar Documents

Publication Publication Date Title
US7790337B2 (en) Photomask, pattern formation method using the same and mask data creation method
JP4754636B2 (ja) マスクデータ作成方法
US20080113304A1 (en) Pattern formation method
US7250248B2 (en) Method for forming pattern using a photomask
JP2002075823A (ja) 半導体装置のパターン形成方法、フォトマスクのパターン設計方法、フォトマスクの製造方法およびフォトマスク
JP2009058877A (ja) フォトマスク及びそれを用いたパターン形成方法
JP2009075207A (ja) フォトマスク及びそれを用いたパターン形成方法
JP4197540B2 (ja) フォトマスク、その作成方法及びそのフォトマスクを用いたパターン形成方法
JP3759914B2 (ja) フォトマスク及びそれを用いたパターン形成方法
WO2012039078A1 (ja) フォトマスク及びそれを用いたパターン形成方法
JP4009219B2 (ja) フォトマスク、そのフォトマスクを用いたパターン形成方法及びマスクデータ作成方法
US8007959B2 (en) Photomask and pattern formation method using the same
JP3759138B2 (ja) フォトマスク
JP4314285B2 (ja) フォトマスク
JP4314288B2 (ja) フォトマスク
JP3967359B2 (ja) パターン形成方法
JP3322223B2 (ja) 位相シフトマスク
JP3984626B2 (ja) パターン形成方法
JP2007018005A (ja) フォトマスク
JP3738234B2 (ja) フォトマスク、その作成方法、及びそのフォトマスクを用いたパターン形成方法
JP2009237339A (ja) フォトマスク及びそのフォトマスクを用いた半導体装置の製造方法
JP4314286B2 (ja) フォトマスク
JP2008191403A (ja) フォトマスクおよびそれを用いた電子デバイスの製造方法、ならびに電子デバイス
JP4009301B2 (ja) マスクデータ作成方法
JP3984625B2 (ja) マスクデータ作成方法

Legal Events

Date Code Title Description
121 Ep: the epo has been informed by wipo that ep was designated in this application

Ref document number: 11826531

Country of ref document: EP

Kind code of ref document: A1

NENP Non-entry into the national phase

Ref country code: DE

122 Ep: pct application non-entry in european phase

Ref document number: 11826531

Country of ref document: EP

Kind code of ref document: A1