WO2012026079A1 - Oscillatory wave drive unit and image stabilization device - Google Patents

Oscillatory wave drive unit and image stabilization device Download PDF

Info

Publication number
WO2012026079A1
WO2012026079A1 PCT/JP2011/004528 JP2011004528W WO2012026079A1 WO 2012026079 A1 WO2012026079 A1 WO 2012026079A1 JP 2011004528 W JP2011004528 W JP 2011004528W WO 2012026079 A1 WO2012026079 A1 WO 2012026079A1
Authority
WO
WIPO (PCT)
Prior art keywords
wave drive
oscillatory wave
vibrator
drive unit
moving body
Prior art date
Legal status (The legal status is an assumption and is not a legal conclusion. Google has not performed a legal analysis and makes no representation as to the accuracy of the status listed.)
Ceased
Application number
PCT/JP2011/004528
Other languages
English (en)
French (fr)
Inventor
Kaishi Ohashi
Hiroyuki Seki
Takayuki Tsukimoto
Shinji Yamamoto
Current Assignee (The listed assignees may be inaccurate. Google has not performed a legal analysis and makes no representation or warranty as to the accuracy of the list.)
Canon Inc
Original Assignee
Canon Inc
Priority date (The priority date is an assumption and is not a legal conclusion. Google has not performed a legal analysis and makes no representation as to the accuracy of the date listed.)
Filing date
Publication date
Application filed by Canon Inc filed Critical Canon Inc
Priority to CN201180040021.0A priority Critical patent/CN103069600B/zh
Priority to US13/818,057 priority patent/US9172313B2/en
Publication of WO2012026079A1 publication Critical patent/WO2012026079A1/en
Anticipated expiration legal-status Critical
Ceased legal-status Critical Current

Links

Images

Classifications

    • HELECTRICITY
    • H02GENERATION; CONVERSION OR DISTRIBUTION OF ELECTRIC POWER
    • H02NELECTRIC MACHINES NOT OTHERWISE PROVIDED FOR
    • H02N2/00Electric machines in general using piezoelectric effect, electrostriction or magnetostriction
    • H02N2/0005Electric machines in general using piezoelectric effect, electrostriction or magnetostriction producing non-specific motion; Details common to machines covered by H02N2/02 - H02N2/16
    • H02N2/001Driving devices, e.g. vibrators
    • GPHYSICS
    • G02OPTICS
    • G02BOPTICAL ELEMENTS, SYSTEMS OR APPARATUS
    • G02B27/00Optical systems or apparatus not provided for by any of the groups G02B1/00 - G02B26/00, G02B30/00
    • G02B27/64Imaging systems using optical elements for stabilisation of the lateral and angular position of the image
    • G02B27/646Imaging systems using optical elements for stabilisation of the lateral and angular position of the image compensating for small deviations, e.g. due to vibration or shake
    • GPHYSICS
    • G03PHOTOGRAPHY; CINEMATOGRAPHY; ANALOGOUS TECHNIQUES USING WAVES OTHER THAN OPTICAL WAVES; ELECTROGRAPHY; HOLOGRAPHY
    • G03BAPPARATUS OR ARRANGEMENTS FOR TAKING PHOTOGRAPHS OR FOR PROJECTING OR VIEWING THEM; APPARATUS OR ARRANGEMENTS EMPLOYING ANALOGOUS TECHNIQUES USING WAVES OTHER THAN OPTICAL WAVES; ACCESSORIES THEREFOR
    • G03B5/00Adjustment of optical system relative to image or object surface other than for focusing
    • HELECTRICITY
    • H02GENERATION; CONVERSION OR DISTRIBUTION OF ELECTRIC POWER
    • H02NELECTRIC MACHINES NOT OTHERWISE PROVIDED FOR
    • H02N2/00Electric machines in general using piezoelectric effect, electrostriction or magnetostriction
    • H02N2/0005Electric machines in general using piezoelectric effect, electrostriction or magnetostriction producing non-specific motion; Details common to machines covered by H02N2/02 - H02N2/16
    • H02N2/001Driving devices, e.g. vibrators
    • H02N2/0015Driving devices, e.g. vibrators using only bending modes
    • HELECTRICITY
    • H02GENERATION; CONVERSION OR DISTRIBUTION OF ELECTRIC POWER
    • H02NELECTRIC MACHINES NOT OTHERWISE PROVIDED FOR
    • H02N2/00Electric machines in general using piezoelectric effect, electrostriction or magnetostriction
    • H02N2/02Electric machines in general using piezoelectric effect, electrostriction or magnetostriction producing linear motion, e.g. actuators; Linear positioners ; Linear motors
    • H02N2/026Electric machines in general using piezoelectric effect, electrostriction or magnetostriction producing linear motion, e.g. actuators; Linear positioners ; Linear motors by pressing one or more vibrators against the driven body
    • HELECTRICITY
    • H02GENERATION; CONVERSION OR DISTRIBUTION OF ELECTRIC POWER
    • H02NELECTRIC MACHINES NOT OTHERWISE PROVIDED FOR
    • H02N2/00Electric machines in general using piezoelectric effect, electrostriction or magnetostriction
    • H02N2/02Electric machines in general using piezoelectric effect, electrostriction or magnetostriction producing linear motion, e.g. actuators; Linear positioners ; Linear motors
    • H02N2/028Electric machines in general using piezoelectric effect, electrostriction or magnetostriction producing linear motion, e.g. actuators; Linear positioners ; Linear motors along multiple or arbitrary translation directions, e.g. XYZ stages
    • HELECTRICITY
    • H04ELECTRIC COMMUNICATION TECHNIQUE
    • H04NPICTORIAL COMMUNICATION, e.g. TELEVISION
    • H04N23/00Cameras or camera modules comprising electronic image sensors; Control thereof
    • H04N23/60Control of cameras or camera modules
    • H04N23/68Control of cameras or camera modules for stable pick-up of the scene, e.g. compensating for camera body vibrations
    • H04N23/681Motion detection
    • H04N23/6812Motion detection based on additional sensors, e.g. acceleration sensors
    • HELECTRICITY
    • H04ELECTRIC COMMUNICATION TECHNIQUE
    • H04NPICTORIAL COMMUNICATION, e.g. TELEVISION
    • H04N23/00Cameras or camera modules comprising electronic image sensors; Control thereof
    • H04N23/60Control of cameras or camera modules
    • H04N23/68Control of cameras or camera modules for stable pick-up of the scene, e.g. compensating for camera body vibrations
    • H04N23/682Vibration or motion blur correction
    • H04N23/685Vibration or motion blur correction performed by mechanical compensation
    • GPHYSICS
    • G03PHOTOGRAPHY; CINEMATOGRAPHY; ANALOGOUS TECHNIQUES USING WAVES OTHER THAN OPTICAL WAVES; ELECTROGRAPHY; HOLOGRAPHY
    • G03BAPPARATUS OR ARRANGEMENTS FOR TAKING PHOTOGRAPHS OR FOR PROJECTING OR VIEWING THEM; APPARATUS OR ARRANGEMENTS EMPLOYING ANALOGOUS TECHNIQUES USING WAVES OTHER THAN OPTICAL WAVES; ACCESSORIES THEREFOR
    • G03B2205/00Adjustment of optical system relative to image or object surface other than for focusing
    • G03B2205/0007Movement of one or more optical elements for control of motion blur
    • G03B2205/0015Movement of one or more optical elements for control of motion blur by displacing one or more optical elements normal to the optical axis
    • GPHYSICS
    • G03PHOTOGRAPHY; CINEMATOGRAPHY; ANALOGOUS TECHNIQUES USING WAVES OTHER THAN OPTICAL WAVES; ELECTROGRAPHY; HOLOGRAPHY
    • G03BAPPARATUS OR ARRANGEMENTS FOR TAKING PHOTOGRAPHS OR FOR PROJECTING OR VIEWING THEM; APPARATUS OR ARRANGEMENTS EMPLOYING ANALOGOUS TECHNIQUES USING WAVES OTHER THAN OPTICAL WAVES; ACCESSORIES THEREFOR
    • G03B2205/00Adjustment of optical system relative to image or object surface other than for focusing
    • G03B2205/0053Driving means for the movement of one or more optical element
    • G03B2205/0061Driving means for the movement of one or more optical element using piezoelectric actuators
    • HELECTRICITY
    • H04ELECTRIC COMMUNICATION TECHNIQUE
    • H04NPICTORIAL COMMUNICATION, e.g. TELEVISION
    • H04N23/00Cameras or camera modules comprising electronic image sensors; Control thereof
    • H04N23/50Constructional details
    • H04N23/55Optical parts specially adapted for electronic image sensors; Mounting thereof

Definitions

  • the present invention relates to an oscillatory wave drive unit and an image stabilization device including the same.
  • PTL 1 and PTL 2 disclose combining a plurality of straight-type oscillatory wave drive units that can each move a moving body linearly, to move a moving body in two-dimensional directions for use as an image stabilization device.
  • PTL 1 and PTL 2 disclose exciting oscillation in oscillatory wave drive units in the direction in which the oscillatory wave drive units are pressed against a moving body, to reduce frictional force and to reduce power loss.
  • the above-described method for reducing power loss in oscillatory wave drive units or an image stabilization device can reduce power loss but requires electric energy in order to excite oscillation in oscillatory wave drive units that do not contribute to the movement of the moving body, and therefore power consumption increases.
  • the amplitude of oscillation in the direction in which the oscillatory wave drive units are pressed against the moving body needs to be a certain value or more in order to effectively reduce power loss. For this reason, it is necessary to generate oscillation having an amplitude of a certain value or more, and power consumption increases.
  • the present invention provides an oscillatory wave drive unit and an image stabilization device that can reduce power loss without increasing power consumption.
  • an oscillatory wave drive unit includes at least one vibrator having an electromechanical energy converting element, and at least one supporting member configured to support the at least one vibrator.
  • the oscillatory wave drive unit excites oscillation in the at least one vibrator and moves a moving body in contact with the at least one vibrator by frictional force.
  • the oscillatory wave drive unit includes at least one moving mechanism configured to support the at least one vibrator movably in a plane parallel to the plane where the at least one vibrator and the moving body are in contact with each other, in a second direction intersecting with a first direction in which the at least one vibrator drives the moving body.
  • an oscillatory wave drive unit has a mechanism that when a force acts on a vibrator in a direction different from the driving direction, moves the vibrator in the direction in which the force acts. Therefore, power loss can be reduced without increasing power consumption of an oscillatory wave drive unit and an image stabilization device.
  • Fig. 1 is a perspective view of an oscillatory wave drive unit according to a first embodiment.
  • Fig. 2 illustrates the arrangement of a moving body and oscillatory wave drive units according to the first embodiment.
  • Fig. 3 is a sectional view of a camera as an imaging apparatus according to the first embodiment.
  • Fig. 4A illustrates an oscillation mode of a vibrator.
  • Fig. 4B illustrates another oscillation mode of the vibrator.
  • Fig. 5A is a perspective view of an oscillatory wave drive unit according to a second embodiment.
  • Fig. 5B is another perspective view of the oscillatory wave drive unit according to the second embodiment.
  • Fig. 6 is a perspective view of an oscillatory wave drive unit according to a third embodiment.
  • Fig. 1 is a perspective view of an oscillatory wave drive unit according to a first embodiment.
  • Fig. 2 illustrates the arrangement of a moving body and oscillatory wave drive units according to the first embodiment.
  • Fig. 3 is
  • FIG. 7A is a perspective view of an oscillatory wave drive unit according to a fourth embodiment.
  • Fig. 7B is another perspective view of the oscillatory wave drive unit according to the fourth embodiment.
  • Fig. 8A is a perspective view of an oscillatory wave drive unit according to a fifth embodiment.
  • Fig. 8B is another perspective view of the oscillatory wave drive unit according to the fifth embodiment.
  • Fig. 9A is a perspective view of an oscillatory wave drive unit according to a sixth embodiment.
  • Fig. 9B is another perspective view of the oscillatory wave drive unit according to the sixth embodiment.
  • Fig. 10A is a perspective view of an oscillatory wave drive unit according to an eighth embodiment.
  • Fig. 10B is another perspective view of the oscillatory wave drive unit according to the eighth embodiment.
  • Fig. 10A is a perspective view of an oscillatory wave drive unit according to an eighth embodiment.
  • Fig. 10B is another perspective view of the oscillatory wave drive unit according to the eighth embodiment
  • FIG. 11A is a perspective view of another oscillatory wave drive unit according to the eighth embodiment.
  • Fig. 11B is another perspective view of the other oscillatory wave drive unit according to the eighth embodiment.
  • Fig. 12 illustrates the arrangement of a moving body and oscillatory wave drive units according to a seventh embodiment.
  • an oscillatory wave drive unit includes at least one vibrator having an electromechanical energy converting element, and at least one supporting member configured to support the at least one vibrator.
  • the oscillatory wave drive unit excites oscillation in the at least one vibrator and moves a moving body in contact with the at least one vibrator by frictional force.
  • the oscillatory wave drive unit includes at least one moving mechanism configured to support the at least one vibrator movably in a plane parallel to the plane where the at least one vibrator and the moving body are in contact with each other, in a second direction intersecting with a first direction in which the at least one vibrator drives the moving body.
  • the plane where the at least one vibrator and the moving body are in contact with each other means an imaginary plane including a plurality of contact points where the at least one vibrator and the moving body are in contact with each other.
  • a plane parallel to the plane where the at least one vibrator and the moving body are in contact with each other means an imaginary plane parallel to "the plane where the at least one vibrator and the moving body are in contact with each other," and there are myriad such planes.
  • These planes define a first direction and a second direction that are directions for defining the moving direction of the moving mechanism of the present invention.
  • the first direction is a direction in which the vibrator moves the moving body, and is also referred to as driving direction.
  • the second direction is a direction in which the vibrator can move owing to the moving mechanism of the present invention, and is also referred to as "dodging direction.”
  • the vibrator moves without resisting the force (dodges) in the second direction.
  • the moving mechanism of the present invention is characterized in that it can support the vibrator movably in the second direction defined by the above configuration.
  • a guide member can be provided that can move only in the second direction.
  • the vibrator can be supported by an elastic member (typically a spring member) that can be easily displaced only in a certain direction.
  • a state where "a second direction intersecting with the first direction" exists means a state where a component in a direction different from the moving direction (first direction) exists (a force moving in a direction different from the first direction is generated).
  • first direction a direction different from the moving direction
  • a force moving in a direction different from the first direction causes power loss as described above.
  • the angle at which the first direction and the second direction intersect is 90 degrees angle, power loss is most likely to be caused. Even if the angle at which the first direction and the second direction intersect is very small, power loss according to the angle can be caused.
  • the vibrator of the present invention is composed of an oscillating plate (also referred to as oscillating body) and an electromechanical energy converting element (typically a piezoelectric ceramics). By applying a predetermined electric field to the electromechanical energy converting element, a desired oscillation can be excited.
  • an oscillating plate also referred to as oscillating body
  • an electromechanical energy converting element typically a piezoelectric ceramics
  • a straight-type oscillatory wave drive unit means an oscillatory wave drive unit that can drive linearly, and is also referred to as linear-type oscillatory wave drive unit.
  • a single straight-type oscillatory wave drive unit moves a moving body (also referred to as driven body) linearly.
  • a moving body By combining a plurality of straight-type oscillatory wave drive units, a moving body can be moved (or relatively moved) in a desired direction.
  • direction in each embodiment means a direction in "a plane parallel to the plane where the at least one vibrator and the moving body are in contact with each other.”
  • Fig. 3 is a sectional view of a camera as an imaging apparatus according to a first embodiment of the present invention.
  • the camera of Fig. 3 can take moving and still pictures.
  • Reference numeral 1 denotes a lens barrel
  • reference numeral 2 denotes a camera body.
  • Reference numeral 3 denotes an image stabilization device built in the lens barrel 1.
  • the unit 3 includes an optical lens 4, a moving body 5 holding the optical lens 4, oscillatory wave drive units 6 that move the moving body 5.
  • the lens barrel 1 is provided with an optical system other than the optical lens 4, an acceleration sensor that detects a shake of the lens barrel 1, an encoder that detects the two-dimensional movement of the moving body.
  • the lens barrel 1 is further provided with a power source that supplies electric energy to the oscillatory wave drive units 6, and a control unit that processes a signal output from the acceleration sensor and a signal output from the encoder and operates the power source.
  • the camera body 2 has an image sensor 7 therein.
  • Light from an object passes through an optical system including the optical lens 4 in the lens barrel 1 and is incident on the image sensor 7 in the camera body 2.
  • the optical lens 4 With moving the optical lens 4 with the oscillatory wave drive units 6 on the basis of the signal from the acceleration sensor, the image can be stabilized.
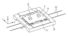
  • Fig. 2 illustrates the arrangement of the moving body 5 and the oscillatory wave drive units 6 as viewed from the image sensor 7 side.
  • the moving body 5 is made of heat-treated stainless steel having a high resistance to abrasion and has an annular shape.
  • the moving body 5 holds the optical lens 4 for image stabilization in the central part thereof.
  • the oscillatory wave drive units 6 are disposed, avoiding the optical lens 4 in the radial direction, so as not to interfere with the optical path.
  • Four oscillatory wave drive units 6 (6A, 6B, 6C, and 6D) are disposed at regular intervals in the circumferential direction.
  • the oscillatory wave drive units 6 are capable of straight forward and backward driving.
  • the driving direction of each oscillatory wave drive unit is shown by arrow 8.
  • the driving direction of the oscillatory wave drive units 6A and 6C is the X direction in the figure.
  • the driving direction of the oscillatory wave drive units 6B and 6D is the Y direction in the figure.
  • the arrangement of the oscillatory wave drive units 6 is such that the driving directions thereof intersect at right angles.
  • the moving body 5 can be moved two-dimensionally in the XY plane.
  • the moving body 5 can be moved two-dimensionally by oscillatory wave drive units 6 whose driving directions intersect at right angles.
  • the moving body 5 can be moved two-dimensionally as long as oscillatory wave drive units 6 are arranged such that the driving directions thereof intersect.
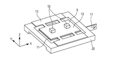
  • Fig. 1 is a perspective view of an oscillatory wave drive unit 6 of the present invention.
  • the coordinate system in the figure is a right-handed rectangular coordinate system.
  • Reference numeral 9 denotes a rectangular plate-like vibrator.
  • the vibrator 9 is composed of an oscillating plate 10 having two protrusions 12, and a piezoelectric ceramics 11 that is an electromechanical energy converting element fixed to the oscillating plate 10.
  • the oscillating plate 10 includes beam portions and vibrator securing portions 13.
  • the two protrusions 12 are arranged in the longitudinal direction of the vibrator 9.
  • Reference numeral 14 denotes sleeves fixed to the vibrator securing portions 13, and reference numeral 15 denotes bars whose ends are secured to the lens barrel 1.
  • the sleeves 14 have holes, through which the bars 15 passes.
  • the combination of the sleeves 14 and the bars 15 forms a guide member.
  • a guide member in the present invention means a member that permits movement in a particular direction and prevents movement in the other directions.
  • the vibrator 9 is movable in the longitudinal direction of the bars 15. Grease is applied to the contact surfaces of the sleeves 14 and the bars 15, so that sliding resistance is extremely small.
  • the upper surfaces of the protrusions 12 are in contact with the moving body 5.
  • the protrusions 12 are pressed by a coil spring (not shown) toward the moving body 5. Thus, the protrusions 12 are pressed against the moving body 5.
  • Figs. 4A and 4B show two oscillation modes.
  • the oscillation mode of Fig. 4A is called A-mode.
  • the oscillation mode of Fig. 4B is called B-mode.
  • the oscillation mode shown in Fig. 4A is an oscillation mode (A-mode) in which the upper surfaces of the protrusions 12 oscillate in the longitudinal direction of the vibrator 9 (also referred to as conveying direction: X direction in the figure).
  • B-mode oscillation mode
  • the alternating voltage is set so that oscillations in these two oscillation modes are excited at a time phase difference of substantially 90 degrees angle.
  • substantially 90 degrees angle means that when the angle is not strictly 90 degrees angle, it is tolerated as long as necessary oscillations are combined.
  • substantially in the present invention has the same meaning.
  • the upper surfaces of the protrusions 12 move along elliptic loci and move the moving body 5 in contact therewith in one direction, the X direction in Fig. 4A.
  • the phase difference between oscillations in the two oscillation modes is -90 degrees angle, the moving body 5 can be moved in the opposite direction.
  • the oscillatory wave drive units 6 each have a guide member composed of sleeves 14 and bars 15, in a direction (second direction) perpendicular to the driving direction (first direction).
  • the oscillatory wave drive units 6B and 6D move (are supported movably) in the X direction together with the movement of the moving body 5.
  • the movement in the X direction is not prevented, and the resistance is substantially negligible.
  • the force acting from the oscillatory wave drive units 6B and 6D on the moving body 5 can be eliminated almost completely, the movement of the moving body 5 is not interfered with, and almost no power loss is caused.
  • the oscillatory wave drive units 6A and 6C are moved in the Y direction (second direction for the oscillatory wave drive units 6A and 6C).
  • the oscillatory wave drive units 6B and 6D are moved in the X direction (second direction for the oscillatory wave drive units 6B and 6D).
  • the driving direction intersects the moving direction of the moving body 5, and therefore a frictional force component in a direction perpendicular to the driving direction is generated. Even in such a case, according to the present invention, power loss due to the frictional force between the moving body 5 and the oscillatory wave drive units 6 can be reduced.
  • the moving body is moved two-dimensionally using only the oscillatory wave drive units 6.
  • some of them may be replaced with an electromagnetic motor that does not use contact.
  • the moving body 5 can be moved in the two-dimensional directions.
  • an image stabilization device 3 is built in a lens barrel 1.
  • the image stabilization device 3 may be built in the camera body 2.
  • the same advantageous effect as in this embodiment can be obtained.
  • the shape and the oscillation mode of the vibrator 9 are different from those in this embodiment, the advantageous effect of the present invention can be obtained.
  • Fig. 5A is a perspective view of an oscillatory wave drive unit according to another embodiment of the present invention as viewed from the protrusions 12 side.
  • Fig. 5B is a perspective view of the oscillatory wave drive unit as viewed from the side opposite to the protrusions 12.
  • the coordinate system in the figures is a right-handed rectangular coordinate system. A description will be given with reference to the two figures.
  • This embodiment differs from the first embodiment in the configuration of the vibrator and the securing portion, and the configuration for holding the vibrator.
  • a holder 20 is coupled to securing portions 13 of a vibrator 9 and has a square frame-like shape.
  • a spring 17 that is an elastic member is attached to the holder 20.
  • the holder 20 holds a magnet 16 in a space between the vibrator 9 and the spring 17.
  • the spring 17 is made by pressing a sheet of stainless steel spring material.
  • the spring 17 includes a part secured to the holder 20 and extending in the X direction in the figure, a spring deforming in the Y direction (hereinafter referred to as "Y-deforming spring") 18 extending from the part in the Z direction in the figure, and a securing portion 19 at the end of the Y-deforming spring 18.
  • the securing portion 19 is secured to a lens barrel 1 (not shown).
  • the thickness direction of the Y-deforming spring 18 is the Y direction in the figure.
  • the Y-deforming spring 18 has low spring stiffness in the Y direction (second direction) and high spring stiffness in the X direction (first direction).
  • the vibrator 9 When a moving body 5 (not shown) made of a magnetic material is brought into contact with the protrusions 12, the vibrator 9 is pressed against the moving body 5 by the magnet 16.
  • the moving body 5 by applying a predetermined alternating voltage to a piezoelectric ceramics 11, the moving body 5 can be driven in the X direction (first direction).
  • the moving body 5 is moved by another actuator in the Y direction (second direction)
  • the Y-deforming spring 18 bends in the Y direction because it has low spring stiffness in the Y direction, and the vibrator 9 moves in the Y direction.
  • the force in the Y direction given from the vibrator 9 to the moving body 5 is the product of the amount of movement in the Y direction of the vibrator 9 and the spring stiffness in the Y direction of the Y-deforming spring 18.
  • the spring stiffness can be easily reduced, and the force preventing the moving body 5 from moving in the Y direction can be reduced.
  • the spring stiffness of the Y-deforming spring 18 is high. Therefore, the moving body 5 can be driven in the X direction with small loss of force.
  • a guide member is used, whereas in this embodiment, a leaf spring is used, and the advantageous effect of the present invention can be obtained with a simpler structure.
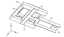
  • Fig. 6 is a perspective view of an oscillatory wave drive unit according to another embodiment of the present invention as viewed from the side opposite to the protrusions 12.
  • the coordinate system in the figure is a right-handed rectangular coordinate system.
  • a spring 17 includes two Y-deforming springs 18 in the Y direction (second direction) in the figure, and two securing portions 19 at the ends the Y-deforming springs 18.
  • the two securing portions 19 are secured to a lens barrel 1 (not shown).
  • This configuration is, elastically, a parallel crank mechanism in the Y direction (second direction).
  • the vibrator 9 is subjected to a force in the Y direction from the moving body 5, the vibrator 9 is not prone to rotary motion in the XZ plane and moves mainly in the Y direction.
  • the thickness direction of the Y-deforming springs 18 is the Y direction (second direction) in the figure.
  • the Y-deforming springs 18 have low spring stiffness in the Y direction. Thus, the force preventing the moving body 5 from moving in the Y direction can be reduced. In the X direction (first direction), the spring stiffness is high. Therefore, the moving body 5 can be driven in the X direction with small loss of force.
  • the vibrator 9 When the moving body 5 is moved by another actuator and the vibrator 9 moves in the Y direction, due to the elastic parallel crank mechanism, the vibrator 9 is not prone to rotary motion in the XZ plane. Thus, the amount of inclination of the protrusions 12 of the vibrator 9 to the moving body 5 is reduced, and the contact between the protrusions 12 and the moving body 5 can be stabilized.
  • Fig. 7A is a perspective view of an oscillatory wave drive unit according to another embodiment of the present invention as viewed from the protrusions 12 side.
  • Fig. 7B is a perspective view of the oscillatory wave drive unit as viewed from the side opposite to the protrusions 12.
  • the coordinate system in the figures is a right-handed rectangular coordinate system. A description will be given with reference to the two figures.
  • This embodiment differs from the second embodiment in that the longitudinal direction of the Y-deforming spring 18 and the retaining portion 19 of the spring 17 is the driving direction of the oscillatory wave drive unit, or the X direction (first direction).
  • the thickness direction of the Y-deforming spring 18 is, as in the second embodiment, the Y direction (second direction) in the figure perpendicular to the driving direction of the oscillatory wave drive unit.
  • the thickness direction of the Y-deforming spring 18 is the Y direction in the figure, and the spring stiffness is low in the Y direction.
  • the force preventing the moving body 5 from moving in the Y direction can be reduced.
  • the spring stiffness is high. Therefore, the moving body 5 can be driven in the X direction with small loss of force.
  • the longitudinal direction of the spring 17 is the X direction, and therefore the height of the oscillatory wave drive unit can be reduced.
  • Fig. 8A is a perspective view of an oscillatory wave drive unit according to another embodiment of the present invention as viewed from the protrusions 12 side.
  • Fig. 8B is a perspective view of the oscillatory wave drive unit as viewed from the side opposite to the protrusions 12.
  • the coordinate system in the figures is a right-handed rectangular coordinate system. A description will be given with reference to the two figures.
  • This embodiment differs from the fourth embodiment in that a spring 17 includes two Y-deforming springs 18 and two securing portions 19 disposed in the driving direction of the oscillatory wave drive unit, or the X direction.
  • the thickness direction of the Y-deforming springs 18 is, as in the fourth embodiment, the Y direction (second direction) in the figure perpendicular to the driving direction (first direction) of the oscillatory wave drive unit.
  • the thickness direction of the Y-deforming springs 18 is the Y direction in the figure, and the spring stiffness is low in the Y direction (second direction).
  • the force preventing the moving body 5 from moving in the Y direction can be reduced.
  • the spring stiffness is high. Therefore, the moving body 5 can be driven in the X direction with small loss of force.
  • the stiffness to the rotation in the XY plane is high, and rotary motion in this plane is not prone to occur.
  • the amount of rotation of the driving direction of the oscillatory wave drive unit in the XY plane can be reduced.
  • Fig. 9A is a perspective view of an oscillatory wave drive unit according to another embodiment of the present invention as viewed from the protrusions 12 side.
  • Fig. 9B is a perspective view of the oscillatory wave drive unit as viewed from the side opposite to the protrusions 12.
  • the coordinate system in the figures is a right-handed rectangular coordinate system. A description will be given with reference to the two figures.
  • This embodiment differs from the fifth embodiment in that a spring 17 includes two Y-deforming springs 18 disposed in the Y direction in the figure perpendicular to the driving direction of the oscillatory wave drive unit.
  • two Y-deforming springs 18 are disposed in the driving direction (X direction) as in the fifth embodiment, and when the vibrator 9 moves significantly in the Y direction (second direction), the Y-deforming springs 18 are pulled in the longitudinal direction. This prevents the vibrator 9 from moving in the Y direction. When movement of a certain amount or more is required, the movement of the moving body 5 in the Y direction may be limited. In contrast, in this embodiment, two Y-deforming springs 18 are disposed in the Y direction. Even if the vibrator 9 moves significantly in the Y direction (second direction), the Y-deforming springs 18 keep the state of bending deformation, and the Y-deforming springs 18 can be prevented from being pulled in the longitudinal direction.
  • the spring 17 of this embodiment includes a buffer portion 21.
  • the thickness direction of the buffer portion 21 is the Z direction, and the longitudinal direction of the buffer portion 21 is the X direction.
  • the buffer portion 21 has such a configuration that the rotary motion in the YZ plane and the XZ plane and the translation motion in the Z direction of the vibrator 9 tend to occur. Even if there are errors in the position of the oscillatory wave drive unit secured to a moving body 5 (not shown) in these directions, the upper surfaces of the protrusions 12 can easily follow the surface of the moving body 5.
  • the thickness direction of the Y-deforming springs 18 is, as in the fifth embodiment, the Y direction in the figure perpendicular to the driving direction (first direction) of the oscillatory wave drive unit.
  • the thickness direction of the Y-deforming springs 18 is the Y direction in the figure, and the spring stiffness is low in the Y direction.
  • the force preventing the moving body 5 from moving in the Y direction can be reduced.
  • the spring stiffness is high. Therefore, the moving body 5 can be driven in the X direction with small loss of force.
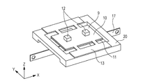
  • Fig. 12 shows the arrangement of a moving body 5 and oscillatory wave drive units 6 as viewed from the image sensor 7 side.
  • Limiting members 24 have a shape of a rectangular solid and are fixed to the moving body 5.
  • the sleeves 14 to which the vibrator 9 of each of the oscillatory wave drive units 6 (6A, 6B, 6C, and 6D) is fixed are between two limiting members 24 disposed in the direction (second direction) perpendicular to the driving direction 8 (first direction).
  • the side surfaces along the X direction of the sleeves 14 and the side surfaces along the X direction of the limiting members 24 form a guide in the X direction.
  • This guide permits the movement of the vibrator 9 and the sleeves 14 relative to the moving body 5 in the driving direction 8 (X direction) and limits the amount of movement of the vibrator 9 and the sleeves 14 relative to the moving body 5 in the Y direction perpendicular to the driving direction 8 (X direction).
  • the oscillatory wave drive unit 6A As in the oscillatory wave drive unit 6A, the movement of the vibrator 9 and the sleeves 14 relative to the moving body 5 in the driving direction 8 is permitted, and the amount of movement of the vibrator 9 and the sleeves 14 relative to the moving body 5 in the direction perpendicular to the driving direction 8 is limited.
  • the driving direction of the oscillatory wave drive unit 6A is the X direction. Normally, the relative movement between the moving body 5 and the vibrator 9 in the Y direction does not occur. In this case, when a desired amount of movement is given to the moving body 5, the amount of movement of the vibrator 9 relative to the bars 15 is equal to the desired amount of movement of the moving body 5.
  • the amount of movement of the vibrator 9 and the sleeves 14 relative to the bars 15 in the Y direction is the sum of the desired amount of movement of the moving body 5 and the amount of relative movement between the moving body 5 and the vibrator 9 due to a slip.
  • the amount of relative movement between the vibrator 9 and the sleeves 14 and the moving body 5 in the Y direction is limited by the limiting members 24.
  • the amount of movement of the vibrator 9 and the sleeve 14 relative to the bars 15 can be limited, and the above problem can be prevented.
  • the same advantageous effect can be obtained.
  • the limiting members 24 are also effective.
  • examples of mechanisms limiting the amount of movement of the vibrator 9 relative to the moving body 5 in the direction perpendicular to the driving direction include not only a configuration composed of limiting members 24 and sleeves 14, and a configuration composed of limiting members 24 and a holder 20 described above but also other configurations such as a configuration composed of bars and sleeves.
  • the moving body 5 may be provided with grooves along the driving directions of the oscillatory wave drive units 6, and each groove and the side surfaces of the protrusions 12 of the corresponding vibrator 9 may form a slide guide.
  • the configuration of the limiting mechanism is not limited as long as it can limit the amount of movement of the vibrator 9 relative to the moving body 5 in the direction perpendicular to the driving direction.
  • a small-diameter thin round bar 22 can be disposed on the spring 17 and in the driving direction of the oscillatory wave drive unit, or in the X direction in the figures, and both ends of the round bar 22 can be secured to a lens barrel 1 (not shown).
  • the coordinate system in the figures is a right-handed rectangular coordinate system.
  • the vibrator 9 is prone to rotary motion about the round bar 22.
  • the vibrator 9 rotates such that the upper surfaces of the protrusions 12 move in the Y direction.
  • two wires 23 can be disposed on the spring 17 and in the X direction in the figures, and both ends of the wires 23 can be secured to a lens barrel 1 (not shown).
  • the coordinate system in the figures is a right-handed rectangular coordinate system. In this configuration, by regulating the tension applied to the two wires 23, the stiffness to the movement of the vibrator 9 in the Y direction (second direction) can be easily regulated.
  • the vibrator 9 moves in the Y direction easily. Therefore, when the moving body 5 is moved by another actuator in the Y direction, the vibrator 9 does not prevent the movement of the moving body 5.
  • the protrusions 12 of the vibrator 9 in contact with the moving body 5 do not necessarily have to have a protruding shape.
  • the upper surfaces thereof do not necessarily have to be in contact with the moving body 5.
  • the tips of the protrusions 12 may be chamfered, and the chamfer may be in contact with the moving body 5.
  • the tips of the protrusions 12 may be rounded.
  • the Y-deforming spring or Y-deforming springs deform mainly in the Y direction perpendicular to the X direction in each figure. This is for illustrative purpose.
  • the advantageous effect of the present invention can be obtained as long as there is a component moving in the Y direction when the Y-deforming spring or Y-deforming springs deform.

Landscapes

  • Physics & Mathematics (AREA)
  • Engineering & Computer Science (AREA)
  • Multimedia (AREA)
  • Signal Processing (AREA)
  • General Physics & Mathematics (AREA)
  • Optics & Photonics (AREA)
  • General Electrical Machinery Utilizing Piezoelectricity, Electrostriction Or Magnetostriction (AREA)
  • Lens Barrels (AREA)
PCT/JP2011/004528 2010-08-23 2011-08-10 Oscillatory wave drive unit and image stabilization device Ceased WO2012026079A1 (en)

Priority Applications (2)

Application Number Priority Date Filing Date Title
CN201180040021.0A CN103069600B (zh) 2010-08-23 2011-08-10 振动波驱动单元和图像稳定装置
US13/818,057 US9172313B2 (en) 2010-08-23 2011-08-10 Oscillatory wave drive unit and image stabilization device

Applications Claiming Priority (2)

Application Number Priority Date Filing Date Title
JP2010186068A JP2012044832A (ja) 2010-08-23 2010-08-23 振動波駆動装置及び画像振れ補正装置
JP2010-186068 2010-08-23

Publications (1)

Publication Number Publication Date
WO2012026079A1 true WO2012026079A1 (en) 2012-03-01

Family

ID=44675770

Family Applications (1)

Application Number Title Priority Date Filing Date
PCT/JP2011/004528 Ceased WO2012026079A1 (en) 2010-08-23 2011-08-10 Oscillatory wave drive unit and image stabilization device

Country Status (4)

Country Link
US (1) US9172313B2 (enExample)
JP (1) JP2012044832A (enExample)
CN (1) CN103069600B (enExample)
WO (1) WO2012026079A1 (enExample)

Cited By (3)

* Cited by examiner, † Cited by third party
Publication number Priority date Publication date Assignee Title
WO2013183267A1 (en) * 2012-06-05 2013-12-12 Canon Kabushiki Kaisha Vibration type driving apparatus, two-dimensional driving apparatus, image-blur correction apparatus, interchangeable lens, image-pickup apparatus, and automatic stage
US9247140B2 (en) 2013-04-12 2016-01-26 Canon Kabushiki Kaisha Vibration-type driving unit, two-dimensional driving apparatus, image-blur correction apparatus, interchangeable lens, image capturing apparatus, and automatic stage
US10031316B2 (en) 2014-05-14 2018-07-24 Canon Kabushiki Kaisha Vibration type driving apparatus, interchangeable lens and imaging apparatus including vibration type driving apparatus, and method for adjusting vibration type driving apparatus

Families Citing this family (12)

* Cited by examiner, † Cited by third party
Publication number Priority date Publication date Assignee Title
JP6176974B2 (ja) * 2013-04-01 2017-08-09 キヤノン株式会社 振動型アクチュエータおよびレンズ鏡筒
KR101514527B1 (ko) * 2013-07-02 2015-04-22 삼성전기주식회사 진동발생장치
JP5673752B2 (ja) * 2013-07-25 2015-02-18 Tdk株式会社 圧電アクチュエータ
JP6268999B2 (ja) * 2013-12-06 2018-01-31 セイコーエプソン株式会社 圧電モーター、ロボットハンド、ロボット、指アシスト装置、電子部品搬送装置、電子部品検査装置、送液ポンプ、印刷装置、電子時計、投影装置
JP6463951B2 (ja) * 2014-11-19 2019-02-06 キヤノン株式会社 駆動装置
US10186988B2 (en) * 2015-07-01 2019-01-22 Canon Kabushiki Kaisha Vibration wave motor and driver utilizing the vibration wave motor
JP6779660B2 (ja) * 2015-07-01 2020-11-04 キヤノン株式会社 振動波モータ及び振動波モータを利用した駆動装置
CN105071690B (zh) * 2015-07-20 2017-08-04 南京航空航天大学 一种压电直线作动二维稳像平台
JP6576214B2 (ja) * 2015-11-06 2019-09-18 キヤノン株式会社 振動型アクチュエータ、レンズ鏡筒、撮像装置及びステージ装置
US11201571B2 (en) * 2016-03-25 2021-12-14 Canon Kabushiki Kaisha Method of manufacturing an oscillator
US11336212B2 (en) 2017-09-01 2022-05-17 Piezomotor Uppsala Ab Electromechanical stator, motor and method for driving an electromechanical motor
CN111578079B (zh) * 2020-04-14 2021-12-14 睿恩光电有限责任公司 压电式相机模块转动装置、相机装置及电子设备

Citations (7)

* Cited by examiner, † Cited by third party
Publication number Priority date Publication date Assignee Title
GB2246236A (en) * 1990-07-21 1992-01-22 Omicron Vakuumphysik Gmbh Piezoelectric position adjusting device
EP0747977A1 (en) * 1995-06-08 1996-12-11 Minolta Co., Ltd. Movable stage utilizing electromechanical transducer
EP0938144A2 (en) * 1998-02-20 1999-08-25 Seiko Instruments Inc. Stage utilizing ultrasonic motor and printer utilizing the stage
US6539174B1 (en) 1999-11-22 2003-03-25 Minolta Co., Ltd. Light image shift correcting device and an optical device
EP2009711A2 (en) * 2007-06-28 2008-12-31 Olympus Imaging Corporation Drive device and image stabilizer
JP2009031353A (ja) 2007-07-24 2009-02-12 Canon Inc 撮像装置
US20090072665A1 (en) * 2005-12-05 2009-03-19 Yusuke Adachi Ultrasonic actuator

Family Cites Families (13)

* Cited by examiner, † Cited by third party
Publication number Priority date Publication date Assignee Title
JPH08340682A (ja) * 1995-06-08 1996-12-24 Minolta Co Ltd 電気機械変換素子を使用した移動テ−ブル
JP4197196B2 (ja) * 1998-03-19 2008-12-17 セイコーインスツル株式会社 圧電アクチュエータもしくは超音波モータを利用したステージ及びこのステージを用いた電子機器、印刷装置
JP2001116867A (ja) 1999-10-19 2001-04-27 Hitachi Ltd Xyステージ
JP3896745B2 (ja) * 1999-12-17 2007-03-22 コニカミノルタフォトイメージング株式会社 駆動装置
JP4006178B2 (ja) * 2000-12-25 2007-11-14 キヤノン株式会社 レンズ鏡筒、撮影装置および観察装置
CN101507094B (zh) * 2006-08-28 2012-05-23 松下电器产业株式会社 驱动装置
JP4209465B2 (ja) * 2007-02-21 2009-01-14 パナソニック株式会社 駆動装置
JP4981484B2 (ja) 2007-03-02 2012-07-18 オリンパスイメージング株式会社 駆動装置
JP2009142014A (ja) * 2007-12-04 2009-06-25 Olympus Corp 超音波モータ
JP5264225B2 (ja) * 2008-03-13 2013-08-14 キヤノン株式会社 多自由度駆動装置及びこれを備える撮像装置
US7969065B2 (en) * 2008-09-09 2011-06-28 Canon Kabushiki Kaisha Vibration wave driving device
JP2010161857A (ja) * 2009-01-07 2010-07-22 Panasonic Corp 駆動装置
JP5463583B2 (ja) * 2009-07-14 2014-04-09 株式会社タムロン 防振アクチュエータ、及びそれを備えたレンズユニット、カメラ

Patent Citations (7)

* Cited by examiner, † Cited by third party
Publication number Priority date Publication date Assignee Title
GB2246236A (en) * 1990-07-21 1992-01-22 Omicron Vakuumphysik Gmbh Piezoelectric position adjusting device
EP0747977A1 (en) * 1995-06-08 1996-12-11 Minolta Co., Ltd. Movable stage utilizing electromechanical transducer
EP0938144A2 (en) * 1998-02-20 1999-08-25 Seiko Instruments Inc. Stage utilizing ultrasonic motor and printer utilizing the stage
US6539174B1 (en) 1999-11-22 2003-03-25 Minolta Co., Ltd. Light image shift correcting device and an optical device
US20090072665A1 (en) * 2005-12-05 2009-03-19 Yusuke Adachi Ultrasonic actuator
EP2009711A2 (en) * 2007-06-28 2008-12-31 Olympus Imaging Corporation Drive device and image stabilizer
JP2009031353A (ja) 2007-07-24 2009-02-12 Canon Inc 撮像装置

Cited By (6)

* Cited by examiner, † Cited by third party
Publication number Priority date Publication date Assignee Title
WO2013183267A1 (en) * 2012-06-05 2013-12-12 Canon Kabushiki Kaisha Vibration type driving apparatus, two-dimensional driving apparatus, image-blur correction apparatus, interchangeable lens, image-pickup apparatus, and automatic stage
CN104350673A (zh) * 2012-06-05 2015-02-11 佳能株式会社 振动型驱动设备、二维驱动设备、图像模糊校正设备、可互换透镜、图像拾取设备和自动化载物台
RU2587153C1 (ru) * 2012-06-05 2016-06-10 Кэнон Кабусики Кайся Устройство привода вибрационного типа, устройство двухмерного привода, устройство коррекции размытости изображения, сменный объектив, устройство захвата изображения и автоматический предметный столик
US9647576B2 (en) 2012-06-05 2017-05-09 Canon Kabushiki Kaisha Vibration type driving apparatus, two-dimensional driving apparatus, image-blur correction apparatus, interchangeable lens, image-pickup apparatus, and automatic stage
US9247140B2 (en) 2013-04-12 2016-01-26 Canon Kabushiki Kaisha Vibration-type driving unit, two-dimensional driving apparatus, image-blur correction apparatus, interchangeable lens, image capturing apparatus, and automatic stage
US10031316B2 (en) 2014-05-14 2018-07-24 Canon Kabushiki Kaisha Vibration type driving apparatus, interchangeable lens and imaging apparatus including vibration type driving apparatus, and method for adjusting vibration type driving apparatus

Also Published As

Publication number Publication date
US20130147978A1 (en) 2013-06-13
CN103069600B (zh) 2015-05-13
CN103069600A (zh) 2013-04-24
US9172313B2 (en) 2015-10-27
JP2012044832A (ja) 2012-03-01

Similar Documents

Publication Publication Date Title
US9172313B2 (en) Oscillatory wave drive unit and image stabilization device
US8890390B2 (en) Vibration-wave driving device, two-dimensional driving apparatus, and image-shake correcting apparatus
KR101723788B1 (ko) 진동식 구동장치, 이차원 구동장치, 화상 블러 보정장치, 교환 렌즈, 촬상장치, 및 자동 스테이지
JP5765993B2 (ja) 振動型駆動装置
US10541629B2 (en) Vibration driven actuator, apparatus, and optical apparatus
JP6700945B2 (ja) 振動波モータ及びこれを用いた装置
JP2015211604A (ja) 圧電アクチュエーター
US20170019036A1 (en) Vibration wave motor
US10120158B2 (en) Vibration-type actuator and optical device using the same
US9247140B2 (en) Vibration-type driving unit, two-dimensional driving apparatus, image-blur correction apparatus, interchangeable lens, image capturing apparatus, and automatic stage
JP2006330054A (ja) レンズ鏡胴
JP6269223B2 (ja) 圧電モーター
CN103339848A (zh) 位移构件、驱动构件、促动器及驱动装置
US10439518B2 (en) Vibration-type actuator, driving method for vibration-type actuator, and electronic apparatus equipped with vibration-type actuator
JP5273915B2 (ja) 振動型リニア駆動装置及びカメラレンズ
JP6253715B2 (ja) 振動波駆動装置及び画像振れ補正装置
JP6269224B2 (ja) 圧電モーター
JP2007318851A (ja) リニア駆動装置、レンズ駆動装置及びカメラの手振れ防止装置
JP4369720B2 (ja) 圧電アクチュエータおよびそれを用いた電子機器
US11843279B2 (en) Vibration wave driving apparatus and image pickup apparatus
JP2018101094A (ja) 振動型アクチュエータ、レンズ駆動装置、光学機器及び電子機器
JP5669446B2 (ja) 移動体の駆動機構
JP2009276423A (ja) 駆動装置
JP6537482B2 (ja) 振動波モータおよび電子機器
JP2025087378A (ja) 振動型アクチュエータ、光学機器、及び電子機器

Legal Events

Date Code Title Description
WWE Wipo information: entry into national phase

Ref document number: 201180040021.0

Country of ref document: CN

121 Ep: the epo has been informed by wipo that ep was designated in this application

Ref document number: 11760873

Country of ref document: EP

Kind code of ref document: A1

WWE Wipo information: entry into national phase

Ref document number: 13818057

Country of ref document: US

NENP Non-entry into the national phase

Ref country code: DE

122 Ep: pct application non-entry in european phase

Ref document number: 11760873

Country of ref document: EP

Kind code of ref document: A1