WO2011118294A1 - リチウムイオン二次電池の充放電方法及び充放電システム - Google Patents
リチウムイオン二次電池の充放電方法及び充放電システム Download PDFInfo
- Publication number
- WO2011118294A1 WO2011118294A1 PCT/JP2011/053339 JP2011053339W WO2011118294A1 WO 2011118294 A1 WO2011118294 A1 WO 2011118294A1 JP 2011053339 W JP2011053339 W JP 2011053339W WO 2011118294 A1 WO2011118294 A1 WO 2011118294A1
- Authority
- WO
- WIPO (PCT)
- Prior art keywords
- secondary battery
- ion secondary
- lithium ion
- threshold value
- soc
- Prior art date
- Legal status (The legal status is an assumption and is not a legal conclusion. Google has not performed a legal analysis and makes no representation as to the accuracy of the status listed.)
- Ceased
Links
Images
Classifications
-
- H—ELECTRICITY
- H01—ELECTRIC ELEMENTS
- H01M—PROCESSES OR MEANS, e.g. BATTERIES, FOR THE DIRECT CONVERSION OF CHEMICAL ENERGY INTO ELECTRICAL ENERGY
- H01M4/00—Electrodes
- H01M4/02—Electrodes composed of, or comprising, active material
- H01M4/36—Selection of substances as active materials, active masses, active liquids
- H01M4/48—Selection of substances as active materials, active masses, active liquids of inorganic oxides or hydroxides
- H01M4/50—Selection of substances as active materials, active masses, active liquids of inorganic oxides or hydroxides of manganese
- H01M4/505—Selection of substances as active materials, active masses, active liquids of inorganic oxides or hydroxides of manganese of mixed oxides or hydroxides containing manganese for inserting or intercalating light metals, e.g. LiMn2O4 or LiMn2OxFy
-
- H—ELECTRICITY
- H01—ELECTRIC ELEMENTS
- H01M—PROCESSES OR MEANS, e.g. BATTERIES, FOR THE DIRECT CONVERSION OF CHEMICAL ENERGY INTO ELECTRICAL ENERGY
- H01M10/00—Secondary cells; Manufacture thereof
- H01M10/05—Accumulators with non-aqueous electrolyte
- H01M10/052—Li-accumulators
- H01M10/0525—Rocking-chair batteries, i.e. batteries with lithium insertion or intercalation in both electrodes; Lithium-ion batteries
-
- H—ELECTRICITY
- H01—ELECTRIC ELEMENTS
- H01M—PROCESSES OR MEANS, e.g. BATTERIES, FOR THE DIRECT CONVERSION OF CHEMICAL ENERGY INTO ELECTRICAL ENERGY
- H01M10/00—Secondary cells; Manufacture thereof
- H01M10/42—Methods or arrangements for servicing or maintenance of secondary cells or secondary half-cells
- H01M10/44—Methods for charging or discharging
- H01M10/441—Methods for charging or discharging for several batteries or cells simultaneously or sequentially
-
- H—ELECTRICITY
- H02—GENERATION; CONVERSION OR DISTRIBUTION OF ELECTRIC POWER
- H02J—CIRCUIT ARRANGEMENTS OR SYSTEMS FOR SUPPLYING OR DISTRIBUTING ELECTRIC POWER; SYSTEMS FOR STORING ELECTRIC ENERGY
- H02J7/00—Circuit arrangements for charging or depolarising batteries or for supplying loads from batteries
- H02J7/0013—Circuit arrangements for charging or depolarising batteries or for supplying loads from batteries acting upon several batteries simultaneously or sequentially
-
- H—ELECTRICITY
- H02—GENERATION; CONVERSION OR DISTRIBUTION OF ELECTRIC POWER
- H02J—CIRCUIT ARRANGEMENTS OR SYSTEMS FOR SUPPLYING OR DISTRIBUTING ELECTRIC POWER; SYSTEMS FOR STORING ELECTRIC ENERGY
- H02J7/00—Circuit arrangements for charging or depolarising batteries or for supplying loads from batteries
- H02J7/0029—Circuit arrangements for charging or depolarising batteries or for supplying loads from batteries with safety or protection devices or circuits
- H02J7/00302—Overcharge protection
-
- H—ELECTRICITY
- H02—GENERATION; CONVERSION OR DISTRIBUTION OF ELECTRIC POWER
- H02J—CIRCUIT ARRANGEMENTS OR SYSTEMS FOR SUPPLYING OR DISTRIBUTING ELECTRIC POWER; SYSTEMS FOR STORING ELECTRIC ENERGY
- H02J7/00—Circuit arrangements for charging or depolarising batteries or for supplying loads from batteries
- H02J7/0029—Circuit arrangements for charging or depolarising batteries or for supplying loads from batteries with safety or protection devices or circuits
- H02J7/00306—Overdischarge protection
-
- Y—GENERAL TAGGING OF NEW TECHNOLOGICAL DEVELOPMENTS; GENERAL TAGGING OF CROSS-SECTIONAL TECHNOLOGIES SPANNING OVER SEVERAL SECTIONS OF THE IPC; TECHNICAL SUBJECTS COVERED BY FORMER USPC CROSS-REFERENCE ART COLLECTIONS [XRACs] AND DIGESTS
- Y02—TECHNOLOGIES OR APPLICATIONS FOR MITIGATION OR ADAPTATION AGAINST CLIMATE CHANGE
- Y02E—REDUCTION OF GREENHOUSE GAS [GHG] EMISSIONS, RELATED TO ENERGY GENERATION, TRANSMISSION OR DISTRIBUTION
- Y02E60/00—Enabling technologies; Technologies with a potential or indirect contribution to GHG emissions mitigation
- Y02E60/10—Energy storage using batteries
-
- Y—GENERAL TAGGING OF NEW TECHNOLOGICAL DEVELOPMENTS; GENERAL TAGGING OF CROSS-SECTIONAL TECHNOLOGIES SPANNING OVER SEVERAL SECTIONS OF THE IPC; TECHNICAL SUBJECTS COVERED BY FORMER USPC CROSS-REFERENCE ART COLLECTIONS [XRACs] AND DIGESTS
- Y02—TECHNOLOGIES OR APPLICATIONS FOR MITIGATION OR ADAPTATION AGAINST CLIMATE CHANGE
- Y02T—CLIMATE CHANGE MITIGATION TECHNOLOGIES RELATED TO TRANSPORTATION
- Y02T10/00—Road transport of goods or passengers
- Y02T10/60—Other road transportation technologies with climate change mitigation effect
- Y02T10/70—Energy storage systems for electromobility, e.g. batteries
Definitions
- the present invention relates to a charge / discharge method and a charge / discharge system for a lithium ion secondary battery having a manganese-based positive electrode material.
- Lithium-ion secondary batteries that use lithium-ion storage / release have higher energy density and higher operating voltage than, for example, Ni-Cd and Ni-MH batteries with the same capacity. Because of its advantages, it is widely used in information processing equipment and communication equipment such as personal computers and mobile phones that are required to be reduced in size and weight.
- lithium-ion secondary batteries as power sources for electric vehicles and hybrid vehicles has been studied, and solar cells and the like are being introduced to realize a low-carbon society associated with global warming issues.
- Patent Document 1 and Patent Document 2 propose a technique for suppressing the product life from being shortened by controlling charging / discharging of a lithium ion secondary battery.
- Patent Document 1 discloses a lithium ion secondary battery in which the amount of lithium ions moving between the positive electrode active material and the negative electrode active material during charge / discharge is 95% or less of the reversibly movable lithium ion amount. It is described that charging / discharging is controlled.
- Patent Document 2 charging / discharging of a lithium ion secondary battery is performed so that a discharge end voltage at the time of discharge is 3.2 to 3.1 V and an upper limit voltage at the time of charge is 4.0 to 4.5 V. It is described to control.
- a structure using lithium cobalt oxide, lithium manganate, or lithium nickelate as a positive electrode material (positive electrode active material) is known for a lithium ion secondary battery.
- a negative electrode material negative electrode active material
- group is known.
- the present applicant when storing a manganese-based lithium ion secondary battery using lithium manganate as a positive electrode material in a specific SOC (State of Charge), It has been found that the battery performance deteriorates rapidly (battery capacity decreases).
- SOC refers to the ratio of the amount of electricity charged to the capacity of the lithium ion secondary battery.
- storage in this specification refers to leaving a lithium ion secondary battery in a state of a certain SOC value.
- the deterioration of battery performance due to this specific SOC is when using a lithium ion secondary battery in a usage form that is often stored in a fully charged state, such as UPS (Uninterruptible Power Supply). It is not a big problem.
- UPS Uninterruptible Power Supply
- the lithium ion secondary battery is stored at the specific SOC. It is also possible. In such a case, the battery performance of the lithium ion secondary battery is rapidly deteriorated.
- an object of the present invention is to provide a charging / discharging method and a charging / discharging system for a lithium ion secondary battery that can suppress a shortening of the product life of the manganese-based lithium ion secondary battery during storage.
- a method for charging and discharging a lithium ion secondary battery is a method for charging and discharging a lithium ion secondary battery having a manganese-based positive electrode material,
- Computer A first threshold value smaller than a deterioration progressing SOC which is a preset SOC that degrades the battery performance of the lithium ion secondary battery when the lithium ion secondary battery is stored, and a first threshold value that is larger than the deterioration progressing SOC. Keep the threshold of 2
- the first threshold value is set when the lithium ion secondary battery is charged.
- the charge / discharge system of the present invention is a charge / discharge system for controlling charge / discharge of a lithium ion secondary battery having a manganese-based positive electrode material, A monitoring device for detecting the SOC of the lithium ion secondary battery; Connect between a power supply source that supplies power necessary for charging the lithium ion secondary battery and a distribution line connected to a load that consumes power when the lithium ion secondary battery is discharged, and the lithium ion secondary battery, or A switch to disconnect, A first threshold value smaller than a deterioration progressing SOC, which is a preset SOC that degrades the battery performance of the lithium ion secondary battery when the lithium ion secondary battery is stored, and a first threshold value that is larger than the deterioration progressing SOC.
- the switch is controlled so that the charging operation of the lithium ion secondary battery continues up to a threshold value of 2, and when the lithium ion secondary battery is discharged, the second threshold value to the first threshold value
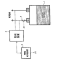
- FIG. 1 is a block diagram illustrating a configuration example of the charge / discharge system according to the first embodiment.
- FIG. 2 is a block diagram illustrating a configuration example of the information processing apparatus illustrated in FIG.
- FIG. 3 is a schematic diagram illustrating a control method by the charge / discharge system according to the first embodiment.
- FIG. 4 is a schematic diagram illustrating a control method by the charge / discharge system according to the first embodiment.
- FIG. 5 is a flowchart illustrating an example of a processing procedure during charging in the charging / discharging method of the lithium ion secondary battery according to the first embodiment.
- FIG. 6 is a flowchart illustrating an example of a processing procedure during discharging in the charging / discharging method of the lithium ion secondary battery according to the first embodiment.
- FIG. 7 is a flowchart illustrating another example of a processing procedure during charging in the method for charging and discharging the lithium ion secondary battery according to the first embodiment.
- FIG. 8 is a flowchart illustrating another example of a processing procedure during discharging in the charging / discharging method of the lithium ion secondary battery according to the first embodiment.
- FIG. 9 is a block diagram illustrating a configuration example of the charge / discharge system according to the second embodiment.
- FIG. 1 is a block diagram showing a configuration example of the charge / discharge system according to the first embodiment
- FIG. 2 is a block diagram showing a configuration example of the information processing apparatus shown in FIG.
- the charge / discharge system includes N (N is a positive integer) lithium ion secondary batteries (N is a positive integer) connected in parallel to a distribution line. hereinafter simply referred to as a "secondary battery") and 1 1 ⁇ 1 N, a monitoring device 2 for detecting a value of the SOC of each battery 1 1 ⁇ 1 N, charge and discharge of the secondary battery 1 1 ⁇ 1 N And a plurality of switches 4 1 to 4 provided corresponding to each of the secondary batteries 1 1 to 1 N that connect or disconnect between the secondary batteries 1 1 to 1 N and the distribution line. N.
- Each distribution line includes a power supply source that supplies power necessary for charging the secondary battery, for example, a renewable power source provided by a power user (house or facility), and power sent from a power company distribution substation.
- a terminal transformer for distribution to power users is connected.
- a load that consumes power when the secondary battery is discharged for example, various electric devices that consume power provided by a power user (house or facility) or a heat pump type water heater is connected to the distribution line.
- FIG. 1 shows a state in which N secondary batteries 1 1 to 1 N are arranged close to each other, but the secondary batteries 1 1 to 1 N can be individually controlled for charge and discharge.
- Any configuration is possible.
- a configuration battery pack in which a plurality of secondary batteries (cells) 1 1 to 1 N are accommodated in one package may be used, and power is stored for each power user (house or facility) in a remote area.
- the secondary batteries 1 1 to 1 N may be installed.
- the information processing device 3 and the monitoring device 2 and between the information processing device 3 and the switches 4 1 to 4 N are connected via known information communication means.
- a well-known wireless communication means or a well-known wired communication means may be used.
- the wireless communication means for example, a well-known Zigbee wireless system using a radio frequency in the 950 MHz band can be considered.
- a wired communication means for example, a well-known PLC (Power Line Communication) method for transmitting and receiving information using a distribution line can be considered.
- the charging / discharging system of this embodiment can be connected to any system as long as necessary power is supplied to the secondary batteries 1 1 to 1 N during charging and power can be supplied to various electric devices (loads) during discharging. It is.
- the secondary batteries 1 1 to 1 N are manganese-based lithium ion secondary batteries as described above.
- the manganese-based lithium ion secondary battery is mainly composed of lithium manganate (Li x Mn y O z : x is about 1, or about 0.65, or about 0.1 to 0.5. Y is about 2 and z is about 4).
- the composition ratio of Li, Mn, and O is not limited to these numerical values.
- the positive electrode material only needs to be mainly lithium manganate, and may contain various substances such as Al, Mg, Cr, Fe, Co, Ni, and Cu.
- the dotted lines on the secondary batteries 1 1 to 1 N shown in FIG. 1 indicate specific SOCs (hereinafter referred to as deterioration progressing SOC d ) in which the performance deterioration of the secondary batteries 1 1 to 1 N rapidly progresses during storage. Yes.
- the solid lines on the secondary batteries 1 1 to 1 N shown in FIG. 1 schematically show the amount of electricity stored with respect to the capacity of the secondary batteries 1 1 to 1 N. The same applies to the dotted line and the solid line on the secondary battery shown in FIGS. 3, 4 and 7 used in the following description.
- FIG. 1 shows an example in which the secondary batteries 1 1 to 1 N have the same capacity, the secondary batteries 1 1 to 1 N may have different capacities.
- switches 4 1 to 4 N for example, MOSFETs (Metal Oxide Semiconductor Field Effect Transistors) that can turn on / off relatively large power and are easy to control are used.
- the switches 4 1 to 4 N are connected to the information processing device 3 and ON / OFF is controlled by the information processing device 3.
- the switches 4 1 to 4 N are provided with a drive circuit for turning ON / OFF between the contacts.
- the switches 4 1 to 4 N may be arranged in the vicinity of the secondary batteries 1 1 to 1 N or may be arranged in the vicinity of the information processing device 3.
- the contacts of the switches 4 1 to 4 N do not need to be integrated with the drive circuit.
- the contacts are arranged in the vicinity of the secondary batteries 1 1 to 1 N and the drive circuit is arranged in the vicinity of the information processing device 3. It may also be configured.
- Monitoring apparatus 2 for example, rechargeable batteries 1 1 ⁇ 1 N provided by the manufacturer or seller, known charging devices or protection devices manufactured in accordance with the performance and characteristics of the secondary battery 1 1 ⁇ 1 N Can be realized.
- the protection device detects a current value input to and output from the SOC and the secondary battery 1 1 ⁇ 1 N of the secondary battery 1 1 ⁇ 1 N, the detected SOC and the current value in the charging device protector Based on this, the charging current (constant current) and the charging voltage (constant voltage) are switched.
- the SOC of the secondary batteries 1 1 to 1 N corresponds to the output voltage almost 1: 1
- the monitoring device 2 detects the value of the output voltage of the secondary batteries 1 1 to 1 N instead of the SOC. May be.
- the monitoring device 2 When the SOC of each of the secondary batteries 1 1 1 to 1 N detected by the monitoring device 2 is an analog value, the monitoring device 2 includes an A / D converter for converting the SOC value into a digital value. Also good. This A / D converter may be provided in the information processing apparatus 3. Monitoring device 2 may be configured to individually detect the SOC of the secondary battery 1 1 every 1 N by N number of detectors, the value of the SOC of each of the secondary batteries 1 1 ⁇ 1 N by one detector The structure to detect may be sufficient.
- the information processing device 3 receives the SOC value during charging and the SOC value during discharging for each of the secondary batteries 1 1 to 1 N transmitted from the monitoring device 2, and switches based on the received SOC value By turning ON / OFF 4 1 to 4 N , charging / discharging for each of the secondary batteries 1 1 to 1 N is controlled.
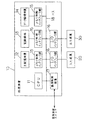
- the information processing apparatus 3 can be realized by a computer as shown in FIG.
- the information processing apparatus 3 is not limited to the computer having the configuration shown in FIG.
- the information processing apparatus 3 can be realized by a microcomputer or the like constituted by one or a plurality of ICs (Integrated Circuits).
- the computer shown in FIG. 2 outputs a processing device 10 that executes predetermined processing according to a program, an input device 20 for inputting commands and information to the processing device 10, and a processing result of the processing device 10.
- Output device 30 outputs a processing device 10 that executes predetermined processing according to a program, an input device 20 for inputting commands and information to the processing device 10, and a processing result of the processing device 10.
- the processing device 10 includes a CPU 11, a main storage device 12 that temporarily holds information necessary for the processing of the CPU 11, a recording medium 13 on which a program for causing the CPU 11 to execute the processing of the present invention is recorded, and a secondary A data storage device 14 for storing values such as rated capacity, maximum SOC, minimum SOC, first threshold value SOC L and second threshold value SOC U, which will be described later, for each of the batteries 1 1 to 1 N ; A memory control interface unit 15 that controls data transfer with the storage device 12, the recording medium 13, and the data storage device 14; an I / O interface unit 17 that is an interface device with the input device 20 and the output device 30; And switches 4 1 to 4 N and a communication control device 17 for transmitting and receiving information and commands, and these are connected via a bus 18.
- the processing device 10 controls charging / discharging of each of the secondary batteries 1 1 to 1 N by executing a processing procedure to be described later according to a program recorded on the recording medium 13.
- the recording medium 13 may be a magnetic disk, a semiconductor memory, an optical disk, or other recording medium.
- the data storage device 14 does not need to be provided in the processing device 10 and may be an independent device.
- FIGS. 3A to 3C and FIGS. 4A to 4E are schematic views showing a control method by the charge / discharge system of the first embodiment.
- FIGS. 3A to 3C show examples of controlling charging / discharging of two secondary batteries 1 1 and 1 2 connected in parallel, and FIGS. 4A to 4E are connected in parallel.
- An example of controlling charging / discharging of a plurality of secondary batteries 1 1 to 1 N is shown.
- control is performed so that the charge operation or the discharge operation is not stopped at the deterioration progress SOC d of the secondary batteries 1 1 to 1 N during charging and discharging.
- a first threshold value SOC L smaller than the deterioration progressing SOC d of the secondary batteries 1 1 to 1 N and a second threshold value SOC U larger than the deterioration progressing SOC d are set in advance.
- the first threshold value SOC L and the second threshold value SOC U are set by the manufacturer, seller, or user of the secondary batteries 1 1 to 1 N according to the secondary battery deterioration progress SOC d.
- the data may be stored in the data storage device 14 of the information processing device 3.
- each of the secondary batteries 1 1 when discharging 1 1, 1 2 the two secondary batteries, until approaching the degradation progression SOC d causes the discharging of the two secondary batteries 1 1, 1 2 at the same time, each of the secondary batteries 1 1 , when the value of 1 2 of the SOC reaches the second threshold SOC U, to discharge only one of the secondary battery 1 1 from the second threshold SOC U to the first threshold SOC L, Subsequently to discharge only the other of the secondary battery 1 2 from the second threshold SOC U to the first threshold SOC L, then the two secondary batteries 1 1, 1 2 is discharged again at the same time .
- FIG. 3A shows a state where two secondary batteries 1 1 and 1 2 are charged simultaneously.
- FIG. 3A shows an example in which the SOC values of the secondary batteries 1 1 and 1 2 are the same during charging.
- FIG. 3 (b) FIG. 3 each of the secondary batteries 1 1 from the state shown in (a), 1 2 of the value of the SOC reaches the first threshold SOC L, the right of the secondary battery 1 2 stop charging operation to indicate a state in which charging only the left secondary battery 1 1 to the second threshold SOC U.
- FIG. 3 (c) following the state shown in FIG. 3 (b), to stop the charge operation to the left of the secondary battery 1 1, the second threshold SOC only the right of the secondary battery 1 2 The state when charging to U is shown.
- FIG. 4 (a) ⁇ when charging three or more secondary batteries 1 1 ⁇ 1 N (e), the up closer to the degradation progression SOC d each secondary battery 1 1 ⁇ 1 N charge the same time, when the value of the SOC of each of the secondary batteries 1 1 ⁇ 1 N reaches the first threshold SOC L, a first threshold value of each secondary battery 1 1 ⁇ 1 N one by one The batteries are sequentially charged from the SOC L to the second threshold value SOC U , and thereafter, the secondary batteries 1 1 to 1 N are simultaneously charged again.
- each of the secondary batteries 1 1 When the SOC value of 1 N reaches the second threshold value SOC U , each of the secondary batteries 1 1 to 1 N is moved from the second threshold value SOC U to the first threshold value SOC L one by one. The secondary batteries 1 1 to 1 N are simultaneously discharged again at the same time.
- FIG. 4A shows a state in which a plurality of secondary batteries 1 1 to 1 N are charged simultaneously.
- FIG. 4A shows an example in which the SOC values of the secondary batteries 1 1 to 1 N are the same during charging.
- 4B shows that the SOC values of the secondary batteries 1 1 to 1 N reach the first threshold value SOC L from the state shown in FIG. 4A, and the leftmost secondary battery 1 but one, to stop the charging operation with respect to all the other secondary battery 1 2 ⁇ 1 N, leftmost only the secondary battery 1 1 to the second threshold SOC U shows a state in which charging ing.
- FIG. 4 (c) following the state shown in FIG.
- FIG. 4 (b) shows a state in which the charge from the left side of only the second secondary battery 1 2 to the second threshold SOC U.
- FIG. 4D shows a state in which the charge from the left side of only the second secondary battery 1 2 to the second threshold SOC U.
- FIG. 4D shows a state in which the charge from the left side of only the second secondary battery 1 2 to the second threshold SOC U.
- FIG. 4 (e) shows a state when the simultaneous charging of the secondary batteries 1 1 to 1 N is started again following the state shown in FIG. 4 (d).
- the charging operation and the discharging operation for each of the secondary batteries 1 1 to 1 N are performed by the switches 4 1 to 4 N. And the secondary battery 1 1 to 1 N can be connected or disconnected.
- the secondary batteries 1 1 to 1 N have the same SOC value at the start of charging / discharging.
- the SOC values of the secondary batteries 1 1 to 1 N at the start of charging / discharging may be different.
- each of the secondary batteries 1 1 to 1 N is set to the second threshold value from the first threshold value SOC L in the order in which the SOC value reaches the first threshold value SOC L. may be charged to a value SOC U, the discharge time is in the order of the value of the SOC reaches the second threshold SOC U, each secondary battery 1 1 ⁇ 1 N one by one second threshold SOC U To the first threshold value SOC L.
- the first threshold SOC L and the second threshold L that are set for each of the secondary batteries 1 1 to 1 N are used. of but a threshold SOC U indicates an example of the same, have different first threshold SOC L and second threshold SOC U set to 1 1 per 1 N rechargeable battery Also good. Also in this case, at the time of charging, from the first threshold value SOC L corresponding to each of the secondary batteries 1 1 to 1 N one by one in the order in which the SOC value reaches the corresponding first threshold value SOC L. It is only necessary to charge to the second threshold value SOC U. When discharging, the secondary batteries 1 1 to 1 N are handled one by one in the order in which the SOC value reaches the corresponding second threshold value SOC U. It is only necessary to discharge from the second threshold value SOC U to the first threshold value SOC L.
- the charging / discharging method between the first threshold value SOC L and the second threshold value SOC U is not particularly limited.
- the first threshold value SOC L is changed to the second threshold value SOC L.
- the charging speed may be increased by increasing the charging current and the charging voltage within the allowable range of the secondary batteries 1 1 to 1 N.
- the current flowing through the load is increased within the allowable range of the secondary batteries 1 1 to 1 N.
- the discharge rate may be increased.
- the charging current and charging voltage can be controlled by the charging device manufactured according to the performance and characteristics of the secondary batteries 1 1 to 1 N.
- the information processing device 3 is connected to the heat pump type water heater via an information communication unit and the water heater can be controlled by the information processing device 3, the load current is It can be enlarged by operating.
- the information communication means a well-known wireless communication means or a well-known wired communication means may be used.
- FIG. 5 is a flowchart showing an example of a processing procedure at the time of charging in the charging / discharging method of the lithium ion secondary battery according to the first embodiment
- FIG. 6 shows the charging of the lithium ion secondary battery according to the first embodiment. It is a flowchart which shows an example of the process sequence at the time of the discharge in a discharge method.
- the switch 4 i provided corresponding to the i-th secondary battery 1 i is denoted by SW i . Note that i may be given to any secondary battery or switch as the process proceeds, and is not used to identify the secondary battery or switch by giving it in advance.
- FIGS. 5 and 6 The processing shown in FIGS. 5 and 6 is executed by the processing device 10 of the information processing device 3 shown in FIGS. 1 and 2.
- the processing apparatus 10 determines whether or not the value of i is N (step A3). If the value of i is not N, SW i corresponding to i is turned OFF, the value of i is incremented by “1” (step A4), and the processing from step A1 is repeated. When the value of i is N, the process proceeds to step A13 described later.
- step A1 ⁇ A4 When the process of step A1 ⁇ A4 is completed, only the switches corresponding to the secondary battery has not reached the second threshold SOC U is ON (charging target).
- the number is N ⁇ j + 1. That, j-1 one secondary battery SOC value has reached the second threshold SOC U.
- the processing device 10 compares the SOC i with a preset first threshold value SOC L (step A5). A6).
- step A7 When the acquired SOC i is equal to or less than the first threshold value SOC L , it is determined whether or not the value of i is N (step A7). If the value of i is not N, the value of i is incremented by “1” (step A8), and the processing from step A6 is repeated. If the value of i is N, the process proceeds to step A13 described later.
- processing device 10 compares SOC i with a second threshold SOC U set in advance (step A10).
- SOC i is equal to or smaller than the second threshold value SOC U
- the process of step A10 is repeated.
- the SOC i is larger than the second threshold value SOC U , it is determined whether i is N (step A11). Otherwise the i is N, after the SW i + 1 corresponding to the secondary battery 1 i + 1 of the (i + 1) th to ON, the SW i which corresponds to the secondary battery 1 i of the i-th to OFF. Thereafter, the value of i is incremented by “1” (step A12).
- step A11 If i in the process of step A11 is N, excluding the switch SW N corresponding to the N-th secondary battery 1 N, all corresponding to the secondary battery other charging target SW i ⁇ SW N- 1 is turned on (step A13) and the charging operation is continued (step A14).
- the charging operation can be continued until all the secondary batteries 1 1 to 1 N reach the maximum SOC.
- the processing apparatus 10 determines whether or not the value of i is N (step B3). If the value of i is not N, SW i corresponding to i is turned OFF, the value of i is incremented by “1” (step B4), and the processing from step B1 is repeated. When the value of i is N, the process proceeds to step B13 described later.
- the processing device 10 compares the SOC i with a preset second threshold value SOC U (step B5). B6).
- step B7 When the acquired SOC i is equal to or greater than the second threshold value SOC U , it is determined whether or not the value of i is N (step B7). If the value of i is not N, the value of i is incremented by “1” (step B8), and the processing from step B6 is repeated. If the value of i is N, the process proceeds to step B13 described later.
- the processing device 10 compares the SOC i with a preset first threshold value SOC L (step B10). If SOC i is less than or equal to first threshold value SOC L , the process of step B10 is repeated. When the SOC i is larger than the first threshold value SOC L , it is determined whether or not i is N (step B11). Otherwise the i is N, after the SW i + 1 corresponding to the secondary battery 1 i + 1 of the (i + 1) th to ON, the SW i which corresponds to the secondary battery 1 i of the i-th to OFF. Thereafter, the value of i is incremented by “1” (step B12).
- step B11 If i in the process of step B11 is N, excluding the switch SW N corresponding to the N-th secondary battery 1 N, all corresponding to the secondary battery other discharge target SW i ⁇ SW N- 1 is turned on (step B13) and the discharging operation is continued (step B14).
- the discharging operation can be continued until all the secondary batteries 1 1 to 1 N reach the minimum SOC.
- FIG. 7 and FIG. 8 show processing examples when the monitoring device 2 detects the SOC values of the secondary batteries 1 1 to 1 N using one detector.
- FIG. 7 is a flowchart showing another example of a processing procedure during charging in the charging / discharging method of the lithium ion secondary battery according to the first embodiment
- FIG. 8 is a lithium ion secondary battery according to the first embodiment. It is a flowchart which shows the other example of the process sequence at the time of the discharge in the charging / discharging method of this.
- the switch 4 i provided corresponding to the i-th secondary battery 1 i is denoted by SW i . Note that i may be given to any secondary battery or switch as the process proceeds, and is not used to identify the secondary battery or switch by giving it in advance.
- the processing device 10 acquires the SOC value SOC i of the i-th secondary battery 1 i and compares the SOC i with a preset second threshold value SOC U (step C2). ). If the obtained SOC i is equal to or less than the second threshold value SOC U , the process of step C2 is repeated. At this time, in secondary battery 1 i , charging is continued until the SOC value exceeds first threshold value SOC L and reaches second threshold value SOC U.
- the processing apparatus 10 determines whether or not i is N (step C3). Otherwise the i is N, after the SW i + 1 corresponding to the secondary battery 1 i + 1 of the (i + 1) th to ON, the SW i which corresponds to the secondary battery 1 i of the i-th to OFF. Thereafter, the value of i is incremented by “1” (step C4), and the processing from step C2 is repeated.
- the processing apparatus 10 turns on all SW i to SW N ⁇ 1 except for the switch SW N corresponding to the Nth secondary battery 1 N (step C5) and continues charging. (Step C6).
- the charging operation can be continued until all the secondary batteries 1 1 to 1 N reach the maximum SOC.
- the processing device 10 acquires the SOC value SOC i of the i-th secondary battery 1 i from the monitoring device 2, and compares the SOC i with a preset first threshold value SOC L. (Step D2). If the obtained SOC i is equal to or greater than the first threshold value SOC L , the process of step D2 is repeated. At this time, in the secondary battery 1 i , the discharge is continued until the SOC value falls below the second threshold value SOC U and reaches the first threshold value SOC L.
- the processing device 10 determines whether or not i is N (step D3). Otherwise the i is N, after the SW i + 1 corresponding to the secondary battery 1 i + 1 of the (i + 1) th to ON, the SW i which corresponds to the secondary battery 1 i of the i-th to OFF. Thereafter, the value of i is incremented by “1” (step D4), and the processing from step D2 is repeated.
- the processing apparatus 10 turns on all SW i to SW N-1 except the switch SW N corresponding to the Nth secondary battery 1 N (step D5) and continues discharging. (Step D6).
- the discharging operation can be continued until all the secondary batteries 1 1 to 1 N reach the minimum SOC.
- the charging operation is continued from the secondary batteries 1 1 to 1 N that have reached the first threshold value SOC L to the second threshold value SOC U at the time of charging, and the first time at the time of discharging.
- the degradation progressing SOC d of each of the secondary batteries 1 1 to 1 N The charging or discharging operation will not stop. Therefore, shortening of the product life of the manganese-based lithium ion secondary batteries 1 1 to 1 N during storage can be suppressed.
- FIG. 9 is a block diagram illustrating a configuration example of the charge / discharge system according to the second embodiment.
- the second embodiment is an example in which the charging operation or the discharging operation is controlled not to stop at the deterioration progress SOC d of one secondary battery 1.
- the charge / discharge system of the second embodiment is different from that of the first embodiment in that there is one secondary battery to be controlled.
- the information processing apparatus according to the second embodiment is configured to be connected to, for example, a heat pump type water heater via an information communication unit, and the water heater can be controlled by the information processing apparatus. Since other configurations are the same as those of the first embodiment, description thereof is omitted.
- a well-known wireless communication means or a well-known wired communication means may be used.
- the wireless communication means for example, a well-known Zigbee wireless system using a radio frequency in the 950 MHz band can be considered.
- a wired communication means for example, a well-known PLC (Power Line Communication) system that transmits and receives information using a distribution line can be considered.
- PLC Power Line Communication
- the switch 4 is controlled so that the charging operation of the secondary battery 1 is continued, and when the secondary battery 1 is discharged, the discharging operation of the secondary battery 1 from the second threshold value SOC U to the first threshold value SOC L
- the switch 4 is controlled so as to continue.
- the information processing apparatus 3 continues the charging operation for the secondary battery 1 with the power supplied from the power company via the distribution system.
- the information processing apparatus 3 continues the discharge operation so that the discharge operation does not stop at the deterioration progress SOC d of the secondary battery 1 by operating the heat pump type water heater, for example. .
- the secondary battery being charged is equivalent to an electric device that consumes power for other secondary batteries. Therefore, when there is a secondary battery (external secondary battery) that is not included in the charge / discharge system of the present embodiment, the discharge operation of the secondary battery 1 may be continued by charging the external secondary battery. . In addition, when the discharge operation stops at the deterioration progress SOC d of the secondary battery 1, the information processing device 3 switches the charge operation using power from the distribution system, for example, to change the deterioration progress SOC d of the secondary battery 1. It may be avoided.
- the method of continuing the charging operation by switching the power supply source for charging shown in this embodiment and the method of continuing the discharging operation by operating a heat pump type water heater are shown in the first embodiment. It can also be combined with a charge / discharge system.
- the charging operation or the discharging operation is not stopped by the deterioration progressing SOC d of the secondary battery 1. Therefore, as in the first embodiment, the shortening of the product life of the manganese-based lithium ion secondary battery 1 during storage can be suppressed.
Landscapes
- Engineering & Computer Science (AREA)
- Chemical & Material Sciences (AREA)
- Chemical Kinetics & Catalysis (AREA)
- Electrochemistry (AREA)
- General Chemical & Material Sciences (AREA)
- Power Engineering (AREA)
- Manufacturing & Machinery (AREA)
- Materials Engineering (AREA)
- Inorganic Chemistry (AREA)
- Charge And Discharge Circuits For Batteries Or The Like (AREA)
- Secondary Cells (AREA)
- Battery Electrode And Active Subsutance (AREA)
Priority Applications (6)
| Application Number | Priority Date | Filing Date | Title |
|---|---|---|---|
| JP2011537087A JP4957875B2 (ja) | 2010-03-23 | 2011-02-17 | リチウムイオン二次電池の充放電方法及び充放電システム |
| EP11759102.4A EP2410602B1 (en) | 2010-03-23 | 2011-02-17 | Charging and discharging method for lithium ion secondary batteries and charging and discharging system for the same |
| US13/265,414 US20130009605A1 (en) | 2010-03-23 | 2011-02-17 | Charging and discharging method for lithium ion secondary batteries and charging and discharging system for the same |
| BR112012023951A BR112012023951A2 (pt) | 2010-03-23 | 2011-02-17 | método de carga e descarga de baterias secundárias de íon lítio, sistema de carga e descarga de baterias secundárias de íon lítio e dispositivo de processamento de informação |
| ES11759102.4T ES2526393T3 (es) | 2010-03-23 | 2011-02-17 | Método de carga y descarga para baterías secundarias de ion litio y sistema de carga y descarga de las mismas |
| CN201180002555.4A CN102388499B (zh) | 2010-03-23 | 2011-02-17 | 锂离子二次电池的充电和放电方法及其充电和放电系统 |
Applications Claiming Priority (2)
| Application Number | Priority Date | Filing Date | Title |
|---|---|---|---|
| JP2010-066107 | 2010-03-23 | ||
| JP2010066107 | 2010-03-23 |
Publications (1)
| Publication Number | Publication Date |
|---|---|
| WO2011118294A1 true WO2011118294A1 (ja) | 2011-09-29 |
Family
ID=44672867
Family Applications (1)
| Application Number | Title | Priority Date | Filing Date |
|---|---|---|---|
| PCT/JP2011/053339 Ceased WO2011118294A1 (ja) | 2010-03-23 | 2011-02-17 | リチウムイオン二次電池の充放電方法及び充放電システム |
Country Status (7)
| Country | Link |
|---|---|
| US (1) | US20130009605A1 (enExample) |
| EP (2) | EP2642583A1 (enExample) |
| JP (2) | JP4957875B2 (enExample) |
| CN (1) | CN102388499B (enExample) |
| BR (1) | BR112012023951A2 (enExample) |
| ES (1) | ES2526393T3 (enExample) |
| WO (1) | WO2011118294A1 (enExample) |
Cited By (4)
| Publication number | Priority date | Publication date | Assignee | Title |
|---|---|---|---|---|
| JP2012138981A (ja) * | 2010-12-24 | 2012-07-19 | Nec Energy Devices Ltd | 放電制御装置、放電制御方法およびプログラム |
| WO2013038764A1 (ja) * | 2011-09-15 | 2013-03-21 | 日本電気株式会社 | 二次電池システム及び二次電池の運用方法 |
| JP6651063B1 (ja) * | 2019-06-12 | 2020-02-19 | 三菱電機株式会社 | 充放電制御装置および充放電制御方法 |
| WO2020209200A1 (ja) * | 2019-04-12 | 2020-10-15 | 株式会社日立製作所 | 電池システム、鉄道車両および電池管理方法 |
Families Citing this family (28)
| Publication number | Priority date | Publication date | Assignee | Title |
|---|---|---|---|---|
| WO2013038763A1 (ja) * | 2011-09-15 | 2013-03-21 | 日本電気株式会社 | 二次電池システム及びその充放電方法 |
| CN103023082A (zh) * | 2011-09-27 | 2013-04-03 | 深圳富泰宏精密工业有限公司 | 电池充放电控制系统及方法 |
| JP2013207844A (ja) * | 2012-03-27 | 2013-10-07 | Nec Corp | 電池管理装置、電池装置、ディスクアレイ装置および電池管理方法 |
| FR2990766B1 (fr) * | 2012-05-15 | 2014-05-09 | Renault Sa | Systeme et procede correspondant d'estimation de l'etat de charge d'une batterie |
| JP5812025B2 (ja) * | 2013-02-25 | 2015-11-11 | トヨタ自動車株式会社 | 定置用蓄電システム及び制御方法 |
| JP6302056B2 (ja) * | 2013-06-20 | 2018-03-28 | ボルボトラックコーポレーション | エネルギー貯蔵システムを制御する方法 |
| JP6235251B2 (ja) | 2013-06-28 | 2017-11-22 | 日立オートモティブシステムズ株式会社 | 二次電池システム |
| WO2015008757A1 (ja) * | 2013-07-16 | 2015-01-22 | 日本電気株式会社 | 蓄電池の急速充電方法、急速充電システムおよびプログラム |
| KR102002343B1 (ko) | 2013-09-17 | 2019-07-22 | 에스케이이노베이션 주식회사 | 무정전 전원장치용 배터리 충방전 장치 및 방법 |
| US20160020623A1 (en) | 2014-07-18 | 2016-01-21 | Iterna, Llc | Extending shelf life of rechargeable batteries |
| JP6739150B2 (ja) * | 2014-08-08 | 2020-08-12 | 株式会社半導体エネルギー研究所 | 半導体装置、発振回路、位相同期回路及び電子機器 |
| US10742054B2 (en) * | 2014-09-30 | 2020-08-11 | International Business Machines Corporation | Intelligent composable multi-function battery pack |
| US9853473B2 (en) * | 2014-10-13 | 2017-12-26 | Lenovo (Singapore) Pte. Ltd. | Battery pack assembly and method |
| DE102015002072B4 (de) | 2015-02-18 | 2024-11-07 | Audi Ag | Einstellen von Ladungszuständen von Batteriezellen |
| US10094880B2 (en) | 2015-04-14 | 2018-10-09 | Semiconductor Components Industries, Llc | Determining battery state of charge using an open circuit voltage measured prior to a device operation stage |
| KR101985812B1 (ko) * | 2015-08-18 | 2019-06-04 | 주식회사 엘지화학 | 전지 충전 한계 예측 방법과 이를 이용한 전지 급속 충전 방법 및 장치 |
| WO2017169655A1 (ja) * | 2016-03-30 | 2017-10-05 | 三洋電機株式会社 | 電源システム、制御システムおよび電源システムの電力制御方法 |
| CN106374151A (zh) * | 2016-09-30 | 2017-02-01 | 上海空间电源研究所 | 一种空间用锂离子电池荷电态的调节装置及调节方法 |
| CN108092301A (zh) * | 2016-11-23 | 2018-05-29 | 江苏三棱智慧物联发展股份有限公司 | 一种复合可再生能源发电系统移动控制系统 |
| US11121569B2 (en) * | 2018-04-04 | 2021-09-14 | International Business Machines Corporation | Battery state-of-charge indication |
| CN109904538A (zh) * | 2019-01-14 | 2019-06-18 | 清华大学 | 锂离子电池及其内部电流分布检测电路 |
| US11815557B2 (en) * | 2019-09-09 | 2023-11-14 | Battelle Energy Alliance, Llc | Systems and methods for managing energy storage operations |
| EP4050685A4 (en) * | 2019-10-25 | 2023-12-13 | Murata Manufacturing Co., Ltd. | ELECTRICITY STORAGE DEVICE AND CHARGING AND DISCHARGE CONTROL METHOD |
| DE102019216961A1 (de) * | 2019-11-04 | 2021-05-06 | Robert Bosch Gmbh | Verfahren zum Laden von zumindest zwei elektrischen Energiespeichern und Fahrzeug |
| US12441210B2 (en) * | 2021-06-25 | 2025-10-14 | Zoox, Inc. | Fleet charging station architecture |
| EP4178068B1 (en) * | 2021-10-29 | 2024-04-17 | Nanjing Chervon Industry Co., Ltd. | Charging device |
| JP7773343B2 (ja) * | 2021-11-05 | 2025-11-19 | Fdk株式会社 | バッテリバンクユニット、充電残時間算出方法、および、充電残時間算出プログラム |
| DE102022211078A1 (de) * | 2022-10-19 | 2024-04-25 | Volkswagen Aktiengesellschaft | Batteriezellverband |
Citations (7)
| Publication number | Priority date | Publication date | Assignee | Title |
|---|---|---|---|---|
| JPH10123225A (ja) * | 1996-10-21 | 1998-05-15 | Fuji Elelctrochem Co Ltd | 並列電池の放電装置及び充放電装置 |
| JP2000030751A (ja) | 1998-07-10 | 2000-01-28 | Toyota Central Res & Dev Lab Inc | リチウム二次電池の充放電方法 |
| JP2001307781A (ja) | 2000-04-24 | 2001-11-02 | Hitachi Ltd | リチウム二次電池及びその充放電方法 |
| JP2007259612A (ja) * | 2006-03-24 | 2007-10-04 | Hitachi Ltd | 電源制御装置 |
| WO2009037881A1 (ja) * | 2007-09-18 | 2009-03-26 | Mitsubishi Heavy Industries, Ltd. | 電力貯蔵システム |
| JP2010066107A (ja) | 2008-09-10 | 2010-03-25 | Isuzu Motors Ltd | 流体流量計及びmaf測定方法 |
| JP2010097760A (ja) * | 2008-10-15 | 2010-04-30 | Mitsubishi Heavy Ind Ltd | 蓄電システム |
Family Cites Families (7)
| Publication number | Priority date | Publication date | Assignee | Title |
|---|---|---|---|---|
| US5729116A (en) * | 1996-12-20 | 1998-03-17 | Total Battery Management, Inc. | Shunt recognition in lithium batteries |
| JP3966702B2 (ja) * | 2001-08-31 | 2007-08-29 | 松下電器産業株式会社 | バッテリ制御装置 |
| US7071653B2 (en) * | 2003-05-30 | 2006-07-04 | Matsushita Electric Industrial Co., Ltd. | Method for charging a non-aqueous electrolyte secondary battery and charger therefor |
| US7564213B2 (en) * | 2004-08-13 | 2009-07-21 | Eaton Corporation | Battery control system for hybrid vehicle and method for controlling a hybrid vehicle battery |
| US7525285B2 (en) * | 2004-11-11 | 2009-04-28 | Lg Chem, Ltd. | Method and system for cell equalization using state of charge |
| JP4538418B2 (ja) * | 2006-02-15 | 2010-09-08 | トヨタ自動車株式会社 | 二次電池の充放電制御装置 |
| JP2010022128A (ja) * | 2008-07-10 | 2010-01-28 | Toyota Motor Corp | 蓄電装置充放電制御システム |
-
2011
- 2011-02-17 US US13/265,414 patent/US20130009605A1/en not_active Abandoned
- 2011-02-17 ES ES11759102.4T patent/ES2526393T3/es active Active
- 2011-02-17 EP EP13170789.5A patent/EP2642583A1/en not_active Withdrawn
- 2011-02-17 EP EP11759102.4A patent/EP2410602B1/en not_active Not-in-force
- 2011-02-17 WO PCT/JP2011/053339 patent/WO2011118294A1/ja not_active Ceased
- 2011-02-17 BR BR112012023951A patent/BR112012023951A2/pt not_active IP Right Cessation
- 2011-02-17 JP JP2011537087A patent/JP4957875B2/ja not_active Expired - Fee Related
- 2011-02-17 CN CN201180002555.4A patent/CN102388499B/zh not_active Expired - Fee Related
-
2012
- 2012-03-08 JP JP2012051790A patent/JP5682583B2/ja not_active Expired - Fee Related
Patent Citations (7)
| Publication number | Priority date | Publication date | Assignee | Title |
|---|---|---|---|---|
| JPH10123225A (ja) * | 1996-10-21 | 1998-05-15 | Fuji Elelctrochem Co Ltd | 並列電池の放電装置及び充放電装置 |
| JP2000030751A (ja) | 1998-07-10 | 2000-01-28 | Toyota Central Res & Dev Lab Inc | リチウム二次電池の充放電方法 |
| JP2001307781A (ja) | 2000-04-24 | 2001-11-02 | Hitachi Ltd | リチウム二次電池及びその充放電方法 |
| JP2007259612A (ja) * | 2006-03-24 | 2007-10-04 | Hitachi Ltd | 電源制御装置 |
| WO2009037881A1 (ja) * | 2007-09-18 | 2009-03-26 | Mitsubishi Heavy Industries, Ltd. | 電力貯蔵システム |
| JP2010066107A (ja) | 2008-09-10 | 2010-03-25 | Isuzu Motors Ltd | 流体流量計及びmaf測定方法 |
| JP2010097760A (ja) * | 2008-10-15 | 2010-04-30 | Mitsubishi Heavy Ind Ltd | 蓄電システム |
Non-Patent Citations (1)
| Title |
|---|
| See also references of EP2410602A4 |
Cited By (9)
| Publication number | Priority date | Publication date | Assignee | Title |
|---|---|---|---|---|
| JP2012138981A (ja) * | 2010-12-24 | 2012-07-19 | Nec Energy Devices Ltd | 放電制御装置、放電制御方法およびプログラム |
| WO2013038764A1 (ja) * | 2011-09-15 | 2013-03-21 | 日本電気株式会社 | 二次電池システム及び二次電池の運用方法 |
| US9450439B2 (en) | 2011-09-15 | 2016-09-20 | Nec Corporation | Secondary battery system and operating method of secondary battery |
| WO2020209200A1 (ja) * | 2019-04-12 | 2020-10-15 | 株式会社日立製作所 | 電池システム、鉄道車両および電池管理方法 |
| JP2020174490A (ja) * | 2019-04-12 | 2020-10-22 | 株式会社日立製作所 | 電池システム、鉄道車両および電池管理方法 |
| JP7254597B2 (ja) | 2019-04-12 | 2023-04-10 | 株式会社日立製作所 | 電池システム、鉄道車両および電池管理方法 |
| JP6651063B1 (ja) * | 2019-06-12 | 2020-02-19 | 三菱電機株式会社 | 充放電制御装置および充放電制御方法 |
| WO2020250342A1 (ja) * | 2019-06-12 | 2020-12-17 | 三菱電機株式会社 | 充放電制御装置および充放電制御方法 |
| US12296714B2 (en) | 2019-06-12 | 2025-05-13 | Mitsubishi Electric Corporation | Charge and discharge control device and charge and discharge control method including first, second, and third charge level ranges |
Also Published As
| Publication number | Publication date |
|---|---|
| CN102388499A (zh) | 2012-03-21 |
| ES2526393T3 (es) | 2015-01-12 |
| EP2642583A1 (en) | 2013-09-25 |
| BR112012023951A2 (pt) | 2017-12-19 |
| US20130009605A1 (en) | 2013-01-10 |
| CN102388499B (zh) | 2014-06-18 |
| JP2012143151A (ja) | 2012-07-26 |
| EP2410602B1 (en) | 2014-11-26 |
| JPWO2011118294A1 (ja) | 2013-07-04 |
| JP5682583B2 (ja) | 2015-03-11 |
| JP4957875B2 (ja) | 2012-06-20 |
| EP2410602A4 (en) | 2012-10-31 |
| EP2410602A1 (en) | 2012-01-25 |
Similar Documents
| Publication | Publication Date | Title |
|---|---|---|
| JP4957875B2 (ja) | リチウムイオン二次電池の充放電方法及び充放電システム | |
| JP5569643B2 (ja) | 二次電池システム及びその充放電方法 | |
| US10141551B2 (en) | Battery system | |
| US9184615B2 (en) | Battery pack and method of controlling the same | |
| JP4966998B2 (ja) | 充電制御回路、電池パック、及び充電システム | |
| JP6818156B2 (ja) | バッテリパック、及びバッテリパックの充電制御方法 | |
| WO2013038764A1 (ja) | 二次電池システム及び二次電池の運用方法 | |
| TWI751229B (zh) | 控制裝置、控制系統、蓄電裝置以及電腦可讀取媒體 | |
| US8476869B2 (en) | Battery voltage equalizer circuit and method for using the same | |
| WO2020131569A1 (en) | Methods and apparatus for controlling charge current in a battery pack containing cells of disparate types | |
| JP2014511095A (ja) | 充電式バッテリシステム及びその作動方法 | |
| JP2011004509A5 (enExample) | ||
| JP2014504140A (ja) | 充電式バッテリシステム及びその作動方法 | |
| WO2013042517A1 (ja) | スイッチ装置及びブレーカ制御方法 | |
| JP2014507924A (ja) | 充電式バッテリシステム及びその作動方法 | |
| JP5336820B2 (ja) | 充電式リチウム電池の充電システム | |
| JP2013162597A (ja) | 組電池放電制御システムおよび組電池放電制御方法 | |
| WO2020049824A1 (ja) | 蓄電装置及び充電方法 | |
| JP2013172551A (ja) | 組電池充電システムおよび組電池充電方法 | |
| Yuan et al. | A hybrid fuel cell-battery power system | |
| CN105990860B (zh) | 一种电池组能量均衡的方法、装置及电池系统 | |
| KR20250121773A (ko) | 배터리 시스템 및 그 제어 방법 | |
| WO2015119011A1 (ja) | 蓄電装置及び無停電電源装置 |
Legal Events
| Date | Code | Title | Description |
|---|---|---|---|
| WWE | Wipo information: entry into national phase |
Ref document number: 201180002555.4 Country of ref document: CN |
|
| WWE | Wipo information: entry into national phase |
Ref document number: 2011537087 Country of ref document: JP |
|
| WWE | Wipo information: entry into national phase |
Ref document number: 2011759102 Country of ref document: EP |
|
| 121 | Ep: the epo has been informed by wipo that ep was designated in this application |
Ref document number: 11759102 Country of ref document: EP Kind code of ref document: A1 |
|
| WWE | Wipo information: entry into national phase |
Ref document number: 13265414 Country of ref document: US |
|
| NENP | Non-entry into the national phase |
Ref country code: DE |
|
| WWE | Wipo information: entry into national phase |
Ref document number: 8838/CHENP/2012 Country of ref document: IN |
|
| REG | Reference to national code |
Ref country code: BR Ref legal event code: B01A Ref document number: 112012023951 Country of ref document: BR |
|
| REG | Reference to national code |
Ref country code: BR Ref legal event code: B01E Ref document number: 112012023951 Country of ref document: BR |
|
| ENP | Entry into the national phase |
Ref document number: 112012023951 Country of ref document: BR Kind code of ref document: A2 Effective date: 20120921 |