WO2011108450A1 - 車両用電動ブレーキ装置 - Google Patents

車両用電動ブレーキ装置 Download PDF

Info

Publication number
WO2011108450A1
WO2011108450A1 PCT/JP2011/054277 JP2011054277W WO2011108450A1 WO 2011108450 A1 WO2011108450 A1 WO 2011108450A1 JP 2011054277 W JP2011054277 W JP 2011054277W WO 2011108450 A1 WO2011108450 A1 WO 2011108450A1
Authority
WO
WIPO (PCT)
Prior art keywords
gear
caliper body
ring gear
motor
electric motor
Prior art date
Legal status (The legal status is an assumption and is not a legal conclusion. Google has not performed a legal analysis and makes no representation as to the accuracy of the status listed.)
Ceased
Application number
PCT/JP2011/054277
Other languages
English (en)
French (fr)
Japanese (ja)
Other versions
WO2011108450A9 (ja
Inventor
和豊 黒木
宣輝 藤井
明彦 小池
Current Assignee (The listed assignees may be inaccurate. Google has not performed a legal analysis and makes no representation or warranty as to the accuracy of the list.)
Honda Motor Co Ltd
Hitachi Astemo Ltd
Original Assignee
Honda Motor Co Ltd
Nissin Kogyo Co Ltd
Priority date (The priority date is an assumption and is not a legal conclusion. Google has not performed a legal analysis and makes no representation as to the accuracy of the date listed.)
Filing date
Publication date
Application filed by Honda Motor Co Ltd, Nissin Kogyo Co Ltd filed Critical Honda Motor Co Ltd
Priority to CN201180007087.XA priority Critical patent/CN102762883B/zh
Publication of WO2011108450A1 publication Critical patent/WO2011108450A1/ja
Anticipated expiration legal-status Critical
Publication of WO2011108450A9 publication Critical patent/WO2011108450A9/ja
Ceased legal-status Critical Current

Links

Images

Classifications

    • FMECHANICAL ENGINEERING; LIGHTING; HEATING; WEAPONS; BLASTING
    • F16ENGINEERING ELEMENTS AND UNITS; GENERAL MEASURES FOR PRODUCING AND MAINTAINING EFFECTIVE FUNCTIONING OF MACHINES OR INSTALLATIONS; THERMAL INSULATION IN GENERAL
    • F16DCOUPLINGS FOR TRANSMITTING ROTATION; CLUTCHES; BRAKES
    • F16D65/00Parts or details
    • F16D65/14Actuating mechanisms for brakes; Means for initiating operation at a predetermined position
    • F16D65/16Actuating mechanisms for brakes; Means for initiating operation at a predetermined position arranged in or on the brake
    • F16D65/18Actuating mechanisms for brakes; Means for initiating operation at a predetermined position arranged in or on the brake adapted for drawing members together, e.g. for disc brakes
    • FMECHANICAL ENGINEERING; LIGHTING; HEATING; WEAPONS; BLASTING
    • F16ENGINEERING ELEMENTS AND UNITS; GENERAL MEASURES FOR PRODUCING AND MAINTAINING EFFECTIVE FUNCTIONING OF MACHINES OR INSTALLATIONS; THERMAL INSULATION IN GENERAL
    • F16HGEARING
    • F16H1/00Toothed gearings for conveying rotary motion
    • F16H1/28Toothed gearings for conveying rotary motion with gears having orbital motion
    • F16H1/46Systems consisting of a plurality of gear trains each with orbital gears, i.e. systems having three or more central gears
    • HELECTRICITY
    • H02GENERATION; CONVERSION OR DISTRIBUTION OF ELECTRIC POWER
    • H02KDYNAMO-ELECTRIC MACHINES
    • H02K5/00Casings; Enclosures; Supports
    • H02K5/04Casings or enclosures characterised by the shape, form or construction thereof
    • HELECTRICITY
    • H02GENERATION; CONVERSION OR DISTRIBUTION OF ELECTRIC POWER
    • H02KDYNAMO-ELECTRIC MACHINES
    • H02K7/00Arrangements for handling mechanical energy structurally associated with dynamo-electric machines, e.g. structural association with mechanical driving motors or auxiliary dynamo-electric machines
    • H02K7/10Structural association with clutches, brakes, gears, pulleys or mechanical starters
    • H02K7/116Structural association with clutches, brakes, gears, pulleys or mechanical starters with gears
    • FMECHANICAL ENGINEERING; LIGHTING; HEATING; WEAPONS; BLASTING
    • F16ENGINEERING ELEMENTS AND UNITS; GENERAL MEASURES FOR PRODUCING AND MAINTAINING EFFECTIVE FUNCTIONING OF MACHINES OR INSTALLATIONS; THERMAL INSULATION IN GENERAL
    • F16DCOUPLINGS FOR TRANSMITTING ROTATION; CLUTCHES; BRAKES
    • F16D2121/00Type of actuator operation force
    • F16D2121/18Electric or magnetic
    • F16D2121/24Electric or magnetic using motors
    • FMECHANICAL ENGINEERING; LIGHTING; HEATING; WEAPONS; BLASTING
    • F16ENGINEERING ELEMENTS AND UNITS; GENERAL MEASURES FOR PRODUCING AND MAINTAINING EFFECTIVE FUNCTIONING OF MACHINES OR INSTALLATIONS; THERMAL INSULATION IN GENERAL
    • F16DCOUPLINGS FOR TRANSMITTING ROTATION; CLUTCHES; BRAKES
    • F16D2125/00Components of actuators
    • F16D2125/18Mechanical mechanisms
    • F16D2125/20Mechanical mechanisms converting rotation to linear movement or vice versa
    • F16D2125/34Mechanical mechanisms converting rotation to linear movement or vice versa acting in the direction of the axis of rotation
    • F16D2125/40Screw-and-nut
    • FMECHANICAL ENGINEERING; LIGHTING; HEATING; WEAPONS; BLASTING
    • F16ENGINEERING ELEMENTS AND UNITS; GENERAL MEASURES FOR PRODUCING AND MAINTAINING EFFECTIVE FUNCTIONING OF MACHINES OR INSTALLATIONS; THERMAL INSULATION IN GENERAL
    • F16DCOUPLINGS FOR TRANSMITTING ROTATION; CLUTCHES; BRAKES
    • F16D2125/00Components of actuators
    • F16D2125/18Mechanical mechanisms
    • F16D2125/44Mechanical mechanisms transmitting rotation
    • F16D2125/46Rotating members in mutual engagement
    • F16D2125/50Rotating members in mutual engagement with parallel non-stationary axes, e.g. planetary gearing
    • HELECTRICITY
    • H02GENERATION; CONVERSION OR DISTRIBUTION OF ELECTRIC POWER
    • H02KDYNAMO-ELECTRIC MACHINES
    • H02K5/00Casings; Enclosures; Supports
    • H02K5/04Casings or enclosures characterised by the shape, form or construction thereof
    • H02K5/10Casings or enclosures characterised by the shape, form or construction thereof with arrangements for protection from ingress, e.g. water or fingers
    • HELECTRICITY
    • H02GENERATION; CONVERSION OR DISTRIBUTION OF ELECTRIC POWER
    • H02KDYNAMO-ELECTRIC MACHINES
    • H02K7/00Arrangements for handling mechanical energy structurally associated with dynamo-electric machines, e.g. structural association with mechanical driving motors or auxiliary dynamo-electric machines
    • H02K7/14Structural association with mechanical loads, e.g. with hand-held machine tools or fans

Definitions

  • the present invention includes a disk brake having a friction pad opposed to a side surface of a disk rotor, an electric motor, and a rotation shaft, and a motion conversion for moving the friction pad forward and backward with respect to the disk rotor according to the rotation of the rotation shaft.
  • the present invention relates to an electric brake device for a vehicle including a mechanism and a reduction gear provided between the electric motor and the rotating shaft, which includes a first and second planetary gear mechanisms.
  • a two-stage planetary gear type speed reducer housed in a gear case includes a first sun gear provided on a motor shaft, a ring gear rotatably supported on a housing, and a first planetary gear meshing with the ring gear and the first sun gear.
  • a first planetary gear mechanism including a first carrier that is rotatably supported and fixed to the gear case, a second sun gear provided on the input shaft, and the ring gear that is common to the first planetary gear mechanism And a second planetary gear mechanism comprising a second carrier that rotatably supports a second planetary gear meshing with the ring gear and the second sun gear, wherein the second carrier And coaxially to the screw shaft of the serial screw mechanism so as to be relatively non-rotatably coupled.
  • a ring gear common to the first and second planetary gear mechanisms is rotatably supported by a gear case, and is compared between the ring gear and the gear case.
  • a pair of ball bearings having a large diameter is interposed, which not only increases the number of parts, but also increases the size of the gear case.
  • An object of the present invention is to provide an electric brake device for a vehicle.
  • the present invention has a disc brake having a friction pad opposed to a side surface of a disc rotor, an electric motor, a rotating shaft, and the friction pad is attached to the disc according to the rotation of the rotating shaft.
  • the electric brake device for a vehicle comprising: a motion conversion mechanism for moving forward and backward with respect to the rotor; and a reduction gear provided between the electric motor and the rotation shaft, the first planetary gear mechanism including first and second planetary gear mechanisms.
  • the gear mechanism includes a first sun gear provided on the motor shaft of the electric motor, a ring gear, and a first carrier that rotatably supports a first planetary gear meshing with the ring gear and the first sun gear,
  • the planetary gear mechanism includes a second sun gear that rotates together with the first carrier, the ring gear that is common to the first planetary gear mechanism, and the ring gear.
  • a second carrier that rotatably supports the second planetary gear meshing with the second sun gear and that is coaxially connected to the rotating shaft and is relatively non-rotatable, and the motor case of the electric motor includes the speed reducer
  • a deceleration chamber for housing the disc brake is formed between the caliper body and the caliper body of the disc brake, and the ring gear is prevented from axial movement by the motor case and the caliper body.
  • the first feature is that the end portion of the ring gear opposite to the electric motor is inserted into the reduction chamber and is engaged with the caliper body so as to restrict the rotation of the ring gear about the axis thereof.
  • the present invention is provided with engagement slits at a plurality of circumferential positions on the end of the ring gear opposite to the electric motor, and is inserted into the engagement slits, respectively.
  • An engagement pin is provided on the caliper body, and the width of the engagement slit along the circumferential direction of the ring gear and the outer diameter of the engagement pin are limited within a plane perpendicular to the axis of the speed reducer.
  • the second feature is that the displacement is set so as to allow the displacement within the specified range.
  • the present invention further includes an accommodation recess that is closed by the motor case in the caliper body so as to form a part of the deceleration chamber.
  • a third feature is that an annular seal member having a larger diameter than the inner periphery of the housing recess is interposed between the case and the caliper body.
  • the screw mechanism 24 of the embodiment corresponds to the motion conversion mechanism of the present invention
  • the screw shaft 45 of the embodiment corresponds to the rotating shaft of the present invention.
  • the ring gear common to the first and second planetary gear mechanisms is substantially fixed to the caliper body, so that the bearing member is interposed between the ring gear and the caliper body. Therefore, the number of parts and the size of the caliper body can be reduced accordingly.
  • the engagement pins provided on the caliper body are inserted into the engagement slits provided at a plurality of locations in the circumferential direction at the end of the ring gear opposite to the electric motor. Therefore, the number of parts for substantially fixing the ring gear to the caliper body can be reduced, and the engagement pin is inserted into the engagement slit just by inserting the ring gear into the reduction chamber. Attaching is easy.
  • the ring gear can move in a plane perpendicular to the axis by the gap generated between the engagement slit and the engagement pin, and the axial deviation of the first and second planetary gear mechanisms can be absorbed. Smooth rotation power transmission in the machine becomes possible.
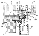
  • FIG. 1 is a longitudinal sectional view of an electric brake device for a vehicle according to a first embodiment.
  • (First embodiment) 2 is a cross-sectional view taken along line 2-2 of FIG.
  • (First embodiment) 3 is a cross-sectional view taken along line 3-3 of FIG.
  • FIG. 4 is an enlarged view of a portion indicated by an arrow 4 in FIG.
  • FIG. 5 is an exploded perspective view of the speed reducer.
  • First embodiment 6 is an enlarged view of a portion indicated by an arrow 6 in FIG.
  • FIG. 7 is a cross-sectional view showing an engagement state of the twelve-angle socket with the output member.
  • FIG. 8 is a front view of the brush holder as seen from the motor chamber side.
  • FIG. 9 is a rear view of the brush holder as seen from the reduction gear side.
  • FIG. 10 is an enlarged front view of the main part of FIG. 8 to show the capacitor holding part.
  • FIG. 11 is a perspective view of the capacitor holding portion.
  • FIG. 12 is an enlarged view of a main part of FIG.
  • FIG. 13 is a cross-sectional view corresponding to FIG. 12 in the vicinity of the coupler portion.
  • FIG. 14 is a longitudinal sectional view of the electric brake device for a vehicle according to the second embodiment.
  • FIG. 15 is a side view of an essential part of the electric brake device for a vehicle.
  • FIG. 15 is a side view of an essential part of the electric brake device for a vehicle.
  • FIG. 16 is an enlarged view of a portion indicated by an arrow 16 in FIG. (Second embodiment)
  • FIG. 17 is an exploded perspective view of the speed reducer.
  • (Second embodiment) 18 is a cross-sectional view taken along line 18-18 in FIG. (Second embodiment)
  • the electric brake device for a vehicle includes a disc brake 21A and a forward / reverse attached to a caliper body 26 of the disc brake 21A.
  • a screw mechanism 24 which is a motion conversion mechanism provided between the speed reducers 23A.
  • the disc brake 21A is capable of obtaining a service brake state by hydraulic pressure, and can be operated by an electric motor 22A to obtain a parking brake state, and is a disc rotor that rotates together with a wheel of a wheel (not shown). 25A, a caliper body 26, and a pair of friction pads 27, 28 disposed opposite to both side surfaces of the disk rotor 25A and disposed between the disk rotor 25A and the caliper body 26.
  • the caliper body 26 includes a housing portion 26a supported by a bracket 29 attached to the vehicle body side so as to be slidable in a direction along the axis of the disc rotor 25A, and a housing portion 26a. And an arm portion 26b extending to the opposite side across the disk rotor 25A.
  • the friction pad 27 facing the one side of the disk rotor 25A on the housing part 26a side of the caliper body 26 is formed by providing a lining 30 on the back metal 32 that can slide and come into contact with the disk rotor 25A.
  • the friction pad 28 facing the other side surface of the disc rotor 25A on the arm portion 26b side of the body 26 is formed by providing a lining 31 on the back metal 33 that can slide and come into contact with the disc rotor 25A. , 28 can be moved in the direction along the axis of the disk rotor 25A and is held by the bracket 29.
  • the caliper body 26 has a housing portion 26a having a cylinder hole 34 having an axis parallel to the axis of the disc rotor 25A and opening to the friction pad 27 side, and an accommodation recess opening to the opposite side of the friction pad 27. 35 and a partition wall 36 interposed between the cylinder hole 34 and the accommodating recess 35 is provided.
  • the cylinder hole 34 and the accommodating recess 35 are formed so as to have a circular cross section on the same axis, and a through hole 37 that coaxially connects the cylinder hole 34 and the accommodating recess 35 is provided at the center of the partition wall 36. .
  • a brake piston 38 that is formed in a cylindrical shape with a bottom closed at the front end and that forms a hydraulic pressure chamber 39 with the partition wall 36 is accommodated in the cylinder hole 34 so as to be axially slidable.
  • the front end contacts the back metal 32 of the friction pad 27 and is engaged with the back metal 32 in order to prevent rotation in the cylinder hole 34.
  • An annular piston seal 40 interposed between the caliper body 26 and the brake piston 38 is mounted on the inner surface of the cylinder hole 34, and an annular dust boot 41 is provided between the opening end of the cylinder hole 34 and the brake piston 38.
  • the housing portion 26a is provided with a fluid pressure passage 42 for guiding fluid pressure to the fluid pressure chamber 39.
  • the screw mechanism 24 includes a screw shaft 45 that is coaxial with the cylinder hole 34, and a nut 46 that is engaged with the brake piston 38 and cannot be rotated relative to the screw shaft 45.
  • the caliper body 26 is accommodated in the housing portion 26a.
  • a connecting shaft portion 45a that rotatably passes through the through hole 37 of the partition wall 36 is coaxially and integrally connected.
  • a flange portion 45b projecting outward in the radial direction so as to face the partition wall 36 is integrally provided, and an O-ring 47 is interposed between the partition wall 36 and the connecting shaft portion 45a.
  • the screw shaft 45 is screwed into a nut 46 surrounding the screw shaft 45 in the brake piston 38.
  • the nut 46 includes a cylindrical portion 46a (see FIG. 1) that coaxially surrounds the screw shaft 45, an engaging portion 46b projecting radially outward from the front end of the cylindrical portion 46a, and the engaging portion 46b.
  • An abutment protrusion 46c that protrudes forward from the center of the front end and abuts against the inner surface of the front end of the brake piston 38 is integrally formed, and a screw hole 48 for screwing the screw shaft 45 is an axial total length of the nut 46. Provided.
  • the outer periphery of the engaging portion 46b is formed in a petal shape having protrusions 49, 49,... Arranged at a plurality of locations, for example, eight locations, equally spaced in the circumferential direction, and has a bottomed cylindrical shape.
  • the cross-sectional shape of the inner periphery of the front part of the brake piston 38 is composed of four flat portions 50 corresponding to the two protrusions 49, 49, and four bent portions 51 connecting the flat portions 50. Are formed in a non-circular shape.
  • passages 52 that allow the brake fluid to flow are formed, respectively.
  • Four passage grooves 53 are provided on the front end surface of the abutting protrusion 46c at the front end of the nut 46, extending radially outward from the screw hole 48 and arranged in a cross shape.
  • an O-ring interposed between the sliding bearing 54 and the partition wall 36 and the connecting shaft portion 45a.
  • the washer 55 sandwiched between the sliding bearing 54 and the partition wall 36 is interposed while fulfilling the function as a pressing member that prevents the 47 from being separated, and the sliding bearing 54 and the washer 55 are formed in a flat ring shape.
  • a ring-shaped fitting recess 56 is formed on the surface of the flange portion 45b facing the partition wall 36 so that the inner periphery is defined by the outer periphery of the base portion of the connecting shaft portion 45a. Is fitted into the fitting recess 56.
  • the inner periphery of the fitting recess 56 is continuous with the outer periphery of the base of the connecting shaft 45a via the saddle curved surface 57, and the inner diameter of the sliding bearing 54 avoids contact with the saddle curved surface 57.
  • it is set larger than the base outer diameter of the connecting shaft 45a.
  • the motor case 83 of the electric motor 22 ⁇ / b> A is attached to the housing portion 26 a of the caliper body 26 so as to close the opening end of the housing recess 35.
  • a reduction chamber 59 is formed, at least a part of which is formed by the storage recess 35, and the reduction gear 23 ⁇ / b> A is stored in the reduction chamber 59.
  • a first planetary gear mechanism 61 and a second planetary gear mechanism 62A are provided between the motor shaft 95 of the electric motor 22A and the connecting shaft portion 45a of the screw shaft 45 in the screw mechanism 24. It is made up of.
  • the first planetary gear mechanism 61 includes a first sun gear 63 provided on the motor shaft 95, a ring gear 64 fixed to the gear case 60A, the ring gear 64 and the first gear.
  • a first carrier 66 rotatably supporting a plurality of, for example, three first planetary gears 65 meshing with the sun gear 63, and the second planetary gear mechanism 62 ⁇ / b> A is provided on the inner periphery of the first carrier 66.
  • the second sun gear 67 meshed with the outer periphery, the ring gear 64 common to the first planetary gear mechanism 61, and a plurality of, for example, three second planetary gears 68 meshed with the ring gear 64 and the second sun gear 67.
  • a second carrier 69A that is rotatably supported and a flat ring-shaped output member 70 whose outer periphery is serrated and fitted to the inner periphery of the second carrier 69A.
  • the ring gear 64 common to the first and second planetary gear mechanisms 61 and 62A is formed in a cylindrical shape having an outer diameter slightly smaller than the inner diameter of the receiving recess 35 and is inserted into the reduction chamber 59.
  • the end of the ring gear 64 opposite to the electric motor 22A is an inner end wall of the accommodating recess 35 in the caliper body 26 in order to restrict the rotation of the ring gear 64 around the axis.
  • a concave-convex engagement is made with the partition wall 36 that constitutes.
  • engagement slits 71 opened on the partition wall 36 side at a plurality of circumferential positions, for example, three locations on the end of the ring gear 64 opposite to the electric motor 22A.
  • each of the engagement pins 72 is provided in the partition wall 36 by inserting one end portion into a bottomed pin support hole 73 provided in the partition wall 36 and protrudes from the partition wall 36. The other ends of the pins 72 are inserted into the engagement slits 71.
  • the engagement pin 72 has a width d of the engagement slit 71 along the circumferential direction of the ring gear 64 so that a gap 74 is formed between the ring gear 64 and the engagement pin 72.
  • the outer diameter D is set to be slightly larger than the outer diameter D of the ring gear 64, so that the ring gear 64 is within a limited range until the ring gear 64 comes into contact with the inner peripheral surface of the housing recess 35. The displacement of the ring gear 64 is allowed.
  • the first carrier 66 is formed in a flat ring shape, and the outer periphery of the half of the second sun gear 67 on the electric motor 22 ⁇ / b> A side having the same cross-sectional shape over the entire axial length is Engaged with the inner periphery, the second sun gear 67 rotates together with the first carrier 66.
  • first carrier 66 a plurality of, for example, three locations that are equidistant from each other in the circumferential direction on a virtual circle centered on the axis are provided with first support pins 75 that have axes parallel to the first carrier 66. One end is fixed by, for example, press-fitting, and the other end of each first support pin 75 is inserted into a first support hole 76 provided in the first planetary gear 65.
  • first planetary gear 65 is opposed to the disk portion 88b of the lid member 88 of the motor case 83 constituting a part of the gear case 60A, but the disk portion 88b of the lid member 88 is opposed to the disk portion 88b.
  • An annular recess 91 formed by bending so that a part thereof is recessed to the side opposite to the speed reducer 23A is formed so as to face the other end of each of the first support pins 75.
  • the second planetary gears 68 mesh with the outer periphery of the half of the second sun gear 67 opposite to the electric motor 22A, and the like in the circumferential direction of the second carrier 69A formed in a flat ring shape.
  • a second support hole 78 provided at the center of the second planetary gears 68 is provided at the other end of the second support pins 77 with one end fixed by press-fitting or the like at a plurality of spaced intervals, for example, three locations. Are inserted respectively.
  • the end of the connecting shaft 45a that is coaxially and integrally connected to the screw shaft 45 in the screw mechanism 24 is inserted into the speed reducing chamber 59, and the end of the connecting shaft 45a is The output member 70 is directly press-fitted into a press-fitting hole 79 provided in the central portion.
  • the second carrier 69A in the second planetary gear mechanism 62A is connected to the screw shaft 45 so as not to be relatively rotatable via the output member 70 whose outer periphery is serrated to the inner periphery.
  • the output member 70 is formed so as to be able to engage with a twelve-angle socket 80 which is a rotary operation tool.
  • the outer periphery of the output member 70 is serrated and fitted to the inner periphery of the second carrier 69A so that it can be inserted and removed while being relatively unrotatable. Therefore, a plurality of tooth portions formed on the outer periphery of the output member 70 81, 81... Are engaged with the inner periphery of the twelve angle socket 80 so as not to be relatively rotatable.
  • the motor case 83 of the electric motor 22A has a motor chamber 84 formed therein and is attached to the housing portion 26a of the caliper body 26, and a flange portion 86a projecting radially outward is integrally formed at the opening end portion.
  • a metal yoke 86 having a cylindrical shape with a bottom, and a brush holder 87 made of a resin, for example, a synthetic resin, which closes the open end of the yoke 86 so that the outer peripheral portion is brought into contact with the flange portion 86a.
  • a metal lid member 88 that sandwiches the brush holder 87 with the yoke 86.
  • Collars 89 formed in a cylindrical shape with metal are embedded at a plurality of, for example, three places spaced apart in the circumferential direction of the outer peripheral portion of the brush holder 87, and the flange portion 86 a and the brush holder 87 are embedded therein.
  • Bolts 90 inserted through the collars 89 are screwed into the housing portion 26a of the caliper body 26. That is, the motor case 83 of the electric motor 22A is detachably fastened to the housing portion 26a of the caliper body 26 with bolts 90.
  • the lid member 88 is formed by bending a metal plate, and includes a cylindrical bearing housing portion 88a, a disc portion 88b extending outward from the bearing housing portion 88a, and the disc portion 88b.
  • a cylindrical portion 88c that is connected to the outer periphery at right angles and extends toward the speed reducer 23A is integrally formed, and a part of the cylindrical portion 88c is fitted to the brush holder 87 so as to protrude from the brush holder 87 toward the speed reducer 23A.
  • the portion of the cylindrical portion 88 c that protrudes from the brush holder 87 is fitted into the housing portion 26 a of the caliper body 26.
  • the opening end of the accommodation recess 35 in the caliper body 26 is closed by the lid member 88 constituting a part of the motor case 83. Therefore, the axial movement of the ring gear 64 in the speed reducer 23A is restricted by the partition wall 36 of the caliper body 26 and the disk portion 88b of the lid member 88. Since the circumferential movement of the ring gear 64 is restricted by engaging the concave and convex portions, the ring gear 64 is substantially fixed to the gear case 60A by restricting the axial movement by the partition wall 36 and the disc portion 88b. become.
  • annular seal member 92 having a larger diameter than the inner periphery of the housing recess 35 is interposed between the housing portion 26a of the caliper body 26 and the brush holder 87 outside the cylindrical portion 88c of the lid member 88.
  • An annular seal member 93 is interposed between the flange portion 86 a of the yoke 86 and the brush holder 87 so as to be located inward of the place where the bolt 90 is disposed.
  • the motor shaft 95 of the electric motor 22A is rotatably supported by the motor case 83, and one end of the motor shaft 95 is inserted through a ball bearing 96 into a bearing housing 86b provided at the central portion of the closed end of the yoke 86.
  • the other end portion of the motor shaft 95 penetrates the brush holder 87 and the lid member 88 rotatably and enters the deceleration chamber 59, and the other end portion of the motor shaft 95 is inserted into the deceleration chamber 59.
  • a first sun gear 63 is engraved on the outer periphery.
  • a ball bearing 97 with a seal is interposed between the bearing housing portion 88 a of the lid member 88 and the motor shaft 95 in order to prevent inflow of grease from the deceleration chamber 59 to the motor chamber 84.
  • the motor shaft 95 is provided with an armature 99 having a commutator 98, and a plurality of magnets 100, 100... Are fixed to the inner periphery of the yoke 86 at a portion corresponding to the armature 99.
  • a central hole 101 into which a part of the commutator 98 is inserted is provided at the center of the brush holder 87 so as to penetrate the motor shaft 95.
  • the brushes 102 and 102 that are in sliding contact with the commutator 98 are slidable along the radial direction of the commutator 98 at two positions around the center hole 101 on the surface facing the motor chamber 84.
  • the fitting holding cylinders 103 are fitted integrally with the commutator 98 so as to extend long along the radial direction of the commutator 98, and each brush 102 is contracted between the fitting holding cylinders 103. It is urged
  • Capacitor holding portions 105... are provided at a plurality of, for example, three locations around the center hole 101 at equal intervals on the surface of the brush holder 87 facing the motor chamber 84.
  • a capacitor 104 for reducing radio noise is held by the capacitor holding unit 105 selected from the holding units 105..., And in this embodiment, two capacitor holding units 105 adjacent to the brush holding unit 103. Is done.
  • the capacitor holding portion 105 is formed along a plane orthogonal to the axis of the electric motor 22A and the surface of the capacitor 104 is brought into contact therewith.
  • the electric motor 22A includes a support surface 106 formed on the brush holder 87, and a pair of hooks 107 and 108 that are formed integrally with the brush holder 87 and sandwich the capacitor 104 between the support surface 106 and the electric motor 22A.
  • the capacitor 104 is configured to be restricted from moving in a plane perpendicular to the axis.
  • the support surface 106 is formed as a bottom surface of a rectangular recess 109 provided on a surface of the brush holder 87 facing the motor chamber 84, and a substantially half portion on the one surface side of the capacitor 104 is formed on the support surface 106. It is inserted into the recess 109. By inserting approximately half of the capacitor 104 into the recess 109, the movement of the capacitor 104 in a plane perpendicular to the axis of the electric motor 22A is restricted.
  • the hooks 107 and 108 are formed integrally with the brush holder 87 so as to rise from the opening end side edge of the recess 109 in order to prevent the capacitor 104 from being detached from the recess 109.
  • the mold holders 110 and 111 for extracting the molds forming the hooks 107 and 108 are formed in the brush holder 87 so as to open to the bottom surface of the recess 109, that is, the support surface 106.
  • one hook 107 is arranged so as to rise from the opening end side edge of the recess 109 on one side of the intermediate portion of the recess 109 along the insertion direction 119 of the capacitor 104 into the recess 109.
  • 108 is arranged to rise from the opening end side edge of the recess 109 on the other side of the front end of the recess 109 along the insertion direction 119.
  • the pair of terminals 104a and 104b extending from the capacitor 104 has a pair of grooves 112 and 112 formed in the brush holder 87 so that one end is connected to the recess 109 on the side opposite to the side where the hook 1108 is disposed.
  • the wall 114 provided in the brush holder 87 so as to separate the grooves 112 and 113 is inclined so as to guide the capacitor 104 when the capacitor 104 is inserted into the recess 109.
  • a guide surface 114a is formed.
  • the other ends of the grooves 112 and 113 are continuous with the windows 115 and 116 provided on the brush holder 87 across both surfaces of the brush holder 87, and a part of the windows 115 and 116 faces the windows 115 and 116.
  • the bus bars 117 and 118 are embedded in the brush holder 87, and the terminals 104a and 104b of the capacitor 104 are electrically connected to the bus bars 117 and 118 by soldering or the like at the portions facing the windows 115 and 116, respectively.
  • a heat insulating space 121 is disposed between the motor chamber 84 formed in the motor case 83 of the electric motor 22A and the speed reduction chamber 59 that houses the speed reducer 23A.
  • the motor chamber of the brush holder 87 that constitutes a part of the motor case 83 and is interposed between the motor chamber 84 and the speed reduction chamber 59 so as to be fastened to the caliper body 26 around the opening end of the housing recess 35.
  • a heat insulation space recess 122 is provided on the surface opposite to the surface 84, and the heat insulation space 121 is formed by the heat insulation space recess 122 and the lid member 88 sandwiching the brush holder 87 between the yoke 86. Is done.
  • a labyrinth-like communication passage 123 connecting the speed reduction chamber 59 and the motor chamber 84 is formed on the outer periphery of the motor case 83.
  • the communication passages 123 are provided at a plurality of circumferential positions on the connecting portion of the disc portion 88 b and the cylindrical portion 88 c in the lid member 88 constituting a part of the motor case 83, and communicate with the speed reduction chamber 59.
  • An annular space 127 formed between the opening end of the brush holder 87 and the yoke 86 so as to connect the second communication hole 126 provided in the brush holder 87, the second communication hole 126, and the motor chamber 84. It consists of.
  • the brush holder 87 is integrally provided with a cylindrical portion 87a that is disposed on the outer side of the fitting holding cylinder 103 along the radial direction of the yoke 86 and that is close to the inner periphery of the opening end of the yoke 86.
  • 86 is formed between the inner periphery of the open end of 86 and the outer periphery of the cylindrical portion 87a, and a plurality of, for example, two second communication holes 126...
  • the brush holder 87 is provided so as to connect the annular passage 125 in a straight line.
  • the brush holder 87 is integrally provided with a coupler portion 87b for supplying power to the electric motor 22A so as to protrude outward, and the inside of the motor chamber 84 is passed through the coupler portion 87b.
  • An external communication path 128 communicating with the outside is provided in the brush holder 87.
  • the external communication path 128 includes a third communication hole 129 provided in the brush holder 87 so as to open at one end to the motor chamber 84 inside the cylindrical portion 87a at a portion corresponding to the coupler portion 87b.
  • the fourth communication hole 130 extends linearly so as to connect the other end of the communication hole 129 and the coupler 87b.
  • the caliper body 26 of the disc brake 21A has a cylinder hole 34 into which the brake piston 38 is slidably fitted, and an accommodation recess 35 coaxial with the cylinder hole 34.
  • the caliper body 26 of the disc brake 21A has a cylinder hole 34 into which the brake piston 38 is slidably fitted, and an accommodation recess 35 coaxial with the cylinder hole 34.
  • a screw mechanism 24 having a screw shaft 45 that rotatably passes through the partition wall 36 is provided between the speed reducer 23A and the brake piston 38 so as to convert the rotation of the screw shaft 45 into an axial advance / retreat operation of the brake piston 38.
  • An electric motor 22A for inputting rotational power to the speed reducer 23A is attached to the caliper body 26 and integrated with the screw shaft 45 in the cylinder hole 34.
  • a sliding bearing 54 formed in a flat ring shape is interposed between the partition wall 36, but on the surface facing the partition wall 36 of the flange portion 45b.
  • a fitting recess 56 is formed, and the sliding bearing 54 is fitted into the fitting recess 56. Therefore, the sliding bearing 54 can be attached to the flange portion 45b to facilitate the assembly, and the distance between the flange portion 45b of the screw shaft 45 and the partition wall 36 of the caliper body 26 is set short. This can contribute to shortening the axial length of the electric brake device.
  • the reduction gear 23 ⁇ / b> A includes an output member 70 that is coaxial with the screw shaft 45, and the end portion of the connecting shaft portion 45 a that the screw shaft 45 has integrally and coaxially is press-fitted coaxially and directly to the output member 70. Therefore, the axial displacement of the screw shaft 45 with respect to the output member 70 can be prevented, and it is not necessary to form the outer periphery of the end portion of the screw shaft 45, that is, the outer periphery of the connecting shaft portion 45a, thereby reducing the number of processing steps. be able to.
  • the speed reducer 23A includes an output member 70 and a second carrier 69A that coaxially surrounds the output member 70, and the outer periphery of the output member 70 is serrated to the inner periphery of the second carrier 69A. Even if the axis of the shaft 45 is slightly inclined with respect to the output member 70, the second carrier 69A can be automatically aligned, and the rotation of the components of the speed reducer 23A is stabilized.
  • the reduction gear 23A is a two-stage planetary gear type reduction gear in which first and second planetary gear mechanisms 61 and 62A are provided between the motor shaft 95 of the electric motor 22A and the screw shaft 45 of the screw mechanism 24.
  • the first planetary gear mechanism 61 includes a first sun gear 63 provided on the motor shaft 95, a ring gear 64 fixed to the gear case 60A, and the ring gear 64.
  • a first carrier 66 that rotatably supports a plurality of first planetary gears 65 meshing with the first sun gear 63, and the second planetary gear mechanism 62 ⁇ / b> A meshes with the inner periphery of the first carrier 66 on the outer periphery.
  • second carrier 69A that rotatably supports a is one and a said output member 70.
  • the ring gear 64 that is common to the first and second planetary gear mechanisms 61 and 62A is fixed to the gear case 60A, so that a bearing member is interposed between the ring gear 64 and the gear case 60A.
  • the number of parts can be reduced and the gear case 60A can be reduced in size.
  • the second sun gear 67 is press-fitted into the first carrier 66.
  • the motor case 83 of the electric motor 22A attached to the caliper body 26 so as to close the accommodating recess 35 provided in the caliper body 26 of the disc brake 21A, and the caliper body 26 constituting the gear case 60A together with the motor case 83,
  • a reduction chamber 59 partially formed by the storage recess 35 is formed so as to receive the reduction gear 23A, and the ring gear 64 is a circle of the lid member 88 forming a part of the motor case 83.
  • the plate portion 88b and the caliper body 26 are inserted into the reduction chamber 59 so as to be prevented from moving in the axial direction, and the end of the ring gear 64 opposite to the electric motor 22A rotates around the axis of the ring gear 64. Since the concave and convex engagement with the caliper body 26 is performed so as to regulate, the first and second planets
  • the ring gear 64 is common to Ya mechanism 61,62A can be substantially fixed to the caliper body 26 which constitutes a part of the gear case 60A.
  • engagement slits 71 are provided at a plurality of locations in the circumferential direction at the end of the ring gear 64 opposite to the electric motor 22A, and the engagement pins 72 inserted into the engagement slits 71 are caliper bodies. 26, the number of parts for substantially fixing the ring gear 64 to the caliper body 26 can be reduced, and the engagement slits 71 can be formed by simply inserting the ring gear 64 into the reduction chamber 59. Since the engagement pins 72 are inserted, the ring gear 64 can be easily assembled.
  • the width d of the engagement slits 71 along the circumferential direction of the ring gear 64 and the outer diameter D of the engagement pins 72 are within a range in which the ring gear 64 is limited within a plane orthogonal to the axis of the reduction gear 23A. Since the displacement is set to be allowed, the ring gear 64 can move in a plane orthogonal to the axis by the gap 74 formed between the engagement slits 71 and the engagement pins 72.
  • the shaft misalignment of the first and second planetary gear mechanisms 61 and 62A can be absorbed, and smooth rotational power can be transmitted by the speed reducer 23A.
  • annular seal member 92 having a diameter larger than the inner periphery of the housing recess 35 is interposed between the brush holder 87 constituting a part of the motor case 83 and the caliper body 26, the minimum This sealing member 92 can prevent water or the like from entering the deceleration chamber 59 and the motor case 83.
  • first support pins 75 are fixed to the first carrier 66, and the first support holes 76 provided in the first planetary gears 65 are first in the first support holes 76.
  • the other end portions of the support pins 75 are inserted, and the annular recess 91 facing the other end portion of each first support pin 75 is a wall surface facing the first planetary gear 65 of the gear case 60A.
  • the first carrier 66 is axially relative to the first planetary gear 65.
  • the length of the first support pins 75 is set long while preventing the other end of the first support pins 75 projecting from the first planetary gears 65 from contacting the inner surface of the gear case 60A. Can be, thereby ensuring first first support pin 75 ... rotational stability takes allowance greatly to the first planetary gear 65 ... of the planetary gears 65 ....
  • the accommodation recess 35 provided in the caliper body 26 is closed when the electric motor 22A is attached to the caliper body 26 to form a part of the deceleration chamber 59, and is opened when the electric motor 22A is detached from the caliper body 26.
  • the speed reducer 23A has an output member 70 that can be engaged with the twelve-angle socket 80 and fixed to the screw shaft 45, and when the speed reduction chamber 59 is opened, the output member 70 is placed in the housing recess 35. Since the electric motor 22A is removed and most of the speed reducer 23A is removed, the twelve-angle socket 80 is engaged with the output member 70 and rotated. It is possible to release the parking brake state by operating the speed reducer on the screw shaft 45 of the screw mechanism 24. It is possible to exert a manual operating force not through the 3A, it is possible to release the parking brake state by a relatively small manual operation amount.
  • the resin brush holder 87 provided in the electric motor 22A is provided with capacitor holding portions 105 for holding capacitors 104 for reducing radio noise. Accordingly, the capacitors 104 are held by the capacitor holding portions 105, so that the capacitors 104 are prevented from being shaken by vibration, and the electrical connection of the capacitors 104 is released, or the terminals 104a of the capacitors 104 ... ..., 104b ... can be prevented from breaking. Further, since the capacitors 104 can be held by the capacitor holding portions 105, it is not necessary to hold the capacitors 104 when the terminals 104a, 104b, etc. of the capacitors 104 are electrically connected, and the assembling workability can be improved. In addition, no adhesive or the like is required for holding the capacitors 104... On the brush holder 87, and the cost can be reduced.
  • the capacitor holding portion 105 is formed along a plane perpendicular to the axis of the electric motor 22A, and a support surface 106 formed on the brush holder 87 so as to abut one surface of the capacitor 104, and the brush holder 87 and has hooks 107 and 108 sandwiching the capacitor 104 between the support surface 106 and the support surface 106, and restricts the movement of the capacitor 104 in a plane perpendicular to the axis of the electric motor 22A.
  • the capacitors 104 can be held in the brush holder 87 with a simple structure.
  • a heat insulating space 121 is disposed between the motor chamber 84 formed in the motor case 83 of the electric motor 22A and the speed reduction chamber 59 that accommodates the speed reducer 23A so that at least a part of the caliper body 26 is formed. Therefore, heat transfer from the electric motor 22A to the speed reducer 23A can be suppressed, and even if the parts constituting the speed reducer 23A are made of synthetic resin, thermal deformation and strength reduction can be suppressed.
  • the heat insulation is provided on the brush holder 87 that constitutes a part of the motor case 83 and is interposed between the motor chamber 84 and the speed reduction chamber 59 so as to be fastened to the caliper body 26 around the open end of the housing recess 35. Since the heat insulation space recess 122 for forming the space 121 is provided, it is possible to reduce the weight of the brush holder 87 and thus the motor case 83 while forming the heat insulation space 121, and further reduce the cost by reducing the material. Can be achieved.
  • a ball bearing with a seal for preventing the inflow of grease from the deceleration chamber 59 to the motor chamber 84 is provided between the cover member 88 constituting a part of the motor case 83 in the electric motor 22A and the motor shaft 95. 97 is interposed, but a communication path 123 connecting the speed reduction chamber 59 and the motor chamber 84 is formed in the outer peripheral portion of the motor case 83, so that a pressure difference is generated between the speed reduction chamber 59 and the motor chamber 84. There is no need to increase the sealing accuracy near the ball bearing 97 with seal interposed between the motor shaft 95 and the cover member 88, or to add another seal part.
  • the brush holder 87 is provided with a fitting holding cylinder 103 slidably holding a brush 102 slidably contacting a commutator 98 provided on the motor shaft 95 so as to face the motor chamber 84, and a yoke in the motor case 83.
  • a cylindrical portion 87a that is disposed outside the fitting holding cylinder 103 along the radial direction of the 86 and is opposed to the inner periphery of the open end of the yoke 86 is integrally provided.
  • the inner periphery of the open end of the yoke 86 and the cylindrical portion 87a are integrally provided.
  • the brush holder 87 is integrally provided with a coupler portion 87b for supplying power to the electric motor 22A so as to protrude outward, and the motor chamber 84 is communicated to the outside through the coupler portion 87b. Since the external communication path 128 is provided in the brush holder 87, the movement of the grease can be prevented by setting the motor chamber 84 and the deceleration chamber 59 to the same pressure as the external pressure. In addition, since an external connector is connected to the coupler portion 87b, water, dust and the like do not enter the motor chamber 84 from the external communication path 128.
  • this electric brake device for a vehicle is connected to a disc brake 21B, an electric motor 22B that can be rotated in forward and reverse directions attached to a caliper body 26 of the disc brake 21B, and the electric motor 22B.
  • a speed reducer 23B and a screw mechanism 24 provided between the brake piston 38 of the disc brake 21B and the speed reducer 23B so as to convert the rotational motion output from the speed reducer 23B into an axial forward / backward motion.
  • the disc brake 21B includes a disc rotor 25B and a pair of friction pads 27 and 28 that are arranged to face both side surfaces of the disc rotor 25B and are arranged between the disc rotor 25B and the caliper body 26.
  • a motor case 137 of the electric motor 22B is attached to the housing portion 26a of the caliper body 26 so as to close the open end of the accommodating recess 35, and a gear case constituted by the motor case 137 and the caliper body 26.
  • a reduction chamber 133 formed at least in part by the accommodation recess 35 is formed in 60B, and the reduction gear 23B is accommodated in the reduction chamber 133.
  • the screw shaft 45 of the screw mechanism 24 is integrally provided with a flange portion 45b that faces the partition wall 36 of the caliper body 26, and a fitting ring 56 provided in the flange portion 45b has a flat ring shape.
  • the sliding bearing 54 is fitted, and a washer 55 is interposed between the sliding bearing 54 and the partition wall 36.
  • the speed reducer 23B is provided with a first planetary gear mechanism 61 and a second planetary gear mechanism 62B between the motor shaft 95 of the electric motor 22B and the connecting shaft portion 45a of the screw shaft 45 in the screw mechanism 24. It is made up of.
  • the first planetary gear mechanism 61 includes a first sun gear 63 provided on the motor shaft 95, a ring gear 64 fixed to the gear case 60B, the ring gear 64 and A first carrier 66 that rotatably supports a plurality of, for example, three first planetary gears 65 meshed with the first sun gear 63, and the second planetary gear mechanism 62 ⁇ / b> B is disposed on the inner periphery of the first carrier 66.
  • the second sun gear 67 meshed with the outer periphery, the ring gear 64 common to the first planetary gear mechanism 61, and a plurality of, for example, three second planetary gears 68 meshed with the ring gear 64 and the second sun gear 67.
  • a second carrier 69B that is rotatably supported.
  • the ring gear 64 common to the first and second planetary gear mechanisms 61 and 62B is fixed to the gear case 60B with the same structure as that of the first embodiment. That is, the ring gear 64 having a plurality of engagement slits 71 at the end opposite to the electric motor 22B includes a lid member 141 constituting a part of the motor case 137 of the electric motor 22B, and a partition wall of the caliper body 26. 36 is inserted into the deceleration chamber 133 so as to be restricted in axial movement, and an end of the ring gear 64 opposite to the electric motor 22B is engaged with an engagement pin 72 provided on the partition wall 36. By being inserted into the slits 71...
  • the opening end of the accommodating recess 35 in the caliper body 26 is closed by the lid member 141 constituting a part of the motor case 137. Accordingly, the ring gear 64 in the speed reducer 23B is restricted from moving in the circumferential direction by being engaged with the partition wall 36 of the caliper body 26, so that the axial movement is restricted by the partition wall 36 and the lid member 141. By doing so, it is substantially fixed to the gear case 60B.
  • first planetary gear mechanism 61 In the first planetary gear mechanism 61, the other ends of the first support pins 75, one end of which is fixed to the first carrier 66, are inserted into first support holes 76 provided in the first planetary gears 65, respectively. Is done. Moreover, the first planetary gear 65... Is opposed to a lid member 141 in the motor case 137 that constitutes a part of the gear case 60B.
  • the lid member 141 is provided with an annular recess 134 for each first support. It is formed so as to face the other end of the pins 75.
  • the second planetary gears 68 mesh with the outer periphery of the half of the second sun gear 67 on the side opposite to the electric motor 22B.
  • the second planetary gears 68 are arranged in the circumferential direction of the second carrier 69B formed in a flat ring shape.
  • a second support hole 78 provided at the center of the second planetary gears 68 is provided at the other end of the second support pins 77 with one end fixed by press-fitting or the like at a plurality of spaced intervals, for example, three locations. Are inserted respectively.
  • the end of the connecting shaft 45a that is coaxially and integrally connected to the screw shaft 45 in the screw mechanism 24 is inserted into the reduction chamber 133, and the end of the connecting shaft 45a is The second carrier 69B is press-fitted directly and coaxially into a press-fit hole 135 provided in the central portion.
  • the accommodation recess 35 provided in the caliper body 26 so as to constitute at least a part of the deceleration chamber 133 is opened.
  • the speed reducer 23B can be disassembled leaving the second carrier 69B press-fitted with the connecting shaft portion 45a integrally connected to the screw shaft 45 of the screw mechanism 24 in the housing recess 35, and left behind.
  • the second carrier 69B is provided with a plurality of engagement holes 136, which are formed in a non-circular cross section so that the tool for rotation operation can be engaged.
  • the motor case 137 of the electric motor 22B has a motor chamber 138 formed therein and is attached to the housing portion 26a of the caliper body 26.
  • a flange portion 139a projecting outward in the radial direction is integrated with an opening end portion.
  • a synthetic resin lid member 141 that closes the open end of the yoke 139 is formed.
  • the bearing holder 140 is formed by bending a metal plate, and includes a cylindrical bearing housing portion 140a and a disc portion 140b extending outward from the bearing housing portion 140a. A plurality of locations on the outer peripheral portion of 140b are caulked and coupled to the inner peripheral portion of the open end of the yoke 139.
  • the lid member 141 is formed in a disk shape so as to be able to close the accommodating recess 35 provided in the caliper body 26, and a plurality of lid members 141 are spaced apart in the circumferential direction of the outer periphery thereof.
  • a lid member main portion 141a in which concave portions 142 are formed at locations, and a coupler portion 141b that protrudes outward from the lid member main portion 141a for feeding power to the electric motor 22B are integrally formed of a synthetic resin.
  • a deceleration chamber 133 is formed between the caliper body 26 and sandwiched between the caliper body 26 and the flange portion 139a. The flange portion 139a and the flange portion 139a are fastened together by a plurality of bolts 143.
  • a lid member 141 is fastened to the caliper body 26.
  • a cylindrical collar 144 through which the bolts 143 are inserted is disposed between a plurality of boss portions 141c, and the boss portions 141c.
  • the concave portions 142 are formed, and the inner ends of the boss portions 141c along the radial direction of the lid member main portion 141a communicate with the concave portions 142 on both sides of the boss portions 141c.
  • the lightening communication holes 145 are formed.
  • a heat insulating space recess 147 is provided on one of the surface on the electric motor 22B side and the surface on the speed reducer 23B side of the lid member main portion 141a, or in the surface of the lid member main portion 141a on the electric motor 22B side in the second embodiment.
  • the motor case 137 is provided with a recessed portion 147 for the heat insulating space of the lid member main portion 141a and a metal bearing holder 140 disposed at the opening end of the yoke 139 so as to cover the recessed portion 147 for the heat insulating space.
  • a heat insulating space 146 is formed between the motor chamber 138 and the deceleration chamber 133 formed therein.
  • a plurality of ribs 148 which are arranged in the recesses 142, are integrally provided.
  • the motor shaft 95 of the electric motor 22B is rotatably supported by the motor case 137, and one end of the motor shaft 95 is inserted into a bearing housing 139b provided at the central portion of the closed end of the yoke 139 via a ball bearing 96.
  • the other end portion of the motor shaft 95 passes through the bearing holder 140 and the lid member 141 so as to be rotatable and enters the speed reduction chamber 133, and the other end portion of the motor shaft 95 is inserted into the speed reduction chamber 133.
  • a first sun gear 63 is engraved on the outer periphery, and a ball bearing 97 with a seal is interposed between the bearing housing part 140 a of the bearing holder 140 and the motor shaft 95.
  • the motor shaft 95 is provided with an armature 99 having a commutator 98, and a plurality of magnets 100, 100... Are fixed to the inner periphery of the yoke 139 at a portion corresponding to the armature 99.
  • a brush holder 152 is fixedly supported on the inner surface side of the bearing holder 140, and a brush (not shown) slidably supported by the brush holder 152 is in sliding contact with the commutator 98.
  • An annular seal member 92 having a larger diameter than the inner periphery of the housing recess 35 is interposed between the housing portion 26a of the caliper body 26 and the lid member 141, and the flange portion 139a and the lid member 141 of the yoke 139 are interposed.
  • the fitting recess 56 is formed on the surface of the flange 45b of the screw shaft 45 facing the partition wall 36, and the flat ring-shaped slide bearing 54 is fitted into the fitting recess 56. Therefore, the sliding bearing 54 can be attached to the flange portion 45b for easy assembly, and the space between the flange portion 45b of the screw shaft 45 and the partition wall 36 of the caliper body 26. The distance can be set short, which can contribute to shortening the axial length of the electric brake device.
  • the speed reducer 23B includes a second carrier 69B that is coaxial with the screw shaft 45, and the end of the connecting shaft portion 45a that the screw shaft 45 is integral with and coaxial with the second carrier 69B is coaxially and directly press-fitted. Therefore, the axial displacement of the screw shaft 45 with respect to the second carrier 69B can be prevented, and it is not necessary to form the outer periphery of the end portion of the screw shaft 45, that is, the outer periphery of the connecting shaft portion 45a, so that the number of processing steps can be reduced. Can be reduced.
  • the reduction device 23B is a two-stage planetary gear type reduction device in which first and second planetary gear mechanisms 61 and 62B are provided between the motor shaft 95 of the electric motor 22B and the screw shaft 45 of the screw mechanism 24.
  • the first planetary gear mechanism 61 includes a first sun gear 63 provided on the motor shaft 95, a ring gear 64 fixed to the gear case 60B, the ring gear 64, and the like.
  • a first carrier 66 rotatably supporting a plurality of first planetary gears 65 meshing with the first sun gear 63, and the second planetary gear mechanism 62B is meshed with the inner periphery of the first carrier 66.
  • a second carrier 69B to freely supported.
  • the ring gear 64 that is common to the first and second planetary gear mechanisms 61 and 62B is fixed to the gear case 60B. Therefore, the bearing member is interposed between the ring gear 64 and the gear case 60B. There is no need, and accordingly, the number of parts can be reduced and the gear case 60B can be reduced in size. Moreover, since the inner periphery of the first carrier 66 of the first planetary gear mechanism 61 is meshed with the outer periphery of the second sun gear 67 in the second planetary gear mechanism 62B, the second sun gear 67 is press-fitted into the first carrier 66.
  • a reduction chamber 133 for accommodating the reduction gear 23B is formed between the motor case 137 of the electric motor 22B attached to the caliper body 26 so as to close the accommodation recess 35 provided in the caliper body 26 and the caliper body 26.
  • the ring gear 64 is inserted into the speed reduction chamber 133 so that the axial movement is prevented by the lid member 141 and the caliper body 26 constituting a part of the motor case 137, and the electric motor 22B of the ring gear 64 is Since the opposite end is engaged with the caliper body 26 so as to restrict the rotation of the ring gear 64 around the axis, the ring gear 64 that is common to the first and second planetary gear mechanisms 61 and 62B. Can be substantially fixed to the caliper body 26.
  • engagement slits 71 are provided at a plurality of locations in the circumferential direction at the end of the ring gear 64 opposite to the electric motor 22B, and the engagement pins 72 inserted into the engagement slits 71 are caliper bodies. 26, the number of parts for substantially fixing the ring gear 64 to the caliper body 26 can be reduced, and the engagement slits 71 can be formed by simply inserting the ring gear 64 into the reduction chamber 59. Since the engagement pins 72 are inserted, the ring gear 64 can be easily assembled.
  • annular seal member 92 having a larger diameter than the inner periphery of the housing recess 35 is interposed between the lid member 141 constituting a part of the motor case 137 and the caliper body 26. This sealing member 92 can prevent water and the like from entering the deceleration chamber 133 and the motor case 137.
  • first planetary gear mechanism 61 one end portions of a plurality of first support pins 75 are fixed to the first carrier 66, and the first support holes 76 provided in the first planetary gears 65 are first in the first support holes 76.
  • the other end portions of the support pins 75 are inserted, and the annular recess 134 facing the other end portions of the first support pins 75 is formed on the wall surface facing the first planetary gear 65 of the gear case 60B.
  • the lid member 141 that forms part of the motor case 137 that constitutes the gear case 60B together with the caliper body 26 is formed on the lid member 141, so that the first carrier 66 moves relative to the first planetary gears 65 in the axial direction.
  • the length of the first support pins 75 can be set long while preventing the other end of the first support pins 75 protruding from the one planetary gear 65 from coming into contact with the inner surface of the gear case 60B. Come, thereby ensuring first first support pin 75 ... rotational stability takes allowance greatly to the first planetary gear 65 ... of the planetary gears 65 ....
  • the accommodation recess 35 provided in the caliper body 26 is closed when the electric motor 22B is attached to the caliper body 26 to form a part of the deceleration chamber 133, and is opened when the electric motor 22B is detached from the caliper body 26.
  • the speed reducer 23B includes a second carrier 69B that is fixed to the screw shaft 45 so as to be provided with a plurality of engagement holes 136 that can be engaged with the rotary operation tool. When opened, the second carrier 69B remains in the receiving recess 35 and can be disassembled so that the second carrier 69B is housed in the speed reduction chamber 133. Therefore, the second motor 69B is removed while the electric motor 22B is removed and most of the speed reducer 23B is removed.
  • the parking brake state can be released by engaging and rotating the tool for rotation operation with the carrier 69B.
  • a heat insulating space 146 is provided between the motor chamber 138 formed in the motor case 137 of the electric motor 22B and the speed reduction chamber 133 that accommodates the speed reducer 23B so that at least a part of the caliper body 26 is formed. Since it is arranged, heat transfer from the electric motor 22B to the speed reducer 23B can be suppressed, and even if the parts constituting the speed reducer 23B are made of synthetic resin, the thermal deformation and strength reduction can be suppressed. it can.
  • the heat insulation is formed on the lid member 141 that constitutes a part of the motor case 137 and is interposed between the motor chamber 138 and the speed reduction chamber 133 so as to be fastened to the caliper body 26 around the opening end of the housing recess 35. Since the heat insulation space recess 147 for forming the space 146 is provided, it is possible to reduce the weight of the lid member 141 and thus the motor case 137 while forming the heat insulation space 146, and further reduce the cost by reducing the material. Can be achieved.
  • the lid member 141 includes a lid member main portion 141a formed in a disc shape so as to close the accommodating recess 35 provided in the caliper body 26, and the lid member main portion 141a for supplying power to the electric motor 22B.
  • a coupler portion 141b protruding outward from the outer periphery of the lid member main portion 141a, and a plurality of cylindrical collars 144 through which bolts 143 are inserted are embedded.
  • the inner ends of the boss portions 141c along the radial direction of the lid member main portion 141a are Are formed on the opposite sides of the boss portions 141c of the boss portions 141c of the boss portions 141c. It can be achieved down. Moreover, even if water from the outside enters the recess 142, which is located at the upper position when the vehicle is mounted, the water can flow to the lower recess 142 side through the lightening communication hole 145, and water is accumulated in the recess 142. This can prevent the surrounding parts from being rusted and prevent the lid member 141 from being deteriorated in durability.
  • a plurality of ribs 148 arranged in the recesses 142 are integrally provided on the outer periphery of the lid member main part 141a, it is possible to prevent the strength of the lid member 141 from being lowered due to the formation of the recesses 142. it can.

Landscapes

  • Engineering & Computer Science (AREA)
  • General Engineering & Computer Science (AREA)
  • Power Engineering (AREA)
  • Mechanical Engineering (AREA)
  • Braking Arrangements (AREA)
  • Retarders (AREA)
  • General Details Of Gearings (AREA)
PCT/JP2011/054277 2010-03-03 2011-02-25 車両用電動ブレーキ装置 Ceased WO2011108450A1 (ja)

Priority Applications (1)

Application Number Priority Date Filing Date Title
CN201180007087.XA CN102762883B (zh) 2010-03-03 2011-02-25 车辆用电动制动装置

Applications Claiming Priority (2)

Application Number Priority Date Filing Date Title
JP2010046601A JP5292338B2 (ja) 2010-03-03 2010-03-03 車両用電動ブレーキ装置
JP2010-046601 2010-03-03

Publications (2)

Publication Number Publication Date
WO2011108450A1 true WO2011108450A1 (ja) 2011-09-09
WO2011108450A9 WO2011108450A9 (ja) 2012-11-01

Family

ID=44542103

Family Applications (1)

Application Number Title Priority Date Filing Date
PCT/JP2011/054277 Ceased WO2011108450A1 (ja) 2010-03-03 2011-02-25 車両用電動ブレーキ装置

Country Status (3)

Country Link
JP (1) JP5292338B2 (enExample)
CN (1) CN102762883B (enExample)
WO (1) WO2011108450A1 (enExample)

Cited By (4)

* Cited by examiner, † Cited by third party
Publication number Priority date Publication date Assignee Title
CN107250593A (zh) * 2015-02-16 2017-10-13 株式会社美姿把 制动用致动器及制动装置
CN109488731A (zh) * 2017-09-12 2019-03-19 日本电产科宝株式会社 齿轮马达
DE102017129378B4 (de) * 2017-12-11 2020-01-16 Schaeffler Technologies AG & Co. KG Hohlradanordnung für ein Umlaufrädergetriebe
WO2020245534A1 (fr) * 2019-06-04 2020-12-10 Foundation Brakes France Réducteur épicycloïdal comprenant au moins une pièce de transmission d'effort axial formant un chemin d'effort radialement excentré

Families Citing this family (5)

* Cited by examiner, † Cited by third party
Publication number Priority date Publication date Assignee Title
WO2014069536A1 (ja) * 2012-11-05 2014-05-08 住友重機械工業株式会社 ショベル
FR3057924B1 (fr) * 2016-10-25 2019-08-30 Foundation Brakes France Etrier de frein avec compression axiale d'un joint d'etancheite entre un carter d'actionneur et un corps d'etrier
KR20210074949A (ko) * 2019-12-12 2021-06-22 주식회사 만도 캘리퍼 브레이크용 액츄에이터
JP2022094800A (ja) * 2020-12-15 2022-06-27 株式会社 神崎高級工機製作所 モータ減速機
JP7702227B2 (ja) * 2021-03-01 2025-07-03 曙ブレーキ工業株式会社 トルク分配アセンブリを有するブレーキシステム

Citations (6)

* Cited by examiner, † Cited by third party
Publication number Priority date Publication date Assignee Title
JPS62228737A (ja) * 1986-03-27 1987-10-07 Oide Shigetaka 遊星歯車装置のケ−シング取付構造
JPH11152052A (ja) * 1997-11-21 1999-06-08 Unisia Jecs Corp パワーステアリング装置
JP2005147170A (ja) * 2003-11-11 2005-06-09 Honda Motor Co Ltd 電動ブレーキ装置
JP2006153074A (ja) * 2004-11-26 2006-06-15 Ntn Corp 電動式ブレーキ装置
JP2007085541A (ja) * 2005-09-22 2007-04-05 Mando Corp 駐車機能を備えたディスクブレーキ
JP2008240877A (ja) * 2007-03-27 2008-10-09 Nissin Kogyo Co Ltd 車両用ディスクブレーキ

Patent Citations (6)

* Cited by examiner, † Cited by third party
Publication number Priority date Publication date Assignee Title
JPS62228737A (ja) * 1986-03-27 1987-10-07 Oide Shigetaka 遊星歯車装置のケ−シング取付構造
JPH11152052A (ja) * 1997-11-21 1999-06-08 Unisia Jecs Corp パワーステアリング装置
JP2005147170A (ja) * 2003-11-11 2005-06-09 Honda Motor Co Ltd 電動ブレーキ装置
JP2006153074A (ja) * 2004-11-26 2006-06-15 Ntn Corp 電動式ブレーキ装置
JP2007085541A (ja) * 2005-09-22 2007-04-05 Mando Corp 駐車機能を備えたディスクブレーキ
JP2008240877A (ja) * 2007-03-27 2008-10-09 Nissin Kogyo Co Ltd 車両用ディスクブレーキ

Cited By (8)

* Cited by examiner, † Cited by third party
Publication number Priority date Publication date Assignee Title
CN107250593A (zh) * 2015-02-16 2017-10-13 株式会社美姿把 制动用致动器及制动装置
EP3260724A4 (en) * 2015-02-16 2019-01-16 Mitsuba Corporation ACTUATOR FOR BRAKE AND BRAKING DEVICE
US10344813B2 (en) 2015-02-16 2019-07-09 Mitsuba Corporation Brake actuator and brake apparatus
CN109488731A (zh) * 2017-09-12 2019-03-19 日本电产科宝株式会社 齿轮马达
DE102017129378B4 (de) * 2017-12-11 2020-01-16 Schaeffler Technologies AG & Co. KG Hohlradanordnung für ein Umlaufrädergetriebe
WO2020245534A1 (fr) * 2019-06-04 2020-12-10 Foundation Brakes France Réducteur épicycloïdal comprenant au moins une pièce de transmission d'effort axial formant un chemin d'effort radialement excentré
FR3097023A1 (fr) * 2019-06-04 2020-12-11 Foundation Brakes France Réducteur épicycloïdal comprenant au moins une pièce de transmission d’effort axial formant un chemin d’effort radialement excentré
US12049953B2 (en) 2019-06-04 2024-07-30 Hitachi Astemo France Epicyclic step-down gear comprising at least one axial force transmission component which forms a radially eccentric force path

Also Published As

Publication number Publication date
JP5292338B2 (ja) 2013-09-18
WO2011108450A9 (ja) 2012-11-01
CN102762883B (zh) 2015-06-24
JP2011179652A (ja) 2011-09-15
CN102762883A (zh) 2012-10-31

Similar Documents

Publication Publication Date Title
JP5292338B2 (ja) 車両用電動ブレーキ装置
JP2011179658A (ja) 車両用電動ブレーキ装置
CN111902650B (zh) 盘式制动器以及行星齿轮减速机构
US7779971B2 (en) Vehicular disk brake
CN100396951C (zh) 车辆用盘式制动器
JP6352202B2 (ja) ブレーキ用アクチュエータおよびブレーキ装置
JP2008064314A (ja) 車両用電動ディスクブレーキ
JP2011179655A (ja) 車両用電動ブレーキ装置
JP6382116B2 (ja) ブレーキ用アクチュエータおよびブレーキ装置
JP2011179657A (ja) 車両用電動ブレーキ装置
JP2007040459A (ja) 車両用ディスクブレーキ
JP2011179653A (ja) 2段遊星ギヤ式減速機
JP2011179650A (ja) 動力伝達装置
JP6624996B2 (ja) アクチュエータ
JP2011179656A (ja) 車両用電動ブレーキ装置
JP2011179649A (ja) 2段遊星ギヤ式減速機
JP2011179654A (ja) 車両用電動ブレーキ装置
JP2011179651A (ja) 車両用電動ブレーキ装置
JP4767891B2 (ja) 車両用ディスクブレーキ
CN223635201U (zh) 一种电子机械制动装置和车辆
JP4608389B2 (ja) 車両用電動ディスクブレーキ
JP2017096325A (ja) 遊星歯車機構およびそれを備えたアクチュエータ
JP4608390B2 (ja) 車両用ディスクブレーキ
JP4602188B2 (ja) 車両用電動ディスクブレーキ
JP2008240870A (ja) 車両用ディスクブレーキ

Legal Events

Date Code Title Description
WWE Wipo information: entry into national phase

Ref document number: 201180007087.X

Country of ref document: CN

121 Ep: the epo has been informed by wipo that ep was designated in this application

Ref document number: 11750560

Country of ref document: EP

Kind code of ref document: A1

NENP Non-entry into the national phase

Ref country code: DE

122 Ep: pct application non-entry in european phase

Ref document number: 11750560

Country of ref document: EP

Kind code of ref document: A1