WO2010125921A1 - 発光表示装置 - Google Patents
発光表示装置 Download PDFInfo
- Publication number
- WO2010125921A1 WO2010125921A1 PCT/JP2010/056732 JP2010056732W WO2010125921A1 WO 2010125921 A1 WO2010125921 A1 WO 2010125921A1 JP 2010056732 W JP2010056732 W JP 2010056732W WO 2010125921 A1 WO2010125921 A1 WO 2010125921A1
- Authority
- WO
- WIPO (PCT)
- Prior art keywords
- emitting display
- light emitting
- light
- panel
- display device
- Prior art date
- Legal status (The legal status is an assumption and is not a legal conclusion. Google has not performed a legal analysis and makes no representation as to the accuracy of the status listed.)
- Ceased
Links
Images
Classifications
-
- G—PHYSICS
- G09—EDUCATION; CRYPTOGRAPHY; DISPLAY; ADVERTISING; SEALS
- G09F—DISPLAYING; ADVERTISING; SIGNS; LABELS OR NAME-PLATES; SEALS
- G09F9/00—Indicating arrangements for variable information in which the information is built-up on a support by selection or combination of individual elements
- G09F9/30—Indicating arrangements for variable information in which the information is built-up on a support by selection or combination of individual elements in which the desired character or characters are formed by combining individual elements
- G09F9/301—Indicating arrangements for variable information in which the information is built-up on a support by selection or combination of individual elements in which the desired character or characters are formed by combining individual elements flexible foldable or roll-able electronic displays, e.g. thin LCD, OLED
-
- H—ELECTRICITY
- H10—SEMICONDUCTOR DEVICES; ELECTRIC SOLID-STATE DEVICES NOT OTHERWISE PROVIDED FOR
- H10K—ORGANIC ELECTRIC SOLID-STATE DEVICES
- H10K50/00—Organic light-emitting devices
- H10K50/80—Constructional details
- H10K50/86—Arrangements for improving contrast, e.g. preventing reflection of ambient light
- H10K50/865—Arrangements for improving contrast, e.g. preventing reflection of ambient light comprising light absorbing layers, e.g. light-blocking layers
-
- H—ELECTRICITY
- H10—SEMICONDUCTOR DEVICES; ELECTRIC SOLID-STATE DEVICES NOT OTHERWISE PROVIDED FOR
- H10K—ORGANIC ELECTRIC SOLID-STATE DEVICES
- H10K59/00—Integrated devices, or assemblies of multiple devices, comprising at least one organic light-emitting element covered by group H10K50/00
- H10K59/10—OLED displays
- H10K59/18—Tiled displays
-
- H—ELECTRICITY
- H10—SEMICONDUCTOR DEVICES; ELECTRIC SOLID-STATE DEVICES NOT OTHERWISE PROVIDED FOR
- H10K—ORGANIC ELECTRIC SOLID-STATE DEVICES
- H10K59/00—Integrated devices, or assemblies of multiple devices, comprising at least one organic light-emitting element covered by group H10K50/00
- H10K59/80—Constructional details
- H10K59/8791—Arrangements for improving contrast, e.g. preventing reflection of ambient light
- H10K59/8792—Arrangements for improving contrast, e.g. preventing reflection of ambient light comprising light absorbing layers, e.g. black layers
Definitions
- the present invention relates to a light emitting display device having a curved display surface.
- a light-emitting display device including an organic EL panel in which an organic EL element, which is a self-luminous element, is formed on a support substrate has less viewing angle dependency than a liquid crystal display device, has a higher contrast ratio, and is thinner.
- a next-generation light-emitting display device research and development have been conducted in various places because of the advantages such as being possible.
- a display device having a curved display surface is desired for the purpose of improving the degree of freedom of installation location and the merchantability.
- a method for realizing a light-emitting display device having a curved display surface a method of bending and attaching a flexible organic EL panel to a base material having a curved surface has been known.
- a method of using a flexible resin substrate for the support substrate and the sealing plate see, for example, Patent Document 1
- a support substrate and a sealing plate made of a glass material are made extremely thin to 50 ⁇ m to 100 ⁇ m, respectively.
- a method see, for example, Patent Document 2.
- the above-described method requires high technology for film formation on the resin substrate and ultrathinning of the glass substrate, and cannot be easily manufactured.
- the flexible resin substrate has many properties that allow a gas such as moisture and oxygen to pass therethrough and has a difficulty in life, and a gas barrier layer needs to be formed as a countermeasure to increase the production process.
- a gas barrier layer needs to be formed as a countermeasure to increase the production process.
- life and productivity There were still problems with life and productivity.
- the method of making the glass substrate extremely thin has a problem that the risk of glass breakage is very high and handling is very difficult, so that the yield is low and it cannot be easily mass-produced. Therefore, there is room for further improvement in order to make it easier to manufacture a light emitting display device having a curved display surface.
- the present invention has been made in view of the above-described problems, and an object of the present invention is to provide a light-emitting display device that can easily manufacture a light-emitting display device having a curved display surface with high yield.
- the present invention includes a curved light-transmitting base material and a flat light emitting display panel, and the light emitting display panel is disposed and fixed on the curved surface of the base material. It is characterized by.
- a plurality of the light emitting display panels are arranged side by side on the curved surface.
- the outer peripheral portion on the display surface side of the light emitting display panel is attached to the curved surface through an adhesive member.
- the adhesive member is light-shielding.
- an end face light shielding member that covers at least the end face of the light emitting display EL panel is disposed on the side of the light emitting display panel.
- a back light-shielding member that covers at least the back surface of the light emitting display panel is disposed on the rear side of the base material.
- a light shielding layer is formed at least on the curved surface where the light emitting display panel is not disposed.
- the light shielding layer is formed of a color having a color difference ⁇ Eab in the Lab color system of 3 or less ( ⁇ Eab ⁇ 3) with respect to the color of the display surface when the light emitting display panel is not displayed. .
- a portion of the curved surface that faces the light emitting display panel through the space or a portion of the light emitting display panel that faces the curved surface through the space is subjected to a matting process with a haze degree of 10% or less. It is characterized by becoming.
- the light-emitting display panel is characterized by comprising an organic EL panel formed by laminating a functional layer including at least an organic light-emitting layer between a pair of electrodes on a support substrate.
- the light-emitting display panel has a shape that extends in a direction in which the base material does not curve, and a plurality of the light-emitting display panels are arranged along the curved surface of the base material.
- the light emitting display panels are arranged such that the distance between them is 10 mm or less.
- the present invention relates to a light-emitting display device having a curved display surface, and can be manufactured easily and with a high yield.
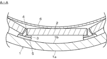
- the perspective view which shows the light emission display apparatus which is embodiment of this invention The expanded sectional view which shows a light emission display apparatus same as the above.
- a light emitting display device includes a curved substrate 1, a plurality of organic EL panels (light emitting display panels) 2, an adhesive member 3, an end face light shielding member 4, A masking layer (light shielding layer) 5 and a rear light shielding member 6 are provided, and a plurality of organic EL panels 2 are disposed and fixed on the curved surface of the base 1.
- the base material 1 is made of a light-transmitting resin material, and the display surface 1a directed to the user and the back surface 1b thereof are curved surfaces curved with a predetermined curvature.
- the base material 1 may be transparent as long as the display light from the organic EL panel 1 is transmitted.
- the base material 1 may be transparent or colored or translucent such as smoke. When the substrate 1 is colored, the light transmittance is appropriately about 5 to 50%.
- the organic EL panel 2 includes an organic EL element formed by laminating a translucent first electrode 22, a functional layer 23, and a second electrode 24 on a support substrate 21.
- the light transmitted through the first electrode 22 is extracted with the support substrate 21 side as the light emitting display surface (front surface).
- a substantially concave sealing member 25 that covers the organic EL element is bonded to the support substrate 21.
- the support substrate 21 is a translucent glass substrate having a rectangular shape.
- the first electrode 22 is formed by layering a light-transmitting conductive material such as ITO (Indium Tin Oxide) on the support substrate 1 by a sputtering method or the like, and patterning it into a predetermined shape by a photolithography method, for example. Become.
- the first electrode 22 serves as an anode, and holes are injected into the functional layer 23.
- the functional layer 23 is formed on the first electrode 22 and includes a plurality of layers having at least an organic light emitting layer.
- the functional layer 23 includes a hole injection layer, a hole transport layer, a first organic light emitting layer, a second organic light emitting layer, a first electron transport layer, a second electron transport layer, and an electron injection layer.
- the layers are sequentially formed by means such as vapor deposition.
- the second electrode 24 is an electrode disposed on the side facing the light emitting display surface, and a low-resistance conductive material such as aluminum (Al) or magnesium silver (Mg: Ag) is deposited by means such as vapor deposition. It is formed by laminating in the form of a layer having a thickness of about 50 to 200 nm.
- a low-resistance conductive material such as aluminum (Al) or magnesium silver (Mg: Ag) is deposited by means such as vapor deposition. It is formed by laminating in the form of a layer having a thickness of about 50 to 200 nm.
- the sealing member 25 is bonded to the support substrate 21 via an adhesive (not shown), and is formed by, for example, flat glass having a substantially concave shape by a processing method such as cutting or etching.
- the sealing member 25 covers the organic EL element together with the support substrate 21, and suppresses deterioration of the organic EL element due to moisture or the like. Note that a hygroscopic agent that adsorbs moisture may be disposed in the space covered by the sealing member 25.
- the adhesive member 3 is made of, for example, a photocuring type, a thermosetting type or an anaerobic adhesive. In addition, an adhesive material such as silicone or a tape with an adhesive material may be used.
- the adhesive member 3 is applied, filled, or arranged between the outer peripheral portion on the display surface side of the organic EL panel 2 (non-light emitting portion surrounding the light emitting display portion) and the back surface 1b of the base material 1, and the organic EL panel 2 is used as the base material 1 is fixed to the back surface 1b.
- the adhesive member 3 is desirably light-shielding (light-impermeable) in order to prevent light from the organic EL panel 2 from leaking to the surroundings, and desirably contains a black material. .
- the end face light shielding member 4 is made of, for example, the same light shielding material as that of the adhesive member 3 and is provided so as to cover the end face of each organic EL panel 2.
- the end face light shielding member 4 is for preventing light leakage from the end face of each organic EL panel 2.
- attain to the end surface of each organic EL panel 2, and serves as the function of an end surface light shielding member may be sufficient.
- the masking layer 5 is composed of a light-shielding printing layer formed at least on the back surface 1b of the base material 1 where the organic EL panel 2 is not disposed.
- the masking layer 5 is formed by printing an opaque resin material.
- the masking layer 5 is formed on the display surface side outer peripheral portion of each organic EL panel 2 on the back surface 1 b of the substrate 1, on a portion facing the organic EL panel 2 and a portion not facing the organic EL panel 2.
- the display light from the organic EL panel 2 is prevented from leaking from the periphery of the light emitting display unit to the outside.
- the masking layer 5 is uniform in color with the color of the light emitting display surface of the organic EL panel 1 (or the color of the polarizing plate when a polarizing plate is provided).
- the masking layer 5 is formed by forming the masking layer 5 with a material having a color difference ⁇ Eab in the Lab color system of 3 or less ( ⁇ Eab ⁇ 3) with respect to the color of the organic EL panel 1 when not displayed. 5 and the color difference between the organic EL panel 2 and the light emitting display surface, that is, the boundary portion between the place where the organic EL panel 2 is disposed and the place where the organic EL panel 2 is not disposed on the substrate 1 is not recognized by the user. Is preferred.
- the back light shielding member 6 is provided on the rear side of the base material 1 and is made of a black film with an adhesive material, a light shielding paste, a light shielding paint, or the like. Although the back surface light shielding member 6 should just cover the back surface of each organic EL panel 1 at least, in this embodiment, it is formed so that the back surface 1b whole of the base material 1 may be covered.
- a light-emitting display device is constituted by the above-described parts.
- the location where the light emission display part of the back surface 1b of the base material 1 and the display surface of the organic electroluminescent panel 2 is located becomes a structure through a space (gap), depending on the distance of both Newton rings may occur.
- mat processing with a haze degree of 10% or less is preferable because it can prevent the generation of Newton rings and maintain the sharpness of display.
- Such a light-emitting display device is visually recognized by the user so that a light-emitting display image obtained by each organic EL panel 2 appears on the display surface 1a of the substrate 1 which is a curved surface. Further, by using the flat organic EL panel 2, the organic EL panel is less prone to problems such as lifetime, productivity, and yield reduction as compared with the conventional method using a flexible organic EL panel, and it is easy and yield.
- a light-emitting display device having a well-curved display surface can be manufactured.
- the flat organic EL panel 2 can be satisfactorily arranged on the back surface 1b which is a curved surface. It can be fixed. Further, by making the adhesive member 3 light-shielding, it is possible to prevent light from leaking to the surroundings and improve display quality.
- end face light shielding member 4 that covers the end face of the organic EL panel on the side of the organic EL panel 2
- light leakage from the end face can be prevented and display quality can be improved.
- the rear light-shielding member 6 that covers at least the rear surface of the organic EL panel 2 on the rear side of the base material 1, it is possible to prevent the incidence of external light and suppress the deterioration of display quality.
- a masking layer 5 at least on the back surface 1b of the substrate 1 where the organic EL panel 2 is not disposed, display light from the organic EL panel 2 is prevented from leaking from the periphery of the light emitting display unit to the outside.
- the display quality can be improved.
- the masking layer 5 is masked with the organic EL panel 2 by setting the color difference ⁇ Eab in the Lab color system to 3 or less ( ⁇ Eab ⁇ 3) from the color of the display surface of the organic EL panel 2 when not displayed.
- the boundary portion with the layer 5 is not visually recognized by the user, and the integrity of the entire light emitting display device can be improved.
- the display surface 1a of the substrate 1 has a convex shape.
- the display surface of the present invention is not limited to this, for example, a concave shape as shown in FIG.
- a light emitting display device having the display surface may be used.
- the light emitting display device of the present invention has a strip shape in which the organic EL panel 2 is short in the direction in which the base material 1 is curved and is elongated in the direction in which the base material 1 is not curved. 2 may be arranged side by side along the back surface 1b of the base material 1 in parallel with the non-curved side of the base material 1. In such a configuration, the distance between the organic EL panels 2 can be made closer, the display of the organic EL panel 2 can be visually recognized, and a higher definition display is possible.
- the distance between the organic EL panels 2 is increased (for example, about 30 mm), the integrity of the light-emitting display image of each organic EL panel 2 is lost, and therefore, along the curved display surface 1a.
- the distance between the organic EL panels 2 is preferably 10 mm or less.
- the present invention is suitable for a light emitting display device having a curved display surface.
- a liquid crystal display panel may be used in addition to the organic EL panel.
Landscapes
- Physics & Mathematics (AREA)
- General Physics & Mathematics (AREA)
- Engineering & Computer Science (AREA)
- Theoretical Computer Science (AREA)
- Optics & Photonics (AREA)
- Electroluminescent Light Sources (AREA)
- Devices For Indicating Variable Information By Combining Individual Elements (AREA)
Priority Applications (2)
| Application Number | Priority Date | Filing Date | Title |
|---|---|---|---|
| EP10769620.5A EP2426658A4 (en) | 2009-04-28 | 2010-04-15 | LIGHT-EMITTING DISPLAY DEVICE |
| US13/262,887 US20120032201A1 (en) | 2009-04-28 | 2010-04-15 | Light-emitting display apparatus |
Applications Claiming Priority (2)
| Application Number | Priority Date | Filing Date | Title |
|---|---|---|---|
| JP2009109043A JP2010256769A (ja) | 2009-04-28 | 2009-04-28 | 発光表示装置 |
| JP2009-109043 | 2009-04-28 |
Publications (1)
| Publication Number | Publication Date |
|---|---|
| WO2010125921A1 true WO2010125921A1 (ja) | 2010-11-04 |
Family
ID=43032074
Family Applications (1)
| Application Number | Title | Priority Date | Filing Date |
|---|---|---|---|
| PCT/JP2010/056732 Ceased WO2010125921A1 (ja) | 2009-04-28 | 2010-04-15 | 発光表示装置 |
Country Status (4)
| Country | Link |
|---|---|
| US (1) | US20120032201A1 (enExample) |
| EP (1) | EP2426658A4 (enExample) |
| JP (1) | JP2010256769A (enExample) |
| WO (1) | WO2010125921A1 (enExample) |
Cited By (1)
| Publication number | Priority date | Publication date | Assignee | Title |
|---|---|---|---|---|
| JP2015197680A (ja) * | 2014-04-01 | 2015-11-09 | 三星ディスプレイ株式會社Samsung Display Co.,Ltd. | 表示装置 |
Families Citing this family (20)
| Publication number | Priority date | Publication date | Assignee | Title |
|---|---|---|---|---|
| TWI463717B (zh) * | 2011-07-29 | 2014-12-01 | Au Optronics Corp | 有機發光元件及其製造方法及使用其之照明裝置 |
| US20130280671A1 (en) * | 2012-04-19 | 2013-10-24 | Biolux Research Ltd. | Intra-oral light therapy apparatuses and methods for their use |
| US20140034911A1 (en) * | 2012-08-06 | 2014-02-06 | Shenzhen China Star Optoelectronics Technology Co. Ltd. | Organic Light-Emitting Diode |
| KR102048927B1 (ko) * | 2013-02-07 | 2019-11-27 | 삼성디스플레이 주식회사 | 유기 발광 표시 장치 및 그의 제조 방법 |
| CN105705986B (zh) * | 2013-11-08 | 2019-05-10 | 堺显示器制品株式会社 | 显示装置 |
| CN103672614B (zh) * | 2013-12-11 | 2017-02-15 | 深圳市华星光电技术有限公司 | 用于曲面液晶显示装置的背光模组以及曲面液晶显示装置 |
| TWI803431B (zh) | 2014-02-11 | 2023-05-21 | 日商半導體能源研究所股份有限公司 | 顯示裝置及電子裝置 |
| JP5905173B1 (ja) | 2014-06-11 | 2016-04-20 | 三菱電機株式会社 | 液晶表示装置 |
| US20170293196A1 (en) * | 2014-09-19 | 2017-10-12 | Nec Corporation | Display device and method of manufacturing the same |
| KR102429148B1 (ko) | 2016-10-25 | 2022-08-04 | 코닝 인코포레이티드 | 디스플레이에 냉간-성형 유리 적층 |
| CN106585069A (zh) * | 2016-12-23 | 2017-04-26 | 武汉华星光电技术有限公司 | 柔性基板、面板及丝网印刷机制作柔性基板、面板的方法 |
| TWI839775B (zh) | 2017-01-03 | 2024-04-21 | 美商康寧公司 | 具有彎曲的覆蓋玻璃以及顯示器或觸控面板的車輛內部系統及其形成方法 |
| EP3655282B1 (en) | 2017-07-18 | 2023-02-15 | Corning Incorporated | Vehicle interior system comprising a cold formed complexly curved glass article |
| CN111356662B (zh) | 2017-09-12 | 2022-10-04 | 康宁公司 | 用于装饰玻璃上的包括触摸面板的显示器的死前端及相关方法 |
| US11065960B2 (en) | 2017-09-13 | 2021-07-20 | Corning Incorporated | Curved vehicle displays |
| TWI888167B (zh) | 2017-10-10 | 2025-06-21 | 美商康寧公司 | 具有改善可靠性的彎曲的覆蓋玻璃的車輛內部系統及其形成方法 |
| JP7079639B2 (ja) * | 2018-03-29 | 2022-06-02 | 株式会社ジャパンディスプレイ | 圧着装置及び表示装置の製造方法 |
| JPWO2022238799A1 (enExample) * | 2021-05-13 | 2022-11-17 | ||
| KR20240116475A (ko) * | 2021-11-26 | 2024-07-29 | 가부시키가이샤 한도오따이 에네루기 켄큐쇼 | 표시 장치 |
| EP4290505A1 (en) | 2022-06-07 | 2023-12-13 | Panasonic Intellectual Property Management Co., Ltd. | Information display device and information device equipped with same |
Citations (11)
| Publication number | Priority date | Publication date | Assignee | Title |
|---|---|---|---|---|
| JPH06266299A (ja) * | 1993-03-11 | 1994-09-22 | Mk Seiko Co Ltd | 表示装置 |
| JPH06266298A (ja) * | 1993-03-10 | 1994-09-22 | Mk Seiko Co Ltd | 電光表示装置 |
| JPH0916107A (ja) * | 1995-04-28 | 1997-01-17 | Copal Co Ltd | 電光表示ユニット |
| JPH09130701A (ja) * | 1995-10-31 | 1997-05-16 | Toshiba Corp | 画像表示装置 |
| JP2002366060A (ja) * | 2001-06-05 | 2002-12-20 | Mitsubishi Electric Engineering Co Ltd | Led表示装置 |
| JP2003019745A (ja) | 2001-07-10 | 2003-01-21 | Pioneer Electronic Corp | 面状部材の形成方法および面状部材 |
| JP2004252676A (ja) * | 2003-02-19 | 2004-09-09 | Seiko Epson Corp | タッチパネル付電気光学パネル及びタッチパネル、タッチパネル付電気光学パネルの製造方法、タッチパネルの製造方法並びに電気光学装置及び電子機器 |
| JP2005091873A (ja) * | 2003-09-18 | 2005-04-07 | Seiko Epson Corp | 電気光学装置、電子機器、および電気光学装置の製造方法 |
| JP2008058489A (ja) | 2006-08-30 | 2008-03-13 | Seiko Epson Corp | 電気光学装置、電気光学装置の製造方法並びに電子機器 |
| WO2008123416A1 (ja) * | 2007-03-30 | 2008-10-16 | Pioneer Corporation | 発光装置 |
| JP2009080165A (ja) * | 2007-09-25 | 2009-04-16 | Fujitsu Ltd | 液晶表示装置を備えた電子機器 |
Family Cites Families (16)
| Publication number | Priority date | Publication date | Assignee | Title |
|---|---|---|---|---|
| JPS59206869A (ja) * | 1983-05-11 | 1984-11-22 | 三菱電機株式会社 | 液晶表示装置 |
| JPH0322396A (ja) * | 1989-06-20 | 1991-01-30 | Matsushita Electric Ind Co Ltd | 薄膜el素子 |
| JPH10186333A (ja) * | 1996-12-27 | 1998-07-14 | Sony Corp | 液晶表示装置 |
| JPH11289169A (ja) * | 1998-04-03 | 1999-10-19 | Nec Shizuoka Ltd | 電子機器の情報表示窓 |
| JP4214660B2 (ja) * | 2000-04-11 | 2009-01-28 | ソニー株式会社 | 直視型表示装置 |
| JP2002175018A (ja) * | 2000-09-28 | 2002-06-21 | Kyowa Electric & Chem Co Ltd | 装飾フレームを有する表示画面の装飾性外装パネル |
| KR100522528B1 (ko) * | 2000-10-13 | 2005-10-19 | 가부시키가이샤 덴소 | 터치 패널 및 표시장치 |
| JP2002151271A (ja) * | 2000-11-15 | 2002-05-24 | Pioneer Electronic Corp | 有機el素子及びその製造方法 |
| US6683665B1 (en) * | 2000-11-20 | 2004-01-27 | Sarnoff Corporation | Tiled electronic display structure and method for modular repair thereof |
| KR20030012138A (ko) * | 2001-07-30 | 2003-02-12 | 삼성에스디아이 주식회사 | 유기전계발광표시장치 및 이의 봉지방법 |
| JP4083659B2 (ja) * | 2002-10-10 | 2008-04-30 | バルコ・ナムローゼ・フエンノートシャップ | パネルディスプレイおよびタイルドディスプレイ |
| JP4815768B2 (ja) * | 2003-08-22 | 2011-11-16 | 旭硝子株式会社 | 表示装置及び表示装置の製造方法 |
| DE102004040508B4 (de) * | 2003-08-22 | 2014-11-20 | Asahi Glass Co., Ltd. | Anzeigevorrichtung und Verfahren zu deren Herstellung |
| JP4722539B2 (ja) * | 2005-04-27 | 2011-07-13 | 株式会社 日立ディスプレイズ | 表示装置 |
| US20070058114A1 (en) * | 2005-09-12 | 2007-03-15 | Asahi Glass Company, Limited | Light control device |
| JP4866154B2 (ja) * | 2006-06-05 | 2012-02-01 | 株式会社 日立ディスプレイズ | 液晶表示装置 |
-
2009
- 2009-04-28 JP JP2009109043A patent/JP2010256769A/ja active Pending
-
2010
- 2010-04-15 EP EP10769620.5A patent/EP2426658A4/en not_active Withdrawn
- 2010-04-15 US US13/262,887 patent/US20120032201A1/en not_active Abandoned
- 2010-04-15 WO PCT/JP2010/056732 patent/WO2010125921A1/ja not_active Ceased
Patent Citations (11)
| Publication number | Priority date | Publication date | Assignee | Title |
|---|---|---|---|---|
| JPH06266298A (ja) * | 1993-03-10 | 1994-09-22 | Mk Seiko Co Ltd | 電光表示装置 |
| JPH06266299A (ja) * | 1993-03-11 | 1994-09-22 | Mk Seiko Co Ltd | 表示装置 |
| JPH0916107A (ja) * | 1995-04-28 | 1997-01-17 | Copal Co Ltd | 電光表示ユニット |
| JPH09130701A (ja) * | 1995-10-31 | 1997-05-16 | Toshiba Corp | 画像表示装置 |
| JP2002366060A (ja) * | 2001-06-05 | 2002-12-20 | Mitsubishi Electric Engineering Co Ltd | Led表示装置 |
| JP2003019745A (ja) | 2001-07-10 | 2003-01-21 | Pioneer Electronic Corp | 面状部材の形成方法および面状部材 |
| JP2004252676A (ja) * | 2003-02-19 | 2004-09-09 | Seiko Epson Corp | タッチパネル付電気光学パネル及びタッチパネル、タッチパネル付電気光学パネルの製造方法、タッチパネルの製造方法並びに電気光学装置及び電子機器 |
| JP2005091873A (ja) * | 2003-09-18 | 2005-04-07 | Seiko Epson Corp | 電気光学装置、電子機器、および電気光学装置の製造方法 |
| JP2008058489A (ja) | 2006-08-30 | 2008-03-13 | Seiko Epson Corp | 電気光学装置、電気光学装置の製造方法並びに電子機器 |
| WO2008123416A1 (ja) * | 2007-03-30 | 2008-10-16 | Pioneer Corporation | 発光装置 |
| JP2009080165A (ja) * | 2007-09-25 | 2009-04-16 | Fujitsu Ltd | 液晶表示装置を備えた電子機器 |
Non-Patent Citations (1)
| Title |
|---|
| See also references of EP2426658A4 |
Cited By (1)
| Publication number | Priority date | Publication date | Assignee | Title |
|---|---|---|---|---|
| JP2015197680A (ja) * | 2014-04-01 | 2015-11-09 | 三星ディスプレイ株式會社Samsung Display Co.,Ltd. | 表示装置 |
Also Published As
| Publication number | Publication date |
|---|---|
| EP2426658A1 (en) | 2012-03-07 |
| EP2426658A4 (en) | 2013-08-21 |
| US20120032201A1 (en) | 2012-02-09 |
| JP2010256769A (ja) | 2010-11-11 |
Similar Documents
| Publication | Publication Date | Title |
|---|---|---|
| WO2010125921A1 (ja) | 発光表示装置 | |
| TWI535003B (zh) | 有機發光顯示裝置 | |
| CN102437172B (zh) | 镜面电激发光显示面板 | |
| US20080309850A1 (en) | Display device | |
| WO2019233479A1 (zh) | 显示面板及显示装置 | |
| US20070210706A1 (en) | Organic light emitting diode display device and method for fabricating the same | |
| CN112117315A (zh) | 显示面板、显示屏和显示屏设备 | |
| US20230375763A1 (en) | Light-emitting device | |
| TWI591870B (zh) | 有機發光二極體顯示裝置 | |
| TWI222049B (en) | Color display unit | |
| JP2007213914A (ja) | 有機el素子アレイ | |
| JP4798671B2 (ja) | 両面発光有機エレクトロルミネッセンス照明装置 | |
| US20200075681A1 (en) | Transparent display panel, fabricating method for the same, and display device | |
| KR100759668B1 (ko) | 유기 전계 발광표시장치 및 그의 제조방법 | |
| JP4932317B2 (ja) | 表示装置 | |
| CN104183614B (zh) | 有机发光显示装置 | |
| JP2018116829A (ja) | 表示装置 | |
| JP2007128741A (ja) | 有機el発光装置および電子機器、有機el発光装置の製造方法 | |
| US20120326204A1 (en) | Organic light emitting diode lighting apparatus | |
| JP2005216582A (ja) | 有機elパネル | |
| JP2006178335A (ja) | 液晶表示装置及び液晶表示装置の製造方法 | |
| JP2004327269A (ja) | 有機elパネルの製造方法 | |
| KR100812026B1 (ko) | 유기 전계 발광표시장치 및 그의 제조방법 | |
| JP2023169211A (ja) | 発光装置 | |
| JP2015141782A (ja) | 面発光モジュール |
Legal Events
| Date | Code | Title | Description |
|---|---|---|---|
| 121 | Ep: the epo has been informed by wipo that ep was designated in this application |
Ref document number: 10769620 Country of ref document: EP Kind code of ref document: A1 |
|
| WWE | Wipo information: entry into national phase |
Ref document number: 13262887 Country of ref document: US |
|
| NENP | Non-entry into the national phase |
Ref country code: DE |
|
| WWE | Wipo information: entry into national phase |
Ref document number: 2010769620 Country of ref document: EP |