WO2010050265A1 - 光モジュール - Google Patents

光モジュール Download PDF

Info

Publication number
WO2010050265A1
WO2010050265A1 PCT/JP2009/060691 JP2009060691W WO2010050265A1 WO 2010050265 A1 WO2010050265 A1 WO 2010050265A1 JP 2009060691 W JP2009060691 W JP 2009060691W WO 2010050265 A1 WO2010050265 A1 WO 2010050265A1
Authority
WO
WIPO (PCT)
Prior art keywords
light
optical module
optical
emitting element
light emitting
Prior art date
Legal status (The legal status is an assumption and is not a legal conclusion. Google has not performed a legal analysis and makes no representation as to the accuracy of the status listed.)
Ceased
Application number
PCT/JP2009/060691
Other languages
English (en)
French (fr)
Japanese (ja)
Inventor
俊明 高井
幸夫 崎川
昌平 秦
Current Assignee (The listed assignees may be inaccurate. Google has not performed a legal analysis and makes no representation or warranty as to the accuracy of the list.)
Hitachi Ltd
Original Assignee
Hitachi Ltd
Priority date (The priority date is an assumption and is not a legal conclusion. Google has not performed a legal analysis and makes no representation as to the accuracy of the date listed.)
Filing date
Publication date
Application filed by Hitachi Ltd filed Critical Hitachi Ltd
Priority to US13/126,898 priority Critical patent/US8449204B2/en
Publication of WO2010050265A1 publication Critical patent/WO2010050265A1/ja
Anticipated expiration legal-status Critical
Ceased legal-status Critical Current

Links

Images

Classifications

    • GPHYSICS
    • G02OPTICS
    • G02BOPTICAL ELEMENTS, SYSTEMS OR APPARATUS
    • G02B6/00Light guides; Structural details of arrangements comprising light guides and other optical elements, e.g. couplings
    • G02B6/24Coupling light guides
    • G02B6/42Coupling light guides with opto-electronic elements
    • G02B6/4201Packages, e.g. shape, construction, internal or external details
    • G02B6/4246Bidirectionally operating package structures
    • GPHYSICS
    • G02OPTICS
    • G02BOPTICAL ELEMENTS, SYSTEMS OR APPARATUS
    • G02B6/00Light guides; Structural details of arrangements comprising light guides and other optical elements, e.g. couplings
    • G02B6/24Coupling light guides
    • G02B6/26Optical coupling means
    • G02B6/28Optical coupling means having data bus means, i.e. plural waveguides interconnected and providing an inherently bidirectional system by mixing and splitting signals
    • G02B6/293Optical coupling means having data bus means, i.e. plural waveguides interconnected and providing an inherently bidirectional system by mixing and splitting signals with wavelength selective means
    • G02B6/29346Optical coupling means having data bus means, i.e. plural waveguides interconnected and providing an inherently bidirectional system by mixing and splitting signals with wavelength selective means operating by wave or beam interference
    • G02B6/29361Interference filters, e.g. multilayer coatings, thin film filters, dichroic splitters or mirrors based on multilayers, WDM filters
    • G02B6/29362Serial cascade of filters or filtering operations, e.g. for a large number of channels
    • G02B6/29365Serial cascade of filters or filtering operations, e.g. for a large number of channels in a multireflection configuration, i.e. beam following a zigzag path between filters or filtering operations
    • G02B6/29367Zigzag path within a transparent optical block, e.g. filter deposited on an etalon, glass plate, wedge acting as a stable spacer
    • HELECTRICITY
    • H01ELECTRIC ELEMENTS
    • H01SDEVICES USING THE PROCESS OF LIGHT AMPLIFICATION BY STIMULATED EMISSION OF RADIATION [LASER] TO AMPLIFY OR GENERATE LIGHT; DEVICES USING STIMULATED EMISSION OF ELECTROMAGNETIC RADIATION IN WAVE RANGES OTHER THAN OPTICAL
    • H01S2301/00Functional characteristics
    • H01S2301/17Semiconductor lasers comprising special layers
    • H01S2301/176Specific passivation layers on surfaces other than the emission facet
    • HELECTRICITY
    • H01ELECTRIC ELEMENTS
    • H01SDEVICES USING THE PROCESS OF LIGHT AMPLIFICATION BY STIMULATED EMISSION OF RADIATION [LASER] TO AMPLIFY OR GENERATE LIGHT; DEVICES USING STIMULATED EMISSION OF ELECTROMAGNETIC RADIATION IN WAVE RANGES OTHER THAN OPTICAL
    • H01S5/00Semiconductor lasers
    • H01S5/005Optical components external to the laser cavity, specially adapted therefor, e.g. for homogenisation or merging of the beams or for manipulating laser pulses, e.g. pulse shaping
    • HELECTRICITY
    • H01ELECTRIC ELEMENTS
    • H01SDEVICES USING THE PROCESS OF LIGHT AMPLIFICATION BY STIMULATED EMISSION OF RADIATION [LASER] TO AMPLIFY OR GENERATE LIGHT; DEVICES USING STIMULATED EMISSION OF ELECTROMAGNETIC RADIATION IN WAVE RANGES OTHER THAN OPTICAL
    • H01S5/00Semiconductor lasers
    • H01S5/02Structural details or components not essential to laser action
    • H01S5/022Mountings; Housings
    • H01S5/02208Mountings; Housings characterised by the shape of the housings
    • H01S5/02212Can-type, e.g. TO-CAN housings with emission along or parallel to symmetry axis
    • HELECTRICITY
    • H01ELECTRIC ELEMENTS
    • H01SDEVICES USING THE PROCESS OF LIGHT AMPLIFICATION BY STIMULATED EMISSION OF RADIATION [LASER] TO AMPLIFY OR GENERATE LIGHT; DEVICES USING STIMULATED EMISSION OF ELECTROMAGNETIC RADIATION IN WAVE RANGES OTHER THAN OPTICAL
    • H01S5/00Semiconductor lasers
    • H01S5/02Structural details or components not essential to laser action
    • H01S5/022Mountings; Housings
    • H01S5/02218Material of the housings; Filling of the housings
    • H01S5/02234Resin-filled housings; the housings being made of resin
    • HELECTRICITY
    • H01ELECTRIC ELEMENTS
    • H01SDEVICES USING THE PROCESS OF LIGHT AMPLIFICATION BY STIMULATED EMISSION OF RADIATION [LASER] TO AMPLIFY OR GENERATE LIGHT; DEVICES USING STIMULATED EMISSION OF ELECTROMAGNETIC RADIATION IN WAVE RANGES OTHER THAN OPTICAL
    • H01S5/00Semiconductor lasers
    • H01S5/02Structural details or components not essential to laser action
    • H01S5/022Mountings; Housings
    • H01S5/0225Out-coupling of light
    • H01S5/02251Out-coupling of light using optical fibres
    • HELECTRICITY
    • H01ELECTRIC ELEMENTS
    • H01SDEVICES USING THE PROCESS OF LIGHT AMPLIFICATION BY STIMULATED EMISSION OF RADIATION [LASER] TO AMPLIFY OR GENERATE LIGHT; DEVICES USING STIMULATED EMISSION OF ELECTROMAGNETIC RADIATION IN WAVE RANGES OTHER THAN OPTICAL
    • H01S5/00Semiconductor lasers
    • H01S5/02Structural details or components not essential to laser action
    • H01S5/022Mountings; Housings
    • H01S5/0225Out-coupling of light
    • H01S5/02257Out-coupling of light using windows, e.g. specially adapted for back-reflecting light to a detector inside the housing

Definitions

  • the present invention relates to an optical module having a structure for suppressing optical crosstalk in an optical module in which a light emitting element and a light receiving element are mounted in the same housing.
  • optical crosstalk In an optical module having a light emitting element (semiconductor laser) and a light receiving element (photodiode) such as an optical transceiver module in the same housing, suppressing optical crosstalk is an extremely important factor for obtaining good light receiving sensitivity. ing. There are mainly the following two paths as the cause of this optical crosstalk. In the first path, light emitted from the light emitting element is scattered by the inner wall of the housing and reaches the light receiving element. In the second path, light leaked from the active layer of the light emitting element (semiconductor laser) into the substrate (hereinafter referred to as leaked light) is emitted to the outside from the side surface of the light emitting element and directly or on the inner wall of the housing. It is scattered and reaches the light receiving element. In order to suppress these optical crosstalks, various methods have been devised.
  • Patent Document 1 in an optical module in which a light emitting element and a light receiving element are mounted on a substrate, a wavelength selection filter is inserted between the light emitting element and the light receiving element to reflect stray light from the light emitting element, thereby optical crosstalk.
  • An optical module for suppressing the above is described.
  • Patent Document 2 and Patent Document 3 in an optical module in which a plurality of optical semiconductor elements are mounted on a substrate, a light absorbing resin (or a light shielding resin) is disposed between the plurality of optical semiconductor elements, The light absorbing resin (or the light shielding resin) has a structure that suppresses optical crosstalk between the elements, and the substrate surface including the transparent resin is covered with the transparent resin after the periphery of the optical semiconductor element is covered with the transparent resin.
  • the optical module applied to is described.
  • Patent Document 1 since a wavelength selection filter is inserted between a light emitting element and a light receiving element, light that directly enters the light receiving element from the light emitting element can be blocked. However, wavelength selection is performed for the path (second path) where light (leakage light) emitted to the back of the light emitting element (opposite to the wavelength selection filter) is scattered by the inner wall of the housing and enters the light receiving element.
  • the filter does not function effectively. In other words, the optical crosstalk due to leakage light (the second path) cannot be suppressed.
  • Patent Document 2 and Patent Document 3 in consideration of suppression of optical crosstalk caused by the leakage light (the second path), the resin completely covers the light emitting element, and the resin and the substrate are bonded. ing.
  • the light emitting element is distorted due to thermal contraction of the resin.
  • the interval between the diffraction gratings in the light emitting element changes. This change in the diffraction grating spacing may cause a change in emission wavelength.
  • Patent Documents 2 and 3 have a configuration in which leakage light that cannot be completely absorbed (blocked) by the resin can cause optical crosstalk.
  • optical crosstalk due to leaked light (second path) without causing deterioration of characteristics and reliability of the light emitting element in the conventional technology. It was difficult to suppress.
  • an object of the present invention is to provide an optical module capable of suppressing light crosstalk caused by leaked light and obtaining good light receiving sensitivity without causing deterioration in characteristics and reliability of a light emitting element with a simple structure. There is to do.
  • a region where a resin and a non-adhesive material are formed is provided on a substrate on which an optical element (light emitting element and light receiving element) is mounted. Furthermore, it is characterized in that the light absorption efficiency is improved by combining the light absorbing resin and the light reflecting material.
  • a light absorbing resin that absorbs light having a light emission wavelength of the light emitting elements is disposed so as to cover the side surfaces of the light emitting elements, A material that is not bonded to the light absorbing resin is disposed between the light absorbing resin and the substrate.
  • a light absorbing resin that absorbs light having a light emission wavelength of the light emitting element is disposed so as to cover a side surface of the light emitting element, and the light absorption A material that does not adhere to the light absorbing resin is disposed between the resin and the substrate, and a reflective material that reflects light having the emission wavelength of the light emitting element is disposed so as to cover the light absorbing resin.
  • a light absorbing resin that absorbs light of the light emitting wavelength of the light emitting elements is disposed so as to surround the light emitting elements, and the light absorption
  • a reflective material that reflects light having the emission wavelength of the light emitting element is disposed so as to cover the outer periphery of the resin.
  • the light emitting elements whose side surfaces are coated with a light absorbing resin that absorbs light having the emission wavelength of the light emitting elements are used.
  • an optical module that can suppress optical crosstalk caused by leaked light and obtain good reception sensitivity without causing deterioration in characteristics and reliability of a light-emitting element with a simple structure. be able to.
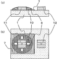
  • FIG. 1 is a cross-sectional view illustrating the overall configuration of a single-core bidirectional optical transceiver module using two wavelengths to which the present invention is applied.
  • FIG. 2 is a diagram illustrating details of the optical demultiplexing / multiplexing function of the optical multiplexer / demultiplexer in the single-core bidirectional optical transceiver module according to the present embodiment.
  • an optical element mounting substrate 1 on which a light emitting element 11 responsible for transmission and a light receiving element 12 responsible for reception are mounted is mounted on a CAN stem 13, and the optical multiplexer / demultiplexer 2 is mounted on a housing 3.
  • the light emitting element 11 has a light emitting unit that emits light by changing an electrical signal into an optical signal on its upper surface
  • the light receiving element 12 has a light receiving unit that converts an optical signal into an electric signal on its upper surface.
  • the operating wavelengths of the optical elements 11 and 12 are ⁇ 1 and ⁇ 2 , respectively, and the wavelength relationship is ⁇ 1 ⁇ 2 .
  • the housing 3 is provided with irregularities for enabling the optical multiplexer / demultiplexer 2 to be mounted.
  • the optical multiplexer / demultiplexer 2 uses a transparent substrate 21 as a support substrate, a first wavelength selection filter 22a is formed on one surface, and a second wavelength selection filter 22b is formed on an opposite surface parallel to this surface. .
  • the optical multiplexer / demultiplexer 2 is mounted by matching the outer shape of the housing 3 to the unevenness, and is bonded with a UV curable resin.
  • the material of the transparent substrate 21 was BK7.
  • the transparent substrate 21 is mounted so as to have an angle with respect to the plane.
  • the wavelength selection filters 22a and 22b are composed of a dielectric multilayer film made of Ta 2 O 5 and SiO 2 .
  • the wavelength selection filters 22a and 22b have a separation wavelength ⁇ th of ⁇ 1 ⁇ th ⁇ 2 , filters that transmit light having a wavelength shorter than ⁇ th and reflect light having a longer wavelength (so-called short path). Filter).
  • the first wavelength filter 22a is transmitted through a wavelength of lambda 1, the optical path by translating the refraction at the transparent substrate 21 is optically coupled with the optical fiber 5 through the lens 4.
  • the light of wavelength ⁇ 2 emitted from the optical fiber enters the transparent substrate 21 through the lens 4, undergoes refraction at the transparent substrate 21, and then reaches the first wavelength selection filter 22 a.
  • the wavelength ⁇ 2 emitted from the optical fiber is reflected by the first wavelength selection filter 22a and reaches the opposing second wavelength selection filter 22b. Since the second wavelength selective filter 22b facing the a same as the first wavelength selective filter 22a, light of the wavelength lambda 2 is reflected again.
  • the light reflected by the second wavelength selection filter 22b is incident on the transparent substrate 21 again.
  • the light reflected by the second wavelength selection filter 22b (again, the light incident on the transparent substrate 21 again) is incident on the portion where the first wavelength selection filter 22a is not formed.
  • the light having the wavelength ⁇ 2 is emitted from the optical multiplexer / demultiplexer 2 to the lower side of the drawing and is incident on the light receiving element 12.
  • the reflected light from the second wavelength selective filter 22b is incident on the first wavelength selective filter 22a again, and between the first wavelength selective filter 22a and the second wavelength selective filter 22b. Is designed to make two more round trips. This is to increase the distance between the light emitting element 11 and the light receiving element 12. This is because a light emitting element that is driven at high speed may become a noise source (referred to as electrical crosstalk) on the light receiving element side. When there is no other special reason such as electrical crosstalk, it is desirable that the number of reflections be minimized by matching the multiple reflection pitch in the glass substrate with the mounting pitch of the elements.
  • the light that has reciprocated three times between the first wavelength selection filter 22a and the second wavelength selection filter 22b is transmitted through a portion where the first wavelength selection filter 22a is not formed, and is directed to the light receiving element 12. Incident.
  • the movement distance x of the light from the light emitting element 11 in the parallel direction between the incident position and the emission position in the optical multiplexer / demultiplexer 2 is d ⁇ sin ( ⁇ 1 ⁇ 2) where d is the thickness of the transparent substrate 21. ) / cos ⁇ 2 to become.
  • the period length y of the multiple reflection inside the substrate is given by 2d ⁇ tan ⁇ 2 .
  • the period length z in the parallel direction is 2d ⁇ sin ⁇ 2 ⁇ cos ⁇ .
  • the light is reciprocated three times in the optical multiplexer / demultiplexer 2.
  • the light emitting element 11 and the light receiving element 12 on the element mounting substrate are mounted at a position where the distance between the light emitting point of the light emitting element 11 and the light receiving point of the light receiving element 12 is separated by 3z. Therefore, it is necessary to select d, theta 1 to maintain the appropriate element spacing.
  • a vertical emission type LD in which microlenses are integrated is used as the light emitting element 11 on the optical element mounting substrate 1.
  • a vertical emission type LD is desirable for ease of mounting, an edge emission type LD can also be used for the light emitting element 11.
  • the lens integrated type is desirable from the viewpoint of ease of optical coupling and reduction in the number of parts, but it is needless to say that it is not necessary to be trapped by it.
  • the light receiving element 12 also uses a surface incidence type PD, but needless to say, it is not necessary to be trapped in it.
  • an amplifier IC and a chip capacitor are mounted on the CAN stem 14 or the optical element mounting substrate 1, but they are not shown because they are the same as usual.
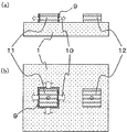
  • FIG. 3A is a plan view showing details of the optical element mounting portion in this embodiment
  • FIG. 3B is a cross-sectional view showing details of the optical element mounting portion in this embodiment.
  • a light-absorbing resin that absorbs light of the light emission wavelength ⁇ 1 of the light emitting element 11 is disposed so as to cover the side surface of the light emitting element 11 with respect to the single-core bidirectional optical transceiver module configured as shown in FIG. is doing. Details of the optical element mounting portion will be described with reference to FIG.
  • a UV curable resin that absorbs light having a light emission wavelength ⁇ 1 of the light emitting element 11 is used as the light absorbing resin 6, a UV curable resin that absorbs light having a light emission wavelength ⁇ 1 of the light emitting element 11 is used.
  • the light emitting element 11 and the non-adhesive layer 7 are placed on the substrate, and this UV curable resin is applied on the side of the light emitting element 11 on the non-adhesive layer 7 by a dispenser, and then the light absorbing resin 6 is cured by UV irradiation.
  • the leakage light 10 from the side surface of the light emitting element 11 is absorbed by the light absorbing resin 6. Therefore, it is possible to reduce the leaked light 10 incident on the light receiving element 12 directly from the side surface of the light emitting element 11 or due to scattering from the housing 3, thereby suppressing optical crosstalk.
  • a non-adhesive layer 7 made of a material that does not adhere to the light absorbing resin 6 is formed between the light absorbing resin 6 and the optical element mounting substrate 1.
  • Teflon registered trademark
  • this non-adhesive layer 7 is previously formed on the optical element mounting substrate 1 before the light emitting element 11 is connected. It is formed by processing. As a result, the light absorbing resin 6 is not bonded to the optical element mounting substrate 1 but is bonded only to the side surface of the light emitting element 11.
  • a UV curable resin that absorbs light of wavelength ⁇ 1 is used as the light absorbing resin 6, but it is not necessary to be bound by this, for example, a substance (powder) that absorbs light of wavelength ⁇ 1 and UV.
  • a mixture of curable resins may also be used.
  • a black sealing resin may be used.
  • non-adhesive layer 7 is formed by Teflon (registered trademark) processing in this embodiment, it is needless to say that the material is not limited to this as long as it is a material that does not adhere to the light absorbing resin 6.
  • the single-core bidirectional optical transceiver module having the configuration as shown in FIG. 1 has been described as an example.
  • the present invention is not limited to this configuration, and the optical module includes a light emitting element and a light receiving element in the same housing. Can be applied. The same applies to the following embodiments.
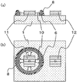
  • FIG. 4A is a plan view showing details of the optical element mounting portion in this embodiment
  • FIG. 4B is a cross-sectional view showing details of the optical element mounting portion in this embodiment.
  • the light absorbing resin 6 is covered with a reflecting material 8 that reflects the light having the emission wavelength ⁇ 1 of the light emitting element 11 in addition to the configuration of the first embodiment.
  • a thermosetting white paste is used as the reflector 8.
  • the reflecting material 8 is supplied onto the light absorbing resin 6 by a dispensing method after the light absorbing resin 6 is UV cured.
  • the structure of FIG. 4 is implement
  • the leaked light that could not be absorbed by the light absorbing resin 6 is reflected by the reflecting material 8 and again absorbed by the light absorbing resin 6. Therefore, leakage light / light absorption efficiency is improved, and optical crosstalk can be reduced.
  • a white paste is used as the reflector 6, but a metal thin film may be used.
  • a metal thin film By forming the metal thin film on the light absorbing resin 6 by vapor deposition, it is possible to reflect the leaked light 10 that could not be absorbed by the light absorbing resin 6 like the white paste.
  • a resin having a refractive index at the wavelength ⁇ 1 different from that of the light absorbing resin 6 may be substituted.
  • Fresnel reflection due to the difference in refractive index between the light absorbing resin 6 and the reflecting material 8 occurs at the interface between the light absorbing resin 6 and the reflecting material 8.
  • neither the light-absorbing resin 6 nor the reflective material 8 is adhered to the optical element mounting substrate 1 due to the presence of the non-adhesive layer 7. Therefore, similarly to Example 1, it is possible to prevent the light emitting element 11 from being distorted due to the shrinkage of the light absorbing resin 6 and the reflecting material 8 when the temperature changes.
  • FIG. 5A is a plan view showing details of the optical element mounting portion in the present embodiment
  • FIG. 5B is a cross-sectional view showing details of the optical element mounting portion in the present embodiment.
  • a light-absorbing resin 6 that absorbs light having a light emission wavelength ⁇ 1 of the light emitting element 11 is provided so as to surround the light emitting element 11 with respect to the single-core bidirectional optical transceiver module configured as shown in FIG. It is arranged. Details of the optical element mounting portion will be described with reference to FIG.
  • a UV curable resin that absorbs light having a light emission wavelength ⁇ 1 of the light emitting element 11 is used around the light emitting element 11.
  • the light absorbing resin 6 is applied around the light emitting element 11 mounting portion on the optical element mounting substrate 1 by a transfer method, and then the light absorbing resin 6 is cured by UV irradiation.
  • the light emitting element 11 is surrounded by the wall of the light absorbing resin 6.
  • the leakage light 10 emitted from the side surface of the light emitting element 11 is absorbed by the wall of the light absorbing resin 6. Therefore, it is possible to reduce the leakage light 10 incident on the light receiving element 12 directly from the side surface of the light emitting element 11 or by scattering in the housing 3.
  • the light absorbing resin 6 has a structure that does not contact the light emitting element 1. Therefore, even if the non-adhesive layer 7 is not formed on the optical element mounting substrate 1 as in Example 1, the light emitting element 1 is not distorted even if the light absorbing resin 6 contracts when the temperature changes. It becomes.
  • a UV curable resin that absorbs light having a wavelength ⁇ 1 is used as the light absorbing resin 6.
  • it is not necessary to be bound by this, and for example, it absorbs light having a wavelength ⁇ 1.
  • It may be a mixture of a substance (powder) and a UV curable resin.
  • a black sealing resin may be used.
  • FIG. 6A is a plan view showing details of the optical element mounting portion in the present embodiment
  • FIG. 6B is a cross-sectional view showing details of the optical element mounting portion in the present embodiment.
  • a reflector 8 that reflects the light having the emission wavelength ⁇ 1 of the light emitting element 11 is disposed so as to cover the outer periphery of the wall of the light absorbing resin 6.
  • a thermosetting white paste is used as the reflector 8.
  • the reflecting material 8 is supplied by a dispensing method so as to cover the outer periphery of the wall of the light absorbing resin 6 after the light absorbing resin 6 is UV cured.
  • the structure of FIG. 6 is implement
  • the leaked light 10 that could not be absorbed by the wall of the light absorbing resin 6 is reflected by the reflecting material 8 and again absorbed by the light absorbing resin 6. Therefore, the absorption efficiency of the leaked light 10 is improved, and optical crosstalk can be reduced.
  • the light absorbing resin 6 has a structure that does not contact the light emitting element 1. Therefore, even if the non-adhesive layer 7 is not formed on the optical element mounting substrate 1 as in Example 1, the light emitting element 1 is not distorted even if the light absorbing resin 6 contracts when the temperature changes. It becomes.
  • a white paste is used as the reflecting material 8.
  • a metal thin film or a resin having a refractive index at a wavelength ⁇ 1 different from that of the light absorbing resin 6 may be substituted.
  • FIG. 7A is a plan view showing details of the optical element mounting portion in this embodiment
  • FIG. 7B is a cross-sectional view showing details of the optical element mounting portion in this embodiment.
  • the side surface of the light emitting element 11 is coated with a light absorbing material that absorbs light having the emission wavelength ⁇ 1 of the light emitting element 11.
  • a light absorbing resin that absorbs light having a light emission wavelength ⁇ 1 of the light emitting element 11 is used as a material for the coating layer on the side surface of the light emitting element 11, in this embodiment.
  • the coating layer 9 is formed in advance by spraying a light absorbing resin before the light emitting element 11 is mounted on the optical element mounting substrate 1. Thereby, the leakage light 10 from the side surface of the light emitting element 11 is absorbed by the coating layer 9. Therefore, it is possible to reduce leakage light incident on the light receiving element 12 directly from the side surface of the light emitting element 11 or due to scattering in the housing 3, and optical crosstalk can be suppressed.
  • the coating layer 9 and the optical element mounting substrate 1 are not bonded. For this reason, even if there is a temperature change, the light emitting element 11 is essentially free from distortion due to the shrinkage of the coating layer 9.
  • this embodiment uses the light-absorbent resin as the material of the coating layer 9, anything as long as the material for the light absorption for absorbing an emission wavelength lambda 1 of the light well, preferably is suitable spray easily Material .
  • the present invention can be used in a field where an information communication device using an optical module including a light emitting element and a light receiving element is used, for example, an optical communication module, an optical recording module, a high-speed switching device (router, server, etc.). .

Landscapes

  • Physics & Mathematics (AREA)
  • General Physics & Mathematics (AREA)
  • Optics & Photonics (AREA)
  • Optical Couplings Of Light Guides (AREA)
  • Semiconductor Lasers (AREA)
PCT/JP2009/060691 2008-10-31 2009-06-11 光モジュール Ceased WO2010050265A1 (ja)

Priority Applications (1)

Application Number Priority Date Filing Date Title
US13/126,898 US8449204B2 (en) 2008-10-31 2009-06-11 Optical module

Applications Claiming Priority (2)

Application Number Priority Date Filing Date Title
JP2008-280697 2008-10-31
JP2008280697A JP4982469B2 (ja) 2008-10-31 2008-10-31 光モジュール

Publications (1)

Publication Number Publication Date
WO2010050265A1 true WO2010050265A1 (ja) 2010-05-06

Family

ID=42128635

Family Applications (1)

Application Number Title Priority Date Filing Date
PCT/JP2009/060691 Ceased WO2010050265A1 (ja) 2008-10-31 2009-06-11 光モジュール

Country Status (3)

Country Link
US (1) US8449204B2 (enExample)
JP (1) JP4982469B2 (enExample)
WO (1) WO2010050265A1 (enExample)

Cited By (2)

* Cited by examiner, † Cited by third party
Publication number Priority date Publication date Assignee Title
CN104576782A (zh) * 2013-10-29 2015-04-29 阿尔卑斯电气株式会社 受光装置
US20200313399A1 (en) * 2017-10-12 2020-10-01 Osram Oled Gmbh Semiconductor laser and method of production for optoelectronic semiconductor parts

Families Citing this family (4)

* Cited by examiner, † Cited by third party
Publication number Priority date Publication date Assignee Title
KR101342097B1 (ko) * 2011-10-26 2013-12-18 한국전자통신연구원 다채널 광모듈
TW201436178A (zh) * 2013-02-13 2014-09-16 Sony Corp 受光發光裝置
KR20210024169A (ko) * 2018-08-27 2021-03-04 후아웨이 테크놀러지 컴퍼니 리미티드 수신기 광 서브어셈블리, 콤보 송수신기 서브어셈블리, 콤보 광 모듈, 통신 장치 및 pon 시스템
JP7188841B2 (ja) * 2018-12-26 2022-12-13 ホアウェイ・テクノロジーズ・カンパニー・リミテッド シリコンレンズを有するマルチチャネルモードコンバータ

Citations (5)

* Cited by examiner, † Cited by third party
Publication number Priority date Publication date Assignee Title
JP2000075155A (ja) * 1998-09-02 2000-03-14 Nippon Telegr & Teleph Corp <Ntt> 光モジュール
JP2001068784A (ja) * 1999-02-17 2001-03-16 Matsushita Electric Ind Co Ltd 半導体レーザ装置、光ディスク装置及び光集積化装置
JP2001326409A (ja) * 2000-05-12 2001-11-22 Sharp Corp 半導体レーザ装置
JP2004138749A (ja) * 2002-10-17 2004-05-13 Matsushita Electric Ind Co Ltd 光送受信モジュール及びその実装方法並びに光送受信装置
JP2008263047A (ja) * 2007-04-12 2008-10-30 Shinko Electric Ind Co Ltd 光半導体素子用キャップ、光半導体素子用パッケージ及び光ピックアップ装置

Family Cites Families (3)

* Cited by examiner, † Cited by third party
Publication number Priority date Publication date Assignee Title
JPH0273208A (ja) 1988-09-08 1990-03-13 Nec Corp 光ファイバー実装方式
JP3792040B2 (ja) 1998-03-06 2006-06-28 松下電器産業株式会社 双方向光半導体装置
US7212556B1 (en) 1999-02-17 2007-05-01 Matsushita Electric Industrial Co., Ltd. Semiconductor laser device optical disk apparatus and optical integrated unit

Patent Citations (5)

* Cited by examiner, † Cited by third party
Publication number Priority date Publication date Assignee Title
JP2000075155A (ja) * 1998-09-02 2000-03-14 Nippon Telegr & Teleph Corp <Ntt> 光モジュール
JP2001068784A (ja) * 1999-02-17 2001-03-16 Matsushita Electric Ind Co Ltd 半導体レーザ装置、光ディスク装置及び光集積化装置
JP2001326409A (ja) * 2000-05-12 2001-11-22 Sharp Corp 半導体レーザ装置
JP2004138749A (ja) * 2002-10-17 2004-05-13 Matsushita Electric Ind Co Ltd 光送受信モジュール及びその実装方法並びに光送受信装置
JP2008263047A (ja) * 2007-04-12 2008-10-30 Shinko Electric Ind Co Ltd 光半導体素子用キャップ、光半導体素子用パッケージ及び光ピックアップ装置

Cited By (6)

* Cited by examiner, † Cited by third party
Publication number Priority date Publication date Assignee Title
CN104576782A (zh) * 2013-10-29 2015-04-29 阿尔卑斯电气株式会社 受光装置
US20200313399A1 (en) * 2017-10-12 2020-10-01 Osram Oled Gmbh Semiconductor laser and method of production for optoelectronic semiconductor parts
US11735887B2 (en) * 2017-10-12 2023-08-22 Osram Oled Gmbh Semiconductor laser and method of production for optoelectronic semiconductor parts
US11870214B2 (en) 2017-10-12 2024-01-09 Osram Oled Gmbh Semiconductor laser and method of production for optoelectronic semiconductor parts
US20240088622A1 (en) * 2017-10-12 2024-03-14 Osram Oled Gmbh Semiconductor laser and method of production for optoelectronic semiconductor parts
US12451667B2 (en) * 2017-10-12 2025-10-21 Osram Oled Gmbh Semiconductor laser and method of production for optoelectronic semiconductor parts

Also Published As

Publication number Publication date
JP2010109204A (ja) 2010-05-13
JP4982469B2 (ja) 2012-07-25
US8449204B2 (en) 2013-05-28
US20110243512A1 (en) 2011-10-06

Similar Documents

Publication Publication Date Title
JP3861816B2 (ja) 光送受信モジュール及びその製造方法
US9110256B2 (en) Lens array and manufacturing method thereof
JP4982469B2 (ja) 光モジュール
JP5485686B2 (ja) レンズアレイおよびこれを備えた光モジュール
US9488792B2 (en) Optical receptacle, and optical module provided with same
JP5758658B2 (ja) レンズアレイおよびこれを備えた光モジュール
CN100359830C (zh) 双向光传输装置
JP2011211152A (ja) レンズアレイおよびこれを備えた光モジュール
EP2857879B1 (en) Optical receptacle and optical module provided with same
JP6728639B2 (ja) 光配線接続構造、及び光配線接続方法
WO2020050166A1 (ja) 光モジュール
US20090196617A1 (en) Single core bidirectional optical device
JP6122380B2 (ja) 光モジュール
JP2007187793A (ja) 光モジュール
JP2011044737A (ja) 光配線モジュール
JP3929968B2 (ja) 光コネクタ
JP3936330B2 (ja) 光コネクタおよびその製造方法
CN108700720B (zh) 光插座及光模块
TWI573407B (zh) 光通訊模組
WO2010076870A1 (ja) 発光装置
US9002208B2 (en) Optical transceiver system
JP2008020721A (ja) 並列光送受信装置
JP2004361583A (ja) 光モジュール
JP2023143028A (ja) エンコーダ用光モジュール及び反射型エンコーダ
JP4735097B2 (ja) 光モジュール

Legal Events

Date Code Title Description
121 Ep: the epo has been informed by wipo that ep was designated in this application

Ref document number: 09823378

Country of ref document: EP

Kind code of ref document: A1

NENP Non-entry into the national phase

Ref country code: DE

WWE Wipo information: entry into national phase

Ref document number: 13126898

Country of ref document: US

122 Ep: pct application non-entry in european phase

Ref document number: 09823378

Country of ref document: EP

Kind code of ref document: A1