WO2009157304A1 - 太陽電池、集光型太陽光発電モジュール、および太陽電池製造方法 - Google Patents

太陽電池、集光型太陽光発電モジュール、および太陽電池製造方法 Download PDF

Info

Publication number
WO2009157304A1
WO2009157304A1 PCT/JP2009/060540 JP2009060540W WO2009157304A1 WO 2009157304 A1 WO2009157304 A1 WO 2009157304A1 JP 2009060540 W JP2009060540 W JP 2009060540W WO 2009157304 A1 WO2009157304 A1 WO 2009157304A1
Authority
WO
WIPO (PCT)
Prior art keywords
solar cell
optical member
adhesive
cell element
receiver substrate
Prior art date
Legal status (The legal status is an assumption and is not a legal conclusion. Google has not performed a legal analysis and makes no representation as to the accuracy of the status listed.)
Ceased
Application number
PCT/JP2009/060540
Other languages
English (en)
French (fr)
Inventor
有川 和彦
Current Assignee (The listed assignees may be inaccurate. Google has not performed a legal analysis and makes no representation or warranty as to the accuracy of the list.)
Sharp Corp
Original Assignee
Sharp Corp
Priority date (The priority date is an assumption and is not a legal conclusion. Google has not performed a legal analysis and makes no representation as to the accuracy of the date listed.)
Filing date
Publication date
Priority claimed from JP2008163395A external-priority patent/JP4393562B1/ja
Priority claimed from JP2009050751A external-priority patent/JP4558077B2/ja
Application filed by Sharp Corp filed Critical Sharp Corp
Priority to US13/000,789 priority Critical patent/US20110108113A1/en
Priority to AU2009263554A priority patent/AU2009263554B2/en
Priority to EP09770014A priority patent/EP2312646A1/en
Publication of WO2009157304A1 publication Critical patent/WO2009157304A1/ja
Anticipated expiration legal-status Critical
Ceased legal-status Critical Current

Links

Images

Classifications

    • HELECTRICITY
    • H10SEMICONDUCTOR DEVICES; ELECTRIC SOLID-STATE DEVICES NOT OTHERWISE PROVIDED FOR
    • H10FINORGANIC SEMICONDUCTOR DEVICES SENSITIVE TO INFRARED RADIATION, LIGHT, ELECTROMAGNETIC RADIATION OF SHORTER WAVELENGTH OR CORPUSCULAR RADIATION
    • H10F77/00Constructional details of devices covered by this subclass
    • H10F77/40Optical elements or arrangements
    • H10F77/42Optical elements or arrangements directly associated or integrated with photovoltaic cells, e.g. light-reflecting means or light-concentrating means
    • H10F77/484Refractive light-concentrating means, e.g. lenses
    • HELECTRICITY
    • H10SEMICONDUCTOR DEVICES; ELECTRIC SOLID-STATE DEVICES NOT OTHERWISE PROVIDED FOR
    • H10FINORGANIC SEMICONDUCTOR DEVICES SENSITIVE TO INFRARED RADIATION, LIGHT, ELECTROMAGNETIC RADIATION OF SHORTER WAVELENGTH OR CORPUSCULAR RADIATION
    • H10F19/00Integrated devices, or assemblies of multiple devices, comprising at least one photovoltaic cell covered by group H10F10/00, e.g. photovoltaic modules
    • H10F19/70Integrated devices, or assemblies of multiple devices, comprising at least one photovoltaic cell covered by group H10F10/00, e.g. photovoltaic modules comprising bypass diodes
    • HELECTRICITY
    • H10SEMICONDUCTOR DEVICES; ELECTRIC SOLID-STATE DEVICES NOT OTHERWISE PROVIDED FOR
    • H10FINORGANIC SEMICONDUCTOR DEVICES SENSITIVE TO INFRARED RADIATION, LIGHT, ELECTROMAGNETIC RADIATION OF SHORTER WAVELENGTH OR CORPUSCULAR RADIATION
    • H10F19/00Integrated devices, or assemblies of multiple devices, comprising at least one photovoltaic cell covered by group H10F10/00, e.g. photovoltaic modules
    • H10F19/80Encapsulations or containers for integrated devices, or assemblies of multiple devices, having photovoltaic cells
    • HELECTRICITY
    • H10SEMICONDUCTOR DEVICES; ELECTRIC SOLID-STATE DEVICES NOT OTHERWISE PROVIDED FOR
    • H10FINORGANIC SEMICONDUCTOR DEVICES SENSITIVE TO INFRARED RADIATION, LIGHT, ELECTROMAGNETIC RADIATION OF SHORTER WAVELENGTH OR CORPUSCULAR RADIATION
    • H10F77/00Constructional details of devices covered by this subclass
    • H10F77/40Optical elements or arrangements
    • H10F77/42Optical elements or arrangements directly associated or integrated with photovoltaic cells, e.g. light-reflecting means or light-concentrating means
    • H10F77/488Reflecting light-concentrating means, e.g. parabolic mirrors or concentrators using total internal reflection
    • HELECTRICITY
    • H10SEMICONDUCTOR DEVICES; ELECTRIC SOLID-STATE DEVICES NOT OTHERWISE PROVIDED FOR
    • H10FINORGANIC SEMICONDUCTOR DEVICES SENSITIVE TO INFRARED RADIATION, LIGHT, ELECTROMAGNETIC RADIATION OF SHORTER WAVELENGTH OR CORPUSCULAR RADIATION
    • H10F77/00Constructional details of devices covered by this subclass
    • H10F77/60Arrangements for cooling, heating, ventilating or compensating for temperature fluctuations
    • H10F77/63Arrangements for cooling directly associated or integrated with photovoltaic cells, e.g. heat sinks directly associated with the photovoltaic cells or integrated Peltier elements for active cooling
    • YGENERAL TAGGING OF NEW TECHNOLOGICAL DEVELOPMENTS; GENERAL TAGGING OF CROSS-SECTIONAL TECHNOLOGIES SPANNING OVER SEVERAL SECTIONS OF THE IPC; TECHNICAL SUBJECTS COVERED BY FORMER USPC CROSS-REFERENCE ART COLLECTIONS [XRACs] AND DIGESTS
    • Y02TECHNOLOGIES OR APPLICATIONS FOR MITIGATION OR ADAPTATION AGAINST CLIMATE CHANGE
    • Y02EREDUCTION OF GREENHOUSE GAS [GHG] EMISSIONS, RELATED TO ENERGY GENERATION, TRANSMISSION OR DISTRIBUTION
    • Y02E10/00Energy generation through renewable energy sources
    • Y02E10/50Photovoltaic [PV] energy
    • Y02E10/52PV systems with concentrators

Definitions

  • the present invention relates to a solar cell that includes an optical member that irradiates a solar cell element with concentrated sunlight and a receiver substrate on which the solar cell element is mounted, and concentrating sunlight that includes such a solar cell.
  • the present invention relates to a power generation module and a solar cell manufacturing method for manufacturing such a solar cell.
  • the solar cell element Since the concentrating solar power generation device condenses sunlight with a condenser lens and irradiates the solar cell element, the solar cell element has a small light receiving area that can receive sunlight collected by the optical system. Just prepare. That is, since the solar cell element having a size smaller than the light receiving area of the condensing lens may be used, the size of the solar cell element can be reduced, so that the usage amount of the solar cell element that is an expensive component in the solar power generation device The cost can be reduced.
  • the concentrating solar power generation apparatus is being used for power supply in an area where power can be generated using a large area.
  • the condensing lens is a primary optical system, and sunlight condensed by the primary optical system is incident on a secondary optical system arranged corresponding to the surface of the solar cell element.
  • a concentrating solar power generation device having a configuration has been proposed (see, for example, Patent Document 2 to Patent Document 4).
  • Patent Document 1 when the technique disclosed in Patent Document 1 is put into practical use, when foreign matter (rain water, dust, or the like) enters from the outside of the cylindrical lens frame 18, the top of the light guide 47 attached to the solar battery cell 46. There was a problem that water droplets and dust entered into the light receiving area such as the end face and the light could not be received sufficiently.
  • the lens frame 18 that supports the lens assembly 20 and the base panel 23 on which the solar cells 46 are mounted are each increased in size, and a gap may occur due to an assembly error.
  • the structure of the optical system is complicated, and positioning of the solar cell element with respect to the condensing lens or positioning of the secondary optical system with respect to the condensing lens can be performed easily and with high accuracy. It is difficult to do so, and many difficulties have arisen in practical use. In addition, with the complexity of the structure, many problems have arisen in terms of maintaining reliability during operation and improving productivity.
  • the present invention has been made in view of such a situation, and includes an optical member that transmits condensed sunlight, a solar cell element that photoelectrically converts sunlight transmitted through the optical member, and a solar cell element.
  • It is a solar cell provided with a placed receiver substrate, and includes a first adhesive part surrounding the solar cell element, a pedestal part adhered to the first adhesive part, and a resin sealing part covering the solar cell element. Therefore, it is possible to easily and accurately determine the constituent elements in the plane direction and the superimposing direction corresponding to the optical axis, and effectively irradiate the collected solar light to the solar cell element.
  • a highly productive solar cell with improved heat resistance, weather resistance, and reliability by improving the power generation efficiency and power generation by preventing the influence of foreign matter on the solar cell element from being blocked from the outside
  • the first purpose is to provide
  • the present invention improves the power generation efficiency and power generation by improving the light condensing characteristics over a wide wavelength region by using a concentrating solar power generation module including the condensing lens and the solar cell according to the present invention.
  • the second object is to provide an inexpensive concentrating solar power generation module with high heat resistance, weather resistance and reliability.
  • this invention is a solar cell manufacturing method which manufactures the solar cell which concerns on this invention, Comprising: The 1st adhesive agent application process which apply
  • a third object is to provide a solar cell manufacturing method capable of manufacturing a solar cell having high heat resistance, weather resistance, and reliability with high productivity with a simple process of combining them with high accuracy.
  • this invention is a solar cell manufacturing method which manufactures the solar cell which concerns on this invention, Comprising: The 1st adhesive agent application process which apply
  • a fourth object is to provide a solar cell manufacturing method capable of manufacturing a solar cell having high reliability and high weather resistance with high productivity.
  • this invention irradiates a solar cell element with the solar cell element which photoelectrically converts the sunlight condensed with the condensing lens, the receiver board
  • a solar cell including a columnar optical member and a holding unit that holds the columnar optical member, and the holding unit is fitted to a frame-shaped pedestal that is arranged in a frame shape around the solar cell element and fixed to the receiver substrate.
  • the present invention provides a concentrating solar power generation module including a condensing lens and the solar cell according to the present invention, thereby improving condensing characteristics over a wide wavelength region and improving power generation efficiency and generated power.
  • the sixth object is to provide an inexpensive concentrating solar power generation module having high heat resistance, reliability, and weather resistance.
  • this invention is a solar cell manufacturing method which manufactures the solar cell which concerns on this invention, Comprising: The frame-shaped base part mounting process which positions and mounts a frame-shaped base part on a receiver board
  • the columnar optical member can be easily and highly accurately positioned and firmly held with respect to the solar cell element, and the light collection efficiency with respect to a wide wavelength region is improved to improve the power generation efficiency and the generated power. It is a seventh object to provide a solar cell manufacturing method for manufacturing a highly reliable and inexpensive solar cell with high productivity with high accuracy.
  • the first solar cell according to the present invention includes an optical member that transmits condensed sunlight, a solar cell element that photoelectrically converts sunlight transmitted through the optical member, and the solar cell element.
  • a solar cell comprising a receiver substrate, wherein the first adhesive portion is formed in a frame shape that is adhered to the receiver substrate and surrounds the solar cell element, and is in contact with the receiver substrate and surrounds the solar cell element. It is provided with the base part adhere
  • the first adhesive portion and the pedestal portion are overlapped and connected to the receiver substrate and the solar cell element in the overlapping direction, so that the positioning of the resin sealing portion and the optical member with respect to the solar cell element corresponds to the optical axis.
  • the solar cell element is effectively radiated to the solar cell element which is easily and accurately determined and collected in the planar direction and the superposition direction (height direction), and the solar cell element is cut off from the outside. As a result, it is possible to prevent the influence of foreign matter on the solar cell element, thereby improving the power generation efficiency and power generation, and improving the heat resistance, weather resistance, and reliability to provide a highly productive solar cell. be able to.
  • the optical member is a flat plate-shaped first flat plate optical member, and the first flat plate optical member is interposed between the first adhesive portion and the pedestal portion. It is arranged.
  • the optical member (first flat plate optical member) can be easily and accurately positioned and fixed in the planar direction and the overlapping direction with respect to the first adhesive portion and the pedestal portion.
  • a beam-like flange provided with a second adhesive portion formed on the top of the pedestal portion, which is bonded to the second adhesive portion and extended in a direction parallel to the receiver substrate.
  • a pedestal covering portion that extends outward from the beam-like flange portion and is connected to the receiver board on the outside of the pedestal portion.
  • the second adhesive portion and the pedestal covering portion can be easily and accurately positioned with respect to the receiver substrate, the solar cell element, the first adhesive portion, and the pedestal portion in the planar direction and the overlapping direction.
  • the pedestal is fixed by the covering part (beam-like flange part and coupling flange part), and the pedestal part can be protected from the surroundings by the pedestal covering part, so that the physical strength of the pedestal part is improved. It can be set as a highly efficient solar cell.
  • the optical member is a flat plate-like second flat plate optical member, and the second flat plate optical member is placed on the top of the pedestal portion and has an outer peripheral end thereof It is characterized by being covered with a beam-like flange.
  • the optical member (second flat plate optical member) can be easily and accurately placed and positioned with respect to the pedestal portion in the planar direction and the overlapping direction.
  • the optical member is a columnar optical member whose top surface has a columnar shape larger than the bottom surface, and the columnar optical member is formed by a fixing portion at an inner end of the beam-shaped flange portion. It is fixed.
  • the optical member (columnar optical member) can be easily and accurately positioned with respect to the pedestal portion and the beam-shaped flange portion in the planar direction and the overlapping direction. On the other hand, positioning can be performed easily and with high accuracy.
  • the fixing portion has a through inclined surface that penetrates the columnar optical member and opposes the vertical fixing portion, and is erected on the inner end frame of the beam-shaped flange portion. It is characterized by being.
  • the columnar optical member can be easily and accurately positioned and fixed to the beam-like flange portion (vertical fixing portion) in the planar direction and the overlapping direction.
  • a first concentrating solar photovoltaic module according to the present invention includes a condensing lens that condenses sunlight and a solar cell that receives and photoelectrically converts the condensed sunlight.
  • a photovoltaic module, wherein the solar cell is a solar cell according to the present invention.
  • a first solar cell manufacturing method includes an optical member that transmits condensed sunlight, a solar cell element that photoelectrically converts sunlight transmitted through the optical member, and the solar cell element mounted thereon.
  • a receiver substrate that is bonded to the receiver substrate and formed in a frame shape that surrounds the solar cell element, and is in contact with the receiver substrate and surrounds the solar cell element to the first adhesive portion.
  • a solar cell manufacturing method for manufacturing a solar cell comprising a bonded pedestal portion and a fixing portion for fixing the optical member with reference to the pedestal portion, the first adhesive forming the first adhesive portion
  • First thermosetting to form the first adhesive portion And extent characterized in that it comprises an optical member disposing step of disposing the optical member to the fixing unit.
  • a first solar cell manufacturing method includes an optical member that transmits condensed sunlight, a solar cell element that photoelectrically converts sunlight transmitted through the optical member, and the solar cell element mounted thereon.
  • a receiver substrate that is bonded to the receiver substrate and formed in a frame shape that surrounds the solar cell element, and is in contact with the receiver substrate and surrounds the solar cell element to the first adhesive portion.
  • a pedestal part that is adhered; a resin sealing part that is surrounded by the first adhesion part and covers the solar cell element; and a second adhesion part that is formed on the top of the pedestal part, the second adhesion part.
  • a beam-like flange portion extended in a direction parallel to the receiver substrate and a coupling flange portion extended outward from the beam-like flange portion and connected to the receiver substrate outside the pedestal portion.
  • a pedestal covering portion and the optical member A solar cell manufacturing method for manufacturing a solar cell including a columnar optical member fixed to a columnar optical member, wherein a first adhesive forming the first adhesive portion is applied to the receiver substrate.
  • attaches the said base part on the said 1st adhesive agent, and mounts it on the said receiver board
  • the 2nd adhesive agent which forms the said 2nd adhesive part is said base part A vertical type as the fixing portion which is provided on the inner end frame of the beam-shaped flange portion and has a second inclined surface which is opposed to the columnar optical member.
  • first adhesive portion, pedestal portion, second adhesive portion, pedestal covering portion vertical fixed portion
  • resin sealing portion optical member (columnar optical member)
  • a second solar cell includes a solar cell element that photoelectrically converts sunlight collected by a condenser lens, a receiver substrate on which the solar cell element is placed, and the collected sunlight.
  • a solar cell comprising a columnar optical member having an incident surface to be incident and an irradiation surface arranged to face the solar cell element and irradiating the solar cell element with sunlight, and a holding unit for holding the columnar optical member.
  • a frame-shaped pedestal portion arranged in a frame shape around the solar cell element and fixed to the receiver substrate; and the holding portion is fitted to the frame-shaped pedestal portion.
  • the columnar optical member can be easily and highly accurately positioned and firmly held with respect to the solar cell element, and the light collecting characteristics can be improved by improving the light collection characteristics over a wide wavelength range. Efficiency and power generation can be improved, and an inexpensive solar cell with high heat resistance, reliability, and weather resistance can be obtained.
  • the second solar cell according to the present invention is characterized by including positioning pins that are arranged on the receiver substrate and position the frame-shaped pedestal portion.
  • This configuration makes it possible to easily and accurately position the frame-shaped pedestal portion on the receiver substrate with good workability.
  • the frame-shaped pedestal portion has a stepped portion that fits into the holding portion.
  • This configuration makes it possible to easily and highly accurately position the holding portion on the frame-shaped pedestal portion with good workability.
  • the frame-shaped pedestal portion has a groove portion formed on a surface in contact with the receiver substrate, and the receiver substrate is filled with the first adhesive filled in the groove portion. It is characterized by being adhered to.
  • This configuration makes it possible to fix (adhere) the frame-shaped pedestal portion to the receiver substrate easily and with high accuracy and good workability.
  • the holding part includes a hook-like protrusion fitted to the step part at an end part facing the step part.
  • the outer peripheral shape of the holding portion can be reduced, the columnar optical member can be stably held, and the weight can be reduced.
  • the columnar optical member is a quadrangular column
  • the holding part is formed in a columnar shape having a through hole contacting the quadrangular column.
  • the holding portion is made of metal.
  • the irradiation surface and the solar cell element are resin-sealed by a resin sealing portion filled in the frame-shaped pedestal portion.
  • the holding portion has a concave portion that constitutes a space for exposing the columnar optical member on the side facing the solar cell element.
  • the through hole has a through groove formed corresponding to the corner of the quadrangular column.
  • the 2nd concentrating solar power generation module which concerns on this invention is a condensing type
  • a solar power generation module, wherein the solar cell is a solar cell according to the present invention.
  • the 2nd solar cell manufacturing method which concerns on this invention is condensed with the solar cell element which photoelectrically converts the sunlight condensed with the condensing lens, the receiver board
  • a columnar optical member having an incident surface on which the sunlight is incident and an irradiation surface that is arranged opposite to the solar cell element and irradiates the solar cell element with sunlight, and a holding unit that holds the columnar optical member;
  • a solar cell manufacturing method for manufacturing a solar cell including a frame-shaped pedestal portion that is arranged in a frame shape around the solar cell element and is fixed to the receiver substrate and fits with the holding portion.
  • a solar cell element mounting step for mounting the solar cell element; a first adhesive application step for applying a first adhesive for bonding the frame-shaped pedestal portion to the receiver substrate; and the frame-shaped pedestal portion.
  • the receipty A frame-shaped pedestal placement step for positioning and placing on the substrate; a second adhesive application step for applying a second adhesive for adhering the holding portion to the frame-shaped pedestal on the frame-shaped pedestal;
  • the columnar optical member can be easily and highly accurately positioned and firmly held with respect to the solar cell element, and the light collecting characteristics can be improved by improving the light collection characteristics over a wide wavelength range.
  • a highly reliable and inexpensive solar cell with improved efficiency and generated power can be easily and accurately manufactured with high productivity.
  • an optical member that transmits condensed sunlight, a solar cell element that photoelectrically converts sunlight transmitted through the optical member, and the solar cell element are mounted.
  • a solar cell comprising a receiver substrate, a first adhesive portion formed in a frame shape that is bonded to the receiver substrate and surrounding the solar cell element, and a first adhesive portion that is in contact with the receiver substrate and surrounds the solar cell element Since it comprises a bonded pedestal part and a resin sealing part that is surrounded by the first adhesive part and covers the solar cell element, the first adhesive part and the pedestal part are superimposed on the receiver substrate and the solar cell element.
  • Effectively irradiate the solar cell element with light since it becomes possible to block the solar cell element from the outside air and prevent the influence of the outside air on the solar cell element, it is possible to provide a highly productive solar cell with improved heat resistance, weather resistance and reliability. There is an effect that can be.
  • a condensing device including a condensing lens that condenses sunlight and a solar cell that receives the collected sunlight and performs photoelectric conversion. Since the solar cell is the solar cell according to the present invention, the solar cell module according to the present invention reliably improves the light collection characteristics over a wide wavelength region, thereby improving the power generation efficiency and power generation, heat resistance, weather resistance It is possible to obtain an inexpensive concentrating solar power generation module with high reliability and reliability.
  • an optical member that transmits condensed sunlight, a solar cell element that photoelectrically converts sunlight transmitted through the optical member, and the solar cell element are placed.
  • a solar cell manufacturing method for manufacturing a solar cell comprising a fixing portion that fixes an optical member with reference to a pedestal portion, wherein a first adhesive that forms a first adhesive portion is applied to a receiver substrate.
  • an optical member disposing step of disposing the optical member on the fixed part Therefore, the first adhesive application step, the pedestal portion placement step, the first thermosetting step, and the optical member placement step are executed, and each component (first adhesive, pedestal portion, optical member (columnar optical member)) is executed.
  • each component first adhesive, pedestal portion, optical member (columnar optical member)
  • an optical member that transmits condensed sunlight, a solar cell element that photoelectrically converts sunlight transmitted through the optical member, and the solar cell element are placed.
  • a fixing portion for fixing the columnar optical member A solar cell manufacturing method for manufacturing a solar cell, wherein a first adhesive application step of applying
  • a solar cell element that photoelectrically converts the sunlight collected by the condenser lens, a receiver substrate on which the solar cell element is placed, and the concentrated sunlight
  • a solar cell comprising a columnar optical member having an incident surface on which light is incident and an irradiation surface that is arranged to face the solar cell element and irradiates the solar cell element with sunlight, and a holding unit that holds the columnar optical member.
  • the frame-shaped pedestal portion is arranged around the solar cell element and is fixed to the receiver substrate, and the holding portion is fitted to the frame-shaped pedestal portion.
  • a collector provided with the condensing lens which condenses sunlight, and the solar cell which light-receives the condensed sunlight and photoelectrically converts it. Since it is an optical solar power generation module, and the solar cell is the solar cell according to the present invention, the light collection efficiency for a wide wavelength region is improved to improve the power generation efficiency and the generated power, and the heat resistance and reliability. There is an effect that an inexpensive concentrating solar power generation module having high weather resistance can be obtained.
  • the solar cell element which photoelectrically converts the sunlight condensed with the condensing lens, the receiver board
  • the part can be easily and highly accurately positioned with respect to the frame-shaped pedestal to hold it firmly Therefore, the columnar optical member can be easily and highly accurately positioned with respect to the solar cell element and can be firmly held, and the light collection efficiency for a wide wavelength region is improved to improve the power generation efficiency and the generated power. There is an effect that it is possible to manufacture a highly reliable and inexpensive solar cell with high productivity with high accuracy.
  • FIG. 1 is a cross-sectional view schematically showing a cross-sectional state of the schematic configuration of the solar cell according to Embodiment 1 of the present invention.
  • FIG. 2 is a cross-sectional view schematically showing a cross-sectional state of the schematic configuration of the solar cell according to Embodiment 2 of the present invention.
  • FIG. 3 is a cross-sectional view schematically showing a cross-sectional state of the schematic configuration of the solar cell according to Embodiment 3 of the present invention.
  • FIG. 4 is a cross-sectional view schematically showing a cross-sectional state of a schematic configuration of the solar cell and the concentrating solar power generation module according to Embodiment 4 of the present invention.
  • FIG. 1 is a cross-sectional view schematically showing a cross-sectional state of the schematic configuration of the solar cell according to Embodiment 1 of the present invention.
  • FIG. 2 is a cross-sectional view schematically showing a cross-sectional state of the schematic configuration of the solar cell according
  • FIG. 5 is an enlarged cross-sectional view showing a cross-sectional state of a schematic configuration in which the solar cell shown in FIG. 4 is enlarged.
  • FIG. 6 is a perspective view showing a schematic configuration of the solar cell shown in FIG.
  • FIG. 7 is a perspective view showing an arrangement state of the solar cell element and the receiver substrate of the solar cell shown in FIG.
  • FIG. 8 is a perspective view showing a schematic configuration of the base portion of the solar cell shown in FIG. 9 is a cross-sectional view showing a cross-sectional state of the pedestal portion shown in FIG.
  • FIG. 10 is a perspective view showing a schematic configuration of the base covering portion, the fixing portion, and the columnar optical member of the solar cell shown in FIG. FIG.
  • FIG. 11 is a cross-sectional view illustrating a cross-sectional state of the pedestal covering portion, the fixing portion, and the columnar optical member illustrated in FIG. 10.
  • FIG. 12 is a perspective view illustrating a schematic configuration of the cap portion illustrated in FIG. 4.
  • 13 is a cross-sectional view showing a cross-sectional shape of the cap portion shown in FIG.
  • FIG. 14 is a flowchart which shows the manufacturing process of the solar cell manufacturing method which manufactures the solar cell which concerns on Embodiment 5 of this invention.
  • FIG. 15 shows a state in which the receiver substrate is set on the positioning jig as a preparation step for applying the first adhesive that becomes the first adhesive portion in the manufacturing process of the solar cell manufacturing method according to Embodiment 5 of the present invention.
  • FIG. 16 is a process perspective view showing a state in which the receiver substrate is set on the positioning jig in the preparation process of FIG.
  • FIG. 17 is a process perspective view showing a state in which the first adhesive portion is applied in the manufacturing process of the solar cell manufacturing method according to Embodiment 5 of the present invention.
  • FIG. 18 is a process perspective view showing a state in which the pedestal is placed on the receiver substrate in the manufacturing process of the solar cell manufacturing method according to Embodiment 5 of the present invention.
  • FIG. 19 is a process perspective view illustrating a state in which the second adhesive portion is applied to the pedestal portion in the manufacturing process of the solar cell manufacturing method according to Embodiment 5 of the present invention.
  • FIG. 20 is a process perspective view showing a state in which the pedestal covering part is placed on the pedestal part in the manufacturing process of the solar cell manufacturing method according to Embodiment 5 of the present invention.
  • FIG. 21 is a process perspective view showing a state in which a sealing resin for resin-sealing a solar cell element is injected into the pedestal portion in the manufacturing process of the solar cell manufacturing method according to Embodiment 5 of the present invention.
  • FIG. 22 is a process perspective view showing a state in which the columnar optical member is inserted into the through hole of the vertical fixing portion in the manufacturing process of the solar cell manufacturing method according to Embodiment 5 of the present invention.
  • FIG. 23 is a process perspective view showing a state in which a translucent adhesive is applied to the top surface of the columnar optical member in the manufacturing process of the solar cell manufacturing method according to Embodiment 5 of the present invention.
  • FIG. 24 is a process perspective view showing a state in which the third adhesive is applied to the vertical fixing portion in the manufacturing process of the solar cell manufacturing method according to Embodiment 5 of the present invention.
  • FIG. 25 is a process perspective view showing a state where the translucent protective plate is placed on the vertical fixing portion in the manufacturing process of the solar cell manufacturing method according to Embodiment 5 of the present invention.
  • FIG. 26 is a process perspective view showing a state where the cap part is placed on the vertical fixing part in the manufacturing process of the solar cell manufacturing method according to Embodiment 5 of the present invention.
  • FIG. 27 is a cross-sectional view showing a cross-sectional state of the concentrating solar power generation module and solar cell according to Embodiment 6 of the present invention.
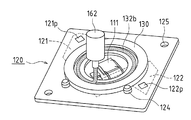
  • FIG. 28 is a perspective view showing the appearance of the solar cell shown in FIG.
  • FIG. 29 is a perspective view showing a mounting state of the solar cell element shown in FIG. 27 on the receiver substrate.
  • 30A is a cross-sectional view showing a cross-sectional shape of the frame-shaped pedestal portion shown in FIG.
  • FIG. 30B is a perspective view illustrating a schematic structure of the holding unit illustrated in FIG. 27.
  • 30C is a cross-sectional view showing a cross-sectional shape of the holding portion shown in FIG. 30B.
  • FIG. 31 is a flowchart showing manufacturing steps of a solar cell manufacturing method for manufacturing a solar cell according to Embodiment 7 of the present invention.
  • FIG. 32 is a process perspective view showing a state in which the first adhesive is applied in the manufacturing process of the solar cell manufacturing method according to Embodiment 7 of the present invention.
  • FIG. 33 is a process perspective view showing a state in which the frame-shaped pedestal is placed on the receiver substrate in the manufacturing process of the solar cell manufacturing method according to Embodiment 7 of the present invention.
  • FIG. 34 is a process perspective view showing a state in which the second adhesive is applied to the frame-shaped pedestal portion in the manufacturing process of the solar cell manufacturing method according to Embodiment 7 of the present invention.
  • FIG. 32 is a process perspective view showing a state in which the first adhesive is applied in the manufacturing process of the solar cell manufacturing method according to Embodiment 7 of the present invention.
  • FIG. 33 is a process perspective view showing a state in which the frame-shaped pedestal is placed on the receiver substrate
  • FIG. 35 is a process perspective view showing a state in which the holding part is fitted to the frame-shaped pedestal part in the manufacturing process of the solar cell manufacturing method according to Embodiment 7 of the present invention.
  • FIG. 36 is a process perspective view showing a state in which a sealing resin for resin-sealing a solar cell element is injected into the frame-shaped pedestal portion in the manufacturing process of the solar cell manufacturing method according to Embodiment 7 of the present invention.
  • FIG. 37 is a process perspective view showing a state in which the columnar optical member is inserted into the through hole of the holding portion in the manufacturing process of the solar cell manufacturing method according to Embodiment 7 of the present invention.
  • FIG. 1 is a cross-sectional view schematically showing a cross-sectional state of a schematic configuration of a solar cell according to Embodiment 1 of the present invention.
  • the solar cell 21 includes an optical member 40 (first flat plate optical member 40f) that transmits the concentrated sunlight Ls and a solar cell element that photoelectrically converts the sunlight Ls that has passed through the optical member 40. 23 and a receiver substrate 22 on which the solar cell element 23 is placed.
  • optical member 40 first flat plate optical member 40f
  • the solar cell 21 is bonded to the receiver substrate 22 and has a first adhesive portion 31 formed in a frame shape surrounding the solar cell element 23, and the first adhesive portion 31 is in contact with the receiver substrate 22 and surrounds the solar cell element 23.
  • a pedestal portion 45 that is bonded and a resin sealing portion 34 that is surrounded by the first bonding portion 31 and covers the solar cell element 23 are provided.
  • the resin sealing portion 34 and the optical member 40 (first member for the solar cell element 23).
  • the flattened optical member 40f) is easily and accurately determined in the plane direction and the superimposing direction (height direction) corresponding to the optical axis Lax, and the collected sunlight Ls is effectively supplied to the solar cell element 23. Irradiation and the solar cell element 23 can be cut off from the outside to prevent the influence of foreign matters on the solar cell element, thereby improving the power generation efficiency and power generation, It can be set as the highly productive solar cell 21 which improved the weather resistance and reliability.
  • the optical member 40 is a first flat plate optical member 40f having a flat plate shape, and the first flat plate optical member 40f is disposed between the first adhesive portion 31 and the pedestal portion 45 in the overlapping direction. . Therefore, the optical member 40 (first flat plate optical member 40f) can be positioned and fixed easily and accurately in the planar direction and the superimposing direction with respect to the first adhesive portion 31 and the pedestal portion 45. Further, since the optical member 40 is disposed in the inner region of the outer peripheral frame 45f of the pedestal portion 45 in the horizontal direction, the optical member 40 can be accurately positioned with respect to the pedestal portion 45.
  • the pedestal portion 45 is bonded to the receiver substrate 22 by a first bonding portion 31 disposed between the bottom surface recess 45 d formed on the bottom surface 45 c of the pedestal portion 45 and the receiver substrate 22. That is, the first adhesive portion 31 is formed between the bottom surface recess 45 d of the pedestal portion 45 and the receiver substrate 22.
  • the pedestal 45 and the receiver substrate 22 can be accurately bonded and fixed via the first bonding portion 31.
  • the pedestal portion 45 is preferably frame-like, similar to the first adhesive portion 31, but is not limited thereto, and may be a quadruped structure, for example. That is, it is sufficient if the structure is sufficiently bonded to the first bonding portion 31 and is stably fixed to the receiver substrate 22. Since the position of the base portion 45 is determined with high accuracy, the focal length of the optical member 40 can be matched with high accuracy.
  • the four-leg structure (modified example) of the pedestal portion 45 will be further described in the fifth embodiment.
  • the gap between the connecting portions such as the lens frame 51 (see FIG. 4) and the base plate 52 (same as above) is reduced to guide the sunlight Ls.
  • the gas for example, air
  • the condenser lens 50 sin as above
  • the solar cell element 23 or the optical member 40 is changed in the temperature. Due to the accompanying dew condensation phenomenon, water droplets may be generated in the light guide region and may adhere to the receiver substrate 22 or the like.
  • the water droplets adhering to the receiver substrate 22 or the like may flow into the surface of the solar cell element 23 due to a change in tracking angle of the receiver substrate 22 or the like when tracking sunlight Ls.
  • the solar cell element 23 is blocked from the light guide region side by the first adhesive portion 31, the resin sealing portion 34, and the like, so that foreign matter (water droplets) from the light guide region side is mixed into the solar cell element 23. It becomes possible to prevent the influence.
  • a gas for example, air, nitrogen, or the like
  • a gas that blocks the surface region of the solar cell element 23 (for example, the space region between the resin sealing portion 34 and the bottom surface 40b of the first flat plate optical member 40f) from the light guide region.
  • argon it is preferable to fill the gas with the lowest possible humidity.
  • the surface region of the solar cell element 23 may be sealed with a sealing resin instead of gas.
  • a sealing resin instead of gas.
  • a blocking region filled with gas may be provided on the light guide region side.
  • the blocking region seals the bypass diode 24 around the solar cell element 23, the wire 29 (see FIG. 7), the wiring member, the first connection pattern 25 (same as above), and the second connection pattern 26 (same as before). Also good. In this way, there is no possibility of causing a short circuit between the output extraction terminals due to adhesion of water droplets or dust.
  • the first flat optical member 40f is disposed between the bottom surface recess 45d and the first adhesive portion 31, and is in close contact with the first adhesive portion 31, so that the first flat optical member 40f is positioned easily and with high accuracy, and the solar cell element 23 is connected to the outside. Can be protected from the environment.
  • the resin sealing portion 34 covering the solar cell element 23 is formed by covering the receiver substrate 22 between the optical member 40 (first flat plate optical member 40f) and the receiver substrate 22. Therefore, the solar cell element 23 and the connection member connected to the solar cell element 23 (such as the wire 29 (see FIG. 7) connecting the surface electrode and the extraction electrode of the solar cell element 23) are reliably protected (insulated). ), It is possible to ensure reliability.
  • the resin sealing portion 34 can also be brought into contact with the bottom surface 40b (inner surface) of the optical member 40. That is, in FIG. 1, the space region is formed between the resin sealing portion 34 and the first flat optical member 40 f, but the space region is completely filled with the sealing resin 34 r (resin sealing portion 34). It is also possible to have a shape.
  • the resin sealing portion 34 By filling the space area with the resin sealing portion 34, it is possible to suppress the influence of the gas (for example, air) existing in the space area. That is, the gas existing between the optical member 40 (first flat plate optical member 40f) and the resin sealing portion 34 is excluded, and the optical member 40 (first flat plate optical member 40f) and the resin sealing portion 34 are removed. , And the sunlight Ls can be efficiently guided to the solar cell element 23.
  • the gas for example, air
  • the outer periphery of the resin sealing portion 34 is surrounded by a first adhesive portion 31 in a frame shape. Therefore, it is possible to reliably cover and protect (insulate) the members (for example, the solar cell element 23, the bypass diode 24, the wire 29, and the wiring member) disposed on the surface of the receiver substrate 22 inside the base portion 45. Therefore, the withstand voltage and weather resistance can be improved and the reliability can be improved.
  • a concentrating solar power generation module 20 (see FIG. 4) equipped with the solar cell 21 according to the present embodiment. That is, the concentrating sunlight provided with the condensing lens 50 (same as above) that condenses the sunlight Ls and the solar cell 21 according to the present embodiment that receives the collected sunlight Ls and performs photoelectric conversion.
  • the power generation module 20 can be obtained. Therefore, it is possible to reliably improve the light condensing characteristics over a wide wavelength region to improve the power generation efficiency and the generated power, and to provide an inexpensive concentrating solar power generation module 20 with high heat resistance, weather resistance, and reliability.
  • the receiver substrate 22 includes, for example, an attachment hole 22h for applying the solar cell 21 to the concentrating solar power generation module 20 for attachment.
  • a solar cell manufacturing method for manufacturing the solar cell 21 according to the present embodiment will be described.
  • a manufacturing process since a typical example is shown in detail in Embodiment 4, only an outline is only demonstrated in this Embodiment.
  • the solar cell manufacturing method includes an optical member 40 that transmits condensed sunlight Ls, a solar cell element 23 that photoelectrically converts sunlight Ls that has passed through the optical member 40, and a solar cell element 23.
  • the first adhesive portion 31 is formed in a frame shape that is bonded to the receiver substrate 22 and surrounds the solar cell element 23, and the receiver substrate 22 is in contact with and surrounds the solar cell element 23.
  • 1 is a solar cell manufacturing method for manufacturing a solar cell 21 including a pedestal portion 45 bonded to one bonding portion 31 and a resin sealing portion 34 that is surrounded by the first bonding portion 31 and covers the solar cell element 23.
  • a first adhesive application step for applying the first adhesive 31r forming the first adhesive portion 31 to the receiver substrate 22 and a flat plate as the optical member 40 are provided.
  • a first flat plate optical member arranging step (an optical member arranging step of arranging the optical member 40) for arranging the one flat plate optical member 40f on the first adhesive 31r, and a receiver board by bonding the pedestal 45 to the first adhesive 31r.
  • a sealing resin injection step of injecting the inner region of the first adhesive portion 31.
  • the first adhesive application step, the first flat plate optical member placement step (optical member placement step), the pedestal portion placement step, and the sealing resin injection step are executed.
  • the heat-resisting, weather-resistant, and highly reliable sun can be easily and highly accurately by a simple process of stacking and aligning the stop resin portion 34, the first flat optical member 40f (optical member 40), and the pedestal portion 45) in order.
  • the battery 21 can be manufactured with high productivity.
  • the sealing resin injection step can be performed before the first adhesive application step and until the first flat plate optical member placement step. Preferably, it implements after the 1st adhesive agent application process to the 1st flat plate optical member arrangement process.
  • the sealing resin 34r is preferably subjected to a defoaming process and a thermosetting process. That is, in the solar cell manufacturing method according to the present embodiment, a defoaming process for performing defoaming on the sealing resin 34r, and a second thermosetting process for heating and thermosetting the sealing resin 34r. Prepare. Therefore, the highly reliable resin sealing portion 34 can be formed easily and with high accuracy.
  • FIG. 2 is a cross-sectional view schematically showing a cross-sectional state of the schematic configuration of the solar cell according to Embodiment 2 of the present invention.
  • the solar cell 21 includes an optical member 40 (second flat plate optical member 40s) that transmits the concentrated sunlight Ls and a solar cell element that photoelectrically converts the sunlight Ls that has passed through the optical member 40. 23 and a receiver substrate 22 on which the solar cell element 23 is placed.
  • optical member 40 second flat plate optical member 40s
  • the solar cell 21 is bonded to the receiver substrate 22 and has a first adhesive portion 31 formed in a frame shape surrounding the solar cell element 23, and the first adhesive portion 31 is in contact with the receiver substrate 22 and surrounds the solar cell element 23.
  • a pedestal portion 45 that is bonded and a resin sealing portion 34 that is surrounded by the first bonding portion 31 and covers the solar cell element 23 are provided.
  • the resin sealing portion 34 and the optical member 40 (the second member 40) for the solar cell element 23 The flattened optical member 40s) is easily and accurately determined in the plane direction and the superimposing direction (height direction) corresponding to the optical axis Lax, and the collected sunlight Ls is effectively supplied to the solar cell element 23. Irradiation and the solar cell element 23 can be cut off from the outside to prevent the influence of foreign matters on the solar cell element, thereby improving the power generation efficiency and power generation, It can be set as the highly productive solar cell 21 which improved the weather resistance and reliability.
  • the receiver substrate 22, the solar cell element 23, the first bonding portion 31, the pedestal portion 45, and the optical member in the planar direction and the overlapping direction corresponding to the optical axis Lax. 40 can be aligned and stacked.
  • the pedestal portion 45 is bonded to the receiver substrate 22 by a first bonding portion 31 disposed between the bottom surface recess 45 d formed on the bottom surface 45 c of the pedestal portion 45 and the receiver substrate 22.
  • the solar cell 21 includes a second adhesive portion 32 formed on the top portion 45b of the pedestal portion 45, and is bonded to the second adhesive portion 32 and extended in a direction parallel to the receiver substrate 22. And a base cover portion 30b having a beam-like flange portion 30c and a coupling flange portion 30d extending outward from the beam-like flange portion 30c and connected to the receiver substrate 22 outside the base portion 45.
  • the second adhesive portion 32 and the pedestal covering portion 30b are easily and accurately positioned in the planar direction and the overlapping direction with respect to the receiver substrate 22, the solar cell element 23, the first adhesive portion 31, and the pedestal portion 45, and the second Since the base portion 45 can be fixed by the adhesive portion 32 and the base cover portion 30b (the beam-like flange portion 30c and the coupling flange portion 30d), and the base portion 45 can be protected from the surroundings by the base cover portion 30b.
  • a highly reliable solar cell 21 in which the physical strength of the pedestal 45 is improved can be obtained.
  • the optical member 40 is a flat plate-shaped second flat plate optical member 40s, and the second flat plate optical member 40s is placed on the top 45b of the pedestal 45 in the overlapping direction, and the outer peripheral end 40st is a beam-shaped flange. Covered by the portion 30c. Therefore, the optical member 40 (second flat plate optical member 40s) can be easily and highly accurately placed and positioned with respect to the pedestal portion 45 in the planar direction and the overlapping direction. Further, since the optical member 40 is disposed in the inner region of the outer peripheral frame 45f of the pedestal portion 45 in the horizontal direction, the optical member 40 can be accurately positioned with respect to the pedestal portion 45.
  • the resin sealing portion 34 covering the solar cell element 23 is formed by covering the receiver substrate 22 between the optical member 40 (second flat plate optical member 40 s) and the receiver substrate 22. Therefore, the solar cell element 23 and the connection member connected to the solar cell element 23 (such as the wire 29 (see FIG. 7) connecting the surface electrode and the extraction electrode of the solar cell element 23) are reliably protected (insulated). ), It is possible to ensure reliability.
  • the resin sealing portion 34 can also be brought into contact with the bottom surface 40b (inner surface) of the optical member 40. That is, in FIG. 2, although it has the shape which has a space area
  • the resin sealing portion 34 By filling the space area with the resin sealing portion 34, it is possible to suppress the influence of the gas (for example, air) existing in the space area. That is, the gas existing between the optical member 40 (second flat plate optical member 40s) and the resin sealing portion 34 is excluded, and the optical member 40 (second flat plate optical member 40s) and the resin seal are sealed. It is possible to suppress the change in the refractive index between the unit 34 and the sunlight Ls to the solar cell element 23 efficiently.
  • the gas for example, air
  • the outer periphery of the resin sealing portion 34 is surrounded by a first adhesive portion 31 in a frame shape. Therefore, it is possible to reliably cover and protect the members (for example, the solar cell element 23, the bypass diode 24, the wire 29, and the wiring member) disposed on the surface of the receiver substrate 22 inside the base portion 45. Therefore, the withstand voltage and the weather resistance can be improved and the reliability can be improved.
  • the base flange portion mounting hole 30j aligned with the mounting hole 22h is formed in the coupling flange portion 30d. Therefore, the base covering portion 30b (the coupling flange portion 30d) can be easily and accurately positioned with respect to the receiver substrate 22.
  • a solar cell manufacturing method for manufacturing the solar cell 21 according to the present embodiment will be described.
  • a manufacturing process since a typical example is shown in detail in Embodiment 4, only an outline is only demonstrated in this Embodiment.
  • the solar cell manufacturing method includes an optical member 40 that transmits condensed sunlight Ls, a solar cell element 23 that photoelectrically converts sunlight Ls that has passed through the optical member 40, and a solar cell element 23.
  • the first adhesive portion 31 is formed in a frame shape that is bonded to the receiver substrate 22 and surrounds the solar cell element 23, and the receiver substrate 22 is in contact with and surrounds the solar cell element 23.
  • the pedestal portion 45 bonded to the first bonding portion 31, the second bonding portion 32 formed on the top portion 45 b of the pedestal portion 45, and the resin sealing portion 34 that is surrounded by the first bonding portion 31 and covers the solar cell element 23.
  • a solar cell manufacturing method for manufacturing the solar cell 21 comprises a pedestal covering portion 30b and a coupling flange portion 30d that is.
  • the first adhesive application step, the pedestal portion placement step, the second adhesive application step, the second flat plate optical member placement step (optical member placement step), the base cover portion placement step, and the sealing resin injection step are executed. Therefore, each component (the 1st adhesion part 31, the base part 45, the 2nd adhesion part 32, the resin sealing part 34, the 2nd flat plate optical member 40s (optical member 40), and the base covering part 30b) is piled up in order. With a simple process of aligning, it becomes possible to manufacture the solar cell 21 having high heat resistance, weather resistance, and reliability with high productivity with high accuracy.
  • the sealing resin injection step can be performed between the first adhesive application step and the second flat plate optical member placement step. Preferably, it implements after forming the 1st adhesion part 31 at the 1st thermosetting process until the 2nd flat plate optical member arrangement process.
  • FIG. 3 is a cross-sectional view schematically showing a cross-sectional state of the schematic configuration of the solar cell according to Embodiment 3 of the present invention.
  • the solar cell 21 includes an optical member 40 (columnar optical member 40p) that transmits the concentrated sunlight Ls, and a solar cell element 23 that photoelectrically converts the sunlight Ls that has passed through the optical member 40. And a receiver substrate 22 on which the solar cell element 23 is placed.
  • optical member 40 columnar optical member 40p
  • solar cell element 23 that photoelectrically converts the sunlight Ls that has passed through the optical member 40.
  • receiver substrate 22 on which the solar cell element 23 is placed.
  • the solar cell 21 is bonded to the receiver substrate 22 and has a first adhesive portion 31 formed in a frame shape surrounding the solar cell element 23, and the first adhesive portion 31 is in contact with the receiver substrate 22 and surrounds the solar cell element 23.
  • a pedestal portion 45 that is bonded and a resin sealing portion 34 that is surrounded by the first bonding portion 31 and covers the solar cell element 23 are provided.
  • the first adhesive portion 31 and the pedestal portion 45 are overlapped and connected to the receiver substrate 22 and the solar cell element 23 in the overlapping direction, so that the resin sealing portion 34 and the optical member 40 (columnar optics) for the solar cell element 23 are connected.
  • the solar cell element 23 is effectively irradiated with the condensed sunlight Ls determined and easily and accurately in the planar direction and the superimposing direction (height direction) corresponding to the optical axis Lax.
  • the solar cell element 23 can be blocked from the outside to prevent the influence of foreign matters on the solar cell element, the power generation efficiency and the generated power can be improved, and the heat resistance and weather resistance can be improved.
  • the solar cell 21 with improved productivity and improved reliability can be obtained.
  • the solar cell 21 includes a second adhesive portion 32 formed on the top portion 45b of the pedestal portion 45, and is bonded to the second adhesive portion 32 and extended in a direction parallel to the receiver substrate 22. And a base cover portion 30b having a beam-like flange portion 30c and a coupling flange portion 30d extending outward from the beam-like flange portion 30c and connected to the receiver substrate 22 outside the base portion 45.
  • the second adhesive portion 32 and the pedestal covering portion 30b are easily and accurately positioned in the planar direction and the overlapping direction with respect to the receiver substrate 22, the solar cell element 23, the first adhesive portion 31, and the pedestal portion 45, and the second Since the base portion 45 can be fixed by the adhesive portion 32 and the base cover portion 30b (the beam-like flange portion 30c and the coupling flange portion 30d), and the base portion 45 can be protected from the surroundings by the base cover portion 30b.
  • a highly reliable solar cell 21 in which the physical strength of the pedestal 45 is improved can be obtained.
  • the optical member 40 is a columnar optical member 40p having a top surface 40a having a columnar shape larger than the bottom surface 40b.
  • the columnar optical member 40p is fixed to the fixing portion 30 (fitting fixing portion 30r) at the inner end of the beam-shaped flange portion 30c. ).
  • the optical member 40 (columnar optical member 40p) can be easily and highly accurately positioned in the planar direction and the overlapping direction with respect to the pedestal 45 and the beam-shaped flange portion 30c. Positioning with respect to the battery element 23 can be performed easily and with high accuracy.
  • the bottom surface 40b of the columnar optical member 40p has an area corresponding to the solar cell element 23, for example, an area corresponding to the effective light receiving area of the solar cell element 23. That is, by making the bottom surface 40b equal to the effective light receiving area of the solar cell element 23, it is possible to prevent unnecessary irradiation of the sunlight Ls, thereby preventing temperature rise due to solar energy and improving power generation efficiency. be able to.
  • the condensed sunlight Ls can be reliably incident on the columnar optical member 40p.
  • the optical member 40 (columnar optical member 40p) is disposed in the inner region of the outer peripheral frame 45f of the pedestal portion 45 in the horizontal direction, the optical member 40 can be accurately positioned with respect to the pedestal portion 45.
  • the optical member 40 (columnar optical member 40p) is positioned with respect to the fitting fixing portion 30r (fixing portion 30), and the fitting fixing portion 30r is a beam-like flange portion 30c (pedestal covering portion 30b).
  • the beam-shaped flange portion 30c is positioned with respect to the pedestal portion 45 (receiver substrate 22).
  • the fixing part 30 fixes the optical member 40 on the basis of the pedestal part 45. That is, the solar cell 21 includes a fixing portion 30 (fitting fixing portion 30r) that fixes the optical member 40 with the pedestal portion 45 as a reference.
  • the fixing portion 30 is a fitting fixing portion 30r that is fitted to the inner end frame 30ct of the beam-like flange portion 30c and fixes the columnar optical member 40p. Therefore, the columnar optical member 40p can be easily and accurately bonded and fixed to the beam-like flange portion 30c.
  • the fitting fixing portion 30r Since the inner periphery of the fitting fixing portion 30r is inclined in advance so as to face the optical path inclined surface 40c of the columnar optical member 40p, the columnar optical member 40p is positioned in a self-aligning manner with respect to the fitting fixing portion 30r. It becomes possible to match.
  • fixed part 30r can be previously formed as a molded article using a suitable synthetic resin, and can be formed by fitting in the inner side end frame 30ct.
  • the resin sealing portion 34 that covers the solar cell element 23 is formed by covering the receiver substrate 22 between the optical member 40 (columnar optical member 40 p) and the receiver substrate 22. Moreover, the resin sealing part 34 is made to contact the bottom face 40b of the optical member 40 (columnar optical member 40p). That is, the space region between the resin sealing portion 34 and the columnar optical member 40p (bottom surface 40b) is completely filled with the sealing resin 34r (resin sealing portion 34).
  • the solar cell Ls is efficiently produced by preventing the refractive index from being fluctuated due to the gas (for example, air) existing in the space region between the optical member 40 (columnar optical member 40p) and the resin sealing portion 34.
  • the light can be guided to the element 23.
  • a concentrating solar power generation module 20 (see FIG. 4) equipped with the solar cell 21 according to the present embodiment.
  • the application mode of the solar cell 21 in the concentrating solar power generation module 20 is the same as that in the first embodiment and the second embodiment, the details will be described in the fourth embodiment.
  • a solar cell manufacturing method for manufacturing the solar cell 21 according to the present embodiment will be described.
  • a manufacturing process since a typical example is shown in detail in Embodiment 4, only an outline is only demonstrated in this Embodiment.
  • the solar cell manufacturing method includes an optical member 40 that transmits condensed sunlight Ls, a solar cell element 23 that photoelectrically converts sunlight Ls that has passed through the optical member 40, and a solar cell element 23.
  • the first adhesive portion 31 is formed in a frame shape that is bonded to the receiver substrate 22 and surrounds the solar cell element 23, and the receiver substrate 22 is in contact with and surrounds the solar cell element 23.
  • the pedestal portion 45 bonded to the first bonding portion 31, the second bonding portion 32 formed on the top portion 45 b of the pedestal portion 45, and the resin sealing portion 34 that is surrounded by the first bonding portion 31 and covers the solar cell element 23.
  • the solar cell 21 including the base covering portion 30b having the coupling flange portion 30d and the fixing portion 30 (fitting fixing portion 30r) for fixing the columnar optical member 40p having the columnar shape as the optical member 40 is manufactured. It is a solar cell manufacturing method.
  • the first adhesive application step of applying the first adhesive 31r forming the first adhesive portion 31 to the receiver substrate 22, and the base portion 45 on the first adhesive 31r.
  • a columnar optical member arranging step (an optical member arranging step for arranging the optical member 40) in which the columnar optical member 40p having a columnar shape as the optical member 40 is fixed to the fitting fixing portion 30r, and the solar cell element 23 is sealed with resin.
  • the solar cell 21 it is possible to manufacture the solar cell 21 with high heat resistance, weather resistance, and high reliability easily and with high accuracy by a simple process of stacking and aligning the columnar optical members 40p (optical members 40) in order. .
  • the sealing resin injection step can be performed from before the first adhesive application step to the columnar optical member placement step. Preferably, it implements after forming the 1st adhesion part 31 in the 1st thermosetting process until the columnar optical member arrangement process.
  • a defoaming process process for performing a defoaming process on the sealing resin 34r and a second thermosetting process for heating and thermosetting the sealing resin 34r can be performed. .
  • first adhesive 31r and the second adhesive 32r can be individually cured. That is, it is possible to form only the first adhesive portion 31 in the first thermosetting step.
  • the solar cell manufacturing method includes an optical member 40 that transmits the concentrated sunlight Ls, a solar cell element 23 that photoelectrically converts the sunlight Ls that has passed through the optical member 40, and a solar cell.
  • the first adhesive application step of applying the first adhesive 31r forming the first adhesive portion 31 to the receiver substrate 22, and the pedestal portion on the first adhesive 31r. 45 is attached to the receiver substrate 22, and a first thermosetting step for heating the first adhesive 31r to form the first adhesive portion 31, and a fixing portion 30 (fitting and fixing).
  • a 1st adhesive agent application process a base part mounting process, a 1st thermosetting process, and an optical member arrangement
  • positioning process are performed, and each structural member (The 1st adhesion part 31, the base part 45, the optical member 40 (columnar optical member) 40p)) are sequentially stacked and aligned, and the solar cell 21 having high heat resistance, weather resistance, and high reliability can be easily and accurately manufactured with high productivity.
  • FIG. 4 is a cross-sectional view schematically showing a cross-sectional state of a schematic configuration of the solar cell and the concentrating solar power generation module according to Embodiment 4 of the present invention.
  • FIG. 5 is an enlarged cross-sectional view showing a cross-sectional state of a schematic configuration in which the solar cell shown in FIG. 4 is enlarged.
  • FIG. 6 is a perspective view showing the schematic configuration of the solar cell shown in FIG.
  • the solar cell 21 photoelectrically converts the optical member 40 (columnar optical member 40p) that transmits the sunlight Ls collected by the condenser lens 50 and the sunlight Ls that has passed through the optical member 40.
  • a solar cell element 23 and a receiver substrate 22 on which the solar cell element 23 is placed are provided.
  • the solar cell 21 is bonded to the receiver substrate 22 and has a first adhesive portion 31 formed in a frame shape surrounding the solar cell element 23, and the first adhesive portion is in contact with the receiver substrate 22 and surrounds the solar cell element 23.
  • a pedestal 45 bonded to 31, and a resin sealing portion 34 that is surrounded by the first bonding portion 31 and covers the solar cell element 23.
  • the first adhesive portion 31 and the pedestal portion 45 are overlapped and connected to the receiver substrate 22 and the solar cell element 23 in the overlapping direction, so that the resin sealing portion 34 and the optical member 40 (columnar optics) for the solar cell element 23 are connected.
  • the solar cell element 23 is effectively irradiated with the condensed sunlight Ls determined and easily and accurately in the planar direction and the superimposing direction (height direction) corresponding to the optical axis Lax.
  • the solar cell element 23 can be blocked from the outside to prevent the influence of foreign matters on the solar cell element, the power generation efficiency and the generated power can be improved, and the heat resistance and weather resistance can be improved.
  • the solar cell 21 with improved productivity and improved reliability can be obtained.
  • the pedestal portion 45 is bonded to the receiver substrate 22 by a first bonding portion 31 disposed between the bottom surface recess 45 d formed on the bottom surface 45 c of the pedestal portion 45 and the receiver substrate 22. That is, the first adhesive portion 31 is formed between the bottom surface recess 45 d of the pedestal portion 45 and the receiver substrate 22. Therefore, the base 45 and the receiver substrate 22 can be bonded and fixed with high accuracy via the first bonding portion 31.
  • the pedestal portion 45 is preferably framed like the first adhesive portion 31, but is not limited thereto, and may be a four-leg structure, for example. That is, it is sufficient if the structure is sufficiently bonded to the first bonding portion 31 and is stably fixed to the receiver substrate 22.
  • the solar cell 21 includes a second adhesive portion 32 formed on the top portion 45b of the pedestal portion 45, and is bonded to the second adhesive portion 32 and extended in a direction parallel to the receiver substrate 22. And a base cover portion 30b having a beam-like flange portion 30c and a coupling flange portion 30d extending outward from the beam-like flange portion 30c and connected to the receiver substrate 22 outside the base portion 45.
  • the second adhesive portion 32 and the pedestal covering portion 30b are easily and accurately positioned in the planar direction and the overlapping direction with respect to the receiver substrate 22, the solar cell element 23, the first adhesive portion 31, and the pedestal portion 45, and the second Since the base portion 45 can be fixed by the adhesive portion 32 and the base cover portion 30b (the beam-like flange portion 30c and the coupling flange portion 30d), and the base portion 45 can be protected from the surroundings by the base cover portion 30b.
  • a highly reliable solar cell 21 in which the physical strength of the pedestal 45 is improved can be obtained.
  • the optical member 40 is a columnar optical member 40p having a top surface 40a having a columnar shape larger than the bottom surface 40b.
  • the columnar optical member 40p is fixed to the fixing portion 30 (vertical fixing portion 30f) at the inner end of the beam-shaped flange portion 30c. ).
  • the optical member 40 (columnar optical member 40p) can be easily and highly accurately positioned in the planar direction and the overlapping direction with respect to the pedestal 45 and the beam-shaped flange portion 30c. Positioning with respect to the battery element 23 can be performed easily and with high accuracy.
  • the optical member 40 (columnar optical member 40p) is disposed in the inner region of the outer peripheral frame 45f of the pedestal portion 45 in the horizontal direction, the optical member 40 can be accurately positioned with respect to the pedestal portion 45.
  • the optical member 40 (columnar optical member 40p) is positioned with respect to the vertical fixing portion 30f (fixing portion 30), and the vertical fixing portion 30f is a beam-shaped flange portion 30c (pedestal covering portion 30b).
  • the beam-shaped flange portion 30c is positioned with respect to the pedestal portion 45 (receiver substrate 22).
  • the fixing portion 30 (vertical fixing portion 30f) fixes the optical member 40 with the pedestal portion 45 as a reference. That is, the solar cell 21 includes a fixing portion 30 (vertical fixing portion 30f) that fixes the optical member 40 with the pedestal portion 45 as a reference.
  • the fixed portion 30 has a vertical inclined surface 30s that penetrates and opposes the columnar optical member 40p and is erected on the inner end frame 30ct of the beam-shaped flange portion 30c. It is the fixed part 30f. Therefore, the columnar optical member 40p can be easily positioned and fixed to the beam-like flange portion 30c (vertical fixing portion 30f) in a plane direction and a superimposing direction.
  • the solar cell 21 includes a translucent protective plate 41 that covers the top surface 40a of the columnar optical member 40p and is fixed to the vertical fixing portion 30f. Therefore, the translucent protective plate 41 can be easily and accurately positioned and fixed to the columnar optical member 40p in the planar direction and the superimposing direction, so that the sunlight Ls is efficiently guided to the columnar optical member 40p.
  • the gap between the columnar optical member 40p and the vertical fixing portion 30f can be blocked from the outside, and the solar cell element 23 and the columnar optical member 40p are reliably protected from the external environment, and the reliability is improved.
  • the battery 21 can be used.
  • the translucent protective plate 41 is bonded to the third bonding portion 33 formed on the top portion 30h of the vertical fixing portion 30f. Therefore, the translucent protective plate 41 is easily and accurately positioned with respect to the vertical fixing portion 30f in the planar direction and the overlapping direction, and the translucent protective plate 41 and the vertical fixing portion 30f are fixed without any gap. Therefore, the columnar optical member 40p can be shielded from the external environment to prevent the influence of foreign matters.
  • the solar cell 21 includes a cap portion 60 having a window frame 60b covering the outer peripheral end of the translucent protective plate 41 and connected to the vertical fixing portion 30f. Therefore, since the cap part 60 can be easily and highly accurately positioned and fixed in the plane direction and the superimposing direction with respect to the translucent protective plate 41, the translucent protective plate 41 is fixed and the vertical fixing part is fixed. By protecting the outer peripheral end of the top portion 30h of 30f, the mechanical strength of the translucent protective plate 41 is ensured, and the solar cell 21 with improved reliability can be obtained.
  • the cap part 60 (see FIG. 6) is coupled by engaging and locking a claw part 60d extended from the frame part 60c into a locking recess 30k formed in the vertical fixing part 30f. Moreover, the window frame 60b (cap part 60) is made into the shape which shields the 3rd adhesion part 33 from sunlight Ls. Since the 3rd adhesion part 33 can be prevented from being irradiated to sunlight Ls, degradation of the 3rd adhesion part 33 (3rd adhesive 33r) can be prevented.
  • the solar cell element 23 and the columnar optical member 40p can be blocked from the outside, it is possible to prevent foreign matters (rain water, sand dust, etc.) from entering the solar cell element 23 and the columnar optical member 40p. Further, the columnar optical member 40p can improve the light condensing characteristics over a wide wavelength region to improve the power generation efficiency and the generated power, so that the inexpensive solar cell 21 with high heat resistance, reliability, and weather resistance can be obtained.
  • the sunlight Ls irradiated to the solar cell element 23 is guided by the columnar optical member 40p, it is possible to improve the condensing characteristic with respect to a wide wavelength region. Moreover, since the outer periphery of the solar cell element 23 and the columnar optical member 40p is covered with the vertical fixing portion 30f, the pedestal portion 45, and the translucent protective plate 41, the solar cell element 23 and the columnar optical member 40p are unnecessary from the outside. It is possible to eliminate the influence, and it is possible to improve the light collecting characteristics and reliability.
  • the translucent protective plate 41 is adhered to the top surface 40a of the columnar optical member 40p via the translucent adhesive layer 36. Therefore, the gap (space region) between the translucent protective plate 41 and the columnar optical member 40p is eliminated, and the fluctuation of the refractive index between the translucent protective plate 41 and the columnar optical member 40p is suppressed, The sunlight Ls can be efficiently guided to the solar cell element 23.
  • the vertical fixing portion 30f is bonded to the pedestal portion 45 by a second bonding portion 32 disposed between the top portion 45b of the pedestal portion 45 and the beam-like flange portion 30c on which the vertical fixing portion 30f is erected. . That is, the second adhesive portion 32 is formed between the top portion 45b of the pedestal portion 45 and the vertical fixing portion 30f.
  • the vertical fixing portion 30f and the pedestal portion 45 can be bonded and fixed without any gaps via the second adhesive portion 32, and therefore, between the vertical fixing portion 30f and the pedestal portion 45, It is possible to prevent foreign matters from entering the solar cell element 23 and the columnar optical member 40p.
  • the vertical fixing portion 30f holds the side surface (optical path inclined surface 40c) adjacent to the top surface 40a of the columnar optical member 40p in contact with the through inclined surface 30s. Further, the vertical fixing portion 30f is integrated with the base covering portion 30b (the beam-like flange portion 30c and the coupling flange portion 30d). The second adhesive portion 32 is disposed between the pedestal covering portion 30 b (the beam-like flange portion 30 c) and the pedestal portion 45.
  • the heat from the vertical fixing portion 30f and the pedestal portion 45 is efficiently radiated to the receiver substrate 22 through the pedestal covering portion 30b (coupling flange portion 30d), and the receiver substrate is also radiated through the pedestal covering portion 30b. Since it becomes possible to position and fix the vertical fixing portion 30f to 22, it is possible to improve heat dissipation and physical strength.
  • the pedestal covering portion 30b includes a beam-like flange portion 30c that extends from the vertical fixing portion 30f and is arranged in a beam shape, and a coupling member that is arranged by being bent from the beam-like flange portion 30c so as to contact the receiver substrate 22 A flange body 30d.
  • the bottom surface 40b of the columnar optical member 40p has an area corresponding to the solar cell element 23, for example, an area corresponding to the effective light receiving area of the solar cell element 23. That is, by making the bottom surface 40b equal to the effective light receiving area of the solar cell element 23, it is possible to prevent unnecessary irradiation of the sunlight Ls, thereby preventing temperature rise due to solar energy and improving power generation efficiency. be able to.
  • the condensed sunlight Ls can be reliably incident on the columnar optical member 40p.
  • the translucent protective plate 41 is bonded to the vertical fixing portion 30f by a third adhesive portion 33 disposed between the top 30h of the vertical fixing portion 30f and the translucent protective plate 41. That is, the third adhesive portion 33 is formed between the vertical fixing portion 30 f and the translucent protective plate 41.
  • the translucent protective plate 41 and the vertical fixing portion 30f can be fixed without gaps via the third adhesive portion 33, so that the columnar optical member 40p is shielded from the external environment and foreign matter is columnar optical member. It is possible to prevent the influence on 40p.
  • the resin sealing portion 34 that covers the solar cell element 23 is formed by covering the receiver substrate 22 between the optical member 40 (columnar optical member 40 p) and the receiver substrate 22.
  • the resin sealing portion 34 is surrounded by the first bonding portion 31 at the end.
  • the members for example, the solar cell element 23, the bypass diode 24, the wire 29 (see FIG. 7), and the wiring member) arranged on the surface of the receiver substrate 22 inside the pedestal portion 45 (the first bonding portion 31) are securely secured. Therefore, it is possible to improve the insulation and weather resistance and improve the reliability.
  • the resin sealing portion 34 is in contact with the bottom surface 40b of the columnar optical member 40p. That is, the bottom surface 40b (columnar optical member 40p) is in a state of being immersed in the resin sealing portion 34. Therefore, the gas between the columnar optical member 40p and the resin sealing portion 34 is excluded to suppress the change in the refractive index between the columnar optical member 40p and the resin sealing portion 34, and the sunlight Ls can be efficiently generated. The light can be guided to the solar cell element 23.
  • the combination of the columnar optical member 40p and the resin sealing portion 34 makes it incident on the top surface 40a, travels through the columnar optical member 40p, and efficiently emits sunlight Ls emitted toward the solar cell element 23 from the bottom surface 40b. It becomes possible to irradiate the solar cell element 23, and the power generation efficiency can be improved.
  • the columnar optical member 40p is made of, for example, heat-resistant glass, and the bottom surface 40b is immersed in a resin sealing portion 34 included in the pedestal portion 45, for example, 0.3 mm to 0.5 mm.
  • the refractive index n of the columnar optical member 40p (for example, glass) is 1.5, and the refractive index n is 1.3 when the resin sealing portion 34 is formed of, for example, a silicone resin.
  • the sunlight Ls incident in the columnar optical member 40p is inclined in the optical path. It is possible to efficiently advance sunlight Ls to the tip (bottom surface 40b) of the columnar optical member 40p while efficiently totally reflecting the surface 40c.
  • the solar cell element 23 (effective light receiving region) can be efficiently irradiated through the resin sealing portion 34.
  • the combination of the resin sealing portion 34 and the columnar optical member 40p makes it easy to adjust and unify the refractive index in the secondary optical system (the light guide including the columnar optical member 40p), and the light is collected by the condenser lens 50.
  • the solar light Ls can be efficiently incident on the solar cell element 23, and the power generation efficiency of the solar cell 21 can be increased.
  • the coupling flange 30d (pedestal covering portion 30b, vertical fixing portion 30f) includes a pedestal covering portion attachment hole 30j formed in alignment with the attachment hole 22h formed in the receiver substrate 22. Further, two mounting holes 22h and two pedestal covering portion mounting holes 30j are formed, and the receiver substrate 22 and the vertical fixing portion 30f can be positioned in a self-aligning manner.
  • the vertical fixing part 30f is positioned with high accuracy and good workability with respect to the receiver substrate 22, and the mutual positional relationship can be fixed by the fixing member 54h (for example, rivets).
  • the vertical fixing portion 30f can be easily and highly accurately positioned and firmly held with respect to the receiver substrate 22, so that the columnar optical member 40p can be easily and highly accurately attached to the solar cell element 23.
  • An inexpensive solar cell 21 having high heat resistance, reliability, and weather resistance by improving the light collection efficiency and power generation by improving the light collection characteristics over a wide wavelength region. It can be.
  • a concentrating solar power generation module 20 equipped with the solar cell 21 will also be described (see FIG. 4).
  • the solar cell 21 according to the first to third embodiments can also be the concentrating solar power generation module 20 in the same manner as the present embodiment.
  • the concentrating solar power generation module 20 includes a condensing lens 50 that condenses sunlight Ls and a solar cell 21 that receives the collected sunlight Ls and performs photoelectric conversion. Therefore, it is possible to reliably improve the light condensing characteristics over a wide wavelength region to improve the power generation efficiency and the generated power, and to provide an inexpensive concentrating solar power generation module 20 with high heat resistance, reliability, and weather resistance.
  • the concentrating solar power generation module 20 includes a lens frame 51 that holds the condensing lens 50 and positions the solar cell 21 and the condensing lens 50 relative to each other.
  • the condenser lens 50 is fixed to the top surface of the side of the lens frame 51 with a fixing member 55t (for example, a screw).
  • the solar cell 21 (receiver substrate 22) is fastened to the heat radiation fin 53 by a fixing member 54h that passes through the attachment hole 22h and the base cover attachment hole 30j, and the heat radiation fin 53 is a fixing member 54p (for example, a screw).
  • the base plate 52 is fastened.
  • the base plate 52 is fixed to the frame bottom 51b of the lens frame 51 by a fixing member 55b (for example, a screw).
  • the solar cell 21 is fixed to the lens frame 51 (frame bottom 51b) via the heat radiation fins 53 and the base plate 52. Therefore, the condensing lens 50 and the solar cell 21 are positioned easily and with high accuracy on the optical axis Lax, and the condensed sunlight Ls passes through the transmission window 51w opened in the frame bottom 51b of the lens frame 51. And enters the solar cell 21 with high accuracy.
  • the receiver substrate 22 is connected to and integrated with the heat radiation fins 53 by a fixing member 54h inserted into the mounting hole 22h.
  • the heat radiation fins 53 are comb-shaped. Therefore, the radiation fins 53 connected to the back surface of the receiver substrate 22 can efficiently dissipate the heat generated in the receiver substrate 22 due to the concentrated sunlight Ls to the outside. It is possible to further improve the power generation efficiency and reliability.
  • the radiating fins 53 are made of aluminum in order to reduce the weight.
  • the condensing lens 50 can have various shapes such as a biconvex lens, a plano-convex lens, and a Fresnel lens. Moreover, as a material of the condensing lens 50, the thing with the high transmittance
  • the material of the condenser lens 50 is not limited to these materials, and those materials having a multilayer structure may be used.
  • an appropriate ultraviolet absorber can be added to these materials for the purpose of preventing the ultraviolet degradation of the condenser lens 50 and other members.
  • FIG. 7 is a perspective view showing an arrangement state of the solar cell element and the receiver substrate of the solar cell shown in FIG.
  • the solar cell element 23 is disposed at the center of the receiver substrate 22 in consideration of the uniformity of heat dissipation.
  • a bypass diode 24 is connected in parallel to the solar cell element 23. The bypass diode 24 ensures a current path when the solar cell element 23 operates as a resistor when the sunlight Ls is interrupted.
  • the bypass diode 24 can maintain the power generation function as a whole even when the specific solar cell element 23 does not perform the power generation function. It is to be configured.
  • the solar cell element 23 is formed with a PN junction, an electrode, and the like by a known semiconductor manufacturing process using, for example, Si or a GaAs compound semiconductor. From the viewpoint of reducing the material cost by reducing the solar cell material to be used, it is processed into a wafer state and formed as a solar cell element 23 and then separated into chips of about 4 to 6 mm square. .
  • the solar cell element 23 includes a substrate electrode (not shown) on the substrate side of the chip and a surface electrode (not shown) on the surface side of the chip as electrodes.
  • the receiver substrate 22 includes, for example, a base base 22a, an intermediate insulating layer stacked on the base base 22a, and a first connection pattern 25 and a second connection pattern 26 made of copper stacked on the intermediate insulating layer.
  • the receiver substrate 22 includes a surface protective layer 27 that protects the first connection pattern 25 and the second connection pattern 26.
  • the surface protective layer 27 covering the first connection pattern 25 is removed in the region of the first extraction electrode 25a to which an external terminal (not shown) is connected, the region in which the solar cell element 23 and the bypass diode 24 are mounted.
  • the copper (conductor) of the first connection pattern 25 is directly exposed to the outside.
  • the surface protective layer 27 covering the second connection pattern 26 is formed on the region of the second extraction electrode 26 a to which an external terminal (not shown) is connected, the surface electrode of the solar cell element 23, and the surface electrode of the bypass diode 24. It is removed in the region of the wire connection part 26b connected via the wire 29, and the copper (conductor) of the second connection pattern 26 is directly exposed to the outside.
  • the receiver substrate 22 is, for example, 24 mm to 60 mm square with respect to the solar cell element 23 of about 4 mm to 6 mm, for example.
  • the thickness of the receiver substrate 22 is, for example, about 0.6 mm to 3 mm in consideration of heat dissipation.
  • the base base 22a is made of, for example, aluminum or ceramic to improve heat dissipation and to reduce the weight.
  • the mounting holes 22h formed in a pair on the diagonal line of the receiver substrate 22 are for positioning when the receiver substrate 22 is set in each manufacturing apparatus (not shown) in a later processing step in addition to the above-described fixing function. Also works.
  • FIG. 8 is a perspective view showing a schematic configuration of the base portion of the solar cell shown in FIG.
  • FIG. 9 is a cross-sectional view showing a cross-sectional state of the pedestal shown in FIG.
  • the pedestal portion 45 has a bottom surface recess 45 d formed on the bottom surface 45 c that contacts the receiver substrate 22.
  • the bottom recess 45d is formed by chamfering, for example, an inner corner of the frame-like bottom surface of the pedestal 45.
  • the pedestal portion 45 is bonded to the receiver substrate 22 by the first bonding portion 31 filled in the bottom surface recess 45d. Therefore, it becomes possible to fix (adhere) the pedestal portion 45 to the receiver substrate 22 with ease and high accuracy and good workability.
  • the pedestal portion 45 is formed in a frame shape so as to constitute a through opening 45a including the columnar optical member 40p, and has a frame-shaped top portion 45b facing the beam-shaped flange portion 30c.
  • the top 45b is formed by providing a step in the outer corner of the top surface of the pedestal 45, and can be formed by positioning the second adhesive portion 32 with high accuracy.
  • the pedestal portion 45 is bonded to the beam-shaped flange portion 30c by the second bonding portion 32 filled (formed) in the top portion 45b.
  • both the receiver substrate 22 and the pedestal portion 45 and between the pedestal portion 45 and the beam-like flange portion 30c have an excellent sealing property with no gap. Further, since the beam-like flange portion 30c is bonded to the pedestal portion 45 by the second bonding portion 32, it is reliably and firmly fixed.
  • the pedestal portion 45 has a frame shape including the solar cell element 23, the bypass diode 24, and the wire connection portion 26b.
  • the pedestal portion 45 has a frame shape with a side of 18 mm to 20 mm and a thickness (height) of about 8 mm. is there.
  • the base part 45 is shown as a frame shape, as described above, for example, it can be brought into contact with the receiver substrate 22 at a four-leg portion as a four-leg structure.
  • the pedestal portion 45 may be in contact with the first connection pattern 25 and the second connection pattern 26 that are arranged on the surface of the receiver substrate 22 and function as external electrodes, the first connection pattern 25 is passed through the pedestal portion 45. It is necessary to prevent current from flowing between the second connection pattern 26 and the second connection pattern 26. Therefore, the pedestal portion 45 is made of an insulating resin such as polycarbonate.
  • FIG. 10 is a perspective view showing a schematic configuration of the base covering portion, the fixing portion, and the columnar optical member of the solar cell shown in FIG.
  • FIG. 11 is a cross-sectional view showing a cross-sectional state of the base covering portion, the fixing portion, and the columnar optical member shown in FIG.
  • the pedestal covering portion 30b includes a beam-like flange portion 30c and a coupling flange portion 30d, and a vertical fixing portion 30f as a fixing portion 30 is formed at the tip (inner tip frame 30ct) of the beam-like flange portion 30c. ing.
  • the vertical fixing portion 30f is connected to the base covering portion 30b (the beam-like flange portion 30c and the coupling flange portion 30d), it is fixed to the receiver substrate 22 in a mechanically stable state. Therefore, it is possible to stably hold the columnar optical member 40p by eliminating the influence of the position of the center of gravity of the columnar optical member 40p.
  • the base covering portion 30b and the vertical fixing portion 30f are integrated and formed of, for example, an aluminum alloy. That is, the base covering portion 30b and the vertical fixing portion 30f are made of metal. Accordingly, the mechanical strength and heat dissipation of the base covering portion 30b and the vertical fixing portion 30f can be improved, so that the columnar optical member 40p can be securely held with good stability, and heat can be stored in the columnar optical member 40p. It is possible to improve power generation efficiency and reliability.
  • the side of the frame-shaped outer shape of the vertical fixing portion 30f is, for example, 17 mm, the height is, for example, 10 mm, and the height from the coupling flange body 30d to the top surface of the vertical fixing portion 30f is, for example, 20 mm.
  • the columnar optical member 40p is a quadrangular column having an inclined side surface, and the top surface 40a and the bottom surface 40b are quadrangles whose centers coincide with each other. Therefore, the columnar optical member 40p has four optical path inclined surfaces 40c defined by a bottom surface 40b and a top surface 40a formed larger than the bottom surface 40b. Since the columnar optical member 40p has the optical path inclined surface 40c, it becomes a light guide path that efficiently guides and irradiates the concentrated sunlight Ls to the solar cell element 23.
  • the vertical fixing portion 30f includes a through hole 30e having a through inclined surface 30s that penetrates the columnar optical member 40p (a quadrangular column having different areas of both end faces) and abuts (contacts) the optical path inclined surface 40c. That is, the optical path inclined surface 40c and the through inclined surface 30s have the same inclination angle. Therefore, the columnar optical member 40p is fitted in a self-aligned manner with respect to the beam-like flange portion 30c (through hole 30e, vertical fixing portion 30f) by taper fitting, and is positioned with high accuracy. be able to.
  • the vertical fixing portion 30f through inclined surface 30s
  • the columnar optical member 40p optical path inclined surface 40c
  • the concentrated sunlight Ls is supplied to the solar cell element 23. It is possible to irradiate with high accuracy to improve the light collecting property and improve the power generation efficiency.
  • the through hole 30e (through inclined surface 30s) is in contact with the upper position (on the top surface 40a side) of the columnar optical member 40p (optical path inclined surface 40c). Therefore, the columnar optical member 40p can be stably fixed regardless of the position of the center of gravity.
  • the top portion 30h of the vertical fixing portion 30f has a groove-like recess for forming the third adhesive portion 33 with high accuracy, and a positioning step 30m for facilitating the positioning of the translucent protective plate 41 is provided in the frame. It is formed in a shape. Therefore, the 3rd adhesion part 33 (refer to Drawing 5) can be formed easily and with high precision, and translucent protection board 41 can be arranged easily and with high precision.
  • the through-hole 30e has through-grooves 30g formed corresponding to the corners (four corners formed by the optical path inclined surfaces 40c intersecting each other) of a quadrangular column (columnar optical member 40p). Therefore, the through-groove 30g prevents damage to the corners of the columnar optical member 40p, and can form an air passage from the solar cell element 23 to the top surface 40a. Bubbles generated by the defoaming process for the sealing resin 34r (see FIG. 21) filled at the time of formation can be effectively discharged to the outside.
  • the through groove 30g can generate convection from the solar cell element 23 to the top surface 40a during operation, heat dissipation can be improved.
  • a wide groove is formed on the through inclined surface 30s similarly to the through groove portion 30g so that total reflection at the optical path inclined surface 40c is effectively generated.
  • the top surface 40a on which the sunlight Ls is incident is made larger than the bottom surface 40b, a margin for the positional deviation between the condenser lens 50 and the solar cell 21 (top surface 40a). The power generation efficiency and power generation can be improved.
  • a light collecting path (columnar optical member 40p) having high positional accuracy and stability is obtained, and a light collecting characteristic capable of collecting sunlight Ls with high accuracy in a wide wavelength region is obtained. It is possible to improve the generated power by reducing the power generation efficiency and the temperature rise caused by the positional deviation of the concentrated sunlight Ls, and improve the heat resistance, reliability, and weather resistance.
  • FIG. 12 is a perspective view showing a schematic configuration of the cap portion shown in FIG.
  • FIG. 13 is a cross-sectional view showing a cross-sectional shape of the cap portion shown in FIG.
  • the cap part 60 (window frame 60b) is made into the shape which shields the 3rd adhesion part 33 from sunlight Ls. Therefore, since it is possible to prevent the third adhesive portion 33 from being irradiated with the sunlight Ls, it is possible to prevent the third adhesive portion 33 (the third adhesive 33r) from being deteriorated.
  • the cap unit 60 includes a flat surface portion 60a that is bonded to the third bonding portion 33 and shields sunlight Ls from the third bonding portion 33, and also has sunlight for the top portion 30h of the vertical fixing portion 30f (FIG. 11).
  • a frame portion 60c that shields Ls is provided adjacent to the plane portion 60a.
  • the flat portion 60a has a window frame 60b at the center that is opened so that sunlight Ls is incident on the inner side of the outer periphery of the top surface 40a.
  • the frame part 60c is erected with respect to the end of the flat part 60a and has a shape surrounding the top part 30h of the vertical fixing part 30f.
  • the cap part 60 (the flat part 60a and the frame part 60c) has an L-shaped cross section, and has a shape in which the sunlight Ls is not directly irradiated onto the third bonding part 33.
  • the cap part 60 is made into the shape of a frame whose one side is 20 mm, for example, and the thickness of the plane part 60a and the frame part 60c is about 1.5 mm.
  • the cap part 60 is made of metal (for example, aluminum alloy). Therefore, since the cap part 60 becomes high in mechanical strength and heat dissipation, the surface of the translucent protective plate 41 and the vertical fixing part 30f is prevented from being deteriorated or burnt by sunlight Ls, Since the translucent protective plate 41 and the vertical fixing portion 30f can be physically protected, the solar cell 21 having excellent power generation efficiency and reliability can be provided.
  • metal for example, aluminum alloy
  • the claw portion 60d formed by extending the frame portion 60c is provided at two opposing positions, and is configured to be locked to the locking recess 30k (FIG. 6) provided in the vertical fixing portion 30f. .
  • the cap portion 60 can be locked and fixed to the outside of the top portion 30h of the vertical fixing portion 30f.
  • the solar cell 21 according to the present embodiment is the same as the solar cell 21 described in the first to fourth embodiments (particularly, the solar cell 21 according to the fourth embodiment), the reference numerals are appropriately used, The different items will be explained.
  • the optical member 40 that transmits the concentrated sunlight Ls, the solar cell element 23 that photoelectrically converts the sunlight Ls that has passed through the optical member 40, and the solar cell.
  • the base part 45 bonded to the first adhesive part 31, the resin sealing part 34 surrounded by the first adhesive part 31 and covering the solar cell element 23, and the second adhesive formed on the top part 45 b of the base part 45.
  • Board 2 This is a solar cell manufacturing method for manufacturing a solar cell including a base covering portion 30b having a coupling flange portion 30d connected to the fixing member 30 and a fixing portion 30 for fixing a columnar optical member 40p having a columnar shape as the optical member 40. .
  • the solar cell manufacturing method includes a first adhesive application step, a pedestal portion placement step, a second adhesive application step, and a pedestal covering portion placement step (fixed portion) described below.
  • Placement step first thermosetting step, sealing resin injection step, columnar optical member mounting step (optical member placement step), defoaming step, second thermosetting step, and translucent adhesive resin.
  • FIG. 14 is a flowchart showing manufacturing steps of a solar cell manufacturing method for manufacturing a solar cell according to Embodiment 5 of the present invention.
  • the solar cell manufacturing method for manufacturing the solar cell 21 according to the present embodiment includes the following steps S1 to S15. This will be described with reference to the drawings (FIGS. 7, 15 to 26) corresponding to each step.
  • Step S1 (FIG. 7): The solar cell element 23 is mounted on the receiver substrate 22 (solar cell element mounting step).
  • the receiver board 22 is prepared.
  • a first connection pattern 25 and a second connection pattern 26 are formed on the receiver substrate 22, and the surface is protected (insulated) by a surface protective layer 27.
  • a chip substrate (substrate electrode: not shown) of the solar cell element 23 and a chip substrate (substrate electrode: not shown) of the bypass diode 24 are bonded (die-bonded) to the first connection pattern 25.
  • the surface protective layer 27 is removed in advance. ing.
  • the solar cell element 23 is soldered and placed in the region (center portion) of the receiver substrate 22 where the solar cell element 23 is connected.
  • the bypass diode 24 is soldered and placed in a region (a portion slightly shifted from the central portion of the receiver substrate 22) where the bypass diode is placed at a certain distance from the solar cell element 23.
  • one of the four wires 29 is connected to the surface electrode (not shown) of the solar cell element 23, and one of the two wires 29 is connected to the surface electrode (not shown) of the bypass diode 24, respectively. Connecting. The other of the wires 29 is connected to the wire connection portion 26b where the second connection pattern 26 is exposed.
  • receiver substrate 22 can be appropriately positioned by the mounting holes 22h.
  • Step S2 After the preparation steps of FIGS. 15 and 16, the first adhesive 31r is applied to the receiver substrate 22 (FIG. 17, first adhesive application step).
  • FIG. 15 shows a state in which the receiver substrate is set on the positioning jig as a preparation step for applying the first adhesive that becomes the first adhesive portion in the manufacturing process of the solar cell manufacturing method according to Embodiment 5 of the present invention.
  • FIG. 16 is a process perspective view showing a state in which the receiver substrate is set on the positioning jig in the preparation process of FIG.
  • the mounting holes 22 h provided in the receiver substrate 22 are attached while being aligned with the positioning pins 71 provided in the positioning jig 70.
  • the base covering portion 30b can be easily and highly accurately positioned with respect to the substrate 22 with good workability.
  • FIG. 17 is a process perspective view showing a state in which the first adhesive portion is applied in the manufacturing process of the solar cell manufacturing method according to Embodiment 5 of the present invention.
  • the first adhesive 31r that forms the first adhesive portion 31 that bonds the base portion 45 and the receiver substrate 22 is applied to the receiver substrate 22 (first adhesive application step).
  • the positioning jig 70 on which the receiver substrate 22 is set is set at a predetermined position on a table (not shown) of the first adhesive dispenser 61, and a position corresponding to a predetermined position (bottom surface recess 45d (see FIG. 9)) of the receiver substrate 22. Appropriate marks can be formed in advance.)
  • the first adhesive 31r is applied so as to have a predetermined shape for forming the first adhesive portion 31.
  • a shape (frame shape, cross-sectional width, cross-section) in which a white silicone resin (first adhesive 31r) is determined at a predetermined position on the surface of the receiver substrate 22 on which the solar cell element 23 and the bypass diode 24 are placed. Apply at the height).
  • Step S3 FIG. 18 is a process perspective view showing a state in which the pedestal is placed on the receiver substrate in the manufacturing process of the solar cell manufacturing method according to Embodiment 5 of the present invention.
  • the pedestal 45 is bonded to the first adhesive 31r and placed on the receiver substrate 22 (pedestal placement step).
  • the mounting of the pedestal portion 45 on the receiver substrate 22 is performed by adjusting the position so that the center of the pedestal portion 45 comes to the center of the receiver substrate 22.
  • the first adhesive 31r is applied in a shape that fills the bottom recess 45d. Therefore, the first adhesive 31r fills the bottom surface recess 45d, and forms the first adhesive portion 31 that firmly bonds (fixes) the pedestal portion 45 to the receiver substrate 22.
  • the pedestal portion 45 includes a through opening 45a inside, and the through opening 45a has a shape including the solar cell element 23, the bypass diode 24, and the wire connection portion 26b. Therefore, the base portion 45 can protect the solar cell element 23, the bypass diode 24, and the wire connection portion 26b from the surrounding environment.
  • the first adhesive 31r (first adhesive portion 31) is made of resin (sealing resin constituting the resin sealing portion 34), gas (first flat plate optical member 40f and resin sealing portion 34 of the first embodiment), or the like. It functions as a blocking material (dam material) for sealing the filler. Therefore, the frame-shaped pedestal portion 45 is not required to have a structure in which the frame-shaped pedestal portion 45 is formed in a frame shape and the bottom surface 45c directly contacts and adheres to the receiver substrate 22 in a frame shape. In other words, the frame-shaped pedestal portion 45 only needs to be bonded so that at least a part of the bottom surface 45c directly contacts the receiver substrate 22 so that the focal length of the optical member 40 can be defined.
  • the pedestal portion 45 is square (FIG. 18), it is provided with leg-like portions that protrude toward the receiver substrate 22 at the corners of the four corners, and are bonded so that the bottom surface of the leg-shaped portion directly contacts the receiver substrate 22.
  • the first adhesive 31r may be constituted by filling the gap formed between the pedestal 45 and the receiver substrate 22 with the first adhesive 31r by crimping the first adhesive 31r, and at least the resin It is only necessary to create a sealed space with respect to the surrounding environment using the sealing portion 34 and the pedestal portion 45.
  • the sealing resin (not shown) for the take-out electrode 26a can be separated and applied, and expensive and highly transparent resin can be isolated and limited to a narrow space.
  • the solar cell 21 can be manufactured at a low cost without deteriorating the performance.
  • Step S4 FIG. 19 is a process perspective view illustrating a state in which the second adhesive portion is applied to the pedestal portion in the manufacturing process of the solar cell manufacturing method according to Embodiment 5 of the present invention.
  • the second adhesive 32r that forms the second adhesive portion 32 that bonds the pedestal covering portion 30b and the pedestal portion 45 is applied to the top 45b of the pedestal portion 45 (second adhesive application step).
  • the positioning jig 70 on which the receiver substrate 22 is set is set at a predetermined position on a table (not shown) of the second adhesive dispenser 62, and is second bonded to the top 45b of the pedestal 45 mounted and bonded to the receiver substrate 22.
  • the second adhesive 32r is applied so as to have a predetermined shape for forming the portion 32.
  • the second adhesive 32r is applied to the top 45b in a predetermined shape (frame shape, cross-sectional width, cross-sectional height).
  • the first adhesive 31r and the second adhesive 32r may be the same resin, and the first adhesive dispenser 61 and the second adhesive dispenser 62 may be the same device.
  • Step S5 FIG. 20 is a process perspective view showing a state in which the pedestal covering part is placed on the pedestal part in the manufacturing process of the solar cell manufacturing method according to Embodiment 5 of the present invention.
  • the pedestal covering portion 30b is placed on the receiver substrate 22 (that is, the second adhesive 32r of the pedestal portion 45) (pedestal covering portion placing step). ).
  • the vertical fixing portion 30f as the fixing portion 30 that has the through inclined surface 30s that penetrates the columnar optical member 40p and faces the inner end frame 30ct (see FIG. 11) of the beam-like flange portion 30c is provided.
  • the pedestal covering portion 30b is adhered to the second adhesive 32r and placed on the receiver substrate 22 (the pedestal covering portion placing step.
  • this is also a fixing portion arranging step for arranging the fixing portion 30).
  • the pedestal covering portion mounting hole 30j formed in the coupling flange 30d of the pedestal covering portion 30b into the positioning pins 71 provided in the positioning jig 70 in a self-aligning manner, The pedestal covering portion 30b can be easily and accurately positioned. Further, since the second adhesive 32r is applied to the top 45b in the second adhesive application step (step S4), the base covering part 30b and the base 45 (top 45b) are bonded to each other. It will be in the state fixed firmly.
  • Step S6 The first adhesive 31r and the second adhesive 32r are heated and thermally cured to form the first adhesive portion 31 and the second adhesive portion 32 (first thermosetting step).
  • the first adhesive 31r and the second adhesive 32r are heated by heating at 150 ° C. for 30 minutes, for example. Harden.
  • the receiver substrate 22 and the pedestal portion 45 are integrated (coupled without a gap) by the first adhesive portion 31, and the pedestal portion 45 and the pedestal covering portion 30b are They are integrated by the second adhesive portion 32 and joined together without a gap.
  • FIG. 21 is a process perspective view showing a state in which a sealing resin for resin-sealing a solar cell element is injected into the pedestal portion in the manufacturing process of the solar cell manufacturing method according to Embodiment 5 of the present invention.
  • the sealing resin 34r for resin-sealing the solar cell element 23 is injected into the inner region of the pedestal portion 45 (first adhesive portion 31) (sealing resin injection step).
  • the positioning jig 70 on which the receiver substrate 22 is set is set at a predetermined position on a table (not shown) of the sealing resin dispenser 63, and a predetermined amount of the sealing resin 34r passes through the vertical fixing portion 30f (fixing portion 30). Inject through hole 30e.
  • the sealing resin 34r As the sealing resin 34r, a silicone resin having high translucency is applied.
  • the injection amount is the sealing resin 34r (resin sealing portion 34) injected by the tip (bottom surface 40b) of the columnar optical member 40p when the columnar optical member 40p is fitted into the through hole 30e of the vertical fixing portion 30f.
  • the height is such that the surface is covered (immersed) by about 0.3 mm to 0.5 mm.
  • Step S8 FIG. 22 is a process perspective view showing a state in which the columnar optical member is inserted into the through hole of the vertical fixing portion in the manufacturing process of the solar cell manufacturing method according to Embodiment 5 of the present invention.
  • the columnar optical member 40p is inserted into the through hole 30e of the vertical fixing portion 30f (columnar optical member arranging step). That is, the columnar optical member 40p is disposed so as to be in contact with and fixed to the through inclined surface 30s (the optical member 40 is also disposed and is an optical member disposing step).
  • the bottom surface 40b of the columnar optical member 40p is covered with the sealing resin 34r.
  • the columnar optical member 40p While maintaining the state of being placed on the table of the sealing resin dispenser 63, the columnar optical member 40p is fitted to the vertical fixing portion 30f (pedestal covering portion 30b). As described above, the columnar optical member 40p (optical path inclined surface 40c) is formed so as to be self-aligned with the vertical fixing portion 30f (through hole 30e, through inclined surface 30s). The optical member 40p can be coupled (contacted) to the base covering portion 30b (vertical fixing portion 30f).
  • Step S9 A defoaming process is performed on the sealing resin 34r (defoaming process).
  • the receiver substrate 22 is taken out from the table of the sealing resin dispenser 63 and accommodated in a vacuum desiccator (not shown). In this state, evacuation is performed by a vacuum pump (not shown), and a defoaming process for removing bubbles contained in the resin sealing portion 34 is performed.
  • Step S10 The sealing resin 34r is heated and thermally cured (second thermosetting step).
  • the receiver substrate 22 is taken out from a vacuum desiccator (not shown), and the sealing resin 34r is heated and cured at, for example, 160 ° C. for 40 minutes in a state where it is accommodated in an oven (not shown).
  • the tip (bottom surface 40b) of the columnar optical member 40p is covered and fixed by the resin sealing portion 34 formed by curing the sealing resin 34r. That is, the columnar optical member 40p is fixed to the resin sealing portion 34 and is also fixed to the inserted vertical fixing portion 30f (through hole 30e).
  • FIG. 23 is a process perspective view showing a state in which a translucent adhesive is applied to the top surface of the columnar optical member in the manufacturing process of the solar cell manufacturing method according to Embodiment 5 of the present invention.
  • a translucent adhesive 36r for forming a translucent adhesive layer 36 for adhering the top surface 40a of the columnar optical member 40p and the translucent protective plate 41 is applied to the top surface 40a of the columnar optical member 40p (translucency). Adhesive application process).
  • the positioning jig 70 on which the receiver substrate 22 is set is set at a predetermined position on a table (not shown) of the translucent adhesive dispenser 64, and a predetermined amount of translucent adhesive 36r is placed on the top surface 40a of the columnar optical member 40p. Apply thinly to the top.
  • the translucent adhesive 36r a silicone resin having high translucency is applied. Also, the coating amount is such that the thickness of the formed transparent adhesive layer 36 is such that air is not included in the gap when the transparent protective plate 41 is placed on the columnar optical member 40p (top surface 40a). It should be about 0.5 mm.
  • Step S12 FIG. 24 is a process perspective view showing a state in which the third adhesive is applied to the vertical fixing portion in the manufacturing process of the solar cell manufacturing method according to Embodiment 5 of the present invention.
  • a third adhesive 33r that covers the top surface 40a of the columnar optical member 40p and adheres the translucent protective plate 41 fixed to the vertical fixing portion 30f is applied to the top 30h of the vertical fixing portion 30f (third adhesion). Agent coating step).
  • the positioning jig 70 on which the receiver substrate 22 is set is set at a predetermined position on a table (not shown) of the third adhesive dispenser 65, and is erected on the tip of the base covering part 30b that is placed on the base part 45 and bonded thereto.
  • the third adhesive 33r is applied to the top 30h of the vertical fixing portion 30f. That is, the third adhesive 33r is applied in a frame shape to the top 30h using the positioning step 30m.
  • the first adhesive 31r, the second adhesive 32r, and the third adhesive 33r may be the same resin, or the first adhesive dispenser 61, the second adhesive dispenser 62, and the third adhesive dispenser 65. The same device may be applied.
  • FIG. 25 is a process perspective view showing a state where the translucent protective plate is placed on the vertical fixing portion in the manufacturing process of the solar cell manufacturing method according to Embodiment 5 of the present invention.
  • the translucent protective plate 41 is placed on the top surface 40a of the columnar optical member 40p (translucent protective plate placing step). That is, the translucent protective plate 41 is placed on the top surface 40a coated with the translucent adhesive 36r and the vertical fixing portion 30f coated with the third adhesive 33r.
  • a translucent adhesive 36r is thinly applied to the entire top surface 40a by a translucent adhesive dispenser 64, and a third adhesive 33r is framed by a third adhesive dispenser 65 on the top 30h of the vertical fixing portion 30f. Since the translucent protective plate 41 is placed after coating, the translucent adhesive layer 36 is formed between the top surface 40a and the translucent protective plate 41, and the translucent protective plate 41 is vertically disposed. It becomes possible to adhere to the mold fixing part 30f.
  • the translucent protective plate 41 is positioned with respect to the vertical fixing portion 30f (the third adhesive portion 33) by using a positioning step 30m formed in conjunction with the top portion 30h to provide a translucent protection at the center of the vertical fixing portion 30f. Adjusting so that the plate 41 comes. In addition, since the third adhesive 33r is applied so as to fill the groove-shaped concave portion of the top portion 30h, the translucent protective plate 41 is firmly bonded (fixed) to the vertical fixing portion 30f. .
  • the translucent protective plate 41 spreads the translucent adhesive 36r thinly applied to the top surface 40a of the columnar optical member 40p, and the translucent protective plate 41 and the columnar optical member 40p (top surface 40a). Are bonded through a light-transmitting adhesive 36r (light-transmitting adhesive layer 36).
  • Step S14 The translucent adhesive 36r and the third adhesive 33r are heated and thermally cured to form the translucent adhesive layer 36 and the third adhesive portion 33 (third thermosetting step).
  • the third adhesive 33r and the translucent adhesive 36r are heated at 150 ° C. for 30 minutes, for example. Heat cure.
  • the vertical fixing portion 30f and the translucent protective plate 41 are integrated (coupled without a gap) by the third adhesive portion 33, so that the translucent protection is achieved.
  • the plate 41 and the columnar optical member 40p are integrated (coupled without a gap) by the translucent adhesive layer 36.
  • Step S15 FIG. 26 is a process perspective view showing a state where the cap part is placed on the vertical fixing part in the manufacturing process of the solar cell manufacturing method according to Embodiment 5 of the present invention.
  • the cap part 60 which has the window frame 60b which covers the outer periphery end of the translucent protection board 41 is connected with the vertical fixing
  • the cap part 60 is connected to the vertical fixing part 30f by aligning the direction so that the claw part 60d of the cap part 60 comes to the locking concave part 30k of the vertical fixing part 30f, and the cap part from above the vertical fixing part 30f.
  • the cap portion 60 is attached to the vertical fixing portion 30f by placing the claw portion 60d so as to cover it and pressing the claw portion 60d until it is caught in the locking recess 30k.
  • Step after step S15 After step S15, the receiver substrate 22 and the radiation fins 53 are connected and integrated by a fixing member 54h inserted through the attachment hole 22h and the base cover attachment hole 30j using a riveter (not shown). (Radiating fin mounting process).
  • the solar cell manufacturing method includes the optical member 40 that transmits the concentrated sunlight Ls, the solar cell element 23 that photoelectrically converts the sunlight Ls that has passed through the optical member 40, and The receiver substrate 22 on which the solar cell element 23 is placed, the first adhesive portion 31 that is bonded to the receiver substrate 22 and is formed in a frame shape surrounding the solar cell element 23, and the solar cell element 23 that is in contact with the receiver substrate 22 , A pedestal portion 45 that is bonded to the first bonding portion 31, a resin sealing portion 34 that is surrounded by the first bonding portion 31 and covers the solar cell element 23, and a first portion 45 b formed on the top portion 45 b of the pedestal portion 45.
  • a beam-shaped flange portion 30c that is bonded to the second bonding portion 32 and extends in a direction parallel to the receiver substrate 22, and an outer side of the pedestal portion 45 that extends outward from the beam-shaped flange portion 30c.
  • a solar cell including a pedestal covering portion 30b having a coupling flange portion 30d connected to the substrate 22 and a fixing portion 30 (vertical fixing portion 30f) for fixing the columnar optical member 40p having a columnar shape as the optical member 40. It is a solar cell manufacturing method which manufactures.
  • a base covering portion placement step (which is also a fixing portion placement step for placing the fixing portion 30) that is bonded to the adhesive 32r and placed on the receiver substrate 22, and the first adhesive 31r and the second adhesive 32r Heat to first bond
  • the first adhesive application step, the pedestal portion placement step, the second adhesive application step, the pedestal covering portion placement step (fixed portion placement step), the columnar optical member placement step (optical member placement step), and the sealing resin The injection process is performed, and each component (first bonding portion 31, pedestal portion 45, second bonding portion 32, pedestal covering portion 30b (vertical fixing portion 30f as fixing portion 30), resin sealing portion 34, columnar shape
  • the solar cell 21 having high heat resistance, weather resistance, and high reliability can be easily and accurately manufactured with high productivity through a simple process of sequentially aligning and aligning the optical members 40p (optical members 40)).
  • a light-transmitting adhesive 36r that further forms a light-transmitting adhesive layer 36 that bonds the top surface 40a of the columnar optical member 40p and the light-transmitting protective plate 41 is used. Is applied to the top surface 40a of the columnar optical member 40p, and the translucent protective plate 41 that covers the top surface 40a of the columnar optical member 40p and is fixed to the vertical fixing portion 30f is bonded. A third adhesive applying step for applying the third adhesive 33r to the top 30h of the vertical fixing portion 30f, and a translucent protective plate mounting for placing the translucent protective plate 41 on the top surface 40a of the columnar optical member 40p.
  • the cap part 60 which has the window frame 60b which covers the outer periphery end of 41 And a cap portion connecting step of connecting to the mold fixing portion 30f.
  • a third adhesive application step, a translucent adhesive application step, a translucent protective plate placement step, a third thermosetting step, and a cap portion connection step are performed, and each component member (third adhesive portion 33,
  • the solar cell 21 having high heat resistance, weather resistance, and reliability can be easily and accurately obtained by a simple process of sequentially aligning and aligning the light-transmitting adhesive layer 36, the light-transmitting protective plate 41, and the cap portion 60). It can be manufactured with high productivity.
  • the sealing resin injection step of injecting the sealing resin 34r for sealing the solar cell element 23 into the inner region of the first adhesive portion 31 is performed before the first adhesive application step until the columnar optical member placement step. Can be implemented. Preferably, it implements after forming the 1st adhesion part 31 and the 2nd adhesion part 32 in the 1st thermosetting process until the columnar optical member arrangement process.
  • a defoaming process process for defoaming the sealing resin 34r and a second thermosetting process for heating and thermosetting the sealing resin 34r are performed. Is preferred.
  • the solar cell manufacturing method includes an optical member 40 that transmits the concentrated sunlight Ls, a solar cell element 23 that photoelectrically converts the sunlight Ls that has passed through the optical member 40, and a solar cell.
  • the first adhesive application step of applying the first adhesive 31r forming the first adhesive portion 31 to the receiver substrate 22, and the pedestal portion on the first adhesive 31r. 45 is attached to the receiver substrate 22, and a first thermosetting step of heating the first adhesive 31r to form the first adhesive portion 31, and a fixing portion 30 (vertical fixing).
  • a 1st adhesive agent application process a base part mounting process, a 1st thermosetting process, and an optical member arrangement
  • positioning process are performed, and each structural member (The 1st adhesion part 31, the base part 45, the optical member 40 (columnar optical member) 40p)) are sequentially stacked and aligned, and the solar cell 21 having high heat resistance, weather resistance, and high reliability can be easily and accurately manufactured with high productivity.
  • FIG. 27 is a cross-sectional view showing a cross-sectional state of the concentrating solar power generation module and solar cell according to Embodiment 6 of the present invention.
  • FIG. 28 is a perspective view showing the appearance of the solar cell shown in FIG.
  • FIG. 29 is a perspective view showing a mounting state of the solar cell element shown in FIG. 27 on the receiver substrate.
  • Solar cell 110 is condensed with solar cell element 111 that photoelectrically converts sunlight Ls collected by condenser lens 150, and receiver substrate 120 on which solar cell element 111 is placed.
  • a columnar optical member 140 having an incident surface 140f on which the solar light Ls is incident and an irradiation surface 140r arranged to face the solar cell element 111 and irradiating the solar cell element 111 with the sunlight Ls, and the columnar optical member 140 are held.
  • the solar cell 110 includes a frame-shaped pedestal portion 130 that is arranged in a frame shape around the solar cell element 111 and is fixed to the receiver substrate 120, and the holding portion 135 is fitted to the frame-shaped pedestal portion 130. .
  • the frame-shaped pedestal portion 130 can be easily and highly accurately positioned and firmly fixed to the receiver substrate 120, and the holding portion 135 can be easily and highly accurately fixed to the frame-shaped pedestal portion 130. Since it becomes possible to position and hold firmly, the columnar optical member 140 can be easily and highly accurately positioned and firmly held with respect to the solar cell element 111, and the light collecting characteristics over a wide wavelength region can be obtained. It is possible to improve the power generation efficiency and power generation by improving the solar cell 110 with high heat resistance, high reliability, and high weather resistance.
  • the holding portion 135 is fitted into the frame-shaped pedestal portion 130, but conversely, the frame-shaped pedestal portion 130 can be fitted into the holding portion 135.
  • the irradiation surface 140r has an area corresponding to the solar cell element 111, for example, an area corresponding to the effective light receiving area of the solar cell element 111. That is, by making the irradiation surface 140r equal to the effective light receiving area of the solar cell element 111, it is possible to prevent unnecessary irradiation of the sunlight Ls, and to prevent the temperature increase due to solar energy and improve the power generation efficiency. Can be made. Further, since the incident surface 140f has a larger area than the irradiation surface 140r, the condensed sunlight Ls is reliably incident on the columnar optical member 140.
  • the concentrating solar power generation module 101 includes a condensing lens 150 that condenses sunlight Ls, and a solar cell 110 that receives the collected sunlight Ls and performs photoelectric conversion. Therefore, it is possible to improve the light condensing characteristics with respect to a wide wavelength region to improve the power generation efficiency and the generated power, and to provide an inexpensive concentrating solar power generation module 101 with high heat resistance, reliability, and weather resistance.
  • the solar cell element 111 is arranged at the center of the receiver substrate 120 in consideration of the uniformity of heat dissipation.
  • a bypass diode 112 is connected in parallel to the solar cell element 111, and the bypass diode 112 secures a current path when the solar cell element 111 operates as a resistor when sunlight Ls is interrupted.
  • the power generation function can be maintained as a whole even when the specific solar cell element 111 does not perform the power generation function. It is to be configured.
  • the solar cell element 111 is formed with a PN junction, an electrode and the like by a known semiconductor manufacturing process using, for example, Si or GaAs compound semiconductor. From the viewpoint of reducing the material cost by reducing the solar cell material to be used, the wafer is processed to form a solar cell element, and then the chip is separated into chips of about 4 to 6 mm square.
  • the solar cell element 111 includes a substrate electrode (not shown) on the substrate side of the chip and a surface electrode (not shown) on the surface side of the chip as electrodes.
  • the receiver substrate 120 includes, for example, a base base 120b, an intermediate insulating layer (not shown) stacked on the base base 120b, and a copper first connection pattern 121 and a second connection pattern 122 stacked on the intermediate insulating layer.
  • the receiver substrate 120 includes a surface protective layer 123 that protects the first connection pattern 121 and the second connection pattern 122.
  • the surface protective layer 123 covering the first connection pattern 121 is removed in the region of the first extraction electrode 121p to which an external terminal (not shown) is connected, the region in which the solar cell element 111 and the bypass diode 112 are mounted.
  • the copper (conductor) of the first connection pattern 121 is directly exposed to the outside.
  • the surface protective layer 123 covering the second connection pattern 122 is formed of a wire 126 on the region of the second extraction electrode 122p to which an external terminal (not shown) is connected, the electrode of the solar cell element 111, and the electrode of the bypass diode 112. It is removed in the region of the wire connection part 122w connected via the copper, and the copper (conductor) of the second connection pattern 122 is directly exposed to the outside.
  • the receiver substrate 120 is, for example, 24 mm to 60 mm square with respect to the solar cell element 111 of about 4 mm to 6 mm, for example.
  • the thickness of the receiver substrate 120 is, for example, about 1 mm to 3 mm in consideration of heat dissipation.
  • the base base 120b is made of, for example, aluminum, and improves heat dissipation and can be reduced in weight.
  • the receiver substrate 120 has a pair of substrate position fixing holes 125 on a diagonal line for positioning when the receiver substrate 120 is set in each manufacturing apparatus / each manufacturing jig (not shown) in a later processing step. .
  • the receiver substrate 120 (solar cell 110) includes positioning pins 124 that are disposed on the receiver substrate 120 and position the frame-shaped pedestal portion 130. Therefore, the frame-shaped pedestal portion 130 can be easily and highly accurately positioned on the receiver substrate 120 with good workability. Since the positioning pins 124 are disposed at two predetermined positions on the receiver substrate 120, positioning can be accurately performed.
  • the frame-shaped pedestal portion 130 has a stepped portion 132 that fits with the holding portion 135 (the hook-shaped protrusion 136) on the upper surface side opposite to the lower surface side fixed to the receiver substrate 120. Therefore, the holding part 135 can be easily and highly accurately positioned on the frame-shaped pedestal part 130 with good workability. Since the step portion 132 is disposed on the inner peripheral side of the frame-shaped pedestal portion 130, the holding portion 135 can be easily fitted. Not only this but the level
  • the frame-shaped pedestal portion 130 has a groove 131 formed on the lower surface in contact with the receiver substrate 120, and is bonded to the receiver substrate 120 by a first adhesive 131b filled in the groove 131. Therefore, it becomes possible to fix (adhere) the frame-shaped pedestal portion 130 to the receiver substrate 120 easily and with high workability.
  • the holding portion 135 includes a hook-shaped protrusion 136 fitted to the step portion 132 at an end facing the step portion 132. Therefore, the outer peripheral shape of the holding part 135 can be reduced, the columnar optical member 140 can be stably held, and the weight can be reduced. That is, since the holding unit 135 has a mechanically stable structure, it is possible to stably hold the columnar optical member 140 by eliminating the influence of the position of the center of gravity of the columnar optical member 140.
  • the holding part 135 is made of, for example, an aluminum alloy. That is, the holding part 135 is made of metal. Therefore, it is possible to improve the mechanical strength and heat dissipation of the holding portion 135, hold the columnar optical member 140 reliably and stably, and improve the power generation efficiency and reliability.
  • the holding part 135 has a concave part 137 that constitutes a space 137 s exposing the columnar optical member 140 on the side facing the solar cell element 111. Therefore, a space 137s is formed between the resin sealing portion 129 and the holding portion 135, and bubbles generated from the sealing resin 129b (FIG. 36) when the resin sealing portion 129 is formed are discharged into the space 137s. Therefore, the sealing resin 129b can be efficiently injected in a short time. In addition, since no bubbles are mixed in the resin sealing portion 129, the translucency of the resin sealing portion 129 can be improved, and the power generation efficiency can be improved.
  • the columnar optical member 140 is a quadrangular column, and the holding portion 135 is formed in a columnar shape having a through hole 135h formed of a through inclined surface 135s that is formed corresponding to the quadrangular column and abuts on each of the optical path inclined surfaces 140s. Yes. Therefore, the columnar optical member 140 can be aligned in a self-aligned manner with respect to the holding portion 135 (through hole 135h), and the concentrated solar light Ls can be irradiated to the solar cell element 111 with high accuracy. Therefore, the light collection efficiency can be improved and the power generation efficiency can be improved.
  • the through hole 135h has a through groove portion 135g formed corresponding to a corner portion of the quadrangular column (columnar optical member 140). Accordingly, it is possible to prevent damage to the corners of the columnar optical member 140 and to configure an air passage from the solar cell element 111 to the outside. Therefore, bubbles generated when the resin sealing portion 129 is formed. , And convection from the solar cell element 111 to the outside can be generated during operation, so that power generation efficiency can be improved.
  • the irradiation surface 140r and the incident surface 140f are quadrilaterals whose centers coincide. Therefore, the columnar optical member 140 has the optical path inclined surface 140s defined by the irradiation surface 140r and the incident surface 140f formed larger than the irradiation surface 140r. That is, it is set as the structure which can irradiate the condensed sunlight Ls to the solar cell element 111 efficiently.
  • the columnar optical member 140 has an optical path inclined surface 140s that collects sunlight Ls on the solar cell element 111, and has the same inclination angle as the through inclined surface 135s of the through hole 135h of the holding portion 135. Therefore, the columnar optical member 140 is fitted in a self-aligned manner with respect to the holding portion 135 (through hole 135h) by taper fitting, and can be positioned with high accuracy.
  • the columnar optical member 140 allows the sunlight Ls collected by the condensing lens 150 to be directly incident on the solar cell element 111, and increases the power generation efficiency of the solar cell 110. Can do.
  • the incident surface 140f on which the sunlight Ls is incident is made larger than the irradiation surface 140r, a margin is increased with respect to the positional deviation between the condenser lens 150 and the solar cell 110. It is possible to improve power generation efficiency and power generation. That is, a light collecting path (columnar optical member 140) having high positional accuracy and stability is obtained, and a light collecting characteristic that can collect sunlight Ls with high accuracy in a wide wavelength region is obtained. It is possible to improve the generated power by reducing the power generation efficiency and the temperature rise caused by the positional deviation of the concentrated sunlight Ls, and improve the heat resistance, reliability, and weather resistance.
  • the holding part 135 (penetrating inclined surface 135s) and the columnar optical member 140 (optical path inclined surface 140s) are brought into contact with each other at the upper position of the holding part 135. Further, at the lower position of the holding portion 135, the columnar optical member 140 is exposed to a space 137s formed by the concave portion 137 provided in the holding portion 135, and comes into contact with air.
  • the irradiation surface 140r and the solar cell element 111 are resin-sealed by a resin sealing portion 129 filled in the frame-shaped pedestal portion 130. That is, the tip end (irradiation surface 140r) of the columnar optical member 140 is in a state where the resin sealing portion 129 formed on the frame-shaped pedestal portion 130 is covered by, for example, about 0.3 mm to 0.5 mm.
  • the upper surface (front surface) of the resin sealing portion 129 is exposed to the concave portion 137 (space 137s), and the heat generated in the solar cell element 111 is released to the space 137s through the resin sealing portion 129.
  • the refractive index n 1.5.
  • the sealing resin 129b (FIG. 36) constituting the resin sealing portion 129 is a silicone resin
  • the refractive index n 1.3 in the resin sealing portion 129, the columnar optical member 140 and the resin
  • the combination of the holding part 135, the columnar optical member 140, the resin sealing part 129, and the space 137s makes the sunlight Ls incident from the incident surface 140f and irradiated from the irradiation surface 140r toward the solar cell element 111 efficient.
  • the light can be well guided, and the power generation efficiency can be improved.
  • the resin sealing portion 129 can protect (insulate) the solar cell element 111 and the wires connected to the solar cell element 111 from the surrounding environment, thereby improving the withstand voltage and improving the reliability. Can be improved.
  • Radiating fins 145 are connected to the rear surface of the receiver substrate 120 in order to release the heat generated in the receiver substrate 120 due to the sunlight Ls after being condensed. That is, the receiver substrate 120 is connected and integrated with the heat radiation fins 145 by the rivets 146 inserted into the substrate position fixing holes 125. Since the radiation fins 145 have a comb-teeth shape, it is possible to efficiently radiate heat, and the power generation efficiency and reliability of the solar cell element 111 can be further improved.
  • the heat radiation fins 145 are made of aluminum in order to reduce the weight.
  • FIG. 30A is a cross-sectional view showing a cross-sectional shape of the frame-shaped pedestal portion shown in FIG.
  • the frame-shaped pedestal portion 130 has a frame-like (annular) shape with a diameter of 25 mm to 30 mm and a thickness of about 5 mm.
  • the frame-shaped pedestal portion 130 is provided on the upper surface side with a stepped portion 132 for fitting the hook-shaped protrusion 136 of the holding portion 135 concentrically with the center of the frame-shaped pedestal portion 130.
  • a stepped portion 132 for fitting the hook-shaped protrusion 136 of the holding portion 135 concentrically with the center of the frame-shaped pedestal portion 130.
  • the frame-shaped pedestal portion 130 is disposed on the surface of the receiver substrate 120 and functions as an external electrode, the first connection pattern 121 and the second connection pattern 122 may directly touch the frame-shaped pedestal portion 130. It is necessary to prevent current from flowing between the first connection pattern 121 and the second connection pattern 122 through 130. Therefore, the frame-shaped pedestal portion 130 is made of a resin such as polycarbonate.
  • FIG. 30B is a perspective view showing a schematic structure of the holding portion shown in FIG.
  • FIG. 30C is a cross-sectional view showing a cross-sectional shape of the holding portion shown in FIG. 30B.
  • the holding portion 135 has a columnar shape, and includes a hook-shaped protrusion 136 at an end facing the frame-shaped pedestal portion 130.
  • the holding part 135 has an outer diameter of, for example, 15 mm and a height of, for example, 20 mm.
  • the outer periphery of the hook-shaped protrusion 136 has a circular shape with a diameter of 20 mm that fits on the inner periphery of the stepped portion 132 of the frame-shaped pedestal portion 130.
  • the penetrating hole In the axial direction of the holding portion 135 (in the central portion of the holding portion 135), the penetrating hole has a quadrangular prism shape that is narrow on the side of the end surface 135tr with the hook-shaped protrusion 136 and wide on the side of the end surface 135tf without the hook-shaped protrusion 136.
  • a hole 135h is formed.
  • through-groove parts 135g are provided for reliably performing the defoaming process on the resin sealing part 129 after filling the resin sealing part 129.
  • the through groove portion 135g has an effect of preventing damage to edges formed by the optical path inclined surfaces 140s of the columnar optical member 140 intersecting each other.
  • the through inclined surface 135s constituting the through hole 135h is formed so as to abut (adhere) the optical path inclined surface 140s of the columnar optical member 140. Therefore, the columnar optical member 140 can be reliably and accurately placed on the holding portion 135.
  • the holding portion 135 is bonded to the frame-shaped pedestal portion 130 by the second adhesive 132b (FIG. 34) applied between the stepped portion 132 of the frame-shaped pedestal portion 130 and the hook-shaped protrusion 136, and is securely fixed.
  • the second adhesive 132b (FIG. 34) applied between the stepped portion 132 of the frame-shaped pedestal portion 130 and the hook-shaped protrusion 136, and is securely fixed.
  • the condensing lens 150 can have various shapes such as a biconvex lens, a plano-convex lens, and a Fresnel lens. Moreover, as a material of the condensing lens 150, the thing with the high transmittance
  • the material of the condenser lens 150 is not limited to these materials, and these materials may have a multilayer structure.
  • an appropriate ultraviolet absorber can be added to these materials for the purpose of preventing ultraviolet degradation of the condenser lens 150 and other members.
  • the solar cell 110 according to the present embodiment is the same as the solar cell 110 described in the sixth embodiment, reference will be appropriately made to different items, and different items will be mainly described.
  • FIG. 31 is a flowchart showing manufacturing steps of a solar cell manufacturing method for manufacturing a solar cell according to Embodiment 7 of the present invention.
  • the solar cell manufacturing method for manufacturing the solar cell 110 according to the present embodiment includes the following steps S21 to S30. This will be described with reference to the drawings (FIGS. 29, 32 to 37) corresponding to each step.
  • Step S21 (FIG. 29): The solar cell element 111 is mounted on the receiver substrate 120 (solar cell element mounting step).
  • the receiver board 120 described in the sixth embodiment is prepared.
  • a first connection pattern 121 and a second connection pattern 122 are formed on the receiver substrate 120, and the surface is protected (insulated) by the surface protective layer 123.
  • a substrate (substrate electrode: not shown) of the solar cell element 111 and a substrate (substrate electrode: not shown) of the bypass diode 112 are connected to the first connection pattern 121.
  • the surface protective layer 123 is removed in advance.
  • the solar cell element 111 is soldered and placed on the corresponding region (center portion) of the receiver substrate 120.
  • the bypass diode 112 is soldered and placed in a corresponding region of the receiver substrate 120 at a certain distance from the solar cell element 111 (a portion slightly shifted from the central portion of the receiver substrate 120).
  • one of four wires 126 is connected to the surface electrode (not shown) of the solar cell element 111 and one of two wires 126 is connected to the surface electrode (not shown) of the bypass diode 112, respectively.
  • the other ends of the wires 126 are connected to the wire connection portions 122w where the second connection patterns 122 are exposed.
  • the receiver substrate 120 can be appropriately positioned by the substrate position fixing hole 125.
  • Step S22 FIG. 32 is a process perspective view showing a state in which the first adhesive is applied in the manufacturing process of the solar cell manufacturing method according to Embodiment 7 of the present invention.
  • a first adhesive 131b that adheres the frame-shaped pedestal portion 130 to the receiver substrate 120 is applied to the receiver substrate 120 (first adhesive application step).
  • the receiver substrate 120 is set at a predetermined position on a table (not shown) of the first adhesive dispenser 161, and the first adhesive 131b is positioned at a predetermined position (a position corresponding to the groove 131 on the receiver substrate 120.
  • An appropriate mark is formed in advance. It is also possible to leave the coating in a predetermined shape. That is, the first adhesive 131b made of white silicone resin is applied in a circular shape with a predetermined size at a predetermined position on the surface of the receiver substrate 120 on which the solar cell element 111 and the bypass diode 112 are placed.
  • Step S23 FIG. 33 is a process perspective view showing a state in which the frame-shaped pedestal is placed on the receiver substrate in the manufacturing process of the solar cell manufacturing method according to Embodiment 7 of the present invention.
  • the frame-shaped pedestal portion 130 is positioned and placed on the receiver substrate 120 coated with the first adhesive 131b (frame-shaped pedestal portion placement step).
  • the positioning of the frame-shaped pedestal portion 130 with respect to the receiver substrate 120 can be performed easily and with high accuracy by pressing the side surface of the frame-shaped pedestal portion 130 against the two positioning pins 124 provided on the receiver substrate 120. Also, since the first adhesive 131b is applied in a shape that fills the groove 131, the first adhesive 131b is bonded in a form that fills the groove 131, and the frame-shaped pedestal 130 is attached to the receiver substrate 120. On the other hand, it is firmly bonded (fixed).
  • the frame-shaped pedestal portion 130 includes an opening 131w on the inner side, and the opening 131w has a shape including the solar cell element 111, the bypass diode 112, and the wire connection portion 122w. Therefore, the frame-shaped pedestal portion 130 can protect the solar cell element 111, the bypass diode 112, and the wire connection portion 122w from the surrounding environment.
  • Step S24 FIG. 34 is a process perspective view showing a state in which the second adhesive is applied to the frame-shaped pedestal portion in the manufacturing process of the solar cell manufacturing method according to Embodiment 7 of the present invention.
  • maintenance part 135 to the frame-shaped base part 130 is apply
  • the receiver substrate 120 is set at a predetermined position on a table (not shown) of the second adhesive dispenser 162, and the second adhesive 132b is applied to the stepped portion 132 of the frame-shaped pedestal portion 130 that is placed and bonded to the receiver substrate 120. To do. That is, the second adhesive 132b is applied to the step portion 132 in a circular shape.
  • the first adhesive 131b and the second adhesive 132b may be the same resin, and the first adhesive dispenser 161 and the second adhesive dispenser 162 may be the same device.
  • Step S25 FIG. 35 is a process perspective view showing a state in which the holding part is fitted to the frame-shaped pedestal part in the manufacturing process of the solar cell manufacturing method according to Embodiment 7 of the present invention.
  • the holding part 135 is fitted to the frame-shaped pedestal part 130 (fitting process).
  • the stepped portion 132 of the frame-shaped pedestal portion 130 and the hook-shaped protrusion 136 of the holding portion 135 are shaped to fit each other, it is possible to easily and highly accurately position.
  • the second adhesive 132b is preliminarily applied to the stepped portion 132, the holding portion 135 (the hook-shaped protrusion 136) and the frame-shaped pedestal portion 130 (the stepped portion 132) are bonded to each other, It will be in the state fixed firmly.
  • fine adjustment of the positioning of the holding portion 135 with respect to the frame-shaped pedestal portion 130 can be performed by rotating the holding portion 135 with respect to the frame-shaped pedestal portion 130 in the circumferential direction.
  • Step S26 The first adhesive 131b and the second adhesive 132b are heated and thermally cured (first thermosetting step).
  • the first adhesive 131b and the second adhesive 132b are heated by heating at 150 ° C. for 30 minutes, for example. Harden.
  • the thermosetting of the first adhesive 131b and the second adhesive 132b the receiver substrate 120 and the frame-shaped pedestal portion 130 are integrated by the first adhesive 131b, and the frame-shaped pedestal portion 130 and the holding portion 135 are It is integrated by the adhesive 132b.
  • FIG. 36 is a process perspective view showing a state in which a sealing resin for resin-sealing a solar cell element is injected into the frame-shaped pedestal portion in the manufacturing process of the solar cell manufacturing method according to Embodiment 7 of the present invention.
  • the sealing resin 129b for resin-sealing the solar cell element 111 is injected into the frame-shaped pedestal portion 130 (sealing resin injection step).
  • the receiver substrate 120 is set at a predetermined position of a table (not shown) of the sealing resin dispenser 163, and a predetermined amount of the sealing resin 129b forming the resin sealing portion 129 is injected through the through hole 135h of the holding portion 135. .
  • the sealing resin 129b As the sealing resin 129b, a silicone resin having high translucency is applied. Further, the injection amount is such that when the columnar optical member 140 is fitted into the through hole 135h of the holding portion 135, the tip end (irradiation surface 140r) of the columnar optical member 140 is 0.3 mm to the surface of the resin sealing portion 129. The thickness is about 0.5 mm.
  • the holding part 135 includes a recess 137 formed so as to face the solar cell element 111 mounted on the receiver substrate 120, bubbles contained in the sealing resin 129b injected into the frame-shaped pedestal part 130 are easily removed.
  • the sealing resin 129b for forming the resin sealing portion 129 can be injected efficiently in a short time.
  • Step S28 FIG. 37 is a process perspective view showing a state in which the columnar optical member is inserted into the through hole of the holding portion in the manufacturing process of the solar cell manufacturing method according to Embodiment 7 of the present invention.
  • the columnar optical member 140 is inserted (fitted) into the through hole 135h of the holding portion 135, and the irradiation surface 140r facing the solar cell element 111 of the columnar optical member 140 is covered with a sealing resin (columnar optical member mounting step).
  • the columnar optical member 140 is fitted to the holding part 135 while maintaining the state of being placed on the table of the sealing resin dispenser 163. As described above, since the columnar optical member 140 (optical path inclined surface 140s) is formed so as to be self-aligned with the holding portion 135 (through hole 135h, through inclined surface 135s), the columnar optical member is easily and highly accurate. 140 can be coupled to the holding portion 135.
  • Step S29 Defoaming treatment is performed on the sealing resin 129b (defoaming treatment step).
  • the receiver substrate 120 is taken out from the table of the sealing resin dispenser 163, and is evacuated by a vacuum pump (not shown) while being accommodated in a vacuum desiccator (not shown). And a defoaming process for removing bubbles contained in the sealing resin 129b constituting the resin sealing portion 129 is performed.
  • Step S30 The sealing resin 129b is heated and cured (second thermosetting step).
  • the receiver substrate 120 is taken out from a vacuum desiccator (not shown) and accommodated in an oven (not shown). Harden.
  • the columnar optical member 140 is brought into close contact with the tip (irradiation surface 140r) of the resin sealing portion 129 and fixed to the holding portion 135 and the resin sealing portion 129 by the thermosetting of the sealing resin 129b.
  • step S30 the receiver substrate 120 and the radiation fins 145 are connected and integrated by a rivet 146 inserted into the substrate position fixing hole 125 using a riveter (not shown) (radiation fin attachment step).
  • the receiver substrate 120 in each processing step, is processed in a state in which the surface on which the solar cell element 111 is placed is always directed in the same direction (a visually recognizable direction). Therefore, complicated movement processing and alignment processing in setting and taking out the receiver substrate 120 on the jig, setting on another jig, and the like are not required. That is, it becomes possible to manufacture the solar cell 110 with improved heat condensing characteristics with high heat resistance, high reliability, and high weather resistance easily, with high accuracy, and with low productivity and low cost.
  • the solar cell element 111 that photoelectrically converts the sunlight Ls collected by the condenser lens 150 and the receiver substrate 120 on which the solar cell element 111 is placed.
  • a columnar optical member 140 having an incident surface 140f on which the collected sunlight Ls is incident and an irradiation surface 140r that is disposed to face the solar cell element 111 and that irradiates the solar cell element 111 with the sunlight Ls;
  • a solar cell 110 including a holding portion 135 that holds the optical member 140 and a frame-shaped pedestal portion 130 that is arranged in a frame shape around the solar cell element 111 and is fixed to the receiver substrate 120 and fits with the holding portion 135 is manufactured. This is a solar cell manufacturing method.
  • the solar cell manufacturing method which concerns on this Embodiment is a solar cell element mounting process, a 1st adhesive agent application process, a frame-shaped base part mounting process, and a 2nd adhesive agent application process as above-mentioned.
  • the columnar optical member 140 can be positioned and firmly held with high accuracy with respect to the solar cell element 111, and the light collection efficiency can be improved by improving the light collection characteristics over a wide wavelength region.
  • the generated power can be improved, and the inexpensive solar cell 110 with high heat resistance, reliability, and weather resistance can be easily and accurately manufactured with high productivity.
  • the present invention relates to a solar cell that includes an optical member that irradiates a solar cell element with concentrated sunlight and a receiver substrate on which the solar cell element is mounted, and concentrating sunlight that includes such a solar cell.
  • the present invention can be applied to a power generation module and a solar cell manufacturing method for manufacturing such a solar cell.

Landscapes

  • Photovoltaic Devices (AREA)

Abstract

 外部からの異物(雨水や砂塵など)の混入を防止した耐熱性、信頼性、耐候性の高い太陽電池、集光型太陽光発電モジュール、太陽電池製造方法を提供する。  太陽電池21は、集光された太陽光Lsを透過させる光学部材40と、光学部材40を透過した太陽光Lsを光電変換する太陽電池素子23と、太陽電池素子23が載置されたレシーバ基板22とを備える。太陽電池21は、レシーバ基板22に接着され太陽電池素子23を囲む枠状に形成された第1接着部31と、レシーバ基板22に当接され太陽電池素子23を囲んで第1接着部31に接着された台座部45とを備え、光学部材40(第1平板光学部材40f)は、台座部45の外周枠45fの内側領域に配置されている。

Description

太陽電池、集光型太陽光発電モジュール、および太陽電池製造方法
 本発明は、集光された太陽光を太陽電池素子に照射する光学部材と、太陽電池素子が載置されたレシーバ基板とを備える太陽電池、このような太陽電池を搭載した集光型太陽光発電モジュール、および、このような太陽電池を製造する太陽電池製造方法に関する。
 太陽エネルギーを電力に変換する太陽光発電装置が実用化されているが、低コスト化を実現し、さらに大電力を得るために、集光レンズで集光した太陽光を集光レンズの受光面積より小さい太陽電池素子に照射して電力を取り出すタイプの集光型太陽光発電装置が提案されている(例えば、特許文献1参照。)。
 集光型太陽光発電装置は、太陽光を集光レンズで集光して太陽電池素子に照射することから、太陽電池素子は、光学系で集光された太陽光を受光できる小さい受光面積を備えれば良い。つまり、集光レンズの受光面積より小さいサイズの太陽電池素子で良いことから、太陽電池素子のサイズを縮小することができるので、太陽光発電装置において高価な構成物である太陽電池素子の使用量を減らすことができ、コストを低減することが可能となる。
 このような利点から、集光型太陽光発電装置は、広大な面積を利用して発電することが可能な地域などで、電力供給用に利用されつつある。
 また、集光特性を向上させるために、集光レンズを1次光学系とし、太陽電池素子の表面に対応させて配置した2次光学系に1次光学系で集光した太陽光を入射させる形態の集光型太陽光発電装置が提案されている(例えば、特許文献2ないし特許文献4参照。)。
 例えば特許文献1に開示された技術を実用化する場合、筒形のレンズフレーム18の外部から異物(雨水や砂塵など)が侵入したとき、太陽電池セル46に貼り付けられた光導体47の上端面などの受光領域に水滴や砂塵が入り込み、十分に受光できないという課題があった。また、レンズ集合体20を支持するレンズフレーム18と、太陽電池セル46を搭載したベースパネル23とは、それぞれ大型化されており、組付け誤差により隙間が生じることもあった。
 また、従来の集光型太陽光発電装置では、光学系の構造が複雑であり、集光レンズに対する太陽電池素子の位置決め、あるいは、集光レンズに対する2次光学系の位置決めを容易かつ高精度にすることは困難であり、実用化する上で多くの困難が生じている。また、構造の複雑さに伴い、稼動中の信頼性の維持、生産性の向上という面で多くの課題が生じている。
特開平11-284217号公報 特開2002-289896号公報 特開2002-289897号公報 特開2002-289898号公報
 本発明はこのような状況に鑑みてなされたものであり、集光された太陽光を透過させる光学部材と、光学部材を透過した太陽光を光電変換する太陽電池素子と、太陽電池素子が載置されたレシーバ基板とを備える太陽電池であって、太陽電池素子を囲む第1接着部と、第1接着部に接着された台座部と、太陽電池素子を被覆する樹脂封止部とを備えることによって、構成要素を光軸に対応させた平面方向および重畳方向で容易かつ高精度に確定し、集光された太陽光を効果的に太陽電池素子へ照射し、また、太陽電池素子を外部から遮断して外部からの異物の混入による太陽電池素子への影響を防止して、発電効率および発電電力を向上させ、耐熱性、耐候性、信頼性を向上させた生産性の良い太陽電池を提供することを第1の目的とする。
 また、本発明は、集光レンズと本発明に係る太陽電池とを備える集光型太陽光発電モジュールとすることによって、広い波長領域に対する集光特性を向上させて発電効率および発電電力を向上させ、耐熱性、耐候性、信頼性の高い安価な集光型太陽光発電モジュールを提供することを第2の目的とする。
 また、本発明は、本発明に係る太陽電池を製造する太陽電池製造方法であって、第1接着剤を塗布する第1接着剤塗布工程と、第1接着剤に台座部を載置する台座部載置工程と、第1接着部を形成する第1熱硬化工程と、固定部に光学部材(柱状光学部材)を配置する光学部材配置工程とを実行し、各構成部材を順に重ねて位置合わせするという簡単な工程で、容易かつ高精度に耐熱性、耐候性、信頼性の高い太陽電池を生産性良く製造することができる太陽電池製造方法を提供することを第3の目的とする。
 また、本発明は、本発明に係る太陽電池を製造する太陽電池製造方法であって、第1接着剤を塗布する第1接着剤塗布工程と、第1接着剤に台座部を載置する台座部載置工程と、第2接着剤を台座部に塗布する第2接着剤塗布工程と、台座被覆部をレシーバ基板に載置する台座被覆部載置工程と、第1接着部および第2接着部を形成する第1熱硬化工程と、柱状光学部材を配置する柱状光学部材工程とを実行し、各構成部材を順に重ねて位置合わせするという簡単な工程で、容易かつ高精度に耐熱性、信頼性、耐候性の高い太陽電池を生産性良く製造することができる太陽電池製造方法を提供することを第4の目的とする。
 また、本発明は、集光レンズにより集光された太陽光を光電変換する太陽電池素子と、太陽電池素子が載置されたレシーバ基板と、集光された太陽光を太陽電池素子に照射する柱状光学部材と、柱状光学部材を保持する保持部とを備える太陽電池であって、太陽電池素子の周囲に枠状に配置されレシーバ基板に固定された枠状台座部に保持部を嵌合させることにより、柱状光学部材を太陽電池素子に対して容易かつ高精度に位置決めして強固に保持し、広い波長領域に対する集光特性を向上させて発電効率および発電電力を向上させ、耐熱性、信頼性、耐候性の高い太陽電池を提供することを第5の目的とする。
 また、本発明は、集光レンズと本発明に係る太陽電池とを備える集光型太陽光発電モジュールとすることにより、広い波長領域に対する集光特性を向上させて発電効率および発電電力を向上させ、耐熱性、信頼性、耐候性の高い安価な集光型太陽光発電モジュールを提供することを第6の目的とする。
 また、本発明は、本発明に係る太陽電池を製造する太陽電池製造方法であって、枠状台座部をレシーバ基板に位置決めして載置する枠状台座部載置工程と、保持部を枠状台座部に嵌合する嵌合工程と、保持部の貫通穴に柱状光学部材を挿入し柱状光学部材の太陽電池素子に対向する照射面を封止樹脂で被覆する柱状光学部材搭載工程とを備えることにより、柱状光学部材を太陽電池素子に対して容易かつ高精度に位置決めして強固に保持することができ、広い波長領域に対する集光特性を向上させて発電効率および発電電力を向上させた信頼性の高い安価な太陽電池を容易かつ高精度に生産性良く製造する太陽電池製造方法を提供することを第7の目的とする。
 本発明に係る第1の太陽電池は、集光された太陽光を透過させる光学部材と、該光学部材を透過した太陽光を光電変換する太陽電池素子と、該太陽電池素子が載置されたレシーバ基板とを備える太陽電池であって、前記レシーバ基板に接着され前記太陽電池素子を囲む枠状に形成された第1接着部と、前記レシーバ基板に当接され前記太陽電池素子を囲んで前記第1接着部に接着された台座部と、前記第1接着部に囲まれ前記太陽電池素子を被覆する樹脂封止部とを備えることを特徴とする。
 この構成により、レシーバ基板、太陽電池素子に対して、第1接着部、台座部を重畳方向で重ねて連結するので、太陽電池素子に対する樹脂封止部および光学部材の位置決めを光軸に対応させた平面方向および重畳方向(高さ方向)で容易かつ高精度に確定して集光された太陽光を効果的に太陽電池素子へ照射し、また、太陽電池素子を外部から遮断して外部からの異物の混入による太陽電池素子への影響を防止することが可能となるので、発電効率および発電電力を向上させ、耐熱性、耐候性、信頼性を向上させた生産性の良い太陽電池とすることができる。
 本発明に係る第1の太陽電池では、前記光学部材は、平板状とされた第1平板光学部材であり、該第1平板光学部材は、前記第1接着部と前記台座部との間に配置されていることを特徴とする。
 この構成により、第1接着部、台座部に対して光学部材(第1平板光学部材)を平面方向および重畳方向で容易かつ高精度に位置決めして固定することが可能となる。
 本発明に係る第1の太陽電池では、前記台座部の頂部に形成された第2接着部を備え、該第2接着部に接着されて前記レシーバ基板と平行な方向で延長された梁状フランジ部と、該梁状フランジ部から外側に延長されて前記台座部の外側で前記レシーバ基板に連結された結合用フランジ部とを有する台座被覆部を備えることを特徴とする。
 この構成により、レシーバ基板、太陽電池素子、第1接着部、台座部に対して第2接着部および台座被覆部を平面方向および重畳方向で容易かつ高精度に位置決めし、第2接着部および台座被覆部(梁状フランジ部および結合用フランジ部)によって台座部を固定し、台座被覆部によって台座部を周囲から保護することが可能となることから、台座部の物理的強度を向上させた信頼性の高い太陽電池とすることができる。
 本発明に係る第1の太陽電池では、前記光学部材は、平板状とされた第2平板光学部材であり、該第2平板光学部材は、前記台座部の頂部に載置され外周端を前記梁状フランジ部に覆われていることを特徴とする。
 この構成により、光学部材(第2平板光学部材)を台座部に対して平面方向および重畳方向で容易かつ高精度に載置して位置決めすることが可能となる。
 本発明に係る第1の太陽電池では、前記光学部材は、頂面が底面より大きい柱状とされた柱状光学部材であり、該柱状光学部材は、前記梁状フランジ部の内側先端で固定部によって固定されていることを特徴とする。
 この構成により、光学部材(柱状光学部材)を台座部および梁状フランジ部に対して平面方向および重畳方向で容易かつ高精度に位置決めすることが可能となるので、柱状光学部材を太陽電池素子に対して容易かつ高精度に位置決めすることができる。
 本発明に係る第1の太陽電池では、前記固定部は、前記柱状光学部材を貫通させて対向する貫通傾斜面を有し前記梁状フランジ部の内側先端枠に立設された縦型固定部であることを特徴とする。
 この構成により、柱状光学部材を梁状フランジ部(縦型固定部)へ平面方向および重畳方向で容易かつ高精度に位置決めして固定することができる。
 本発明に係る第1の集光型太陽光太陽電池モジュールは、太陽光を集光する集光レンズと、集光された太陽光を受光して光電変換する太陽電池とを備える集光型太陽光発電モジュールであって、前記太陽電池は、本発明に係る太陽電池であることを特徴とする。
 この構成により、広い波長領域に対する集光特性を確実に向上させて発電効率および発電電力を向上させ、耐熱性、耐候性、信頼性の高い安価な集光型太陽光発電モジュールとすることができる。
 本発明に係る第1の太陽電池製造方法は、集光された太陽光を透過させる光学部材と、該光学部材を透過した太陽光を光電変換する太陽電池素子と、該太陽電池素子が載置されたレシーバ基板と、前記レシーバ基板に接着され前記太陽電池素子を囲む枠状に形成された第1接着部と、前記レシーバ基板に当接され前記太陽電池素子を囲んで前記第1接着部に接着された台座部と、該台座部を基準にして前記光学部材を固定する固定部とを備える太陽電池を製造する太陽電池製造方法であって、前記第1接着部を形成する第1接着剤を前記レシーバ基板に塗布する第1接着剤塗布工程と、前記第1接着剤に前記台座部を接着して前記レシーバ基板に載置する台座部載置工程と、前記第1接着剤を加熱して前記第1接着部を形成する第1熱硬化工程と、前記固定部に前記光学部材を配置する光学部材配置工程とを備えることを特徴とする。
 この構成により、第1接着剤塗布工程、台座部載置工程、第1熱硬化工程、光学部材配置工程を実行し、各構成部材(第1接着剤、台座部、光学部材)を順に重ねて位置合わせするという簡単な工程で、容易かつ高精度に耐熱性、耐候性、信頼性の高い太陽電池を生産性良く製造することが可能となる。
 本発明に係る第1の太陽電池製造方法は、集光された太陽光を透過させる光学部材と、該光学部材を透過した太陽光を光電変換する太陽電池素子と、該太陽電池素子が載置されたレシーバ基板と、前記レシーバ基板に接着され前記太陽電池素子を囲む枠状に形成された第1接着部と、前記レシーバ基板に当接され前記太陽電池素子を囲んで前記第1接着部に接着された台座部と、前記第1接着部に囲まれ前記太陽電池素子を被覆する樹脂封止部と、前記台座部の頂部に形成された第2接着部とを備え、該第2接着部に接着されて前記レシーバ基板と平行な方向で延長された梁状フランジ部と該梁状フランジ部から外側に延長されて前記台座部の外側で前記レシーバ基板に連結された結合用フランジ部とを有する台座被覆部と、前記光学部材として柱状とされた柱状光学部材を固定する固定部とを備える太陽電池を製造する太陽電池製造方法であって、前記第1接着部を形成する第1接着剤を前記レシーバ基板に塗布する第1接着剤塗布工程と、前記第1接着剤に前記台座部を接着して前記レシーバ基板に載置する台座部載置工程と、前記第2接着部を形成する第2接着剤を前記台座部の頂部に塗布する第2接着剤塗布工程と、前記柱状光学部材を貫通させて対向する貫通傾斜面を有し前記梁状フランジ部の内側先端枠に立設された前記固定部としての縦型固定部を有する前記台座被覆部を前記第2接着剤に接着して前記レシーバ基板に載置する台座被覆部載置工程と、前記第1接着剤および前記第2接着剤を加熱して前記第1接着部および前記第2接着部を形成する第1熱硬化工程と、前記貫通傾斜面に当接して固定するように前記柱状光学部材を配置する柱状光学部材配置工程と、太陽電池素子を樹脂封止する封止樹脂を第1接着部の内側領域に注入する封止樹脂注入工程とを備えることを特徴とする。
 この構成により、第1接着剤塗布工程、台座部載置工程、第2接着剤塗布工程、台座被覆部載置工程(固定部配置工程)、柱状光学部材配置工程(光学部材配置工程)、封止樹脂注入工程を実行し、各構成部材(第1接着部、台座部、第2接着部、台座被覆部(固定部=縦型固定部)、樹脂封止部、光学部材(柱状光学部材))を順に重ねて位置合わせするという簡単な工程で、容易かつ高精度に耐熱性、耐候性、信頼性の高い太陽電池を生産性良く製造することができる。
 本発明に係る第2の太陽電池は、集光レンズにより集光された太陽光を光電変換する太陽電池素子と、該太陽電池素子が載置されたレシーバ基板と、集光された太陽光を入射させる入射面と前記太陽電池素子に対向して配置され前記太陽電池素子に太陽光を照射する照射面とを有する柱状光学部材と、該柱状光学部材を保持する保持部とを備える太陽電池であって、前記太陽電池素子の周囲に枠状に配置され前記レシーバ基板に固定された枠状台座部を備え、前記保持部は、前記枠状台座部に嵌合させてあることを特徴とする。
 この構成により、枠状台座部をレシーバ基板に対して容易かつ高精度に位置決めして強固に固定することが可能となり、また、保持部を枠状台座部に対して容易かつ高精度に位置決めして強固に保持することが可能となるので、柱状光学部材を太陽電池素子に対して容易かつ高精度に位置決めして強固に保持することができ、広い波長領域に対する集光特性を向上させて発電効率および発電電力を向上させ、耐熱性、信頼性、耐候性の高い安価な太陽電池とすることができる。
 また、本発明に係る第2の太陽電池では、前記レシーバ基板に配置され前記枠状台座部の位置決めをする位置決めピンを備えることを特徴とする。
 この構成により、枠状台座部をレシーバ基板に容易かつ高精度に作業性良く位置決めすることが可能となる。
 また、本発明に係る第2の太陽電池では、前記枠状台座部は、前記保持部と嵌合する段差部を有することを特徴とする。
 この構成により、保持部を枠状台座部に容易かつ高精度に作業性良く位置決めすることが可能となる。
 また、本発明に係る第2の太陽電池では、前記枠状台座部は、前記レシーバ基板に当接する面に形成された溝部を有し、該溝部に充填された第1接着剤によって前記レシーバ基板に接着されていることを特徴とする。
 この構成により、枠状台座部をレシーバ基板に容易かつ高精度に作業性良く固定(接着)することが可能となる。
 また、本発明に係る第2の太陽電池では、前記保持部は、前記段差部と対向する端部に前記段差部に嵌合された鍔状突起を備えることを特徴とする。
 この構成により、保持部の外周形状を縮小し、柱状光学部材を安定的に保持することが可能となり、軽量化を図ることができる。
 また、本発明に係る第2の太陽電池では、前記柱状光学部材は、四角柱としてあり、前記保持部は、前記四角柱に当接する貫通穴を有する柱状とされていることを特徴とする。
 この構成により、保持部に対して柱状光学部材を自己整合的に位置合わせし、集光された太陽光を太陽電池素子へ高精度に照射させることが可能となることから、集光特性を向上させて発電効率を向上させることができる。
 また、本発明に係る第2の太陽電池では、前記保持部は、金属製であることを特徴とする。
 この構成により、保持部の機械的強度および放熱性を向上させ、柱状光学部材を安定性良く確実に保持し、発電効率および信頼性を向上させることが可能となる。
 また、本発明に係る第2の太陽電池では、前記照射面および前記太陽電池素子は、前記枠状台座部に充填された樹脂封止部によって樹脂封止されていることを特徴とする。
 この構成により、照射面から太陽電池素子に向けて照射される太陽光を効率良く導光することが可能となり、また、太陽電池素子および太陽電池素子に接続されたワイヤを周囲環境から保護(絶縁)することが可能となることから、発電効率および信頼性を向上させることができる。
 また、本発明に係る第2の太陽電池では、前記保持部は、前記太陽電池素子に対向する側で前記柱状光学部材を露出させる空間を構成する凹部を有することを特徴とする。
 この構成により、封止樹脂部と保持部との間に空間を形成し、樹脂封止部を形成するときに封止樹脂から発生する気泡を空間へ放出することが可能となることから、樹脂封止部の透光性を向上させることが可能となり、発電効率を向上させることができる。
 また、本発明に係る第2の太陽電池では、前記貫通穴は、前記四角柱の前記角部に対応して形成された貫通溝部を有することを特徴とする。
 この構成により、柱状光学部材の角部の損傷を防止し、太陽電池素子から外部に至る空気の通路を構成することが可能となることから、樹脂封止部を形成するときに発生する気泡を外部へ放出し、また、稼動中に太陽電池素子から外部に至る対流を発生させることができるので、発電効率を向上させることができる。
 また、本発明に係る第2の集光型太陽光発電モジュールは、太陽光を集光する集光レンズと、集光された太陽光を受光して光電変換する太陽電池とを備える集光型太陽光発電モジュールであって、前記太陽電池は、本発明に係る太陽電池であることを特徴とする。
 この構成により、広い波長領域に対する集光特性を向上させて発電効率および発電電力を向上させ、耐熱性、信頼性、耐候性の高い安価な集光型太陽光発電モジュールとすることができる。
 また、本発明に係る第2の太陽電池製造方法は、集光レンズにより集光された太陽光を光電変換する太陽電池素子と、該太陽電池素子が載置されたレシーバ基板と、集光された太陽光を入射させる入射面と前記太陽電池素子に対向して配置され前記太陽電池素子に太陽光を照射する照射面とを有する柱状光学部材と、該柱状光学部材を保持する保持部と、前記太陽電池素子の周囲に枠状に配置され前記レシーバ基板に固定されて前記保持部と嵌合する枠状台座部とを備える太陽電池を製造する太陽電池製造方法であって、前記レシーバ基板に前記太陽電池素子を実装する太陽電池素子実装工程と、前記枠状台座部を前記レシーバ基板に接着する第1接着剤を前記レシーバ基板に塗布する第1接着剤塗布工程と、前記枠状台座部を前記レシーバ基板に位置決めして載置する枠状台座部載置工程と、前記保持部を前記枠状台座部に接着する第2接着剤を前記枠状台座部に塗布する第2接着剤塗布工程と、前記保持部を前記枠状台座部に嵌合する嵌合工程と、前記第1樹脂および前記第2樹脂を加熱して熱硬化する第1熱硬化工程と、前記太陽電池素子を樹脂封止する封止樹脂を前記枠状台座部に注入する封止樹脂注入工程と、前記保持部の貫通穴に前記柱状光学部材を挿入し前記柱状光学部材の前記太陽電池素子に対向する照射面を前記封止樹脂で被覆する柱状光学部材搭載工程と、前記封止樹脂に対して脱泡処理を施す脱泡処理工程と、前記封止樹脂を加熱して熱硬化する第2熱硬化工程とを備えることを特徴とする。
 この構成により、枠状台座部をレシーバ基板に対して容易かつ高精度に位置決めして強固に固定することが可能となり、また、保持部を枠状台座部に対して容易かつ高精度に位置決めして強固に保持することが可能となるので、柱状光学部材を太陽電池素子に対して容易かつ高精度に位置決めして強固に保持することができ、広い波長領域に対する集光特性を向上させて発電効率および発電電力を向上させた信頼性の高い安価な太陽電池を容易かつ高精度に生産性良く製造することができる。
 本発明に係る第1の太陽電池によれば、集光された太陽光を透過させる光学部材と、光学部材を透過した太陽光を光電変換する太陽電池素子と、太陽電池素子が載置されたレシーバ基板とを備える太陽電池であって、レシーバ基板に接着され太陽電池素子を囲む枠状に形成された第1接着部と、レシーバ基板に当接され太陽電池素子を囲んで第1接着部に接着された台座部と、第1接着部に囲まれ太陽電池素子を被覆する樹脂封止部とを備えることから、レシーバ基板、太陽電池素子に対して、第1接着部、台座部を重畳方向で重ねて連結し、太陽電池素子に対する樹脂封止部および光学部材の位置決めを光軸に対応させた平面方向および重畳方向(高さ方向)で容易かつ高精度に確定して集光された太陽光を効果的に太陽電池素子へ照射し、また、太陽電池素子を外気から遮断して外気による太陽電池素子への影響を防止することが可能となるので、耐熱性、耐候性、信頼性を向上させた生産性の良い太陽電池とすることができるという効果を奏する。
 本発明に係る第1の集光型太陽光太陽電池モジュールによれば、太陽光を集光する集光レンズと、集光された太陽光を受光して光電変換する太陽電池とを備える集光型太陽光発電モジュールであって、太陽電池は、本発明に係る太陽電池とすることから、広い波長領域に対する集光特性を確実に向上させて発電効率および発電電力を向上させ、耐熱性、耐候性、信頼性の高い安価な集光型太陽光発電モジュールとすることができるという効果を奏する。
 本発明に係る第1の太陽電池製造方法によれば、集光された太陽光を透過させる光学部材と、光学部材を透過した太陽光を光電変換する太陽電池素子と、太陽電池素子が載置されたレシーバ基板と、レシーバ基板に接着され太陽電池素子を囲む枠状に形成された第1接着部と、レシーバ基板に当接され太陽電池素子を囲んで第1接着部に接着された台座部と、台座部を基準にして光学部材を固定する固定部とを備える太陽電池を製造する太陽電池製造方法であって、第1接着部を形成する第1接着剤をレシーバ基板に塗布する第1接着剤塗布工程と、第1接着剤に台座部を接着してレシーバ基板に載置する台座部載置工程と、第1接着剤を加熱して第1接着部を形成する第1熱硬化工程と、固定部に光学部材を配置する光学部材配置工程とを備えることから、第1接着剤塗布工程、台座部載置工程、第1熱硬化工程、光学部材配置工程を実行し、各構成部材(第1接着剤、台座部、光学部材(柱状光学部材))を順に重ねて位置合わせするという簡単な工程で、容易かつ高精度に耐熱性、耐候性、信頼性の高い太陽電池を生産性良く製造することができるという効果を奏する。
 本発明に係る第1の太陽電池製造方法によれば、集光された太陽光を透過させる光学部材と、光学部材を透過した太陽光を光電変換する太陽電池素子と、太陽電池素子が載置されたレシーバ基板と、レシーバ基板に接着され太陽電池素子を囲む枠状に形成された第1接着部と、レシーバ基板に当接され太陽電池素子を囲んで第1接着部に接着された台座部と、第1接着部に囲まれ太陽電池素子を被覆する樹脂封止部と、台座部の頂部に形成された第2接着部とを備え、第2接着部に接着されてレシーバ基板と平行な方向で延長された梁状フランジ部と梁状フランジ部から外側に延長されて台座部の外側でレシーバ基板に連結された結合用フランジ部とを有する台座被覆部と、光学部材として柱状とされた柱状光学部材を固定する固定部とを備える太陽電池を製造する太陽電池製造方法であって、第1接着部を形成する第1接着剤をレシーバ基板に塗布する第1接着剤塗布工程と、第1接着剤に台座部を接着してレシーバ基板に載置する台座部載置工程と、第2接着部を形成する第2接着剤を台座部の頂部に塗布する第2接着剤塗布工程と、柱状光学部材を貫通させて対向する貫通傾斜面を有し梁状フランジ部の内側先端枠に立設された固定部としての縦型固定部を有する台座被覆部を第2接着剤に接着してレシーバ基板に載置する台座被覆部載置工程と、第1接着剤および第2接着剤を加熱して第1接着部および第2接着部を形成する第1熱硬化工程と、貫通傾斜面に当接して固定するように柱状光学部材を配置する柱状光学部材配置工程と、太陽電池素子を樹脂封止する封止樹脂を第1接着部の内側領域に注入する封止樹脂注入工程とを備えることから、第1接着剤塗布工程、台座部載置工程、第2接着剤塗布工程、台座被覆部載置工程(固定部配置工程)、柱状光学部材配置工程(光学部材配置工程)、封止樹脂注入工程を実行し、各構成部材(第1接着部、台座部、第2接着部、台座被覆部(固定部=縦型固定部)、樹脂封止部、柱状光学部材(光学部材))を順に重ねて位置合わせするという簡単な工程で、容易かつ高精度に耐熱性、耐候性、信頼性の高い太陽電池を生産性良く製造することができるという効果を奏する。
 本発明に係る第2の太陽電池によれば、集光レンズにより集光された太陽光を光電変換する太陽電池素子と、太陽電池素子が載置されたレシーバ基板と、集光された太陽光を入射させる入射面と太陽電池素子に対向して配置され太陽電池素子に太陽光を照射する照射面とを有する柱状光学部材と、柱状光学部材を保持する保持部とを備える太陽電池であって、太陽電池素子の周囲に枠状に配置されレシーバ基板に固定された枠状台座部を備え、保持部は、枠状台座部に嵌合させてあることから、枠状台座部をレシーバ基板に対して容易かつ高精度に位置決めして強固に固定することが可能となり、また、保持部を枠状台座部に対して容易かつ高精度に位置決めして強固に保持することが可能となるので、柱状光学部材を太陽電池素子に対して容易かつ高精度に位置決めして強固に保持することができ、広い波長領域に対する集光特性を向上させて発電効率および発電電力を向上させ、耐熱性、信頼性、耐候性の高い安価な太陽電池とすることができるという効果を奏する。
 また、本発明に係る第2の集光型太陽光発電モジュールによれば、太陽光を集光する集光レンズと、集光された太陽光を受光して光電変換する太陽電池とを備える集光型太陽光発電モジュールであって、太陽電池は、本発明に係る太陽電池とすることから、広い波長領域に対する集光特性を向上させて発電効率および発電電力を向上させ、耐熱性、信頼性、耐候性の高い安価な集光型太陽光発電モジュールとすることができるという効果を奏する。
 また、本発明に係る第2の太陽電池製造方法によれば、集光レンズにより集光された太陽光を光電変換する太陽電池素子と、太陽電池素子が載置されたレシーバ基板と、集光された太陽光を入射させる入射面と太陽電池素子に対向して配置され太陽電池素子に太陽光を照射する照射面とを有する柱状光学部材と、柱状光学部材を保持する保持部と、太陽電池素子の周囲に枠状に配置されレシーバ基板に固定されて保持部と嵌合する枠状台座部とを備える太陽電池を製造する太陽電池製造方法であって、レシーバ基板に太陽電池素子を実装する太陽電池素子実装工程と、枠状台座部をレシーバ基板に接着する第1接着剤をレシーバ基板に塗布する第1接着剤塗布工程と、枠状台座部をレシーバ基板に位置決めして載置する枠状台座部載置工程と、保持部を枠状台座部に接着する第2接着剤を枠状台座部に塗布する第2接着剤塗布工程と、保持部を枠状台座部に嵌合する嵌合工程と、第1樹脂および第2樹脂を加熱して熱硬化する第1熱硬化工程と、太陽電池素子を樹脂封止する封止樹脂を枠状台座部に注入する封止樹脂注入工程と、保持部の貫通穴に柱状光学部材を挿入し柱状光学部材の太陽電池素子に対向する照射面を封止樹脂で被覆する柱状光学部材搭載工程と、封止樹脂に対して脱泡処理を施す脱泡処理工程と、封止樹脂を加熱して熱硬化する第2熱硬化工程とを備えることから、枠状台座部をレシーバ基板に対して容易かつ高精度に位置決めして強固に固定することが可能となり、また、保持部を枠状台座部に対して容易かつ高精度に位置決めして強固に保持することが可能となるので、柱状光学部材を太陽電池素子に対して容易かつ高精度に位置決めして強固に保持することができ、広い波長領域に対する集光特性を向上させて発電効率および発電電力を向上させた信頼性の高い安価な太陽電池を容易かつ高精度に生産性良く製造することができるという効果を奏する。
図1は、本発明の実施の形態1に係る太陽電池の概略構成の断面状態を模式的に示す断面図である。 図2は、本発明の実施の形態2に係る太陽電池の概略構成の断面状態を模式的に示す断面図である。 図3は、本発明の実施の形態3に係る太陽電池の概略構成の断面状態を模式的に示す断面図である。 図4は、本発明の実施の形態4に係る太陽電池および集光型太陽光発電モジュールの概略構成の断面状態を模式的に示す断面図である。 図5は、図4で示した太陽電池を拡大した概略構成の断面状態を示す拡大断面図である。 図6は、図4で示した太陽電池の概略構成を俯瞰した状態で示す斜視図である。 図7は、図4で示した太陽電池の太陽電池素子とレシーバ基板の配置状態を示す斜視図である。 図8は、図4で示した太陽電池の台座部の概略構成を示す斜視図である。 図9は、図8で示した台座部の断面状態を示す断面図である。 図10は、図4で示した太陽電池の台座被覆部、固定部、および柱状光学部材の概略構成を示す斜視図である。 図11は、図10で示した台座被覆部、固定部、および柱状光学部材の断面状態を示す断面図である。 図12は、図4で示したキャップ部の概略構成を示す斜視図である。 図13は、図12で示したキャップ部の断面形状を示す断面図である。 図14は、本発明の実施の形態5に係る太陽電池を製造する太陽電池製造方法の製造工程を示すフローチャートである。 図15は、本発明の実施の形態5に係る太陽電池製造方法の製造工程で第1接着部となる第1接着剤を塗布するための準備工程として、レシーバ基板を位置決め治具にセットする状態を示す工程斜視図である。 図16は、図15の準備工程でレシーバ基板を位置決め治具にセットした状態を示す工程斜視図である。 図17は、本発明の実施の形態5に係る太陽電池製造方法の製造工程で第1接着部を塗布する状態を示す工程斜視図である。 図18は、本発明の実施の形態5に係る太陽電池製造方法の製造工程で台座部をレシーバ基板に載置した状態を示す工程斜視図である。 図19は、本発明の実施の形態5に係る太陽電池製造方法の製造工程で第2接着部を台座部に塗布する状態を示す工程斜視図である。 図20は、本発明の実施の形態5に係る太陽電池製造方法の製造工程で台座被覆部を台座部に載置した状態を示す工程斜視図である。 図21は、本発明の実施の形態5に係る太陽電池製造方法の製造工程で太陽電池素子を樹脂封止する封止樹脂を台座部に注入する状態を示す工程斜視図である。 図22は、本発明の実施の形態5に係る太陽電池製造方法の製造工程で縦型固定部の貫通穴に柱状光学部材を挿入した状態を示す工程斜視図である。 図23は、本発明の実施の形態5に係る太陽電池製造方法の製造工程で柱状光学部材の頂面に透光性接着剤を塗布する状態を示す工程斜視図である。 図24は、本発明の実施の形態5に係る太陽電池製造方法の製造工程で第3接着剤を縦型固定部に塗布する状態を示す工程斜視図である。 図25は、本発明の実施の形態5に係る太陽電池製造方法の製造工程で透光性保護板を縦型固定部に載置した状態を示す工程斜視図である。 図26は、本発明の実施の形態5に係る太陽電池製造方法の製造工程でキャップ部を縦型固定部に載置した状態を示す工程斜視図である。 図27は、本発明の実施の形態6に係る集光型太陽光発電モジュールおよび太陽電池の断面状態を示す断面図である。 図28は、図27で示した太陽電池の外観を示す斜視図である。 図29は、図27で示した太陽電池素子のレシーバ基板への実装状態を示す斜視図である。 図30Aは、図27で示した枠状台座部の断面形状を示す断面図である。 図30Bは、図27で示した保持部の概略構造を示す斜視図である。 図30Cは、図30Bで示した保持部の断面形状を示す断面図である。 図31は、本発明の実施の形態7に係る太陽電池を製造する太陽電池製造方法の製造工程を示すフローチャートである。 図32は、本発明の実施の形態7に係る太陽電池製造方法の製造工程で第1接着剤を塗布する状態を示す工程斜視図である。 図33は、本発明の実施の形態7に係る太陽電池製造方法の製造工程で枠状台座部をレシーバ基板に載置した状態を示す工程斜視図である。 図34は、本発明の実施の形態7に係る太陽電池製造方法の製造工程で第2接着剤を枠状台座部に塗布する状態を示す工程斜視図である。 図35は、本発明の実施の形態7に係る太陽電池製造方法の製造工程で保持部を枠状台座部に嵌合した状態を示す工程斜視図である。 図36は、本発明の実施の形態7に係る太陽電池製造方法の製造工程で太陽電池素子を樹脂封止する封止樹脂を枠状台座部に注入する状態を示す工程斜視図である。 図37は、本発明の実施の形態7に係る太陽電池製造方法の製造工程で保持部の貫通穴に柱状光学部材を挿入した状態を示す工程斜視図である。
 以下、本発明の実施の形態を図面に基づいて説明する。
 <実施の形態1>
 図1に基づいて、本実施の形態に係る太陽電池およびこの太陽電池を製造する太陽電池製造方法について説明する。
 図1は、本発明の実施の形態1に係る太陽電池の概略構成の断面状態を模式的に示す断面図である。
 本実施の形態に係る太陽電池21は、集光された太陽光Lsを透過させる光学部材40(第1平板光学部材40f)と、光学部材40を透過した太陽光Lsを光電変換する太陽電池素子23と、太陽電池素子23が載置されたレシーバ基板22とを備える。
 太陽電池21は、レシーバ基板22に接着され太陽電池素子23を囲む枠状に形成された第1接着部31と、レシーバ基板22に当接され太陽電池素子23を囲んで第1接着部31に接着された台座部45と、第1接着部31に囲まれ太陽電池素子23を被覆する樹脂封止部34とを備える。
 したがって、レシーバ基板22、太陽電池素子23に対して、第1接着部31、台座部45を重畳方向で重ねて連結するので、太陽電池素子23に対する樹脂封止部34および光学部材40(第1平板光学部材40f)の位置決めを光軸Laxに対応させた平面方向および重畳方向(高さ方向)で容易かつ高精度に確定して集光された太陽光Lsを効果的に太陽電池素子23へ照射し、また、太陽電池素子23を外部から遮断して外部からの異物の混入による太陽電池素子への影響を防止することが可能となるので、発電効率および発電電力を向上させ、耐熱性、耐候性、信頼性を向上させた生産性の良い太陽電池21とすることができる。
 つまり、本実施の形態に係る太陽電池21では、例えば、光軸Laxに対応させた平面方向および重畳方向で、レシーバ基板22、太陽電池素子23、第1接着部31、台座部45、光学部材40を順に重ねて位置合わせすることが可能となる。
 なお、光学部材40は、平板状とされた第1平板光学部材40fであり、第1平板光学部材40fは、重畳方向で、第1接着部31と台座部45との間に配置されている。したがって、第1接着部31、台座部45に対して光学部材40(第1平板光学部材40f)を平面方向および重畳方向で容易かつ高精度に位置決めして固定することが可能となる。また、光学部材40は、水平方向で、台座部45の外周枠45fの内側領域に配置されることから、台座部45に対して精度良く位置決めすることが可能となる。
 台座部45は、台座部45の底面45cに形成された底面凹部45dとレシーバ基板22との間に配置された第1接着部31によってレシーバ基板22に接着されている。つまり、台座部45の底面凹部45dとレシーバ基板22との間に第1接着部31が形成されている。
 したがって、第1接着部31を介して台座部45とレシーバ基板22とを精度良く接着して固定することが可能となる。なお、台座部45は、第1接着部31と同様に枠状とすることが好ましいが、これに限らず、例えば4脚構造のようにすることも可能である。つまり、第1接着部31に対する接着が十分になされ、レシーバ基板22に安定して固定される構造であれば良い。台座部45の位置を高精度に確定することから、光学部材40の焦点距離を高精度に整合させることができる。台座部45の4脚構造(変形例)については、実施の形態5でさらに説明する。
 また、異物(雨水や砂塵)が侵入することを防止するために、レンズフレーム51(図4参照)とベースプレート52(同前)等の連結部分の隙間を少なくして、太陽光Lsを導光する空間の密閉度合を高めた場合には、集光レンズ50(同前)から太陽電池素子23もしくは光学部材40までの導光領域内の湿気を含む気体(例えば、空気)が気温の変化に伴う結露現象を生じることにより、導光領域で水滴が発生し、レシーバ基板22等に付着する場合がある。
 レシーバ基板22等に付着した水滴は、太陽光Lsを追尾する際のレシーバ基板22等の追尾角度変化によって、太陽電池素子23の表面に流入する恐れがある。しかし、太陽電池素子23を第1接着部31、樹脂封止部34などによって導光領域側から遮断することで、導光領域側からの異物(水滴など)の混入による太陽電池素子23への影響を防止することが可能となる。
 また、太陽電池素子23の表面領域(例えば、樹脂封止部34と第1平板光学部材40fの底面40bとの間の空間領域)を導光領域から遮断された気体(例えば、空気、窒素、あるいは、アルゴン)が充填された状態とする場合は、できる限り湿度の低い気体を充填するのが好ましい。また、湿気の絶対量を小さくする点で、導光領域側から遮断した領域はできる限り体積を小さくするのが好ましい。
 あるいは、太陽電池素子23の表面領域を気体の代わりに封止樹脂を充填して密閉しても構わない。また、充填材の絶対量を小さくして膨張収縮の影響を少なくするため、導光領域側から遮断した領域はできる限り体積を小さくすることが好ましい。さらに、導光領域側に気体が充填された遮断領域を設けても良い。
 また、遮断領域は太陽電池素子23の周辺のバイパスダイオード24、ワイヤ29(図7参照)、配線部材および第1接続パターン25(同前)および第2接続パターン26(同前)を密閉しても良い。このようにすると、水滴や塵などの付着による、出力取り出し端子間などでの短絡を生じる恐れがなくなる。
 第1平板光学部材40fは、底面凹部45dと第1接着部31との間に配置され、第1接着部31に密着させてあるので、容易かつ高精度に位置決めされ、太陽電池素子23を外部環境から保護することができる。
 太陽電池素子23を被覆する樹脂封止部34は、光学部材40(第1平板光学部材40f)とレシーバ基板22の間でレシーバ基板22を被覆して形成される。したがって、太陽電池素子23および太陽電池素子23に接続された接続部材(太陽電池素子23の表面電極と取り出し電極とを接続するワイヤ29(図7参照)など)を周囲環境から確実に保護(絶縁)することが可能となることから、信頼性を確保することができる。
 なお、樹脂封止部34は、光学部材40の底面40b(内面)に接触させることも可能である。つまり、図1では、樹脂封止部34と第1平板光学部材40fとの間に空間領域を有する形状としているが、空間領域を完全に封止樹脂34r(樹脂封止部34)で充填する形状とすることも可能である。
 空間領域を樹脂封止部34で充填することによって、空間領域に存在していた気体(例えば空気)による影響を抑制することができる。つまり、光学部材40(第1平板光学部材40f)と樹脂封止部34との間に存在していた気体を排除して光学部材40(第1平板光学部材40f)と樹脂封止部34との間での屈折率の変動を抑制し、太陽光Lsを効率よく太陽電池素子23へ導光することができる。
 また、樹脂封止部34の外周は、第1接着部31で枠状に囲まれている。したがって、台座部45の内側でレシーバ基板22の表面に配置された部材(例えば、太陽電池素子23、バイパスダイオード24、ワイヤ29、配線部材)を確実に被覆して保護(絶縁)することが可能となることから、絶縁耐圧、耐候性を向上させて信頼性を向上させることができる。
 本実施の形態に係る太陽電池21を搭載した集光型太陽光発電モジュール20(図4参照)とすることも可能である。つまり、太陽光Lsを集光する集光レンズ50(同前)と、集光された太陽光Lsを受光して光電変換する本実施の形態に係る太陽電池21とを備える集光型太陽光発電モジュール20とすることができる。したがって、広い波長領域に対する集光特性を確実に向上させて発電効率および発電電力を向上させ、耐熱性、耐候性、信頼性の高い安価な集光型太陽光発電モジュール20とすることができる。
 レシーバ基板22は、例えば集光型太陽光発電モジュール20に太陽電池21を適用して取り付けるための取り付け穴22hを備える。
 なお、集光型太陽光発電モジュール20に対する太陽電池21の適用については、実施の形態4で詳細を説明する。
 本実施の形態に係る太陽電池21を製造する太陽電池製造方法について説明する。なお、製造工程については、実施の形態4で代表的な例を詳細に示すので、本実施の形態では、概略を説明するに留める。
 本実施の形態に係る太陽電池製造方法は、集光された太陽光Lsを透過させる光学部材40と、光学部材40を透過した太陽光Lsを光電変換する太陽電池素子23と、太陽電池素子23が載置されたレシーバ基板22と、レシーバ基板22に接着され太陽電池素子23を囲む枠状に形成された第1接着部31と、レシーバ基板22に当接され太陽電池素子23を囲んで第1接着部31に接着された台座部45と、第1接着部31に囲まれ太陽電池素子23を被覆する樹脂封止部34とを備える太陽電池21を製造する太陽電池製造方法である。
 本実施の形態に係る太陽電池製造方法では、第1接着部31を形成する第1接着剤31rをレシーバ基板22に塗布する第1接着剤塗布工程と、光学部材40として平板状とされた第1平板光学部材40fを第1接着剤31rに配置する第1平板光学部材配置工程(光学部材40を配置する光学部材配置工程)と、第1接着剤31rに台座部45を接着してレシーバ基板22に載置する台座部載置工程と、第1接着剤31rを加熱して第1接着部31を形成する第1熱硬化工程と、太陽電池素子23を樹脂封止する封止樹脂34rを第1接着部31の内側領域に注入する封止樹脂注入工程とを備える。
 したがって、第1接着剤塗布工程、第1平板光学部材配置工程(光学部材配置工程)、台座部載置工程、封止樹脂注入工程を実行するので、各構成部材(第1接着部31、封止樹脂部34、第1平板光学部材40f(光学部材40)、台座部45)を順に重ねて位置合わせするという簡単な工程で、容易かつ高精度に耐熱性、耐候性、信頼性の高い太陽電池21を生産性良く製造することが可能となる。
 また、封止樹脂注入工程は、第1接着剤塗布工程の前から第1平板光学部材配置工程までの間で実施することができる。好ましくは、第1接着剤塗布工程の後から第1平板光学部材配置工程までの間で実施する。
 なお、封止樹脂34rは、脱泡処理、熱硬化処理を施すことが好ましい。つまり、本実施の形態に係る太陽電池製造方法では、封止樹脂34rに対して脱泡処理を施す脱泡処理工程と、封止樹脂34rを加熱して熱硬化させる第2熱硬化工程とを備える。したがって、信頼性の高い樹脂封止部34を容易かつ高精度に形成することができる。
 <実施の形態2>
 図2に基づいて、本実施の形態に係る太陽電池およびこの太陽電池を製造する太陽電池製造方法について説明する。本実施の形態に係る太陽電池の基本的な構成は、実施の形態1の太陽電池21と同様であるので、符号を援用して適宜説明を省略し、主に異なる事項について説明する。
 図2は、本発明の実施の形態2に係る太陽電池の概略構成の断面状態を模式的に示す断面図である。
 本実施の形態に係る太陽電池21は、集光された太陽光Lsを透過させる光学部材40(第2平板光学部材40s)と、光学部材40を透過した太陽光Lsを光電変換する太陽電池素子23と、太陽電池素子23が載置されたレシーバ基板22とを備える。
 太陽電池21は、レシーバ基板22に接着され太陽電池素子23を囲む枠状に形成された第1接着部31と、レシーバ基板22に当接され太陽電池素子23を囲んで第1接着部31に接着された台座部45と、第1接着部31に囲まれ太陽電池素子23を被覆する樹脂封止部34とを備える。
 したがって、レシーバ基板22、太陽電池素子23に対して、第1接着部31、台座部45を重畳方向で重ねて連結するので、太陽電池素子23に対する樹脂封止部34および光学部材40(第2平板光学部材40s)の位置決めを光軸Laxに対応させた平面方向および重畳方向(高さ方向)で容易かつ高精度に確定して集光された太陽光Lsを効果的に太陽電池素子23へ照射し、また、太陽電池素子23を外部から遮断して外部からの異物の混入による太陽電池素子への影響を防止することが可能となるので、発電効率および発電電力を向上させ、耐熱性、耐候性、信頼性を向上させた生産性の良い太陽電池21とすることができる。
 つまり、本実施の形態に係る太陽電池21では、例えば、光軸Laxに対応させた平面方向および重畳方向で、レシーバ基板22、太陽電池素子23、第1接着部31、台座部45、光学部材40を位置合わせし、重ねて配置することが可能となる。
 台座部45は、台座部45の底面45cに形成された底面凹部45dとレシーバ基板22との間に配置された第1接着部31によってレシーバ基板22に接着されている。
 また、本実施の形態に係る太陽電池21は、台座部45の頂部45bに形成された第2接着部32を備え、第2接着部32に接着されてレシーバ基板22と平行な方向で延長された梁状フランジ部30cと、梁状フランジ部30cから外側に延長されて台座部45の外側でレシーバ基板22に連結された結合用フランジ部30dとを有する台座被覆部30bを備える。
 したがって、レシーバ基板22、太陽電池素子23、第1接着部31、台座部45に対して第2接着部32および台座被覆部30bを平面方向および重畳方向で容易かつ高精度に位置決めし、第2接着部32および台座被覆部30b(梁状フランジ部30cおよび結合用フランジ部30d)によって台座部45を固定し、台座被覆部30bによって台座部45を周囲から保護することが可能となることから、台座部45の物理的強度を向上させた信頼性の高い太陽電池21とすることができる。
 なお、光学部材40は、平板状とされた第2平板光学部材40sであり、第2平板光学部材40sは、重畳方向で、台座部45の頂部45bに載置され外周端40stを梁状フランジ部30cに覆われている。したがって、光学部材40(第2平板光学部材40s)を台座部45に対して平面方向および重畳方向で容易かつ高精度に載置して位置決めすることが可能となる。また、光学部材40は、水平方向で、台座部45の外周枠45fの内側領域に配置されることから、台座部45に対して精度良く位置決めすることが可能となる。
 太陽電池素子23を被覆する樹脂封止部34は、光学部材40(第2平板光学部材40s)とレシーバ基板22の間でレシーバ基板22を被覆して形成される。したがって、太陽電池素子23および太陽電池素子23に接続された接続部材(太陽電池素子23の表面電極と取り出し電極とを接続するワイヤ29(図7参照)など)を周囲環境から確実に保護(絶縁)することが可能となることから、信頼性を確保することができる。
 なお、樹脂封止部34は、光学部材40の底面40b(内面)に接触させることも可能である。つまり、図2では、樹脂封止部34と第2平板光学部材40sとの間に空間領域を有する形状としているが、空間領域を完全に封止樹脂34r(樹脂封止部34)で充填する形状とすることも可能である。
 空間領域を樹脂封止部34で充填することによって、空間領域に存在していた気体(例えば空気)による影響を抑制することができる。つまり、光学部材40(第2平板光学部材40s)と樹脂封止部34との間との間に存在していた気体を排除して光学部材40(第2平板光学部材40s)と樹脂封止部34との間での屈折率の変動を抑制し、太陽光Lsを効率よく太陽電池素子23へ導光することができる。
 また、樹脂封止部34の外周は、第1接着部31で枠状に囲まれている。したがって、台座部45の内側でレシーバ基板22の表面に配置された部材(例えば、太陽電池素子23、バイパスダイオード24、ワイヤ29、配線部材)を確実に被覆して保護することが可能となることから、絶縁耐圧、耐候性を向上させて信頼性を向上させることができる。
 結合用フランジ部30dには、取り付け穴22hに整合させた台座被覆部取り付け穴30jが形成されている。したがって、レシーバ基板22に対して台座被覆部30b(結合用フランジ部30d)を容易かつ高精度に位置決めすることができる。
 本実施の形態に係る太陽電池21を搭載した集光型太陽光発電モジュール20(図4参照)とすることも可能である。適用の態様は、実施の形態1と同様であるので、実施の形態4で詳細を説明する。
 本実施の形態に係る太陽電池21を製造する太陽電池製造方法について説明する。なお、製造工程については、実施の形態4で代表的な例を詳細に示すので、本実施の形態では、概略を説明するに留める。
 本実施の形態に係る太陽電池製造方法は、集光された太陽光Lsを透過させる光学部材40と、光学部材40を透過した太陽光Lsを光電変換する太陽電池素子23と、太陽電池素子23が載置されたレシーバ基板22と、レシーバ基板22に接着され太陽電池素子23を囲む枠状に形成された第1接着部31と、レシーバ基板22に当接され太陽電池素子23を囲んで第1接着部31に接着された台座部45と、台座部45の頂部45bに形成された第2接着部32と、第1接着部31に囲まれ太陽電池素子23を被覆する樹脂封止部34とを備え、第2接着部32に接着されてレシーバ基板22と平行な方向で延長された梁状フランジ部30cと、梁状フランジ部30cから外側に延長されて台座部45の外側でレシーバ基板22に連結された結合用フランジ部30dとを有する台座被覆部30bを備える太陽電池21を製造する太陽電池製造方法である。
 本実施の形態に係る太陽電池製造方法では、第1接着部31を形成する第1接着剤31rをレシーバ基板22に塗布する第1接着剤塗布工程と、第1接着剤31rに台座部45を接着してレシーバ基板22に載置する台座部載置工程と、第2接着部32を形成する第2接着剤32rを台座部45の頂部45bに塗布する第2接着剤塗布工程と、光学部材40として平板状とされた第2平板光学部材40sを台座部45の頂部45bに配置する第2平板光学部材配置工程(光学部材40を配置する光学部材配置工程)と、台座被覆部30bを第2接着剤32rに接着してレシーバ基板22に載置する台座被覆部載置工程と、第1接着剤rおよび第2接着剤32rを加熱して第1接着部31および第2接着部32を形成する第1熱硬化工程と、太陽電池素子23を樹脂封止する封止樹脂34rを第1接着部31の内側領域に注入する封止樹脂注入工程とを備える。
 したがって、第1接着剤塗布工程、台座部載置工程、第2接着剤塗布工程、第2平板光学部材配置工程(光学部材配置工程)、台座被覆部載置工程、封止樹脂注入工程を実行するので、各構成部材(第1接着部31、台座部45、第2接着部32、樹脂封止部34、第2平板光学部材40s(光学部材40)、台座被覆部30b)を順に重ねて位置合わせするという簡単な工程で、容易かつ高精度に耐熱性、耐候性、信頼性の高い太陽電池21を生産性良く製造することが可能となる。
 また、封止樹脂注入工程は、第1接着剤塗布工程の前から第2平板光学部材配置工程までの間で実施することができる。好ましくは、第1熱硬化工程で第1接着部31を形成した後から第2平板光学部材配置工程までの間で実施する。
 <実施の形態3>
 図3に基づいて、本実施の形態に係る太陽電池およびこの太陽電池を製造する太陽電池製造方法について説明する。本実施の形態に係る太陽電池の基本的な構成は、実施の形態1、実施の形態2の太陽電池21と同様であるので、符号を援用して適宜説明を省略し、主に異なる事項について説明する。
 図3は、本発明の実施の形態3に係る太陽電池の概略構成の断面状態を模式的に示す断面図である。
 本実施の形態に係る太陽電池21は、集光された太陽光Lsを透過させる光学部材40(柱状光学部材40p)と、光学部材40を透過した太陽光Lsを光電変換する太陽電池素子23と、太陽電池素子23が載置されたレシーバ基板22とを備える。
 太陽電池21は、レシーバ基板22に接着され太陽電池素子23を囲む枠状に形成された第1接着部31と、レシーバ基板22に当接され太陽電池素子23を囲んで第1接着部31に接着された台座部45と、第1接着部31に囲まれ太陽電池素子23を被覆する樹脂封止部34とを備える。
 したがって、レシーバ基板22、太陽電池素子23に対して、第1接着部31、台座部45を重畳方向で重ねて連結するので、太陽電池素子23に対する樹脂封止部34および光学部材40(柱状光学部材40p)の位置決めを光軸Laxに対応させた平面方向および重畳方向(高さ方向)で容易かつ高精度に確定して集光された太陽光Lsを効果的に太陽電池素子23へ照射し、また、太陽電池素子23を外部から遮断して外部からの異物の混入による太陽電池素子への影響を防止することが可能となるので、発電効率および発電電力を向上させ、耐熱性、耐候性、信頼性を向上させた生産性の良い太陽電池21とすることができる。
 つまり、本実施の形態に係る太陽電池21では、例えば、光軸Laxに対応させた平面方向および重畳方向で、レシーバ基板22、太陽電池素子23、第1接着部31、台座部45、光学部材40を順に重ねて位置合わせすることが可能となる。
 また、本実施の形態に係る太陽電池21は、台座部45の頂部45bに形成された第2接着部32を備え、第2接着部32に接着されてレシーバ基板22と平行な方向で延長された梁状フランジ部30cと、梁状フランジ部30cから外側に延長されて台座部45の外側でレシーバ基板22に連結された結合用フランジ部30dとを有する台座被覆部30bを備える。
 したがって、レシーバ基板22、太陽電池素子23、第1接着部31、台座部45に対して第2接着部32および台座被覆部30bを平面方向および重畳方向で容易かつ高精度に位置決めし、第2接着部32および台座被覆部30b(梁状フランジ部30cおよび結合用フランジ部30d)によって台座部45を固定し、台座被覆部30bによって台座部45を周囲から保護することが可能となることから、台座部45の物理的強度を向上させた信頼性の高い太陽電池21とすることができる。
 なお、光学部材40は、頂面40aが底面40bより大きい柱状とされた柱状光学部材40pであり、柱状光学部材40pは、梁状フランジ部30cの内側先端で固定部30(嵌合固定部30r)によって固定されている。
 したがって、光学部材40(柱状光学部材40p)を台座部45および梁状フランジ部30cに対して平面方向および重畳方向で容易かつ高精度に位置決めすることが可能となるので、柱状光学部材40pを太陽電池素子23に対して容易かつ高精度に位置決めすることができる。
 柱状光学部材40pの底面40bは、太陽電池素子23に対応する面積、例えば太陽電池素子23の有効受光面積に対応させる面積としてある。つまり、底面40bは、太陽電池素子23の有効受光面積と同等とすることによって、不要な太陽光Lsの照射を防止することが可能となり、太陽エネルギーによる温度上昇を防止して発電効率を向上させることができる。
 また、柱状光学部材40pの頂面40aは、底面40bより大きい面積としてあることから、集光された太陽光Lsを確実に柱状光学部材40pへ入射させることができる。
 また、光学部材40(柱状光学部材40p)は、水平方向で、台座部45の外周枠45fの内側領域に配置されることから、台座部45に対して精度良く位置決めすることが可能となる。具体的には、光学部材40(柱状光学部材40p)は、嵌合固定部30r(固定部30)に対して位置決めされ、嵌合固定部30rは、梁状フランジ部30c(台座被覆部30b)に対して位置決めされ、梁状フランジ部30cは、台座部45(レシーバ基板22)に対して位置決めされる。
 したがって、固定部30(嵌合固定部30r)は、台座部45を基準にして光学部材40を固定することとなる。つまり、太陽電池21は、台座部45を基準にして光学部材40を固定する固定部30(嵌合固定部30r)を備える。
 本実施の形態に係る太陽電池21では、固定部30は、梁状フランジ部30cの内側先端枠30ctに嵌合され柱状光学部材40pを固定する嵌合固定部30rである。したがって、柱状光学部材40pを梁状フランジ部30cへ容易かつ高精度に接着して固定することができる。
 嵌合固定部30rの内周は、柱状光学部材40pが有する光路傾斜面40cに対向させて予め傾斜させてあることから、柱状光学部材40pを嵌合固定部30rに対して自己整合的に位置合わせすることが可能となる。なお、嵌合固定部30rは、予め適宜の合成樹脂を用いて成型品としておき、内側先端枠30ctに嵌め込んで形成することが可能である。
 太陽電池素子23を被覆する樹脂封止部34は、光学部材40(柱状光学部材40p)とレシーバ基板22の間でレシーバ基板22を被覆して形成される。また、樹脂封止部34は、光学部材40(柱状光学部材40p)の底面40bに接触させてある。つまり、樹脂封止部34と柱状光学部材40p(底面40b)との間の空間領域を完全に封止樹脂34r(樹脂封止部34)で充填する形状としてある。
 したがって、光学部材40(柱状光学部材40p)と樹脂封止部34との間の空間領域に存在していた気体(例えば空気)による屈折率の変動を防止して太陽光Lsを効率よく太陽電池素子23へ導光することができる。
 本実施の形態に係る太陽電池21を搭載した集光型太陽光発電モジュール20(図4参照)とすることも可能である。なお、集光型太陽光発電モジュール20での太陽電池21の適用の態様は、実施の形態1、実施の形態2と同様であるので、実施の形態4で詳細を説明する。
 本実施の形態に係る太陽電池21を製造する太陽電池製造方法について説明する。なお、製造工程については、実施の形態4で代表的な例を詳細に示すので、本実施の形態では、概略を説明するに留める。
 本実施の形態に係る太陽電池製造方法は、集光された太陽光Lsを透過させる光学部材40と、光学部材40を透過した太陽光Lsを光電変換する太陽電池素子23と、太陽電池素子23が載置されたレシーバ基板22と、レシーバ基板22に接着され太陽電池素子23を囲む枠状に形成された第1接着部31と、レシーバ基板22に当接され太陽電池素子23を囲んで第1接着部31に接着された台座部45と、台座部45の頂部45bに形成された第2接着部32と、第1接着部31に囲まれ太陽電池素子23を被覆する樹脂封止部34とを備え、第2接着部32に接着されてレシーバ基板22と平行な方向で延長された梁状フランジ部30cと梁状フランジ部30cから外側に延長されて台座部45の外側でレシーバ基板22に連結された結合用フランジ部30dとを有する台座被覆部30bと、光学部材40として柱状とされた柱状光学部材40pを固定する固定部30(嵌合固定部30r)とを備える太陽電池21を製造する太陽電池製造方法である。
 本実施の形態に係る太陽電池製造方法では、第1接着部31を形成する第1接着剤31rをレシーバ基板22に塗布する第1接着剤塗布工程と、第1接着剤31rに台座部45を接着してレシーバ基板22に載置する台座部載置工程と、第2接着部32を形成する第2接着剤32rを台座部45の頂部45bに塗布する第2接着剤塗布工程と、台座被覆部30bを第2接着剤32rに接着してレシーバ基板22に載置する台座被覆部載置工程と、第1接着剤31rおよび第2接着剤32rを加熱して第1接着部31および第2接着部32を形成する第1熱硬化工程と、固定部30としての嵌合固定部30rを梁状フランジ部30cの内側先端枠30ctに配置する嵌合固定部配置工程(固定部30を配置する固定部配置工程でもある。)と、光学部材40として柱状とされた柱状光学部材40pを嵌合固定部30rに固定させて配置する柱状光学部材配置工程(光学部材40を配置する光学部材配置工程)と、太陽電池素子23を樹脂封止する封止樹脂34rを第1接着部31の内側領域に注入する封止樹脂注入工程とを備える。
 したがって、第1接着剤塗布工程、台座部載置工程、第2接着剤塗布工程、台座被覆部載置工程、嵌合固定部配置工程(固定部配置工程)、柱状光学部材配置工程(光学部材配置工程)、封止樹脂注入工程を実行するので、各構成部材(第1接着部31、台座部45、第2接着部32、台座被覆部30b、嵌合固定部30r、樹脂封止部34、柱状光学部材40p(光学部材40))を順に重ねて位置合わせするという簡単な工程で、容易かつ高精度に耐熱性、耐候性、信頼性の高い太陽電池21を製造することが可能となる。
 また、封止樹脂注入工程を第1接着剤塗布工程の前から柱状光学部材配置工程までの間で実施することができる。好ましくは、第1熱硬化工程で第1接着部31を形成した後から柱状光学部材配置工程までの間で実施する。なお、封止樹脂注入工程の後、封止樹脂34rに対して脱泡処理を施す脱泡処理工程と、封止樹脂34rを加熱して熱硬化させる第2熱硬化工程とを施すことができる。
 また、第1接着剤31r、第2接着剤32rをそれぞれ個別に硬化させることも可能である。つまり、第1熱硬化工程では、第1接着部31のみを形成することも可能である。
 なお、本実施の形態に係る太陽電池製造方法は、集光された太陽光Lsを透過させる光学部材40と、光学部材40を透過した太陽光Lsを光電変換する太陽電池素子23と、太陽電池素子23が載置されたレシーバ基板22と、レシーバ基板22に接着され太陽電池素子23を囲む枠状に形成された第1接着部31と、レシーバ基板22に当接され太陽電池素子23を囲んで第1接着部31に接着された台座部45と、台座部45を基準にして光学部材40を固定する固定部30(嵌合固定部30r)とを備える太陽電池21を製造する太陽電池製造方法でもある。
 つまり、本実施の形態に係る太陽電池製造方法は、第1接着部31を形成する第1接着剤31rをレシーバ基板22に塗布する第1接着剤塗布工程と、第1接着剤31rに台座部45を接着してレシーバ基板22に載置する台座部載置工程と、第1接着剤31rを加熱して第1接着部31を形成する第1熱硬化工程と、固定部30(嵌合固定部30r)に光学部材40(柱状光学部材40p)を配置する光学部材配置工程とを備える。
 したがって、第1接着剤塗布工程、台座部載置工程、第1熱硬化工程、光学部材配置工程を実行し、各構成部材(第1接着部31、台座部45、光学部材40(柱状光学部材40p))を順に重ねて位置合わせするという簡単な工程で、容易かつ高精度に耐熱性、耐候性、信頼性の高い太陽電池21を生産性良く製造することが可能となる。
 <実施の形態4>
 図4ないし図13に基づいて、本実施の形態に係る太陽電池、集光型太陽光発電モジュールについて説明する。先ず、図4ないし図6で全体像を説明し、図7ないし図13で各構成要素を順次説明する。本実施の形態に係る太陽電池の基本的な構成は、実施の形態1ないし実施の形態3の太陽電池21と同様であるので、符号を援用して適宜説明を省略し、主に異なる事項について説明する。
 図4は、本発明の実施の形態4に係る太陽電池および集光型太陽光発電モジュールの概略構成の断面状態を模式的に示す断面図である。
 図5は、図4で示した太陽電池を拡大した概略構成の断面状態を示す拡大断面図である。
 図6は、図4で示した太陽電池の概略構成を俯瞰した状態で示す斜視図である。
 本実施の形態に係る太陽電池21は、集光レンズ50により集光された太陽光Lsを透過させる光学部材40(柱状光学部材40p)と、光学部材40を透過した太陽光Lsを光電変換する太陽電池素子23と、太陽電池素子23が載置されたレシーバ基板22とを備える。
 また、太陽電池21は、レシーバ基板22に接着され太陽電池素子23を囲む枠状に形成された第1接着部31と、レシーバ基板22に当接され太陽電池素子23を囲んで第1接着部31に接着された台座部45と、第1接着部31に囲まれ太陽電池素子23を被覆する樹脂封止部34とを備える。
 したがって、レシーバ基板22、太陽電池素子23に対して、第1接着部31、台座部45を重畳方向で重ねて連結するので、太陽電池素子23に対する樹脂封止部34および光学部材40(柱状光学部材40p)の位置決めを光軸Laxに対応させた平面方向および重畳方向(高さ方向)で容易かつ高精度に確定して集光された太陽光Lsを効果的に太陽電池素子23へ照射し、また、太陽電池素子23を外部から遮断して外部からの異物の混入による太陽電池素子への影響を防止することが可能となるので、発電効率および発電電力を向上させ、耐熱性、耐候性、信頼性を向上させた生産性の良い太陽電池21とすることができる。
 台座部45は、台座部45の底面45cに形成された底面凹部45dとレシーバ基板22との間に配置された第1接着部31によってレシーバ基板22に接着されている。つまり、台座部45の底面凹部45dとレシーバ基板22との間に第1接着部31が形成されている。したがって、第1接着部31を介して台座部45とレシーバ基板22とを精度良く接着して固定することが可能となる。
 なお、台座部45は、第1接着部31と同様に枠状とすることが好ましいが、これに限らず、例えば4脚構造のようにすることも可能である。つまり、第1接着部31に対する接着が十分になされ、レシーバ基板22に安定して固定される構造であれば良い。
 また、本実施の形態に係る太陽電池21は、台座部45の頂部45bに形成された第2接着部32を備え、第2接着部32に接着されてレシーバ基板22と平行な方向で延長された梁状フランジ部30cと、梁状フランジ部30cから外側に延長されて台座部45の外側でレシーバ基板22に連結された結合用フランジ部30dとを有する台座被覆部30bを備える。
 したがって、レシーバ基板22、太陽電池素子23、第1接着部31、台座部45に対して第2接着部32および台座被覆部30bを平面方向および重畳方向で容易かつ高精度に位置決めし、第2接着部32および台座被覆部30b(梁状フランジ部30cおよび結合用フランジ部30d)によって台座部45を固定し、台座被覆部30bによって台座部45を周囲から保護することが可能となることから、台座部45の物理的強度を向上させた信頼性の高い太陽電池21とすることができる。
 なお、光学部材40は、頂面40aが底面40bより大きい柱状とされた柱状光学部材40pであり、柱状光学部材40pは、梁状フランジ部30cの内側先端で固定部30(縦型固定部30f)によって固定されている。
 したがって、光学部材40(柱状光学部材40p)を台座部45および梁状フランジ部30cに対して平面方向および重畳方向で容易かつ高精度に位置決めすることが可能となるので、柱状光学部材40pを太陽電池素子23に対して容易かつ高精度に位置決めすることができる。
 また、光学部材40(柱状光学部材40p)は、水平方向で、台座部45の外周枠45fの内側領域に配置されることから、台座部45に対して精度良く位置決めすることが可能となる。具体的には、光学部材40(柱状光学部材40p)は、縦型固定部30f(固定部30)に対して位置決めされ、縦型固定部30fは、梁状フランジ部30c(台座被覆部30b)に対して位置決めされ、梁状フランジ部30cは、台座部45(レシーバ基板22)に対して位置決めされる。
 したがって、固定部30(縦型固定部30f)は、台座部45を基準にして光学部材40を固定することとなる。つまり、太陽電池21は、台座部45を基準にして光学部材40を固定する固定部30(縦型固定部30f)を備える。
 本実施の形態に係る太陽電池21では、固定部30は、柱状光学部材40pを貫通させて対向する貫通傾斜面30sを有し梁状フランジ部30cの内側先端枠30ctに立設された縦型固定部30fである。したがって、柱状光学部材40pを梁状フランジ部30c(縦型固定部30f)へ平面方向および重畳方向で容易かつ高精度に位置決めして固定することができる。
 太陽電池21は、柱状光学部材40pの頂面40aを覆って縦型固定部30fに固定された透光性保護板41を備える。したがって、透光性保護板41を柱状光学部材40pへ平面方向および重畳方向で容易かつ高精度に位置決めして固定することができるので、太陽光Lsを柱状光学部材40pへ効率よく導光し、柱状光学部材40pと縦型固定部30fとの間の間隙を外部から遮断することが可能となり、太陽電池素子23および柱状光学部材40pを外部環境から確実に保護し、信頼性を向上させた太陽電池21とすることができる。
 透光性保護板41は、縦型固定部30fの頂部30hに形成された第3接着部33に接着されている。したがって、縦型固定部30fに対して透光性保護板41を平面方向および重畳方向で容易かつ高精度に位置決めし、透光性保護板41と縦型固定部30fとを隙間無く固定することが可能となるので、柱状光学部材40pを外部環境から遮断して異物の影響を防止することができる。
 また、太陽電池21は、透光性保護板41の外周端を覆う窓枠60bを有し縦型固定部30fに連結されたキャップ部60を備える。したがって、透光性保護板41に対してキャップ部60を平面方向および重畳方向で容易かつ高精度に位置決めして固定することができるので、透光性保護板41を固定し、縦型固定部30fの頂部30hの外周端を保護して、透光性保護板41の機械的強度を確保し、信頼性を向上させた太陽電池21とすることができる。
 キャップ部60(図6参照)は、枠部60cから延長された爪部60dを縦型固定部30fに形成された係止用凹部30kに嵌めこんで係止することによって結合される。また、窓枠60b(キャップ部60)は、第3接着部33を太陽光Lsから遮光する形状とされている。第3接着部33が太陽光Lsに照射されることを防止できるので、第3接着部33(第3接着剤33r)の劣化を防止することができる。
 したがって、太陽電池素子23および柱状光学部材40pを外部から遮断することが可能となるので、太陽電池素子23および柱状光学部材40pに対する外部からの異物(雨水や砂塵など)の混入を防止し、また、柱状光学部材40pにより広い波長領域に対する集光特性を向上させて発電効率および発電電力を向上させた耐熱性、信頼性、耐候性の高い安価な太陽電池21とすることができる。
 つまり、太陽電池素子23へ照射する太陽光Lsを柱状光学部材40pによって導光することから、広い波長領域に対する集光特性を向上させることが可能となる。また、太陽電池素子23および柱状光学部材40pの外周を縦型固定部30f、台座部45、透光性保護板41で覆うことから、太陽電池素子23および柱状光学部材40pに対する外部からの不要な影響を排除することが可能となり、集光特性、信頼性を向上させることが可能となる。
 なお、透光性保護板41は、透光性接着層36を介して柱状光学部材40pの頂面40aに接着されている。したがって、透光性保護板41と柱状光学部材40pとの間の間隙(空間領域)を排除して透光性保護板41と柱状光学部材40pとの間での屈折率の変動を抑制し、太陽光Lsを効率良く太陽電池素子23へ導光することが可能となる。
 柱状光学部材40pを例えばガラスで形成したときの屈折率n=1.5、透光性保護板41を例えばガラスで形成したときの屈折率n=1.5に対して、透光性接着層36をシリコーン樹脂で形成したときの屈折率n=1.3となる。
 したがって、柱状光学部材40pと透光性接着層36との間、透光性接着層36と透光性保護板41との間では、屈折率に大きな差が生じない。透光性保護板41と柱状光学部材40pとの間で屈折率に大きな差が生じないことから、透光性保護板41へ入射した太陽光Lsは、効率よく柱状光学部材40p(頂面40a)へ入射することができる。つまり、透光性保護板41へ入射した太陽光Lsを効率良く太陽電池素子23(有効受光領域)へ照射させることができる。
 縦型固定部30fは、台座部45の頂部45bと縦型固定部30fが立設された梁状フランジ部30cとの間に配置された第2接着部32によって台座部45に接着されている。つまり、台座部45の頂部45bと縦型固定部30fとの間に第2接着部32が形成されている。
 したがって、第2接着部32を介して縦型固定部30fと台座部45とを隙間無く接着して固定することが可能となるので、縦型固定部30fと台座部45との間を通って太陽電池素子23および柱状光学部材40pに対する異物が侵入することを防止することができる。
 縦型固定部30fは、柱状光学部材40pの頂面40aに隣接する側面(光路傾斜面40c)を貫通傾斜面30sによって当接して保持する。また、縦型固定部30fは、台座被覆部30b(梁状フランジ部30cおよび結合用フランジ部30d)と一体化されている。また、第2接着部32は、台座被覆部30b(梁状フランジ部30c)と台座部45との間に配置されている。
 したがって、台座被覆部30b(結合用フランジ部30d)を介して縦型固定部30fおよび台座部45からの熱を効率的にレシーバ基板22へ放熱し、また、台座被覆部30bを介してレシーバ基板22に縦型固定部30fを位置決めして固定することが可能となるので、放熱性および物理的強度を向上させることができる。
 また、台座被覆部30bは、縦型固定部30fから延長され梁状に配置された梁状フランジ部30cと、レシーバ基板22に当接するように梁状フランジ部30cから折り曲げて配置された結合用フランジ体30dとを備える。
 したがって、縦型固定部30fの設計自由度を向上させて縦型固定部30fを最適な形状にし、縦型固定部30f(固定部30)をレシーバ基板22に確実に結合させることが可能となる。
 柱状光学部材40pの底面40bは、太陽電池素子23に対応する面積、例えば太陽電池素子23の有効受光面積に対応させる面積としてある。つまり、底面40bは、太陽電池素子23の有効受光面積と同等とすることによって、不要な太陽光Lsの照射を防止することが可能となり、太陽エネルギーによる温度上昇を防止して発電効率を向上させることができる。
 また、柱状光学部材40pの頂面40aは、底面40bより大きい面積としてあることから、集光された太陽光Lsを確実に柱状光学部材40pへ入射させることができる。
 透光性保護板41は、縦型固定部30fの頂部30hと透光性保護板41との間に配置された第3接着部33によって縦型固定部30fに接着されている。つまり、縦型固定部30fと透光性保護板41との間に第3接着部33が形成されている。
 したがって、第3接着部33を介して透光性保護板41と縦型固定部30fとを隙間無く固定することが可能となるので、柱状光学部材40pを外部環境から遮断し異物が柱状光学部材40pに対して影響することを防止することができる。
 太陽電池素子23を被覆する樹脂封止部34は、光学部材40(柱状光学部材40p)とレシーバ基板22の間でレシーバ基板22を被覆して形成される。また、樹脂封止部34は、端部を第1接着部31で囲まれている。
 したがって、台座部45(第1接着部31)の内側でレシーバ基板22の表面に配置された部材(例えば、太陽電池素子23、バイパスダイオード24、ワイヤ29(図7参照)、配線部材)を確実に被覆して保護(絶縁)することが可能となることから、絶縁性、耐候性を向上させて信頼性を向上させることができる。
 また、樹脂封止部34は、柱状光学部材40pの底面40bに接触させてある。つまり、底面40b(柱状光学部材40p)は、樹脂封止部34に浸かる状態とされている。したがって、柱状光学部材40pと樹脂封止部34との間の気体を排除して柱状光学部材40pと樹脂封止部34との間での屈折率の変動を抑制し、太陽光Lsを効率よく太陽電池素子23へ導光することができる。
 つまり、柱状光学部材40pおよび樹脂封止部34の組み合わせによって、頂面40aへ入射し、柱状光学部材40pを進行し、底面40bから太陽電池素子23に向けて照射される太陽光Lsを効率良く太陽電池素子23に照射することが可能となり、発電効率を向上させることができる。
 柱状光学部材40pは、例えば耐熱性のあるガラスで形成してあり、底面40bは、台座部45に内包された樹脂封止部34に例えば0.3mmないし0.5mm浸かる状態とされている。具体的な例では、柱状光学部材40p(例えばガラス)の屈折率n=1.5、樹脂封止部34を例えばシリコーン樹脂で形成したときの屈折率n=1.3となる。
 したがって、柱状光学部材40pの屈折率n=1.5に対して、空気の屈折率n=1と屈折率の差が大きくなることから、柱状光学部材40p内に入射した太陽光Lsを光路傾斜面40cで効率的に全反射させながら、柱状光学部材40pの先端(底面40b)まで太陽光Lsを効率よく進行させることが可能となる。
 また、柱状光学部材40pと樹脂封止部34との間では、屈折率に大きな差が生じないことから、柱状光学部材40pの中を全反射しながら底面40bに進行してきた太陽光Lsは、樹脂封止部34を介して太陽電池素子23(有効受光領域)へ効率よく照射することができる。
 つまり、樹脂封止部34および柱状光学部材40pの組み合わせによって、2次光学系(柱状光学部材40pを含む導光路)での屈折率の調整、統一が容易となり、集光レンズ50によって集光された太陽光Lsを太陽電池素子23に効率よく入射させることが可能となり、太陽電池21の発電効率を高効率化することができる。
 結合用フランジ体30d(台座被覆部30b、縦型固定部30f)は、レシーバ基板22に形成された取り付け穴22hに位置合わせして形成された台座被覆部取り付け穴30jを備える。また、取り付け穴22hおよび台座被覆部取り付け穴30jは、それぞれ2個形成され、レシーバ基板22と縦型固定部30fとを自己整合的に位置決めできる構成としてある。
 つまり、縦型固定部30fは、レシーバ基板22に対して高精度に作業性良く位置決めされ、固定用部材54h(例えばリベット)によって相互の位置関係を固定することができる。
 したがって、縦型固定部30fをレシーバ基板22に対して容易かつ高精度に位置決めして強固に保持することが可能となるので、柱状光学部材40pを太陽電池素子23に対して容易かつ高精度に位置決めして強固に保持することができ、また、広い波長領域に対する集光特性を向上させて発電効率および発電電力を向上させることにより、耐熱性、信頼性、耐候性の高い安価な太陽電池21とすることができる。
 本実施の形態では、太陽電池21に加え、太陽電池21を搭載した集光型太陽光発電モジュール20についても併せて説明する(図4参照)。なお、上述したとおり、実施の形態1ないし実施の形態3に係る太陽電池21も、本実施の形態と同様にして集光型太陽光発電モジュール20とすることが可能である。
 本実施の形態に係る集光型太陽光発電モジュール20は、太陽光Lsを集光する集光レンズ50と、集光された太陽光Lsを受光して光電変換する太陽電池21とを備える。したがって、広い波長領域に対する集光特性を確実に向上させて発電効率および発電電力を向上させ、耐熱性、信頼性、耐候性の高い安価な集光型太陽光発電モジュール20とすることができる。
 集光型太陽光発電モジュール20は、集光レンズ50を保持して太陽電池21と集光レンズ50とを相互に位置決めするレンズフレーム51を備える。集光レンズ50は、レンズフレーム51の側部頂面に固定用部材55t(例えばネジ)で固定されている。
 また、太陽電池21(レシーバ基板22)は、取り付け穴22h、台座被覆部取り付け穴30jを貫通する固定用部材54hによって放熱フィン53に締結され、放熱フィン53は、固定用部材54p(例えばネジ)によってベースプレート52に締結されている。ベースプレート52は、固定用部材55b(例えばネジ)によってレンズフレーム51のフレーム底部51bに固定されている。
 つまり、太陽電池21は、放熱フィン53、ベースプレート52を介してレンズフレーム51(フレーム底部51b)に固定されている。したがって、集光レンズ50および太陽電池21は、光軸Lax上に容易かつ高精度に位置決めされ、集光された太陽光Lsは、レンズフレーム51のフレーム底部51bに開口された透過窓51wを介して太陽電池21へ高精度に入射する。
 また、レシーバ基板22は、取り付け穴22hに挿入された固定用部材54hによって放熱フィン53に連結され一体化されている。また、放熱フィン53は、櫛の歯状とされている。したがって、レシーバ基板22の裏面に連結された放熱フィン53は、集光された太陽光Lsに起因してレシーバ基板22で発生した熱を外部へ効率良く放熱することが可能となり、太陽電池素子23の発電効率および信頼性をさらに向上させることができる。なお、放熱フィン53は、軽量化を図るためにアルミニウムで製作されている。
 集光レンズ50は、両凸レンズ、平凸レンズ、フレネルレンズなど種々の形状とすることが可能である。また、集光レンズ50の材質としては、太陽電池素子23の感度波長光での透過率が高く、耐候性を有するものが良い。例えば、通常の太陽光発電モジュールなどに一般的に使用される白板ガラス、耐候性グレードのアクリル、ポリカーボネートなどを適用することが可能である。
 なお、集光レンズ50の材料は、これらの材料に限定されるものではなく、これらの材料を複層構成としたものでも良い。また、集光レンズ50やその他の部材の紫外線劣化を防ぐ目的で、適当な紫外線吸収剤をこれらの材料に添加することも可能である。
 図7は、図4で示した太陽電池の太陽電池素子とレシーバ基板の配置状態を示す斜視図である。
 太陽電池素子23は、放熱の均一性を考慮してレシーバ基板22の中央部に配置される。また、太陽電池素子23に対してバイパスダイオード24が並列に接続してある。バイパスダイオード24は、太陽光Lsが遮断したときなどに太陽電池素子23が抵抗として動作する場合の電流経路を確保するものである。
 例えば複数の太陽電池素子23を接続して集光型太陽光発電モジュール20を構成した場合、バイパスダイオード24は、特定の太陽電池素子23が発電機能を果たさないときでも全体として発電機能を維持できる構成とするものである。
 太陽電池素子23は、例えばSi、あるいはGaAs系の化合物半導体を用いて公知の半導体製造プロセスによりPN接合、電極などを形成してある。使用する太陽電池材料の削減を図ることにより、材料コストを下げるなどの観点から、ウエハー状態でプロセス処理を施し、太陽電池素子23として形成した後、4~6mm角程度のチップに分離してある。太陽電池素子23は、電極としてチップの基板側の基板電極(不図示)およびチップの表面側の表面電極(不図示)を備える。
 レシーバ基板22は、例えばベース基台22a、ベース基台22aに積層された中間絶縁層、中間絶縁層に積層された銅製の第1接続パターン25および第2接続パターン26を備える。また、レシーバ基板22は、第1接続パターン25および第2接続パターン26を保護する表面保護層27を備える。
 第1接続パターン25を被覆する表面保護層27は、外部端子(不図示)が接続される第1取り出し電極25aの領域、太陽電池素子23およびバイパスダイオード24が実装される領域で除去されており、第1接続パターン25の銅(導体)が直接外部に露出する状態とされている。
 同様に、第2接続パターン26を被覆する表面保護層27は、外部端子(不図示)が接続される第2取り出し電極26aの領域、太陽電池素子23の表面電極およびバイパスダイオード24の表面電極にワイヤ29を介して接続されるワイヤ接続部26bの領域で除去されており、第2接続パターン26の銅(導体)が直接外部に露出する状態とされている。
 レシーバ基板22は、例えば4mm~6mm程度の太陽電池素子23に対して、例えば24mm~60mm角とされる。レシーバ基板22の厚さは、放熱性を考慮して例えば0.6mm~3mm程度としてある。また、ベース基台22aは、例えばアルミニウムやセラミックで構成され、放熱性を向上させると共に軽量化を可能としてある。
 レシーバ基板22の対角線上に一対で形成された取り付け穴22hは、上述した固定用としての機能に加え、後の処理工程でレシーバ基板22を各製造装置(不図示)にセットする際の位置決め用としても機能する。
 図8は、図4で示した太陽電池の台座部の概略構成を示す斜視図である。
 図9は、図8で示した台座部の断面状態を示す断面図である。
 台座部45は、レシーバ基板22に当接する底面45cに形成された底面凹部45dを有する。底面凹部45dは、台座部45の枠状底面の内側角部を例えば面取りして形成されている。
 台座部45は、上述したとおり、底面凹部45dに充填された第1接着部31によってレシーバ基板22に接着されている。したがって、台座部45をレシーバ基板22に容易かつ高精度に作業性良く固定(接着)することが可能となる。
 また、台座部45は、柱状光学部材40pを内包する貫通開口部45aを構成するように枠状にされ、梁状フランジ部30cに対向する枠状の頂部45bを有する。頂部45bは、台座部45の頂面の外側角部に段差を設けて切り欠きとしてあり、第2接着部32を高精度に位置決めして形成することができる。上述したとおり、台座部45は、頂部45bに充填(形成)された第2接着部32によって梁状フランジ部30cと接着される。
 したがって、レシーバ基板22と台座部45との間、台座部45と梁状フランジ部30cとの間は、いずれも隙間の無い密閉性の優れた構成となる。また、梁状フランジ部30cは、第2接着部32により台座部45に接着されることから、確実かつ強固に固定される。
 台座部45は、太陽電池素子23、バイパスダイオード24、ワイヤ接続部26bを内包する枠状とされ、一辺が18mm~20mmの枠状の形状を有し、厚さ(高さ)は8mm程度としてある。なお、台座部45は、枠状として示すが、上述したとおり、例えば、4脚構造として4脚部分でレシーバ基板22に当接させることも可能である。
 台座部45は、レシーバ基板22の表面に配置されて外部電極として機能する第1接続パターン25および第2接続パターン26に対して接触する恐れがあることから、台座部45を通じて第1接続パターン25および第2接続パターン26の間で電流が流れないようにする必要がある。したがって、台座部45は、ポリカーボネートなどの絶縁性樹脂で作製される。
 図10は、図4で示した太陽電池の台座被覆部、固定部、および柱状光学部材の概略構成を示す斜視図である。
 図11は、図10で示した台座被覆部、固定部、および柱状光学部材の断面状態を示す断面図である。
 台座被覆部30bは、梁状フランジ部30cと結合用フランジ部30dとを備え、梁状フランジ部30cの先端(内側先端枠30ct)には、固定部30としての縦型固定部30fが形成されている。
 つまり、縦型固定部30fは、台座被覆部30b(梁状フランジ部30c、結合用フランジ部30d)に連結されていることから、機構的に安定した状態でレシーバ基板22に固定される。したがって、柱状光学部材40pの重心位置の影響を排除して柱状光学部材40pを安定的に保持することが可能となる。
 台座被覆部30bと縦型固定部30fとは、一体化され、例えばアルミニウム合金で形成してある。つまり、台座被覆部30b、縦型固定部30fは、金属製である。したがって、台座被覆部30bおよび縦型固定部30fの機械的強度および放熱性を向上させることが可能となるので、柱状光学部材40pを安定性良く確実に保持し、柱状光学部材40pでの蓄熱を防止して、発電効率および信頼性を向上させることができる。
 縦型固定部30fの枠状外形の一辺は、例えば17mm、高さは、例えば10mmであり、結合用フランジ体30dから縦型固定部30fの頂面までの高さは、例えば20mmとしてある。
 柱状光学部材40pは、側面に傾斜を有する四角柱としてあり、頂面40aおよび底面40bは、中心が一致する四辺形とされている。したがって、柱状光学部材40pは、底面40bと底面40bより大きく形成された頂面40aとで画定される4つの光路傾斜面40cを有する。柱状光学部材40pは、光路傾斜面40cを有するので、集光された太陽光Lsを効率的に太陽電池素子23へ導光して照射する導光路となる。
 縦型固定部30fは、柱状光学部材40p(両方の端面の面積が異なる四角柱)を貫通させ、光路傾斜面40cに当接(密着)する貫通傾斜面30sを有する貫通穴30eを備える。つまり、光路傾斜面40cと貫通傾斜面30sとは、同じ傾斜角としてある。したがって、柱状光学部材40pは、テーパ嵌合により、梁状フランジ部30c(貫通穴30e、縦型固定部30f)に対して自己整合的に位置合わせして嵌合され、高精度に位置決めを行うことができる。
 また、縦型固定部30f(貫通傾斜面30s)と柱状光学部材40p(光路傾斜面40c)とは、相互に密接して強固に連結され、集光された太陽光Lsを太陽電池素子23へ高精度に照射させて集光特性を向上させ、発電効率を向上させることができる。
 なお、貫通穴30e(貫通傾斜面30s)は、柱状光学部材40p(光路傾斜面40c)の上部位置(頂面40a側)に当接させてある。したがって、柱状光学部材40pの重心位置に無関係に安定的に固定することが可能となる。
 縦型固定部30fの頂部30hは、第3接着部33を高精度に形成するため溝状凹部を有し、また、透光性保護板41の位置決めを容易にするための位置決め段差30mが枠状に形成されている。したがって、第3接着部33(図5参照)を容易かつ高精度に形成し、透光性保護板41を容易かつ高精度に配置することができる。
 貫通穴30eは、四角柱(柱状光学部材40p)の角部(光路傾斜面40cが相互に交差して構成する4隅)に対応して形成された貫通溝部30gを有する。したがって、貫通溝部30gは、柱状光学部材40pの角部の損傷を防止し、太陽電池素子23から頂面40aに至る空気の通路を構成することが可能となることから、樹脂封止部34を形成するときに充填した封止樹脂34r(図21参照)に対する脱泡処理によって発生した気泡を外部へ効果的に放出することができる。
 また、貫通溝部30gは、稼動中に太陽電池素子23から頂面40aに至る対流を発生させることができるので、放熱性を向上させることができる。また、貫通傾斜面30sにも貫通溝部30gと同様に幅広の溝を形成し、光路傾斜面40cでの全反射を効果的に発生させるようにしてある。
 柱状光学部材40pでは、太陽光Lsが入射される頂面40aを底面40bに対して大きくしてあることから、集光レンズ50と太陽電池21(頂面40a)との位置ズレに対してマージンを大きくすることが可能となり、発電効率および発電電力を向上させることができる。
 つまり、高い位置精度と安定性を有する導光路(柱状光学部材40p)を確保して広い波長領域で太陽光Lsを高精度に集光できる集光特性が得られ、集光特性および放熱性を向上させ、集光された太陽光Lsの位置ズレによって生じる発電効率の低減および温度上昇を防止して発電電力を向上させ、耐熱性、信頼性、耐候性を向上させることができる。
 図12は、図4で示したキャップ部の概略構成を示す斜視図である。
 図13は、図12で示したキャップ部の断面形状を示す断面図である。
 キャップ部60(窓枠60b)は、第3接着部33を太陽光Lsから遮光する形状とされている。したがって、第3接着部33が太陽光Lsに照射されることを防止できるので、第3接着部33(第3接着剤33r)の劣化を防止することができる。
 なお、キャップ部60は、第3接着部33に接着され第3接着部33に対する太陽光Lsを遮光する平面部60aを備え、また、縦型固定部30f(図11)の頂部30hに対する太陽光Lsを遮光する枠部60cを平面部60aに隣接させて備える。平面部60aは、頂面40aの外周より内側に太陽光Lsが入射されるように開口された窓枠60bを中央に有する。枠部60cは、平面部60aの端に対して立設され縦型固定部30fの頂部30hを囲む形状とされている。
 つまり、キャップ部60(平面部60aおよび枠部60c)は、断面L型の形状を構成し、太陽光Lsが第3接着部33に直接照射しない形状としてある。なお、キャップ部60は、1辺が例えば20mmの額縁状の形状とされ、平面部60aおよび枠部60cの厚さは1.5mm程度としてある。
 キャップ部60は、金属(例えばアルミニウム合金)で形成されている。したがって、キャップ部60は、機械的強度および放熱性が高くなることから、透光性保護板41、縦型固定部30fの表面が太陽光Lsによって劣化、あるいは焼けを発生することを防止し、透光性保護板41、縦型固定部30fを物理的に保護することが可能となるので、発電効率および信頼性の優れた太陽電池21を提供することができる。
 また、枠部60cを延長して形成された爪部60dが対向する2ヶ所に設けられ、縦型固定部30fに設けられた係止用凹部30k(図6)に係止される構成としてある。係止用凹部30kに爪部60dを引っ掛けることにより、縦型固定部30fの頂部30hの外側にキャップ部60を係止して固定することができる。
 <実施の形態5>
 図14ないし図26、および図7に基づいて、本実施の形態に係る太陽電池を製造する太陽電池製造方法について説明する。
 本実施の形態に係る太陽電池21は、実施の形態1ないし実施の形態4で説明した太陽電池21(特に実施の形態4に係る太陽電池21)と同一であるので適宜符号を援用し、主に異なる事項について説明する。
 つまり、本実施の形態に係る太陽電池製造方法は、集光された太陽光Lsを透過させる光学部材40と、光学部材40を透過した太陽光Lsを光電変換する太陽電池素子23と、太陽電池素子23が載置されたレシーバ基板22と、レシーバ基板22に接着され太陽電池素子23を囲む枠状に形成された第1接着部31と、レシーバ基板22に当接され太陽電池素子23を囲んで第1接着部31に接着された台座部45と、第1接着部31に囲まれ太陽電池素子23を被覆する樹脂封止部34と、台座部45の頂部45bに形成された第2接着部32とを備え、第2接着部32に接着されてレシーバ基板22と平行な方向で延長された梁状フランジ部30cと梁状フランジ部30cから外側に延長されて台座部45の外側でレシーバ基板22に連結された結合用フランジ部30dとを有する台座被覆部30bと、光学部材40として柱状とされた柱状光学部材40pを固定する固定部30とを備える太陽電池を製造する太陽電池製造方法である。
 本実施の形態に係る太陽電池製造方法は、以下に説明する、第1接着剤塗布工程と、台座部載置工程と、第2接着剤塗布工程と、台座被覆部部載置工程(固定部配置工程)と、第1熱硬化工程と、封止樹脂注入工程と、柱状光学部材搭載工程(光学部材配置工程)と、脱泡処理工程と、第2熱硬化工程と、透光性接着樹脂塗布工程と、第3接着剤塗布工程と、透光性保護板載置工程と、第3熱硬化工程と、キャップ部載置工程とを備える。
 図14は、本発明の実施の形態5に係る太陽電池を製造する太陽電池製造方法の製造工程を示すフローチャートである。
 本実施の形態に係る太陽電池21を製造する太陽電池製造方法は、以下のステップS1ないしステップS15を備えている。各ステップに対応する図(図7、図15ないし図26)を参照して説明する。
 ステップS1(図7):
 レシーバ基板22に太陽電池素子23を実装する(太陽電池素子実装工程)。
 先ず、レシーバ基板22を準備する。レシーバ基板22には、第1接続パターン25、第2接続パターン26が形成してあり、表面は表面保護層27で保護(絶縁)されている。第1接続パターン25には、太陽電池素子23のチップ基板(基板電極:不図示)、バイパスダイオード24のチップ基板(基板電極:不図示)が接着(ダイボンド)される。太陽電池素子23、バイパスダイオード24が接続される領域、外部端子が接続される第1取り出し電極25a、第2取り出し電極26a、ワイヤ接続部26bに対応する領域では、表面保護層27は予め除去されている。
 レシーバ基板22の太陽電池素子23を接続する領域(中央部分)に、太陽電池素子23をハンダ付けして載置する。同様に、太陽電池素子23に対して一定の距離を置いたバイパスダイオードを接続する領域(レシーバ基板22の中央部分より少しずれた部分)に、バイパスダイオード24をハンダ付けして載置する。
 次に、太陽電池素子23の表面電極(不図示)に対して例えば4本のワイヤ29の一方を、バイパスダイオード24の表面電極(不図示)に対して例えば2本のワイヤ29の一方をそれぞれ接続する。各ワイヤ29の他方を第2接続パターン26が露出されているワイヤ接続部26bにそれぞれ接続する。
 なお、取り付け穴22hによって、レシーバ基板22を適宜位置決めしておくことが可能である。
 ステップS2(図15~図17):
 図15、図16の準備工程の後、第1接着剤31rをレシーバ基板22に塗布する(図17。第1接着剤塗布工程)。
 図15は、本発明の実施の形態5に係る太陽電池製造方法の製造工程で第1接着部となる第1接着剤を塗布するための準備工程として、レシーバ基板を位置決め治具にセットする状態を示す工程斜視図である。
 図16は、図15の準備工程でレシーバ基板を位置決め治具にセットした状態を示す工程斜視図である。
 レシーバ基板22に太陽電池素子23、バイパスダイオード24を実装した後、レシーバ基板22に設けた取り付け穴22hを位置決め治具70に設けた位置決めピン71に合わせながら取り付ける。
 つまり、位置決め治具70の位置決めピン71に対する取り付け穴22hを位置決めの基準として、台座被覆部30b(結合用フランジ部30d)の台座被覆部取り付け穴30jを位置決めすることが可能となることから、レシーバ基板22に対して台座被覆部30bを容易かつ高精度に作業性良く位置決めすることができる。
 図17は、本発明の実施の形態5に係る太陽電池製造方法の製造工程で第1接着部を塗布する状態を示す工程斜視図である。
 台座部45とレシーバ基板22とを接着する第1接着部31を形成する第1接着剤31rをレシーバ基板22に塗布する(第1接着剤塗布工程)。
 レシーバ基板22をセットした位置決め治具70を第1接着剤ディスペンサー61のテーブル(不図示)の所定位置にセットし、レシーバ基板22の所定位置(底面凹部45d(図9参照)に対応する位置。適宜のマークを予め形成しておくことも可能である。)に第1接着部31を形成する所定形状となるように第1接着剤31rを塗布する。
 つまり、太陽電池素子23、バイパスダイオード24を載置したレシーバ基板22の表面の決められた位置に白色のシリコーン樹脂(第1接着剤31r)を決められた形状(枠形状、断面の幅、断面の高さ)で塗布する。
 ステップS3(図18):
 図18は、本発明の実施の形態5に係る太陽電池製造方法の製造工程で台座部をレシーバ基板に載置した状態を示す工程斜視図である。
 第1接着剤31rに台座部45を接着してレシーバ基板22に載置する(台座部載置工程)。
 レシーバ基板22に対する台座部45の載置は、レシーバ基板22の中央に台座部45の中央が来るように調整しながら位置決めして行う。また、第1接着剤31rは、底面凹部45dを充填する形状で塗布してある。したがって、第1接着剤31rは、底面凹部45dを充填する形態となり、台座部45をレシーバ基板22に対して強固に接着(固定)する第1接着部31を形成する。
 また、台座部45は、内側に貫通開口部45aを備え、貫通開口部45aは、太陽電池素子23およびバイパスダイオード24、ワイヤ接続部26bを内包する形状としてある。したがって、台座部45は、太陽電池素子23、バイパスダイオード24、ワイヤ接続部26bを周囲環境から保護することが可能となる。
 第1接着剤31r(第1接着部31)は、樹脂(樹脂封止部34を構成する封止樹脂)や気体(実施の形態1の第1平板光学部材40fと樹脂封止部34)などの充填材を封止する為の塞き止材(ダム材)としての機能を果たす。したがって、枠状台座部45は、額縁状に形成されて底面45cがレシーバ基板22に枠状に直接当たって接着されるような構造である必要はない。つまり、枠状台座部45は、光学部材40の焦点距離を規定できるように底面45cの少なくとも一部がレシーバ基板22に対して直接当たるように接着されていればよい。
 例えば、台座部45が方形の場合(図18)、四隅の角の部分でレシーバ基板22側に突出した脚状部を備え、該脚状部の底面がレシーバ基板22に直接当たるように接着する構成(変形例)とすることが可能である。好ましくは、第1接着剤31rを圧着することで台座部45とレシーバ基板22との間に形成された隙間を第1接着剤31rで埋めて第1接着部31を構成すればよく、少なくとも樹脂封止部34と台座部45を用いて周囲環境に対する密閉空間が出来上がればよい。
 これにより、太陽電池素子23を封止する透光性の高い樹脂(樹脂封止部34)と、周辺に引き出された第1接続パターン25の第1取り出し電極25a、第2接続パターン26の第2取り出し電極26aに対する封止樹脂(不図示)とを分離して適用することができ、高価な透光性の高い樹脂を狭い空間に隔離、限定して製造することが可能となるので、発電能力を劣化させることなく、太陽電池21を安価に製造することが可能になる。
 ステップS4(図19):
 図19は、本発明の実施の形態5に係る太陽電池製造方法の製造工程で第2接着部を台座部に塗布する状態を示す工程斜視図である。
 台座被覆部30bと台座部45とを接着する第2接着部32を形成する第2接着剤32rを台座部45の頂部45bに塗布する(第2接着剤塗布工程)。
 レシーバ基板22をセットした位置決め治具70を第2接着剤ディスペンサー62のテーブル(不図示)の所定位置にセットし、レシーバ基板22に載置され接着された台座部45の頂部45bに第2接着部32を形成する所定形状となるように第2接着剤32rを塗布する。
 つまり、頂部45bに第2接着剤32rを決められた形状(枠形状、断面の幅、断面の高さ)で塗布する。なお、第1接着剤31rと第2接着剤32rとは同一の樹脂としても良く、また、第1接着剤ディスペンサー61と第2接着剤ディスペンサー62とは同一の装置を適用しても良い。
 ステップS5(図20):
 図20は、本発明の実施の形態5に係る太陽電池製造方法の製造工程で台座被覆部を台座部に載置した状態を示す工程斜視図である。
 第2接着剤ディスペンサー62のテーブルに載置した状態を維持して、台座被覆部30bをレシーバ基板22(つまり、台座部45の第2接着剤32r)に載置する(台座被覆部載置工程)。
 つまり、柱状光学部材40pを貫通させて対向する貫通傾斜面30sを有し梁状フランジ部30cの内側先端枠30ct(図11参照)に立設された固定部30としての縦型固定部30fを有する台座被覆部30bを第2接着剤32rに接着してレシーバ基板22に載置する(台座被覆部載置工程。あるいは、固定部30を配置する固定部配置工程でもある。)。
 位置決め治具70に設けた位置決めピン71に対して、台座被覆部30bの結合用フランジ体30dに形成された台座被覆部取り付け穴30jを自己整合的に嵌め込むことにより、レシーバ基板22に対して台座被覆部30bを容易かつ高精度に位置決めすることが可能となる。また、頂部45bには、第2接着剤32rが第2接着剤塗布工程(ステップS4)で塗布してあることから、台座被覆部30bと台座部45(頂部45b)とは、相互に接着され、強固に固定される状態となる。
 ステップS6:
 第1接着剤31rおよび第2接着剤32rを加熱して熱硬化させ第1接着部31および第2接着部32を形成する(第1熱硬化工程)。
 つまり、レシーバ基板22を第2接着剤ディスペンサー62のテーブルから取り外し、オーブン(不図示)に収容した状態で、第1接着剤31rおよび第2接着剤32rを例えば150℃30分で加熱して熱硬化させる。第1接着剤31rおよび第2接着剤32rの熱硬化によって、レシーバ基板22と台座部45は、第1接着部31によって一体化(隙間無く結合)され、台座部45と台座被覆部30bは、第2接着部32によって一体化され、隙間無く結合される。
 ステップS7(図21):
 図21は、本発明の実施の形態5に係る太陽電池製造方法の製造工程で太陽電池素子を樹脂封止する封止樹脂を台座部に注入する状態を示す工程斜視図である。
 太陽電池素子23を樹脂封止する封止樹脂34rを台座部45(第1接着部31)の内側領域に注入する(封止樹脂注入工程)。
 レシーバ基板22をセットした位置決め治具70を封止樹脂ディスペンサ-63のテーブル(不図示)の所定位置にセットし、所定量の封止樹脂34rを縦型固定部30f(固定部30)の貫通穴30eを介して注入する。
 封止樹脂34rとしては、高い透光性を有するシリコーン樹脂を適用する。また、注入量は、柱状光学部材40pを縦型固定部30fの貫通穴30eに嵌め込んだ際、柱状光学部材40pの先端(底面40b)が注入した封止樹脂34r(樹脂封止部34)の表面に対して0.3mm~0.5mm程度被覆(浸漬)される高さとなる程度とする。
 ステップS8(図22):
 図22は、本発明の実施の形態5に係る太陽電池製造方法の製造工程で縦型固定部の貫通穴に柱状光学部材を挿入した状態を示す工程斜視図である。
 縦型固定部30fの貫通穴30eに柱状光学部材40pを挿入する(柱状光学部材配置工程)。つまり、貫通傾斜面30sに当接して固定するように柱状光学部材40pを配置する(光学部材40を配置し光学部材配置工程でもある。)。柱状光学部材40pが縦型固定部30f(貫通穴30e)に挿入されたとき、柱状光学部材40pの底面40bは、封止樹脂34rによって被覆される。
 封止樹脂ディスペンサ-63のテーブルに載置した状態を維持して、柱状光学部材40pを縦型固定部30f(台座被覆部30b)に嵌合させる。上述したとおり、柱状光学部材40p(光路傾斜面40c)は、縦型固定部30f(貫通穴30e、貫通傾斜面30s)と自己整合するように形成されていることから、容易かつ高精度に柱状光学部材40pを台座被覆部30b(縦型固定部30f)に結合(当接)させることが可能となる。
 ステップS9:
 封止樹脂34rに対して脱泡処理を施す(脱泡処理工程)。
 柱状光学部材40pを縦型固定部30fの貫通穴30e(台座被覆部30b)に嵌め込んだ状態で、レシーバ基板22を封止樹脂ディスペンサ-63のテーブルから取り出し、真空デシケータ(不図示)に収容した状態で、真空ポンプ(不図示)による真空引きを行い、樹脂封止部34に含まれる気泡を取り除くための脱泡処理を施す。
 ステップS10:
 封止樹脂34rを加熱して熱硬化させる(第2熱硬化工程)。
 脱泡処理後に真空デシケータ(不図示)からレシーバ基板22を取り出し、オーブン(不図示)に収容した状態で、封止樹脂34rを例えば160℃40分で加熱して熱硬化させる。封止樹脂34rの熱硬化により、柱状光学部材40pの先端(底面40b)は、封止樹脂34rが硬化して形成された樹脂封止部34によって被覆され、固定される。つまり、柱状光学部材40pは、樹脂封止部34に固定され、挿入された縦型固定部30f(貫通穴30e)に対しても固定される。
 ステップS11(図23):
 図23は、本発明の実施の形態5に係る太陽電池製造方法の製造工程で柱状光学部材の頂面に透光性接着剤を塗布する状態を示す工程斜視図である。
 柱状光学部材40pの頂面40aと透光性保護板41とを接着させる透光性接着層36を形成する透光性接着剤36rを柱状光学部材40pの頂面40aに塗布する(透光性接着剤塗布工程)。
 レシーバ基板22をセットした位置決め治具70を透光性接着剤ディスペンサ-64のテーブル(不図示)の所定位置にセットし、所定量の透光性接着剤36rを柱状光学部材40pの頂面40aに薄く塗布する。
 透光性接着剤36rとしては、高い透光性を有するシリコーン樹脂を適用する。また、塗布量は、柱状光学部材40p(頂面40a)上に透光性保護板41を載せた際の間隙に空気が内包されないように、形成される透光性接着層36の厚さが0.5mm程度となるようにする。
 ステップS12(図24):
 図24は、本発明の実施の形態5に係る太陽電池製造方法の製造工程で第3接着剤を縦型固定部に塗布する状態を示す工程斜視図である。
 柱状光学部材40pの頂面40aを覆って縦型固定部30fに固定される透光性保護板41を接着する第3接着剤33rを縦型固定部30fの頂部30hに塗布する(第3接着剤塗布工程)。
 レシーバ基板22をセットした位置決め治具70を第3接着剤ディスペンサー65のテーブル(不図示)の所定位置にセットし、台座部45に載置され接着された台座被覆部30bの先端に立設された縦型固定部30fの頂部30hに第3接着剤33rを塗布する。つまり、位置決め段差30mを利用して頂部30hに第3接着剤33rを枠状に塗布する。
 なお、第1接着剤31rおよび第2接着剤32rと第3接着剤33rとは同一の樹脂としても良く、また、第1接着剤ディスペンサー61および第2接着剤ディスペンサー62と第3接着剤ディスペンサー65とは同一の装置を適用しても良い。
 ステップS13(図25):
 図25は、本発明の実施の形態5に係る太陽電池製造方法の製造工程で透光性保護板を縦型固定部に載置した状態を示す工程斜視図である。
 柱状光学部材40pの頂面40aに透光性保護板41を載置する(透光性保護板載置工程)。つまり、透光性接着剤36rを塗布した頂面40a、第3接着剤33rを塗布した縦型固定部30fに透光性保護板41を載置する。
 頂面40aの全面に透光性接着剤36rを透光性接着剤ディスペンサ-64によって薄く塗布し、縦型固定部30fの頂部30hに第3接着剤33rを第3接着剤ディスペンサー65によって枠状に塗布した後、透光性保護板41を載置することから、頂面40aと透光性保護板41との間に透光性接着層36を形成し、透光性保護板41を縦型固定部30fに接着することが可能となる。
 縦型固定部30f(第3接着部33)に対する透光性保護板41の位置決めは、頂部30hに併せて形成された位置決め段差30mを利用して縦型固定部30fの中央に透光性保護板41が来るように調整しながら行う。また、第3接着剤33rは、頂部30hの溝状凹部を充填するように塗布してあることから、透光性保護板41は縦型固定部30fに対して強固に接着(固定)される。
 また、透光性保護板41は、柱状光学部材40pの頂面40aに薄く塗られた透光性接着剤36rを押し広げ、透光性保護板41と柱状光学部材40p(頂面40a)とは透光性接着剤36r(透光性接着層36)を介した状態で接着される。
 ステップS14:
 透光性接着剤36rおよび第3接着剤33rを加熱して熱硬化させ透光性接着層36および第3接着部33を形成する(第3熱硬化工程)。
 つまり、レシーバ基板22を第3接着剤ディスペンサー65のテーブルから取り外し、オーブン(不図示)に収容した状態で、第3接着剤33rおよび透光性接着剤36rを例えば150℃30分で加熱して熱硬化させる。第3接着剤33rおよび透光性接着剤36rの熱硬化によって、縦型固定部30fと透光性保護板41は、第3接着部33によって一体化(隙間無く結合)され、透光性保護板41と柱状光学部材40pは、透光性接着層36によって一体化(隙間無く結合)される。
 ステップS15(図26):
 図26は、本発明の実施の形態5に係る太陽電池製造方法の製造工程でキャップ部を縦型固定部に載置した状態を示す工程斜視図である。
 透光性保護板41の外周端を覆う窓枠60bを有するキャップ部60を縦型固定部30fに連結させる(キャップ部連結工程)。
 縦型固定部30fに対するキャップ部60の連結は、縦型固定部30fの係止用凹部30kにキャップ部60の爪部60dが来るように方向を合わせ、縦型固定部30fの上からキャップ部60を被せる形で載せ、爪部60dが、係止用凹部30kに引っ掛かる所まで押し付けることによって、縦型固定部30fにキャップ部60を取り付ける。
 ステップS15の後の工程:
 ステップS15の後、リベッター(不図示)を用いて、取り付け穴22hおよび台座被覆部取り付け穴30jを貫通させて挿入した固定用部材54hによってレシーバ基板22と放熱フィン53とを連結して一体化する(放熱フィン取り付け工程)。
 上述したとおり、本実施の形態に係る太陽電池製造方法は、集光された太陽光Lsを透過させる光学部材40と、光学部材40を透過した太陽光Lsを光電変換する太陽電池素子23と、太陽電池素子23が載置されたレシーバ基板22と、レシーバ基板22に接着され太陽電池素子23を囲む枠状に形成された第1接着部31と、レシーバ基板22に当接され太陽電池素子23を囲んで第1接着部31に接着された台座部45と、第1接着部31に囲まれ太陽電池素子23を被覆する樹脂封止部34と、台座部45の頂部45bに形成された第2接着部32とを備え、第2接着部32に接着されてレシーバ基板22と平行な方向で延長された梁状フランジ部30cと梁状フランジ部30cから外側に延長されて台座部45の外側でレシーバ基板22に連結された結合用フランジ部30dとを有する台座被覆部30bと、光学部材40として柱状とされた柱状光学部材40pを固定する固定部30(縦型固定部30f)とを備える太陽電池を製造する太陽電池製造方法である。
 また、本実施の形態に係る太陽電池製造方法では、第1接着部31を形成する第1接着剤31rをレシーバ基板22に塗布する第1接着剤塗布工程と、第1接着剤31rに台座部45を接着してレシーバ基板22に載置する台座部載置工程と、第2接着部32を形成する第2接着剤32rを台座部45の頂部45bに塗布する第2接着剤塗布工程と、柱状光学部材40pを貫通させて対向する貫通傾斜面30sを有し梁状フランジ部30cの内側先端枠30ctに立設された固定部30としての縦型固定部30fを有する台座被覆部30bを第2接着剤32rに接着してレシーバ基板22に載置する台座被覆部載置工程(固定部30を配置する固定部配置工程でもある。)と、第1接着剤31rおよび第2接着剤32rを加熱して第1接着部31および第2接着部32を形成する第1熱硬化工程と、貫通傾斜面30sに当接して固定するように柱状光学部材40pを配置する柱状光学部材配置工程(光学部材40を配置する光学部材配置工程)と、太陽電池素子23を樹脂封止する封止樹脂34rを第1接着部31の内側領域に注入する封止樹脂注入工程とを備える。
 したがって、第1接着剤塗布工程、台座部載置工程、第2接着剤塗布工程、台座被覆部載置工程(固定部配置工程)、柱状光学部材配置工程(光学部材配置工程)、封止樹脂注入工程を実行し、各構成部材(第1接着部31、台座部45、第2接着部32、台座被覆部30b(固定部30としての縦型固定部30f)、樹脂封止部34、柱状光学部材40p(光学部材40))を順に重ねて位置合わせするという簡単な工程で、耐熱性、耐候性、信頼性の高い太陽電池21を容易かつ高精度に生産性良く製造することができる。
 また、本実施の形態に係る太陽電池製造方法では、さらに、柱状光学部材40pの頂面40aと透光性保護板41とを接着する透光性接着層36を形成する透光性接着剤36rを柱状光学部材40pの頂面40aに塗布する透光性接着剤塗布工程と、柱状光学部材40pの頂面40aを覆って縦型固定部30fに固定される透光性保護板41を接着する第3接着剤33rを縦型固定部30fの頂部30hに塗布する第3接着剤塗布工程と、柱状光学部材40pの頂面40aに透光性保護板41を載置する透光性保護板載置工程と、透光性接着剤36rおよび第3接着剤33rを加熱して熱硬化させ透光性接着層36および第3接着部33を形成する第3熱硬化工程と、透光性保護板41の外周端を覆う窓枠60bを有するキャップ部60を縦型固定部30fに連結させるキャップ部連結工程とを備える。
 したがって、積み上げて構成された第1接着部31、台座部45、第2接着部32、台座被覆部30b(固定部30:縦型固定部30f)、光学部材40(柱状光学部材40p)に対してさらに第3接着剤塗布工程、透光性接着剤塗布工程、透光性保護板載置工程、第3熱硬化工程、キャップ部連結工程を実行し、各構成部材(第3接着部33、透光性接着層36、透光性保護板41、キャップ部60)を順に重ねて位置合わせするという簡単な工程で、耐熱性、耐候性、信頼性の高い太陽電池21を容易かつ高精度に生産性良く製造することができる。
 また、太陽電池素子23を樹脂封止する封止樹脂34rを第1接着部31の内側領域に注入する封止樹脂注入工程を第1接着剤塗布工程の前から柱状光学部材配置工程までの間で実施することができる。好ましくは、第1熱硬化工程で第1接着部31および第2接着部32を形成した後から柱状光学部材配置工程までの間で実施する。なお、封止樹脂注入工程に併せて、封止樹脂34rに対して脱泡処理を施す脱泡処理工程と、封止樹脂34rを加熱して熱硬化させる第2熱硬化工程とを実施することが好ましい。
 なお、本実施の形態に係る太陽電池製造方法は、集光された太陽光Lsを透過させる光学部材40と、光学部材40を透過した太陽光Lsを光電変換する太陽電池素子23と、太陽電池素子23が載置されたレシーバ基板22と、レシーバ基板22に接着され太陽電池素子23を囲む枠状に形成された第1接着部31と、レシーバ基板22に当接され太陽電池素子23を囲んで第1接着部31に接着された台座部45と、台座部45を基準にして光学部材40を固定する固定部30(嵌合固定部30r)とを備える太陽電池21を製造する太陽電池製造方法でもある。
 つまり、本実施の形態に係る太陽電池製造方法は、第1接着部31を形成する第1接着剤31rをレシーバ基板22に塗布する第1接着剤塗布工程と、第1接着剤31rに台座部45を接着してレシーバ基板22に載置する台座部載置工程と、第1接着剤31rを加熱して第1接着部31を形成する第1熱硬化工程と、固定部30(縦型固定部30f)に光学部材40(柱状光学部材40p)を配置する光学部材配置工程とを備える。
 したがって、第1接着剤塗布工程、台座部載置工程、第1熱硬化工程、光学部材配置工程を実行し、各構成部材(第1接着部31、台座部45、光学部材40(柱状光学部材40p))を順に重ねて位置合わせするという簡単な工程で、容易かつ高精度に耐熱性、耐候性、信頼性の高い太陽電池21を生産性良く製造することが可能となる。
 <実施の形態6>
 図27ないし図30Cに基づいて、本実施の形態に係る集光型太陽光発電モジュールおよび太陽電池について説明する。
 図27は、本発明の実施の形態6に係る集光型太陽光発電モジュールおよび太陽電池の断面状態をしめす断面図である。
 図28は、図27で示した太陽電池の外観を示す斜視図である。
 図29は、図27で示した太陽電池素子のレシーバ基板への実装状態を示す斜視図である。
 本実施の形態に係る太陽電池110は、集光レンズ150により集光された太陽光Lsを光電変換する太陽電池素子111と、太陽電池素子111が載置されたレシーバ基板120と、集光された太陽光Lsを入射させる入射面140fと太陽電池素子111に対向して配置され太陽電池素子111に太陽光Lsを照射する照射面140rとを有する柱状光学部材140と、柱状光学部材140を保持する保持部135とを備える。また、太陽電池110は、太陽電池素子111の周囲に枠状に配置されレシーバ基板120に固定された枠状台座部130を備え、保持部135は、枠状台座部130に嵌合させてある。
 したがって、枠状台座部130をレシーバ基板120に対して容易かつ高精度に位置決めして強固に固定することが可能となり、また、保持部135を枠状台座部130に対して容易かつ高精度に位置決めして強固に保持することが可能となるので、柱状光学部材140を太陽電池素子111に対して容易かつ高精度に位置決めして強固に保持することができ、広い波長領域に対する集光特性を向上させて発電効率および発電電力を向上させ、耐熱性、信頼性、耐候性の高い安価な太陽電池110とすることができる。
 なお、本実施の形態では、保持部135を枠状台座部130に嵌め込む形態としてあるが、逆に枠状台座部130が保持部135に嵌め込まれる形態とすることも可能である。
 照射面140rは、太陽電池素子111に対応する面積、例えば太陽電池素子111の有効受光面積に対応させる面積としてある。つまり、照射面140rは、太陽電池素子111の有効受光面積と同等とすることによって、不要な太陽光Lsの照射を防止することが可能となり、太陽エネルギによる温度上昇を防止して発電効率を向上させることができる。また、入射面140fは、照射面140rより大きい面積としてあることから、集光された太陽光Lsを確実に柱状光学部材140へ入射させる構成としてある。
 本実施の形態では、太陽電池110に加え、太陽電池110を搭載した集光型太陽光発電モジュール101も併せて説明する。集光型太陽光発電モジュール101は、太陽光Lsを集光する集光レンズ150と、集光された太陽光Lsを受光して光電変換する太陽電池110とを備える。したがって、広い波長領域に対する集光特性を向上させて発電効率および発電電力を向上させ、耐熱性、信頼性、耐候性の高い安価な集光型太陽光発電モジュール101とすることができる。
 太陽電池素子111は、放熱の均一性を考慮してレシーバ基板120の中央部に配置される。また、太陽電池素子111には、バイパスダイオード112が並列に接続してあり、バイパスダイオード112は、太陽光Lsが遮断したときなどに太陽電池素子111が抵抗として動作する場合の電流経路を確保するものであり、例えば複数の太陽電池素子111を接続して集光型太陽光発電モジュール101を構成した場合に、特定の太陽電池素子111が発電機能を果たさないときでも全体として発電機能を維持できる構成とするものである。
 太陽電池素子111は、例えばSi、あるいはGaAs系の化合物半導体を用いて公知の半導体製造プロセスによりPN接合、電極などを形成してある。使用する太陽電池材料の削減を図ることにより、材料コストを下げるなどの観点から、ウエハー状態でプロセス処理を施し、太陽電池素子として形成した後、4~6mm角程度のチップに分離してある。太陽電池素子111は、電極としてチップの基板側の基板電極(不図示)及びチップの表面側の表面電極(不図示)を備える。
 レシーバ基板120は、例えばベース基台120b、ベース基台120bに積層された中間絶縁層(不図示)、中間絶縁層に積層された銅製の第1接続パターン121および第2接続パターン122を備える。また、レシーバ基板120は、第1接続パターン121および第2接続パターン122を保護する表面保護層123を備える。
 第1接続パターン121を被覆する表面保護層123は、外部端子(不図示)が接続される第1取り出し電極121pの領域、太陽電池素子111およびバイパスダイオード112が実装される領域で除去されており、第1接続パターン121の銅(導体)が直接外部に露出する状態とされている。
 同様に、第2接続パターン122を被覆する表面保護層123は、外部端子(不図示)が接続される第2取り出し電極122pの領域、太陽電池素子111の電極およびバイパスダイオード112の電極にワイヤ126を介して接続されるワイヤ接続部122wの領域で除去されており、第2接続パターン122の銅(導体)が直接外部に露出する状態とされている。
 レシーバ基板120は、例えば4mm~6mm程度の太陽電池素子111に対して、例えば24mm~60mm角とされる。レシーバ基板120の厚さは、放熱性を考慮して例えば1mm~3mm程度としてある。また、ベース基台120bは、例えばアルミニウムで構成され、放熱性を向上させると共に軽量化を可能としてある。
 レシーバ基板120は、後の処理工程でレシーバ基板120を各製造装置/各製造治具(不図示)にセットする際の位置決め用のための基板位置固定穴125を対角線上に一対有している。
 また、レシーバ基板120(太陽電池110)は、レシーバ基板120に配置され枠状台座部130の位置決めをする位置決めピン124を備える。したがって、枠状台座部130をレシーバ基板120に容易かつ高精度に作業性良く位置決めすることが可能となる。なお、位置決めピン124は、レシーバ基板120の予め規定された2箇所の所定位置に配置されていることから、位置決めを正確に実施することが可能となる。
 枠状台座部130は、レシーバ基板120に固定される下面側と反対の上面側に保持部135(鍔状突起136)と嵌合する段差部132を有する。したがって、保持部135を枠状台座部130に容易かつ高精度に作業性良く位置決めすることが可能となる。段差部132は、枠状台座部130の内周側に配置してあることから、保持部135を容易に嵌合させることが可能となる。これに限らず、段差部132は、枠状台座部130の外周側に配置することも可能である。
 枠状台座部130は、レシーバ基板120に当接する下面に形成された溝部131を有し、溝部131に充填された第1接着剤131bによってレシーバ基板120に接着されている。したがって、枠状台座部130をレシーバ基板120に容易かつ高精度に作業性良く固定(接着)することが可能となる。
 保持部135は、段差部132と対向する端部に段差部132に嵌合された鍔状突起136を備える。したがって、保持部135の外周形状を縮小し、柱状光学部材140を安定的に保持することが可能となり、軽量化を図ることができる。つまり、保持部135は、機構的に安定した構造を有することから、柱状光学部材140の重心位置の影響を排除して柱状光学部材140を安定的に保持することが可能となる。
 保持部135は、例えばアルミニウム合金で形成してある。つまり、保持部135は、金属製である。したがって、保持部135の機械的強度および放熱性を向上させ、柱状光学部材140を安定性良く確実に保持し、発電効率および信頼性を向上させることが可能となる。
 保持部135は、太陽電池素子111に対向する側で柱状光学部材140を露出させる空間137sを構成する凹部137を有する。したがって、樹脂封止部129と保持部135との間に空間137sを形成し、樹脂封止部129を形成するときに封止樹脂129b(図36)から発生する気泡を空間137sへ放出することが可能となることから、封止樹脂129bを短時間で効率的に注入することが可能となる。また、樹脂封止部129での気泡の混入が生じないことから、樹脂封止部129の透光性を向上させることが可能となり、発電効率を向上させることができる。
 柱状光学部材140は、四角柱としてあり、保持部135は、四角柱に対応して形成され各光路傾斜面140sに当接する貫通傾斜面135sで構成された貫通穴135hを有する円柱状とされている。したがって、保持部135(貫通穴135h)に対して柱状光学部材140を自己整合的に位置合わせし、集光された太陽光Lsを太陽電池素子111へ高精度に照射させることが可能となることから、集光特性を向上させて発電効率を向上させることができる。
 貫通穴135hは、四角柱(柱状光学部材140)の角部に対応して形成された貫通溝部135gを有する。したがって、柱状光学部材140の角部の損傷を防止し、太陽電池素子111から外部に至る空気の通路を構成することが可能となることから、樹脂封止部129を形成するときに発生する気泡を外部へ放出し、また、稼動中に太陽電池素子111から外部に至る対流を発生させることができるので、発電効率を向上させることができる。
 照射面140rおよび入射面140fは、中心が一致する四辺形とされている。したがって、柱状光学部材140は、照射面140rと、照射面140rより大きく形成された入射面140fとで画定される光路傾斜面140sを有する。つまり、集光された太陽光Lsを効率的に太陽電池素子111へ照射することができる構成としてある。
 柱状光学部材140は、太陽光Lsを太陽電池素子111に集光する光路傾斜面140sを有し、保持部135の貫通穴135hが有する貫通傾斜面135sと同じ傾斜角としてある。したがって、柱状光学部材140は、テーパ嵌合により、保持部135(貫通穴135h)に対して自己整合的に位置合わせして嵌合され、高精度に位置決めを行うことができる。
 本実施の形態に係る柱状光学部材140は、集光レンズ150によって集光された太陽光Lsを太陽電池素子111に直接入射させることが可能となり、太陽電池110の発電効率を高効率化することができる。
 柱状光学部材140では、太陽光Lsが入射される入射面140fを照射面140rに対して大きくしてあることから、集光レンズ150と太陽電池110との位置ズレに対してマージンを大きくすることが可能となり、発電効率および発電電力を向上させることができる。つまり、高い位置精度と安定性を有する導光路(柱状光学部材140)を確保して広い波長領域で太陽光Lsを高精度に集光できる集光特性が得られ、集光特性および放熱性を向上させ、集光された太陽光Lsの位置ズレによって生じる発電効率の低減および温度上昇を防止して発電電力を向上させ、耐熱性、信頼性、耐候性を向上させることができる。
 保持部135(貫通傾斜面135s)と柱状光学部材140(光路傾斜面140s)とは、保持部135の上部位置で当接させてある。また、保持部135の下部位置では、柱状光学部材140は、保持部135に設けた凹部137が形成する空間137sに露出させてあり、空気と接触する状態となる。
 柱状光学部材140は、例えば耐熱性のあるガラスで生成してある。したがって、柱状光学部材140側の屈折率n=1.5に対して、空気の屈折率n=1と屈折率の差が大きくなることから、柱状光学部材140内に入射した太陽光Lsを光路傾斜面140sで効率的に全反射させながら、柱状光学部材140の先端(照射面140r)まで太陽光Lsを効率よく進行させることが可能となる。
 照射面140rおよび太陽電池素子111は、枠状台座部130に充填された樹脂封止部129によって樹脂封止されている。つまり、柱状光学部材140の先端(照射面140r)は、枠状台座部130に形成された樹脂封止部129に例えば0.3mmないし0.5mm程度被覆された状態としてある。樹脂封止部129の上面(表面)は、凹部137(空間137s)に露出した形態となり、太陽電池素子111で発生した熱は、樹脂封止部129を介して空間137sへ放出される。
 上述したとおり、柱状光学部材140では、屈折率n=1.5となる。他方、樹脂封止部129を構成する封止樹脂129b(図36)をシリコーン樹脂としたとき、樹脂封止部129では、屈折率n=1.3となることから、柱状光学部材140と樹脂封止部129との間では、屈折率に大きな差が無く、柱状光学部材140を全反射しながら進行してきた太陽光Lsは、樹脂封止部129を介して効率良く太陽電池素子111(有効受光領域)へ照射されることとなる。
 つまり、保持部135、柱状光学部材140、樹脂封止部129、および空間137sの組み合わせによって、入射面140fから入射し、照射面140rから太陽電池素子111に向けて照射される太陽光Lsを効率良く導光することが可能となり、発電効率を向上させることができる。また、樹脂封止部129によって、太陽電池素子111および太陽電池素子111に接続されたワイヤなどを周囲環境から保護(絶縁)することが可能となることから、絶縁耐圧を向上させ、信頼性を向上させることができる。
 集光されて太陽光Lsに起因してレシーバ基板120で発生した熱を外部へ放出するために、レシーバ基板120の裏面には放熱フィン145が連結されている。つまり、レシーバ基板120は、基板位置固定穴125に挿入されたリベット146によって放熱フィン145に連結され一体化されている。放熱フィン145は、櫛の歯状とされていることから、効率良く放熱することが可能となり、太陽電池素子111の発電効率および信頼性をさらに向上させることができる。なお、放熱フィン145は、軽量化を図るためにアルミニウムで製作されている。
 図30Aは、図27で示した枠状台座部の断面形状を示す断面図である。
 枠状台座部130は、直径25mm~30mmの枠状(環状)の形状を有し、厚さは5mm程度としてある。枠状台座部130には、上面側には保持部135の鍔状突起136を嵌め込むための段差部132が枠状台座部130の中心に対して同心状に設けられ、下面側(裏面側)には、第1接着剤131bが充填される凹状の溝部131が同じく同心状に設けられている。
 枠状台座部130はレシーバ基板120の表面に配置されて外部電極として機能する第1接続パターン121および第2接続パターン122が枠状台座部130と直接触れる恐れがあることから、枠状台座部130を通じて第1接続パターン121および第2接続パターン122の間で電流が流れないようにする必要がある。したがって、枠状台座部130は、ポリカーボネートなどの樹脂で作製される。
 図30Bは、図27で示した保持部の概略構造を示す斜視図である。
 図30Cは、図30Bで示した保持部の断面形状を示す断面図である。
 保持部135は、円柱状としてあり、枠状台座部130に対向する端部に鍔状突起136を備える。保持部135は、外周の直径が例えば15mm、高さが例えば20mmとしてある。鍔状突起136の外周は、枠状台座部130の段差部132の内周に収まる直径20mmの円形状としてある。
 保持部135の軸方向(保持部135の中央部)には、鍔状突起136のある端面135trの側で狭く、鍔状突起136のない端面135tfの側で広くなる四角柱の形状をした貫通穴135hが形成されている。また、保持部135の貫通穴135hの4隅には、樹脂封止部129を充填した後に樹脂封止部129に対する脱泡処理を確実に行うための貫通溝部135gが設けられている。さらに、貫通溝部135gは、柱状光学部材140の光路傾斜面140sが相互に交差して構成するエッジの損傷を防止するという作用を生じる。
 貫通穴135hを構成する貫通傾斜面135sは、柱状光学部材140が有する光路傾斜面140sと当接(密着)するように形成してある。したがって、保持部135に対して、柱状光学部材140を確実かつ高精度に載置することが可能となる。
 なお、保持部135は、枠状台座部130の段差部132と鍔状突起136との間に塗布した第2接着剤132b(図34)により枠状台座部130に接着され、確実に固定される。
 集光レンズ150は、両凸レンズ、平凸レンズ、フレネルレンズなど種々の形状とすることが可能である。また、集光レンズ150の材質としては、太陽電池素子111の感度波長光での透過率が高く、耐候性を有するものが良い。例えば、通常の太陽光発電モジュールなどに一般的に使用される薄板ガラス、耐候性グレードのアクリル、ポリカーボネートなどを適用することが可能である。
 なお、集光レンズ150の材料は、これらの材料に限定されるものではなく、これらの材料を複層構成としたものでも良い。また、集光レンズ150やその他の部材の紫外線劣化を防ぐ目的で、適当な紫外線吸収剤をこれらの材料に添加することも可能である。
 <実施の形態7>
 図29(実施の形態6)、図31ないし図37に基づいて、本実施の形態に係る太陽電池を製造する太陽電池製造方法について説明する。
 本実施の形態に係る太陽電池110は、実施の形態6で説明した太陽電池110と同一であるので適宜符号を援用し、主に異なる事項について説明する。
 図31は、本発明の実施の形態7に係る太陽電池を製造する太陽電池製造方法の製造工程を示すフローチャートである。
 本実施の形態に係る太陽電池110を製造する太陽電池製造方法は、以下のステップS21ないしステップS30を備えている。各ステップに対応する図(図29、図32ないし図37)を参照して説明する。
 ステップS21(図29):
 レシーバ基板120に太陽電池素子111を実装する(太陽電池素子実装工程)。
 先ず、実施の形態6で説明したレシーバ基板120を準備する。レシーバ基板120には、第1接続パターン121、第2接続パターン122が形成してあり、表面は表面保護層123で保護(絶縁)されている。第1接続パターン121には、太陽電池素子111の基板(基板電極:不図示)、バイパスダイオード112の基板(基板電極:不図示)が接続される。太陽電池素子111、バイパスダイオード112が接続される領域、外部端子が接続される第1取り出し電極121pに対応する領域では、表面保護層123は予め除去されている。
 レシーバ基板120の対応領域(中央部分)に、太陽電池素子111をハンダ付けして載置する。同様に、太陽電池素子111に対して一定の距離を置いた(レシーバ基板120の中央部分より少しずれた部分)レシーバ基板120の対応領域に、バイパスダイオード112をハンダ付けして載置する。
 次に、太陽電池素子111の表面電極(不図示)に対して例えば4本のワイヤ126、バイパスダイオード112の表面電極(不図示)に対して例えば2本のワイヤ126の一方をそれぞれ接続する。ワイヤ126の他方を第2接続パターン122が露出されているワイヤ接続部122wにそれぞれ接続する。
 なお、基板位置固定穴125によって、レシーバ基板120を適宜位置決めしておくことが可能である。
 ステップS22(図32):
 図32は、本発明の実施の形態7に係る太陽電池製造方法の製造工程で第1接着剤を塗布する状態を示す工程斜視図である。
 レシーバ基板120に太陽電池素子111、バイパスダイオード112を実装した後、枠状台座部130をレシーバ基板120に接着する第1接着剤131bをレシーバ基板120に塗布する(第1接着剤塗布工程)。
 レシーバ基板120を第1接着剤ディスペンサ161のテーブル(不図示)の所定位置にセットし、第1接着剤131bをレシーバ基板120の所定位置(溝部131に対応する位置。適宜のマークを予め形成しておくことも可能である。)に所定形状にて塗布する。つまり、太陽電池素子111、バイパスダイオード112を載置したレシーバ基板120の表面の決められた位置に白色のシリコーン樹脂製の第1接着剤131bを決められた大きさで円形状に塗布する。
 ステップS23(図33):
 図33は、本発明の実施の形態7に係る太陽電池製造方法の製造工程で枠状台座部をレシーバ基板に載置した状態を示す工程斜視図である。
 第1接着剤131bを塗布したレシーバ基板120に枠状台座部130を位置決めして載置する(枠状台座部載置工程)。
 レシーバ基板120に対する枠状台座部130の位置決めは、枠状台座部130の側面をレシーバ基板120に設けた2本の位置決めピン124に押し当てることによって容易かつ高精度に実行することができる。また、第1接着剤131bは、溝部131に充填される形状で塗布してあることから、第1接着剤131bが溝部131を充填する形態で接着され、枠状台座部130はレシーバ基板120に対して強固に接着(固定)される。
 また、枠状台座部130は、内側に開口部131wを備え、開口部131wは、太陽電池素子111およびバイパスダイオード112、ワイヤ接続部122wを内包する形状としてある。したがって、枠状台座部130は、太陽電池素子111、バイパスダイオード112、ワイヤ接続部122wを周囲環境から保護することが可能となる。
 ステップS24(図34):
 図34は、本発明の実施の形態7に係る太陽電池製造方法の製造工程で第2接着剤を枠状台座部に塗布する状態を示す工程斜視図である。
 保持部135を枠状台座部130に接着する第2接着剤132bを枠状台座部130に塗布する(第2接着剤塗布工程)。
 レシーバ基板120を第2接着剤ディスペンサ162のテーブル(不図示)の所定位置にセットし、レシーバ基板120に載置され接着された枠状台座部130の段差部132に第2接着剤132bを塗布する。つまり、段差部132に第2接着剤132bを円形状に塗布する。
 なお、第1接着剤131bと第2接着剤132bとは同一の樹脂としても良く、また、第1接着剤ディスペンサ161と第2接着剤ディスペンサ162とは同一の装置を適用しても良い。
 ステップS25(図35):
 図35は、本発明の実施の形態7に係る太陽電池製造方法の製造工程で保持部を枠状台座部に嵌合した状態を示す工程斜視図である。
 第2接着剤ディスペンサ162のテーブルに載置した状態を維持して、保持部135を枠状台座部130に嵌合する(嵌合工程)。
 枠状台座部130の段差部132と、保持部135の鍔状突起136とは、相互に嵌合する形状としてあることから、容易かつ高精度に位置決めすることが可能となる。また、段差部132には、第2接着剤132bが予め塗布してあることから、保持部135(鍔状突起136)と枠状台座部130(段差部132)とは、相互に接着され、強固に固定される状態となる。
 なお、枠状台座部130に対する保持部135の位置決めの微調整は、保持部135を枠状台座部130に対して円周方向に回転させて実行することが可能である。
 ステップS26:
 第1接着剤131bおよび第2接着剤132bを加熱して熱硬化する(第1熱硬化工程)。
 つまり、レシーバ基板120を第2接着剤ディスペンサ162のテーブルから取り外し、オーブン(不図示)に収容した状態で、第1接着剤131bおよび第2接着剤132bを例えば150℃30分で加熱して熱硬化させる。第1接着剤131bおよび第2接着剤132bの熱硬化によって、レシーバ基板120と枠状台座部130は、第1接着剤131bによって一体化され、枠状台座部130と保持部135は、第2接着剤132bによって一体化される。
 ステップS27(図36):
 図36は、本発明の実施の形態7に係る太陽電池製造方法の製造工程で太陽電池素子を樹脂封止する封止樹脂を枠状台座部に注入する状態を示す工程斜視図である。
 太陽電池素子111を樹脂封止する封止樹脂129bを枠状台座部130に注入する(封止樹脂注入工程)。
 レシーバ基板120を封止樹脂ディスペンサ163のテーブル(不図示)の所定位置にセットし、樹脂封止部129を形成する所定量の封止樹脂129bを保持部135の貫通穴135hを介して注入する。
 封止樹脂129bとしては、高い透光性を有するシリコーン樹脂を適用する。また、注入量は、柱状光学部材140を保持部135の貫通穴135hに嵌め込んだ際、柱状光学部材140の先端(照射面140r)が樹脂封止部129の表面に対して0.3mm~0.5mm程度被覆(浸漬)される程度とする。
 保持部135は、レシーバ基板120に実装した太陽電池素子111に対向させて形成された凹部137を備えることから、枠状台座部130に注入された封止樹脂129bが含有する気泡が抜け易くなり、樹脂封止部129を形成する封止樹脂129bを短時間で効率良く注入することができる。
 ステップS28(図37):
 図37は、本発明の実施の形態7に係る太陽電池製造方法の製造工程で保持部の貫通穴に柱状光学部材を挿入した状態を示す工程斜視図である。
 保持部135の貫通穴135hに柱状光学部材140を挿入(嵌合)し柱状光学部材140の太陽電池素子111に対向する照射面140rを封止樹脂で被覆する(柱状光学部材搭載工程)。
 封止樹脂ディスペンサ163のテーブルに載置した状態を維持して、柱状光学部材140を保持部135に嵌合させる。上述したとおり、柱状光学部材140(光路傾斜面140s)は、保持部135(貫通穴135h、貫通傾斜面135s)と自己整合するように形成されていることから、容易かつ高精度に柱状光学部材140を保持部135に結合させることが可能となる。
 ステップS29:
 封止樹脂129bに対して脱泡処理を施す(脱泡処理工程)。
 柱状光学部材140を保持部135に嵌め込んだ状態で、レシーバ基板120を封止樹脂ディスペンサ163のテーブルから取り出し、真空デシケータ(不図示)に収容した状態で、真空ポンプ(不図示)による真空引きを行い、樹脂封止部129を構成する封止樹脂129bに含まれる気泡を取り除くための脱泡処理を施す。
 ステップS30:
 封止樹脂129bを加熱して熱硬化する(第2熱硬化工程)。
 脱泡処理後に真空デシケータ(不図示)からレシーバ基板120を取り出し、オーブン(不図示)に収容した状態で、封止樹脂129b(樹脂封止部129)を例えば160℃40分で加熱して熱硬化させる。封止樹脂129bの熱硬化により、柱状光学部材140は、樹脂封止部129の先端(照射面140r)と密着し、保持部135、樹脂封止部129に対して固定される。
 ステップS30の後、リベッター(不図示)を用いて、基板位置固定穴125に挿入したリベット146によってレシーバ基板120と放熱フィン145とを連結して一体化する(放熱フィン取り付け工程)。
 以上、本実施の形態では、各処理工程において、レシーバ基板120は、太陽電池素子111が載置された表面を常に同一方向(視認可能な方向)に向けた状態として処理される。したがって、レシーバ基板120の治具へのセットおよび取り出し作業、別の治具へのセットなどでの複雑な移動処理、位置合わせ処理が不要となる。つまり、集光特性を向上させた耐熱性、信頼性、耐候性の高い太陽電池110を容易かつ高精度に、また、生産性良く安価に製造することが可能となる。
 上述したとおり、本実施の形態に係る太陽電池製造方法は、集光レンズ150により集光された太陽光Lsを光電変換する太陽電池素子111と、太陽電池素子111が載置されたレシーバ基板120と、集光された太陽光Lsを入射させる入射面140fと太陽電池素子111に対向して配置され太陽電池素子111に太陽光Lsを照射する照射面140rとを有する柱状光学部材140と、柱状光学部材140を保持する保持部135と、太陽電池素子111の周囲に枠状に配置されレシーバ基板120に固定されて保持部135と嵌合する枠状台座部130とを備える太陽電池110を製造する太陽電池製造方法である。
 また、本実施の形態に係る太陽電池製造方法は、上述したとおりの、太陽電池素子実装工程と、第1接着剤塗布工程と、枠状台座部載置工程と、第2接着剤塗布工程と、嵌合工程と、第1熱硬化工程と、封止樹脂注入工程と、柱状光学部材搭載工程と、脱泡処理工程と、第2熱硬化工程とを備える。
 したがって、枠状台座部130をレシーバ基板120に対して高精度に位置決めして強固に固定することが可能となり、また、保持部135を枠状台座部130に対して高精度に位置決めして強固に保持することが可能となるので、柱状光学部材140を太陽電池素子111に対して高精度に位置決めして強固に保持することができ、広い波長領域に対する集光特性を向上させて発電効率および発電電力を向上させ、耐熱性、信頼性、耐候性の高い安価な太陽電池110を容易かつ高精度に生産性良く製造することができる。
 本発明は、その精神または主要な特徴から逸脱することなく、他のいろいろな形で実施することができる。そのため、上述の実施の形態はあらゆる点で単なる例示にすぎず、限定的に解釈してはならない。本発明の範囲は請求の範囲によって示すものであって、明細書本文には、なんら拘束されない。さらに、請求の範囲の均等範囲に属する変形や変更は、全て本発明の範囲内のものである。
 また、この出願は、2008年6月23日に日本で出願された特願2008-163395、及び2009年3月4日に日本で出願された特願2009-050751に基づく優先権を請求する。これに言及することにより、その全ての内容は本出願に組み込まれるものである。
 本発明は、集光された太陽光を太陽電池素子に照射する光学部材と、太陽電池素子が載置されたレシーバ基板とを備える太陽電池、このような太陽電池を搭載した集光型太陽光発電モジュール、および、このような太陽電池を製造する太陽電池製造方法に適用できる。
 20 集光型太陽光発電モジュール
 21 太陽電池
 22 レシーバ基板
 22h 取り付け穴
 23 太陽電池素子
 30 固定部
 30b 台座被覆部
 30c 梁状フランジ部
 30ct 内側先端枠
 30d 結合用フランジ部
 30e 貫通穴
 30f 縦型固定部(固定部)
 30g 貫通溝部
 30h 頂部
 30j 台座被覆部取り付け穴
 30k 係止用凹部
 30m 位置決め段差
 30r 嵌合固定部(固定部)
 30s 貫通傾斜面
 31 第1接着部
 31r 第1接着剤
 32 第2接着部
 32r 第2接着剤
 33 第3接着部
 33r 第3接着剤
 34 樹脂封止部
 34r 封止樹脂
 36 透光性接着層
 36r 透光性接着剤
 40 光学部材
 40a 頂面
 40b 底面
 40c 光路傾斜面
 40f 第1平板光学部材(光学部材)
 40s 第2平板光学部材(光学部材)
 40st 外周端
 40p 柱状光学部材(光学部材)
 41 透光性保護板
 45 台座部
 45a 貫通開口部
 45b 頂部
 45c 底面
 45d 底面凹部
 45f 外周枠
 50 集光レンズ
 51 レンズフレーム
 52 ベースプレート
 54h、54p 固定用部材
 55b、55t 固定用部材
 60 キャップ部
 60a 平面部
 60b 窓枠
 60c 枠部
 60d 爪部
 61 第1接着剤ディスペンサ-
 62 第2接着剤ディスペンサ-
 63 封止樹脂ディスペンサ-
 64 透光性接着剤ディスペンサ-
 65 第3接着剤ディスペンサ-
 70 位置決め治具
 71 位置決めピン
 101 集光型太陽光発電モジュール
 110 太陽電池
 111 太陽電池素子
 112 バイパスダイオード
 120 レシーバ基板
 120b ベース基台
 121 第1接続パターン
 121p 第1取り出し電極
 122 第2接続パターン
 122p 第2取り出し電極
 122w ワイヤ接続部
 123 表面保護層
 124 位置決めピン
 125 基板位置固定穴
 126 ワイヤ
 129 樹脂封止部
 129b 封止樹脂
 130 枠状台座部
 131 溝部
 131b 第1接着剤
 131w 開口部
 132 段差部
 132b 第2接着剤
 135 保持部
 135g 貫通溝部
 135h 貫通穴
 135s 貫通傾斜面
 135tf 端面
 135tr 端面
 136 鍔状突起
 137 凹部
 137s 空間
 140 柱状光学部材
 140f 入射面
 140r 照射面
 140s 光路傾斜面
 145 放熱フィン
 146 リベット
 150 集光レンズ
 161 第1接着剤ディスペンサ
 162 第2接着剤ディスペンサ
 163 封止樹脂ディスペンサ
 Lax 光軸
 Ls 太陽光

Claims (21)

  1.  集光された太陽光を透過させる光学部材と、該光学部材を透過した太陽光を光電変換する太陽電池素子と、該太陽電池素子が載置されたレシーバ基板とを備える太陽電池であって、
     前記レシーバ基板に接着され前記太陽電池素子を囲む枠状に形成された第1接着部と、
     前記レシーバ基板に当接され前記太陽電池素子を囲んで前記第1接着部に接着された台座部と、
     前記第1接着部に囲まれ前記太陽電池素子を被覆する樹脂封止部とを備えること
     を特徴とする太陽電池。
  2.  請求項1に記載の太陽電池であって、
     前記光学部材は、平板状とされた第1平板光学部材であり、該第1平板光学部材は、前記第1接着部と前記台座部との間に配置されていること
     を特徴とする太陽電池。
  3.  請求項1に記載の太陽電池であって、
     前記台座部の頂部に形成された第2接着部を備え、該第2接着部に接着されて前記レシーバ基板と平行な方向で延長された梁状フランジ部と、該梁状フランジ部から外側に延長されて前記台座部の外側で前記レシーバ基板に連結された結合用フランジ部とを有する台座被覆部を備えること
     を特徴とする太陽電池。
  4.  請求項3に記載の太陽電池であって、
     前記光学部材は、平板状とされた第2平板光学部材であり、該第2平板光学部材は、前記台座部の頂部に載置され外周端を前記梁状フランジ部に覆われていること
     を特徴とする太陽電池。
  5.  請求項3に記載の太陽電池であって、
     前記光学部材は、頂面が底面より大きい柱状とされた柱状光学部材であり、該柱状光学部材は、前記梁状フランジ部の内側先端で固定部によって固定されていること
     を特徴とする太陽電池。
  6.  請求項5に記載の太陽電池であって、
     前記固定部は、前記柱状光学部材を貫通させて対向する貫通傾斜面を有し前記梁状フランジ部の内側先端枠に立設された縦型固定部であること
     を特徴とする太陽電池。
  7.  太陽光を集光する集光レンズと、集光された太陽光を受光して光電変換する太陽電池とを備える集光型太陽光発電モジュールであって、前記太陽電池は、請求項1ないし請求項6のいずれか一つに記載の太陽電池であることを特徴とする集光型太陽光発電モジュール。
  8.  集光された太陽光を透過させる光学部材と、該光学部材を透過した太陽光を光電変換する太陽電池素子と、該太陽電池素子が載置されたレシーバ基板と、前記レシーバ基板に接着され前記太陽電池素子を囲む枠状に形成された第1接着部と、前記レシーバ基板に当接され前記太陽電池素子を囲んで前記第1接着部に接着された台座部と、該台座部を基準にして前記光学部材を固定する固定部とを備える太陽電池を製造する太陽電池製造方法であって、
     前記第1接着部を形成する第1接着剤を前記レシーバ基板に塗布する第1接着剤塗布工程と、
     前記第1接着剤に前記台座部を接着して前記レシーバ基板に載置する台座部載置工程と、
     前記第1接着剤を加熱して前記第1接着部を形成する第1熱硬化工程と、
     前記固定部に前記光学部材を配置する光学部材配置工程とを備えること
     を特徴とする太陽電池製造方法。
  9.  集光された太陽光を透過させる光学部材と、該光学部材を透過した太陽光を光電変換する太陽電池素子と、該太陽電池素子が載置されたレシーバ基板と、前記レシーバ基板に接着され前記太陽電池素子を囲む枠状に形成された第1接着部と、前記レシーバ基板に当接され前記太陽電池素子を囲んで前記第1接着部に接着された台座部と、前記第1接着部に囲まれ前記太陽電池素子を被覆する樹脂封止部と、前記台座部の頂部に形成された第2接着部とを備え、該第2接着部に接着されて前記レシーバ基板と平行な方向で延長された梁状フランジ部と該梁状フランジ部から外側に延長されて前記台座部の外側で前記レシーバ基板に連結された結合用フランジ部とを有する台座被覆部と、前記光学部材として柱状とされた柱状光学部材を固定する固定部とを備える太陽電池を製造する太陽電池製造方法であって、
     前記第1接着部を形成する第1接着剤を前記レシーバ基板に塗布する第1接着剤塗布工程と、
     前記第1接着剤に前記台座部を接着して前記レシーバ基板に載置する台座部載置工程と、
     前記第2接着部を形成する第2接着剤を前記台座部の頂部に塗布する第2接着剤塗布工程と、
     前記柱状光学部材を貫通させて対向する貫通傾斜面を有し前記梁状フランジ部の内側先端枠に立設された前記固定部としての縦型固定部を有する前記台座被覆部を前記第2接着剤に接着して前記レシーバ基板に載置する台座被覆部載置工程と、
     前記第1接着剤および前記第2接着剤を加熱して前記第1接着部および前記第2接着部を形成する第1熱硬化工程と、
     前記貫通傾斜面に当接して固定するように前記柱状光学部材を配置する柱状光学部材配置工程と、
     太陽電池素子を樹脂封止する封止樹脂を第1接着部の内側領域に注入する封止樹脂注入工程とを備えること
     を特徴とする太陽電池製造方法。
  10.  集光レンズにより集光された太陽光を光電変換する太陽電池素子と、該太陽電池素子が載置されたレシーバ基板と、集光された太陽光を入射させる入射面と前記太陽電池素子に対向して配置され前記太陽電池素子に太陽光を照射する照射面とを有する柱状光学部材と、該柱状光学部材を保持する保持部とを備える太陽電池であって、
     前記太陽電池素子の周囲に枠状に配置され前記レシーバ基板に固定された枠状台座部を備え、
     前記保持部は、前記枠状台座部に嵌合させてあること
     を特徴とする太陽電池。
  11.  請求項10に記載の太陽電池であって、
     前記レシーバ基板に配置され前記枠状台座部の位置決めをする位置決めピンを備えること
     を特徴とする太陽電池。
  12.  請求項10または請求項11に記載の太陽電池であって、
     前記枠状台座部は、前記保持部と嵌合する段差部を有すること
     を特徴とする太陽電池。
  13.  請求項10ないし請求項12のいずれか一つに記載の太陽電池であって、
     前記枠状台座部は、前記レシーバ基板に当接する面に形成された溝部を有し、該溝部に充填された第1接着剤によって前記レシーバ基板に接着されていること
     を特徴とする太陽電池。
  14.  請求項12または請求項13に記載の太陽電池であって、
     前記保持部は、前記段差部と対向する端部に前記段差部に嵌合された鍔状突起を備えること
     を特徴とする太陽電池。
  15.  請求項10ないし請求項14のいずれか一つに記載の太陽電池であって、
     前記柱状光学部材は、四角柱としてあり、前記保持部は、前記四角柱に当接する貫通穴を有する柱状とされていること
     を特徴とする太陽電池。
  16.  請求項10ないし請求項15のいずれか一つに記載の太陽電池であって、
     前記保持部は、金属製であること
     を特徴とする太陽電池。
  17.  請求項10ないし請求項16のいずれか一つに記載の太陽電池であって、
     前記照射面および前記太陽電池素子は、前記枠状台座部に充填された樹脂封止部によって樹脂封止されていること
     を特徴とする太陽電池。
  18.  請求項10ないし請求項17のいずれか一つに記載の太陽電池であって、
     前記保持部は、前記太陽電池素子に対向する側で前記柱状光学部材を露出させる空間を構成する凹部を有すること
     を特徴とする太陽電池。
  19.  請求項15ないし請求項18のいずれか一つに記載の太陽電池であって、
     前記貫通穴は、前記四角柱の前記角部に対応して形成された貫通溝部を有すること
     を特徴とする太陽電池。
  20.  太陽光を集光する集光レンズと、集光された太陽光を受光して光電変換する太陽電池とを備える集光型太陽光発電モジュールであって、
     前記太陽電池は、請求項10ないし請求項19のいずれか一つに記載の太陽電池であることを特徴とする集光型太陽光発電モジュール。
  21.  集光レンズにより集光された太陽光を光電変換する太陽電池素子と、該太陽電池素子が載置されたレシーバ基板と、集光された太陽光を入射させる入射面と前記太陽電池素子に対向して配置され前記太陽電池素子に太陽光を照射する照射面とを有する柱状光学部材と、該柱状光学部材を保持する保持部と、前記太陽電池素子の周囲に枠状に配置され前記レシーバ基板に固定されて前記保持部と嵌合する枠状台座部とを備える太陽電池を製造する太陽電池製造方法であって、
     前記レシーバ基板に前記太陽電池素子を実装する太陽電池素子実装工程と、
     前記枠状台座部を前記レシーバ基板に接着する第1接着剤を前記レシーバ基板に塗布する第1接着剤塗布工程と、
     前記枠状台座部を前記レシーバ基板に位置決めして載置する枠状台座部載置工程と、
     前記保持部を前記枠状台座部に接着する第2接着剤を前記枠状台座部に塗布する第2接着剤塗布工程と、
     前記保持部を前記枠状台座部に嵌合する嵌合工程と、
     前記第1樹脂および前記第2樹脂を加熱して熱硬化する第1熱硬化工程と、
     前記太陽電池素子を樹脂封止する封止樹脂を前記枠状台座部に注入する封止樹脂注入工程と、
     前記保持部の貫通穴に前記柱状光学部材を挿入し前記柱状光学部材の前記太陽電池素子に対向する照射面を前記封止樹脂で被覆する柱状光学部材搭載工程と、
     前記封止樹脂に対して脱泡処理を施す脱泡処理工程と、
     前記封止樹脂を加熱して熱硬化する第2熱硬化工程とを備えること
     を特徴とする太陽電池製造方法。
PCT/JP2009/060540 2008-06-23 2009-06-09 太陽電池、集光型太陽光発電モジュール、および太陽電池製造方法 Ceased WO2009157304A1 (ja)

Priority Applications (3)

Application Number Priority Date Filing Date Title
US13/000,789 US20110108113A1 (en) 2008-06-23 2009-06-09 Solar cell, concentrating solar power generation module and solar cell manufacturing method
AU2009263554A AU2009263554B2 (en) 2008-06-23 2009-06-09 Solar cell, concentrating solar power generation module and solar cell manufacturing method
EP09770014A EP2312646A1 (en) 2008-06-23 2009-06-09 Solar cell, photoconcentration-type photovoltaic module, and method for manufacturing solar cell

Applications Claiming Priority (4)

Application Number Priority Date Filing Date Title
JP2008163395A JP4393562B1 (ja) 2008-06-23 2008-06-23 太陽電池、集光型太陽光発電モジュール、および太陽電池製造方法
JP2008-163395 2008-06-23
JP2009050751A JP4558077B2 (ja) 2009-03-04 2009-03-04 太陽電池、および集光型太陽光発電モジュール
JP2009-050751 2009-03-04

Publications (1)

Publication Number Publication Date
WO2009157304A1 true WO2009157304A1 (ja) 2009-12-30

Family

ID=41444373

Family Applications (1)

Application Number Title Priority Date Filing Date
PCT/JP2009/060540 Ceased WO2009157304A1 (ja) 2008-06-23 2009-06-09 太陽電池、集光型太陽光発電モジュール、および太陽電池製造方法

Country Status (4)

Country Link
US (1) US20110108113A1 (ja)
EP (1) EP2312646A1 (ja)
AU (1) AU2009263554B2 (ja)
WO (1) WO2009157304A1 (ja)

Cited By (2)

* Cited by examiner, † Cited by third party
Publication number Priority date Publication date Assignee Title
WO2011081090A1 (ja) * 2009-12-29 2011-07-07 シャープ株式会社 集光型太陽電池、集光型太陽電池モジュールおよび集光型太陽電池システム、並びに集光型太陽電池および集光型太陽電池モジュールの製造方法
US20120298174A1 (en) * 2010-01-07 2012-11-29 Dai Nippon Printing Co., Ltd. Organic thin film solar cell

Families Citing this family (18)

* Cited by examiner, † Cited by third party
Publication number Priority date Publication date Assignee Title
US9337360B1 (en) 2009-11-16 2016-05-10 Solar Junction Corporation Non-alloyed contacts for III-V based solar cells
US9214586B2 (en) 2010-04-30 2015-12-15 Solar Junction Corporation Semiconductor solar cell package
US8552517B1 (en) * 2010-09-14 2013-10-08 Amkor Technology, Inc. Conductive paste and mold for electrical connection of photovoltaic die to substrate
US8962988B2 (en) * 2011-02-03 2015-02-24 Solar Junction Corporation Integrated semiconductor solar cell package
EP2856850A4 (en) * 2012-05-29 2016-04-06 Essence Solar Solutions Ltd SELF-ORIENTING SOLDERING
EP2693492B1 (de) * 2012-07-31 2017-02-15 AZUR SPACE Solar Power GmbH Solarzelleneinheit
ES2835739T3 (es) 2012-07-31 2021-06-23 Azurspace Solar Power Gmbh Unidad de célula solar
EP2693494B1 (de) * 2012-07-31 2020-06-17 AZURSPACE Solar Power GmbH Solarzelleneinheit
US20140069491A1 (en) * 2012-09-13 2014-03-13 King Abdulaziz City For Science And Technology Interposer Connector for High Power Solar Concentrators
JP6319318B2 (ja) * 2013-10-31 2018-05-09 住友電気工業株式会社 集光型太陽光発電ユニット、集光型太陽光発電モジュール、集光型太陽光発電パネル及び集光型太陽光発電装置
CN105227108A (zh) * 2015-09-27 2016-01-06 成都聚合科技有限公司 一种聚光光伏组件顶框架
CN105207579A (zh) * 2015-09-29 2015-12-30 成都聚合科技有限公司 一种聚光太阳能组件透镜支撑板
CN105356834A (zh) * 2015-09-29 2016-02-24 成都聚合科技有限公司 一种聚光太阳能组件顶框架
CN105207594A (zh) * 2015-09-29 2015-12-30 成都聚合科技有限公司 一种聚光太阳能组件顶板
US10090420B2 (en) 2016-01-22 2018-10-02 Solar Junction Corporation Via etch method for back contact multijunction solar cells
US9680035B1 (en) 2016-05-27 2017-06-13 Solar Junction Corporation Surface mount solar cell with integrated coverglass
AU2019230301A1 (en) * 2018-03-05 2020-09-24 Sumitomo Electric Industries, Ltd. Method for Manufacturing Concentrator Photovoltaic Module, and Transport Jig
CN109600108A (zh) * 2019-02-01 2019-04-09 长兴博瑞能源有限公司 一种分布式光伏系统太阳能发电板

Citations (9)

* Cited by examiner, † Cited by third party
Publication number Priority date Publication date Assignee Title
JPH11284217A (ja) 1998-03-31 1999-10-15 Honda Motor Co Ltd 集光型太陽光発電装置
JP2002289898A (ja) 2001-03-23 2002-10-04 Canon Inc 集光型太陽電池モジュール及び集光型太陽光発電システム
JP2002289896A (ja) 2001-03-23 2002-10-04 Canon Inc 集光型太陽電池モジュール及び集光型太陽光発電システム
JP2002289897A (ja) 2001-03-23 2002-10-04 Canon Inc 集光型太陽電池モジュール及び集光型太陽光発電システム
JP2003174183A (ja) * 2001-12-07 2003-06-20 Daido Steel Co Ltd 集光型太陽光発電装置
JP2006313810A (ja) * 2005-05-09 2006-11-16 Daido Steel Co Ltd 集光型太陽光発電装置
JP2008085167A (ja) * 2006-09-28 2008-04-10 Sharp Corp 太陽電池、太陽電池製造方法および太陽電池製造装置
JP2008163395A (ja) 2006-12-28 2008-07-17 Honda Motor Co Ltd 銅材料およびその製造方法
JP2009050751A (ja) 2007-08-23 2009-03-12 Shigeru Tanaka 水溶性ガス捕集構造

Family Cites Families (1)

* Cited by examiner, † Cited by third party
Publication number Priority date Publication date Assignee Title
EP2073279A1 (en) * 2006-09-28 2009-06-24 Sharp Kabushiki Kaisha Solar cell, light concentrating photovoltaic power generation module, light concentrating photovoltaic power generation unit, solar cell manufacturing method and solar cell manufacturing apparatus

Patent Citations (9)

* Cited by examiner, † Cited by third party
Publication number Priority date Publication date Assignee Title
JPH11284217A (ja) 1998-03-31 1999-10-15 Honda Motor Co Ltd 集光型太陽光発電装置
JP2002289898A (ja) 2001-03-23 2002-10-04 Canon Inc 集光型太陽電池モジュール及び集光型太陽光発電システム
JP2002289896A (ja) 2001-03-23 2002-10-04 Canon Inc 集光型太陽電池モジュール及び集光型太陽光発電システム
JP2002289897A (ja) 2001-03-23 2002-10-04 Canon Inc 集光型太陽電池モジュール及び集光型太陽光発電システム
JP2003174183A (ja) * 2001-12-07 2003-06-20 Daido Steel Co Ltd 集光型太陽光発電装置
JP2006313810A (ja) * 2005-05-09 2006-11-16 Daido Steel Co Ltd 集光型太陽光発電装置
JP2008085167A (ja) * 2006-09-28 2008-04-10 Sharp Corp 太陽電池、太陽電池製造方法および太陽電池製造装置
JP2008163395A (ja) 2006-12-28 2008-07-17 Honda Motor Co Ltd 銅材料およびその製造方法
JP2009050751A (ja) 2007-08-23 2009-03-12 Shigeru Tanaka 水溶性ガス捕集構造

Cited By (3)

* Cited by examiner, † Cited by third party
Publication number Priority date Publication date Assignee Title
WO2011081090A1 (ja) * 2009-12-29 2011-07-07 シャープ株式会社 集光型太陽電池、集光型太陽電池モジュールおよび集光型太陽電池システム、並びに集光型太陽電池および集光型太陽電池モジュールの製造方法
JP2011138970A (ja) * 2009-12-29 2011-07-14 Sharp Corp 集光型太陽電池、集光型太陽電池モジュールおよびその製造方法
US20120298174A1 (en) * 2010-01-07 2012-11-29 Dai Nippon Printing Co., Ltd. Organic thin film solar cell

Also Published As

Publication number Publication date
AU2009263554A1 (en) 2009-12-30
EP2312646A1 (en) 2011-04-20
AU2009263554B2 (en) 2012-05-03
US20110108113A1 (en) 2011-05-12

Similar Documents

Publication Publication Date Title
WO2009157304A1 (ja) 太陽電池、集光型太陽光発電モジュール、および太陽電池製造方法
WO2008041502A1 (fr) Cellule solaire, module de génération de puissance photovoltaïque à concentration de lumière, unité de génération de puissance photovoltaïque à concentration de lumière, procédé de fabrication de cellule solaire et appareil de fabrication de cellule solaire
WO2006132265A1 (ja) 集光型太陽光発電ユニットおよび集光型太陽光発電装置、ならびに集光レンズ、集光レンズ構造体、および集光レンズ構造体の製造方法
US20090114265A1 (en) Solar Concentrator
CN101981707A (zh) 太阳能电池、聚光型太阳光发电组件和太阳能电池制造方法
CN101911311A (zh) 用于太阳能聚光器的太阳能电池封装
WO2011081090A1 (ja) 集光型太陽電池、集光型太陽電池モジュールおよび集光型太陽電池システム、並びに集光型太陽電池および集光型太陽電池モジュールの製造方法
JP4732015B2 (ja) 集光型太陽光発電ユニットおよび集光型太陽光発電装置
AU2009287628B2 (en) Concentrator Photovoltaic Module, and Method for Manufacturing Concentrator Photovoltaic Module
CN104521008A (zh) 太阳能电池单元
JP4393562B1 (ja) 太陽電池、集光型太陽光発電モジュール、および太陽電池製造方法
US20140090692A1 (en) Concentrated solar cell and manufacturing method for the same
JP2009272567A (ja) 太陽電池、集光型太陽光発電モジュール、および、太陽電池製造方法
JP4884907B2 (ja) 太陽電池、および太陽電池製造方法
JPWO2010027083A1 (ja) 太陽電池、集光型太陽光発電モジュール、および、太陽電池製造方法
JP5013684B2 (ja) 集光レンズ、集光レンズ構造体、集光型太陽光発電装置、および集光レンズ構造体の製造方法
JP4959776B2 (ja) 太陽電池、集光型太陽光発電モジュール、および太陽電池製造方法
WO2011058941A1 (ja) 光電変換装置、光電変換素子収納用パッケージおよび光電変換モジュール
JP4794402B2 (ja) 太陽電池および集光型太陽光発電ユニット
JP2013084670A (ja) 太陽電池モジュール、太陽光発電ユニット、および太陽電池モジュールの製造方法
JP4959775B2 (ja) 太陽電池、および集光型太陽光発電モジュール
JP2010205989A (ja) 太陽電池、および集光型太陽光発電モジュール
JP2013131647A (ja) 太陽電池モジュール、太陽光発電ユニット、および太陽電池モジュールの製造方法
JP2014063779A (ja) 集光型太陽光発電装置の太陽電池
CN101208806A (zh) 光伏聚光器与其形成的聚光太阳电池组件及其制造方法

Legal Events

Date Code Title Description
121 Ep: the epo has been informed by wipo that ep was designated in this application

Ref document number: 09770014

Country of ref document: EP

Kind code of ref document: A1

WWE Wipo information: entry into national phase

Ref document number: 2009263554

Country of ref document: AU

WWE Wipo information: entry into national phase

Ref document number: 13000789

Country of ref document: US

NENP Non-entry into the national phase

Ref country code: DE

ENP Entry into the national phase

Ref document number: 2009263554

Country of ref document: AU

Date of ref document: 20090609

Kind code of ref document: A

WWE Wipo information: entry into national phase

Ref document number: 2009770014

Country of ref document: EP