WO2009128323A1 - 情報処理装置、情報処理方法、およびプログラムを記録するコンピュータ読取可能な記録媒体 - Google Patents

情報処理装置、情報処理方法、およびプログラムを記録するコンピュータ読取可能な記録媒体 Download PDF

Info

Publication number
WO2009128323A1
WO2009128323A1 PCT/JP2009/055618 JP2009055618W WO2009128323A1 WO 2009128323 A1 WO2009128323 A1 WO 2009128323A1 JP 2009055618 W JP2009055618 W JP 2009055618W WO 2009128323 A1 WO2009128323 A1 WO 2009128323A1
Authority
WO
WIPO (PCT)
Prior art keywords
moving
unit
range
reference circle
information processing
Prior art date
Legal status (The legal status is an assumption and is not a legal conclusion. Google has not performed a legal analysis and makes no representation as to the accuracy of the status listed.)
Ceased
Application number
PCT/JP2009/055618
Other languages
English (en)
French (fr)
Japanese (ja)
Inventor
正和 河原
Current Assignee (The listed assignees may be inaccurate. Google has not performed a legal analysis and makes no representation or warranty as to the accuracy of the list.)
Sharp Corp
Original Assignee
Sharp Corp
Priority date (The priority date is an assumption and is not a legal conclusion. Google has not performed a legal analysis and makes no representation as to the accuracy of the date listed.)
Filing date
Publication date
Application filed by Sharp Corp filed Critical Sharp Corp
Priority to US12/865,822 priority Critical patent/US20110012905A1/en
Priority to CN2009801134513A priority patent/CN102007466A/zh
Publication of WO2009128323A1 publication Critical patent/WO2009128323A1/ja
Anticipated expiration legal-status Critical
Ceased legal-status Critical Current

Links

Images

Classifications

    • GPHYSICS
    • G06COMPUTING OR CALCULATING; COUNTING
    • G06FELECTRIC DIGITAL DATA PROCESSING
    • G06F3/00Input arrangements for transferring data to be processed into a form capable of being handled by the computer; Output arrangements for transferring data from processing unit to output unit, e.g. interface arrangements
    • G06F3/01Input arrangements or combined input and output arrangements for interaction between user and computer
    • G06F3/048Interaction techniques based on graphical user interfaces [GUI]
    • G06F3/0484Interaction techniques based on graphical user interfaces [GUI] for the control of specific functions or operations, e.g. selecting or manipulating an object, an image or a displayed text element, setting a parameter value or selecting a range
    • G06F3/04847Interaction techniques to control parameter settings, e.g. interaction with sliders or dials

Definitions

  • the present invention relates to an information processing device including a storage unit and an arithmetic processing unit, an information processing method, and a computer-readable recording medium for recording a program, and in particular, an information processing device that facilitates input of various parameter ranges by a user.
  • the present invention relates to an information processing method and a computer-readable recording medium for recording a program.
  • An information processing system such as a personal computer accepts input of characters and numerical values from a user via a keyboard or a mouse.
  • the information processing system may accept a range specification from the user. That is, the user may have to input a plurality of numerical values (for example, numerical values of the start point and the end point) into the information processing system.
  • the information processing system may accept an input of a period, an input of a temperature range, or an input of a price range.
  • the user When the information processing system accepts a range specification, the user needs to input or select multiple numerical values. That is, when the user designates a range, troublesome work is forced. In addition, it is difficult for the user to intuitively understand the size of the numerical range (the range of the numerical range), the position (the position of the numerical range relative to the whole), and the like. Therefore, when searching for desired data, the user may specify a range a plurality of times until the desired data is found.
  • Japanese Patent Laying-Open No. 2007-310867 discloses a data processing apparatus.
  • a data processing apparatus includes a data acquisition unit that acquires dates of a plurality of data including attributes related to dates, and the passage of dates from January to December.
  • a date expression part that displays the date of data by arranging the progress of multiple years in the circumferential direction in the radial direction, and a fan-shaped search range display centered on the center of the date expression part on the date expression part.
  • a search range display unit for designating a range.
  • the size of the fan-shaped central angle of the search range display represents the range of the date of search data.
  • the fan-shaped radial size of the search range display indicates the year range of the data to be searched.
  • the data processing apparatus includes a search unit that searches for data having a date in a range specified by a search range display unit from data stored in a data storage unit.
  • Patent Document 2 discloses a related information display control device for displaying access symbols of information including documents, graphics, and images in association with each other and displaying them on a display device.
  • the related information display control device selects a specific access symbol from a plurality of access symbols associated in advance, and the specific information selected by the selection unit.
  • Concentric circle setting means for setting a plurality of concentric circles to be displayed on the display screen of the display device with the access symbol as the center, and other access symbols grouped based on the degree of relevance to the information of the specific access symbol, Access symbol positioning means for positioning on a circle closer to the center as the degree of relevance is higher, and positioning the information closer to each other on the same circle as the degree of relevance between the access symbols on the same circle is higher.
  • a specific access symbol and each symbol positioned by the access symbol positioning means And a display control means for displaying the Seth symbol on the display screen of the display device.
  • Japanese Patent Laying-Open No. 2004-72168 discloses an image processing apparatus that corrects the color tone of an image file.
  • an image processing apparatus includes a presentation unit that presents a hue ring in which colors having different hues are arranged in a ring shape, and an outer periphery of the hue ring according to a user operation.
  • a second presentation unit that presents a movable hue adjustment control, and a correction value input unit that inputs a hue correction value based on the position of the hue adjustment control.
  • the present invention has been made to solve the above-described problems, and a main object of the present invention is to provide an information processing apparatus, an information processing method, and an information processing apparatus that allow a user to input a numerical range by a simple operation.
  • a computer-readable recording medium for recording a program is provided.
  • an information processing apparatus displays a reference circle at a predetermined position on the display unit and displays a moving figure in a movable manner in accordance with a movement command from the operation unit, and a plurality of parameters for a circle of the reference circle
  • a storage unit that stores the information in association with a position on the circumference, and a range determination unit that outputs a parameter range corresponding to an inner portion of the moving figure out of the circumference of the reference circle based on the position of the moving figure.
  • the moving figure is a circle.
  • the parameter has periodicity.
  • the range determining unit outputs a new parameter range based on the movement command when the moving figure moves according to the movement command.
  • the storage unit stores reference circle data for specifying the position and size of the reference circle and moving figure data for specifying the position and size of the moving figure.
  • the range determination unit is based on the reference circle data and the moving figure data, and calculates an information on at least one intersection between the reference circle and the moving figure, and corresponds to each intersection based on the information on each intersection.
  • a parameter calculation unit that calculates a parameter to be output, and a range generation unit that outputs at least one parameter as a boundary value that defines the range of the parameter.
  • the range determination unit further includes a determination unit that determines whether or not the center position of the moving figure is within a predetermined distance from the center position of the reference circle.
  • the range generation unit outputs a parameter range corresponding to the entire circumference of the reference circle.
  • the range determining unit outputs a parameter corresponding to the contact point when the reference circle and the moving figure touch at one point.
  • the operation unit accepts a change command for changing the size of the moving figure.
  • the range determining unit changes the size of the moving figure based on the change command.
  • the range determining unit increases the radius of the reference circle so that the reference circle and the moving figure are in contact with each other.
  • the operation unit receives a fixing instruction to fix any of the intersections.
  • the range determination unit moves the moving figure according to the movement command in a state where any of the intersections is fixed based on the fixed command.
  • the operation unit receives a fixing instruction to fix any of the intersections.
  • the range determination unit increases or decreases the size of the moving figure in accordance with the movement command in a state where any intersection is fixed based on the fixed command.
  • the storage unit stores a plurality of files having attributes corresponding to the parameters.
  • the information processing apparatus further includes an extraction unit that extracts and outputs a file having an attribute corresponding to the parameter range from the storage unit based on the parameter range.
  • the display control unit causes the display unit to display the file extracted by the extraction unit.
  • the file is an image file.
  • the display control unit causes the display unit to display a thumbnail image based on the image file extracted by the extraction unit.
  • an information processing method in an information processing apparatus including a storage unit and an arithmetic processing unit.
  • the storage unit stores the parameter in association with the position on the circumference of the reference circle
  • the arithmetic processing unit causes the display unit to display the reference circle at a predetermined position.
  • a range of parameters corresponding to the inner part of the moving figure in the circumference of the reference circle based on the position of the moving figure, based on the position of the moving figure.
  • a computer-readable recording medium for recording a program for causing an information processing apparatus including a storage unit and an arithmetic processing unit to output a parameter range.
  • the program causes the arithmetic processing unit to store the parameter in the storage unit in association with the position on the circumference of the reference circle, to display the reference circle at a predetermined position on the display unit, and to display the moving figure on the operation unit. And a step of outputting a parameter range corresponding to an inner portion of the moving figure out of the circumference of the reference circle based on the position of the moving figure based on the position of the moving figure. .
  • an information processing apparatus As described above, according to the present invention, an information processing apparatus, an information processing method, and a computer-readable recording medium for recording a program that allow a user to input a numerical range by a simple operation are provided.
  • FIG. 3 is a block diagram illustrating a functional configuration of a computer according to Embodiment 1.
  • FIG. It is an image figure which shows the positional relationship of the reference
  • FIG. 12 is a flowchart illustrating a processing procedure of file search processing in the computer according to the second embodiment.
  • Output is a concept that includes not only the operation of performing display and printing based on data and signals, but also the operation of providing at least data and signals to other programs and devices. That is, “output” is a concept including an operation of transferring data to another application in the computer and an operation of transmitting data via a network.
  • Accept or “input” refers to an operation for acquiring at least data and signals.
  • the arithmetic processing unit is not only an operation for accepting information from a human by a keyboard, a mouse, a voice input device, or the like.
  • the concept includes an operation of receiving data and signals from other programs and other media. That is, “accept” and “input” are concepts including an operation of accepting data from another application inside the computer and an operation of receiving data from outside the computer via a network.
  • the information processing system receives an input of a parameter range from the user, displays information indicating the parameter range, and passes the information to another application executed in the information processing system.
  • the information is transferred to a device outside the information processing system.
  • the information processing system is typically realized by a computer including an operation unit, a display unit, an arithmetic processing unit, and a storage unit, such as a personal computer, a workstation, a PDA (Personal Digital Assistance), and a mobile phone. .
  • the information processing system is not only a type in which the operation unit, the display unit, the arithmetic processing unit, and the storage unit are assembled in the computer, but the operation unit and the display unit are connected to the computer main body (information processing apparatus) via a cable or the like.
  • the computer main body related to the information processing system includes not only a computer main body of a so-called desktop computer but also a DVD recorder connected to a television apparatus, a computer main body used for so-called Internet TV, and the like.
  • the range determination process performed by the information processing system is realized by the arithmetic processing unit reading the control program stored in the storage unit and executing the control program.
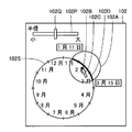
  • FIG. 1 is an image diagram showing a screen for designating a date range displayed on the monitor 102 of the information processing system.
  • a reference circle 102S indicating the entire parameter range is displayed at a predetermined position on the monitor 102. For example, when a predetermined period of one year is selected, a date (parameter) of one year is associated with each part of the reference circle 102S.
  • the monitor 102 displays a moving circle 102A for designating a partial range of parameters. The user can move the moving circle 102A to various positions with respect to the reference circle 102S by, for example, a drag and drop operation.
  • the moving figure that moves on the monitor 102 has a circular shape, but the moving figure can be any figure that moves on the monitor 102 and can define an internal region (inner portion). Good. That is, the moving figure may be a polygon such as a triangle, a quadrangle, or a rhombus, or may be a shape according to the type of a designated parameter.
  • the information processing system acquires a parameter range corresponding to a portion located inside the moving circle 102A in the circumference of the reference circle 102S. That is, the user can change the circumferential range of the reference circle 102S located inside the moving circle 102A by moving the moving circle 102A. As a result, the user can easily change the parameter range.
  • the user moves the moving circle 102A to the reference circle 102S while changing the position of the parameter range by moving the moving circle 102A in the circumferential direction of the reference circle 102S.
  • the range (width) of the parameter range can be changed by moving in the radial direction.
  • FIG. 2 is an image diagram showing a screen for designating a time range displayed on the monitor 102 of the information processing system.
  • a reference circle 102 ⁇ / b> T indicating the entire parameter range is displayed at a predetermined position on the monitor 102.
  • the time (parameter) of the day is associated with each part of the reference circle 102T.
  • the monitor 102 displays a moving circle 102A for designating a partial range of parameters. The user can move the moving circle 102A to various positions with respect to the reference circle 102T by, for example, a drag and drop operation.
  • the information processing system acquires a parameter range corresponding to a portion located inside the moving circle 102A in the circumference of the reference circle 102T. That is, the user can change the circumference range of the reference circle 102T located inside the moving circle 102A by moving the moving circle 102A. As a result, the user can easily change the parameter range.
  • the user changes the position of the parameter range by moving the moving circle 102A in the circumferential direction of the reference circle 102T, while moving the moving circle 102A to the reference circle 102T.
  • the range (width) of the parameter range can be changed by moving in the radial direction.
  • the user can simultaneously and intuitively select a desired time and period (length of time), for example, by a single drag and drop operation.
  • FIG. 3 is a perspective view showing a computer 100 as an example of the information processing system according to the present embodiment.
  • the computer 100 includes a computer main body 101 including an FD (Flexible Disk) driving device 111 and a CD-ROM (Compact Disk-Read Only Memory) driving device 113, a monitor 102, a keyboard 103, and the like. And mouse 104.
  • FD Flexible Disk
  • CD-ROM Compact Disk-Read Only Memory
  • FIG. 4 is a control block diagram showing a hardware configuration of the computer 100 as an example of the information processing system according to the present embodiment.
  • the computer main body 101 includes a CPU (Central Processing Unit) 105 and a RAM (Random) connected to each other via an internal bus 108.
  • a memory 106 such as an access memory
  • a fixed disk 107 such as an HDD (Hard Disk Drive)
  • a communication interface 109 The FD 112 is attached to the FD driving device 111.
  • a CD-ROM 114 is attached to the CD-ROM drive 113.
  • the monitor 102 includes a liquid crystal panel and a CRT, and displays information output by the CPU 105.
  • the keyboard 103 receives information from the user by key input.
  • the mouse 104 receives information from the user when clicked or slid.
  • the memory 106 stores various types of information. For example, the memory 106 temporarily stores data necessary for executing a program in the CPU 105.
  • the fixed disk 107 stores a program executed by the CPU 105 and a database.
  • the CPU 105 controls each element of the computer 100 and is a device that performs various calculations. Further, as will be described later, the CPU 105 performs a range determination process and the like, and stores the processing result in a predetermined area of the memory 106 or outputs the processing result to the monitor 102 via the internal bus 108. Or transmitted to an external device via the communication interface 109.
  • the communication interface 109 converts information output from the CPU 105 into an electrical signal, that is, a device that converts information output from the CPU 105 into a signal that can be used by other devices.
  • the communication interface 109 is also a device that receives a signal input from the outside of the computer 100 according to the present embodiment and converts it into information that can be used by the CPU 105.
  • the computer 100 can be connected to another output device such as a printer as necessary.
  • the CPU 105 displays information on the monitor 102 via the display unit interface 115.
  • the information processing system and the range determination process according to the present embodiment are realized by hardware such as the computer 100 and software such as a control program.
  • software is stored in a recording medium such as the FD 112 or the CD-ROM 114, or distributed via a network or the like.
  • the software is read from the recording medium by the FD driving device 111 or the CD-ROM driving device 113 or received by the communication interface 109 and stored in the fixed disk 107.
  • the software is read from the fixed disk 107 to the memory 106 and executed by the CPU 105.
  • FIG. 5 is a block diagram showing a functional configuration of the computer 100 according to the present embodiment.
  • a computer 100 according to the present embodiment includes an operation unit 104a, an arithmetic processing unit 105a, a storage unit 106a, and a display unit 102a.
  • the operation unit 104a is realized by, for example, the keyboard 103 or the mouse 104.
  • the operation unit 104a receives a movement command for moving the moving circle 102A from the user. More specifically, the operation unit 104a inputs information indicating a movement vector corresponding to the movement amount of the mouse 104 to the arithmetic processing unit 105a.
  • the display unit 102a is realized by the monitor 102 or the like.
  • the display unit 102a displays an image, text, or the like based on the data from the arithmetic processing unit 105a.
  • the storage unit 106a is realized by, for example, the memory 106 or the fixed disk 107.
  • the storage unit 106a stores a graphic file 106b that stores information indicating the position coordinates and radius of the reference circle 102S, and information indicating the initial position coordinates, initial radius, current position coordinates, current radius, and the like of the moving circle 102A.
  • the storage unit 106a stores an intersection file 106c that stores the intersection coordinates of the reference circle 102S and the moving circle 102A.
  • the storage unit 106a stores a correspondence file 106d (106d-1, 106d-2) in which each part on the circumference of the reference circle 102S is stored in association with the parameter.
  • the storage unit 106a stores a range file 106e that stores information indicating a parameter range.
  • FIG. 6 is an image diagram showing the positional relationship between the reference circle 102S and the moving circle 102A indicated by the data stored in the storage unit 106a.
  • FIG. 7 is an image diagram showing the data structure of the graphic file 106b stored in the storage unit 106a. As shown in FIGS. 6 and 7, the graphic file 106b includes the center coordinates O (0, 0) of the reference circle 102S, the radius r1 of the reference circle 102S, and the moving circle 102A at the time when the range determination process is started.
  • the initial center coordinate O (x0, x0), the initial radius r0 of the moving circle 102A when the range determination process is started, the current center coordinate P (x, y) of the moving circle 102A, and the current of the moving circle 102A And a radius (predetermined distance r3) indicating an area for selecting the entire range are stored.
  • the arithmetic processing unit 105a is in a state where the distance between the center coordinate O (0, 0) of the reference circle 102S and the current center coordinate P (x, y) of the moving circle 102A is within a predetermined distance r3. In, it is assumed that the entire range of parameters has been selected. And the radius which shows the area for whole range selection is preset as the said predetermined distance r3.
  • FIG. 8 is an image diagram showing the data structure of the intersection file 106c stored in the storage unit 106a.
  • the intersection file 106c includes the coordinates (x1, y1) of the first intersection A and the coordinates (x2, y2) of the second intersection B between the reference circle 102S and the moving circle 102A. Is stored.
  • the intersection file 106c includes a reference axis (y axis in the present embodiment), and a straight line connecting the center coordinates O (0, 0) of the reference circle 102S and the first intersection A (x1, y1). Stores the angle ⁇ between.
  • the reference axis is an axis passing through the center coordinates O (0, 0) of the reference circle 102S for indicating the lowest position of the parameter, for example, and is the y-axis in the present embodiment.
  • the intersection file 106c stores an angle ⁇ between the reference axis and a straight line connecting the center coordinates O (0, 0) of the reference circle 102S and the second intersection B (x2, y2).
  • intersection file 106c does not need to store the coordinates (x1, y1) of the first intersection A and the coordinates (x2, y2) of the second intersection B.
  • FIG. 9A is an image diagram showing a data structure of the date correspondence file 106d-1 stored in the storage unit 106a.
  • FIG. 9B is an image diagram showing a data structure of the time correspondence file 106d-2 stored in the storage unit 106a.
  • the date correspondence file 106d-1 corresponds to, for example, the angles ⁇ and ⁇ corresponding to the respective parts of the circumference of the reference circle 102S corresponding to the entire circumference for one year as the date parameters.
  • the date correspondence file 106d-1 stores a range of angles ⁇ and ⁇ corresponding to each of the date parameters.
  • the time correspondence file 106d-2 associates the angles ⁇ and ⁇ corresponding to the respective parts of the circumference of the reference circle 102S corresponding to the entire circumference with one day in association with the time parameter.
  • the time correspondence file 106d-2 stores the ranges of the angles ⁇ and ⁇ corresponding to each of the time parameters.
  • FIG. 10 is an image diagram showing the data structure of the range file 106e stored in the storage unit 106a.
  • the range file 106e stores a date parameter corresponding to the angle ⁇ and a date parameter corresponding to the angle ⁇ as a date range selected by the user.
  • the range file 106e stores a time parameter corresponding to the angle ⁇ and a time parameter corresponding to the angle ⁇ as a time range selected by the user.
  • the files 106b, 106c, 106d-1, 106d-2, and 106e do not need to store all the data described above, and other files (separate files) store a part of the data. It may be. That is, the file structure (data structure) may be different from the above.
  • the arithmetic processing unit 105a is realized by the CPU 105 or the like.
  • the arithmetic processing unit 105a has functions such as a range determining unit 105s and an output unit 105e.
  • the range determination unit 105s includes an intersection calculation unit 105b, a parameter calculation unit 105c, and a range generation unit 105d.
  • the output unit 105e includes a display control unit 105f.
  • each function of the arithmetic processing unit 105a is such that the CPU 105 executes a control program stored in the memory 106, the fixed disk 107, etc., and controls each hardware shown in FIGS. It is a function realized by.
  • the function for executing the range determination process is realized by software executed on the CPU 105, but instead of realizing the function of each block and the process of each step by software, Each may be realized by a dedicated hardware circuit or the like.
  • the arithmetic processing part 105a displays on the display part 102a the reference
  • the arithmetic processing unit 105a corresponds to a portion inside the moving circle 102A of the circumference of the reference circle 102S based on the position of the moving circle 102A. Calculate the parameter range.
  • the arithmetic processing unit 105a stores the calculation result in the storage unit 106a for use in other applications, or outputs the calculation result to the display unit 102a.
  • the intersection calculation unit 105b calculates the angle ⁇ and the angle ⁇ based on the reference circle data and the moving circle data stored in the graphic file 106b.
  • the intersection calculation unit 105b stores the values of the angle ⁇ and the angle ⁇ in the intersection file 106c.
  • a calculation method of the angle ⁇ and the angle ⁇ by the intersection calculation unit 105b will be described.
  • the intersection calculation unit 105b calculates ⁇ QOP based on the following equation (1).
  • the point Q is a point on a straight line connecting the center of the reference circle 102S and a point on the circumference of the reference circle 102S corresponding to the lowest value of the parameter, and ⁇ PQO is a right angle. .
  • intersection calculation unit 105b can derive the following expression (3) based on the cosine theorem, that is, based on the following expression (2), and calculates ⁇ AOP based on the expression (3). .
  • intersection calculation unit 105b can calculate the angle ⁇ based on the following equation (4).
  • intersection calculation unit 105b can calculate the angle ⁇ based on the following equation (5).
  • the intersection calculation unit 105b calculates the coordinates (x1, y1) of the intersection A and the coordinates (x1, y1) of the intersection A and the coordinates (x1, y1) of the intersection A after calculating the coordinates (x2, y2) of the intersection B.
  • the angle ⁇ and the angle ⁇ may be calculated based on the coordinates (x2, y2) of B.
  • the intersection calculation unit 105b determines the coordinates (x1, y1) and the coordinates of the intersection B of the reference circle 102S and the moving circle 102A based on the reference circle data and the moving circle data stored in the graphic file 106b. (X2, y2) is calculated.
  • the intersection calculation unit 105b stores the coordinates (x1, y1) of the intersection A and the coordinates (x2, y2) of the intersection B in the intersection file 106c.
  • the intersection calculation unit 105b calculates the angle ⁇ based on the coordinates (x1, y1) of the intersection A, and calculates the angle ⁇ based on the coordinates (x2, y2) of the intersection B.
  • the intersection calculation unit 105b stores the values of the angle ⁇ and the angle ⁇ in the intersection file 106c.
  • intersection calculation unit 105b calculates the angle ⁇ and the angle ⁇ based on the following equations (6) and (7).
  • the parameter calculation unit 105c calculates the parameters corresponding to the intersections A and B (angles ⁇ and ⁇ ) based on the angle ⁇ corresponding to the intersection A and the angle ⁇ corresponding to the intersection B. More specifically, the parameter calculation unit 105c refers to the corresponding files 106d-1 and 106d-2, and reads date parameters, time parameters, and the like corresponding to the angle ⁇ . The parameter calculation unit 105c reads the date parameter and time parameter corresponding to the angle ⁇ with reference to the correspondence files 106d-1 and 106d-2.
  • the arithmetic processing unit 105a selects the corresponding files 106d-1, 106d.
  • the configuration for calculating parameters from the angles ⁇ and ⁇ using -2 has been described. However, it is possible to calculate parameters without using the corresponding files 106d-1 and 106d-2.
  • the storage unit 106a has parameters that can be selected by the user in advance. It is only necessary to memorize only the lowest value and the highest value.
  • the range generation unit 105d outputs the parameters (range data) corresponding to the intersections A and B as the parameter range selected by the user. More specifically, the range generation unit 105d passes range data to the display control unit 105f. The display control unit 105f causes the display unit 102a to display the parameter range via the display unit interface 115. The range generation unit 105d stores range data in a predetermined area of the memory 106 for other applications.
  • the display control unit 105f is a function included in the output unit 105e. That is, the output unit 105e stores the range data received from the range generation unit 105d in a predetermined area of the memory 106 for other applications, outputs the range data to other devices via various interfaces, The display control unit 105f displays the parameter range selected by the user on the display unit 102a based on the range data.
  • the operation unit 104a accepts a change command for changing the size of the radius r2 of the moving circle 102A.
  • a scale 102P and a slider 102Q for changing the size of the radius r2 of the moving circle 102A are displayed on the display unit 102a.
  • the user then operates (slides) the slider 102Q to input a command for changing the radius r2 of the moving circle 102A to the arithmetic processing unit 105a.
  • the arithmetic processing unit 105a (range determination unit 105s) updates the value of the radius r2 of the moving circle 102A stored in the graphic file 106b based on the change command.
  • arithmetic processing unit 105a determines that current center coordinate P (x, y) of moving circle 102A is a predetermined distance r3 from center coordinate O (0, 0) of reference circle 102S. It further includes a determination unit for determining whether or not it is within. In the computer 100 according to the present embodiment, the intersection calculation unit 105b executes the determination process.
  • the range generator 105d When the center coordinate P (x, y) of the moving circle 102A is within the predetermined distance r3 from the center coordinate O of the reference circle 102S, the range generator 105d has selected the entire circumference of the reference circle 102S by the user As a result, range data corresponding to the entire circumference of the reference circle 102S is output.
  • the calculation processing unit 105a range determination unit 105s
  • the arithmetic processing unit 105a (range determining unit 105s) outputs one parameter corresponding to the contact point as range data.
  • the range generation unit 105d outputs one parameter corresponding to the contact as range data.
  • intersection calculation section 105b determines whether moving circle 102A is away from reference circle 102S, that is, whether OP> r1 + r2.
  • the graphic file 106d also stores the initial radius and the current radius for the radius r1 of the reference circle 102S.
  • the operation unit 104a accepts a fixing command for fixing any of the intersections.
  • the user inputs a command to fix the position of the first intersection A to the arithmetic processing unit 105a (range determination unit 105s) by pressing a first predetermined key of the operation unit 104a (keyboard 103).
  • the user inputs a command for fixing the position of the second intersection B to the arithmetic processing unit 105a by pressing a second predetermined key of the operation unit 104a (keyboard 103).
  • the user inputs a movement command of the moving circle 102A to the arithmetic processing unit 105a via the operation unit 104a (mouse 104) while pressing the first or second predetermined key.
  • the arithmetic processing unit 105a moves the moving circle 102A in a state where any intersection is fixed. More specifically, the arithmetic processing unit 105a (range determination unit 105s) moves the center position of the moving circle 102A around any one of the intersections, that is, the center coordinates P (x, y) of the moving circle 102A of the graphic file 106b. ). Alternatively, the arithmetic processing unit 105a increases or decreases the radius of the moving circle 102A while fixing any one of the intersections. That is, the arithmetic processing unit 105a updates the radius r2 of the moving circle 102A in the graphic file 106b.
  • the arithmetic processing unit 105a receives a command to move the center coordinates P (x, y) of the moving circle 102A from the user in a state where the command to fix the intersection is received from the user. Based on the instruction, the arithmetic processing unit 105a changes at least one of the center coordinates P (x, y) and the radius r2 of the moving circle 102A while fixing the intersection.
  • FIG. 11 shows the reference circle 102S, moving circle 102A, and parameter range when the center coordinate P (x, y) of the moving circle 102A and the center coordinate O (0, 0) of the reference circle 102S are less than the predetermined distance r3. It is an image figure which shows the relationship. As shown in FIG. 11, when the center coordinate P (x, y) of the moving circle 102A and the center coordinate O (0, 0) of the reference circle 102S are less than the predetermined distance r3, that is, when the two center coordinates are close to each other.
  • the arithmetic processing unit 105a assumes that the entire circumference of the reference circle 102S is selected by the moving circle 102A.
  • FIG. 12 shows the reference circle 102S, the moving circle 102A, and parameter values when the center coordinate P (x, y) of the moving circle 102A and the center coordinate O (0, 0) of the reference circle 102S are equal to or greater than the predetermined distance r3. It is an image figure which shows the relationship with a range.
  • the arithmetic processing unit 105a outputs parameters corresponding to a portion located inside the moving circle 102A in the circumference of the reference circle 102S by calculating the angle ⁇ and the angle ⁇ .
  • the moving circle 102A selects a wide range (this corresponds to a long period) 102D in the upper right of the reference circle 102S.
  • FIG. 13 shows the relationship between the reference circle 102S, the moving circle 102A, and the parameter range when the center coordinate P (x, y) of the moving circle 102A and the center coordinate O (0, 0) of the reference circle 102S are further separated.
  • the arithmetic processing unit 105 a outputs a parameter corresponding to a portion located inside the moving circle 102 ⁇ / b> A in the circumference of the reference circle 102 ⁇ / b> S by calculating the angle ⁇ and the angle ⁇ .
  • a narrow range this corresponds to a short period
  • 102D in the upper right of the reference circle 102S is selected by the moving circle 102A.
  • FIG. 14 is an image diagram showing the relationship between the reference circle 102S, the moving circle 102A, and the parameter range when the moving circle 102A and the reference circle 102S are in contact with each other.
  • the arithmetic processing unit 105a outputs a parameter corresponding to the contact point 102E between the moving circle 102A and the reference circle 102S by calculating one angle ⁇ ( ⁇ QOP in FIG. 6).
  • ⁇ QOP in FIG. 6
  • FIG. 15 is an image diagram showing the relationship between the reference circle 102S, the moving circle 102A, and the parameter range when the moving circle 102A and the reference circle 102S are further apart.
  • the arithmetic processing unit 105a increases the radius r1 of the reference circle 102S so that the reference circle 102S is in contact with the moving circle 102A.
  • the arithmetic processing unit 105 a calculates a single angle ⁇ ( ⁇ QOP in FIG. 6), thereby calculating a parameter corresponding to the contact point 102 ⁇ / b> E between the moving circle 102 ⁇ / b> A and the reference circle 102 ⁇ / b> S. Is output.
  • only the upper right contact 102E of the reference circle 102S is selected by the moving circle 102A.
  • FIG. 16 is a flowchart showing a processing procedure of range determination processing in computer 100 according to the present embodiment.
  • the CPU 105 determines whether or not a movement command for moving the moving circle 102A has been received via the mouse 104 (step S100).
  • the CPU 105 receives a movement command (YES in step S100)
  • the CPU 105 converts the movement vector included in the movement command and the center coordinate P (x, y) of the movement circle 102A stored in the graphic file 106b. Based on this, a new center coordinate P (x, y) is calculated (step S102).
  • the CPU 105 updates the center coordinate P (x, y) of the moving circle 102A of the graphic file 106b based on the new center coordinate P (x, y).
  • the CPU 105 determines whether or not the distance between the center coordinate P (x, y) of the moving circle 102A and the center coordinate O (0, 0) of the reference circle 102S is less than the predetermined distance r3 (step S104). ). If the distance between the center coordinate P (x, y) of the moving circle 102A and the center coordinate O (0, 0) of the reference circle 102S is less than the predetermined distance r3 (YES in step S104), the CPU 105 Parameters corresponding to the entire circumference of the circle 102S are output (step S116).
  • the CPU 105 calculates the coordinates (x1, y1) of the intersection A and the coordinates (x2, y2) of the intersection B (step S108). The CPU 105 calculates the angle ⁇ and the angle ⁇ based on the coordinates (x1, y1) of the intersection A and the coordinates (x2, y2) of the intersection B (step S110).
  • the CPU 105 calculates the center coordinates P (x, y) and the coordinates (x1, y1) of the intersection point A and the coordinates (x2, y2) of the intersection point B, that is, without performing the process of step S108. Based on the center coordinates O (0,0) of the reference circle 102S, the radius r2 of the moving circle 102A, and the radius r1 of the reference circle 102S, the angle ⁇ and the angle ⁇ of the moving circle 102A may be directly calculated (step). S110).
  • the CPU 105 refers to the correspondence files 106d-1 and 106d-2, obtains a parameter corresponding to the angle ⁇ and a parameter corresponding to the angle ⁇ (step S112), and sets these parameters as parameter values.
  • Output as a range (range data) That is, the CPU 105 stores the range data in the range file 106e, stores the range data in a predetermined area designated by another application, or causes the display unit 102a to display the parameter range based on the range data. (Step S114).
  • FIG. 17 is a first image diagram showing a screen for searching for a file based on a date.
  • FIG. 18 is a second image diagram showing a screen for searching for a file based on the date.
  • FIG. 19 is a third image diagram illustrating a screen for searching for a file based on time.
  • the information processing system searches for a file corresponding to a predetermined period from the storage unit when the user selects a predetermined period of one year, for example. .
  • the monitor 102 displays not only the reference circle 102S and the moving circle 102A but also the search result 102F.
  • the information processing system searches the storage unit for an image file corresponding to the date period. Then, the information processing system displays a thumbnail image corresponding to the searched image file (search result 102F) on the monitor 102.
  • the information processing system stores an image file corresponding to the date period from the storage unit. Search etc. Then, the information processing system displays a thumbnail image corresponding to the searched image file on the monitor 102.
  • the information processing system searches for data based on the time from among the data searched based on the date. That is, after the information processing system searches (extracts) data based on the date, the user inputs a command for executing a search by time to the information processing system. Specifically, when the user presses (clicks) the time designation button 102X displayed on the monitor 102, a screen for selecting a time is displayed on the monitor 102 as shown in FIG.
  • the information processing system stores the storage unit To search for an image file corresponding to the time. Then, the information processing system displays a thumbnail image corresponding to the searched image file on the monitor 102.
  • FIG. 20 is a block diagram showing a functional configuration of the computer 100 according to the present embodiment.
  • computer 100 according to the present embodiment includes an operation unit 104a, an arithmetic processing unit 105a-2, a storage unit 106a-2, and a display unit 102a.
  • the storage unit 106a-2 stores not only the graphic file 106b, the intersection file 106c, the corresponding file 106d (106d-1, 106d-2) and the range file 106e, but also a plurality of browsing files.
  • the browsing file is, for example, a still image file, a moving image file, a text file, a music file, or the like.
  • the image file 106A will be described as a browsing file as a representative example.
  • Each image file 106A includes various attribute information. Specifically, the image file 106A includes information regarding the date and time when the image was captured (or generated or updated), data amount, information indicating an image format, and the like. Further, the image file may include meta information including other attribute information.
  • the arithmetic processing unit 105a-2 is realized by the CPU 105 or the like.
  • the arithmetic processing unit 105a-2 has functions such as a range determining unit 105s, an extracting unit 105j, a thumbnail generating unit 105k, a selection receiving unit 105m, and a display control unit 105f-2.
  • the range determination unit 105s includes an intersection calculation unit 105b, a parameter calculation unit 105c, and a range generation unit 105d.
  • the display control unit 105f-2 may have a function such as an extraction unit 105j, a thumbnail generation unit 105k, and a selection reception unit 105m.
  • the functions of the arithmetic processing unit 105a-2 are shown in FIGS. 3 and 4 when the CPU 105 executes a control program stored in the memory 106, the fixed disk 107, or the like, as described above.
  • This is a function realized by controlling each hardware.
  • the function for executing the range determination process is realized by software executed on the CPU 105, but instead of realizing the function of each block and the process of each step by software, Each may be realized by a dedicated hardware circuit or the like.
  • the extraction unit 105j Based on the parameter range (range data) passed from the range generation unit 105d, the extraction unit 105j refers to the storage unit 106a-2 and searches for the image file 106A in which the attribute value is included in the parameter range. And extract. For example, when the parameter range indicates a period specified from two dates, the extraction unit 105j searches for and extracts an image file captured within the period.
  • the thumbnail generation unit 105k acquires thumbnail image data based on each of the extracted image files 106A. Specifically, the thumbnail generation unit 105k generates thumbnail image data based on the data included in each extracted image file 106A. Alternatively, the thumbnail generation unit 105k extracts thumbnail image data from data included in each image file 106A. The thumbnail generation unit 105k transfers the thumbnail image data to the display control unit 105f-2.
  • the display control unit 105f-2 causes the display unit 102a to display a thumbnail image as a search result 102F in a selectable manner as shown in FIGS. 17 to 19 based on the thumbnail image data.
  • the selection accepting unit 105m accepts an instruction to select a thumbnail image displayed on the display unit 102a via the operation unit 104a.
  • the selection receiving unit 105m reads the image file 106A from the storage unit 106a-2 based on the selection command.
  • the display control unit 105f-2 causes the display unit 102a to display an image of the original image size based on the image file 106A read by the selection receiving unit 105m.
  • FIG. 21 is a flowchart showing a processing procedure of file search processing in computer 100 according to the present embodiment.
  • the CPU 105 determines whether or not the range output process (S100) shown in FIG. 16 has been executed (step S202). That is, the CPU 105 determines whether the data (range data) of the range file 106e has been updated. When the range data is updated (YES in step S202), CPU 105 extracts image file 106A having attributes included in the range data from storage unit 106a-2 (step S204).
  • step S206 If the CPU 105 cannot extract the image file 106A having the attribute included in the range data from the storage unit 106a-2 (NO in step S206), the CPU 105 repeats the processing from step S202. On the other hand, when CPU 105 extracts image file 106A having the attributes included in the range data from storage unit 106a-2 (NO in step S206), CPU 105 obtains thumbnail image data based on these image files 106A. Obtain (step S208). Then, the CPU 105 displays the thumbnail image as the search result 105F on the monitor 102 based on the thumbnail image data (step S210).
  • the CPU 105 receives a thumbnail image selection command from the operation unit 104a (step S212).
  • CPU 105 accepts a thumbnail image selection command (YES in step S212)
  • CPU 105 extracts image file 106A corresponding to the thumbnail image from storage unit 106a-2, and based on image file 106A. Then, the image of the original image size is displayed on the display unit 102a (step S214).
  • step S212 when the CPU 105 does not accept selection of a thumbnail image (NO in step S212), the CPU 105 repeats the processing from step S202.
  • the program according to the present invention may be a program module that is provided as a part of a computer operating system (OS) and that calls necessary modules in a predetermined arrangement at a predetermined timing to execute processing. .
  • OS computer operating system
  • the program itself does not include the module, and the process is executed in cooperation with the OS.
  • a program that does not include such a module can also be included in the program according to the present invention.
  • the program according to the present invention may be provided by being incorporated in a part of another program. Even in this case, the program itself does not include the module included in the other program, and the process is executed in cooperation with the other program. Such a program incorporated in another program can also be included in the program according to the present invention.
  • the provided program product is installed in a program storage unit such as a hard disk and executed.
  • the program product includes the program itself and a storage medium in which the program is stored.
  • part or all of the functions (for example, the functional blocks shown in FIGS. 5 and 20) realized by the program according to the present invention may be configured by dedicated hardware.

Landscapes

  • Engineering & Computer Science (AREA)
  • General Engineering & Computer Science (AREA)
  • Theoretical Computer Science (AREA)
  • Human Computer Interaction (AREA)
  • Physics & Mathematics (AREA)
  • General Physics & Mathematics (AREA)
  • User Interface Of Digital Computer (AREA)
  • Processing Or Creating Images (AREA)
PCT/JP2009/055618 2008-04-17 2009-03-23 情報処理装置、情報処理方法、およびプログラムを記録するコンピュータ読取可能な記録媒体 Ceased WO2009128323A1 (ja)

Priority Applications (2)

Application Number Priority Date Filing Date Title
US12/865,822 US20110012905A1 (en) 2008-04-17 2009-03-23 Information processing apparatus, information processing method, and computer-readable recording medium having program recorded thereon
CN2009801134513A CN102007466A (zh) 2008-04-17 2009-03-23 信息处理装置、信息处理方法、以及记录程序的计算机可读取的记录介质

Applications Claiming Priority (2)

Application Number Priority Date Filing Date Title
JP2008-108114 2008-04-17
JP2008108114A JP5472893B2 (ja) 2008-04-17 2008-04-17 情報処理システム、情報処理装置、情報処理方法、および範囲決定プログラム

Publications (1)

Publication Number Publication Date
WO2009128323A1 true WO2009128323A1 (ja) 2009-10-22

Family

ID=41199023

Family Applications (1)

Application Number Title Priority Date Filing Date
PCT/JP2009/055618 Ceased WO2009128323A1 (ja) 2008-04-17 2009-03-23 情報処理装置、情報処理方法、およびプログラムを記録するコンピュータ読取可能な記録媒体

Country Status (4)

Country Link
US (1) US20110012905A1 (enExample)
JP (1) JP5472893B2 (enExample)
CN (1) CN102007466A (enExample)
WO (1) WO2009128323A1 (enExample)

Families Citing this family (9)

* Cited by examiner, † Cited by third party
Publication number Priority date Publication date Assignee Title
DE202010007315U1 (de) * 2010-05-27 2010-10-07 Omikron Data Quality Gmbh Bedienvorrichtung für eine Nutzerschnittstelle
US10758198B2 (en) * 2014-02-25 2020-09-01 DePuy Synthes Products, Inc. Systems and methods for intra-operative image analysis
US12295772B2 (en) 2014-02-25 2025-05-13 DePuy Synthes Products, Inc. Systems and methods for intra-operative image analysis
WO2016178217A1 (en) * 2015-05-03 2016-11-10 M.B. Visualtrade Ltd. Interactive probability visualization user interface for real time data
JP6848656B2 (ja) * 2017-04-28 2021-03-24 横河電機株式会社 表示装置、表示方法及びプログラム
JP7052250B2 (ja) * 2017-08-10 2022-04-12 オムロン株式会社 情報処理装置、情報処理方法、および情報処理プログラム
CN112272756B (zh) * 2018-06-13 2023-03-28 三菱电机株式会社 显示控制装置、显示控制方法以及计算机能够读取的记录介质
CN111752646B (zh) * 2019-03-27 2024-08-27 珠海金山办公软件有限公司 一种图形位置调整方法、装置及电子设备
US11887306B2 (en) 2021-08-11 2024-01-30 DePuy Synthes Products, Inc. System and method for intraoperatively determining image alignment

Citations (2)

* Cited by examiner, † Cited by third party
Publication number Priority date Publication date Assignee Title
JP2006018749A (ja) * 2004-07-05 2006-01-19 Canon Inc 情報処理装置及びデータ表示方法及びプログラム及び記憶媒体
JP2008060801A (ja) * 2006-08-30 2008-03-13 Sharp Corp 映像再生装置

Family Cites Families (26)

* Cited by examiner, † Cited by third party
Publication number Priority date Publication date Assignee Title
US5295243A (en) * 1989-12-29 1994-03-15 Xerox Corporation Display of hierarchical three-dimensional structures with rotating substructures
EP0498082B1 (en) * 1991-02-01 1998-05-06 Koninklijke Philips Electronics N.V. Apparatus for the interactive handling of objects
JP2995127B2 (ja) * 1993-03-02 1999-12-27 松下電器産業株式会社 円形穴の認識方法
US5798760A (en) * 1995-06-07 1998-08-25 Vayda; Mark Radial graphical menuing system with concentric region menuing
US5977974A (en) * 1996-09-17 1999-11-02 Canon Kabushiki Kaisha Information processing apparatus and method
US6448987B1 (en) * 1998-04-03 2002-09-10 Intertainer, Inc. Graphic user interface for a digital content delivery system using circular menus
US6549219B2 (en) * 1999-04-09 2003-04-15 International Business Machines Corporation Pie menu graphical user interface
US7286115B2 (en) * 2000-05-26 2007-10-23 Tegic Communications, Inc. Directional input system with automatic correction
JP2001350793A (ja) * 2000-06-05 2001-12-21 Fuji Xerox Co Ltd 関連情報表示制御装置及び関連情報表示方法
US6819344B2 (en) * 2001-03-12 2004-11-16 Microsoft Corporation Visualization of multi-dimensional data having an unbounded dimension
US7236536B2 (en) * 2001-07-26 2007-06-26 Lucent Technologies Inc. Method and apparatus for detection and decoding of signals received from a linear propagation channel
US7093201B2 (en) * 2001-09-06 2006-08-15 Danger, Inc. Loop menu navigation apparatus and method
US7274375B1 (en) * 2002-11-19 2007-09-25 Peter David Timekeeping system and method for graphically tracking and representing activities
JP4407260B2 (ja) * 2003-11-28 2010-02-03 Jfeスチール株式会社 鋼の連続鋳造方法
US7366995B2 (en) * 2004-02-03 2008-04-29 Roland Wescott Montague Combination tool that zooms in, zooms out, pans, rotates, draws, or manipulates during a drag
US7970639B2 (en) * 2004-08-20 2011-06-28 Mark A Vucina Project management systems and methods
US20060092770A1 (en) * 2004-10-30 2006-05-04 Demas Theodore J Information displays and methods associated therewith
JP4603465B2 (ja) * 2004-11-29 2010-12-22 オリンパスイメージング株式会社 画像表示装置、表示方法及び画像表示装置の表示プログラム並びに該プログラムを記録した記録媒体
JP4256353B2 (ja) * 2005-02-17 2009-04-22 ファナック株式会社 サーボ制御装置及びサーボ系の調整方法
JP3892467B2 (ja) * 2005-05-25 2007-03-14 株式会社コナミデジタルエンタテインメント ゲーム装置、ゲームシステム、ゲーム進行制御方法及びゲーム進行制御プログラム
US7992102B1 (en) * 2007-08-03 2011-08-02 Incandescent Inc. Graphical user interface with circumferentially displayed search results
US7664743B2 (en) * 2006-04-20 2010-02-16 Seiko Epson Corporation Data processing unit
JP2007310867A (ja) * 2006-04-20 2007-11-29 Seiko Epson Corp データ処理装置
US7509348B2 (en) * 2006-08-31 2009-03-24 Microsoft Corporation Radially expanding and context-dependent navigation dial
JP4251218B2 (ja) * 2007-01-31 2009-04-08 ソニー株式会社 情報処理装置、画像表示装置、情報処理システム、および、これらにおける制御方法ならびに当該方法をコンピュータに実行させるプログラム
US8161407B2 (en) * 2007-03-15 2012-04-17 International Business Machines Corporation Multiple sorting of columns in a displayed table in a user interactive computer display interface through sequential radial menus

Patent Citations (2)

* Cited by examiner, † Cited by third party
Publication number Priority date Publication date Assignee Title
JP2006018749A (ja) * 2004-07-05 2006-01-19 Canon Inc 情報処理装置及びデータ表示方法及びプログラム及び記憶媒体
JP2008060801A (ja) * 2006-08-30 2008-03-13 Sharp Corp 映像再生装置

Also Published As

Publication number Publication date
JP2009259045A (ja) 2009-11-05
JP5472893B2 (ja) 2014-04-16
US20110012905A1 (en) 2011-01-20
CN102007466A (zh) 2011-04-06

Similar Documents

Publication Publication Date Title
JP5472893B2 (ja) 情報処理システム、情報処理装置、情報処理方法、および範囲決定プログラム
KR101717444B1 (ko) 디스플레이 내용 중 일부 숨기기
JP5429060B2 (ja) 表示制御装置、表示制御方法、表示制御プログラム並びにこの表示制御プログラムが記録された記録媒体
US6937254B2 (en) Graphical user interface for searches
EP2715499B1 (en) Invisible control
JP5365209B2 (ja) セグメント化及びキーフレーズを利用してモバイル機器でのドキュメントナビゲーションをサポートする方法、プログラム及びデバイス
US20080028308A1 (en) Visual display method for sequential data
WO2008029180A1 (en) An apparatus and method for position-related display magnification
US8484579B2 (en) Information processing apparatus and information processing method
JP4396314B2 (ja) 画像生成方法、画像生成装置および画像生成プログラム
JP4770634B2 (ja) 表象画像再配置装置
JP2008097175A (ja) 電子ファイル検索装置
JP2006039872A (ja) 情報処理方法及び情報処理装置
JP6070116B2 (ja) 画像処理装置、画像処理システム、画像処理方法及びプログラム
WO2014042050A1 (ja) 電子書籍表示装置及び方法並びにプログラム
JP3357760B2 (ja) 文字図形入力編集装置
WO2012160931A1 (ja) Web閲覧制御サーバ及びWeb閲覧制御方法
KR101176317B1 (ko) 검색어와 검색된 정보 간의 연관성에 따른 검색된 정보의 차등적 배치 방법
JP2009253474A (ja) 画像処理装置、画像処理方法及び画像処理プログラム
US20130298077A1 (en) Display control apparatus capable of placing objects on screen according to position attributes of the objects, control method therefor, and storage medium
JP2013182329A (ja) 情報処理装置、情報処理装置の制御方法、およびプログラム
US20180232125A1 (en) Contextual Linking of Digital Representations of Objects with Documents
JP5259753B2 (ja) 電子ブック処理装置、電子ブック処理方法、およびプログラム
JP2007080109A (ja) データ表示装置、データ表示方法、およびその方法をコンピュータに実行させるプログラム
JP6423933B2 (ja) 情報処理装置、帳票管理システム、帳票管理サーバ、情報処理方法、及びそのプログラム

Legal Events

Date Code Title Description
WWE Wipo information: entry into national phase

Ref document number: 200980113451.3

Country of ref document: CN

121 Ep: the epo has been informed by wipo that ep was designated in this application

Ref document number: 09733276

Country of ref document: EP

Kind code of ref document: A1

WWE Wipo information: entry into national phase

Ref document number: 12865822

Country of ref document: US

NENP Non-entry into the national phase

Ref country code: DE

122 Ep: pct application non-entry in european phase

Ref document number: 09733276

Country of ref document: EP

Kind code of ref document: A1