US20180157504A1 - Intelligent Data Storage and Processing Using FPGA Devices - Google Patents
Intelligent Data Storage and Processing Using FPGA Devices Download PDFInfo
- Publication number
- US20180157504A1 US20180157504A1 US15/882,679 US201815882679A US2018157504A1 US 20180157504 A1 US20180157504 A1 US 20180157504A1 US 201815882679 A US201815882679 A US 201815882679A US 2018157504 A1 US2018157504 A1 US 2018157504A1
- Authority
- US
- United States
- Prior art keywords
- data
- search
- disk
- fpga
- configurable logic
- Prior art date
- Legal status (The legal status is an assumption and is not a legal conclusion. Google has not performed a legal analysis and makes no representation as to the accuracy of the status listed.)
- Granted
Links
Images
Classifications
-
- G—PHYSICS
- G06—COMPUTING OR CALCULATING; COUNTING
- G06F—ELECTRIC DIGITAL DATA PROCESSING
- G06F9/00—Arrangements for program control, e.g. control units
- G06F9/06—Arrangements for program control, e.g. control units using stored programs, i.e. using an internal store of processing equipment to receive or retain programs
- G06F9/44—Arrangements for executing specific programs
- G06F9/445—Program loading or initiating
- G06F9/44505—Configuring for program initiating, e.g. using registry, configuration files
-
- G—PHYSICS
- G06—COMPUTING OR CALCULATING; COUNTING
- G06F—ELECTRIC DIGITAL DATA PROCESSING
- G06F16/00—Information retrieval; Database structures therefor; File system structures therefor
- G06F16/20—Information retrieval; Database structures therefor; File system structures therefor of structured data, e.g. relational data
- G06F16/24—Querying
- G06F16/245—Query processing
- G06F16/2455—Query execution
-
- G—PHYSICS
- G06—COMPUTING OR CALCULATING; COUNTING
- G06F—ELECTRIC DIGITAL DATA PROCESSING
- G06F16/00—Information retrieval; Database structures therefor; File system structures therefor
- G06F16/90—Details of database functions independent of the retrieved data types
- G06F16/903—Querying
- G06F16/90335—Query processing
-
- G—PHYSICS
- G06—COMPUTING OR CALCULATING; COUNTING
- G06F—ELECTRIC DIGITAL DATA PROCESSING
- G06F17/00—Digital computing or data processing equipment or methods, specially adapted for specific functions
-
- G06F17/30477—
-
- G—PHYSICS
- G06—COMPUTING OR CALCULATING; COUNTING
- G06F—ELECTRIC DIGITAL DATA PROCESSING
- G06F21/00—Security arrangements for protecting computers, components thereof, programs or data against unauthorised activity
- G06F21/60—Protecting data
- G06F21/602—Providing cryptographic facilities or services
-
- G—PHYSICS
- G06—COMPUTING OR CALCULATING; COUNTING
- G06F—ELECTRIC DIGITAL DATA PROCESSING
- G06F21/00—Security arrangements for protecting computers, components thereof, programs or data against unauthorised activity
- G06F21/70—Protecting specific internal or peripheral components, in which the protection of a component leads to protection of the entire computer
- G06F21/71—Protecting specific internal or peripheral components, in which the protection of a component leads to protection of the entire computer to assure secure computing or processing of information
- G06F21/72—Protecting specific internal or peripheral components, in which the protection of a component leads to protection of the entire computer to assure secure computing or processing of information in cryptographic circuits
-
- G—PHYSICS
- G06—COMPUTING OR CALCULATING; COUNTING
- G06F—ELECTRIC DIGITAL DATA PROCESSING
- G06F21/00—Security arrangements for protecting computers, components thereof, programs or data against unauthorised activity
- G06F21/70—Protecting specific internal or peripheral components, in which the protection of a component leads to protection of the entire computer
- G06F21/71—Protecting specific internal or peripheral components, in which the protection of a component leads to protection of the entire computer to assure secure computing or processing of information
- G06F21/76—Protecting specific internal or peripheral components, in which the protection of a component leads to protection of the entire computer to assure secure computing or processing of information in application-specific integrated circuits [ASIC] or field-programmable devices, e.g. field-programmable gate arrays [FPGA] or programmable logic devices [PLD]
-
- G—PHYSICS
- G06—COMPUTING OR CALCULATING; COUNTING
- G06F—ELECTRIC DIGITAL DATA PROCESSING
- G06F21/00—Security arrangements for protecting computers, components thereof, programs or data against unauthorised activity
- G06F21/70—Protecting specific internal or peripheral components, in which the protection of a component leads to protection of the entire computer
- G06F21/82—Protecting input, output or interconnection devices
- G06F21/85—Protecting input, output or interconnection devices interconnection devices, e.g. bus-connected or in-line devices
-
- G—PHYSICS
- G06—COMPUTING OR CALCULATING; COUNTING
- G06F—ELECTRIC DIGITAL DATA PROCESSING
- G06F9/00—Arrangements for program control, e.g. control units
- G06F9/06—Arrangements for program control, e.g. control units using stored programs, i.e. using an internal store of processing equipment to receive or retain programs
- G06F9/46—Multiprogramming arrangements
- G06F9/48—Program initiating; Program switching, e.g. by interrupt
- G06F9/4806—Task transfer initiation or dispatching
- G06F9/4843—Task transfer initiation or dispatching by program, e.g. task dispatcher, supervisor, operating system
- G06F9/4881—Scheduling strategies for dispatcher, e.g. round robin, multi-level priority queues
-
- G—PHYSICS
- G06—COMPUTING OR CALCULATING; COUNTING
- G06Q—INFORMATION AND COMMUNICATION TECHNOLOGY [ICT] SPECIALLY ADAPTED FOR ADMINISTRATIVE, COMMERCIAL, FINANCIAL, MANAGERIAL OR SUPERVISORY PURPOSES; SYSTEMS OR METHODS SPECIALLY ADAPTED FOR ADMINISTRATIVE, COMMERCIAL, FINANCIAL, MANAGERIAL OR SUPERVISORY PURPOSES, NOT OTHERWISE PROVIDED FOR
- G06Q40/00—Finance; Insurance; Tax strategies; Processing of corporate or income taxes
- G06Q40/06—Asset management; Financial planning or analysis
-
- G06F2003/0692—
-
- G—PHYSICS
- G06—COMPUTING OR CALCULATING; COUNTING
- G06F—ELECTRIC DIGITAL DATA PROCESSING
- G06F3/00—Input arrangements for transferring data to be processed into a form capable of being handled by the computer; Output arrangements for transferring data from processing unit to output unit, e.g. interface arrangements
- G06F3/06—Digital input from, or digital output to, record carriers, e.g. RAID, emulated record carriers or networked record carriers
- G06F3/0601—Interfaces specially adapted for storage systems
-
- G—PHYSICS
- G06—COMPUTING OR CALCULATING; COUNTING
- G06F—ELECTRIC DIGITAL DATA PROCESSING
- G06F3/00—Input arrangements for transferring data to be processed into a form capable of being handled by the computer; Output arrangements for transferring data from processing unit to output unit, e.g. interface arrangements
- G06F3/06—Digital input from, or digital output to, record carriers, e.g. RAID, emulated record carriers or networked record carriers
- G06F3/0601—Interfaces specially adapted for storage systems
- G06F3/0602—Interfaces specially adapted for storage systems specifically adapted to achieve a particular effect
- G06F3/061—Improving I/O performance
-
- G—PHYSICS
- G06—COMPUTING OR CALCULATING; COUNTING
- G06F—ELECTRIC DIGITAL DATA PROCESSING
- G06F3/00—Input arrangements for transferring data to be processed into a form capable of being handled by the computer; Output arrangements for transferring data from processing unit to output unit, e.g. interface arrangements
- G06F3/06—Digital input from, or digital output to, record carriers, e.g. RAID, emulated record carriers or networked record carriers
- G06F3/0601—Interfaces specially adapted for storage systems
- G06F3/0628—Interfaces specially adapted for storage systems making use of a particular technique
- G06F3/0655—Vertical data movement, i.e. input-output transfer; data movement between one or more hosts and one or more storage devices
-
- G—PHYSICS
- G06—COMPUTING OR CALCULATING; COUNTING
- G06F—ELECTRIC DIGITAL DATA PROCESSING
- G06F3/00—Input arrangements for transferring data to be processed into a form capable of being handled by the computer; Output arrangements for transferring data from processing unit to output unit, e.g. interface arrangements
- G06F3/06—Digital input from, or digital output to, record carriers, e.g. RAID, emulated record carriers or networked record carriers
- G06F3/0601—Interfaces specially adapted for storage systems
- G06F3/0668—Interfaces specially adapted for storage systems adopting a particular infrastructure
- G06F3/067—Distributed or networked storage systems, e.g. storage area networks [SAN], network attached storage [NAS]
-
- G—PHYSICS
- G06—COMPUTING OR CALCULATING; COUNTING
- G06F—ELECTRIC DIGITAL DATA PROCESSING
- G06F3/00—Input arrangements for transferring data to be processed into a form capable of being handled by the computer; Output arrangements for transferring data from processing unit to output unit, e.g. interface arrangements
- G06F3/06—Digital input from, or digital output to, record carriers, e.g. RAID, emulated record carriers or networked record carriers
- G06F3/0601—Interfaces specially adapted for storage systems
- G06F3/0668—Interfaces specially adapted for storage systems adopting a particular infrastructure
- G06F3/0671—In-line storage system
- G06F3/0673—Single storage device
-
- G—PHYSICS
- G06—COMPUTING OR CALCULATING; COUNTING
- G06F—ELECTRIC DIGITAL DATA PROCESSING
- G06F3/00—Input arrangements for transferring data to be processed into a form capable of being handled by the computer; Output arrangements for transferring data from processing unit to output unit, e.g. interface arrangements
- G06F3/06—Digital input from, or digital output to, record carriers, e.g. RAID, emulated record carriers or networked record carriers
- G06F3/0601—Interfaces specially adapted for storage systems
- G06F3/0668—Interfaces specially adapted for storage systems adopting a particular infrastructure
- G06F3/0671—In-line storage system
- G06F3/0683—Plurality of storage devices
Definitions
- Indications are that the average database size and associated software support systems are growing at rates that are greater than the increase in processor performance (i.e., more than doubling roughly every 18 months). This is due to a number of factors including without limitation the desire to store more detailed information, to store information over longer periods of time, to merge databases from disparate organizations, and to deal with the large new databases which have arisen from emerging and important applications. For example, two emerging applications having large and rapidly growing databases are those connected with the genetics revolution and those associated with cataloging and accessing information on the Internet. In the case of the Internet, current industry estimates are that in excess of 1.5 million pages are added to the Internet each day. At the physical level this has been made possible by the remarkable growth in disk storage performance where magnetic storage density has been doubling every year or so for the past five years.
- Search and retrieval functions are more easily performed on information when it is indexed.
- information can be indexed by company name, stock symbol and price.
- the information being searched is of a type that is either hard to categorize or index or which falls into multiple categories.
- the accuracy of a search for information is only as good as the accuracy and comprehensiveness of the index created therefor.
- the information is not indexed.
- the bottleneck for indexing is the time taken to develop the reverse index needed to access web pages in reasonable time.
- searching engines available designing a search which will yield a manageable result is becoming increasingly difficult due to the large number of “hits” generated by less than a very detailed set of search instructions. For this reason, several “intelligent” search engines have been offered on the web, such as Google, which are intended to whittle down the search result using logic to eliminate presumed undesired “hits”.
- Associative memory devices for dealing with large databases are known in the prior art.
- these associative memory devices comprise peripheral memories for computers, computer networks, and the like, which operate asynchronously to the computer, network, etc. and provide increased efficiency for specialized searches.
- these memory devices can include certain limited decision-making logic as an aid to a main CPU in accessing the peripheral memory.
- An example of such an associative memory device particularly adapted for use with a rotating memory such as a high speed disk or drum can be found in U.S. Pat. No. 3,906,455, the disclosure of which is incorporated herein by reference.
- This particular device provides a scheme for use with a rotating memory and teaches that two passes over a memory sector is necessary to presort and then sort the memory prior to performing any logical operations thereon. Thus, this device is taught as not being suitable for use with any linear or serial memory such as magnetic tape or the like.
- Dixon performs fixed comparisons on a fixed number of bytes. They don't have the ability to scan and correlate arbitrarily over the data. They search serially along the tracks in a given disk cylinder but there is no provision for parallel searching across disks. Dixon's comparisons are limited by a fixed rigid number of standard logical operation types. Additionally, the circuitry presented supports only these single logical operations. There is no support for approximate or fuzzy matching.
- this necessarily requires that the accessing circuit process the memory according to the structure of the data stored. In other words, if the data is stored in octets, then the accessing circuitry must access the data in octets and process it in an incremental manner.
- This “start and stop” processing serves to increase the input/output time required to access data. As is also well known in the art, this input/output time typically represents the bottleneck and effective limitation of processing power in any computer or computer network.
- data reduction and classification operations e.g., the ability to summarize data in some aggregate form
- data reduction and classification operations e.g., the ability to summarize data in some aggregate form
- FPGA's may be quickly programmed in the field to optimize the search methodology using a template, the template having been prepared in advance and merely communicated to the FPGA's over a connecting bus. Should it then be desired to search using a different methodology, the FPGA's may then be quickly and conveniently re-programmed with another prepared template in a minimal number of clock cycles and the second search started immediately.
- FPGA's as the re-configurable logic, shifting from one search to another is quite easy and quick, relative to other types of re-programmable logic devices.
- a second aspect of speed is the amount of time, once programmed, that a search requires.
- FPGA's are hardware devices, searching is done at hardware processing speeds which is orders of magnitude faster than at software processing speeds as would be experienced with a microprocessor, for example.
- FPGA's are desirable over other software implementations where speed is a consideration as it most often is.
- the Ser. No. 10/153,151 application discloses that at least several “generic” templates can be prepared in advance and made available for use in performing text searching in either an absolute search, an approximate search, or a higher or advanced search mode incorporating a Boolean algebra logic capability, or a graphics search mode. These could then be stored in a CPU memory and be available either on command or loaded in automatically in response to a software queue indicating one of these searches.
- the invention of the Ser. No. 10/153,151 application may be described as a technique for data retrieval through approximate matching of a data key with a continuous reading of data as stored on a mass storage medium, using FPGA's to contain the template for the search and do the comparison, all in hardware and at essentially line speed.
- FPGA's By utilizing FPGA's, the many advantages and features commonly known are made available. These include the ability to arrange the FPGA's in a “pipeline” orientation, in a “parallel” orientation, or even in an array incorporating a complex web overlay of interconnecting data paths allowing for complex searching algorithms.
- the data key may be an analog signal and it is matched with an analog signal generated by a typical read/write device as it clews across the mass storage medium.
- the steps taught to be required in the prior art of not only reading the analog representation of digital data stored on the mass storage medium but also the conversion of that signal to its digital format prior to being compared are eliminated.
- the data be “framed” or compared utilizing the structure or format in which the data has been organized and stored.
- all that need be specified is the elapsed time of that signal which is used for comparison with a corresponding and continuously changing selected time portion of the “read” signal.
- the data “key” may then be approximately matched to the sliding “window” of data signal to determine a match.
- the same amount of data may be scanned much more quickly and data matching the search request may be determined much more quickly as well.
- CPU based approximate searches of 200 megabytes of DNA sequences can take up to 10 seconds on a typical present day “high end” system, assuming the offline processing to index the database has already been completed. In that same 10 seconds, the inventors have found that a 10-gigabyte disk could be searched for approximate matches using the present invention. This represents a 50:1 improvement in performance.
- a typical hard disk drive there are four surfaces and corresponding read/write heads, which may be all searched in parallel should each head be equipped with the present invention. As these searches can proceed in parallel, the total increase in speed or improvement represents a 200:1 advantage. Furthermore, additional hard disk drives may be accessed in parallel and scaled to further increase this speed advantage over conventional systems.
- the search may be conducted to exactly match the desired signal, or more importantly and perhaps more powerfully, the threshold may be lowered to provide for approximate matching searches.
- This is generally considered a more powerful search mode in that databases may be scanned to find “hits” which may be valid even though the data may be only approximately that which is being sought. This allows searching to find data that has been corrupted, incorrectly entered data, data which only generally corresponds to a category, as well as other kinds of data searches that are highly desired in many applications. For example, a library of DNA sequences may be desired to be searched and hits found which represent an approximate match to a desired sequence of residues.
- Still another application involves Internet searches provided by Internet search engines.
- approximate matching allows for misspelled words, differently spelled words, and other variations to be accommodated without defeating a search or requiring a combinatorial number of specialized searches.
- This technique permits a search engine to provide a greater number of hits for any given search and ensure that a greater number of relevant web pages are found and cataloged in the search.
- this approximate matching casts a wider net which produces a greater number of “hits” which itself creates its own problems.
- Still another possible application for this inventive technology is for accessing databases which may be enormous in size or which may be stored as analog representations.
- our society has seen the implementation of sound recording devices and their use in many forums including judicial proceedings.
- tape recordings made in the President's oval office have risen in importance with respect to impeachment hearings.
- tape recordings made over the years of a presidency can accumulate into a huge database which might require a number of persons to actually listen to them in order to find instances where particular words are spoken that might be of interest.
- an analog representation of that spoken word can be used as a key and sought to be matched while the database is scanned in a continuous manner and at rapid speed.
- the present and parent inventions provide a powerful search tool for massive analog databases as well as massive digital databases.
- While text-based searches are accommodated by the present and parent inventions as described above, storage media containing images, sound, and other representations have traditionally been more difficult to search than text.
- the present and parent inventions allow searching a large data base for the presence of such content or fragments thereof.
- the key in this case could be a row or quadrant of pixels that represent the image being sought. Approximate matching of the key's signal can then allow identification of matches or near matches to the key.
- differences in pixels or groups of pixels can be searched and noted as results which can be important for satellite imaging where comparisons between images of the same geographic location are of interest as indicative of movement of equipment or troops.
- the present and parent inventions may be embodied in any of several configurations, as is noted more particularly below.
- a disk drive accelerator which would be readily installed in any PC as an interface between the hard disk drive and the system bus.
- This disk drive accelerator could be provided with a set of standardized templates and would provide a “plug and play” solution for dramatically increasing the speed at which data could be accessed from the drive by the CPU. This would be an after market or retrofit device to be sold to the large installed base of PC's. It could also be provided as part of a new disk drive, packaged within the envelope of the drive case or enclosure for an external drive or provided as an additional plug in pc card as an adapter for an internal drive. Additional templates for various kinds of searches on various kinds of databases could be made available either with the purchase of the accelerator, such as by being encoded on a CD, or even over the Internet for download, as desired.
- the present invention extends the novel technological technology disclosed in the parent application Ser. Nos. 09/545,472 and 10/153,151 such that a programmable logic device (PLD) such as an FPGA performs any of a variety of additional processing operations including but not limited to operations such as encryption, decryption, compression, and decompression.
- PLD programmable logic device
- FPGA field-programmable gate array
- the term “manipulating” or “manipulation” refers to the performance of a search operation, a reduction operation, or a classification operation on data in combination with any or all of a compression operation, a decompression operation, an encryption operation, and a decryption operation also performed on the data, or the performance of a compression operation or a decompression operation on data alone or in combination with any or all of a search operation, a reduction operation, a classification operation, an encryption operation, and a decryption operation also performed on the data.
- the present invention provides flexibility to data owners in controlling who has access to their data, and speed in providing authorized users with access to that data (or targeted access to a portion of that data through scanning capabilities).
- compression and/or decompression allows data to be stored in a manner that takes up less space in the mass storage medium, while still retaining the ability to search through the data at high speeds.
- these manipulation operations when implemented with multiple stages, are implemented in a pipelined manner.
- the combination of one or more stages dedicated to encryption/decryption or compression/decompression with one or more stages dedicated to data searching or data reduction synergistically produces an intelligent, flexible, high speed, and secure design technique for data storage and retrieval.
- data is stored on the magnetic medium as a plurality of discontiguous arcs positioned on the magnetic medium, preferably in a helical or spiral pattern.
- a novel technique for storing data files in memory wherein a data file is stored using a sum of powers of 2 technique.
- the combination of data file storage using this sum of powers of 2 technique with the data processing capabilities of the re-configurable logic platform described herein also synergistically results in enhanced processing speeds.
- FIG. 1 is a block diagram illustrating an information search and retrieval system in accordance with one embodiment
- FIG. 2 is a schematic of a conventional rigid disk drive system illustrating different insertion points for connection of the inventive system
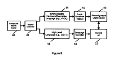
- FIG. 3 is a block diagram of one embodiment of the transformation of a search inquiry processed by the system of FIG. 1 ;
- FIG. 4 is a block diagram of one embodiment of a hardware implementation used to conduct an exact match search in a digital domain
- FIG. 5 is a block diagram of one embodiment of a hardware implementation used to conduct an approximate match search in a digital domain
- FIG. 6 is a block diagram depicting the implementation of the inventive system in a stand-alone configuration
- FIG. 7 is a block diagram depicting an inventive implementation as a shared remote mass storage device across a network
- FIG. 8 is a block diagram depicting an inventive implementation as a network attached storage device (NASD);
- NNASD network attached storage device
- FIG. 9 is a flowchart detailing the logical steps for searching and retrieving data from a magnetic storage medium
- FIG. 10 is a graphical representation of an analog signal as might be used as a data key
- FIG. 11 is a graphical representation of an analog signal representing the continuous reading of data from a magnetic storage medium in which the data key is present;
- FIG. 12 is a graphical representation of the signal of FIG. 10 overlying and matched to the signal of FIG. 11 ;
- FIG. 13 is a graphical representation of a correlation function calculated continuously as the target data in the magnetic storage medium is scanned and compared with the data key;
- FIG. 14 is a graphical representation of a correlation function as the data key is continuously compared with a signal taken from reading a different set of target data from the magnetic storage medium but which also contains the data key;
- FIG. 15 is one embodiment of a table generated by the present invention for use in performing sequence matching operations
- FIG. 16 is a block diagram of one embodiment of a systolic array architecture that can be used by the inventive system to compute the values of the table of FIG. 15 ;
- FIGS. 17 and 18 are block diagrams of the systolic array architecture of FIG. 15 in operation during the combinatorial and latch part of the clock cycle, respectively, of the system of FIG. 1 ;
- FIG. 19 is the table of FIG. 15 representing a particular sequence matching example
- FIG. 20 is a block diagram of the systolic array architecture of FIG. 16 for the example of FIG. 19 ;
- FIGS. 21 and 22 are block diagrams of the systolic array architecture of FIG. 20 in operation during the combinatorial and latch part of the clock cycle, respectively, of the system of FIG. 1 ;
- FIG. 23 is a block diagram of one embodiment of a systolic array architecture that can be used by the inventive system in performing image matching operations;
- FIG. 24 is a block diagram of another arrangement for the systolic array architecture in performing image matching operations
- FIG. 25 is a block diagram of one embodiment of an individual cell of the systolic array shown in FIG. 23 ;
- FIG. 26 is a block diagram of another embodiment of an individual cell of the systolic array shown in FIG. 23 ;
- FIG. 27 is a block diagram showing an example using the inventive system for performing data reduction operations.
- FIG. 28 is a block diagram showing a more complex arrangement of FPGA's
- FIGS. 29 and 30 illustrate exemplary embodiments for multi-stage processing pipelines implemented on a re-configurable logic device
- FIG. 31 illustrates an encryption engine implemented on a re-configurable logic device
- FIG. 32 illustrates another exemplary embodiment for a multi-stage processing pipeline implemented on a re-configurable logic device
- FIGS. 33-35 illustrate various encryption engines that can be implemented on re-configurable logic
- FIG. 36 illustrates a three party data warehousing scenario
- FIG. 37 illustrates a non-secure data warehousing decryption scenario
- FIGS. 38-39 ( b ) illustrate various exemplary embodiments for secure data delivery in a data warehousing scenario
- FIGS. 40-42 illustrate various exemplary embodiments for implementing compression and/or decompression on a re-configurable logic device
- FIG. 43 depicts a process flow for creating a template to be loaded onto a re-configurable logic device
- FIGS. 44( a ) and ( b ) illustrate a conventional hard disk using circular tracks and a disk drive system for use therewith;
- FIG. 45 illustrates a novel planar magnetic medium having discrete circular arcs arranged in a helical pattern
- FIG. 46 illustrates a head positioning flow for reading data from the magnetic medium of FIG. 45 ;
- FIGS. 47( a ) and ( b ) illustrate two embodiments of a sum of powers of 2 file system
- FIGS. 48-50 plot various performance characteristics for a sum of powers of 2 file system.
- the present invention is readily implemented in a stand-alone computer or computer system.
- the invention is comprised of at least one re-configurable logic device 21 coupled to at least one magnetic mass storage medium 26 , with that re-configurable logic device being an FPGA.
- the re-configurable logic device 21 may itself include a plurality of functional logic elements including a data shift register and possibly a microprocessor, or they could be on separate chips, or the individual logic elements could be configured in a pipeline or parallel orientation as shown in some of the other figures herein.
- re-configurable logic refers to any logic technology whose form and function can be significantly altered (i.e., reconfigured) in the field post-manufacture.
- re-configurable logic devices include without limitation programmable logic devices (PLDs).
- PLD programmable logic devices
- a PLD is an umbrella term for a variety of chips that are programmable. There are generally three physical structures for a PLD. The first is the permanent fuse type which blows apart lines or fuses them together by electrically melting an aluminum trace or insulator. This was the first type of PLD, known as a “programmable array logic” or PAL.
- the second type of PLD uses EEPROM or flash memory, and causes a transistor to open or close depending on the contents of its associated memory cell.
- the third type of PLD is RAM-based (which makes it dynamic and volatile), and its contents are loaded each time it starts up.
- An FPGA is an integrated circuit (IC) that contains an array of logic units that can be interconnected in an arbitrary manner. These logic units are referred to as CLB's or configurable logic blocks by one vendor (Xilinx). Both the specific function of each logic unit and the interconnections between logic units can be programmed in the field after manufacture of the IC.
- FPGAs are one of the most common PLD chips. FPGAs are available in all three structures. The box labeled in FIG.
- reconfigurable logic device 21 is meant to convey that not only can the task performed by reconfigurable logic device 20 be implemented in reconfigurable hardware logic, but the tasks of the data shift register 24 and/or control microprocessor 22 may also optionally be implemented in the reconfigurable hardware logic of reconfigurable logic device 21 .
- re-configurable logic device 21 is constructed using Xilinx FPGA technology, and its configuration is developed using the Mentor synthesis tools or Synplicity synthesis tools and the Xilinx place-and-route tools, all of which are presently commercially available as known to those of skill in the art.
- the re-configurable logic device 21 interfaces with the system or input/output bus 34 and, in one configuration, also interfaces with any disk caches 30 which may be present. It receives and processes search requests or inquires from the CPU 32 or network interface 36 . Additionally, the device may aid in passing the results of the inquiries to either or both the disk cache 30 and/or the CPU 32 (by way of the bus 34 ).
- the mass storage medium 26 provides the medium for storing large amounts of information which will hereafter be referred to as target data.
- the term “mass storage medium” should be understood as meaning any device used to store large amounts of data, and which is typically designated for use in a computer or computer network. Examples include without limitation hard disk drives, optical storage media, or sub-units such as a single disk surface, and these systems may be rotating, linear, serial, parallel, or various combinations of each.
- a rack of hard disk drive units could be connected in parallel and their parallel output provided at the transducer level to one or more re-configurable logic devices 21 .
- a bank of magnetic tape drives could be used, and their serial outputs each provided in parallel to one or more re-configurable logic devices 21 .
- the data stored on the medium may be in analog or in digital form.
- the data could be voice recordings.
- the invention is thus scalable, permitting an increase in the amount of data stored by increasing the number of parallel mass storage media, while preserving the performance by increasing the number of parallel re-configurable logic devices or replicating the re-configurable logic device.
- a disk controller 28 and/or a disk cache 30 may be used in the traditional sense for access by a CPU 32 over its system or input/output bus 34 .
- the re-configurable logic device 21 accesses target data in the mass storage medium 26 via one or more data shift registers 24 and presents it for use at the system bus 34 without moving large blocks of memory from the mass storage medium 26 over the system bus 34 and into the working memory 33 of CPU 32 for sorting and accessing.
- the CPU 32 may send a search request or inquiry to the re-configurable logic device 21 which then asynchronously accesses and sorts target data in the mass storage medium 26 and presents it for use either in a disk cache 30 as is known in the prior art or directly onto the system bus 34 without further processing being required by CPU 32 or use of its working memory 33 .
- the CPU 32 is thus free to perform other tasks while the searching and matching activity is being performed by the invention.
- the control microprocessor may provide the search inquiry and template or programming instructions for the FPGA 21 , and then perform the search and present the data on system bus 34 for access and use by CPU 32 .
- the invention may be used to perform a variety of different types of matching or data reduction operations on the target data. Each one of these operations will now be discussed in detail below. For all operations, however, it will be assumed that the target data is written onto the magnetic mass storage medium 26 with sufficient formatting information attached so that the logical structure of the target data can be extracted. Exact and approximate string matching will be described with reference to FIGS. 2-5 . It can be appreciated, however, that the invention is not limited to single string matches and is equally suitable for compound query matching (i.e., queries involving a plurality of text strings having a certain logical relationship therebetween or which use Boolean algebra logic). When performing an exact match with the re-configurable logic device 21 in the analog domain, shown as Point A in FIG.
- an exact match corresponds to setting a sufficiently high threshold value for matching the data key with analog target data on the mass storage medium 26 .
- Approximate matching in the analog domain corresponds to setting appropriate (lesser) threshold values.
- the success of an approximate match may be determined by the correlation value set in the re-configurable logic device 21 or by using one of a number of matching-performance metrics stored therein such as the number of bits within a data key that are equal to the corresponding bits in the scanned target data.
- a conventional rigid disk drive may have a plurality of rotating disks with multiple transducers accessing each disk.
- Each of these transducers typically has its output feeding analog signal circuitry 18 , such as amplifiers. This is represented at point A.
- analog signal circuitry 18 such as amplifiers.
- FIG. 2 typically the outputs of the analog circuitry are selectively provided to a single digital decoder 23 which then processes one such output. This is represented at point B.
- This digital output is typically then sent through error correction circuitry (ECC) 25 and at its output C is then passed on to the bus 34 or disk cache 30 .
- ECC error correction circuitry
- it may be desirable to provide multiple parallel paths for target data by providing multiple digital decoders and ECC's. Exact matching in the digital domain could be performed at Point B or Point C, which corresponds to the pre- and post-error-corrected digital signal, respectively.
- the results may be sent to a control microprocessor 22 , which may or may not be configured as part of an FPGA, to execute logic associated with a compound or complex search inquiry.
- a compound search inquiry 40 will go through the transformation process illustrated in FIG. 3 .
- the software system (not shown) that resides on the CPU 32 generates the search inquiry 40 .
- This inquiry proceeds through a compiler 42 , also located on the CPU 32 , that is responsible for analyzing the search inquiry.
- the resulting logic functions may correspond to exact or inexact matches or wildcard operations and simple word level logic operations such as “and” and “or.”
- This synthesis information is sent to the control microprocessor 22 which acts to set up the re-configurable logic device 21 , or FPGA.
- a high-level language 48 such as C or C++ is used in conjunction with a compiler 50 to generate the appropriate synthesis commands to the microprocessor 22 .
- the data shift register 27 contains target data streaming off the head (not shown) of one or more disks 19 .
- a compare register stores the data key for which the user wishes to match. In the example shown, the data key is “Bagdad.”
- Fine-grained comparison logic device 31 performs element by element comparisons between the elements of the data shift register 27 and the compare register 35 .
- the fine-grained comparison logic device 31 can be configured to be either case sensitive or case insensitive.
- Word-level comparison logic 37 is responsible for determining whether or not a match at the world-level occurs. In the case of a compound search inquiry, the word-level match signals are delivered to the control microprocessor 22 for evaluation thereof. A match to the compound search inquiry is then reported to the CPU 32 for further processing.
- FIG. 5 One embodiment of a hardware template for conducting approximate matching is illustrated in FIG. 5 .
- the data shift register 27 ′ contains target data streaming off the head (not shown) of one or more disks 19 ′.
- a compare register 35 ′ stores the data key for which the user wishes to match. In the example shown, the data key is again “Bagdad.”
- Fine-grained comparison logic 31 ′ performs element by element comparisons between the elements of the data shift register 27 ′ and the compare register 21 ′.
- the fine-grained comparison logic device 31 ′ can be configured to be either case sensitive or case insensitive.
- the template 29 ′ provides for alternate routing of elements in data shift register 27 ′ to individual cells of the fine-grained comparison logic device 21 ′.
- each cell of the fine-grained comparison logic device 31 ′ can match more than one position in the data shift register 27 ′ such that the compare register 21 ′ can match both the commonly used spelling of “Baghdad” as well as the alternate “Bagdad” in shared hardware.
- Word-level comparison logic 37 ′ is responsible for determining whether or not a match at the word level occurs. In the case of a compound search inquiry, the word-level match signals are delivered to the control microprocessor 22 for evaluation thereof. A match to the compound search inquiry is then reported to the CPU 32 for further processing.
- the actual configuration of the hardware template will of course vary with the search inquiry type.
- the hardware templates e.g., the target data stored in the compare registers, the routing of signals from the data shift registers and compare register elements to the cells of the fine-grained comparison logic device, and the width of the word-level comparison logic
- such a template can support a wide range of word matches. As a result, this diminishes the frequency with which the full search inquiry transformation represented in FIG. 3 must take place, which in turn, increases the speed of the search.
- the data entries identified in an “approximate” match search will include the “exact” hits that would result from an “exact” search.
- match when the word “match” is used, it should be understood that it includes a search or a data result found through either of an approximate search or an exact search.
- exact match or even just “approximate” is used, it should be understood that it could be either of the two searches described above as approximate searches, or for that matter any other kind of “fuzzy” search that has a big enough net to gather target data that are loosely related to the search inquiry or in particular, data key.
- an exact match is just that, and does not include any result other than an exact match of the search inquiry with a high degree of correlation.
- FIG. 1 Also shown in FIG. 1 is a network interface 36 interconnecting the present invention to a network 38 which may be a LAN, WAN, Internet, etc. and to which other computer systems 40 may be connected. With this arrangement, other computer systems 40 may conveniently also access the data stored on the mass storage medium 26 through the present invention 21 . More specific examples are given below. Still further as shown in FIG. 1 , the elements 20 - 24 may themselves be packaged together and form a disk drive accelerator that may be separately provided as a retrofit device for adapting existing pc's having their own disk drives with the advantages of the invention.
- the disk drive accelerator may also be offered as an option on a hard drive and packaged in the same enclosure for an external drive or provided as a separate pc board with connector interface for an internal drive. Still further alternatively, the disk drive accelerator may be offered as an option by pc suppliers as part of a pc ordered by a consumer, business or other end user. Still another embodiment could be that of being offered as part of a larger magnetic mass storage medium, or as an upgrade or retrofit kit for those applications or existing installations where the increased data handling capability could be used to good advantage.
- the invention may be implemented in a variety of computer and network configurations. As shown in FIG. 6 , the invention may be provided as part of a stand-alone computer system 41 comprising a CPU 43 connected to a system bus 45 which then accesses a mass storage medium 47 having the invention as disclosed herein.
- the mass storage medium 51 coupled with the invention may be itself connected directly to a network 52 over which a plurality of independent computers or CPU's 54 may then access the mass storage medium 51 .
- the mass storage medium 51 may itself be comprised of a bank of hard disk drives comprising a RAID, disk farm, or some other massively parallel memory device configuration to provide access and approximate matching capabilities to enormous amounts of data at significantly reduced access times.
- a mass storage medium 56 coupled with the invention may be connected to a network 58 as a network attached storage device (NASD) such that over the network 58 a plurality of stand-alone computers 60 may have access thereto.
- NASH network attached storage device
- each mass storage medium represented for illustrative purposes only as a disk 57 , would be accessible from any processor connected to the network.
- One such configuration would include assigning a unique IP address or other network address to each mass storage medium.
- FIGS. 1 and 6-8 represent only examples of the various computer and network configurations with which the invention would be compatible and highly useful. Others would be apparent to those having skill in the art and the present invention is not intended to be limited through the examples as shown herein which are meant to be instead illustrative of the versatility of the present invention.
- a CPU performs certain functions during which it may choose to access target data stored in a mass storage medium.
- the CPU runs a search inquiry application 62 which may be representative of a DNA search, an Internet search, an analog voice search, a fingerprint search, an image search, or some other such search during which an exact or approximate match to target data is desired.
- the search inquiry contains directives specifying various parameters which the disk control unit 28 and the re-configurable logic device 20 must have to properly obtain the data key from the mass storage medium 26 .
- parameters include but are not limited to the following: the starting location for scanning the storage device; the final location after which (if there is not match) scanning is terminated; the data key to be used in the scanning; a specification of the approximate nature of the matching; and what information should be returned when a match occurs.
- the sort of information that can be returned includes the address of the information where the match was found, or a sector, record, portion of record or other data aggregate which contains the matched information.
- the data aggregate may also be dynamically specified in that the data returned on a match may be specified to be between bounding data specifiers with the matched data contained within the bounding field. As the example in FIG.
- the search inquiry will typically result in the execution of one or more operating system utilities.
- a higher level utility command for the UNIX operating system, this could be modified versions of glimpse, find, grep, apropos, etc.
- commands 66 such as search, approximate search, etc.
- relevant portions of these commands also being sent to the disk controller 28 to, for example, initiate any mass storage medium positioning activity 69 that is later required for properly reading target data from the mass storage medium.
- an analog or digital data key is determined.
- This data key which can be either exact or approximate for a text search, corresponds to the data being searched for.
- it may either be pre-stored such as in the mass storage medium, developed using dedicated circuitry, or required to be generated.
- a send pre-stored data key step 68 would be performed by the microprocessor 22 (see FIG. 1 ) which would transmit the data key in digital and sampled format to the re-configurable logic device 20 as shown in step 70 .
- the analog data key can be developed using one of a number of mechanisms, two of which are shown in FIG. 9 .
- the microprocessor 22 would write the data key on the magnetic mass storage medium as at step 72 and then next read the data key as at step 74 in order to generate an analog signal representation of the data key.
- the digital version of the data key received from the CPU would be converted using appropriate digital to analog circuitry to an analog signal representation which would in turn be appropriately sampled.
- the data key would then next be stored as a digital sample thereof as in step 70 .
- the microprocessor 22 store the digital data key as at step 76 in the compare register of the re-configurable logic device. It should be understood that depending upon the particular structures desired to be included for each re-configurable logic device, the data key may reside in either or all of these components, it merely being preferable to ultimately get the appropriate digital format for the data key into the re-configurable logic device 21 for comparison and correlation.
- the target data stored on the mass storage medium is continuously read as at step 78 to generate a continuous stream signal representative of the target data. Should an analog data key have been used, this analog data key may then be correlated with an analog read of the target data from the mass storage medium 26 as at step 80 .
- this analog signal generated from reading the target data from mass storage medium 26 may be conveniently generated by devices in the prior art from the reading of either analog or digital data, it not being necessary that a digital data key be used to match digital target data as stored in mass storage medium 26 .
- a correlation step 82 may be performed by matching the digital data key with a stream of digital target data as read from the mass storage medium 26 .
- the data key may reflect the inclusion of approximate information or the re-configurable logic device 21 may be programmed to allow for same. Thus, correlating this with target data read from the mass storage medium enables approximate matching capabilities.
- decision logic 84 next makes an intelligent decision as to whether a portion of the target data approximately matches or does not approximately match the data key. Should a match be found, then the target data is processed as at step 86 and the key data requested by the search inquiry is sent to a disk cache 30 , directly onto system bus 34 , or otherwise buffered or made available to a CPU 32 , network interface 36 , or otherwise as shown in FIGS. 1, and 6-8 .
- a logical step 88 is preferably included for returning to the continuous reading of target data from the mass storage medium 26 , indicating something like a “do” loop.
- target data is processed from the mass storage medium 26 as a stream and not in individualized chunks, frames, bytes, or other predetermined portions of data. While this is not precluded, the present invention preferably allows a data key to be in essence “slid” over a continuously varying target data read signal such that there is no hesitation in reading target data from the mass storage medium 26 . There is no requirement to synchronize reading to the start or end of any multi-bit data structure, or any other intermediate steps required to be performed as the target data is compared continuously “on the fly” as it is read from the mass storage medium 26 . Eventually, the data access is completed as at step 90 and the process completed.
- FIG. 10 is a graphical representation of a measured analog signal output from a read/write head as the read/write head reads a magnetic medium on which is stored a 10-bit digital data key.
- FIG. 10 there are peaks in the analog signal which, as known in the art, represents the true analog signal generated by a read/write head as target data is read from a magnetic medium such as a hard disk.
- the scales shown in FIG. 10 are volts along the vertical axis and tenths of microseconds along the horizontal axis.
- an analog signal is generated, again by a read/write head, as target data is read from a pseudo-random binary sequence stored in a test portion of a magnetic medium. The read signal does not provide an ideal square wave output when examined at this level.
- FIG. 12 is a graphical representation, with the horizontal scale expanded, to more specifically illustrate the overlap between approximately two bits of the 8-bit data key and the corresponding two bits of target data found in the pseudo-random binary sequence encoded at a different location on the disk or magnetic medium.
- FIG. 13 is a graphical representation of a correlation coefficient calculated continuously as the comparison is made between the data key and the continuous reading of target data from the hard disk.
- This correlation coefficient is calculated by sampling the analog signals at a high rate and using prior art signal processing correlation techniques.
- One such example may be found in Spatial Noise Phenomena of Longitudinal Magnetic Recording Media by Hoinville, Indeck and Muller, IEEE Transactions on Magnetics, Volume 28, no. 6, November 1992, the disclosure of which is incorporated herein by reference.
- a prior example of a reading, comparison, and coefficient calculation method and apparatus may be found in one or more of one of the co-inventor's prior patents, such as U.S. Pat. No. 5,740,244, the disclosure of which is incorporated herein by reference.
- the foregoing represent examples of devices and methods which may be used to implement the present invention, however, as mentioned elsewhere herein, other similar devices and methods may be likewise used and the purposes of the invention fulfilled.
- FIG. 13 As shown in FIG. 13 , at approximately the point labeled 325 , a distinct peak is noted at approximately 200 microseconds which approaches 1 Volt, indicating a very close match between the data key and the target data.
- FIG. 10 is also illustrative of the opportunity for approximate matching which is believed to be a powerful aspect of the invention. Looking closely at FIG. 13 , it is noted that there are other lesser peaks that appear in the correlation coefficient. Thus, if a threshold of 0.4 Volts were established as a decision point, then not only the peak occurring which approaches 1 would indicate a match or “hit” but also another five peaks would be indicative of a “hit”. In this manner, a desired coefficient value may be adjusted or predetermined as desired to suit particular search parameters. For example, when searching for a particular word in a large body of text, lower correlation values may indicate the word is present but misspelled.
- FIG. 14 depicts the continuous calculation of a correlation coefficient between the same 8-bit data key but with a different target data set. Again, a single match is picked up at approximately 200 microseconds where the peak approaches 1 Volt. It is also noted that should a lower threshold be established additional hits would also be located in the target data.
- a table 38 is generated by the re-configurable logic device 20 to conduct such a search.
- p 1 p 2 p 3 p 4 represents the data key, p, or desired sequence to be searched. While the data key of FIG. 15 only shows four characters, this is for illustrative purposes only and it should be appreciated that a typical data key size for sequence searching is on the order of 500-1000, or even higher.
- the symbols t 1 , t 2 , t 3 . . . t 9 represent the target data, t, streaming off of the mass storage medium 26 .
- the symbols d i,j represent the edit distance at position i in the data key and position j in the target data. It is assumed that the data key is shorter relative to the target data, although it is not required to be so. There may be a set of known (constant) values for an additional row (d0,j) and column (di,0) not shown in FIG. 15 .
- di,j The values for di,j are computed by the re-configurable logic device 20 using the fact that di,j is only a function of the following characters: (1) pi, (2) tj, (3) di ⁇ 1,j ⁇ 1, (4) di ⁇ 1,j, and (5) di,j ⁇ 1. This is illustrated in FIG. 15 with respect to the position d3,6 by showing its dependency on the values of d2,5 and d2,6 and d3,5 as well as p3 and t6. In one embodiment, the values for di,j are computed as follows:
- di,j max[ di,j ⁇ 1+ A;di ⁇ 1, j+A;di ⁇ 1, j ⁇ 1+ Bi,j],
- A is a constant and Bi,j is a tabular function of pi and tj.
- the form of the function can be quite arbitrary.
- B is referred to as the scoring function.
- the value of B is dependent upon the specific characters in p and t.
- FIG. 16 shows one embodiment of a systolic array architecture used by the invention to compute the values in the table 38 of FIG. 15 .
- the characters of the data key are stored in the column of data registers 53 , while the characters of the target data streaming off of the mass storage medium 26 are stored in the data shift registers 55 .
- the values of di,j are stored in the systolic cells 59 which themselves are preferably FPGA's.
- FIGS. 17 and 18 The operation of the array of FIG. 16 will now be illustrated using FIGS. 17 and 18 .
- the four underlined values are computed in the first (i.e., combinational) part of the clock cycle of the system.
- the new value d3,6 is shown to depend upon the same five values illustrated earlier in FIG. 15 .
- the second (i.e., latch) part of the clock cycle all the characters in di,j and tj are shifted one position to the right.
- a comparator 61 is positioned at each diagonal cell of the d array and determines when the threshold has been exceeded.
- the table of FIG. 19 is generated by the re-configurable logic device 20 . Assuming a pre-determined threshold of “8”, the re-configurable logic device 20 will recognize a match at d6,9.
- a portion of the synthesis arrays representing the values present in FIGS. 16-18 for this example are shown in FIGS. 20-22 , respectively.
- a match is identified by the re-configurable logic device 20 when the value on any row exceeds a predetermined threshold.
- the threshold is set based on the desired degree of similarity desired between the data key and the target data stored in mass memory device 26 . For example, in the case of an exact match search, the data key and target data must be identical.
- the match is then examined by the CPU 32 via a traceback operation with the table of FIG. 19 . Specifically a “snapshot” of the table is sent to the CPU 32 at a predetermined time interval to assist in traceback operations once a match is identified.
- the interval is preferably not too often to overburden the CPU 32 , but not so infrequent that it takes a lot of time and processing to recreate the table.
- the CPU 32 To enable the CPU 32 to perform the traceback operation, it must be able to recreate the d array in the area surrounding the entry in the table that exceeded the threshold.
- the systolic array can periodically output the values of a complete column of d (“a snapshot”) to the CPU 32 . This will enable the CPU 32 to recreate any required portion of d greater than the index j of the snapshot.
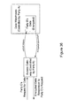
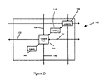
- FIG. 23 illustrates a systolic array 120 of re-configurable logic devices 20 , preferably FPGA's, which enables matches on two dimensional data.
- the individual cells 122 each hold one pixel of the image for which the user is desiring to match (the image key) and one pixel of the image being searched (the target image).
- the image key For images of sufficiently large size, it is likely they will not all fit into one re-configurable logic chip 124 .
- a candidate partitioning of cells to chips is shown with the dashed lines, placing a rectangular subarray of cells in each chip 124 .
- the number of chip-to-chip connections can be minimized by using a subarray that is square (i.e., same number of cells in the vertical and horizontal dimension). Other more complicated arrangements are shown below.
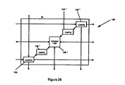
- FIG. 24 Loading of the target image into the array 120 is explained using FIG. 24 .
- Individual rows of each target image streaming off the mass magnetic medium 26 shown generally as point A, into the top row 130 of the array via the horizontal links 134 connecting each cell.
- the top row 130 operates as a data shift register.
- the row is shifted down to the next row 132 via the vertical links 136 shown in each column.
- a comparison operation is performed, which might require arbitrary communication between neighboring cells. This is supported by both the horizontal and vertical bi-directional links 126 and 128 , respectively, shown in FIG. 23 .
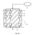
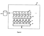
- FIG. 28 shows the flexibility for implementing a much more complex set of bi-directional links.
- data may be communicated from a mass storage medium 180 and be input to a first row of a plurality of cells 182 , with each cell of the first row having a direct link to the corresponding cell 184 below it in a second row of cells with a simple link 186 , and so on throughout the array 188 of cells.
- a connector web 190 Overlying the array 188 of cells is a connector web 190 which provides direct connectivity between any two cells within the array without the need for transmission through any intervening cell.
- each cell in the array may be comprised of an FPGA, each one of which preferably has a re-configurable logic element corresponding to element 20 in FIG. 1 , or any one of which may have a re-configurable logic element 20 as well as a data shift register 24 , or any one of which may have the entirety of re-configurable logic device 21 .
- the cell 140 includes a pixel register 142 , LOADTi,j, which contains the pixels of the target image currently being loaded into the array.
- a register, 144 CMPTi,j contains a copy of the pixel register 142 once the complete target image has been loaded. This configuration enables the last target image loaded to be compared in parallel with the next target image being loaded, essentially establishing a pipelined sequence of load, compare, load, compare, etc.
- a register 146 , CMPPi,j contains the pixels of the image key to be used for comparison purposes, and the compare logic 148 performs the matching operation between register 144 and register 146 .
- the compare logic 148 may include the ability to communicate with the neighboring cells to the left, right, up, and down shown generally as 150 , 152 , 154 , and 156 , respectively, to allow for complex matching functions.
- FIG. 26 Another embodiment for the individual cells of array 120 of FIG. 23 is illustrated in FIG. 26 .
- the cell 140 of FIG. 25 has been augmented to support simultaneous loading of the image key and the target image.
- the cell 160 includes the same components of the cell 140 , but adds a new register 162 , LOADPi,j, which is used to load the image key, and is operated in the same manner as register 142 .
- LOADPi,j LOADPi,j
- the operation performed within the compare logic block can be any function that provides a judgment as to whether or not there are significant differences between the target image and the image key.
- An example includes cross-correlations across the entire image or sub-regions of the image as described in John C. Russ, The Image Processing Handbook, 3 rd edition, CRC Press 1999 , which is incorporated herein by reference.
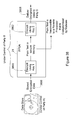
- the invention is also capable of performing data reduction searching.
- Such searching involves matching as previously described herein, but includes summarizing the matched data in some aggregate form.
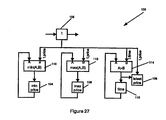
- a re-configurable logic device for computing such aggregate data reductions is illustrated as 100 in FIG. 27 .
- a data shift register 102 reads target data from a mass storage medium containing stock price information.
- three data reduction searches are shown, namely calculating the minimum price, the maximum price, and the latest price.
- decision logic computes the desired data reduction operation.
- the stock price is fed to a minimum price comparator 110 and maximum price comparator 112 and stored therein.
- comparator 110 Each time a stock price is fed to comparator 110 , it compares the last stored stock price to the stock price currently being fed to it and whichever is lower is stored in data register 104 .
- comparator 112 each time a stock price is fed to comparator 112 , it compares the last stored stock price to the stock price currently being fed to it and whichever is higher is stored in data register 106 .
- the stock price is fed into a data register 108 and the current time is fed into a comparator 114 .
- comparator 114 Each time a time value is fed into comparator 114 , it compares the last stored time with the current time and which ever is greater is stored in data register 116 . Then, at the end of the desired time interval for which a calculation is being made, the latest price is determined.
- data processing operations other than searching and reduction may also be implemented on the re-configurable logic device 21 .
- these operations are referred to herein as data manipulation operations.
- Examples of data manipulation operations or suboperations thereof that can be performed on a PLD 20 include encryption, decryption, compression, and decompression operations.
- the preferred PLD 20 is an FPGA, even more preferably, a Xilinx FPGA.
- any of these additional operations can be combined with searching and/or reduction operations in virtually any manner to form a multi-stage data processing pipeline that provides additional speed, flexibility, and security.
- the complexity of each operation is also virtually limitless, bounded only by the resources of the re-configurable logic device 21 and the performance requirements of a practitioner of the invention.
- Each processing operation can be implemented in a single stage or in multiple stages, as may be necessary.
- FIG. 29 illustrates a multi-stage data processing pipeline 200 implemented within a re-configurable logic device 21 for a system as shown in FIG. 1 .
- At least one stage in the pipeline 200 is implemented on a PLD.
- Each stage 202 of the pipeline 200 is configured to process the data it receives according to its intended functionality (e.g., compression, decompression, encryption, decryption, etc.), and thereafter pass the processed data either to the next stage in the pipeline, back to a prior stage, or to the control processor 204 .
- the first stage 202 in the pipeline 200 operates on data streaming from a mass storage medium 26 and processes that data according to its functionality.
- the data processed by stage 1 is thereafter passed to stage 2 for further processing, and so on, until stage N is reached.
- the result(s) of that processing can be forwarded to the control processor 204 and/or the computer over system bus 34 .
- This exemplary pipeline 200 of FIG. 29 can also be replicated so that a separate pipeline 200 is associated with each head on a disk system of the mass storage medium 26 .
- Such a design would improve performance associated with performing parallel processing operations on multiple data streams as those streams are read out from the disk. If there are no other performance bottlenecks in the system, it is expected that throughput will increase linearly with the number of pipelines 200 employed.
- each stage need not necessarily be implemented on a PLD 20 within the re-configurable logic device 21 .
- some stages may be implemented in software on a processor (not shown) or dedicated hardware (not shown) accessible to the PLD 20 .
- the exact design of each stage and the decision to implement each stage on a PLD 20 , in software, or in dedicated hardware such as an ASIC, will be dependent upon the associated cost, performance, and resources constraints applicable to each practitioner's plans.
- pipelining entirely within a PLD 20 such as an FPGA, the processing throughput can be greatly increased.
- the increase in data throughput is directly proportional to the number of stages. Assuming no other bottlenecks, as mentioned above, then with N stages, one can expect a throughput increase of N.
- the multi-stage pipeline may also utilize feedback between stages, which may be desirable for certain operations (e.g., some encryption operations) to reduce implementation cost or increase efficiency.
- FIG. 30 illustrates an exemplary multistage pipeline 200 wherein the first four stages 202 comprise a decryption engine 210 .
- the decryption engine 210 in this example operates to receive encrypted and compressed data streaming from the mass storage medium 26 .
- the fifth stage 202 serves as a decompression engine to decompress the decrypted compressed data exiting the decryption engine 210 .
- the output of the decompression engine is thus a stream of decrypted and decompressed data that is ready to be processed by the stage 6 search engine.
- Control processor 204 controls each stage to ensure proper flow therethrough.
- the control processor 204 preferably sets up parameters associated with each pipeline stage (including, if appropriate, parameters for stages implemented in software).
- FIG. 31 depicts an example wherein a PLD is used as an encryption engine for data either flowing from the system bus 34 to the mass storage medium 26 or data flowing from the mass storage medium 26 to the system bus 34 .
- FIG. 32 depicts yet another exemplary pipeline wherein the pipeline 200 is comprised of multiple processing engines (each engine comprising one or more stages), each of which can be either activated by the control processor 204 such that the engine performs its recited task on the data it receives or deactivated by the control processor 204 such that is acts as a “pass through” for the data it receives. Activation/deactivation of the different engines will in turn depend on the functionality desired for the pipeline.
- the decryption engine 210 , decompression engine 214 , and search engine 218 can each be activated while the encryption engine 212 and compression engine 216 can each be deactivated.
- the compression engine 216 and the encryption engine 212 can be activated while the decryption engine 210 , the decompression engine 214 , and the search engine 218 are each deactivated.
- other activation/deactivation combinations can be used depending on the desired functionality for the pipeline 200 .
- Advanced encryption/decryption algorithms require a complex set of calculations. Depending on the particular algorithm employed, performing encryption/decryption at disk speed requires that one employ advanced techniques to keep up with the streaming data arriving at the encryption/decryption engine.
- the PLD-based architecture of the present invention supports the implementation of not only relatively simple encryption/decryption algorithms, but also complex ones. Virtually any known encryption/decryption technique can be used in the practice of the present invention, including but not limited to DES, Triple DES, AES, etc. See Chodowiec et al., “Fast Implementations of Secret-Key Block Ciphers Using Mixed Inter- and Outer-Round Pipelining”, Proceedings of International Symposium on FPGAs, pp.
- FIG. 33 illustrates an example of single stage encryption that can be implemented with the present invention.
- the data flow direction is top to bottom.
- a block of text (typically 64 or 128 bits) is loaded into input register 220 (by either control processor 204 or CPU 32 ).
- Combinational logic (CL) 224 computes the cipher round, with the results of the round being stored in output register 226 .
- the contents of output register 226 are fed back through feedback path 225 into the CL 224 through MUX 222 to compute subsequent rounds.
- the data in the output register is the encrypted block and is ready to be stored in the mass storage medium.
- This configuration can also be used as a single stage decryption engine as well, wherein the CL that computes the cipher is decryption logic rather than encryption logic.
- FIG. 34 depicts an example of a pipelined encryption engine wherein there is pipelining within the combinational logic of the round itself.
- Each CL 224 includes multiple intra-round pipeline registers 228 .
- the number of intra-round pipeline registers 228 used can be variable and need not be limited to two per CL.
- the loops represented by the feedback path 225 can be unrolled with multiple copies of the round CL 224 a , 224 b , . . . , each with an inter-round pipeline register 230 therebetween.
- the degree of unrolling i.e., number of round CLs 224
- the degree of unrolling is also flexible. Relative to the encryption engine of FIG. 33 , it should be noted that the engine of FIG. 34 will consume more resources on the PLD 20 , but will provide a higher data throughput.
- FIG. 35 illustrates an example of an encryption engine wherein the rounds are completely unrolled.
- the feedback paths 225 of FIGS. 33 and 34 are no longer necessary, and data can continuously flow from the input register 220 through the pipeline of CLs 224 (each including multiple intra-round pipeline registers 228 and separated by inter-round pipeline registers 230 ) to the output register 226 .
- this configuration provides the highest data throughput, but also requires the greatest amount of resources in the re-configurable logic.
- data is retained in a data warehouse, as shown in FIG. 36 .
- the person or entity who owns the data warehouse (the actual hardware and related database technology on which data resides) is often not the same person or entity who owns the actual data stored therein.
- Party A a data warehouser
- Party B a data owner who is to use Party A's data warehouse to physically store data
- the data owner has a legitimate concern about the third parties who may have access to the data stored in the data warehouser's warehouse. That is, the data warehouser controls physical access to the data, but it is the data owner who wants to control who may physically access the data through an access gateway, as shown in FIG. 36 .
- the data owner's data it is conventional for the data owner's data to be stored in the data warehouse in an encrypted format, and the data owner retains control over the distribution of any decryption algorithm(s) and/or key(s) for the stored data. That way, the risk of unauthorized third parties gaining access to the unencrypted format of the data owner's data is reduced.
- the data warehouser is not provided with access to an unencrypted version of the data owner's stored data.
- the data owner wishes to communicate all or a portion of its stored encrypted data from the data warehouse to Party C via a network such as the Internet, that data can be protected during delivery over the network via another form of encryption (e.g., different algorithm(s) and/or different decryption key(s)).
- the data owner can then provide Party C with the appropriate algorithm(s) and/or key(s) to decrypt the data.
- the data owner and the authorized third party are the only two parties who have access to the decrypted (plain text) data.
- the authorized third party will not be able to decrypt the data owner's data that is still stored in the data warehouse because that data will possess a different mode of encryption than the data received.
- the computations required to perform encryption/decryption in data warehousing scenarios are performed in software on computers owned and under the direct control of the data warehouser.
- the plain text that is the output of the decryption operation is stored in the main memory of the processor used to perform the encryption/decryption operations. If this software (or other software running on the processor) has been compromised by a virus or other malware, the data owner may lose control over the plain text data to an unknown party.
- one or both of the data warehouser and an unknown malware-related party has access to the processor main memory, and therefore access to the plain text form of the data owner's data.
- the present invention can be used to implement encryption and decryption on re-configurable logic device 21 (preferably within a PLD 20 ) over which only the data owner has control, as shown in FIG. 38 .
- a decryption engine 3800 using Key 1 and an encryption engine 3802 using Key 2 are implemented on a PLD 20 .
- the re-configurable logic device 21 remains under control of the data owner and preferably (although it need not be the case) communicates with the data store of the data warehouser over a network such as the Internet to receive a stream 3806 of the data owner's encrypted data (wherein the stored data was previously encrypted using Key 1).
- the decryption engine 3800 thus operates to decrypt the data stream 3806 using Key 1.
- the output 3804 of the decryption engine 3800 is the data owner's data in decrypted (or plain text) format. This data remains in the secure memory of the PLD 20 or the secure on-board memory. Because this secure memory is invisible and inaccessible to software which may have malware thereon, the risk of losing control over the plain text data to “hackers” is virtually eliminated.
- the plain text data 3804 is provided to encryption engine 3802 , which encrypts data 3806 using Key 2.
- the output of the encryption engine 3802 is newly encrypted data 3808 that can be delivered to an authorized third party data requester. Secure delivery of data 3808 over a network such as the Internet can be thus maintained. For the authorized third party data requester to interpret data 3808 , the data owner can provide that third party with Key 2.
- FIGS. 39( a ) and ( b ) illustrate embodiments for this feature of the present invention.
- FIG. 39( a ) illustrates a circuit board 3900 that could be installed in a computer server.
- PCI-X connector 3916 serves to interface the board 3900 with the server's system bus 34 (not shown).
- a PLD 20 such as an FPGA is implemented on board 3900 .
- three functions are preferably implemented: a firmware socket 3908 that provides connection with the external environment, a decryption engine 3904 , and an encryption engine 3902 .
- the FPGA preferably also communicates with on-board memory 3906 , which is connected only to the FPGA.
- a preferred memory device for on-board memory 3906 is an SRAM or a DRAM.
- the address space and existence of memory 3906 is visible only to the FPGA.
- the FPGA is also preferably connected to a disk controller 3912 (employing SCSI, Fiber Channel, or the like) via a private PCI-X bus 3910 .
- Disk connector 3914 preferably interfaces the disk controller 3912 with mass storage medium 26 (not shown) which can serve as the data warehouse.
- Disk controller 3912 and disk connector 3914 are off-the-shelf components, well known in the art. Examples of manufacturers include Adaptec and LSI.
- the FPGA is preferably configured as a PCI-X to PCI-X bridge that links the PCI-X connector 3916 with the internal PCI-X bus 3910 .
- These bridging operations are performed within firmware socket 3908 , the functionality of which is known in the art.
- Communication pathways other than PCI-X may be used, including but not limited to PCI-Express, PCI, Infiniband, and IP.
- data streaming into the board 3900 from the mass storage medium 26 is fed into the decryption engine 3904 .
- the plain text output of the decryption engine 3904 can be stored in on-board memory 3906 ( FIG. 39( a ) , stored in memory internal to the FPGA ( FIG. 39( b ) , or some combination of the two.
- the encryption engine 3902 encrypts the plain text data that is stored in memory 3906 , internal FPGA memory, or some combination of the two, using a different key than that used to decrypt the stored data.
- on-board memory 3906 or internal FPGA memory will depend upon a variety of considerations, including but not limited to the available FPGA resources, the volume of data to be decrypted/encrypted, the type of decryption/encryption employed, and the desired throughput performance characteristics.
- this plain text data is not accessible to a processor accessing motherboard bus 34 because there is no direct connection between memory 3906 or internal FPGA memory and the PCI-X connector 3916 . Accordingly, memory 3906 and the internal FPGA memory are not in the address space of such a processor, meaning, by derivation, that memory 3906 and the internal FPGA memory are not accessible by any malware that may be present on that processor.
- FIGS. 39( a ) and ( b ) may also optionally include a search engine (not shown) within the FPGA located between the decryption engine 3904 and encryption engine 3902 , thereby allowing the data owner to deliver targeted subsets of the stored data to the authorized third party data requester that fit within the boundaries of the third party's data request.
- a search engine not shown
- compression and decompression are also valuable operations that can be performed in a PLD in accordance with the techniques of the present invention. It is common to compress data prior to storage in a mass storage medium 26 (thereby conserving storage space), and then decompress that data when reading it from the mass storage medium for use by a processor. These conventional compression and decompression operations are typically performed in software.
- a compression technique that is prevalently used is the well-known Lempel-Ziv (LZ) compression. See Ziv et al., “A Universal Algorithm for Sequential Data Compression”, IEEE Trans. Inform. Theory, IT-23(3): 337-343 (1977); Ziv et al., “Compression of Individual Sequence via Variable Rate Coding”, IEEE Trans. Inform.
- the PLD-based architecture of the present invention supports the deployment of not only LZ compression but also other compression techniques. See Jung et al., “Efficient VLSI for Lempel-Ziv Compression in Wireless Data Communication Networks”, IEEE Trans. on VLSI Systems, 6(3): 475-483 (September 1998); Ranganathan et al., “High-speed VLSI design for Lempel-Ziv-based data compression”, IEEE Trans.
- compression techniques other than LZ compression include, but are not limited to, various lossless compression types such as Huffman encoding, dictionary techniques, and arithmetic compression, and various known lossy compression techniques.
- FIG. 40 illustrates this aspect of the present invention wherein a stream 4000 of compressed data is passed from the mass storage medium 26 to a re-configurable logic device 21 on which a decompression (expansion) engine 4002 and a search engine 4004 are implemented within a PLD 20 .
- FIG. 41 illustrates a preferred embodiment for this aspect of the invention. In FIG. 41 , the FPGA 20 of board 3900 depicted in FIGS.
- FIG. 42 illustrates a preferred implementation for a compression operation, wherein the FPGA 20 of board 3900 has a compression engine 4200 implemented thereon, thereby allowing data coming from system bus 34 to be stored in a compressed manner on mass storage medium 26 .
- the FPGA 20 of board 3900 can also be loaded with the decompression engine 4002 , search engine 4004 , and compression engine 4200 .
- the compression engine 4200 can be deactivated (thereby resulting in a combined decompression/search functionality) or the decompression engine 4002 and search engine 4004 can both be deactivated (thereby resulting in a compression functionality).
- code level logic 4300 for the desired processing engines that defines both the operation of the engines and their interaction with each other is created.
- This code preferably HDL source code
- This code can be created using standard programming languages and techniques.
- an HDL VHDL or Verilog can be used.
- a synthesis tool is used to convert the HDL source code 4300 into a gate level description 4304 for the processing engines.
- a preferred synthesis tool is the well-known Synplicity Pro software provided by Synplicity, and a preferred gate level description 4304 is an EDIF netlist.
- Synplicity Pro software provided by Synplicity
- a preferred gate level description 4304 is an EDIF netlist.
- other synthesis tools and gate level descriptions can be used.
- a place and route tool is used to convert the EDIF netlist 4304 into the template 4308 that is to be loaded into the FPGA 20 .
- a preferred place and route tool is the Xilinx ISE toolset that includes functionality for mapping, timing analysis, and output generation, as is known in the art. However, other place and route tools can be used in the practice of the present invention.
- the template 4308 is a bit configuration file that can be loaded into the FPGA 20 through the FPGA's Joint Test Access Group (JTAG) multipin interface, as is known in the art.
- JTAG Joint Test Access Group
- templates 4308 for different processing functionalities desired for the system can be pre-generated and stored for selective implementation on the FPGA.
- templates for different types of compression/decompression, different types of encryption/decryption, different types of search operations, different types of data reduction operations, or different combinations of the foregoing can be pre-generated and stored by a computer system for subsequent loading into the FPGA 20 when that functionality is needed.
- performance characteristics such as throughout and consumed chip resources can be pre-determined and associated with each processing operation. Using these associated parameters, an algorithm can be used to intelligently select which template is optimal for a particular desired functionality.
- Such an algorithm could provide guidance as to which of the encryption engines of FIGS. 33-35 is best suited for a given application.
- the table below presents parameters that can be used to model performance in accordance with the encryption/decryption operations of the invention.
- the chip resources for an FPGA are typically measured in CLBs or slices, as is well-known. With re-configurable logic other than FPGAs, the resources might be measured in other units (e.g., chip area). In either event, the resources required will be linear in the number of rounds supported in parallel. Hence, the chip resources required for the engine is as follows:
- the values for the parameters Throughput and Resources can be determined in advance for each stored processing operation (or function f i ) that may be implemented in a stage of a pipeline. Accordingly, a table can be created that relates each processing operation or function with its corresponding values for Throughput and Resources.
- a control processor 32 can compute the overall throughput and resources for a set of functions as follows.
- the throughput for a set of functions is the minimum throughput for each of the functions:
- the resources required to deploy a set of functions is the sum of the resources required for each of the functions:
- Resources Resources F1 +Resources F2 + . . . +Resources Fn
- the control processor can then solve an optimization problem (or if desired a “near optimization” problem).
- the optimization can be to deploy the set of options for each function that maximizes the overall throughput under the constraint that the required resources be less than or equal to the available resources on the re-configurable logic, or the optimization can be to deploy the set of options for each function that minimizes the required resources under the constraint the that overall throughput not fall below some specified minimum threshold.
- Techniques for solving such optimization problems or near optimization problems are well known in the art. Examples of such techniques include, but are not limited to complete enumeration, bounded search, genetic algorithms, greedy algorithms, simulated annealing, etc.
- the use of the inventive system to process data streaming from a mass storage medium such as a disk drive system is a powerful technique for processing stored data at high speeds.
- Very large databases typically span many disk cylinders. Accordingly, delays may be encountered when database files are written on tracks that have been placed on non-contiguous disk cylinders. These delays are associated with having to move the disk read/write head from its current position over a data cylinder to a new data cylinder where the file to be read from the disk continues. These delays increase as the distance that the head must travel increases. Therefore, for reading data that spans multiple data cylinders on the disk, the flow of the data stream from the disk will be interrupted as the head moves from cylinder to cylinder. With today's disk drives, these delays may be in the millisecond range. Thus, these head movement delays (known in the art as “seek” times) represent a potential performance bottleneck.
- FIG. 44( a ) illustrates a rotatable planar magnetic medium 4450 that serves as a storage device such as a computer hard disk, wherein data is placed on the magnetic medium 4450 in discrete, circular tracks 4400 .
- each track 4400 i wherein i may be a, b, c, . . . , is positioned at its own radius R i relative to the central origin 4406 .
- Each track is radially separated from the next inner track and the next outer track by a track-to-track spacing T.
- T is preferably uniform for each track-to-track radial distance. However, this need not be the case.
- the head 4404 For a head 4404 to read or write data from track 4400 i , the head 4404 must be positioned such that it resides over a point on the disk that is R i from the origin 4406 . As the disk rotates, the track will pass under the head to allow for a read or write operation.
- Disk drives typically utilize a direct overwrite approach, so accurate radial placement of the head 4404 over the medium 4450 is critical for sustained error free use.
- each circular track 4400 i is divided into about 150 roughly equal contiguous arcs.
- the arcs of different tracks 4400 that span the same angle ⁇ comprise a disk sector (or wedge) 4462 , as known in the art.
- These arcs 4460 contain several data sets 4464 (logical blocks and physical sectors) that can be altered (rewritten). Additionally, these arcs 4460 contain unalterable (fixed) magnetically written markings 4466 (such as ABCD servo bursts) that are used as a guide to place the head 4404 over the data regions so that the signal strength from the magnetic recording is maximized.
- unalterable (fixed) magnetically written markings 4466 such as ABCD servo bursts
- FIG. 44( b ) is a block diagram view of a disk drive system 4470 with a cross-sectional view of several disks 4450 residing in the drive system.
- many drives systems 4470 utilize both sides of a disk 4450 , and may include several disks 4450 (or platters) that are concentrically placed on a rotational device 4472 such as a spindle motor.
- a rotational device 4472 such as a spindle motor.
- each disk surface top surface 4452 and bottom surface 4454
- the collection of circular tracks 4400 accessed by the separate heads 4404 at a single radius R i is referred to as a “data cylinder” 4402 .
- a band of adjacent data cylinders is called a zone.
- the positioning system 4474 must appropriately move heads 4404 along line 4476 , typically in increments of T.
- the circumference of the written track increases.
- the circumference of innermost track 4400 a is 2 ⁇ R a
- the circumference of outermost track 4400 d is 2 ⁇ R d .
- R d is greater than R a
- it likewise follows that the circumference of track 4400 d is greater than that of track 4400 a .
- different zones may be defined to allow for different linear bit densities along the track, thereby yielding more data sectors around the cylinder 4402 for larger radii than those yielded by using roughly constant linear data densities.
- the head 4404 To write data spanning one or more tracks 4400 , the head 4404 must be repositioned by the positioning system 4474 to another radius by at least the center-to-center distance of adjacent tracks 4400 .
- This motion requires mechanical settling time (repositioning of the head 4404 ) and resynchronization time of the head 4404 to the cylinder 4402 (in time, downtrack).
- this settling time When moving the head a relatively long distance such as T, this settling time is significant. Together, these times may take, on average, half the revolution of the cylinder 4402 , which is typically several milliseconds when moving from cylinder to cylinder.
- this time duration is often referred to as the “seek” time, and it can be a major performance bottleneck. Due to this bottleneck, data write/read bursts are generally limited to single tracks or cylinders.
- a technique is used to reposition the head 4404 to accommodate tracks laid out as discontiguous arcs.
- these discontiguous arcs are discontiguous circular arcs arranged in a generally helical tracking pattern on the disk 4450 , and the head positioning system uses servo patterns, such as ABCD servo bursts, already present in conventional systems to appropriately position the head.
- This technique can provide for written bursts in excess of a track and up to an entire zone, wherein a single zone may encompass the entire disk. While other servo patterns are possible, and are not excluded from the scope of this feature of the invention, an example will be given using the conventional ABCD system for servo patterns.
- this novel and unique positioning method aims to position the head 4404 over a discrete arc 4500 in proportion to the angular position of the head 4404 around the disk 4450 , thereby accommodating a helical topology of the discontiguous arcs' magnetic pattern on the disk 4450 .
- each wedge 4462 spans an angle of 2 ⁇ /W.
- W is the total number of wedges 4462 that pass the head 4404 in a single revolution of the disk.
- the head (not shown) can be positioned at any point along the x-axis to the left of origin 4406 .
- Each wedge 4462 can be assigned a wedge number w, wherein w can be any integer 1 through W.
- the radial displacement of the head 4404 will be incremented an amount in proportion to the wedge number, w, by the linear ratio (w/W)*T, where T is the conventional track-to-track (or cylinder-to-cylinder) distance or some other distance.
- data will be written on the surface of disk 4450 in a piece-wise fashion, preferably a piece-wise helical fashion defined by a plurality of discontiguous circular arcs 4500 .
- the head 4404 will be positioned to encounter W discontiguous circular arcs 4500 , each circular arc 4500 spanning an angle of 2 ⁇ /W.
- W is equal to 4.
- each discontiguous arc 4500 i will possess a circumference of 2 ⁇ R i /W.
- the radius R i for each arc 4500 i is preferably T/W greater than that of arc 4500 i ⁇ 1 and is preferably T/W less than that of arc 4500 i+1 .
- the head 4404 will effectively move a distance equal to the conventional adjacent track-to-track distance T.
- the plurality of discrete circular arcs 4500 define a generally helical or spiral pattern on the disk 4450 .
- each radius R i can have its own W value.
- the discontiguous arcs 4500 may have different circumferences and may span multiple angles from the origin.
- Each discontiguous arc 4500 will include an ABCD servo pattern thereon like that shown in FIG. 44( a ) for a contiguous arc to ensure proper movement of the head 4404 from one arc 4500 to the next.
- Conventional servo systems have sufficient bandwidth to step heads 4404 by these small amounts of T/W.
- the read/write head 4404 is initially placed at position d 0 relative to central origin 4406 for the disk of FIG. 45 .
- This initial position can be R 1 , the radial distance of the innermost arc 4500 1 .
- the radial displacement D of the head 4404 will be positioned relative to d 0 by an amount proportional to the wedge number w as follows:
- T is the conventional track-to-track (or cylinder-to-cylinder) distance.
- the head 4404 will have radially moved exactly one full track-to-track distance T.
- the head 4404 will have radially moved exactly 2T.
- FIG. 46 illustrates the process by which a disk drive system 4470 operates to read data from a disk 4450 in accordance with this feature of the preferred embodiment.
- the system senses the portion of the disk over which the head resides. Preferably, this step is achieved at least in part by sensing a servo pattern and reading a sector ID written on the disk, as is known in the art.
- the head is repositioned to D as each new disk wedge 4502 is encountered by the head.
- the head position is fine-tuned using the servo pattern on the arc 4500 .
- the data is read from the disk at step 4606 . The process then returns to step 4600 as the disk continues to spin.
- This feature of the invention allows for the seamless and continuous operation of the head in read or write mode over an entire zone, thus permitting the reading or writing of an entire disk without incurring the delays associated with normal seek times.
- a searching/processing system can operate more efficiently, without being stalled by seek time delays.
- this feature of the invention need not be used in combination with the searching/processing techniques described above. That is, this technique of using a helical pattern to read and write data to and from magnetic data storage disks can be used independently of the above-described searching and processing features.
- each file is divided into one or more segments, wherein each segment is a power of 2.
- each file that is not sized as an even power of 2 is represented as the sum of a series of power of 2 segments.
- this technique for segmenting a file into blocks of memory comprises: (1) if the file size is an even power of 2, requesting a block of storage space on the storage medium equal to the file size, (2) if the file size is not an even power of 2, requesting a plurality of blocks of storage space on the storage medium, each block having a size that is equal to a power of 2, and (3) if the request is accepted, storing the data file in a storage medium such as on a disk or in memory as one or more data file segments in accordance with the request.
- the file size F can be thought of in binary terms as F equals F k . . . F 2 F 1 .
- requesting blocks in storage comprises requesting a total number n of blocks B 1 , . . . , B n equal to a total number of bits in F equal to 1, each block B i corresponding to a different bit F i in F equal to 1 and having a size of 2 i .
- FIG. 47( a ) illustrates an example of this process for a file size F of 2500 bytes.
- the preferred sum of powers of 2 technique results in segment sizes of 2048 bytes (2 12 ), 256 bytes (2 9 ), 128 bytes (2 8 ), 64 bytes (2 7 ) and 4 bytes (2 2 ).
- the minimum segment size can be 512 bytes (2 9 ) (thus m is 2). With this technique, when a minimum segment size is used, dividing a file into a sum of powers of 2 size will result in the smallest segment being at least equal to the minimum segment size.
- FIG. 47( b ) illustrates a preferred implementation of this minimum segment feature, wherein the file size S is 2500 bytes. With this technique, it can be seen that the segment sizes will be 2048 bytes (2 12 ), 512 bytes (2 10 ).
- F i in F m ⁇ 1 through F 1 is equal to 1
- F becomes rounded up to a new value R (which can be represented in binary as R q . . . R 2 R 1 ).
- the value of R is chosen as the minimum value greater than F for which the bits R m ⁇ 1 through R 1 are all equal to zero.
- FIG. 48 shows the wasted space due to internal fragmentation in a buddy file system versus a usual (conventional) system and a sum of powers of 2 file system.
- FIG. 49 compares the total number of segments, for an entire file, according to a usual file system and the sum of powers of 2 file system. When the minimum segment size is small, the sum of powers of 2 system produces significantly fewer segments than the usual mechanism.
- FIG. 50 shows the minimum, average and maximum number of segments per file according to both file systems. Here again, the sum of powers of 2 file system dominates and creates a low number of segments. In other words, the sum of powers of 2 file system leads to more contiguous files.
- the sum of powers of 2 file system is a good trade off between the buddy system (where there is a lot of internal fragmentation) and the usual file system (where there is less internal fragmentation but potentially poor contiguity).
- a defragmentation algorithm be used with the sum of powers of 2 file system to more greatly ensure contiguous space on the disk for an allocation request. If a contiguous allocation cannot be satisfied, the defragmentation algorithm tries to free space so as to satisfy the allocation request. This defragmentation algorithm does not defragment the entire disk. Instead, it incrementally defragments a portion of the disk to enable the new allocation request to be satisfied in an incremental manner.
- a preferred defragmentation algorithm for use with the sum of powers of 2 file system is disclosed on pages 26-30 of the paper Cholleti, Sharath, “Storage Allocation in Bounded Time”, MS Thesis, Dept. of Computer Science and Engineering, Washington University, St. Louis, Mo. (December 2002), available as Washington University technical report WUCSE-2003-2, the entire disclosure of which is incorporated herein by reference.
- Relocate(S, A) subBlocks FindSubBlocks(S, A); for each SB ⁇ subBlocks Deallocate(SB), ⁇ SB ⁇ subBlocks 5.
- Deallocate(extId) find address A of bock extId and size S; free the block; UpdateHeapManager(S, A, “deallocation”); 6.
Landscapes
- Engineering & Computer Science (AREA)
- Theoretical Computer Science (AREA)
- Physics & Mathematics (AREA)
- General Physics & Mathematics (AREA)
- General Engineering & Computer Science (AREA)
- Software Systems (AREA)
- Computer Hardware Design (AREA)
- Computer Security & Cryptography (AREA)
- Business, Economics & Management (AREA)
- Mathematical Physics (AREA)
- Human Computer Interaction (AREA)
- Development Economics (AREA)
- Finance (AREA)
- Accounting & Taxation (AREA)
- Databases & Information Systems (AREA)
- Data Mining & Analysis (AREA)
- Microelectronics & Electronic Packaging (AREA)
- Economics (AREA)
- Strategic Management (AREA)
- Game Theory and Decision Science (AREA)
- Human Resources & Organizations (AREA)
- Operations Research (AREA)
- General Health & Medical Sciences (AREA)
- Marketing (AREA)
- Entrepreneurship & Innovation (AREA)
- Technology Law (AREA)
- General Business, Economics & Management (AREA)
- Health & Medical Sciences (AREA)
- Bioethics (AREA)
- Computational Linguistics (AREA)
- Information Retrieval, Db Structures And Fs Structures Therefor (AREA)
- Storage Device Security (AREA)
- Signal Processing For Digital Recording And Reproducing (AREA)
Abstract
Description
- This application is a continuation of patent application Ser. No. 14/929,791, filed Nov. 2, 2015, entitled “Intelligent Data Storage and Processing Using FPGA Devices”, now U.S. Ser. No. ______, which is a continuation of patent application Ser. No. 14/315,560, filed Jun. 26, 2014, entitled “Intelligent Data Storage and Processing Using FPGA Devices”, now U.S. Pat. No. 9,176,775, which is a continuation of patent application Ser. No. 13/344,986, filed Jan. 6, 2012, entitled “Intelligent Data Storage and Processing Using FPGA Devices”, now U.S. Pat. No. 8,768,888, which is a continuation of patent application Ser. No. 10/550,323, entitled “Intelligent Data Storage and Processing Using FPGA Devices”, now U.S. Pat. No. 8,095,508, which is a national stage entry of PCT patent application PCT/US04/16398, entitled “Intelligent Data Storage and Processing Using FPGA Devices”, filed May 21, 2004, which claims the benefit of provisional patent application Ser. No. 60/473,077 entitled “Intelligent Data Storage and Processing”, filed May 23, 2003, the entire disclosures of each of which are incorporated herein by reference.
- This application is related to patent application Ser. No. 13/165,155 and patent application Ser. No. 10/550,326, both entitled “Intelligent Data Storage and Processing Using FPGA Devices”, where the Ser. No. 13/165,155 patent application is a divisional of the Ser. No. 10/550,326 patent application and where the Ser. No. 10/550,326 patent application is a national stage entry of PCT patent application PCT/US04/16021, entitled “Intelligent Data Storage and Processing Using FPGA Devices”, filed May 21, 2004, which claims the benefit of provisional patent application Ser. No. 60/473,077 entitled “Intelligent Data Storage and Processing”, filed May 23, 2003.
- This application is also related to patent application Ser. No. 10/153,151 entitled “Associative Database Scanning and Information Retrieval Using FPGA Devices”, filed May 21, 2002, now U.S. Pat. No. 7,139,743, which is a continuation-in-part of patent application Ser. No. 09/545,472 entitled “Associative Database Scanning and Information Retrieval”, filed Apr. 7, 2000, now U.S. Pat. No. 6,711,558, the entire disclosures of both of which are incorporated herein by reference.
- This patent application is also related to patent application Serial No. 345,011, entitled “Intelligent Data Storage and Processing Using FPGA Devices”, filed Jan. 6, 2012, now U.S. Pat. No. 8,751,452.
- Indications are that the average database size and associated software support systems are growing at rates that are greater than the increase in processor performance (i.e., more than doubling roughly every 18 months). This is due to a number of factors including without limitation the desire to store more detailed information, to store information over longer periods of time, to merge databases from disparate organizations, and to deal with the large new databases which have arisen from emerging and important applications. For example, two emerging applications having large and rapidly growing databases are those connected with the genetics revolution and those associated with cataloging and accessing information on the Internet. In the case of the Internet, current industry estimates are that in excess of 1.5 million pages are added to the Internet each day. At the physical level this has been made possible by the remarkable growth in disk storage performance where magnetic storage density has been doubling every year or so for the past five years.
- Search and retrieval functions are more easily performed on information when it is indexed. For example, with respect to financial information, it can be indexed by company name, stock symbol and price. Oftentimes, however, the information being searched is of a type that is either hard to categorize or index or which falls into multiple categories. As a result, the accuracy of a search for information is only as good as the accuracy and comprehensiveness of the index created therefor. In the case of the Internet, however, the information is not indexed. The bottleneck for indexing is the time taken to develop the reverse index needed to access web pages in reasonable time. For example, while there are search engines available, designing a search which will yield a manageable result is becoming increasingly difficult due to the large number of “hits” generated by less than a very detailed set of search instructions. For this reason, several “intelligent” search engines have been offered on the web, such as Google, which are intended to whittle down the search result using logic to eliminate presumed undesired “hits”.
- With the next-generation Internet, ever-faster networks, and expansion of the Internet content, this bottleneck is becoming a critical concern. Further, it is becomingly exceedingly difficult to index information on a timely basis. In the case of the Internet, current industry estimates are that in excess of 1.5 million pages are added to the Internet each day. As a result, maintaining and updating a reverse index has become an enormous and continuous task and the bottleneck it causes is becoming a major impediment to the speed and accuracy of existing search and retrieval systems. Given the ever increasing amounts of information available, however, the ability to accurately and quickly search and retrieve desired information has become critical.
- Associative memory devices for dealing with large databases are known in the prior art. Generally, these associative memory devices comprise peripheral memories for computers, computer networks, and the like, which operate asynchronously to the computer, network, etc. and provide increased efficiency for specialized searches. Additionally, it is also known in the prior art that these memory devices can include certain limited decision-making logic as an aid to a main CPU in accessing the peripheral memory. An example of such an associative memory device particularly adapted for use with a rotating memory such as a high speed disk or drum can be found in U.S. Pat. No. 3,906,455, the disclosure of which is incorporated herein by reference. This particular device provides a scheme for use with a rotating memory and teaches that two passes over a memory sector is necessary to presort and then sort the memory prior to performing any logical operations thereon. Thus, this device is taught as not being suitable for use with any linear or serial memory such as magnetic tape or the like.
- Other examples of prior art devices may also be found in U.S. Pat. Nos. 3,729,712; 4,464,718; 5,050,075; 5,140,692; and 5,721,898; the disclosures of which are incorporated herein by reference.
- As an example, in U.S. Pat. No. 4,464,718, Dixon performs fixed comparisons on a fixed number of bytes. They don't have the ability to scan and correlate arbitrarily over the data. They search serially along the tracks in a given disk cylinder but there is no provision for parallel searching across disks. Dixon's comparisons are limited by a fixed rigid number of standard logical operation types. Additionally, the circuitry presented supports only these single logical operations. There is no support for approximate or fuzzy matching.
- While these prior art associative memory devices represent an attempt to speed the input and output of information to and from a peripheral memory, which in many cases is a mass storage memory device, all rely on the classic accessing of data stored in digital form by reading and interpreting the digital either address or content of the memory location. In other words, most such devices access data by its address but there are some devices that take advantage of the power of content addressing as is well known in the art. Nevertheless, in all of the prior art known to the inventors, the digital value of the address or data contained in the addressed location must be read and interpreted in its digital form in order to identify the data and then select it for processing. Not only does it take processing time to read and interpret the digital data represented by the address or content, this necessarily requires that the accessing circuit process the memory according to the structure of the data stored. In other words, if the data is stored in octets, then the accessing circuitry must access the data in octets and process it in an incremental manner. This “start and stop” processing serves to increase the input/output time required to access data. As is also well known in the art, this input/output time typically represents the bottleneck and effective limitation of processing power in any computer or computer network.
- Furthermore, given the vast amount of information available to be searched, data reduction and classification operations (e.g., the ability to summarize data in some aggregate form) has become critical. Oftentimes, the ability to quickly perform data reduction functions can provide a company with a significant competitive advantage.
- Likewise, with the improvements in digital imaging technology, the ability to perform two dimensional matching such as on images has become necessary. For example, the ability to conduct matches on a particular image of an individual, such as his or her face or retina, or on a fingerprint, is becoming critical to law enforcement as it steps up its efforts on security in light of the Sep. 11, 2001 terrorist attacks. Image matching is also of importance to the military in the area of automatic target recognition.
- Finally, existing searching devices cannot currently be quickly and easily reconfigured in response to changing application demands.
- Accordingly, there is a need for an improved information search and retrieval system and method which overcomes these and other problems in the prior art.
- As described in parent application Ser. No. 10/153,151, in order to solve these and other problems in the prior art, inventors herein have succeeded in designing and developing a method and apparatus for an associative memory using Field Programmable Gate Arrays (FPGA) in several embodiments which provide an elegantly simple solution to these prior art limitations as well as dramatically decreased access times for data stored in mass storage memories. As described therein, the invention of the Ser. No. 10/153,151 patent application has several embodiments each of which has its own advantages. Grandparent patent application Ser. No. 09/545,472, now U.S. Pat. No. 6,711,558, discloses and claims the use of programmable logic and circuitry generally without being specific as to any choice between the various kinds of devices available for this part of the invention. In the Ser. No. 10/153,151 application, the inventors disclosed more specifically the use of FPGA's as part of the circuitry for various reasons as their best mode. An important reason amongst others is speed. And, there are two different aspects of operation in which speed plays a part. The first of these is the speed of reconfiguration. It is known in the art that FPGA's may be quickly programmed in the field to optimize the search methodology using a template, the template having been prepared in advance and merely communicated to the FPGA's over a connecting bus. Should it then be desired to search using a different methodology, the FPGA's may then be quickly and conveniently re-programmed with another prepared template in a minimal number of clock cycles and the second search started immediately. Thus, with FPGA's as the re-configurable logic, shifting from one search to another is quite easy and quick, relative to other types of re-programmable logic devices.
- A second aspect of speed is the amount of time, once programmed, that a search requires. As FPGA's are hardware devices, searching is done at hardware processing speeds which is orders of magnitude faster than at software processing speeds as would be experienced with a microprocessor, for example. Thus, FPGA's are desirable over other software implementations where speed is a consideration as it most often is.
- In considering the use of templates, the Ser. No. 10/153,151 application discloses that at least several “generic” templates can be prepared in advance and made available for use in performing text searching in either an absolute search, an approximate search, or a higher or advanced search mode incorporating a Boolean algebra logic capability, or a graphics search mode. These could then be stored in a CPU memory and be available either on command or loaded in automatically in response to a software queue indicating one of these searches.
- Still another factor to consider is cost, and the recent price reductions in FPGA's have made them more feasible for implementation as a preferred embodiment for this application, especially as part of a hard disk drive accelerator as would be targeted for a pc market. It is fully expected that further cost reductions will add to the desirability of these for this implementation, as well as others as discussed in greater detail below.
- Generally, the invention of the Ser. No. 10/153,151 application may be described as a technique for data retrieval through approximate matching of a data key with a continuous reading of data as stored on a mass storage medium, using FPGA's to contain the template for the search and do the comparison, all in hardware and at essentially line speed. By utilizing FPGA's, the many advantages and features commonly known are made available. These include the ability to arrange the FPGA's in a “pipeline” orientation, in a “parallel” orientation, or even in an array incorporating a complex web overlay of interconnecting data paths allowing for complex searching algorithms. In its broadest, and perhaps most powerful, embodiment, the data key may be an analog signal and it is matched with an analog signal generated by a typical read/write device as it clews across the mass storage medium. In other words, the steps taught to be required in the prior art of not only reading the analog representation of digital data stored on the mass storage medium but also the conversion of that signal to its digital format prior to being compared are eliminated. Furthermore, there is no requirement that the data be “framed” or compared utilizing the structure or format in which the data has been organized and stored. For an analog signal, all that need be specified is the elapsed time of that signal which is used for comparison with a corresponding and continuously changing selected time portion of the “read” signal. Using any one of many standard correlation techniques as known in the prior art, the data “key” may then be approximately matched to the sliding “window” of data signal to determine a match. Significantly, the same amount of data may be scanned much more quickly and data matching the search request may be determined much more quickly as well. For example, the inventors have found that CPU based approximate searches of 200 megabytes of DNA sequences can take up to 10 seconds on a typical present day “high end” system, assuming the offline processing to index the database has already been completed. In that same 10 seconds, the inventors have found that a 10-gigabyte disk could be searched for approximate matches using the present invention. This represents a 50:1 improvement in performance. Furthermore, in a typical hard disk drive there are four surfaces and corresponding read/write heads, which may be all searched in parallel should each head be equipped with the present invention. As these searches can proceed in parallel, the total increase in speed or improvement represents a 200:1 advantage. Furthermore, additional hard disk drives may be accessed in parallel and scaled to further increase this speed advantage over conventional systems.
- By choosing an appropriate correlation or matching technique, and by setting an appropriate threshold, the search may be conducted to exactly match the desired signal, or more importantly and perhaps more powerfully, the threshold may be lowered to provide for approximate matching searches. This is generally considered a more powerful search mode in that databases may be scanned to find “hits” which may be valid even though the data may be only approximately that which is being sought. This allows searching to find data that has been corrupted, incorrectly entered data, data which only generally corresponds to a category, as well as other kinds of data searches that are highly desired in many applications. For example, a library of DNA sequences may be desired to be searched and hits found which represent an approximate match to a desired sequence of residues. This ensures that sequences which are close to the desired sequence are found and not discarded but for the difference in a forgivable number of residue mismatches. Given the ever-increasing volume and type of information desired to be searched, more complex searching techniques are needed. This is especially true in the area of molecular biology, “[O]ne of the most powerful methods for inferring the biological function of a gene (or the protein that it encodes) is by sequence similarity searching on protein and DNA sequence databases.” Garfield, “The Importance of (Sub)sequence Comparison in Molecular Biology,” pgs. 212-217, the disclosure of which is incorporated herein by reference. Current solutions for sequence matching are only available in software or non-reconfigurable hardware.
- Still another application involves Internet searches provided by Internet search engines. In such a search, approximate matching allows for misspelled words, differently spelled words, and other variations to be accommodated without defeating a search or requiring a combinatorial number of specialized searches. This technique permits a search engine to provide a greater number of hits for any given search and ensure that a greater number of relevant web pages are found and cataloged in the search. Although, as mentioned above, this approximate matching casts a wider net which produces a greater number of “hits” which itself creates its own problems.
- Still another possible application for this inventive technology is for accessing databases which may be enormous in size or which may be stored as analog representations. For example, our society has seen the implementation of sound recording devices and their use in many forums including judicial proceedings. In recent history, tape recordings made in the President's oval office have risen in importance with respect to impeachment hearings. As can be appreciated, tape recordings made over the years of a presidency can accumulate into a huge database which might require a number of persons to actually listen to them in order to find instances where particular words are spoken that might be of interest. Utilizing this inventive technology, an analog representation of that spoken word can be used as a key and sought to be matched while the database is scanned in a continuous manner and at rapid speed. Thus, the present and parent inventions provide a powerful search tool for massive analog databases as well as massive digital databases.
- While text-based searches are accommodated by the present and parent inventions as described above, storage media containing images, sound, and other representations have traditionally been more difficult to search than text. The present and parent inventions allow searching a large data base for the presence of such content or fragments thereof. For example, the key in this case could be a row or quadrant of pixels that represent the image being sought. Approximate matching of the key's signal can then allow identification of matches or near matches to the key. In still another image application, differences in pixels or groups of pixels can be searched and noted as results which can be important for satellite imaging where comparisons between images of the same geographic location are of interest as indicative of movement of equipment or troops.
- The present and parent inventions may be embodied in any of several configurations, as is noted more particularly below. However, one important embodiment is perhaps in the form of a disk drive accelerator which would be readily installed in any PC as an interface between the hard disk drive and the system bus. This disk drive accelerator could be provided with a set of standardized templates and would provide a “plug and play” solution for dramatically increasing the speed at which data could be accessed from the drive by the CPU. This would be an after market or retrofit device to be sold to the large installed base of PC's. It could also be provided as part of a new disk drive, packaged within the envelope of the drive case or enclosure for an external drive or provided as an additional plug in pc card as an adapter for an internal drive. Additional templates for various kinds of searches on various kinds of databases could be made available either with the purchase of the accelerator, such as by being encoded on a CD, or even over the Internet for download, as desired.
- The present invention extends the novel groundbreaking technology disclosed in the parent application Ser. Nos. 09/545,472 and 10/153,151 such that a programmable logic device (PLD) such as an FPGA performs any of a variety of additional processing operations including but not limited to operations such as encryption, decryption, compression, and decompression. Thus, the technology of the parent applications has been extended such that PLDs perform data manipulation operations. As used herein, the term “manipulating” or “manipulation” refers to the performance of a search operation, a reduction operation, or a classification operation on data in combination with any or all of a compression operation, a decompression operation, an encryption operation, and a decryption operation also performed on the data, or the performance of a compression operation or a decompression operation on data alone or in combination with any or all of a search operation, a reduction operation, a classification operation, an encryption operation, and a decryption operation also performed on the data. Not only can these manipulation operations be performed at very high speeds due to the inventive techniques disclosed herein, but these operations, when implemented on a PLD such as an FPGA as disclosed herein also enhance data security by protecting the unencrypted and/or decompressed data from being accessed or read by any viruses or malware that may be running in the software of the computer system and using the re-configurable logic to process stored data. Among the more powerful applications for the present invention is to perform high speed searches within encrypted data, which can be referred to as crypto-searching. With crypto-searching, the stream of encrypted data is processed to first decrypt the data stream and then perform a search operation within the decrpyted data.
- The value of data security to data owners cannot be underestimated and is ever-increasing in importance, and the ability to control who has access to what data and when lies at the heart of data security. Among its many unique applications, the present invention provides flexibility to data owners in controlling who has access to their data, and speed in providing authorized users with access to that data (or targeted access to a portion of that data through scanning capabilities).
- Further still, the use of compression and/or decompression as described herein allows data to be stored in a manner that takes up less space in the mass storage medium, while still retaining the ability to search through the data at high speeds.
- Preferably, these manipulation operations, when implemented with multiple stages, are implemented in a pipelined manner. In particular, the combination of one or more stages dedicated to encryption/decryption or compression/decompression with one or more stages dedicated to data searching or data reduction synergistically produces an intelligent, flexible, high speed, and secure design technique for data storage and retrieval.
- Further still, disclosed herein is a novel and unique technique for storing data on a magnetic medium such as a computer hard disk so that large amounts of data can be read therefrom without being significantly disadvantaged by the disk storage system's “seek” times. In accordance with this feature of the invention, data is stored on the magnetic medium as a plurality of discontiguous arcs positioned on the magnetic medium, preferably in a helical or spiral pattern. When a system employing a PLD for searching and/or additional processing, as described herein, is used in combination with a mass storage medium that employs data stored in a piecewise helical fashion, as described herein, this combination synergistically results in ever greater processing speeds.
- Further still, a novel technique for storing data files in memory is disclosed herein, wherein a data file is stored using a sum of powers of 2 technique. The combination of data file storage using this sum of powers of 2 technique with the data processing capabilities of the re-configurable logic platform described herein also synergistically results in enhanced processing speeds.
- While the principal advantages and features of the present invention have been briefly explained above, a more thorough understanding of the invention may be attained by referring to the drawings and description of the preferred embodiment which follow.
-
FIG. 1 is a block diagram illustrating an information search and retrieval system in accordance with one embodiment; -
FIG. 2 is a schematic of a conventional rigid disk drive system illustrating different insertion points for connection of the inventive system; -
FIG. 3 is a block diagram of one embodiment of the transformation of a search inquiry processed by the system ofFIG. 1 ; -
FIG. 4 is a block diagram of one embodiment of a hardware implementation used to conduct an exact match search in a digital domain; -
FIG. 5 is a block diagram of one embodiment of a hardware implementation used to conduct an approximate match search in a digital domain; -
FIG. 6 is a block diagram depicting the implementation of the inventive system in a stand-alone configuration; -
FIG. 7 is a block diagram depicting an inventive implementation as a shared remote mass storage device across a network; -
FIG. 8 is a block diagram depicting an inventive implementation as a network attached storage device (NASD); -
FIG. 9 is a flowchart detailing the logical steps for searching and retrieving data from a magnetic storage medium; -
FIG. 10 is a graphical representation of an analog signal as might be used as a data key; -
FIG. 11 is a graphical representation of an analog signal representing the continuous reading of data from a magnetic storage medium in which the data key is present; -
FIG. 12 is a graphical representation of the signal ofFIG. 10 overlying and matched to the signal ofFIG. 11 ; -
FIG. 13 is a graphical representation of a correlation function calculated continuously as the target data in the magnetic storage medium is scanned and compared with the data key; -
FIG. 14 is a graphical representation of a correlation function as the data key is continuously compared with a signal taken from reading a different set of target data from the magnetic storage medium but which also contains the data key; -
FIG. 15 is one embodiment of a table generated by the present invention for use in performing sequence matching operations; -
FIG. 16 is a block diagram of one embodiment of a systolic array architecture that can be used by the inventive system to compute the values of the table ofFIG. 15 ; -
FIGS. 17 and 18 are block diagrams of the systolic array architecture ofFIG. 15 in operation during the combinatorial and latch part of the clock cycle, respectively, of the system ofFIG. 1 ; -
FIG. 19 is the table ofFIG. 15 representing a particular sequence matching example; -
FIG. 20 is a block diagram of the systolic array architecture ofFIG. 16 for the example ofFIG. 19 ; -
FIGS. 21 and 22 are block diagrams of the systolic array architecture ofFIG. 20 in operation during the combinatorial and latch part of the clock cycle, respectively, of the system ofFIG. 1 ; -
FIG. 23 is a block diagram of one embodiment of a systolic array architecture that can be used by the inventive system in performing image matching operations; -
FIG. 24 is a block diagram of another arrangement for the systolic array architecture in performing image matching operations; -
FIG. 25 is a block diagram of one embodiment of an individual cell of the systolic array shown inFIG. 23 ; -
FIG. 26 is a block diagram of another embodiment of an individual cell of the systolic array shown inFIG. 23 ; -
FIG. 27 is a block diagram showing an example using the inventive system for performing data reduction operations; and -
FIG. 28 is a block diagram showing a more complex arrangement of FPGA's; -
FIGS. 29 and 30 illustrate exemplary embodiments for multi-stage processing pipelines implemented on a re-configurable logic device; -
FIG. 31 illustrates an encryption engine implemented on a re-configurable logic device; -
FIG. 32 illustrates another exemplary embodiment for a multi-stage processing pipeline implemented on a re-configurable logic device; -
FIGS. 33-35 illustrate various encryption engines that can be implemented on re-configurable logic; -
FIG. 36 illustrates a three party data warehousing scenario; -
FIG. 37 illustrates a non-secure data warehousing decryption scenario; -
FIGS. 38-39 (b) illustrate various exemplary embodiments for secure data delivery in a data warehousing scenario; -
FIGS. 40-42 illustrate various exemplary embodiments for implementing compression and/or decompression on a re-configurable logic device; -
FIG. 43 depicts a process flow for creating a template to be loaded onto a re-configurable logic device; -
FIGS. 44(a) and (b) illustrate a conventional hard disk using circular tracks and a disk drive system for use therewith; -
FIG. 45 illustrates a novel planar magnetic medium having discrete circular arcs arranged in a helical pattern; -
FIG. 46 illustrates a head positioning flow for reading data from the magnetic medium ofFIG. 45 ; and -
FIGS. 47(a) and (b) illustrate two embodiments of a sum of powers of 2 file system; -
FIGS. 48-50 plot various performance characteristics for a sum of powers of 2 file system. - As shown in
FIG. 1 , the present invention is readily implemented in a stand-alone computer or computer system. In broad terms, the invention is comprised of at least onere-configurable logic device 21 coupled to at least one magneticmass storage medium 26, with that re-configurable logic device being an FPGA. As depicted inFIG. 1 , there-configurable logic device 21 may itself include a plurality of functional logic elements including a data shift register and possibly a microprocessor, or they could be on separate chips, or the individual logic elements could be configured in a pipeline or parallel orientation as shown in some of the other figures herein. In any event, re-configurable logic refers to any logic technology whose form and function can be significantly altered (i.e., reconfigured) in the field post-manufacture. Examples of re-configurable logic devices include without limitation programmable logic devices (PLDs). A PLD is an umbrella term for a variety of chips that are programmable. There are generally three physical structures for a PLD. The first is the permanent fuse type which blows apart lines or fuses them together by electrically melting an aluminum trace or insulator. This was the first type of PLD, known as a “programmable array logic” or PAL. The second type of PLD uses EEPROM or flash memory, and causes a transistor to open or close depending on the contents of its associated memory cell. The third type of PLD is RAM-based (which makes it dynamic and volatile), and its contents are loaded each time it starts up. An FPGA is an integrated circuit (IC) that contains an array of logic units that can be interconnected in an arbitrary manner. These logic units are referred to as CLB's or configurable logic blocks by one vendor (Xilinx). Both the specific function of each logic unit and the interconnections between logic units can be programmed in the field after manufacture of the IC. FPGAs are one of the most common PLD chips. FPGAs are available in all three structures. The box labeled inFIG. 1 forreconfigurable logic device 21 is meant to convey that not only can the task performed byreconfigurable logic device 20 be implemented in reconfigurable hardware logic, but the tasks of thedata shift register 24 and/orcontrol microprocessor 22 may also optionally be implemented in the reconfigurable hardware logic ofreconfigurable logic device 21. In the preferred embodiment of the present invention,re-configurable logic device 21 is constructed using Xilinx FPGA technology, and its configuration is developed using the Mentor synthesis tools or Synplicity synthesis tools and the Xilinx place-and-route tools, all of which are presently commercially available as known to those of skill in the art. - The
re-configurable logic device 21 interfaces with the system or input/output bus 34 and, in one configuration, also interfaces with anydisk caches 30 which may be present. It receives and processes search requests or inquires from theCPU 32 ornetwork interface 36. Additionally, the device may aid in passing the results of the inquiries to either or both thedisk cache 30 and/or the CPU 32 (by way of the bus 34). - The
mass storage medium 26 provides the medium for storing large amounts of information which will hereafter be referred to as target data. The term “mass storage medium” should be understood as meaning any device used to store large amounts of data, and which is typically designated for use in a computer or computer network. Examples include without limitation hard disk drives, optical storage media, or sub-units such as a single disk surface, and these systems may be rotating, linear, serial, parallel, or various combinations of each. For example, a rack of hard disk drive units could be connected in parallel and their parallel output provided at the transducer level to one or morere-configurable logic devices 21. Similarly, a bank of magnetic tape drives could be used, and their serial outputs each provided in parallel to one or morere-configurable logic devices 21. The data stored on the medium may be in analog or in digital form. For example, the data could be voice recordings. The invention is thus scalable, permitting an increase in the amount of data stored by increasing the number of parallel mass storage media, while preserving the performance by increasing the number of parallel re-configurable logic devices or replicating the re-configurable logic device. - In the prior art as shown in the upper portion of
FIG. 1 , typically adisk controller 28 and/or adisk cache 30 may be used in the traditional sense for access by aCPU 32 over its system or input/output bus 34. There-configurable logic device 21 accesses target data in themass storage medium 26 via one or more data shift registers 24 and presents it for use at thesystem bus 34 without moving large blocks of memory from themass storage medium 26 over thesystem bus 34 and into the workingmemory 33 ofCPU 32 for sorting and accessing. In other words, as is explained in greater detail below, theCPU 32 may send a search request or inquiry to there-configurable logic device 21 which then asynchronously accesses and sorts target data in themass storage medium 26 and presents it for use either in adisk cache 30 as is known in the prior art or directly onto thesystem bus 34 without further processing being required byCPU 32 or use of its workingmemory 33. TheCPU 32 is thus free to perform other tasks while the searching and matching activity is being performed by the invention. Alternately, the control microprocessor may provide the search inquiry and template or programming instructions for theFPGA 21, and then perform the search and present the data onsystem bus 34 for access and use byCPU 32. - As has been explained above, the invention may be used to perform a variety of different types of matching or data reduction operations on the target data. Each one of these operations will now be discussed in detail below. For all operations, however, it will be assumed that the target data is written onto the magnetic
mass storage medium 26 with sufficient formatting information attached so that the logical structure of the target data can be extracted. Exact and approximate string matching will be described with reference toFIGS. 2-5 . It can be appreciated, however, that the invention is not limited to single string matches and is equally suitable for compound query matching (i.e., queries involving a plurality of text strings having a certain logical relationship therebetween or which use Boolean algebra logic). When performing an exact match with there-configurable logic device 21 in the analog domain, shown as Point A inFIG. 2 , where matching is done using analog comparators and correlation techniques, an exact match corresponds to setting a sufficiently high threshold value for matching the data key with analog target data on themass storage medium 26. Approximate matching in the analog domain corresponds to setting appropriate (lesser) threshold values. The success of an approximate match may be determined by the correlation value set in there-configurable logic device 21 or by using one of a number of matching-performance metrics stored therein such as the number of bits within a data key that are equal to the corresponding bits in the scanned target data. - More particularly, a conventional rigid disk drive may have a plurality of rotating disks with multiple transducers accessing each disk. Each of these transducers typically has its output feeding
analog signal circuitry 18, such as amplifiers. This is represented at point A. As further shown inFIG. 2 , typically the outputs of the analog circuitry are selectively provided to a single digital decoder 23 which then processes one such output. This is represented at point B. This digital output is typically then sent through error correction circuitry (ECC) 25 and at its output C is then passed on to thebus 34 ordisk cache 30. For purposes of the invention, it may be desirable to provide multiple parallel paths for target data by providing multiple digital decoders and ECC's. Exact matching in the digital domain could be performed at Point B or Point C, which corresponds to the pre- and post-error-corrected digital signal, respectively. - The results may be sent to a
control microprocessor 22, which may or may not be configured as part of an FPGA, to execute logic associated with a compound or complex search inquiry. In the most general case, acompound search inquiry 40 will go through the transformation process illustrated inFIG. 3 . In particular, the software system (not shown) that resides on theCPU 32 generates thesearch inquiry 40. This inquiry proceeds through acompiler 42, also located on theCPU 32, that is responsible for analyzing the search inquiry. There are three main results from this analysis: (1) determining the data key that will reside in the compare registers within there-configurable logic device 21; (2) determining the combining logic that must be implemented in thecontrol microprocessor 22; and (3) producinghardware description 44 in a standard hardware description language (HDL) format (or if possible retrieving one from a library) that will be used to generate synthesis commands 46 to there-configurable logic device 21. Any commercially available HDL and associated compiler and synthesis tools may be used. The resulting logic functions may correspond to exact or inexact matches or wildcard operations and simple word level logic operations such as “and” and “or.” This synthesis information is sent to thecontrol microprocessor 22 which acts to set up there-configurable logic device 21, or FPGA. In the case of complex logic operations, a high-level language 48 such as C or C++ is used in conjunction with acompiler 50 to generate the appropriate synthesis commands to themicroprocessor 22. - While the path shown in
FIG. 3 is able to handle a wide range of potential search inquiries, it has the drawback that the latency introduced into the search process might be too long. If the time required for a search inquiry to flow through the transformations represented inFIG. 3 is of the same order as the time required to perform a search, the compilation process might become the performance bottleneck rather than the search itself. This issue can be addressed for a wide range of likely search inquiries by maintaining a set of precompiled hardware templates that handle the most common cases. These templates may be provided and maintained either inCPU 32 memory, made available through an off-line storage medium such as a CD, or even kept in themass storage medium 26 itself. Still further, such templates may be communicated toCPU 32 such as over a network or the Internet. - One embodiment of such a
hardware template 29 is illustrated inFIG. 4 . In particular, thedata shift register 27 contains target data streaming off the head (not shown) of one ormore disks 19. A compare register stores the data key for which the user wishes to match. In the example shown, the data key is “Bagdad.” Fine-grainedcomparison logic device 31 performs element by element comparisons between the elements of thedata shift register 27 and the compareregister 35. The fine-grainedcomparison logic device 31 can be configured to be either case sensitive or case insensitive. Word-level comparison logic 37 is responsible for determining whether or not a match at the world-level occurs. In the case of a compound search inquiry, the word-level match signals are delivered to thecontrol microprocessor 22 for evaluation thereof. A match to the compound search inquiry is then reported to theCPU 32 for further processing. - One embodiment of a hardware template for conducting approximate matching is illustrated in
FIG. 5 . In particular, thedata shift register 27′ contains target data streaming off the head (not shown) of one ormore disks 19′. A compareregister 35′ stores the data key for which the user wishes to match. In the example shown, the data key is again “Bagdad.” Fine-grained comparison logic 31′ performs element by element comparisons between the elements of thedata shift register 27′ and the compareregister 21′. Again, the fine-grainedcomparison logic device 31′ can be configured to be either case sensitive or case insensitive. Thetemplate 29′ provides for alternate routing of elements indata shift register 27′ to individual cells of the fine-grainedcomparison logic device 21′. Specifically, each cell of the fine-grainedcomparison logic device 31′ can match more than one position in thedata shift register 27′ such that the compareregister 21′ can match both the commonly used spelling of “Baghdad” as well as the alternate “Bagdad” in shared hardware. Word-level comparison logic 37′ is responsible for determining whether or not a match at the word level occurs. In the case of a compound search inquiry, the word-level match signals are delivered to thecontrol microprocessor 22 for evaluation thereof. A match to the compound search inquiry is then reported to theCPU 32 for further processing. - The actual configuration of the hardware template will of course vary with the search inquiry type. By providing a small amount of flexibility in the hardware templates (e.g., the target data stored in the compare registers, the routing of signals from the data shift registers and compare register elements to the cells of the fine-grained comparison logic device, and the width of the word-level comparison logic), such a template can support a wide range of word matches. As a result, this diminishes the frequency with which the full search inquiry transformation represented in
FIG. 3 must take place, which in turn, increases the speed of the search. - It should be noted that the data entries identified in an “approximate” match search will include the “exact” hits that would result from an “exact” search. For clarity, when the word “match” is used, it should be understood that it includes a search or a data result found through either of an approximate search or an exact search. When the phrase “approximate match” or even just “approximate” is used, it should be understood that it could be either of the two searches described above as approximate searches, or for that matter any other kind of “fuzzy” search that has a big enough net to gather target data that are loosely related to the search inquiry or in particular, data key. Of course, an exact match is just that, and does not include any result other than an exact match of the search inquiry with a high degree of correlation.
- Also shown in
FIG. 1 is anetwork interface 36 interconnecting the present invention to anetwork 38 which may be a LAN, WAN, Internet, etc. and to whichother computer systems 40 may be connected. With this arrangement,other computer systems 40 may conveniently also access the data stored on themass storage medium 26 through thepresent invention 21. More specific examples are given below. Still further as shown inFIG. 1 , the elements 20-24 may themselves be packaged together and form a disk drive accelerator that may be separately provided as a retrofit device for adapting existing pc's having their own disk drives with the advantages of the invention. Alternately, the disk drive accelerator may also be offered as an option on a hard drive and packaged in the same enclosure for an external drive or provided as a separate pc board with connector interface for an internal drive. Still further alternatively, the disk drive accelerator may be offered as an option by pc suppliers as part of a pc ordered by a consumer, business or other end user. Still another embodiment could be that of being offered as part of a larger magnetic mass storage medium, or as an upgrade or retrofit kit for those applications or existing installations where the increased data handling capability could be used to good advantage. - As shown in
FIGS. 6-8 , the invention may be implemented in a variety of computer and network configurations. As shown inFIG. 6 , the invention may be provided as part of a stand-alone computer system 41 comprising aCPU 43 connected to asystem bus 45 which then accesses amass storage medium 47 having the invention as disclosed herein. - As shown in
FIG. 7 , themass storage medium 51 coupled with the invention may be itself connected directly to anetwork 52 over which a plurality of independent computers or CPU's 54 may then access themass storage medium 51. Themass storage medium 51 may itself be comprised of a bank of hard disk drives comprising a RAID, disk farm, or some other massively parallel memory device configuration to provide access and approximate matching capabilities to enormous amounts of data at significantly reduced access times. - As shown in
FIG. 8 , amass storage medium 56 coupled with the invention may be connected to anetwork 58 as a network attached storage device (NASD) such that over the network 58 a plurality of stand-alone computers 60 may have access thereto. - With such a configuration, it is contemplated that each mass storage medium, represented for illustrative purposes only as a
disk 57, would be accessible from any processor connected to the network. One such configuration would include assigning a unique IP address or other network address to each mass storage medium. - The configurations as exemplified by those shown in
FIGS. 1 and 6-8 represent only examples of the various computer and network configurations with which the invention would be compatible and highly useful. Others would be apparent to those having skill in the art and the present invention is not intended to be limited through the examples as shown herein which are meant to be instead illustrative of the versatility of the present invention. - As shown in
FIG. 9 , the method of the invention for use in exact or approximate matching is described alternatively with respect to whether an analog or digital data domain is being searched. However, beginning at the start of the method, a CPU performs certain functions during which it may choose to access target data stored in a mass storage medium. Typically, the CPU runs a search inquiry application 62 which may be representative of a DNA search, an Internet search, an analog voice search, a fingerprint search, an image search, or some other such search during which an exact or approximate match to target data is desired. The search inquiry contains directives specifying various parameters which thedisk control unit 28 and there-configurable logic device 20 must have to properly obtain the data key from themass storage medium 26. Examples of parameters include but are not limited to the following: the starting location for scanning the storage device; the final location after which (if there is not match) scanning is terminated; the data key to be used in the scanning; a specification of the approximate nature of the matching; and what information should be returned when a match occurs. The sort of information that can be returned includes the address of the information where the match was found, or a sector, record, portion of record or other data aggregate which contains the matched information. The data aggregate may also be dynamically specified in that the data returned on a match may be specified to be between bounding data specifiers with the matched data contained within the bounding field. As the example inFIG. 5 shows, looking for the word “bagdad” in a string of text might find the approximate match, due to misspelling, of the word “Baghdad”, and return a data field which is defined by the surrounding sentence. Another query parameter would indicate whether the returned information should be sent to the system or input/output bus 34, or thedisk cache 30. - Referring back to
FIG. 9 , the search inquiry will typically result in the execution of one or more operating system utilities. As an example of a higher level utility command, for the UNIX operating system, this could be modified versions of glimpse, find, grep, apropos, etc. These functions cause the CPU to sendcommands 66 such as search, approximate search, etc., to there-configurable logic device 21 with relevant portions of these commands also being sent to thedisk controller 28 to, for example, initiate any mass storagemedium positioning activity 69 that is later required for properly reading target data from the mass storage medium. - At this point, depending upon the particular methodology desired to be implemented in the particular embodiment of the invention, it would be necessary that an analog or digital data key is determined. This data key, which can be either exact or approximate for a text search, corresponds to the data being searched for. For an analog data key, it may either be pre-stored such as in the mass storage medium, developed using dedicated circuitry, or required to be generated. Should the analog data key be pre-stored, a send pre-stored data
key step 68 would be performed by the microprocessor 22 (seeFIG. 1 ) which would transmit the data key in digital and sampled format to there-configurable logic device 20 as shown instep 70. Alternatively, should the analog data key not be pre-stored, it can be developed using one of a number of mechanisms, two of which are shown inFIG. 9 . In one, themicroprocessor 22 would write the data key on the magnetic mass storage medium as atstep 72 and then next read the data key as atstep 74 in order to generate an analog signal representation of the data key. In another, as atstep 71, the digital version of the data key received from the CPU would be converted using appropriate digital to analog circuitry to an analog signal representation which would in turn be appropriately sampled. The data key would then next be stored as a digital sample thereof as instep 70. Should a digital data key be used, it is only necessary that themicroprocessor 22 store the digital data key as atstep 76 in the compare register of the re-configurable logic device. It should be understood that depending upon the particular structures desired to be included for each re-configurable logic device, the data key may reside in either or all of these components, it merely being preferable to ultimately get the appropriate digital format for the data key into there-configurable logic device 21 for comparison and correlation. - Next, after the
mass storage medium 26 reaches its starting location as at 79, the target data stored on the mass storage medium is continuously read as atstep 78 to generate a continuous stream signal representative of the target data. Should an analog data key have been used, this analog data key may then be correlated with an analog read of the target data from themass storage medium 26 as atstep 80. - While the inventors contemplate that any of many prior art comparators and correlation circuitry could be used, for present purposes the inventors suggest that a digital sampling of the analog signal and data key could be quite useful for performing such comparison and calculating the correlation coefficient, as explained below. It is noted that this analog signal generated from reading the target data from
mass storage medium 26 may be conveniently generated by devices in the prior art from the reading of either analog or digital data, it not being necessary that a digital data key be used to match digital target data as stored inmass storage medium 26. Alternatively, acorrelation step 82 may be performed by matching the digital data key with a stream of digital target data as read from themass storage medium 26. It should be noted that the data key may reflect the inclusion of approximate information or there-configurable logic device 21 may be programmed to allow for same. Thus, correlating this with target data read from the mass storage medium enables approximate matching capabilities. - Referring back to
FIG. 9 ,decision logic 84 next makes an intelligent decision as to whether a portion of the target data approximately matches or does not approximately match the data key. Should a match be found, then the target data is processed as atstep 86 and the key data requested by the search inquiry is sent to adisk cache 30, directly ontosystem bus 34, or otherwise buffered or made available to aCPU 32,network interface 36, or otherwise as shown inFIGS. 1, and 6-8 . Alogical step 88 is preferably included for returning to the continuous reading of target data from themass storage medium 26, indicating something like a “do” loop. However, it should be understood that this is a continuous process and that target data is processed from themass storage medium 26 as a stream and not in individualized chunks, frames, bytes, or other predetermined portions of data. While this is not precluded, the present invention preferably allows a data key to be in essence “slid” over a continuously varying target data read signal such that there is no hesitation in reading target data from themass storage medium 26. There is no requirement to synchronize reading to the start or end of any multi-bit data structure, or any other intermediate steps required to be performed as the target data is compared continuously “on the fly” as it is read from themass storage medium 26. Eventually, the data access is completed as atstep 90 and the process completed. - The inventors herein have preliminarily tested the present invention in the analog domain and have generated preliminary data demonstrate its operability and effectiveness. In particular,
FIG. 10 is a graphical representation of a measured analog signal output from a read/write head as the read/write head reads a magnetic medium on which is stored a 10-bit digital data key. As shown therein, there are peaks in the analog signal which, as known in the art, represents the true analog signal generated by a read/write head as target data is read from a magnetic medium such as a hard disk. The scales shown inFIG. 10 are volts along the vertical axis and tenths of microseconds along the horizontal axis. As shown inFIG. 11 , an analog signal is generated, again by a read/write head, as target data is read from a pseudo-random binary sequence stored in a test portion of a magnetic medium. The read signal does not provide an ideal square wave output when examined at this level. -
FIG. 12 is a graphical representation, with the horizontal scale expanded, to more specifically illustrate the overlap between approximately two bits of the 8-bit data key and the corresponding two bits of target data found in the pseudo-random binary sequence encoded at a different location on the disk or magnetic medium. -
FIG. 13 is a graphical representation of a correlation coefficient calculated continuously as the comparison is made between the data key and the continuous reading of target data from the hard disk. This correlation coefficient is calculated by sampling the analog signals at a high rate and using prior art signal processing correlation techniques. One such example may be found in Spatial Noise Phenomena of Longitudinal Magnetic Recording Media by Hoinville, Indeck and Muller, IEEE Transactions on Magnetics,Volume 28, no. 6, November 1992, the disclosure of which is incorporated herein by reference. A prior example of a reading, comparison, and coefficient calculation method and apparatus may be found in one or more of one of the co-inventor's prior patents, such as U.S. Pat. No. 5,740,244, the disclosure of which is incorporated herein by reference. The foregoing represent examples of devices and methods which may be used to implement the present invention, however, as mentioned elsewhere herein, other similar devices and methods may be likewise used and the purposes of the invention fulfilled. - As shown in
FIG. 13 , at approximately the point labeled 325, a distinct peak is noted at approximately 200 microseconds which approaches 1 Volt, indicating a very close match between the data key and the target data.FIG. 10 is also illustrative of the opportunity for approximate matching which is believed to be a powerful aspect of the invention. Looking closely atFIG. 13 , it is noted that there are other lesser peaks that appear in the correlation coefficient. Thus, if a threshold of 0.4 Volts were established as a decision point, then not only the peak occurring which approaches 1 would indicate a match or “hit” but also another five peaks would be indicative of a “hit”. In this manner, a desired coefficient value may be adjusted or predetermined as desired to suit particular search parameters. For example, when searching for a particular word in a large body of text, lower correlation values may indicate the word is present but misspelled. -
FIG. 14 depicts the continuous calculation of a correlation coefficient between the same 8-bit data key but with a different target data set. Again, a single match is picked up at approximately 200 microseconds where the peak approaches 1 Volt. It is also noted that should a lower threshold be established additional hits would also be located in the target data. - As previously mentioned, the invention is also capable of performing sequence matching searches. With reference to
FIG. 15 , a table 38 is generated by there-configurable logic device 20 to conduct such a search. Specifically, p1 p2 p3 p4 represents the data key, p, or desired sequence to be searched. While the data key ofFIG. 15 only shows four characters, this is for illustrative purposes only and it should be appreciated that a typical data key size for sequence searching is on the order of 500-1000, or even higher. The symbols t1, t2, t3 . . . t9 represent the target data, t, streaming off of themass storage medium 26. Again, while only nine (9) characters of such data are shown, it should be appreciated that the typical size of themass storage medium 26 and thus the target data streaming off of it can typically be in the range of several billion characters. The symbols di,j represent the edit distance at position i in the data key and position j in the target data. It is assumed that the data key is shorter relative to the target data, although it is not required to be so. There may be a set of known (constant) values for an additional row (d0,j) and column (di,0) not shown inFIG. 15 . - The values for di,j are computed by the
re-configurable logic device 20 using the fact that di,j is only a function of the following characters: (1) pi, (2) tj, (3) di−1,j−1, (4) di−1,j, and (5) di,j−1. This is illustrated inFIG. 15 with respect to the position d3,6 by showing its dependency on the values of d2,5 and d2,6 and d3,5 as well as p3 and t6. In one embodiment, the values for di,j are computed as follows: -
di,j=max[di,j−1+A;di−1,j+A;di−1,j−1+Bi,j], - where A is a constant and Bi,j is a tabular function of pi and tj. The form of the function, however, can be quite arbitrary. In the biological literature, B is referred to as the scoring function. In the popular database searching program BLAST, scores are only a function of whether or not pi=tj. In other contexts, such as for amino acid sequences, the value of B is dependent upon the specific characters in p and t.
-
FIG. 16 shows one embodiment of a systolic array architecture used by the invention to compute the values in the table 38 ofFIG. 15 . The characters of the data key are stored in the column of data registers 53, while the characters of the target data streaming off of themass storage medium 26 are stored in the data shift registers 55. The values of di,j are stored in thesystolic cells 59 which themselves are preferably FPGA's. - The operation of the array of
FIG. 16 will now be illustrated usingFIGS. 17 and 18 . As shown inFIG. 17 , in the first (i.e., combinational) part of the clock cycle of the system, the four underlined values are computed. For example, the new value d3,6 is shown to depend upon the same five values illustrated earlier inFIG. 15 . As shown inFIG. 18 , in the second (i.e., latch) part of the clock cycle, all the characters in di,j and tj are shifted one position to the right. A comparator 61 is positioned at each diagonal cell of the d array and determines when the threshold has been exceeded. - The sequence matching operation will now be described with reference to
FIGS. 19-22 with respect to the following example: - key=axbacs
- target data=pqraxabcstvq
- A=1
- B=2, if i=j
- B=−2 if i=j
- From these variables, the table of
FIG. 19 is generated by there-configurable logic device 20. Assuming a pre-determined threshold of “8”, there-configurable logic device 20 will recognize a match at d6,9. - A portion of the synthesis arrays representing the values present in
FIGS. 16-18 for this example are shown inFIGS. 20-22 , respectively. A match is identified by there-configurable logic device 20 when the value on any row exceeds a predetermined threshold. The threshold is set based on the desired degree of similarity desired between the data key and the target data stored inmass memory device 26. For example, in the case of an exact match search, the data key and target data must be identical. The match is then examined by theCPU 32 via a traceback operation with the table ofFIG. 19 . Specifically a “snapshot” of the table is sent to theCPU 32 at a predetermined time interval to assist in traceback operations once a match is identified. The interval is preferably not too often to overburden theCPU 32, but not so infrequent that it takes a lot of time and processing to recreate the table. To enable theCPU 32 to perform the traceback operation, it must be able to recreate the d array in the area surrounding the entry in the table that exceeded the threshold. To support this requirement, the systolic array can periodically output the values of a complete column of d (“a snapshot”) to theCPU 32. This will enable theCPU 32 to recreate any required portion of d greater than the index j of the snapshot. - Many matching applications operate on data representing a two dimensional entity, such as an image.
FIG. 23 illustrates asystolic array 120 ofre-configurable logic devices 20, preferably FPGA's, which enables matches on two dimensional data. Theindividual cells 122 each hold one pixel of the image for which the user is desiring to match (the image key) and one pixel of the image being searched (the target image). For images of sufficiently large size, it is likely they will not all fit into onere-configurable logic chip 124. In such cases, a candidate partitioning of cells to chips is shown with the dashed lines, placing a rectangular subarray of cells in eachchip 124. The number of chip-to-chip connections can be minimized by using a subarray that is square (i.e., same number of cells in the vertical and horizontal dimension). Other more complicated arrangements are shown below. - Loading of the target image into the
array 120 is explained usingFIG. 24 . Individual rows of each target image streaming off the massmagnetic medium 26, shown generally as point A, into thetop row 130 of the array via thehorizontal links 134 connecting each cell. With such a configuration, thetop row 130 operates as a data shift register. When theentire row 130 is loaded, the row is shifted down to thenext row 132 via thevertical links 136 shown in each column. Once the entire image is loaded into the array, a comparison operation is performed, which might require arbitrary communication between neighboring cells. This is supported by both the horizontal and vertical 126 and 128, respectively, shown inbi-directional links FIG. 23 . - Although for simplicity purposes the individual
126 and 128 are shown simply inbi-directional links FIGS. 23 and 24 ,FIG. 28 shows the flexibility for implementing a much more complex set of bi-directional links. As shown inFIG. 28 , data may be communicated from amass storage medium 180 and be input to a first row of a plurality ofcells 182, with each cell of the first row having a direct link to thecorresponding cell 184 below it in a second row of cells with asimple link 186, and so on throughout thearray 188 of cells. Overlying thearray 188 of cells is aconnector web 190 which provides direct connectivity between any two cells within the array without the need for transmission through any intervening cell. The output of thearray 188 is represented by the sum of the exit links 192 at the bottom of thearray 188. It should be understood that each cell in the array may be comprised of an FPGA, each one of which preferably has a re-configurable logic element corresponding toelement 20 inFIG. 1 , or any one of which may have are-configurable logic element 20 as well as adata shift register 24, or any one of which may have the entirety ofre-configurable logic device 21. - One embodiment for the individual cells of
array 120 is illustrated inFIG. 25 . Thecell 140 includes apixel register 142, LOADTi,j, which contains the pixels of the target image currently being loaded into the array. A register, 144 CMPTi,j, contains a copy of thepixel register 142 once the complete target image has been loaded. This configuration enables the last target image loaded to be compared in parallel with the next target image being loaded, essentially establishing a pipelined sequence of load, compare, load, compare, etc. Aregister 146, CMPPi,j, contains the pixels of the image key to be used for comparison purposes, and the comparelogic 148 performs the matching operation betweenregister 144 and register 146. The comparelogic 148 may include the ability to communicate with the neighboring cells to the left, right, up, and down shown generally as 150, 152, 154, and 156, respectively, to allow for complex matching functions. - Another embodiment for the individual cells of
array 120 ofFIG. 23 is illustrated inFIG. 26 . Thecell 140 ofFIG. 25 has been augmented to support simultaneous loading of the image key and the target image. In particular, thecell 160 includes the same components of thecell 140, but adds anew register 162, LOADPi,j, which is used to load the image key, and is operated in the same manner asregister 142. With such a configuration, if one disk read head of themass storage medium 26 is positioned above the image key, and a second disk read head is positioned above the target image, they can both flow off the disk in parallel and be concurrently loaded into thearray 160. - The operation performed within the compare logic block can be any function that provides a judgment as to whether or not there are significant differences between the target image and the image key. An example includes cross-correlations across the entire image or sub-regions of the image as described in John C. Russ, The Image Processing Handbook, 3rd edition, CRC Press 1999, which is incorporated herein by reference.
- The invention is also capable of performing data reduction searching. Such searching involves matching as previously described herein, but includes summarizing the matched data in some aggregate form. For example, in the financial industry, one might want to search financial information to identify a minimum, maximum, and latest price of a stock. A re-configurable logic device for computing such aggregate data reductions is illustrated as 100 in
FIG. 27 . Here, adata shift register 102 reads target data from a mass storage medium containing stock price information. In the example shown, three data reduction searches are shown, namely calculating the minimum price, the maximum price, and the latest price. As target data is fed into thedata shift register 102, decision logic computes the desired data reduction operation. In particular, the stock price is fed to aminimum price comparator 110 andmaximum price comparator 112 and stored therein. Each time a stock price is fed tocomparator 110, it compares the last stored stock price to the stock price currently being fed to it and whichever is lower is stored in data register 104. Likewise, each time a stock price is fed tocomparator 112, it compares the last stored stock price to the stock price currently being fed to it and whichever is higher is stored in data register 106. In order to compute the latest price, the stock price is fed into adata register 108 and the current time is fed into acomparator 114. Each time a time value is fed intocomparator 114, it compares the last stored time with the current time and which ever is greater is stored in data register 116. Then, at the end of the desired time interval for which a calculation is being made, the latest price is determined. - While data reduction searching has been described with respect to the very simple financial example shown in
FIG. 27 , it can be appreciated that the invention can perform data reduction searching for a variety of different applications of varying complexity requiring such functionality. The re-configurable logic device need simply be configured with the hardware and/or software to perform the necessary functions. - The ability to perform data reduction searching at disk rotational speeds cannot be under-estimated. One of the most valuable aspects of information is its timeliness. People are growing to expect things at Internet speed. Companies that can quickly compute aggregate data reductions will clearly have a competitive advantage over those that cannot.
- Additionally, data processing operations other than searching and reduction may also be implemented on the
re-configurable logic device 21. As mentioned above, these operations are referred to herein as data manipulation operations. Examples of data manipulation operations or suboperations thereof that can be performed on aPLD 20 include encryption, decryption, compression, and decompression operations. Thepreferred PLD 20 is an FPGA, even more preferably, a Xilinx FPGA. Further, still, any of these additional operations can be combined with searching and/or reduction operations in virtually any manner to form a multi-stage data processing pipeline that provides additional speed, flexibility, and security. The complexity of each operation is also virtually limitless, bounded only by the resources of there-configurable logic device 21 and the performance requirements of a practitioner of the invention. Each processing operation can be implemented in a single stage or in multiple stages, as may be necessary. -
FIG. 29 illustrates a multi-stagedata processing pipeline 200 implemented within are-configurable logic device 21 for a system as shown inFIG. 1 . At least one stage in thepipeline 200 is implemented on a PLD. Eachstage 202 of thepipeline 200 is configured to process the data it receives according to its intended functionality (e.g., compression, decompression, encryption, decryption, etc.), and thereafter pass the processed data either to the next stage in the pipeline, back to a prior stage, or to thecontrol processor 204. For example, thefirst stage 202 in thepipeline 200 operates on data streaming from amass storage medium 26 and processes that data according to its functionality. The data processed bystage 1 is thereafter passed to stage 2 for further processing, and so on, until stage N is reached. After the data has passed through allappropriate stages 202, the result(s) of that processing can be forwarded to thecontrol processor 204 and/or the computer oversystem bus 34. - This
exemplary pipeline 200 ofFIG. 29 can also be replicated so that aseparate pipeline 200 is associated with each head on a disk system of themass storage medium 26. Such a design would improve performance associated with performing parallel processing operations on multiple data streams as those streams are read out from the disk. If there are no other performance bottlenecks in the system, it is expected that throughput will increase linearly with the number ofpipelines 200 employed. - It should be noted that each stage need not necessarily be implemented on a
PLD 20 within there-configurable logic device 21. For example, some stages may be implemented in software on a processor (not shown) or dedicated hardware (not shown) accessible to thePLD 20. The exact design of each stage and the decision to implement each stage on aPLD 20, in software, or in dedicated hardware such as an ASIC, will be dependent upon the associated cost, performance, and resources constraints applicable to each practitioner's plans. However, by employing pipelining entirely within aPLD 20 such as an FPGA, the processing throughput can be greatly increased. Thus, for a balanced pipeline (i.e., a pipeline where each stage has the same execution time) having no feedback paths, the increase in data throughput is directly proportional to the number of stages. Assuming no other bottlenecks, as mentioned above, then with N stages, one can expect a throughput increase of N. However, it should be noted that the multi-stage pipeline may also utilize feedback between stages, which may be desirable for certain operations (e.g., some encryption operations) to reduce implementation cost or increase efficiency. -
FIG. 30 illustrates an exemplarymultistage pipeline 200 wherein the first fourstages 202 comprise adecryption engine 210. Thedecryption engine 210 in this example operates to receive encrypted and compressed data streaming from themass storage medium 26. Thefifth stage 202 serves as a decompression engine to decompress the decrypted compressed data exiting thedecryption engine 210. The output of the decompression engine is thus a stream of decrypted and decompressed data that is ready to be processed by thestage 6 search engine.Control processor 204 controls each stage to ensure proper flow therethrough. Thecontrol processor 204 preferably sets up parameters associated with each pipeline stage (including, if appropriate, parameters for stages implemented in software). -
FIG. 31 depicts an example wherein a PLD is used as an encryption engine for data either flowing from thesystem bus 34 to themass storage medium 26 or data flowing from themass storage medium 26 to thesystem bus 34.FIG. 32 depicts yet another exemplary pipeline wherein thepipeline 200 is comprised of multiple processing engines (each engine comprising one or more stages), each of which can be either activated by thecontrol processor 204 such that the engine performs its recited task on the data it receives or deactivated by thecontrol processor 204 such that is acts as a “pass through” for the data it receives. Activation/deactivation of the different engines will in turn depend on the functionality desired for the pipeline. For example, if it is desired to perform a search operation on encrypted and compressed data stored in themass storage medium 26, thedecryption engine 210,decompression engine 214, andsearch engine 218 can each be activated while theencryption engine 212 andcompression engine 216 can each be deactivated. Similarly, if it is desired to store unencrypted data in the mass storage medium in a compressed and encrypted format, thecompression engine 216 and theencryption engine 212 can be activated while thedecryption engine 210, thedecompression engine 214, and thesearch engine 218 are each deactivated. As would be understood by those of ordinary skill in the art upon reading the teachings herein, other activation/deactivation combinations can be used depending on the desired functionality for thepipeline 200. - Advanced encryption/decryption algorithms require a complex set of calculations. Depending on the particular algorithm employed, performing encryption/decryption at disk speed requires that one employ advanced techniques to keep up with the streaming data arriving at the encryption/decryption engine. The PLD-based architecture of the present invention supports the implementation of not only relatively simple encryption/decryption algorithms, but also complex ones. Virtually any known encryption/decryption technique can be used in the practice of the present invention, including but not limited to DES, Triple DES, AES, etc. See Chodowiec et al., “Fast Implementations of Secret-Key Block Ciphers Using Mixed Inter- and Outer-Round Pipelining”, Proceedings of International Symposium on FPGAs, pp. 94-102 (February 2001); FIPS 46-2, “Data Encryption Standard”, revised version issued as FIPS 46-3, National Institute of Standards and Technology (1999); ANSI x9.52-1998, “Triple Data Encryption Algorithm Modes of Operation”, American National Standards Institute (1998); FIPS 197, “Advanced Encryption Standard”, National Institute of Standards and Technology (2001), the entire disclosures of all of which are incorporated herein by reference.
-
FIG. 33 illustrates an example of single stage encryption that can be implemented with the present invention. The data flow direction is top to bottom. A block of text (typically 64 or 128 bits) is loaded into input register 220 (by eithercontrol processor 204 or CPU 32). Combinational logic (CL) 224 computes the cipher round, with the results of the round being stored inoutput register 226. During intermediate rounds, the contents ofoutput register 226 are fed back throughfeedback path 225 into theCL 224 throughMUX 222 to compute subsequent rounds. Upon completion of the final round, the data in the output register is the encrypted block and is ready to be stored in the mass storage medium. This configuration can also be used as a single stage decryption engine as well, wherein the CL that computes the cipher is decryption logic rather than encryption logic. - The throughput of the encryption engine shown in
FIG. 33 can be improved through the use of pipelining techniques.FIG. 34 depicts an example of a pipelined encryption engine wherein there is pipelining within the combinational logic of the round itself. EachCL 224 includes multiple intra-round pipeline registers 228. The number of intra-round pipeline registers 228 used can be variable and need not be limited to two per CL. Further, the loops represented by thefeedback path 225 can be unrolled with multiple copies of the 224 a, 224 b, . . . , each with an inter-round pipeline register 230 therebetween. As with the number ofround CL intra-round registers 228 for eachCL 224, the degree of unrolling (i.e., number of round CLs 224) is also flexible. Relative to the encryption engine ofFIG. 33 , it should be noted that the engine ofFIG. 34 will consume more resources on thePLD 20, but will provide a higher data throughput. -
FIG. 35 illustrates an example of an encryption engine wherein the rounds are completely unrolled. Thefeedback paths 225 ofFIGS. 33 and 34 are no longer necessary, and data can continuously flow from theinput register 220 through the pipeline of CLs 224 (each including multiple intra-round pipeline registers 228 and separated by inter-round pipeline registers 230) to theoutput register 226. Relative to the encryption engines ofFIGS. 33 and 34 , this configuration provides the highest data throughput, but also requires the greatest amount of resources in the re-configurable logic. - In many situations, data is retained in a data warehouse, as shown in
FIG. 36 . The person or entity who owns the data warehouse (the actual hardware and related database technology on which data resides) is often not the same person or entity who owns the actual data stored therein. For example, if Party A (a data warehouser) owns a data warehouse and offers data warehousing service to Party B (a data owner who is to use Party A's data warehouse to physically store data), then the data owner has a legitimate concern about the third parties who may have access to the data stored in the data warehouser's warehouse. That is, the data warehouser controls physical access to the data, but it is the data owner who wants to control who may physically access the data through an access gateway, as shown inFIG. 36 . In such cases, it is conventional for the data owner's data to be stored in the data warehouse in an encrypted format, and the data owner retains control over the distribution of any decryption algorithm(s) and/or key(s) for the stored data. That way, the risk of unauthorized third parties gaining access to the unencrypted format of the data owner's data is reduced. In such an arrangement, the data warehouser is not provided with access to an unencrypted version of the data owner's stored data. - If the data owner wishes to communicate all or a portion of its stored encrypted data from the data warehouse to Party C via a network such as the Internet, that data can be protected during delivery over the network via another form of encryption (e.g., different algorithm(s) and/or different decryption key(s)). The data owner can then provide Party C with the appropriate algorithm(s) and/or key(s) to decrypt the data. In this manner, the data owner and the authorized third party are the only two parties who have access to the decrypted (plain text) data. However, the authorized third party will not be able to decrypt the data owner's data that is still stored in the data warehouse because that data will possess a different mode of encryption than the data received.
- Conventionally, the computations required to perform encryption/decryption in data warehousing scenarios are performed in software on computers owned and under the direct control of the data warehouser. In such a situation, as shown in
FIG. 37 , the plain text that is the output of the decryption operation is stored in the main memory of the processor used to perform the encryption/decryption operations. If this software (or other software running on the processor) has been compromised by a virus or other malware, the data owner may lose control over the plain text data to an unknown party. Thus, with conventional approaches, one or both of the data warehouser and an unknown malware-related party has access to the processor main memory, and therefore access to the plain text form of the data owner's data. - To improve upon this security shortcoming, the present invention can be used to implement encryption and decryption on re-configurable logic device 21 (preferably within a PLD 20) over which only the data owner has control, as shown in
FIG. 38 . InFIG. 38 , adecryption engine 3800 usingKey 1 and anencryption engine 3802 usingKey 2 are implemented on aPLD 20. There-configurable logic device 21 remains under control of the data owner and preferably (although it need not be the case) communicates with the data store of the data warehouser over a network such as the Internet to receive astream 3806 of the data owner's encrypted data (wherein the stored data was previously encrypted using Key 1). Thedecryption engine 3800 thus operates to decrypt thedata stream 3806 usingKey 1. The output 3804 of thedecryption engine 3800 is the data owner's data in decrypted (or plain text) format. This data remains in the secure memory of thePLD 20 or the secure on-board memory. Because this secure memory is invisible and inaccessible to software which may have malware thereon, the risk of losing control over the plain text data to “hackers” is virtually eliminated. Thereafter, the plain text data 3804 is provided toencryption engine 3802, which encryptsdata 3806 usingKey 2. The output of theencryption engine 3802 is newly encrypteddata 3808 that can be delivered to an authorized third party data requester. Secure delivery ofdata 3808 over a network such as the Internet can be thus maintained. For the authorized third party data requester to interpretdata 3808, the data owner can provide that third party withKey 2. -
FIGS. 39(a) and (b) illustrate embodiments for this feature of the present invention.FIG. 39(a) illustrates acircuit board 3900 that could be installed in a computer server. PCI-X connector 3916 serves to interface theboard 3900 with the server's system bus 34 (not shown). APLD 20 such as an FPGA is implemented onboard 3900. Within the FPGA, three functions are preferably implemented: afirmware socket 3908 that provides connection with the external environment, adecryption engine 3904, and anencryption engine 3902. The FPGA preferably also communicates with on-board memory 3906, which is connected only to the FPGA. A preferred memory device for on-board memory 3906 is an SRAM or a DRAM. The address space and existence ofmemory 3906 is visible only to the FPGA. The FPGA is also preferably connected to a disk controller 3912 (employing SCSI, Fiber Channel, or the like) via a private PCI-X bus 3910.Disk connector 3914 preferably interfaces thedisk controller 3912 with mass storage medium 26 (not shown) which can serve as the data warehouse.Disk controller 3912 anddisk connector 3914 are off-the-shelf components, well known in the art. Examples of manufacturers include Adaptec and LSI. - To support normal read/write access to the
mass storage medium 26, the FPGA is preferably configured as a PCI-X to PCI-X bridge that links the PCI-X connector 3916 with the internal PCI-X bus 3910. These bridging operations are performed withinfirmware socket 3908, the functionality of which is known in the art. Communication pathways other than PCI-X may be used, including but not limited to PCI-Express, PCI, Infiniband, and IP. - To support the encryption/decryption functionality, data streaming into the
board 3900 from themass storage medium 26 is fed into thedecryption engine 3904. The plain text output of thedecryption engine 3904 can be stored in on-board memory 3906 (FIG. 39(a) , stored in memory internal to the FPGA (FIG. 39(b) , or some combination of the two. Thereafter, theencryption engine 3902 encrypts the plain text data that is stored inmemory 3906, internal FPGA memory, or some combination of the two, using a different key than that used to decrypt the stored data. The choice of whether to use on-board memory 3906 or internal FPGA memory will depend upon a variety of considerations, including but not limited to the available FPGA resources, the volume of data to be decrypted/encrypted, the type of decryption/encryption employed, and the desired throughput performance characteristics. - During the time that the plain text is resident in the on-
board memory 3906 or in the internal FPGA memory, this plain text data is not accessible to a processor accessingmotherboard bus 34 because there is no direct connection betweenmemory 3906 or internal FPGA memory and the PCI-X connector 3916. Accordingly,memory 3906 and the internal FPGA memory are not in the address space of such a processor, meaning, by derivation, thatmemory 3906 and the internal FPGA memory are not accessible by any malware that may be present on that processor. - Moreover, it should be noted that the embodiments of
FIGS. 39(a) and (b) may also optionally include a search engine (not shown) within the FPGA located between thedecryption engine 3904 andencryption engine 3902, thereby allowing the data owner to deliver targeted subsets of the stored data to the authorized third party data requester that fit within the boundaries of the third party's data request. - As discussed above, compression and decompression are also valuable operations that can be performed in a PLD in accordance with the techniques of the present invention. It is common to compress data prior to storage in a mass storage medium 26 (thereby conserving storage space), and then decompress that data when reading it from the mass storage medium for use by a processor. These conventional compression and decompression operations are typically performed in software. A compression technique that is prevalently used is the well-known Lempel-Ziv (LZ) compression. See Ziv et al., “A Universal Algorithm for Sequential Data Compression”, IEEE Trans. Inform. Theory, IT-23(3): 337-343 (1977); Ziv et al., “Compression of Individual Sequence via Variable Rate Coding”, IEEE Trans. Inform. Theory, IT-24: 530-536 (1978), the entire disclosures of both of which are incorporated by reference herein. Furthermore, the PLD-based architecture of the present invention supports the deployment of not only LZ compression but also other compression techniques. See Jung et al., “Efficient VLSI for Lempel-Ziv Compression in Wireless Data Communication Networks”, IEEE Trans. on VLSI Systems, 6(3): 475-483 (September 1998); Ranganathan et al., “High-speed VLSI design for Lempel-Ziv-based data compression”, IEEE Trans. Circuits Syst., 40: 96-106 (February 1993); Pirsch et al, “VLSI Architectures for Video Compression—A Survey”, Proceedings of the IEEE, 83(2): 220-246 (February 1995), the entire disclosures of all of which are incorporated herein by reference. Examples of compression techniques other than LZ compression that can be deployed with the present invention include, but are not limited to, various lossless compression types such as Huffman encoding, dictionary techniques, and arithmetic compression, and various known lossy compression techniques.
- To improve the speed at which compressed data can be searched, it will be valuable to also import the decompression operation onto the
PLD 20 that performs the searching, thereby providing the decompression with the same speed advantages as the PLD-based search operation.FIG. 40 illustrates this aspect of the present invention wherein a stream 4000 of compressed data is passed from themass storage medium 26 to are-configurable logic device 21 on which a decompression (expansion)engine 4002 and asearch engine 4004 are implemented within aPLD 20.FIG. 41 illustrates a preferred embodiment for this aspect of the invention. InFIG. 41 , theFPGA 20 ofboard 3900 depicted inFIGS. 39(a) and (b) implements thedecompression engine 4002 and thesearch engine 4004. As described in connection withFIGS. 39(a) and (b) , the integrity of the plain text form of the stored data (the decompressed data exiting the decompression engine 4002) is preserved because it is stored only in on-board memory 3906, internal FPGA memory, or some combination of the two.FIG. 42 illustrates a preferred implementation for a compression operation, wherein theFPGA 20 ofboard 3900 has a compression engine 4200 implemented thereon, thereby allowing data coming fromsystem bus 34 to be stored in a compressed manner onmass storage medium 26. As should be understood, theFPGA 20 ofboard 3900 can also be loaded with thedecompression engine 4002,search engine 4004, and compression engine 4200. In such a deployment, depending on the functionality desired ofboard 3900, either the compression engine 4200 can be deactivated (thereby resulting in a combined decompression/search functionality) or thedecompression engine 4002 andsearch engine 4004 can both be deactivated (thereby resulting in a compression functionality). - To configure
FPGA 20 with the functionality of the present invention, the flowchart ofFIG. 43 is preferably followed. First,code level logic 4300 for the desired processing engines that defines both the operation of the engines and their interaction with each other is created. This code, preferably HDL source code, can be created using standard programming languages and techniques. As examples of an HDL, VHDL or Verilog can be used. Thereafter, at step 4302, a synthesis tool is used to convert theHDL source code 4300 into a gate level description 4304 for the processing engines. A preferred synthesis tool is the well-known Synplicity Pro software provided by Synplicity, and a preferred gate level description 4304 is an EDIF netlist. However, it should be noted that other synthesis tools and gate level descriptions can be used. Next, at step 4306, a place and route tool is used to convert the EDIF netlist 4304 into the template 4308 that is to be loaded into theFPGA 20. A preferred place and route tool is the Xilinx ISE toolset that includes functionality for mapping, timing analysis, and output generation, as is known in the art. However, other place and route tools can be used in the practice of the present invention. The template 4308 is a bit configuration file that can be loaded into theFPGA 20 through the FPGA's Joint Test Access Group (JTAG) multipin interface, as is known in the art. - As mentioned above, templates 4308 for different processing functionalities desired for the system can be pre-generated and stored for selective implementation on the FPGA. For example, templates for different types of compression/decompression, different types of encryption/decryption, different types of search operations, different types of data reduction operations, or different combinations of the foregoing can be pre-generated and stored by a computer system for subsequent loading into the
FPGA 20 when that functionality is needed. - Further still, performance characteristics such as throughout and consumed chip resources can be pre-determined and associated with each processing operation. Using these associated parameters, an algorithm can be used to intelligently select which template is optimal for a particular desired functionality.
- For example, such an algorithm could provide guidance as to which of the encryption engines of
FIGS. 33-35 is best suited for a given application. The table below presents parameters that can be used to model performance in accordance with the encryption/decryption operations of the invention. -
TABLE 1 Variable definitions. Variable Definition B size of a block (number of bits encrypted/ decrypted at a time) R number of rounds in overall operation (encryption/decryption) L loop unrolling level, number of rounds concurrently executing in loop-level pipe- lining (loop-level pipelining depth) p pipelining depth within each round fCLK(p, L) achievable clock rate for given pipelining configuration TCLK(p, L) period of clock = 1/fCLK(p, L) I number of iterations required for each block = [R/L] AR(p) chip resources required for a round with internal pipelining depth p (including inter-round pipe- lining register) A0 chip resources required for fixed components (e.g., input register, mux., etc.)
The values for each of these parameters are readily known or can be readily measured, as known in the art. If R=IL for an integer I, the iterations for the encryption/decryption have been evenly unrolled. If this is not the case, later pipeline stages must have a pass-through capability, as the final result would be computed inside the pipeline rather than at the end. - The throughput of a pipelined cipher engine is given by the following expression:
-
- The chip resources for an FPGA are typically measured in CLBs or slices, as is well-known. With re-configurable logic other than FPGAs, the resources might be measured in other units (e.g., chip area). In either event, the resources required will be linear in the number of rounds supported in parallel. Hence, the chip resources required for the engine is as follows:
-
Resources=A 0 +LA R(p) - The values for the parameters Throughput and Resources can be determined in advance for each stored processing operation (or function fi) that may be implemented in a stage of a pipeline. Accordingly, a table can be created that relates each processing operation or function with its corresponding values for Throughput and Resources.
- Accordingly, the specific template (which defines one or more different processing operations) to be deployed on a PLD can be tailored to the particular query or command issued. An algorithm that balances Throughput and Resources in a manner desired by a practitioner of the present invention can be created to decide which candidate template is best-suited for an application. Thus, a
control processor 32 can compute the overall throughput and resources for a set of functions as follows. The throughput for a set of functions is the minimum throughput for each of the functions: -
Throughput=Min(ThroughputF1,ThroughputF2 ,K,ThroughputFn) - The resources required to deploy a set of functions is the sum of the resources required for each of the functions:
-
Resources=ResourcesF1+ResourcesF2+ . . . +ResourcesFn - Given several options for each function, the control processor can then solve an optimization problem (or if desired a “near optimization” problem). The optimization can be to deploy the set of options for each function that maximizes the overall throughput under the constraint that the required resources be less than or equal to the available resources on the re-configurable logic, or the optimization can be to deploy the set of options for each function that minimizes the required resources under the constraint the that overall throughput not fall below some specified minimum threshold. Techniques for solving such optimization problems or near optimization problems are well known in the art. Examples of such techniques include, but are not limited to complete enumeration, bounded search, genetic algorithms, greedy algorithms, simulated annealing, etc.
- The use of the inventive system to process data streaming from a mass storage medium such as a disk drive system is a powerful technique for processing stored data at high speeds. Very large databases, however, typically span many disk cylinders. Accordingly, delays may be encountered when database files are written on tracks that have been placed on non-contiguous disk cylinders. These delays are associated with having to move the disk read/write head from its current position over a data cylinder to a new data cylinder where the file to be read from the disk continues. These delays increase as the distance that the head must travel increases. Therefore, for reading data that spans multiple data cylinders on the disk, the flow of the data stream from the disk will be interrupted as the head moves from cylinder to cylinder. With today's disk drives, these delays may be in the millisecond range. Thus, these head movement delays (known in the art as “seek” times) represent a potential performance bottleneck.
- With standard contemporary disk systems, tracks 4400 are laid out on the disk or sets of disk platters as
cylinders 4402 that are concentric aroundcentral origin 4406, as shown inFIGS. 44(a) and (b) .FIG. 44(a) illustrates a rotatable planar magnetic medium 4450 that serves as a storage device such as a computer hard disk, wherein data is placed on the magnetic medium 4450 in discrete,circular tracks 4400. In magnetic recordings, eachtrack 4400 i, wherein i may be a, b, c, . . . , is positioned at its own radius Ri relative to thecentral origin 4406. Each track is radially separated from the next inner track and the next outer track by a track-to-track spacing T. The value of T is preferably uniform for each track-to-track radial distance. However, this need not be the case. For ahead 4404 to read or write data fromtrack 4400 i, thehead 4404 must be positioned such that it resides over a point on the disk that is Ri from theorigin 4406. As the disk rotates, the track will pass under the head to allow for a read or write operation. - Disk drives typically utilize a direct overwrite approach, so accurate radial placement of the
head 4404 over the medium 4450 is critical for sustained error free use. In general, eachcircular track 4400 i is divided into about 150 roughly equal contiguous arcs.FIG. 44(a) depicts an example wherein eachtrack 4400 i is divided into 8 uniformcontiguous arcs 4460, eacharc 4460 spanning an angle of θ=2π/8. The arcs ofdifferent tracks 4400 that span the same angle θ comprise a disk sector (or wedge) 4462, as known in the art. - These
arcs 4460 contain several data sets 4464 (logical blocks and physical sectors) that can be altered (rewritten). Additionally, thesearcs 4460 contain unalterable (fixed) magnetically written markings 4466 (such as ABCD servo bursts) that are used as a guide to place thehead 4404 over the data regions so that the signal strength from the magnetic recording is maximized. -
FIG. 44(b) is a block diagram view of adisk drive system 4470 with a cross-sectional view ofseveral disks 4450 residing in the drive system. As shown inFIG. 44(b) ,many drives systems 4470 utilize both sides of adisk 4450, and may include several disks 4450 (or platters) that are concentrically placed on a rotational device 4472 such as a spindle motor. In such an arrangement, each disk surface (top surface 4452 and bottom surface 4454) is accessed by adifferent head 4404. The collection ofcircular tracks 4400 accessed by theseparate heads 4404 at a single radius Ri is referred to as a “data cylinder” 4402. A band of adjacent data cylinders is called a zone. - Having
separate cylinders 4402 requires the movement of thedisk head 4404 when going betweencylinders 4402. To move betweencylinders 4402, thepositioning system 4474 must appropriately moveheads 4404 along line 4476, typically in increments of T. As one moves from inner cylinders to outer cylinders, the circumference of the written track increases. For example, with reference toFIG. 44(a) , the circumference ofinnermost track 4400 a is 2πRa, and the circumference ofoutermost track 4400 d is 2πRd. Given that Rd is greater than Ra, it likewise follows that the circumference oftrack 4400 d is greater than that oftrack 4400 a. Given these circumferential differences, different zones may be defined to allow for different linear bit densities along the track, thereby yielding more data sectors around thecylinder 4402 for larger radii than those yielded by using roughly constant linear data densities. - To write data spanning one or
more tracks 4400, thehead 4404 must be repositioned by thepositioning system 4474 to another radius by at least the center-to-center distance ofadjacent tracks 4400. This motion requires mechanical settling time (repositioning of the head 4404) and resynchronization time of thehead 4404 to the cylinder 4402 (in time, downtrack). When moving the head a relatively long distance such as T, this settling time is significant. Together, these times may take, on average, half the revolution of thecylinder 4402, which is typically several milliseconds when moving from cylinder to cylinder. As mentioned above, this time duration is often referred to as the “seek” time, and it can be a major performance bottleneck. Due to this bottleneck, data write/read bursts are generally limited to single tracks or cylinders. - According to a novel and unique feature of the preferred embodiment, a technique is used to reposition the
head 4404 to accommodate tracks laid out as discontiguous arcs. In a preferred embodiment, these discontiguous arcs are discontiguous circular arcs arranged in a generally helical tracking pattern on thedisk 4450, and the head positioning system uses servo patterns, such as ABCD servo bursts, already present in conventional systems to appropriately position the head. This technique can provide for written bursts in excess of a track and up to an entire zone, wherein a single zone may encompass the entire disk. While other servo patterns are possible, and are not excluded from the scope of this feature of the invention, an example will be given using the conventional ABCD system for servo patterns. - In contrast to conventional head motion where the goal of the servo system is to position the
head 4404 on a single radius to provide acircular track 4400, this novel and unique positioning method, as shown inFIG. 45 , aims to position thehead 4404 over a discrete arc 4500 in proportion to the angular position of thehead 4404 around thedisk 4450, thereby accommodating a helical topology of the discontiguous arcs' magnetic pattern on thedisk 4450. - With reference to
FIG. 45 , consider a single revolution of adisk 4450 uniformly divided into W wedges (or sectors) 4462, wherein eachwedge 4462 spans an angle of 2π/W. W is the total number ofwedges 4462 that pass thehead 4404 in a single revolution of the disk. InFIG. 45 , the head (not shown) can be positioned at any point along the x-axis to the left oforigin 4406. Eachwedge 4462 can be assigned a wedge number w, wherein w can be anyinteger 1 through W. As thedisk 4450 spins, the radial displacement of thehead 4404 will be incremented an amount in proportion to the wedge number, w, by the linear ratio (w/W)*T, where T is the conventional track-to-track (or cylinder-to-cylinder) distance or some other distance. - As shown in
FIG. 45 , data will be written on the surface ofdisk 4450 in a piece-wise fashion, preferably a piece-wise helical fashion defined by a plurality of discontiguous circular arcs 4500. For each revolution of the disk in a preferred embodiment, thehead 4404 will be positioned to encounter W discontiguous circular arcs 4500, each circular arc 4500 spanning an angle of 2π/W. In the example ofFIG. 45 , W is equal to 4. When it is stated that each arc 4500 is circular, what is meant is that each arc 4500 i possesses a substantially constant curvature. In a preferred embodiment wherein W is constant for all radii, each discontiguous arc 4500 i will possess a circumference of 2πRi/W. The radius Ri for each arc 4500 i, is preferably T/W greater than that of arc 4500 i−1 and is preferably T/W less than that of arc 4500 i+1. Thus, as noted below, for each complete revolution of thedisk 4450 in the preferred embodiment, thehead 4404 will effectively move a distance equal to the conventional adjacent track-to-track distance T. As can be seen inFIG. 45 , the plurality of discrete circular arcs 4500 define a generally helical or spiral pattern on thedisk 4450. - It should be noted that each radius Ri can have its own W value. In such cases, the discontiguous arcs 4500 may have different circumferences and may span multiple angles from the origin.
- Each discontiguous arc 4500 will include an ABCD servo pattern thereon like that shown in
FIG. 44(a) for a contiguous arc to ensure proper movement of thehead 4404 from one arc 4500 to the next. Conventional servo systems have sufficient bandwidth to stepheads 4404 by these small amounts of T/W. - As part of this process, consider an example where the read/
write head 4404 is initially placed at position d0 relative tocentral origin 4406 for the disk ofFIG. 45 . This initial position can be R1, the radial distance of the innermost arc 4500 1. As the disk spins, for each revolution r, the radial displacement D of thehead 4404 will be positioned relative to d0 by an amount proportional to the wedge number w as follows: -
- wherein T is the conventional track-to-track (or cylinder-to-cylinder) distance. In one full revolution, the
head 4404 will have radially moved exactly one full track-to-track distance T. When r reaches 2, thehead 4404 will have radially moved exactly 2T. -
FIG. 46 illustrates the process by which adisk drive system 4470 operates to read data from adisk 4450 in accordance with this feature of the preferred embodiment. Atstep 4600, the system senses the portion of the disk over which the head resides. Preferably, this step is achieved at least in part by sensing a servo pattern and reading a sector ID written on the disk, as is known in the art. Thereafter, atstep 4602, depending on the wedge number w of the disk wedge 4502 that this portion corresponds to, the head is repositioned to D as each new disk wedge 4502 is encountered by the head. Next, atstep 4604, the head position is fine-tuned using the servo pattern on the arc 4500. Once the head is properly positioned, the data is read from the disk atstep 4606. The process then returns to step 4600 as the disk continues to spin. - This feature of the invention allows for the seamless and continuous operation of the head in read or write mode over an entire zone, thus permitting the reading or writing of an entire disk without incurring the delays associated with normal seek times. Thus, when used in combination with the searching and processing techniques described above, a searching/processing system can operate more efficiently, without being stalled by seek time delays. However, it is worth noting that this feature of the invention need not be used in combination with the searching/processing techniques described above. That is, this technique of using a helical pattern to read and write data to and from magnetic data storage disks can be used independently of the above-described searching and processing features.
- Another performance bottleneck occurs when a disk upon which data is stored becomes fragmented. In general file systems, the files are divided into number of fixed size segments (blocks) and these segments are stored on the disk. If the file is very long, the segments might be stored at various locations on the disk. As noted above, to access such a file the disk head has to move from cylinder to cylinder slowing down the file access. It would be better if the entire file is stored as a single object, in a single cylinder or immediately adjacent cylinders. However, this might not always be possible because of the fragmentation of the disk over time. The defragmentation of the disk usually involves moving all the files to one end of the disk so that the new files can be allocated contiguously on the other free end. Typically, such a defragmentation takes a long time. Many attempts have been made in the prior art to solve this problem. One well-known technique is known as the binary buddy system. With the binary buddy system, every request size for disk space is rounded to the next power of 2. Thus, for a 2000 byte file, an allocation request of 2048 (211) is made. This process leads to internal fragmentation.
- In an effort to minimize these problems, disclosed herein is a technique where a file is divided into one or more segments, wherein each segment is a power of 2. Thus, each file that is not sized as an even power of 2 is represented as the sum of a series of power of 2 segments.
- In an embodiment wherein a minimum segment size is not set, this technique for segmenting a file into blocks of memory comprises: (1) if the file size is an even power of 2, requesting a block of storage space on the storage medium equal to the file size, (2) if the file size is not an even power of 2, requesting a plurality of blocks of storage space on the storage medium, each block having a size that is equal to a power of 2, and (3) if the request is accepted, storing the data file in a storage medium such as on a disk or in memory as one or more data file segments in accordance with the request. In a preferred version of this technique, the file size F can be thought of in binary terms as F equals Fk . . . F2 F1. When the file size is not an even power of 2, requesting blocks in storage comprises requesting a total number n of blocks B1, . . . , Bn equal to a total number of bits in F equal to 1, each block Bi corresponding to a different bit Fi in F equal to 1 and having a size of 2i.
FIG. 47(a) illustrates an example of this process for a file size F of 2500 bytes. As shown inFIG. 47(a) , the preferred sum of powers of 2 technique, wherein a minimum segment size is not used, results in segment sizes of 2048 bytes (212), 256 bytes (29), 128 bytes (28), 64 bytes (27) and 4 bytes (22). - To avoid generating overly small segments, it is preferred that a minimum segment size be used. For example, the minimum segment size can be 512 bytes (29) (thus m is 2). With this technique, when a minimum segment size is used, dividing a file into a sum of powers of 2 size will result in the smallest segment being at least equal to the minimum segment size. Accordingly, (1) if the file size is an even power of 2 and greater than or equal to 2m, then a block of storage space is requested such that the block is equal to the file size, (2) if the file size is less than 2m, then a block of storage space is requested such that the block is equal to 2m, and (3) if the file size is not an even power of 2 and greater than 2m, then a plurality of blocks of storage space on the storage medium are requested, each block having a size that is equal to a power of 2 and equal to or greater than 2m.
-
FIG. 47(b) illustrates a preferred implementation of this minimum segment feature, wherein the file size S is 2500 bytes. With this technique, it can be seen that the segment sizes will be 2048 bytes (212), 512 bytes (210). In the preferred implementation ofFIG. 47(b) , because at least one bit Fi in Fm−1 through F1 is equal to 1, then F becomes rounded up to a new value R (which can be represented in binary as Rq . . . R2R1). The value of R is chosen as the minimum value greater than F for which the bits Rm−1 through R1 are all equal to zero. If the file size F was a different value such that all of the bits Fm−1 through F1 are equal to zero, then the choice of blocks would proceed as withFIG. 47(a) . However, if at least one of the bits Fm−1 through F1 is equal to one, then the procedure ofFIG. 47(b) using R is preferably followed. - As would be understood by those of ordinary skill in the art upon reviewing the teachings herein, program logic to implement such a sum of powers of 2 file system, with either a minimum segment size or without, can be readily developed.
- With a sum of powers of 2 file system, the internal fragmentation is equal to conventional (usual) file systems, which divide a file into segments of equal size, with the same minimum segment size.
FIG. 48 shows the wasted space due to internal fragmentation in a buddy file system versus a usual (conventional) system and a sum of powers of 2 file system. When the minimum segment size is small, the wasted space is substantial in the case of the buddy system, but it becomes comparable to other systems as the minimum segment size increases. As the number of small files dominate in many file systems, the buddy system is often times not a suitable option. -
FIG. 49 compares the total number of segments, for an entire file, according to a usual file system and the sum of powers of 2 file system. When the minimum segment size is small, the sum of powers of 2 system produces significantly fewer segments than the usual mechanism.FIG. 50 shows the minimum, average and maximum number of segments per file according to both file systems. Here again, the sum of powers of 2 file system dominates and creates a low number of segments. In other words, the sum of powers of 2 file system leads to more contiguous files. - As such, the sum of powers of 2 file system is a good trade off between the buddy system (where there is a lot of internal fragmentation) and the usual file system (where there is less internal fragmentation but potentially poor contiguity).
- As a further refinement, it is preferred that a defragmentation algorithm be used with the sum of powers of 2 file system to more greatly ensure contiguous space on the disk for an allocation request. If a contiguous allocation cannot be satisfied, the defragmentation algorithm tries to free space so as to satisfy the allocation request. This defragmentation algorithm does not defragment the entire disk. Instead, it incrementally defragments a portion of the disk to enable the new allocation request to be satisfied in an incremental manner. A preferred defragmentation algorithm for use with the sum of powers of 2 file system is disclosed on pages 26-30 of the paper Cholleti, Sharath, “Storage Allocation in Bounded Time”, MS Thesis, Dept. of Computer Science and Engineering, Washington University, St. Louis, Mo. (December 2002), available as Washington University technical report WUCSE-2003-2, the entire disclosure of which is incorporated herein by reference.
- Pseudo code for the preferred partial defragmentation algorithm, referred to herein as a “heap manager partial defragmentation algorithm” is reproduced below:
-
1. Initialization( ) for I = 0 to H−1 heapManager[i] = 0;/*empty heap*/ 2. Allocate(S) if there is a free block of size S allocate the block of size S with the lowest address, A UpdateHeapManager(S, A, “allocation”) else search for a free block of size bigger than S in increasing order of size if found, select the block with the lowest address split the block recursively until there is a block of size S select the block of size S with the lowest address, A UpdateHeapManager(S, A, “allocation”) else A = FindMinimallyOccupiedBlock(S) /*finds block to relocate*/ Relocate(S, A) /*relocates the sub blocks from block A*/ allocate the block with address A UpdateHeapManager(S, A, “allocation”) 3. FindMinimallyOccupiedBlock(S) find i such that heapManager[i] is minimum for i = 2H/S −1 to H/S return address A = i << log2 S 4. Relocate(S, A) subBlocks = FindSubBlocks(S, A); for each SB ∈ subBlocks Deallocate(SB), ∀SB ∈ subBlocks 5. Deallocate(extId) find address A of bock extId and size S; free the block; UpdateHeapManager(S, A, “deallocation”); 6. UpdateHeapManager(S, A, type) int maxLevel = log2H; int level = log2S; if type = “allocation” int addr = A >> level; if S > MinBlockSize heapManager[addr] = S /*block is fully occupied*/ /*blocks above the allocation level*/ addr = A >> level; for (i = level+1; i <= maxLevel;i++) addr = addr >> 1; heapManager[addr] = heapManager[addr] + S; if type = “deallocation” int addr = A >> level; /*current block*/ if S > MinBlockSize heapManager[addr] = 0 /*blocks above the deallocation level*/ addr = A >> level; for (i = level+1; i <= maxLevel;i++) addr = addr >> 1; //continuing from above addr heapManager[addr] = heapManager[addr] − S; - Various changes and modifications to the present invention would be apparent to those skilled in the art but yet which would not depart from the spirit of the invention. The preferred embodiment describes an implementation of the invention but this description is intended to be merely illustrative. Several alternatives have been also been above. For example, all of the operations exemplified by the analog processing have their equivalent counterparts in the digital domain. Thus, approximate matching and correlation types of processing can be done on the standard digital representation of the analog bit patterns. This can also be achieved in a continuous fashion using tailored digital logic, microprocessors and digital signal processors, or alternative combinations. It is therefore the inventors' intention that the present invention be limited solely by the scope of the claims appended hereto, and their legal equivalents.
Claims (1)
Priority Applications (4)
| Application Number | Priority Date | Filing Date | Title |
|---|---|---|---|
| US15/882,679 US10346181B2 (en) | 2003-05-23 | 2018-01-29 | Intelligent data storage and processing using FPGA devices |
| US16/503,244 US10719334B2 (en) | 2003-05-23 | 2019-07-03 | Intelligent data storage and processing using FPGA devices |
| US16/933,001 US10929152B2 (en) | 2003-05-23 | 2020-07-20 | Intelligent data storage and processing using FPGA devices |
| US17/180,432 US11275594B2 (en) | 2003-05-23 | 2021-02-19 | Intelligent data storage and processing using FPGA devices |
Applications Claiming Priority (7)
| Application Number | Priority Date | Filing Date | Title |
|---|---|---|---|
| US47307703P | 2003-05-23 | 2003-05-23 | |
| PCT/US2004/016398 WO2005048134A2 (en) | 2002-05-21 | 2004-05-21 | Intelligent data storage and processing using fpga devices |
| US10/550,323 US8095508B2 (en) | 2000-04-07 | 2004-05-21 | Intelligent data storage and processing using FPGA devices |
| US13/344,986 US8768888B2 (en) | 2003-05-23 | 2012-01-06 | Intelligent data storage and processing using FPGA devices |
| US14/315,560 US9176775B2 (en) | 2003-05-23 | 2014-06-26 | Intelligent data storage and processing using FPGA devices |
| US14/929,791 US9898312B2 (en) | 2003-05-23 | 2015-11-02 | Intelligent data storage and processing using FPGA devices |
| US15/882,679 US10346181B2 (en) | 2003-05-23 | 2018-01-29 | Intelligent data storage and processing using FPGA devices |
Related Parent Applications (1)
| Application Number | Title | Priority Date | Filing Date |
|---|---|---|---|
| US14/929,791 Continuation US9898312B2 (en) | 2003-05-23 | 2015-11-02 | Intelligent data storage and processing using FPGA devices |
Related Child Applications (1)
| Application Number | Title | Priority Date | Filing Date |
|---|---|---|---|
| US16/503,244 Continuation US10719334B2 (en) | 2003-05-23 | 2019-07-03 | Intelligent data storage and processing using FPGA devices |
Publications (2)
| Publication Number | Publication Date |
|---|---|
| US20180157504A1 true US20180157504A1 (en) | 2018-06-07 |
| US10346181B2 US10346181B2 (en) | 2019-07-09 |
Family
ID=35453244
Family Applications (10)
| Application Number | Title | Priority Date | Filing Date |
|---|---|---|---|
| US10/550,326 Abandoned US20070277036A1 (en) | 2003-05-23 | 2004-05-21 | Intelligent data storage and processing using fpga devices |
| US13/165,155 Expired - Lifetime US8620881B2 (en) | 2003-05-23 | 2011-06-21 | Intelligent data storage and processing using FPGA devices |
| US13/344,986 Expired - Lifetime US8768888B2 (en) | 2003-05-23 | 2012-01-06 | Intelligent data storage and processing using FPGA devices |
| US13/345,011 Expired - Lifetime US8751452B2 (en) | 2003-05-23 | 2012-01-06 | Intelligent data storage and processing using FPGA devices |
| US14/315,560 Expired - Lifetime US9176775B2 (en) | 2003-05-23 | 2014-06-26 | Intelligent data storage and processing using FPGA devices |
| US14/929,791 Expired - Lifetime US9898312B2 (en) | 2003-05-23 | 2015-11-02 | Intelligent data storage and processing using FPGA devices |
| US15/882,679 Expired - Lifetime US10346181B2 (en) | 2003-05-23 | 2018-01-29 | Intelligent data storage and processing using FPGA devices |
| US16/503,244 Expired - Fee Related US10719334B2 (en) | 2003-05-23 | 2019-07-03 | Intelligent data storage and processing using FPGA devices |
| US16/933,001 Expired - Fee Related US10929152B2 (en) | 2003-05-23 | 2020-07-20 | Intelligent data storage and processing using FPGA devices |
| US17/180,432 Expired - Lifetime US11275594B2 (en) | 2003-05-23 | 2021-02-19 | Intelligent data storage and processing using FPGA devices |
Family Applications Before (6)
| Application Number | Title | Priority Date | Filing Date |
|---|---|---|---|
| US10/550,326 Abandoned US20070277036A1 (en) | 2003-05-23 | 2004-05-21 | Intelligent data storage and processing using fpga devices |
| US13/165,155 Expired - Lifetime US8620881B2 (en) | 2003-05-23 | 2011-06-21 | Intelligent data storage and processing using FPGA devices |
| US13/344,986 Expired - Lifetime US8768888B2 (en) | 2003-05-23 | 2012-01-06 | Intelligent data storage and processing using FPGA devices |
| US13/345,011 Expired - Lifetime US8751452B2 (en) | 2003-05-23 | 2012-01-06 | Intelligent data storage and processing using FPGA devices |
| US14/315,560 Expired - Lifetime US9176775B2 (en) | 2003-05-23 | 2014-06-26 | Intelligent data storage and processing using FPGA devices |
| US14/929,791 Expired - Lifetime US9898312B2 (en) | 2003-05-23 | 2015-11-02 | Intelligent data storage and processing using FPGA devices |
Family Applications After (3)
| Application Number | Title | Priority Date | Filing Date |
|---|---|---|---|
| US16/503,244 Expired - Fee Related US10719334B2 (en) | 2003-05-23 | 2019-07-03 | Intelligent data storage and processing using FPGA devices |
| US16/933,001 Expired - Fee Related US10929152B2 (en) | 2003-05-23 | 2020-07-20 | Intelligent data storage and processing using FPGA devices |
| US17/180,432 Expired - Lifetime US11275594B2 (en) | 2003-05-23 | 2021-02-19 | Intelligent data storage and processing using FPGA devices |
Country Status (6)
| Country | Link |
|---|---|
| US (10) | US20070277036A1 (en) |
| EP (4) | EP2511787B1 (en) |
| JP (3) | JP2007524923A (en) |
| AU (2) | AU2004273406A1 (en) |
| CA (4) | CA2523548C (en) |
| WO (2) | WO2005048134A2 (en) |
Cited By (8)
| Publication number | Priority date | Publication date | Assignee | Title |
|---|---|---|---|---|
| CN109683822A (en) * | 2018-12-19 | 2019-04-26 | 深圳忆联信息系统有限公司 | A kind of method and its system of SSD SOC chip content address search controller |
| US10572824B2 (en) | 2003-05-23 | 2020-02-25 | Ip Reservoir, Llc | System and method for low latency multi-functional pipeline with correlation logic and selectively activated/deactivated pipelined data processing engines |
| CN110837395A (en) * | 2018-08-17 | 2020-02-25 | 北京图森未来科技有限公司 | Normalization processing method, device and system for multi-GPU parallel training |
| US10580518B2 (en) | 2005-03-03 | 2020-03-03 | Washington University | Method and apparatus for performing similarity searching |
| US10719334B2 (en) | 2003-05-23 | 2020-07-21 | Ip Reservoir, Llc | Intelligent data storage and processing using FPGA devices |
| US10846624B2 (en) | 2016-12-22 | 2020-11-24 | Ip Reservoir, Llc | Method and apparatus for hardware-accelerated machine learning |
| US10872078B2 (en) | 2012-03-27 | 2020-12-22 | Ip Reservoir, Llc | Intelligent feed switch |
| US20210089501A1 (en) * | 2019-09-24 | 2021-03-25 | Ati Technologies Ulc | Compression System with Longest Match Processing for Generating Compressed Data |
Families Citing this family (243)
| Publication number | Priority date | Publication date | Assignee | Title |
|---|---|---|---|---|
| US8095508B2 (en) | 2000-04-07 | 2012-01-10 | Washington University | Intelligent data storage and processing using FPGA devices |
| US6711558B1 (en) | 2000-04-07 | 2004-03-23 | Washington University | Associative database scanning and information retrieval |
| US7139743B2 (en) | 2000-04-07 | 2006-11-21 | Washington University | Associative database scanning and information retrieval using FPGA devices |
| US7716330B2 (en) | 2001-10-19 | 2010-05-11 | Global Velocity, Inc. | System and method for controlling transmission of data packets over an information network |
| US7711844B2 (en) | 2002-08-15 | 2010-05-04 | Washington University Of St. Louis | TCP-splitter: reliable packet monitoring methods and apparatus for high speed networks |
| US7602785B2 (en) | 2004-02-09 | 2009-10-13 | Washington University | Method and system for performing longest prefix matching for network address lookup using bloom filters |
| US7764795B2 (en) * | 2004-10-20 | 2010-07-27 | Oracle International Corporation | Key-exchange protocol using a password-derived prime |
| US20060167748A1 (en) * | 2005-01-25 | 2006-07-27 | Joachim Hartmann | Public/private campaign management for an internet sales application |
| US7634584B2 (en) | 2005-04-27 | 2009-12-15 | Solarflare Communications, Inc. | Packet validation in virtual network interface architecture |
| US7702629B2 (en) | 2005-12-02 | 2010-04-20 | Exegy Incorporated | Method and device for high performance regular expression pattern matching |
| US7954114B2 (en) | 2006-01-26 | 2011-05-31 | Exegy Incorporated | Firmware socket module for FPGA-based pipeline processing |
| US8020006B2 (en) * | 2006-02-10 | 2011-09-13 | Cisco Technology, Inc. | Pipeline for high-throughput encrypt functions |
| US7668197B1 (en) * | 2006-02-21 | 2010-02-23 | Uei Cayman Inc. | Codeset communication format and related methods and structures |
| US8379841B2 (en) | 2006-03-23 | 2013-02-19 | Exegy Incorporated | Method and system for high throughput blockwise independent encryption/decryption |
| CN100455263C (en) * | 2006-04-26 | 2009-01-28 | 东软飞利浦医疗设备系统有限责任公司 | X-ray machine image processing device |
| US7636703B2 (en) | 2006-05-02 | 2009-12-22 | Exegy Incorporated | Method and apparatus for approximate pattern matching |
| US7921046B2 (en) | 2006-06-19 | 2011-04-05 | Exegy Incorporated | High speed processing of financial information using FPGA devices |
| US7840482B2 (en) | 2006-06-19 | 2010-11-23 | Exegy Incorporated | Method and system for high speed options pricing |
| US20080189251A1 (en) * | 2006-08-25 | 2008-08-07 | Jeremy Branscome | Processing elements of a hardware accelerated reconfigurable processor for accelerating database operations and queries |
| US7660793B2 (en) | 2006-11-13 | 2010-02-09 | Exegy Incorporated | Method and system for high performance integration, processing and searching of structured and unstructured data using coprocessors |
| US8326819B2 (en) | 2006-11-13 | 2012-12-04 | Exegy Incorporated | Method and system for high performance data metatagging and data indexing using coprocessors |
| WO2008063974A2 (en) * | 2006-11-13 | 2008-05-29 | Exegy Incorporated | Method and system for high performance integration, processing and searching of structured and unstructured data using coprocessors |
| US8813260B2 (en) * | 2006-11-20 | 2014-08-19 | International Business Machines Corporation | Self-contained device security |
| US8862625B2 (en) | 2008-04-07 | 2014-10-14 | Teradata Us, Inc. | Accessing data in a column store database based on hardware compatible indexing and replicated reordered columns |
| US7966343B2 (en) | 2008-04-07 | 2011-06-21 | Teradata Us, Inc. | Accessing data in a column store database based on hardware compatible data structures |
| US8458129B2 (en) | 2008-06-23 | 2013-06-04 | Teradata Us, Inc. | Methods and systems for real-time continuous updates |
| US9424315B2 (en) | 2007-08-27 | 2016-08-23 | Teradata Us, Inc. | Methods and systems for run-time scheduling database operations that are executed in hardware |
| WO2009029842A1 (en) | 2007-08-31 | 2009-03-05 | Exegy Incorporated | Method and apparatus for hardware-accelerated encryption/decryption |
| US8001278B2 (en) * | 2007-09-28 | 2011-08-16 | Intel Corporation | Network packet payload compression |
| US8621137B2 (en) * | 2007-12-27 | 2013-12-31 | Sandisk Enterprise Ip Llc | Metadata rebuild in a flash memory controller following a loss of power |
| US8332660B2 (en) * | 2008-01-02 | 2012-12-11 | Arm Limited | Providing secure services to a non-secure application |
| US8775824B2 (en) * | 2008-01-02 | 2014-07-08 | Arm Limited | Protecting the security of secure data sent from a central processor for processing by a further processing device |
| US10229453B2 (en) | 2008-01-11 | 2019-03-12 | Ip Reservoir, Llc | Method and system for low latency basket calculation |
| US8374986B2 (en) | 2008-05-15 | 2013-02-12 | Exegy Incorporated | Method and system for accelerated stream processing |
| CN102246194B (en) * | 2008-11-10 | 2014-05-21 | 索莫亚私人有限公司 | Improved automated trading system |
| JP5871619B2 (en) | 2008-12-15 | 2016-03-01 | アイ・ピー・リザブワー・エル・エル・シー | Method and apparatus for high-speed processing of financial market depth data |
| US8365041B2 (en) | 2010-03-17 | 2013-01-29 | Sandisk Enterprise Ip Llc | MLC self-raid flash data protection scheme |
| US9674318B2 (en) | 2010-12-09 | 2017-06-06 | Solarflare Communications, Inc. | TCP processing for devices |
| WO2012079041A1 (en) | 2010-12-09 | 2012-06-14 | Exegy Incorporated | Method and apparatus for managing orders in financial markets |
| US9003053B2 (en) | 2011-09-22 | 2015-04-07 | Solarflare Communications, Inc. | Message acceleration |
| US10873613B2 (en) | 2010-12-09 | 2020-12-22 | Xilinx, Inc. | TCP processing for devices |
| US9258390B2 (en) | 2011-07-29 | 2016-02-09 | Solarflare Communications, Inc. | Reducing network latency |
| US8996644B2 (en) | 2010-12-09 | 2015-03-31 | Solarflare Communications, Inc. | Encapsulated accelerator |
| US9600429B2 (en) | 2010-12-09 | 2017-03-21 | Solarflare Communications, Inc. | Encapsulated accelerator |
| US9417894B1 (en) | 2011-06-15 | 2016-08-16 | Ryft Systems, Inc. | Methods and apparatus for a tablet computer system incorporating a reprogrammable circuit module |
| US20120324143A1 (en) * | 2011-06-15 | 2012-12-20 | Data Design Corporation | Methods and apparatus for data access by a reprogrammable circuit module |
| US8910020B2 (en) | 2011-06-19 | 2014-12-09 | Sandisk Enterprise Ip Llc | Intelligent bit recovery for flash memory |
| US8909982B2 (en) | 2011-06-19 | 2014-12-09 | Sandisk Enterprise Ip Llc | System and method for detecting copyback programming problems |
| GB201111554D0 (en) * | 2011-07-06 | 2011-08-24 | Business Partners Ltd | Search index |
| US8983915B2 (en) | 2011-08-01 | 2015-03-17 | Actifio, Inc. | Successive data fingerprinting for copy accuracy assurance |
| US8763018B2 (en) | 2011-08-22 | 2014-06-24 | Solarflare Communications, Inc. | Modifying application behaviour |
| US8958550B2 (en) * | 2011-09-13 | 2015-02-17 | Combined Conditional Access Development & Support. LLC (CCAD) | Encryption operation with real data rounds, dummy data rounds, and delay periods |
| US9058289B2 (en) | 2011-11-07 | 2015-06-16 | Sandisk Enterprise Ip Llc | Soft information generation for memory systems |
| US8954822B2 (en) | 2011-11-18 | 2015-02-10 | Sandisk Enterprise Ip Llc | Data encoder and decoder using memory-specific parity-check matrix |
| US9048876B2 (en) | 2011-11-18 | 2015-06-02 | Sandisk Enterprise Ip Llc | Systems, methods and devices for multi-tiered error correction |
| US8924815B2 (en) | 2011-11-18 | 2014-12-30 | Sandisk Enterprise Ip Llc | Systems, methods and devices for decoding codewords having multiple parity segments |
| US9047243B2 (en) | 2011-12-14 | 2015-06-02 | Ip Reservoir, Llc | Method and apparatus for low latency data distribution |
| US9542307B2 (en) | 2012-03-02 | 2017-01-10 | Hewlett Packard Enterprise Development Lp | Shiftable memory defragmentation |
| US10121196B2 (en) | 2012-03-27 | 2018-11-06 | Ip Reservoir, Llc | Offload processing of data packets containing financial market data |
| US20140180904A1 (en) * | 2012-03-27 | 2014-06-26 | Ip Reservoir, Llc | Offload Processing of Data Packets Containing Financial Market Data |
| US11436672B2 (en) | 2012-03-27 | 2022-09-06 | Exegy Incorporated | Intelligent switch for processing financial market data |
| US10650452B2 (en) | 2012-03-27 | 2020-05-12 | Ip Reservoir, Llc | Offload processing of data packets |
| US9391840B2 (en) | 2012-05-02 | 2016-07-12 | Solarflare Communications, Inc. | Avoiding delayed data |
| US9432050B2 (en) * | 2012-06-13 | 2016-08-30 | Telefonaktiebolaget Lm Ericsson (Publ) | Software upgrading in a network |
| US9391841B2 (en) | 2012-07-03 | 2016-07-12 | Solarflare Communications, Inc. | Fast linkup arbitration |
| US8838577B2 (en) | 2012-07-24 | 2014-09-16 | International Business Machines Corporation | Accelerated row decompression |
| US9699263B1 (en) | 2012-08-17 | 2017-07-04 | Sandisk Technologies Llc. | Automatic read and write acceleration of data accessed by virtual machines |
| US10505747B2 (en) | 2012-10-16 | 2019-12-10 | Solarflare Communications, Inc. | Feed processing |
| US10146845B2 (en) | 2012-10-23 | 2018-12-04 | Ip Reservoir, Llc | Method and apparatus for accelerated format translation of data in a delimited data format |
| US9633093B2 (en) | 2012-10-23 | 2017-04-25 | Ip Reservoir, Llc | Method and apparatus for accelerated format translation of data in a delimited data format |
| US10133802B2 (en) | 2012-10-23 | 2018-11-20 | Ip Reservoir, Llc | Method and apparatus for accelerated record layout detection |
| US9501398B2 (en) | 2012-12-26 | 2016-11-22 | Sandisk Technologies Llc | Persistent storage device with NVRAM for staging writes |
| US9239751B1 (en) | 2012-12-27 | 2016-01-19 | Sandisk Enterprise Ip Llc | Compressing data from multiple reads for error control management in memory systems |
| US9612948B2 (en) | 2012-12-27 | 2017-04-04 | Sandisk Technologies Llc | Reads and writes between a contiguous data block and noncontiguous sets of logical address blocks in a persistent storage device |
| US9454420B1 (en) | 2012-12-31 | 2016-09-27 | Sandisk Technologies Llc | Method and system of reading threshold voltage equalization |
| CN103020011B (en) * | 2012-12-31 | 2015-04-22 | 哈尔滨工业大学 | Spaceborne reconfigurable synergistic processing unit |
| US9003264B1 (en) | 2012-12-31 | 2015-04-07 | Sandisk Enterprise Ip Llc | Systems, methods, and devices for multi-dimensional flash RAID data protection |
| US9792405B2 (en) | 2013-01-17 | 2017-10-17 | Edico Genome, Corp. | Bioinformatics systems, apparatuses, and methods executed on an integrated circuit processing platform |
| US10691775B2 (en) | 2013-01-17 | 2020-06-23 | Edico Genome, Corp. | Bioinformatics systems, apparatuses, and methods executed on an integrated circuit processing platform |
| US9679104B2 (en) | 2013-01-17 | 2017-06-13 | Edico Genome, Corp. | Bioinformatics systems, apparatuses, and methods executed on an integrated circuit processing platform |
| GB2523495A (en) * | 2013-01-17 | 2015-08-26 | Edico Genome Corp | Bioinformatics systems, apparatuses, and methods executed on an integrated circuit processing platform |
| US10068054B2 (en) | 2013-01-17 | 2018-09-04 | Edico Genome, Corp. | Bioinformatics systems, apparatuses, and methods executed on an integrated circuit processing platform |
| US10847251B2 (en) | 2013-01-17 | 2020-11-24 | Illumina, Inc. | Genomic infrastructure for on-site or cloud-based DNA and RNA processing and analysis |
| US9329928B2 (en) | 2013-02-20 | 2016-05-03 | Sandisk Enterprise IP LLC. | Bandwidth optimization in a non-volatile memory system |
| US9214965B2 (en) | 2013-02-20 | 2015-12-15 | Sandisk Enterprise Ip Llc | Method and system for improving data integrity in non-volatile storage |
| US9870830B1 (en) | 2013-03-14 | 2018-01-16 | Sandisk Technologies Llc | Optimal multilevel sensing for reading data from a storage medium |
| US9092350B1 (en) | 2013-03-15 | 2015-07-28 | Sandisk Enterprise Ip Llc | Detection and handling of unbalanced errors in interleaved codewords |
| US9367246B2 (en) | 2013-03-15 | 2016-06-14 | Sandisk Technologies Inc. | Performance optimization of data transfer for soft information generation |
| US9136877B1 (en) | 2013-03-15 | 2015-09-15 | Sandisk Enterprise Ip Llc | Syndrome layered decoding for LDPC codes |
| US9009576B1 (en) | 2013-03-15 | 2015-04-14 | Sandisk Enterprise Ip Llc | Adaptive LLR based on syndrome weight |
| US9236886B1 (en) | 2013-03-15 | 2016-01-12 | Sandisk Enterprise Ip Llc | Universal and reconfigurable QC-LDPC encoder |
| US9244763B1 (en) | 2013-03-15 | 2016-01-26 | Sandisk Enterprise Ip Llc | System and method for updating a reading threshold voltage based on symbol transition information |
| US9374344B1 (en) | 2013-03-29 | 2016-06-21 | Secturion Systems, Inc. | Secure end-to-end communication system |
| US9355279B1 (en) | 2013-03-29 | 2016-05-31 | Secturion Systems, Inc. | Multi-tenancy architecture |
| US9317718B1 (en) * | 2013-03-29 | 2016-04-19 | Secturion Systems, Inc. | Security device with programmable systolic-matrix cryptographic module and programmable input/output interface |
| US9798899B1 (en) | 2013-03-29 | 2017-10-24 | Secturion Systems, Inc. | Replaceable or removable physical interface input/output module |
| US9524399B1 (en) | 2013-04-01 | 2016-12-20 | Secturion Systems, Inc. | Multi-level independent security architecture |
| US9170941B2 (en) | 2013-04-05 | 2015-10-27 | Sandisk Enterprises IP LLC | Data hardening in a storage system |
| US10049037B2 (en) | 2013-04-05 | 2018-08-14 | Sandisk Enterprise Ip Llc | Data management in a storage system |
| US9426124B2 (en) | 2013-04-08 | 2016-08-23 | Solarflare Communications, Inc. | Locked down network interface |
| US10742604B2 (en) | 2013-04-08 | 2020-08-11 | Xilinx, Inc. | Locked down network interface |
| CN103237021A (en) * | 2013-04-08 | 2013-08-07 | 浪潮集团有限公司 | FPGA-chip-based (field programmable gate array chip-based) PCI-E (peripheral component interconnect-express) high-speed cipher card |
| WO2014186604A1 (en) * | 2013-05-15 | 2014-11-20 | Edico Genome Corp. | Bioinformatics systems, apparatuses, and methods executed on an integrated circuit processing platform |
| US9436848B2 (en) * | 2013-05-30 | 2016-09-06 | Cryptography Research, Inc. | Configurator for secure feature and key manager |
| EP2809033B1 (en) | 2013-05-30 | 2018-03-21 | Solarflare Communications Inc | Packet capture in a network |
| US9159437B2 (en) | 2013-06-11 | 2015-10-13 | Sandisk Enterprise IP LLC. | Device and method for resolving an LM flag issue |
| US9524235B1 (en) | 2013-07-25 | 2016-12-20 | Sandisk Technologies Llc | Local hash value generation in non-volatile data storage systems |
| US9043517B1 (en) | 2013-07-25 | 2015-05-26 | Sandisk Enterprise Ip Llc | Multipass programming in buffers implemented in non-volatile data storage systems |
| US9384126B1 (en) | 2013-07-25 | 2016-07-05 | Sandisk Technologies Inc. | Methods and systems to avoid false negative results in bloom filters implemented in non-volatile data storage systems |
| US9495418B2 (en) * | 2013-08-07 | 2016-11-15 | International Business Machines Corporation | Scalable acceleration of database query operations |
| US9830354B2 (en) * | 2013-08-07 | 2017-11-28 | International Business Machines Corporation | Accelerating multiple query processing operations |
| US9251218B2 (en) | 2013-08-07 | 2016-02-02 | International Business Machines Corporation | Tunable hardware sort engine for performing composite sorting algorithms |
| US9619499B2 (en) | 2013-08-07 | 2017-04-11 | International Business Machines Corporation | Hardware implementation of a tournament tree sort algorithm |
| US9361221B1 (en) | 2013-08-26 | 2016-06-07 | Sandisk Technologies Inc. | Write amplification reduction through reliable writes during garbage collection |
| US9639463B1 (en) | 2013-08-26 | 2017-05-02 | Sandisk Technologies Llc | Heuristic aware garbage collection scheme in storage systems |
| KR101597637B1 (en) * | 2013-09-02 | 2016-02-29 | 주식회사 쏠리드 | Compression method for reducing network load used in the fpga image download |
| US9442670B2 (en) | 2013-09-03 | 2016-09-13 | Sandisk Technologies Llc | Method and system for rebalancing data stored in flash memory devices |
| US9519577B2 (en) | 2013-09-03 | 2016-12-13 | Sandisk Technologies Llc | Method and system for migrating data between flash memory devices |
| US9158349B2 (en) | 2013-10-04 | 2015-10-13 | Sandisk Enterprise Ip Llc | System and method for heat dissipation |
| US9323637B2 (en) | 2013-10-07 | 2016-04-26 | Sandisk Enterprise Ip Llc | Power sequencing and data hardening architecture |
| US20150113204A1 (en) * | 2013-10-17 | 2015-04-23 | National Chiao Tung University | Data storage device and computing system with the same |
| US9442662B2 (en) | 2013-10-18 | 2016-09-13 | Sandisk Technologies Llc | Device and method for managing die groups |
| US9298608B2 (en) | 2013-10-18 | 2016-03-29 | Sandisk Enterprise Ip Llc | Biasing for wear leveling in storage systems |
| US9436831B2 (en) | 2013-10-30 | 2016-09-06 | Sandisk Technologies Llc | Secure erase in a memory device |
| US10394751B2 (en) | 2013-11-06 | 2019-08-27 | Solarflare Communications, Inc. | Programmed input/output mode |
| US9263156B2 (en) | 2013-11-07 | 2016-02-16 | Sandisk Enterprise Ip Llc | System and method for adjusting trip points within a storage device |
| US9244785B2 (en) | 2013-11-13 | 2016-01-26 | Sandisk Enterprise Ip Llc | Simulated power failure and data hardening |
| US9152555B2 (en) | 2013-11-15 | 2015-10-06 | Sandisk Enterprise IP LLC. | Data management with modular erase in a data storage system |
| US9665437B2 (en) | 2013-11-18 | 2017-05-30 | Actifio, Inc. | Test-and-development workflow automation |
| US9703816B2 (en) | 2013-11-19 | 2017-07-11 | Sandisk Technologies Llc | Method and system for forward reference logging in a persistent datastore |
| US9520197B2 (en) | 2013-11-22 | 2016-12-13 | Sandisk Technologies Llc | Adaptive erase of a storage device |
| US9280429B2 (en) | 2013-11-27 | 2016-03-08 | Sandisk Enterprise Ip Llc | Power fail latching based on monitoring multiple power supply voltages in a storage device |
| US9520162B2 (en) | 2013-11-27 | 2016-12-13 | Sandisk Technologies Llc | DIMM device controller supervisor |
| US9122636B2 (en) | 2013-11-27 | 2015-09-01 | Sandisk Enterprise Ip Llc | Hard power fail architecture |
| US9250676B2 (en) | 2013-11-29 | 2016-02-02 | Sandisk Enterprise Ip Llc | Power failure architecture and verification |
| US9582058B2 (en) | 2013-11-29 | 2017-02-28 | Sandisk Technologies Llc | Power inrush management of storage devices |
| US9092370B2 (en) | 2013-12-03 | 2015-07-28 | Sandisk Enterprise Ip Llc | Power failure tolerant cryptographic erase |
| US9235245B2 (en) | 2013-12-04 | 2016-01-12 | Sandisk Enterprise Ip Llc | Startup performance and power isolation |
| US9129665B2 (en) | 2013-12-17 | 2015-09-08 | Sandisk Enterprise Ip Llc | Dynamic brownout adjustment in a storage device |
| KR102251600B1 (en) * | 2013-12-20 | 2021-05-12 | 웨스팅하우스 일렉트릭 컴퍼니 엘엘씨 | A system and method for securing an industrial control system |
| US10423596B2 (en) * | 2014-02-11 | 2019-09-24 | International Business Machines Corporation | Efficient caching of Huffman dictionaries |
| US9549457B2 (en) | 2014-02-12 | 2017-01-17 | Sandisk Technologies Llc | System and method for redirecting airflow across an electronic assembly |
| US9697327B2 (en) | 2014-02-24 | 2017-07-04 | Edico Genome Corporation | Dynamic genome reference generation for improved NGS accuracy and reproducibility |
| US9497889B2 (en) | 2014-02-27 | 2016-11-15 | Sandisk Technologies Llc | Heat dissipation for substrate assemblies |
| US9703636B2 (en) | 2014-03-01 | 2017-07-11 | Sandisk Technologies Llc | Firmware reversion trigger and control |
| US9485851B2 (en) | 2014-03-14 | 2016-11-01 | Sandisk Technologies Llc | Thermal tube assembly structures |
| US9348377B2 (en) | 2014-03-14 | 2016-05-24 | Sandisk Enterprise Ip Llc | Thermal isolation techniques |
| US9519319B2 (en) | 2014-03-14 | 2016-12-13 | Sandisk Technologies Llc | Self-supporting thermal tube structure for electronic assemblies |
| US9448876B2 (en) | 2014-03-19 | 2016-09-20 | Sandisk Technologies Llc | Fault detection and prediction in storage devices |
| US9454448B2 (en) | 2014-03-19 | 2016-09-27 | Sandisk Technologies Llc | Fault testing in storage devices |
| US9390814B2 (en) | 2014-03-19 | 2016-07-12 | Sandisk Technologies Llc | Fault detection and prediction for data storage elements |
| US10552044B2 (en) | 2014-03-27 | 2020-02-04 | Hitachi, Ltd. | Storage apparatus, data processing method and storage system wherein compressed data is read in parallel, said data stored in buffer by size and read from said buffer, in order of when said data is stored in said buffer |
| US9390021B2 (en) | 2014-03-31 | 2016-07-12 | Sandisk Technologies Llc | Efficient cache utilization in a tiered data structure |
| US9626399B2 (en) | 2014-03-31 | 2017-04-18 | Sandisk Technologies Llc | Conditional updates for reducing frequency of data modification operations |
| US9626400B2 (en) | 2014-03-31 | 2017-04-18 | Sandisk Technologies Llc | Compaction of information in tiered data structure |
| US9697267B2 (en) | 2014-04-03 | 2017-07-04 | Sandisk Technologies Llc | Methods and systems for performing efficient snapshots in tiered data structures |
| GB2541577A (en) | 2014-04-23 | 2017-02-22 | Ip Reservoir Llc | Method and apparatus for accelerated data translation |
| WO2015166540A1 (en) * | 2014-04-28 | 2015-11-05 | 株式会社日立製作所 | Storage apparatus, data-processing method therefor, and storage system |
| US10114557B2 (en) | 2014-05-30 | 2018-10-30 | Sandisk Technologies Llc | Identification of hot regions to enhance performance and endurance of a non-volatile storage device |
| US10146448B2 (en) | 2014-05-30 | 2018-12-04 | Sandisk Technologies Llc | Using history of I/O sequences to trigger cached read ahead in a non-volatile storage device |
| US10162748B2 (en) | 2014-05-30 | 2018-12-25 | Sandisk Technologies Llc | Prioritizing garbage collection and block allocation based on I/O history for logical address regions |
| US10656840B2 (en) | 2014-05-30 | 2020-05-19 | Sandisk Technologies Llc | Real-time I/O pattern recognition to enhance performance and endurance of a storage device |
| US10656842B2 (en) | 2014-05-30 | 2020-05-19 | Sandisk Technologies Llc | Using history of I/O sizes and I/O sequences to trigger coalesced writes in a non-volatile storage device |
| US9093160B1 (en) | 2014-05-30 | 2015-07-28 | Sandisk Technologies Inc. | Methods and systems for staggered memory operations |
| US9703491B2 (en) | 2014-05-30 | 2017-07-11 | Sandisk Technologies Llc | Using history of unaligned writes to cache data and avoid read-modify-writes in a non-volatile storage device |
| US8891303B1 (en) | 2014-05-30 | 2014-11-18 | Sandisk Technologies Inc. | Method and system for dynamic word line based configuration of a three-dimensional memory device |
| US9070481B1 (en) | 2014-05-30 | 2015-06-30 | Sandisk Technologies Inc. | Internal current measurement for age measurements |
| US9645749B2 (en) | 2014-05-30 | 2017-05-09 | Sandisk Technologies Llc | Method and system for recharacterizing the storage density of a memory device or a portion thereof |
| US10372613B2 (en) | 2014-05-30 | 2019-08-06 | Sandisk Technologies Llc | Using sub-region I/O history to cache repeatedly accessed sub-regions in a non-volatile storage device |
| US9652381B2 (en) | 2014-06-19 | 2017-05-16 | Sandisk Technologies Llc | Sub-block garbage collection |
| US9443601B2 (en) | 2014-09-08 | 2016-09-13 | Sandisk Technologies Llc | Holdup capacitor energy harvesting |
| US9647691B2 (en) | 2014-10-08 | 2017-05-09 | Nxp Usa, Inc. | Apparatus and method for processing trace data streams |
| US10006910B2 (en) | 2014-12-18 | 2018-06-26 | Agilome, Inc. | Chemically-sensitive field effect transistors, systems, and methods for manufacturing and using the same |
| US10429342B2 (en) | 2014-12-18 | 2019-10-01 | Edico Genome Corporation | Chemically-sensitive field effect transistor |
| US10020300B2 (en) | 2014-12-18 | 2018-07-10 | Agilome, Inc. | Graphene FET devices, systems, and methods of using the same for sequencing nucleic acids |
| US9857328B2 (en) | 2014-12-18 | 2018-01-02 | Agilome, Inc. | Chemically-sensitive field effect transistors, systems and methods for manufacturing and using the same |
| US9859394B2 (en) | 2014-12-18 | 2018-01-02 | Agilome, Inc. | Graphene FET devices, systems, and methods of using the same for sequencing nucleic acids |
| US9618474B2 (en) | 2014-12-18 | 2017-04-11 | Edico Genome, Inc. | Graphene FET devices, systems, and methods of using the same for sequencing nucleic acids |
| US10310813B2 (en) | 2014-12-29 | 2019-06-04 | International Business Machines Corporation | Hardware implementation of a tournament tree sort algorithm using an external memory |
| WO2016154154A2 (en) | 2015-03-23 | 2016-09-29 | Edico Genome Corporation | Method and system for genomic visualization |
| US9590655B2 (en) | 2015-03-27 | 2017-03-07 | Microsoft Technology Licensing, Llc | Scalable high-bandwidth architecture for lossless compression |
| EP3298506A1 (en) * | 2015-05-19 | 2018-03-28 | Entit Software LLC | Database comparison operation to identify an object |
| CN105138469B (en) * | 2015-08-28 | 2018-03-16 | 北京腾凌科技有限公司 | A kind of data read-write method and mainboard |
| US11283774B2 (en) | 2015-09-17 | 2022-03-22 | Secturion Systems, Inc. | Cloud storage using encryption gateway with certificate authority identification |
| US9794064B2 (en) | 2015-09-17 | 2017-10-17 | Secturion Systems, Inc. | Client(s) to cloud or remote server secure data or file object encryption gateway |
| US9934272B2 (en) | 2015-10-22 | 2018-04-03 | International Business Machines Corporation | Processing a database query in a database system |
| US10708236B2 (en) * | 2015-10-26 | 2020-07-07 | Secturion Systems, Inc. | Multi-independent level secure (MILS) storage encryption |
| US10942943B2 (en) | 2015-10-29 | 2021-03-09 | Ip Reservoir, Llc | Dynamic field data translation to support high performance stream data processing |
| CN106649136B (en) * | 2015-11-03 | 2022-09-23 | 西安中兴新软件有限责任公司 | Data storage method and storage device |
| US10510017B2 (en) * | 2015-11-18 | 2019-12-17 | Oath Inc. | Method for approximate k-nearest-neighbor search on parallel hardware accelerators |
| US20170270245A1 (en) | 2016-01-11 | 2017-09-21 | Edico Genome, Corp. | Bioinformatics systems, apparatuses, and methods for performing secondary and/or tertiary processing |
| US10068183B1 (en) | 2017-02-23 | 2018-09-04 | Edico Genome, Corp. | Bioinformatics systems, apparatuses, and methods executed on a quantum processing platform |
| KR20180132044A (en) * | 2016-01-26 | 2018-12-11 | 아이씨에이티 엘엘씨 | A reconfigurable algorithm pipeline core and an algorithm matching pipeline compiler |
| KR20170100989A (en) | 2016-02-26 | 2017-09-05 | 에스케이하이닉스 주식회사 | Semiconductor System |
| WO2017154065A1 (en) | 2016-03-07 | 2017-09-14 | 株式会社日立製作所 | Computer and database management method |
| EP3459115A4 (en) | 2016-05-16 | 2020-04-08 | Agilome, Inc. | GRAPHEN-FET DEVICES, SYSTEMS AND METHODS FOR USE THEREOF FOR SEQUENCING NUCLEIC ACIDS |
| JP6779437B2 (en) * | 2016-06-27 | 2020-11-04 | 株式会社croco | Information retrieval system and data collation device used for it |
| JP6790515B2 (en) * | 2016-07-05 | 2020-11-25 | 富士通株式会社 | Solid state drive |
| US10048894B2 (en) * | 2016-07-12 | 2018-08-14 | Spirent Communications, Inc. | Reducing cache memory requirements for recording statistics from testing with a multiplicity of flows |
| US10114941B2 (en) | 2016-08-24 | 2018-10-30 | Altera Corporation | Systems and methods for authenticating firmware stored on an integrated circuit |
| CN106326421B (en) * | 2016-08-24 | 2019-03-22 | 中国科学院上海微系统与信息技术研究所 | FPGA sorting in parallel method and system based on index tree and data link table |
| EA201990315A1 (en) | 2016-09-15 | 2019-08-30 | НАТС ХОЛДИНГЗ, ЭлЭлСи | ENCRYPTED TRANSIT AND STORAGE OF USER DATA |
| CN108228583A (en) * | 2016-12-10 | 2018-06-29 | 南京理工大学 | Image texture searching system and search method based on FPGA |
| US10685048B1 (en) | 2017-02-01 | 2020-06-16 | Allscripts Software, Llc | Systems and methods for Boolean-valuation-based searches |
| WO2018183572A1 (en) * | 2017-03-29 | 2018-10-04 | Board Of Regents, The University Of Texas System | Reducing amount of helper data in silicon physical unclonable functions via lossy compression without production-time error characterization |
| CN107122222B (en) * | 2017-04-20 | 2019-02-19 | 深圳大普微电子科技有限公司 | A kind of search system and method for character string |
| WO2018200475A1 (en) * | 2017-04-24 | 2018-11-01 | Reniac, Inc. | System and method to accelerate compaction |
| JP6834771B2 (en) * | 2017-05-19 | 2021-02-24 | 富士通株式会社 | Communication device and communication method |
| CN107392309A (en) * | 2017-09-11 | 2017-11-24 | 东南大学—无锡集成电路技术研究所 | A kind of general fixed-point number neutral net convolution accelerator hardware structure based on FPGA |
| GB2566514B (en) * | 2017-09-15 | 2020-01-08 | Imagination Tech Ltd | Resource allocation |
| CN109754359B (en) * | 2017-11-01 | 2021-12-07 | 腾讯科技(深圳)有限公司 | Pooling processing method and system applied to convolutional neural network |
| CN110109954B (en) * | 2018-01-22 | 2023-05-26 | 腾讯科技(深圳)有限公司 | Data processing method, system, electronic device and storage medium |
| US10585819B2 (en) | 2018-03-05 | 2020-03-10 | Samsung Electronics Co., Ltd. | SSD architecture for FPGA based acceleration |
| US10585843B2 (en) | 2018-03-05 | 2020-03-10 | Samsung Electronics Co., Ltd. | SSD architecture for FPGA based acceleration |
| US11379389B1 (en) * | 2018-04-03 | 2022-07-05 | Xilinx, Inc. | Communicating between data processing engines using shared memory |
| US11112972B2 (en) | 2018-12-05 | 2021-09-07 | Samsung Electronics Co., Ltd. | System and method for accelerated data processing in SSDs |
| US11275568B2 (en) | 2019-01-14 | 2022-03-15 | Microsoft Technology Licensing, Llc | Generating a synchronous digital circuit from a source code construct defining a function call |
| US11093682B2 (en) | 2019-01-14 | 2021-08-17 | Microsoft Technology Licensing, Llc | Language and compiler that generate synchronous digital circuits that maintain thread execution order |
| US11106437B2 (en) * | 2019-01-14 | 2021-08-31 | Microsoft Technology Licensing, Llc | Lookup table optimization for programming languages that target synchronous digital circuits |
| US11144286B2 (en) | 2019-01-14 | 2021-10-12 | Microsoft Technology Licensing, Llc | Generating synchronous digital circuits from source code constructs that map to circuit implementations |
| US11113176B2 (en) | 2019-01-14 | 2021-09-07 | Microsoft Technology Licensing, Llc | Generating a debugging network for a synchronous digital circuit during compilation of program source code |
| US11157423B2 (en) * | 2019-05-02 | 2021-10-26 | Dell Products L.P. | Pipelined-data-transform-enabled data mover system |
| CA3135226A1 (en) | 2019-05-14 | 2020-11-19 | David Edward Taylor | Methods and systems for low latency generation and distribution of trading signals from financial market data |
| CN110175056B (en) * | 2019-05-30 | 2022-02-11 | 西安微电子技术研究所 | Control device and control method for remotely and dynamically loading multi-target FPGA (field programmable Gate array) on heterogeneous platform |
| US11249651B2 (en) | 2019-10-29 | 2022-02-15 | Samsung Electronics Co., Ltd. | System and method for hierarchical sort acceleration near storage |
| CN112835834B (en) | 2019-11-25 | 2024-03-19 | 瑞昱半导体股份有限公司 | Data transmission system |
| CN111311479B (en) * | 2020-01-14 | 2023-09-29 | 成都智明达电子股份有限公司 | FPGA-based character superposition method |
| KR102815744B1 (en) * | 2020-01-20 | 2025-06-04 | 삼성전자주식회사 | Computing system for transmitting completion early between serially connected electronic devices |
| US11687279B2 (en) * | 2020-01-27 | 2023-06-27 | Samsung Electronics Co., Ltd. | Latency and throughput centric reconfigurable storage device |
| DE112020007010T5 (en) | 2020-03-29 | 2023-01-19 | Micron Technology, Inc. | INFERENCE MACHINE CIRCUIT ARCHITECTURE |
| WO2021206934A1 (en) | 2020-04-09 | 2021-10-14 | Nuts Holdings, Llc | Nuts: flexible hierarchy object graphs |
| US11861337B2 (en) | 2020-08-26 | 2024-01-02 | Micron Technology, Inc. | Deep neural networks compiler for a trace-based accelerator |
| US12093258B2 (en) | 2020-12-14 | 2024-09-17 | Samsung Electronics Co., Ltd. | Storage device adapter to accelerate database temporary table processing |
| US20220261898A1 (en) | 2021-02-16 | 2022-08-18 | Exegy Incorporated | Methods and Systems for Implementing Market Making Strategies at Low Latency |
| CN113608693B (en) * | 2021-07-26 | 2024-05-24 | 中国科学院国家空间科学中心 | Search ordering system and method for on-orbit satellite-borne data |
| US12277236B2 (en) | 2021-10-06 | 2025-04-15 | Bank Of America Corporation | System and methods for intelligent entity-wide data protection |
| JP7475319B2 (en) | 2021-11-16 | 2024-04-26 | 株式会社日立製作所 | STORAGE SYSTEM AND DATA PROCESSING METHOD THEREIN |
| KR20250007495A (en) | 2022-03-08 | 2025-01-14 | 일루미나, 인코포레이티드 | Multi-pass software accelerated genome read mapping engine |
| US12254332B2 (en) * | 2022-05-02 | 2025-03-18 | Reliance Jio Infocomm Usa, Inc. | Automated bot for error-free racking-stacking |
| US11966597B1 (en) * | 2022-09-29 | 2024-04-23 | Amazon Technologies, Inc. | Multi-domain configurable data compressor/de-compressor |
| US20240248754A1 (en) * | 2023-01-20 | 2024-07-25 | Arm Limited | Reading data within a compressed data stream |
| CN115827682B (en) * | 2023-02-10 | 2023-04-18 | 山东浪潮科学研究院有限公司 | Database query acceleration engine device, method and storage medium |
| CN118509509B (en) * | 2024-07-19 | 2024-10-01 | 杭州芯旗电子技术有限公司 | FPGA-based No. seven signaling analysis device and method |
Citations (2)
| Publication number | Priority date | Publication date | Assignee | Title |
|---|---|---|---|---|
| US3601808A (en) * | 1968-07-18 | 1971-08-24 | Bell Telephone Labor Inc | Advanced keyword associative access memory system |
| US4464718A (en) * | 1982-07-30 | 1984-08-07 | International Business Machines Corporation | Associative file processing method and apparatus |
Family Cites Families (562)
| Publication number | Priority date | Publication date | Assignee | Title |
|---|---|---|---|---|
| US2046381A (en) | 1930-12-10 | 1936-07-07 | Teleregister Corp | Bid and asked quotation system |
| US3082402A (en) | 1960-05-10 | 1963-03-19 | Scantlin Electronics Inc | Securities quotation apparatus |
| US3296597A (en) | 1963-10-28 | 1967-01-03 | Scantlin Electronics Inc | Market quotation apparatus |
| US3581072A (en) | 1968-03-28 | 1971-05-25 | Frederick Nymeyer | Auction market computation system |
| US3573747A (en) | 1969-02-24 | 1971-04-06 | Institutional Networks Corp | Instinet communication system for effectuating the sale or exchange of fungible properties between subscribers |
| US3611314A (en) * | 1969-09-09 | 1971-10-05 | Texas Instruments Inc | Dynamic associative data processing system |
| US3824375A (en) * | 1970-08-28 | 1974-07-16 | Financial Security Syst Inc | Memory system |
| US3729712A (en) | 1971-02-26 | 1973-04-24 | Eastman Kodak Co | Information storage and retrieval system |
| US3848235A (en) * | 1973-10-24 | 1974-11-12 | Ibm | Scan and read control apparatus for a disk storage drive in a computer system |
| US3906455A (en) | 1974-03-15 | 1975-09-16 | Boeing Computer Services Inc | Associative memory device |
| CA1056504A (en) * | 1975-04-02 | 1979-06-12 | Visvaldis A. Vitols | Keyword detection in continuous speech using continuous asynchronous correlation |
| US4412287A (en) | 1975-05-29 | 1983-10-25 | Braddock Iii Walter D | Automated stock exchange |
| US4044334A (en) | 1975-06-19 | 1977-08-23 | Honeywell Information Systems, Inc. | Database instruction unload |
| JPS5829969B2 (en) | 1977-05-23 | 1983-06-25 | 旭化成株式会社 | Method for manufacturing flame-retardant polyamide molded products |
| US4300193A (en) | 1979-01-31 | 1981-11-10 | Honeywell Information Systems Inc. | Data processing system having data multiplex control apparatus |
| US4298898A (en) * | 1979-04-19 | 1981-11-03 | Compagnie Internationale Pour L'informatique Cii Honeywell Bull | Method of and apparatus for reading data from reference zones of a memory |
| US4314356A (en) * | 1979-10-24 | 1982-02-02 | Bunker Ramo Corporation | High-speed term searcher |
| FR2481026B1 (en) * | 1980-04-21 | 1984-06-15 | France Etat | |
| JPS57137978A (en) | 1981-02-20 | 1982-08-25 | Toshiba Corp | Pattern detecting device |
| JPS58102378A (en) | 1981-12-11 | 1983-06-17 | Sharp Corp | Information retrieving device |
| US4550436A (en) * | 1983-07-26 | 1985-10-29 | At&T Bell Laboratories | Parallel text matching methods and apparatus |
| US4903201A (en) | 1983-11-03 | 1990-02-20 | World Energy Exchange Corporation | Automated futures trading exchange |
| US5270922A (en) | 1984-06-29 | 1993-12-14 | Merrill Lynch & Company, Inc. | System for distributing, processing and displaying financial information |
| JPS61107596A (en) | 1984-10-31 | 1986-05-26 | Nec Corp | Associative memory |
| US4868866A (en) | 1984-12-28 | 1989-09-19 | Mcgraw-Hill Inc. | Broadcast data distribution system |
| US4674044A (en) | 1985-01-30 | 1987-06-16 | Merrill Lynch, Pierce, Fenner & Smith, Inc. | Automated securities trading system |
| US4941178A (en) * | 1986-04-01 | 1990-07-10 | Gte Laboratories Incorporated | Speech recognition using preclassification and spectral normalization |
| US4811214A (en) * | 1986-11-14 | 1989-03-07 | Princeton University | Multinode reconfigurable pipeline computer |
| JPH0812659B2 (en) | 1986-12-05 | 1996-02-07 | 株式会社安川電機 | Database search method for time-series data |
| US4823306A (en) * | 1987-08-14 | 1989-04-18 | International Business Machines Corporation | Text search system |
| US5038284A (en) | 1988-02-17 | 1991-08-06 | Kramer Robert M | Method and apparatus relating to conducting trading transactions with portable trading stations |
| US5023910A (en) * | 1988-04-08 | 1991-06-11 | At&T Bell Laboratories | Vector quantization in a harmonic speech coding arrangement |
| US5179626A (en) * | 1988-04-08 | 1993-01-12 | At&T Bell Laboratories | Harmonic speech coding arrangement where a set of parameters for a continuous magnitude spectrum is determined by a speech analyzer and the parameters are used by a synthesizer to determine a spectrum which is used to determine senusoids for synthesis |
| JPH0219963A (en) | 1988-07-08 | 1990-01-23 | Hitachi Ltd | Method and system for monitoring real time state |
| US5050075A (en) | 1988-10-04 | 1991-09-17 | Bell Communications Research, Inc. | High performance VLSI data filter |
| JPH02136900A (en) | 1988-11-18 | 1990-05-25 | Nec Corp | Voice text retrieving device |
| JPH02224060A (en) | 1989-02-27 | 1990-09-06 | Hitachi Ltd | Real-time decision support method |
| WO1990010910A1 (en) | 1989-03-14 | 1990-09-20 | Chicago Board Of Trade | Simulated pit trading system |
| US5249292A (en) * | 1989-03-31 | 1993-09-28 | Chiappa J Noel | Data packet switch using a primary processing unit to designate one of a plurality of data stream control circuits to selectively handle the header processing of incoming packets in one data packet stream |
| US5077665A (en) | 1989-05-25 | 1991-12-31 | Reuters Limited | Distributed matching system |
| US5101353A (en) | 1989-05-31 | 1992-03-31 | Lattice Investments, Inc. | Automated system for providing liquidity to securities markets |
| JPH0314075A (en) | 1989-06-13 | 1991-01-22 | Ricoh Co Ltd | Document retrieval device |
| AU620994B2 (en) * | 1989-07-12 | 1992-02-27 | Digital Equipment Corporation | Compressed prefix matching database searching |
| US5233539A (en) | 1989-08-15 | 1993-08-03 | Advanced Micro Devices, Inc. | Programmable gate array with improved interconnect structure, input/output structure and configurable logic block |
| US5126936A (en) | 1989-09-01 | 1992-06-30 | Champion Securities | Goal-directed financial asset management system |
| JPH03179863A (en) | 1989-09-04 | 1991-08-05 | Hitachi Ltd | Method and equipment for automatic transaction |
| US5163131A (en) * | 1989-09-08 | 1992-11-10 | Auspex Systems, Inc. | Parallel i/o network file server architecture |
| EP0565738A1 (en) * | 1990-01-05 | 1993-10-20 | Symbol Technologies, Inc. | System for encoding and decoding data in machine readable graphic form |
| US5347634A (en) * | 1990-03-15 | 1994-09-13 | Hewlett-Packard Company | System and method for directly executing user DMA instruction from user controlled process by employing processor privileged work buffer pointers |
| US5319776A (en) * | 1990-04-19 | 1994-06-07 | Hilgraeve Corporation | In transit detection of computer virus with safeguard |
| US5313560A (en) | 1990-05-11 | 1994-05-17 | Hitachi, Ltd. | Method for determining a supplemental transaction changing a decided transaction to satisfy a target |
| US5497488A (en) * | 1990-06-12 | 1996-03-05 | Hitachi, Ltd. | System for parallel string search with a function-directed parallel collation of a first partition of each string followed by matching of second partitions |
| JP2960533B2 (en) | 1990-11-30 | 1999-10-06 | 株式会社日立製作所 | Symbol string search module and single-chip microcomputer including the same |
| DE4020875A1 (en) | 1990-06-29 | 1992-01-02 | Digital Equipment Int | METHOD AND CIRCUIT ARRANGEMENT FOR CONVERTING ANALOG READ SIGNALS TO DIGITAL SIGNALS |
| GB9016341D0 (en) * | 1990-07-25 | 1990-09-12 | British Telecomm | Speed estimation |
| US5255136A (en) * | 1990-08-17 | 1993-10-19 | Quantum Corporation | High capacity submicro-winchester fixed disk drive |
| US5063507A (en) | 1990-09-14 | 1991-11-05 | Plains Cotton Cooperative Association | Goods database employing electronic title or documentary-type title |
| US5404488A (en) | 1990-09-26 | 1995-04-04 | Lotus Development Corporation | Realtime data feed engine for updating an application with the most currently received data from multiple data feeds |
| US5101424A (en) * | 1990-09-28 | 1992-03-31 | Northern Telecom Limited | Method for generating a monitor program for monitoring text streams and executing actions when pre-defined patterns, are matched using an English to AWK language translator |
| GB9023096D0 (en) * | 1990-10-24 | 1990-12-05 | Int Computers Ltd | Database search processor |
| US5258908A (en) | 1990-11-02 | 1993-11-02 | Foreign Exchange Transaction Services, Inc. | Detection and prevention of duplicate trading transactions over a communications network |
| US5615309A (en) | 1990-11-13 | 1997-03-25 | International Business Machines Corporation | Inferencing production control computer system |
| US5263156A (en) | 1990-12-20 | 1993-11-16 | Bell Communications Research, Inc. | Parallel, distributed optimistic concurrency control certification using hardware filtering |
| US5339411A (en) * | 1990-12-21 | 1994-08-16 | Pitney Bowes Inc. | Method for managing allocation of memory space |
| US5404411A (en) | 1990-12-27 | 1995-04-04 | Xerox Corporation | Bitmap-image pattern matching apparatus for correcting bitmap errors in a printing system |
| US5301284A (en) * | 1991-01-16 | 1994-04-05 | Walker-Estes Corporation | Mixed-resolution, N-dimensional object space method and apparatus |
| US5297032A (en) | 1991-02-01 | 1994-03-22 | Merrill Lynch, Pierce, Fenner & Smith Incorporated | Securities trading workstation |
| US5421028A (en) * | 1991-03-15 | 1995-05-30 | Hewlett-Packard Company | Processing commands and data in a common pipeline path in a high-speed computer graphics system |
| DE69229521T2 (en) * | 1991-04-25 | 2000-03-30 | Nippon Steel Corp | Database discovery system |
| US5477451A (en) * | 1991-07-25 | 1995-12-19 | International Business Machines Corp. | Method and system for natural language translation |
| JPH05101102A (en) | 1991-10-03 | 1993-04-23 | Matsushita Electric Ind Co Ltd | Retrieval device |
| US5265065A (en) * | 1991-10-08 | 1993-11-23 | West Publishing Company | Method and apparatus for information retrieval from a database by replacing domain specific stemmed phases in a natural language to create a search query |
| US5488725A (en) * | 1991-10-08 | 1996-01-30 | West Publishing Company | System of document representation retrieval by successive iterated probability sampling |
| US5826075A (en) * | 1991-10-16 | 1998-10-20 | International Business Machines Corporation | Automated programmable fireware store for a personal computer system |
| US5208491A (en) | 1992-01-07 | 1993-05-04 | Washington Research Foundation | Field programmable gate array |
| US5375055A (en) | 1992-02-03 | 1994-12-20 | Foreign Exchange Transaction Services, Inc. | Credit management for electronic brokerage system |
| US6985883B1 (en) | 1992-02-03 | 2006-01-10 | Ebs Dealing Resources, Inc. | Credit management for electronic brokerage system |
| WO1993018505A1 (en) * | 1992-03-02 | 1993-09-16 | The Walt Disney Company | Voice transformation system |
| US5388259A (en) * | 1992-05-15 | 1995-02-07 | Bell Communications Research, Inc. | System for accessing a database with an iterated fuzzy query notified by retrieval response |
| EP0573991B1 (en) | 1992-06-10 | 2002-01-16 | Cantor Fitzgerald | Fixed income portfolio data processor and method for using same |
| US5524268A (en) * | 1992-06-26 | 1996-06-04 | Cirrus Logic, Inc. | Flexible processor-driven control of SCSI buses utilizing tags appended to data bytes to determine SCSI-protocol phases |
| US5684980A (en) | 1992-07-29 | 1997-11-04 | Virtual Computer Corporation | FPGA virtual computer for executing a sequence of program instructions by successively reconfiguring a group of FPGA in response to those instructions |
| US5802290A (en) | 1992-07-29 | 1998-09-01 | Virtual Computer Corporation | Computer network of distributed virtual computers which are EAC reconfigurable in response to instruction to be executed |
| GB9220404D0 (en) * | 1992-08-20 | 1992-11-11 | Nat Security Agency | Method of identifying,retrieving and sorting documents |
| US6173270B1 (en) | 1992-09-01 | 2001-01-09 | Merrill Lynch, Pierce, Fenner & Smith | Stock option control and exercise system |
| US5721898A (en) | 1992-09-02 | 1998-02-24 | International Business Machines Corporation | Method and system for data search in a data processing system |
| WO1994009443A1 (en) | 1992-10-16 | 1994-04-28 | Arne Halaas | Non-numeric coprocessor |
| JP2575595B2 (en) | 1992-10-20 | 1997-01-29 | インターナショナル・ビジネス・マシーンズ・コーポレイション | Image frame compression method and data processing system |
| US6044407A (en) * | 1992-11-13 | 2000-03-28 | British Telecommunications Public Limited Company | Interface for translating an information message from one protocol to another |
| US5361373A (en) | 1992-12-11 | 1994-11-01 | Gilson Kent L | Integrated circuit computing device comprising a dynamically configurable gate array having a microprocessor and reconfigurable instruction execution means and method therefor |
| US5481735A (en) * | 1992-12-28 | 1996-01-02 | Apple Computer, Inc. | Method for modifying packets that meet a particular criteria as the packets pass between two layers in a network |
| US5440723A (en) * | 1993-01-19 | 1995-08-08 | International Business Machines Corporation | Automatic immune system for computers and computer networks |
| US5432822A (en) * | 1993-03-12 | 1995-07-11 | Hughes Aircraft Company | Error correcting decoder and decoding method employing reliability based erasure decision-making in cellular communication system |
| US5546462A (en) * | 1993-04-09 | 1996-08-13 | Washington University | Method and apparatus for fingerprinting and authenticating various magnetic media |
| US5544352A (en) * | 1993-06-14 | 1996-08-06 | Libertech, Inc. | Method and apparatus for indexing, searching and displaying data |
| US6456982B1 (en) | 1993-07-01 | 2002-09-24 | Dragana N. Pilipovic | Computer system for generating projected data and an application supporting a financial transaction |
| US5500793A (en) | 1993-09-02 | 1996-03-19 | Equitrade | Computerized system for developing multi-party property equity exchange scenarios |
| EP0651321B1 (en) * | 1993-10-29 | 2001-11-14 | Advanced Micro Devices, Inc. | Superscalar microprocessors |
| US5371794A (en) * | 1993-11-02 | 1994-12-06 | Sun Microsystems, Inc. | Method and apparatus for privacy and authentication in wireless networks |
| US5497317A (en) | 1993-12-28 | 1996-03-05 | Thomson Trading Services, Inc. | Device and method for improving the speed and reliability of security trade settlements |
| US5813000A (en) * | 1994-02-15 | 1998-09-22 | Sun Micro Systems | B tree structure and method |
| ATE187294T1 (en) | 1994-03-08 | 1999-12-15 | Excel Switching Corp | TELECOMMUNICATION SYSTEM WITH IMPROVED REDUNDANCY |
| US5465353A (en) * | 1994-04-01 | 1995-11-07 | Ricoh Company, Ltd. | Image matching and retrieval by multi-access redundant hashing |
| US5461712A (en) * | 1994-04-18 | 1995-10-24 | International Business Machines Corporation | Quadrant-based two-dimensional memory manager |
| US5809483A (en) | 1994-05-13 | 1998-09-15 | Broka; S. William | Online transaction processing system for bond trading |
| US5987432A (en) | 1994-06-29 | 1999-11-16 | Reuters, Ltd. | Fault-tolerant central ticker plant system for distributing financial market data |
| JPH0822392A (en) | 1994-07-11 | 1996-01-23 | Hitachi Ltd | Decision-making method and device |
| US5623652A (en) * | 1994-07-25 | 1997-04-22 | Apple Computer, Inc. | Method and apparatus for searching for information in a network and for controlling the display of searchable information on display devices in the network |
| US5884286A (en) * | 1994-07-29 | 1999-03-16 | Daughtery, Iii; Vergil L. | Apparatus and process for executing an expirationless option transaction |
| US6263321B1 (en) | 1994-07-29 | 2001-07-17 | Economic Inventions, Llc | Apparatus and process for calculating an option |
| JP2964879B2 (en) * | 1994-08-22 | 1999-10-18 | 日本電気株式会社 | Post filter |
| SE505156C2 (en) * | 1995-01-30 | 1997-07-07 | Ericsson Telefon Ab L M | Procedure for noise suppression by spectral subtraction |
| US5619574A (en) | 1995-02-13 | 1997-04-08 | Eta Technologies Corporation | Personal access management system |
| EP1515216B1 (en) | 1995-02-13 | 2014-09-24 | Intertrust Technologies Corporation | Systems and methods for secure transaction management and electronic rights protection |
| US7124302B2 (en) | 1995-02-13 | 2006-10-17 | Intertrust Technologies Corp. | Systems and methods for secure transaction management and electronic rights protection |
| US5819290A (en) * | 1995-04-10 | 1998-10-06 | Sony Corporation | Data recording and management system and method for detecting data file division based on quantitative number of blocks |
| US5845266A (en) | 1995-12-12 | 1998-12-01 | Optimark Technologies, Inc. | Crossing network utilizing satisfaction density profile with price discovery features |
| GB2300991B (en) | 1995-05-15 | 1997-11-05 | Andrew Macgregor Ritchie | Serving signals to browsing clients |
| US5704060A (en) | 1995-05-22 | 1997-12-30 | Del Monte; Michael G. | Text storage and retrieval system and method |
| US5687297A (en) | 1995-06-29 | 1997-11-11 | Xerox Corporation | Multifunctional apparatus for appearance tuning and resolution reconstruction of digital images |
| US5886701A (en) | 1995-08-04 | 1999-03-23 | Microsoft Corporation | Graphics rendering device and method for operating same |
| JPH0954797A (en) | 1995-08-18 | 1997-02-25 | Nippon Telegr & Teleph Corp <Ntt> | Corporate network design search device |
| US5943421A (en) * | 1995-09-11 | 1999-08-24 | Norand Corporation | Processor having compression and encryption circuitry |
| JPH0981574A (en) * | 1995-09-14 | 1997-03-28 | Fujitsu Ltd | Database search method and system using search set display screen |
| US5701464A (en) * | 1995-09-15 | 1997-12-23 | Intel Corporation | Parameterized bloom filters |
| US6134551A (en) * | 1995-09-15 | 2000-10-17 | Intel Corporation | Method of caching digital certificate revocation lists |
| US5774839A (en) * | 1995-09-29 | 1998-06-30 | Rockwell International Corporation | Delayed decision switched prediction multi-stage LSF vector quantization |
| US5785636A (en) * | 1995-10-12 | 1998-07-28 | Beloit Technologies, Inc. | Composite roll shell |
| JPH09145544A (en) | 1995-11-20 | 1997-06-06 | Ricoh Co Ltd | Method for measuring mtf |
| US5864738A (en) * | 1996-03-13 | 1999-01-26 | Cray Research, Inc. | Massively parallel processing system using two data paths: one connecting router circuit to the interconnect network and the other connecting router circuit to I/O controller |
| US20050267836A1 (en) | 1996-03-25 | 2005-12-01 | Cfph, Llc | Method and system for transacting with a trading application |
| JPH09269930A (en) | 1996-04-03 | 1997-10-14 | Hitachi Ltd | Quarantine method and device for network system |
| US5713793A (en) | 1996-04-05 | 1998-02-03 | Oris, L.L.C. | Sporting event options market trading game |
| US5781921A (en) * | 1996-05-06 | 1998-07-14 | Ohmeda Inc. | Method and apparatus to effect firmware upgrades using a removable memory device under software control |
| US5712942A (en) | 1996-05-13 | 1998-01-27 | Lucent Technologies Inc. | Optical communications system having distributed intelligence |
| GB2314433A (en) * | 1996-06-22 | 1997-12-24 | Xerox Corp | Finding and modifying strings of a regular language in a text |
| US6147976A (en) * | 1996-06-24 | 2000-11-14 | Cabletron Systems, Inc. | Fast network layer packet filter |
| US5995963A (en) * | 1996-06-27 | 1999-11-30 | Fujitsu Limited | Apparatus and method of multi-string matching based on sparse state transition list |
| US6061662A (en) * | 1997-08-15 | 2000-05-09 | Options Technology Company, Inc. | Simulation method and system for the valuation of derivative financial instruments |
| US6016483A (en) | 1996-09-20 | 2000-01-18 | Optimark Technologies, Inc. | Method and apparatus for automated opening of options exchange |
| US6178494B1 (en) | 1996-09-23 | 2001-01-23 | Virtual Computer Corporation | Modular, hybrid processor and method for producing a modular, hybrid processor |
| US5825879A (en) * | 1996-09-30 | 1998-10-20 | Intel Corporation | System and method for copy-protecting distributed video content |
| US6084584A (en) | 1996-10-01 | 2000-07-04 | Diamond Multimedia Systems, Inc. | Computer system supporting portable interactive graphics display tablet and communications systems |
| US5991881A (en) * | 1996-11-08 | 1999-11-23 | Harris Corporation | Network surveillance system |
| US5963923A (en) | 1996-11-12 | 1999-10-05 | Garber; Howard B. | System and method for trading having a principal market maker |
| US5892962A (en) * | 1996-11-12 | 1999-04-06 | Lucent Technologies Inc. | FPGA-based processor |
| JP3231673B2 (en) * | 1996-11-21 | 2001-11-26 | シャープ株式会社 | Character and character string search method and recording medium used in the method |
| DE19651075A1 (en) | 1996-12-09 | 1998-06-10 | Pact Inf Tech Gmbh | Unit for processing numerical and logical operations, for use in processors (CPU's), multi-computer systems, data flow processors (DFP's), digital signal processors (DSP's) or the like |
| US5905974A (en) | 1996-12-13 | 1999-05-18 | Cantor Fitzgerald Securities | Automated auction protocol processor |
| US6073160A (en) * | 1996-12-18 | 2000-06-06 | Xerox Corporation | Document communications controller |
| US5911778A (en) * | 1996-12-31 | 1999-06-15 | Sun Microsystems, Inc. | Processing system security |
| US6028939A (en) * | 1997-01-03 | 2000-02-22 | Redcreek Communications, Inc. | Data security system and method |
| US6070172A (en) * | 1997-03-06 | 2000-05-30 | Oracle Corporation | On-line free space defragmentation of a contiguous-file file system |
| JP2945938B2 (en) | 1997-03-11 | 1999-09-06 | 科学技術庁航空宇宙技術研究所長 | Network fraud analysis method, network fraud analysis device using the same, and computer-readable recording medium recording network fraud analysis program |
| US5930753A (en) * | 1997-03-20 | 1999-07-27 | At&T Corp | Combining frequency warping and spectral shaping in HMM based speech recognition |
| US5873071A (en) | 1997-05-15 | 1999-02-16 | Itg Inc. | Computer method and system for intermediated exchange of commodities |
| JPH10326287A (en) * | 1997-05-23 | 1998-12-08 | Mitsubishi Corp | Digital content management system and digital content management device |
| DE19724072C2 (en) | 1997-06-07 | 1999-04-01 | Deutsche Telekom Ag | Device for carrying out a block encryption process |
| US6236727B1 (en) * | 1997-06-24 | 2001-05-22 | International Business Machines Corporation | Apparatus, method and computer program product for protecting copyright data within a computer system |
| JP3372455B2 (en) * | 1997-07-03 | 2003-02-04 | 富士通株式会社 | Packet relay control method, packet relay device, and program storage medium |
| US6067569A (en) * | 1997-07-10 | 2000-05-23 | Microsoft Corporation | Fast-forwarding and filtering of network packets in a computer system |
| US6317795B1 (en) | 1997-07-22 | 2001-11-13 | International Business Machines Corporation | Dynamic modification of multimedia content |
| US6609196B1 (en) | 1997-07-24 | 2003-08-19 | Tumbleweed Communications Corp. | E-mail firewall with stored key encryption/decryption |
| US6006264A (en) * | 1997-08-01 | 1999-12-21 | Arrowpoint Communications, Inc. | Method and system for directing a flow between a client and a server |
| US6608638B1 (en) * | 2000-02-07 | 2003-08-19 | National Instruments Corporation | System and method for configuring a programmable hardware instrument to perform measurement functions utilizing estimation of the hardware implentation and management of hardware resources |
| US6772136B2 (en) | 1997-08-21 | 2004-08-03 | Elaine Kant | System and method for financial instrument modeling and using Monte Carlo simulation |
| US6173276B1 (en) * | 1997-08-21 | 2001-01-09 | Scicomp, Inc. | System and method for financial instrument modeling and valuation |
| US6307936B1 (en) | 1997-09-16 | 2001-10-23 | Safenet, Inc. | Cryptographic key management scheme |
| JPH11110320A (en) | 1997-10-03 | 1999-04-23 | Matsushita Electric Ind Co Ltd | Message exchange device |
| GB2330682A (en) * | 1997-10-22 | 1999-04-28 | Calluna Tech Ltd | Password access to an encrypted drive |
| US6442533B1 (en) | 1997-10-29 | 2002-08-27 | William H. Hinkle | Multi-processing financial transaction processing system |
| US6370592B1 (en) | 1997-11-04 | 2002-04-09 | Hewlett-Packard Company | Network interface device which allows peripherals to utilize network transport services |
| US5950006A (en) | 1997-11-05 | 1999-09-07 | Control Technology Corporation | Object-oriented programmable controller |
| US6138176A (en) * | 1997-11-14 | 2000-10-24 | 3Ware | Disk array controller with automated processor which routes I/O data according to addresses and commands received from disk drive controllers |
| US6594643B1 (en) | 1997-11-14 | 2003-07-15 | Charles C. Freeny, Jr. | Automatic stock trading system |
| AU1421799A (en) | 1997-11-25 | 1999-06-15 | Packeteer, Inc. | Method for automatically classifying traffic in a packet communications network |
| US6321258B1 (en) | 1997-12-11 | 2001-11-20 | Hewlett-Packard Company | Administration of networked peripherals using particular file system |
| US6339819B1 (en) | 1997-12-17 | 2002-01-15 | Src Computers, Inc. | Multiprocessor with each processor element accessing operands in loaded input buffer and forwarding results to FIFO output buffer |
| US7124106B1 (en) | 1997-12-17 | 2006-10-17 | Omega Consulting, Inc. | Apparatus for trading of bundled assets including bundle substitution and method therefor |
| US7424552B2 (en) | 1997-12-17 | 2008-09-09 | Src Computers, Inc. | Switch/network adapter port incorporating shared memory resources selectively accessible by a direct execution logic element and one or more dense logic devices |
| US6058391A (en) | 1997-12-17 | 2000-05-02 | Mci Communications Corporation | Enhanced user view/update capability for managing data from relational tables |
| US6147890A (en) * | 1997-12-30 | 2000-11-14 | Kawasaki Steel Corporation | FPGA with embedded content-addressable memory |
| US6519686B2 (en) | 1998-01-05 | 2003-02-11 | Intel Corporation | Information streaming in a multi-process system using shared memory |
| US6034538A (en) * | 1998-01-21 | 2000-03-07 | Lucent Technologies Inc. | Virtual logic system for reconfigurable hardware |
| US6235996B1 (en) * | 1998-01-28 | 2001-05-22 | International Business Machines Corporation | Interconnection structure and process module assembly and rework |
| US6175948B1 (en) * | 1998-02-05 | 2001-01-16 | Motorola, Inc. | Method and apparatus for a waveform compiler |
| US5987610A (en) | 1998-02-12 | 1999-11-16 | Ameritech Corporation | Computer virus screening methods and systems |
| US6304858B1 (en) | 1998-02-13 | 2001-10-16 | Adams, Viner And Mosler, Ltd. | Method, system, and computer program product for trading interest rate swaps |
| KR100441171B1 (en) | 1998-02-20 | 2004-10-14 | 삼성전자주식회사 | Firmware composing method using flash rom and ram |
| US6096091A (en) * | 1998-02-24 | 2000-08-01 | Advanced Micro Devices, Inc. | Dynamically reconfigurable logic networks interconnected by fall-through FIFOs for flexible pipeline processing in a system-on-a-chip |
| US6279113B1 (en) | 1998-03-16 | 2001-08-21 | Internet Tools, Inc. | Dynamic signature inspection-based network intrusion detection |
| US6236980B1 (en) | 1998-04-09 | 2001-05-22 | John P Reese | Magazine, online, and broadcast summary recommendation reporting system to aid in decision making |
| JPH11306268A (en) | 1998-04-17 | 1999-11-05 | Sunao Shibata | Semiconductor arithmetic unit |
| US6389532B1 (en) | 1998-04-20 | 2002-05-14 | Sun Microsystems, Inc. | Method and apparatus for using digital signatures to filter packets in a network |
| JPH11316765A (en) | 1998-05-01 | 1999-11-16 | Nippon Steel Corp | Database search system and method, database registration device, database search device, recording medium |
| US6397259B1 (en) | 1998-05-29 | 2002-05-28 | Palm, Inc. | Method, system and apparatus for packet minimized communications |
| US6415269B1 (en) | 1998-05-29 | 2002-07-02 | Bidcatcher, L.P. | Interactive remote auction bidding system |
| US6105067A (en) * | 1998-06-05 | 2000-08-15 | International Business Machines Corp. | Connection pool management for backend servers using common interface |
| US6289461B1 (en) | 1998-06-09 | 2001-09-11 | Placeware, Inc. | Bi-directional process-to-process byte stream protocol |
| US6243753B1 (en) | 1998-06-12 | 2001-06-05 | Microsoft Corporation | Method, system, and computer program product for creating a raw data channel form an integrating component to a series of kernel mode filters |
| US6272616B1 (en) | 1998-06-17 | 2001-08-07 | Agere Systems Guardian Corp. | Method and apparatus for executing multiple instruction streams in a digital processor with multiple data paths |
| WO2000003517A1 (en) | 1998-07-08 | 2000-01-20 | Broadcom Corporation | High performance self balancing low cost network switching architecture based on distributed hierarchical shared memory |
| US6169969B1 (en) * | 1998-08-07 | 2001-01-02 | The United States Of America As Represented By The Director Of The National Security Agency | Device and method for full-text large-dictionary string matching using n-gram hashing |
| US6456632B1 (en) | 1998-08-27 | 2002-09-24 | Robert T. Baum | Protocol separation in packet communication |
| US6535868B1 (en) | 1998-08-27 | 2003-03-18 | Debra A. Galeazzi | Method and apparatus for managing metadata in a database management system |
| US20020152060A1 (en) * | 1998-08-31 | 2002-10-17 | Tseng Ping-Sheng | Inter-chip communication system |
| JP2000076270A (en) | 1998-08-31 | 2000-03-14 | Canon Inc | Image search system and control method thereof, image search device and control method thereof, computer readable memory |
| GB9819183D0 (en) | 1998-09-04 | 1998-10-28 | Int Computers Ltd | Multiple string search method |
| JP2000101439A (en) | 1998-09-24 | 2000-04-07 | Sony Corp | Information processing apparatus and method, information recording apparatus and method, recording medium, and providing medium |
| US6226676B1 (en) | 1998-10-07 | 2001-05-01 | Nortel Networks Corporation | Connection establishment and termination in a mixed protocol network |
| US6317728B1 (en) | 1998-10-13 | 2001-11-13 | Richard L. Kane | Securities and commodities trading system |
| JP4763866B2 (en) | 1998-10-15 | 2011-08-31 | インターシア ソフトウェア エルエルシー | Method and apparatus for protecting digital data by double re-encryption |
| US7181548B2 (en) | 1998-10-30 | 2007-02-20 | Lsi Logic Corporation | Command queueing engine |
| RU2001117235A (en) | 1998-11-24 | 2003-05-27 | Никсан | DEVICE AND METHOD FOR COLLECTING AND ANALYSIS OF COMMUNICATION DATA |
| JP3679936B2 (en) | 1998-11-27 | 2005-08-03 | 東芝ソリューション株式会社 | Encryption / decryption device and storage medium |
| US6564263B1 (en) | 1998-12-04 | 2003-05-13 | International Business Machines Corporation | Multimedia content description framework |
| US6624761B2 (en) | 1998-12-11 | 2003-09-23 | Realtime Data, Llc | Content independent data compression method and system |
| US6195024B1 (en) | 1998-12-11 | 2001-02-27 | Realtime Data, Llc | Content independent data compression method and system |
| US6625150B1 (en) | 1998-12-17 | 2003-09-23 | Watchguard Technologies, Inc. | Policy engine architecture |
| US6499107B1 (en) | 1998-12-29 | 2002-12-24 | Cisco Technology, Inc. | Method and system for adaptive network security using intelligent packet analysis |
| US6279140B1 (en) | 1999-01-07 | 2001-08-21 | International Business Machines Corporation | Method and apparatus for checksum verification with receive packet processing |
| US6329996B1 (en) | 1999-01-08 | 2001-12-11 | Silicon Graphics, Inc. | Method and apparatus for synchronizing graphics pipelines |
| US6578147B1 (en) | 1999-01-15 | 2003-06-10 | Cisco Technology, Inc. | Parallel intrusion detection sensors with load balancing for high speed networks |
| US6604158B1 (en) | 1999-03-11 | 2003-08-05 | Realtime Data, Llc | System and methods for accelerated data storage and retrieval |
| US6601104B1 (en) | 1999-03-11 | 2003-07-29 | Realtime Data Llc | System and methods for accelerated data storage and retrieval |
| US6778968B1 (en) | 1999-03-17 | 2004-08-17 | Vialogy Corp. | Method and system for facilitating opportunistic transactions using auto-probes |
| US6839686B1 (en) | 1999-03-29 | 2005-01-04 | Dlj Long Term Investment Corporation | Method and system for providing financial information and evaluating securities of a financial debt instrument |
| JP3673111B2 (en) | 1999-03-31 | 2005-07-20 | 株式会社東芝 | Document management method, document management apparatus, and storage medium |
| JP3526414B2 (en) * | 1999-03-31 | 2004-05-17 | 株式会社東芝 | Information recording / reproducing method and information recording / reproducing device |
| US6993504B1 (en) | 1999-04-09 | 2006-01-31 | Trading Technologies International, Inc. | User interface for semi-fungible trading |
| US6336117B1 (en) | 1999-04-30 | 2002-01-01 | International Business Machines Corporation | Content-indexing search system and method providing search results consistent with content filtering and blocking policies implemented in a blocking engine |
| US6952409B2 (en) * | 1999-05-17 | 2005-10-04 | Jolitz Lynne G | Accelerator system and method |
| US6768992B1 (en) * | 1999-05-17 | 2004-07-27 | Lynne G. Jolitz | Term addressable memory of an accelerator system and method |
| US6597812B1 (en) | 1999-05-28 | 2003-07-22 | Realtime Data, Llc | System and method for lossless data compression and decompression |
| US6765918B1 (en) * | 1999-06-16 | 2004-07-20 | Teledata Networks, Ltd. | Client/server based architecture for a telecommunications network |
| JP2001014239A (en) | 1999-06-29 | 2001-01-19 | Hitachi Ltd | Security system by multi-system parallel operation computer |
| US6463474B1 (en) | 1999-07-02 | 2002-10-08 | Cisco Technology, Inc. | Local authentication of a client at a network device |
| US7002986B1 (en) | 1999-07-08 | 2006-02-21 | Nortel Networks Limited | Mapping arbitrary signals into SONET |
| US7996296B2 (en) | 1999-07-21 | 2011-08-09 | Longitude Llc | Digital options having demand-based, adjustable returns, and trading exchange therefor |
| US6418419B1 (en) | 1999-07-23 | 2002-07-09 | 5Th Market, Inc. | Automated system for conditional order transactions in securities or other items in commerce |
| GB2352548B (en) | 1999-07-26 | 2001-06-06 | Sun Microsystems Inc | Method and apparatus for executing standard functions in a computer system |
| JP3551847B2 (en) * | 1999-08-02 | 2004-08-11 | 日本電気株式会社 | Content protection method for digital broadcast recording |
| US6870837B2 (en) | 1999-08-19 | 2005-03-22 | Nokia Corporation | Circuit emulation service over an internet protocol network |
| JP2003510705A (en) * | 1999-09-20 | 2003-03-18 | シーゲイト テクノロジー エルエルシー | Field programmable gate array hard disk drive |
| US6546375B1 (en) | 1999-09-21 | 2003-04-08 | Johns Hopkins University | Apparatus and method of pricing financial derivatives |
| US7181424B1 (en) | 1999-09-23 | 2007-02-20 | The Nasdaq Stock Market, Inc. | Montage for automated market system |
| US6581098B1 (en) | 1999-09-27 | 2003-06-17 | Hewlett-Packard Development Company, L.P. | Server providing access to a plurality of functions of a multifunction peripheral in a network |
| US7251629B1 (en) | 1999-10-14 | 2007-07-31 | Edge Capture, Llc | Automated trading system in an electronic trading exchange |
| US6886103B1 (en) * | 1999-10-28 | 2005-04-26 | Lucent Technologies Inc. | Method and apparatus for extending network address translation for unsupported protocols |
| NZ512939A (en) | 1999-11-12 | 2004-06-25 | Brain Solutions Llc E | Graphical user interface having only one window with all elements being active (changable properties) |
| US6804667B1 (en) * | 1999-11-30 | 2004-10-12 | Ncr Corporation | Filter for checking for duplicate entries in database |
| FI109319B (en) | 1999-12-03 | 2002-06-28 | Nokia Corp | Filtering of electronic information to be transmitted to a terminal |
| TW545023B (en) | 1999-12-10 | 2003-08-01 | Koninkl Philips Electronics Nv | Synchronization of session keys |
| US6850906B1 (en) | 1999-12-15 | 2005-02-01 | Traderbot, Inc. | Real-time financial search engine and method |
| US6870929B1 (en) | 1999-12-22 | 2005-03-22 | Juniper Networks, Inc. | High throughput system for encryption and other data operations |
| GB9930145D0 (en) * | 1999-12-22 | 2000-02-09 | Kean Thomas A | Method and apparatus for secure configuration of a field programmable gate array |
| JP2001189755A (en) | 1999-12-28 | 2001-07-10 | Toshiba Corp | Packet communication device, packet communication method, and storage medium |
| US7356498B2 (en) | 1999-12-30 | 2008-04-08 | Chicago Board Options Exchange, Incorporated | Automated trading exchange system having integrated quote risk monitoring and integrated quote modification services |
| ATE364866T1 (en) | 2000-01-06 | 2007-07-15 | Ibm | METHOD AND CIRCUIT FOR QUICKLY FINDING THE MINIMUM/MAXIMUM VALUE IN A SET OF NUMBERS |
| US20010015753A1 (en) * | 2000-01-13 | 2001-08-23 | Myers Kenneth J. | Split image stereoscopic system and method |
| US7184549B2 (en) | 2000-01-14 | 2007-02-27 | Mitsubishi Denki Kabushiki Kaisha | Method and apparatus for encryption, method and apparatus for decryption, and computer-readable medium storing program |
| EP1252738A2 (en) | 2000-01-31 | 2002-10-30 | VDG Inc. | Block encryption method and schemes for data confidentiality and integrity protection |
| JP3448254B2 (en) | 2000-02-02 | 2003-09-22 | インターナショナル・ビジネス・マシーンズ・コーポレーション | Access chain tracking system, network system, method, and recording medium |
| US20030191876A1 (en) | 2000-02-03 | 2003-10-09 | Fallon James J. | Data storewidth accelerator |
| US7181608B2 (en) | 2000-02-03 | 2007-02-20 | Realtime Data Llc | Systems and methods for accelerated loading of operating systems and application programs |
| US6584601B1 (en) * | 2000-02-07 | 2003-06-24 | National Instruments Corporation | System and method for converting graphical programs into hardware implementations which utilize probe insertion |
| US6877044B2 (en) | 2000-02-10 | 2005-04-05 | Vicom Systems, Inc. | Distributed storage management platform architecture |
| AU2001239807A1 (en) | 2000-02-18 | 2001-08-27 | Verimatrix, Inc. | Network-based content distribution system |
| US7127424B2 (en) | 2000-03-02 | 2006-10-24 | Trading Technologies International, Inc. | Click based trading with intuitive grid display of market depth and price consolidation |
| US7228289B2 (en) | 2000-03-02 | 2007-06-05 | Trading Technologies International, Inc. | System and method for trading and displaying market information in an electronic trading environment |
| US6772132B1 (en) | 2000-03-02 | 2004-08-03 | Trading Technologies International, Inc. | Click based trading with intuitive grid display of market depth |
| US20030099254A1 (en) | 2000-03-03 | 2003-05-29 | Richter Roger K. | Systems and methods for interfacing asynchronous and non-asynchronous data media |
| US20030093347A1 (en) | 2000-03-15 | 2003-05-15 | Gray Dale F. | Managing risk using macro-financial risk analysis |
| JP2001268071A (en) * | 2000-03-16 | 2001-09-28 | Advanced Mobile Telecommunications Security Technology Research Lab Co Ltd | Tamper-resistant encryption device |
| US9924216B2 (en) | 2000-03-21 | 2018-03-20 | Ted R. Rittmaster | System and process for distribution of information on a communication network |
| US7103569B1 (en) | 2000-03-24 | 2006-09-05 | Groveman Lloyd A | Active account management using volatility arbitrage |
| US7363277B1 (en) | 2000-03-27 | 2008-04-22 | International Business Machines Corporation | Detecting copyright violation via streamed extraction and signature analysis in a method, system and program |
| US7099838B1 (en) | 2000-03-27 | 2006-08-29 | American Stock Exchange, Llc | Hedging exchange traded mutual funds or other portfolio basket products |
| US7571130B2 (en) | 2002-06-17 | 2009-08-04 | Nyse Alternext Us Llc | Hedging exchange traded mutual funds or other portfolio basket products |
| US7146007B1 (en) * | 2000-03-29 | 2006-12-05 | Sony Corporation | Secure conditional access port interface |
| JP4156770B2 (en) * | 2000-03-30 | 2008-09-24 | 株式会社東芝 | Communication device and communication method thereof |
| US7353267B1 (en) | 2000-04-07 | 2008-04-01 | Netzero, Inc. | Targeted network video download interface |
| US7139743B2 (en) * | 2000-04-07 | 2006-11-21 | Washington University | Associative database scanning and information retrieval using FPGA devices |
| US6711558B1 (en) | 2000-04-07 | 2004-03-23 | Washington University | Associative database scanning and information retrieval |
| US8095508B2 (en) | 2000-04-07 | 2012-01-10 | Washington University | Intelligent data storage and processing using FPGA devices |
| US8799138B2 (en) | 2000-04-10 | 2014-08-05 | Stikine Technology, Llc | Routing control for orders eligible for multiple markets |
| US7315838B2 (en) | 2000-04-13 | 2008-01-01 | Superderivatives, Inc. | Method and system for pricing options |
| AU2001251748A1 (en) | 2000-04-14 | 2001-10-30 | Solidstreaming, Inc. | A system and method for multimedia streaming |
| JP4332284B2 (en) * | 2000-04-20 | 2009-09-16 | 株式会社日立製作所 | Recording / reproducing method and recording / reproducing apparatus |
| US6601094B1 (en) | 2000-04-27 | 2003-07-29 | Hewlett-Packard Development Company, L.P. | Method and system for recommending an available network protocol |
| GB2366957A (en) | 2000-05-26 | 2002-03-20 | Roke Manor Research | Reconfiguration manager |
| US7685052B2 (en) | 2000-06-01 | 2010-03-23 | Pipeline Financial Group, Inc. | Confidential block trading system and method |
| US6981054B1 (en) * | 2000-06-06 | 2005-12-27 | Advanced Micro Devices, Inc. | Flow control arrangement in a network switch based on priority traffic |
| JP2001357048A (en) * | 2000-06-13 | 2001-12-26 | Hitachi Ltd | Search method of block-sorted compressed data and encoding method of block-sorted compression method suitable for search |
| US20020019812A1 (en) | 2000-06-16 | 2002-02-14 | Board Karen Eleanor | System and service for receiving, customizing, and re-broadcasting high-speed financial data to users operating wireless network-capable devices |
| US7328349B2 (en) | 2001-12-14 | 2008-02-05 | Bbn Technologies Corp. | Hash-based systems and methods for detecting, preventing, and tracing network worms and viruses |
| US20040064737A1 (en) | 2000-06-19 | 2004-04-01 | Milliken Walter Clark | Hash-based systems and methods for detecting and preventing transmission of polymorphic network worms and viruses |
| US7032031B2 (en) | 2000-06-23 | 2006-04-18 | Cloudshield Technologies, Inc. | Edge adapter apparatus and method |
| US8204082B2 (en) | 2000-06-23 | 2012-06-19 | Cloudshield Technologies, Inc. | Transparent provisioning of services over a network |
| US7305085B2 (en) | 2000-06-30 | 2007-12-04 | Kabushiki Kaisha Toshiba | Encryption apparatus and method, and decryption apparatus and method based on block encryption |
| US7089206B2 (en) | 2000-06-30 | 2006-08-08 | Ubs Ag | Trade allocation |
| JP3505482B2 (en) | 2000-07-12 | 2004-03-08 | 株式会社東芝 | Encryption device, decryption device, extended key generation device, extended key generation method, and recording medium |
| US6956951B2 (en) | 2000-07-13 | 2005-10-18 | Fujitsu Limited | Extended key preparing apparatus, extended key preparing method, recording medium and computer program |
| US7177833B1 (en) | 2000-07-18 | 2007-02-13 | Edge Capture, Llc | Automated trading system in an electronic trading exchange |
| US20020100029A1 (en) | 2000-07-20 | 2002-07-25 | Matt Bowen | System, method and article of manufacture for compiling and invoking C functions in hardware |
| US20030028690A1 (en) | 2000-07-20 | 2003-02-06 | John Appleby-Alis | System, method and article of manufacture for a reconfigurable hardware-based multimedia device |
| US20020010825A1 (en) | 2000-07-20 | 2002-01-24 | Alex Wilson | Memory resource arbitrator for multiple gate arrays |
| US6931545B1 (en) * | 2000-08-28 | 2005-08-16 | Contentguard Holdings, Inc. | Systems and methods for integrity certification and verification of content consumption environments |
| US6381242B1 (en) | 2000-08-29 | 2002-04-30 | Netrake Corporation | Content processor |
| US20020069370A1 (en) | 2000-08-31 | 2002-06-06 | Infoseer, Inc. | System and method for tracking and preventing illegal distribution of proprietary material over computer networks |
| US6820129B1 (en) | 2000-09-22 | 2004-11-16 | Hewlett-Packard Development Company, L.P. | System and method of managing network buffers |
| GB0023409D0 (en) | 2000-09-22 | 2000-11-08 | Integrated Silicon Systems Ltd | Data encryption apparatus |
| JP2002108910A (en) * | 2000-09-27 | 2002-04-12 | Nec Soft Ltd | Enciphered filing system, enciphered file retrieving method and computer readable recording medium |
| US7417568B2 (en) | 2000-10-03 | 2008-08-26 | Realtime Data Llc | System and method for data feed acceleration and encryption |
| US9143546B2 (en) | 2000-10-03 | 2015-09-22 | Realtime Data Llc | System and method for data feed acceleration and encryption |
| US8692695B2 (en) | 2000-10-03 | 2014-04-08 | Realtime Data, Llc | Methods for encoding and decoding data |
| US7362859B1 (en) | 2000-10-06 | 2008-04-22 | Sandia Corporation | Enhancement of utilization of encryption engine |
| US20020072893A1 (en) | 2000-10-12 | 2002-06-13 | Alex Wilson | System, method and article of manufacture for using a microprocessor emulation in a hardware application with non time-critical functions |
| US20020069375A1 (en) | 2000-10-12 | 2002-06-06 | Matt Bowen | System, method, and article of manufacture for data transfer across clock domains |
| US7065475B1 (en) | 2000-10-31 | 2006-06-20 | Goldman Sachs & Co. | Modeling option price dynamics |
| WO2002061525A2 (en) | 2000-11-02 | 2002-08-08 | Pirus Networks | Tcp/udp acceleration |
| US6807156B1 (en) * | 2000-11-07 | 2004-10-19 | Telefonaktiebolaget Lm Ericsson (Publ) | Scalable real-time quality of service monitoring and analysis of service dependent subscriber satisfaction in IP networks |
| US7760737B2 (en) | 2000-11-30 | 2010-07-20 | Audiocodes, Inc. | Method for reordering and reassembling data packets in a network |
| US6815052B2 (en) | 2000-12-01 | 2004-11-09 | P1 Diamond, Inc. | Filled diamond foam material and method for forming same |
| US6594316B2 (en) * | 2000-12-12 | 2003-07-15 | Scientific-Atlanta, Inc. | Method and apparatus for adaptive bit rate control in an asynchronized encoding system |
| US7142671B2 (en) | 2000-12-13 | 2006-11-28 | Broadcom Corporation | Methods and apparatus for implementing a cryptography engine |
| US7178100B2 (en) | 2000-12-15 | 2007-02-13 | Call Charles G | Methods and apparatus for storing and manipulating variable length and fixed length data elements as a sequence of fixed length integers |
| US7117280B2 (en) | 2000-12-27 | 2006-10-03 | Intel Corporation | Network based intra-system communications architecture |
| US7230978B2 (en) * | 2000-12-29 | 2007-06-12 | Infineon Technologies Ag | Channel CODEC processor configurable for multiple wireless communications standards |
| US7757278B2 (en) | 2001-01-04 | 2010-07-13 | Safenet, Inc. | Method and apparatus for transparent encryption |
| US20030023653A1 (en) | 2001-01-29 | 2003-01-30 | Andrew Dunlop | System, method and article of manufacture for a single-cycle floating point library |
| US20030105620A1 (en) | 2001-01-29 | 2003-06-05 | Matt Bowen | System, method and article of manufacture for interface constructs in a programming language capable of programming hardware architetures |
| US20020199173A1 (en) | 2001-01-29 | 2002-12-26 | Matt Bowen | System, method and article of manufacture for a debugger capable of operating across multiple threads and lock domains |
| US20030028864A1 (en) | 2001-01-29 | 2003-02-06 | Matt Bowen | System, method and article of manufacture for successive compilations using incomplete parameters |
| US20030046668A1 (en) | 2001-01-29 | 2003-03-06 | Matt Bowen | System, method and article of manufacture for distributing IP cores |
| US20020101425A1 (en) | 2001-01-29 | 2002-08-01 | Hammad Hamid | System, method and article of manufacture for increased I/O capabilities in a graphics processing framework |
| US20030037321A1 (en) | 2001-01-29 | 2003-02-20 | Matt Bowen | System, method and article of manufacture for extensions in a programming lanauage capable of programming hardware architectures |
| US20030074177A1 (en) | 2001-01-29 | 2003-04-17 | Matt Bowen | System, method and article of manufacture for a simulator plug-in for co-simulation purposes |
| US20020180742A1 (en) | 2001-01-29 | 2002-12-05 | Hammad Hamid | Graphics macros for a frame buffer |
| US20030033588A1 (en) | 2001-01-29 | 2003-02-13 | John Alexander | System, method and article of manufacture for using a library map to create and maintain IP cores effectively |
| US6868265B2 (en) | 2001-01-29 | 2005-03-15 | Accelerated Performance, Inc. | Locator for physically locating an electronic device in a communication network |
| US20030033594A1 (en) | 2001-01-29 | 2003-02-13 | Matt Bowen | System, method and article of manufacture for parameterized expression libraries |
| US6691301B2 (en) | 2001-01-29 | 2004-02-10 | Celoxica Ltd. | System, method and article of manufacture for signal constructs in a programming language capable of programming hardware architectures |
| US7539746B2 (en) * | 2001-02-01 | 2009-05-26 | Emc Corporation | Highly available transaction failure detection and recovery for electronic commerce transactions |
| US7386046B2 (en) | 2001-02-13 | 2008-06-10 | Realtime Data Llc | Bandwidth sensitive data compression and decompression |
| US7117370B2 (en) | 2001-02-20 | 2006-10-03 | Sal Khan | System for transmitting secure data between a sender and a recipient over a computer network using a virtual envelope and method for using the same |
| US7212495B2 (en) * | 2001-02-21 | 2007-05-01 | Polytechnic University | Signaling for reserving a communications path |
| US6847645B1 (en) | 2001-02-22 | 2005-01-25 | Cisco Technology, Inc. | Method and apparatus for controlling packet header buffer wrap around in a forwarding engine of an intermediate network node |
| US20030061409A1 (en) | 2001-02-23 | 2003-03-27 | Rudusky Daryl | System, method and article of manufacture for dynamic, automated product fulfillment for configuring a remotely located device |
| US20030055658A1 (en) | 2001-02-23 | 2003-03-20 | Rudusky Daryl | System, method and article of manufacture for dynamic, automated fulfillment of an order for a hardware product |
| US20030028408A1 (en) | 2001-02-23 | 2003-02-06 | Rudusky Daryl | System, method and article of manufacture for a contractor-based hardware development service |
| US20030055769A1 (en) | 2001-02-23 | 2003-03-20 | Rudusky Daryl | System, method and article of manufacture for a library-based hardware configuration service |
| US20030055771A1 (en) | 2001-02-23 | 2003-03-20 | Rudusky Daryl | System, method and article of manufacture for a reverse-auction-based system for hardware development |
| US20030055770A1 (en) | 2001-02-23 | 2003-03-20 | Rudusky Daryl | System, method and article of manufacture for an auction-based system for hardware development |
| US20030033234A1 (en) | 2001-02-23 | 2003-02-13 | Rudusky Daryl | System, method and article of manufacture for a hardware configuration service |
| US20030097481A1 (en) | 2001-03-01 | 2003-05-22 | Richter Roger K. | Method and system for performing packet integrity operations using a data movement engine |
| WO2002071227A1 (en) | 2001-03-01 | 2002-09-12 | Cyber Operations, Llc | System and method for anti-network terrorism |
| US20020150248A1 (en) * | 2001-03-06 | 2002-10-17 | Kovacevic Branko D. | System for digital stream reception via memory buffer and method thereof |
| US7681032B2 (en) | 2001-03-12 | 2010-03-16 | Portauthority Technologies Inc. | System and method for monitoring unauthorized transport of digital content |
| US7257816B2 (en) * | 2001-03-12 | 2007-08-14 | Mercury Computer Systems, Inc. | Digital data processing apparatus and methods with dynamically configurable application execution on accelerated resources |
| US20030035547A1 (en) | 2001-03-27 | 2003-02-20 | John Newton | Server with multiple encryption libraries |
| US20030079060A1 (en) | 2001-04-02 | 2003-04-24 | Andrew Dunlop | Universal download program for establishing communication with a gate array |
| EP1490767B1 (en) | 2001-04-05 | 2014-06-11 | Audible Magic Corporation | Copyright detection and protection system and method |
| WO2002082267A1 (en) * | 2001-04-06 | 2002-10-17 | Wind River Systems, Inc. | Fpga coprocessing system |
| US6779057B2 (en) * | 2001-04-18 | 2004-08-17 | International Business Machines Corporation | Method, system, and program for indicating data transmitted to an input/output device as committed |
| US7325249B2 (en) | 2001-04-30 | 2008-01-29 | Aol Llc | Identifying unwanted electronic messages |
| US6785677B1 (en) | 2001-05-02 | 2004-08-31 | Unisys Corporation | Method for execution of query to search strings of characters that match pattern with a target string utilizing bit vector |
| US6944168B2 (en) * | 2001-05-04 | 2005-09-13 | Slt Logic Llc | System and method for providing transformation of multi-protocol packets in a data stream |
| US7152151B2 (en) | 2002-07-18 | 2006-12-19 | Ge Fanuc Embedded Systems, Inc. | Signal processing resource for selective series processing of data in transit on communications paths in multi-processor arrangements |
| GB0111521D0 (en) | 2001-05-11 | 2001-07-04 | Amphion Semiconductor Ltd | A component for generating data encryption/decryption apparatus |
| US7065482B2 (en) | 2001-05-17 | 2006-06-20 | International Business Machines Corporation | Internet traffic analysis tool |
| US7558753B2 (en) | 2001-05-30 | 2009-07-07 | Morgan Stanley | Price improvement crossing system |
| US6937727B2 (en) | 2001-06-08 | 2005-08-30 | Corrent Corporation | Circuit and method for implementing the advanced encryption standard block cipher algorithm in a system having a plurality of channels |
| US7702563B2 (en) | 2001-06-11 | 2010-04-20 | Otc Online Partners | Integrated electronic exchange of structured contracts with dynamic risk-based transaction permissioning |
| US7308715B2 (en) | 2001-06-13 | 2007-12-11 | Mcafee, Inc. | Protocol-parsing state machine and method of using same |
| US20040218762A1 (en) | 2003-04-29 | 2004-11-04 | Eric Le Saint | Universal secure messaging for cryptographic modules |
| US7207041B2 (en) | 2001-06-28 | 2007-04-17 | Tranzeo Wireless Technologies, Inc. | Open platform architecture for shared resource access management |
| JP3851115B2 (en) | 2001-06-28 | 2006-11-29 | 富士通株式会社 | Cryptographic circuit |
| US20030009411A1 (en) | 2001-07-03 | 2003-01-09 | Pranil Ram | Interactive grid-based graphical trading system for real time security trading |
| US7149715B2 (en) | 2001-06-29 | 2006-12-12 | Goldman Sachs & Co. | Method and system for simulating implied volatility surfaces for use in option pricing simulations |
| US20030167348A1 (en) * | 2001-07-02 | 2003-09-04 | Globespanvirata, Inc. | Communications system using rings architecture |
| US20030069723A1 (en) * | 2001-07-03 | 2003-04-10 | Datacube, Inc. | System to integrate FPGA functions into a pipeline processing environment |
| US6928549B2 (en) | 2001-07-09 | 2005-08-09 | International Business Machines Corporation | Dynamic intrusion detection for computer systems |
| US7845004B2 (en) | 2001-07-27 | 2010-11-30 | International Business Machines Corporation | Correlating network information and intrusion information to find the entry point of an attack upon a protected computer |
| US7587476B2 (en) | 2001-08-07 | 2009-09-08 | Ricoh Company, Ltd. | Peripheral device with a centralized management server, and system, computer program product and method for managing peripheral devices connected to a network |
| US6980976B2 (en) | 2001-08-13 | 2005-12-27 | Oracle International Corp. | Combined database index of unstructured and structured columns |
| US7542867B2 (en) * | 2001-08-14 | 2009-06-02 | National Instruments Corporation | Measurement system with modular measurement modules that convey interface information |
| US7013232B2 (en) * | 2001-08-15 | 2006-03-14 | National Insurance Corporation | Network-based system for configuring a measurement system using configuration information generated based on a user specification |
| US6931408B2 (en) | 2001-08-17 | 2005-08-16 | E.C. Outlook, Inc. | Method of storing, maintaining and distributing computer intelligible electronic data |
| US7046848B1 (en) | 2001-08-22 | 2006-05-16 | Olcott Peter L | Method and system for recognizing machine generated character glyphs and icons in graphic images |
| US7133405B2 (en) | 2001-08-30 | 2006-11-07 | International Business Machines Corporation | IP datagram over multiple queue pairs |
| US6978223B2 (en) * | 2001-09-06 | 2005-12-20 | Bbnt Solutions Llc | Systems and methods for network performance measurement using packet signature collection |
| GB0121793D0 (en) | 2001-09-08 | 2001-10-31 | Amphion Semiconductor Ltd | An apparatus for generating encryption/decryption keys |
| US6941312B1 (en) * | 2001-09-10 | 2005-09-06 | At&T Corp. | Simultaneous multiple-method (SMm) compression |
| WO2003023548A2 (en) | 2001-09-12 | 2003-03-20 | Raqia Networks, Inc. | High speed data stream pattern recognition |
| US7558967B2 (en) | 2001-09-13 | 2009-07-07 | Actel Corporation | Encryption for a stream file in an FPGA integrated circuit |
| US7191233B2 (en) | 2001-09-17 | 2007-03-13 | Telecommunication Systems, Inc. | System for automated, mid-session, user-directed, device-to-device session transfer system |
| CA2403699C (en) | 2001-09-17 | 2014-12-02 | Recognia Inc. | Technical analysis formation recognition using pivot points |
| US20030065943A1 (en) | 2001-09-28 | 2003-04-03 | Christoph Geis | Method and apparatus for recognizing and reacting to denial of service attacks on a computerized network |
| US20030187662A1 (en) | 2001-10-04 | 2003-10-02 | Alex Wilson | System, method, and article of manufacture for a reconfigurable hardware-based audio decoder |
| TW527783B (en) | 2001-10-04 | 2003-04-11 | Ind Tech Res Inst | Encryption/deciphering device capable of supporting advanced encryption standard |
| US20030184593A1 (en) | 2001-10-09 | 2003-10-02 | Andrew Dunlop | System, method and article of manufacture for a user interface for an MP3 audio player |
| US7801301B2 (en) | 2001-10-10 | 2010-09-21 | Stmicroelectronics S.R.L. | Method and circuit for data encryption/decryption |
| US7181765B2 (en) | 2001-10-12 | 2007-02-20 | Motorola, Inc. | Method and apparatus for providing node security in a router of a packet network |
| JP2003122442A (en) * | 2001-10-16 | 2003-04-25 | Sony Corp | Wireless data communication method and apparatus for software download system |
| US7716330B2 (en) | 2001-10-19 | 2010-05-11 | Global Velocity, Inc. | System and method for controlling transmission of data packets over an information network |
| AU2002349906A1 (en) | 2001-10-24 | 2003-05-06 | Theodore C. Lee | Automated financial market information and trading system |
| US6707973B2 (en) * | 2001-11-02 | 2004-03-16 | Alcatel | Buffer tube design for easy and reliable access in mid-span |
| US6577254B2 (en) * | 2001-11-14 | 2003-06-10 | Hewlett-Packard Development Company, L.P. | Data compression/decompression system |
| US20030140337A1 (en) | 2001-12-21 | 2003-07-24 | Celoxica Ltd. | System, method, and article of manufacture for data transfer reporting for an application |
| US20030117971A1 (en) | 2001-12-21 | 2003-06-26 | Celoxica Ltd. | System, method, and article of manufacture for profiling an executable hardware model using calls to profiling functions |
| US20030121010A1 (en) | 2001-12-21 | 2003-06-26 | Celoxica Ltd. | System, method, and article of manufacture for estimating a potential performance of a codesign from an executable specification |
| US20030120460A1 (en) | 2001-12-21 | 2003-06-26 | Celoxica Ltd. | System, method, and article of manufacture for enhanced hardware model profiling |
| US7116736B2 (en) * | 2002-01-02 | 2006-10-03 | International Business Machines Corporation | Method, system, and program for synchronization and resynchronization of a data stream |
| US20030130899A1 (en) | 2002-01-08 | 2003-07-10 | Bruce Ferguson | System and method for historical database training of non-linear models for use in electronic commerce |
| US20030149869A1 (en) | 2002-02-01 | 2003-08-07 | Paul Gleichauf | Method and system for securely storing and trasmitting data by applying a one-time pad |
| US6772345B1 (en) * | 2002-02-08 | 2004-08-03 | Networks Associates Technology, Inc. | Protocol-level malware scanner |
| US7454603B2 (en) | 2002-02-11 | 2008-11-18 | Intel Corporation | Method and system for linking firmware modules in a pre-memory execution environment |
| US7225188B1 (en) | 2002-02-13 | 2007-05-29 | Cisco Technology, Inc. | System and method for performing regular expression matching with high parallelism |
| TWI230532B (en) * | 2002-03-05 | 2005-04-01 | Admtek Inc | Pipelined engine for encryption/authentication in IPSEC |
| US20030172017A1 (en) | 2002-03-11 | 2003-09-11 | Vincent Feingold | High performance multi-dimensional risk engines for enterprise wide market risk management |
| US20030198345A1 (en) | 2002-04-15 | 2003-10-23 | Van Buer Darrel J. | Method and apparatus for high speed implementation of data encryption and decryption utilizing, e.g. Rijndael or its subset AES, or other encryption/decryption algorithms having similar key expansion data flow |
| US20040111632A1 (en) | 2002-05-06 | 2004-06-10 | Avner Halperin | System and method of virus containment in computer networks |
| US20030217306A1 (en) | 2002-05-17 | 2003-11-20 | Harthcock Jerry D. | Self-programmable microcomputer and method of remotely programming same |
| US7249118B2 (en) | 2002-05-17 | 2007-07-24 | Aleri, Inc. | Database system and methods |
| US7277887B1 (en) | 2002-05-20 | 2007-10-02 | News Technologies, Llc | High-speed term and phrase matching via successive complexity reduction |
| US8027893B1 (en) | 2002-05-20 | 2011-09-27 | News Technologies, Llc | News induced automated electronic securities transactions |
| US7093023B2 (en) * | 2002-05-21 | 2006-08-15 | Washington University | Methods, systems, and devices using reprogrammable hardware for high-speed processing of streaming data to find a redefinable pattern and respond thereto |
| EP1514190A4 (en) | 2002-05-22 | 2006-09-20 | Procera Networks | Switch for local area network |
| US7167980B2 (en) * | 2002-05-30 | 2007-01-23 | Intel Corporation | Data comparison process |
| US7610360B1 (en) | 2002-05-30 | 2009-10-27 | Nortel Networks Limited | Transient tolerant verification of communications paths between devices |
| US7631107B2 (en) | 2002-06-11 | 2009-12-08 | Pandya Ashish A | Runtime adaptable protocol processor |
| US7627693B2 (en) | 2002-06-11 | 2009-12-01 | Pandya Ashish A | IP storage processor and engine therefor using RDMA |
| US7415723B2 (en) | 2002-06-11 | 2008-08-19 | Pandya Ashish A | Distributed network security system and a hardware processor therefor |
| US8155314B2 (en) * | 2002-06-24 | 2012-04-10 | Microsoft Corporation | Systems and methods for securing video card output |
| US7158892B2 (en) * | 2002-06-28 | 2007-01-02 | International Business Machines Corporation | Genomic messaging system |
| GB2390274B (en) * | 2002-06-28 | 2005-11-09 | Matsushita Electric Industrial Co Ltd | Information reproducing apparatus |
| JP4452179B2 (en) | 2002-07-17 | 2010-04-21 | ユービーエス エージー | Computer-implemented automated trading system |
| US7478431B1 (en) | 2002-08-02 | 2009-01-13 | Symantec Corporation | Heuristic detection of computer viruses |
| AU2003263987A1 (en) | 2002-08-05 | 2004-02-23 | John Campbell | System of finite state machines |
| US7274792B2 (en) | 2002-08-09 | 2007-09-25 | Broadcom Corporation | Methods and apparatus for initialization vector processing |
| US7711844B2 (en) | 2002-08-15 | 2010-05-04 | Washington University Of St. Louis | TCP-splitter: reliable packet monitoring methods and apparatus for high speed networks |
| US20040034587A1 (en) | 2002-08-19 | 2004-02-19 | Amberson Matthew Gilbert | System and method for calculating intra-period volatility |
| US8201252B2 (en) | 2002-09-03 | 2012-06-12 | Alcatel Lucent | Methods and devices for providing distributed, adaptive IP filtering against distributed denial of service attacks |
| US7389330B2 (en) | 2002-09-11 | 2008-06-17 | Hughes Network Systems, Llc | System and method for pre-fetching content in a proxy architecture |
| EP1546926A4 (en) * | 2002-09-18 | 2008-07-02 | Netezza Corp | Asymmetric streaming record data processor method and apparatus |
| US7685121B2 (en) | 2002-10-10 | 2010-03-23 | Emulex Corporation | Structure and method for maintaining ordered linked lists |
| US7761459B1 (en) | 2002-10-15 | 2010-07-20 | Ximpleware, Inc. | Processing structured data |
| US7987341B2 (en) | 2002-10-31 | 2011-07-26 | Lockheed Martin Corporation | Computing machine using software objects for transferring data that includes no destination information |
| WO2004042574A2 (en) | 2002-10-31 | 2004-05-21 | Lockheed Martin Corporation | Computing machine having improved computing architecture and related system and method |
| WO2004042562A2 (en) | 2002-10-31 | 2004-05-21 | Lockheed Martin Corporation | Pipeline accelerator and related system and method |
| JP4154213B2 (en) | 2002-11-01 | 2008-09-24 | 富士通株式会社 | Packet processing device |
| US7603303B1 (en) | 2002-11-26 | 2009-10-13 | Trading Technologies International, Inc. | System and method for risk management |
| JP2004186717A (en) | 2002-11-29 | 2004-07-02 | Toshiba Corp | Communication control method, server device, and client device |
| JP4583931B2 (en) * | 2002-12-18 | 2010-11-17 | エヌエックスピー ビー ヴィ | Dedicated encrypted virtual channel on multi-channel serial communication interface |
| US7260794B2 (en) * | 2002-12-20 | 2007-08-21 | Quickturn Design Systems, Inc. | Logic multiprocessor for FPGA implementation |
| US6901461B2 (en) | 2002-12-31 | 2005-05-31 | Intel Corporation | Hardware assisted ATA command queuing |
| US20040133854A1 (en) * | 2003-01-08 | 2004-07-08 | Black Karl S. | Persistent document object model |
| US7272231B2 (en) | 2003-01-27 | 2007-09-18 | International Business Machines Corporation | Encrypting data for access by multiple users |
| US7752117B2 (en) | 2003-01-31 | 2010-07-06 | Trading Technologies International, Inc. | System and method for money management in electronic trading environment |
| WO2004072797A2 (en) | 2003-02-07 | 2004-08-26 | Safenet, Inc. | System and method for determining the start of a match of a regular expression |
| TW591532B (en) | 2003-03-07 | 2004-06-11 | Mediatek Inc | Firmware structuring method and related apparatus for unifying handling of execution responses of subroutines |
| US7593880B2 (en) | 2003-03-19 | 2009-09-22 | General Electric Company | Methods and systems for analytical-based multifactor multiobjective portfolio risk optimization |
| US7640201B2 (en) | 2003-03-19 | 2009-12-29 | General Electric Company | Methods and systems for analytical-based multifactor Multiobjective portfolio risk optimization |
| US20040186804A1 (en) | 2003-03-19 | 2004-09-23 | Anindya Chakraborty | Methods and systems for analytical-based multifactor multiobjective portfolio risk optimization |
| US7660352B2 (en) | 2003-04-04 | 2010-02-09 | Sony Corporation | Apparatus and method of parallel processing an MPEG-4 data stream |
| US7539876B2 (en) | 2003-04-18 | 2009-05-26 | Via Technologies, Inc. | Apparatus and method for generating a cryptographic key schedule in a microprocessor |
| US8060755B2 (en) | 2003-04-18 | 2011-11-15 | Via Technologies, Inc | Apparatus and method for providing user-generated key schedule in a microprocessor cryptographic engine |
| US7321910B2 (en) | 2003-04-18 | 2008-01-22 | Ip-First, Llc | Microprocessor apparatus and method for performing block cipher cryptographic functions |
| AU2004273406A1 (en) | 2003-05-23 | 2005-03-24 | Data Search Systems, Inc. | Intelligent data storage and processing using FPGA devices |
| US7058735B2 (en) | 2003-06-02 | 2006-06-06 | Emulex Design & Manufacturing Corporation | Method and apparatus for local and distributed data memory access (“DMA”) control |
| US7420931B2 (en) | 2003-06-05 | 2008-09-02 | Nvidia Corporation | Using TCP/IP offload to accelerate packet filtering |
| US7685254B2 (en) | 2003-06-10 | 2010-03-23 | Pandya Ashish A | Runtime adaptable search processor |
| US20050108518A1 (en) | 2003-06-10 | 2005-05-19 | Pandya Ashish A. | Runtime adaptable security processor |
| US20040267657A1 (en) | 2003-06-28 | 2004-12-30 | Global Skyline Llc | Method for valuing forwards, futures and options on real estate |
| US7788726B2 (en) | 2003-07-02 | 2010-08-31 | Check Point Software Technologies, Inc. | System and methodology providing information lockbox |
| US7257842B2 (en) | 2003-07-21 | 2007-08-14 | Mcafee, Inc. | Pre-approval of computer files during a malware detection |
| US20050033672A1 (en) | 2003-07-22 | 2005-02-10 | Credit-Agricole Indosuez | System, method, and computer program product for managing financial risk when issuing tender options |
| US7756782B2 (en) | 2003-07-28 | 2010-07-13 | Trading Technologies International, Inc. | System and method for improved electronic trading |
| US7444515B2 (en) | 2003-08-14 | 2008-10-28 | Washington University | Method and apparatus for detecting predefined signatures in packet payload using Bloom filters |
| US7222114B1 (en) | 2003-08-20 | 2007-05-22 | Xilinx, Inc. | Method and apparatus for rule-based operations |
| US7200837B2 (en) | 2003-08-21 | 2007-04-03 | Qst Holdings, Llc | System, method and software for static and dynamic programming and configuration of an adaptive computing architecture |
| US7287037B2 (en) | 2003-08-28 | 2007-10-23 | International Business Machines Corporation | Method and apparatus for generating service oriented state data mapping between extensible meta-data model and state data including logical abstraction |
| US20050080649A1 (en) | 2003-10-08 | 2005-04-14 | Alvarez Andres C. | Systems and methods for automating the capture, organization, and transmission of data |
| US7408932B2 (en) | 2003-10-20 | 2008-08-05 | Intel Corporation | Method and apparatus for two-stage packet classification using most specific filter matching and transport level sharing |
| US10002385B2 (en) | 2003-10-28 | 2018-06-19 | Bgc Partners, Inc. | Managing the execution of trades between market makers |
| JP2005140823A (en) | 2003-11-04 | 2005-06-02 | Sony Corp | Information processing apparatus, control method, program, and recording medium |
| US20050097027A1 (en) | 2003-11-05 | 2005-05-05 | Sylvan Kavanaugh | Computer-implemented method and electronic system for trading |
| US7454418B1 (en) | 2003-11-07 | 2008-11-18 | Qiang Wang | Fast signature scan |
| WO2005050396A2 (en) | 2003-11-18 | 2005-06-02 | Citigroup Global Markets, Inc. | Method and system for artificial neural networks to predict price movements in the financial markets |
| KR20050053379A (en) | 2003-12-01 | 2005-06-08 | 삼성전자주식회사 | Apparatus and method for performing AES Rijndael Algorithm |
| US20050216384A1 (en) | 2003-12-15 | 2005-09-29 | Daniel Partlow | System, method, and computer program for creating and valuing financial instruments linked to real estate indices |
| US7617291B2 (en) | 2003-12-19 | 2009-11-10 | Broadcom Corporation | System and method for supporting TCP out-of-order receive data using generic buffer |
| US7546327B2 (en) | 2003-12-22 | 2009-06-09 | Wells Fargo Bank, N.A. | Platform independent randomness accumulator for network applications |
| US7496108B2 (en) | 2004-01-07 | 2009-02-24 | International Business Machines Corporation | Method for dynamic management of TCP reassembly buffers |
| US7386564B2 (en) | 2004-01-15 | 2008-06-10 | International Business Machines Corporation | Generating statistics on text pattern matching predicates for access planning |
| US7019674B2 (en) | 2004-02-05 | 2006-03-28 | Nec Laboratories America, Inc. | Content-based information retrieval architecture |
| US7697681B2 (en) | 2004-02-06 | 2010-04-13 | Nortel Networks Limited | Parallelizable integrity-aware encryption technique |
| US7602785B2 (en) | 2004-02-09 | 2009-10-13 | Washington University | Method and system for performing longest prefix matching for network address lookup using bloom filters |
| US7433355B2 (en) | 2004-02-09 | 2008-10-07 | Alcatel Lucent | Filter based longest prefix match algorithm |
| US7469228B2 (en) | 2004-02-20 | 2008-12-23 | General Electric Company | Systems and methods for efficient frontier supplementation in multi-objective portfolio analysis |
| US8126795B2 (en) | 2004-02-20 | 2012-02-28 | General Electric Company | Systems and methods for initial sampling in multi-objective portfolio analysis |
| US8311974B2 (en) | 2004-02-20 | 2012-11-13 | Oracle International Corporation | Modularized extraction, transformation, and loading for a database |
| US7542932B2 (en) | 2004-02-20 | 2009-06-02 | General Electric Company | Systems and methods for multi-objective portfolio optimization |
| US8219477B2 (en) | 2004-02-20 | 2012-07-10 | General Electric Company | Systems and methods for multi-objective portfolio analysis using pareto sorting evolutionary algorithms |
| US20050187845A1 (en) | 2004-02-20 | 2005-08-25 | Eklund Neil Holger W. | Systems and methods for multi-objective portfolio analysis using dominance filtering |
| US7630928B2 (en) | 2004-02-20 | 2009-12-08 | General Electric Company | Systems and methods for multi-objective portfolio analysis and decision-making using visualization techniques |
| DE602005023416D1 (en) | 2004-03-02 | 2010-10-21 | Divinetworks Ltd | METHOD, SERVER AND SYSTEM FOR CACHING DATA STREAMS |
| US7835961B2 (en) | 2004-03-05 | 2010-11-16 | Cantor Index Llc | System and method for wagering in a financial market environment |
| US20050197938A1 (en) | 2004-03-05 | 2005-09-08 | Cantor Index Llc | System and method for determining odds for wagering in a financial market environment |
| US7711628B2 (en) | 2004-03-05 | 2010-05-04 | Cantor Index Llc | System and method for offering intraday wagering in a financial market environment |
| US7411957B2 (en) | 2004-03-26 | 2008-08-12 | Cisco Technology, Inc. | Hardware filtering support for denial-of-service attacks |
| US7966658B2 (en) | 2004-04-08 | 2011-06-21 | The Regents Of The University Of California | Detecting public network attacks using signatures and fast content analysis |
| US7756033B2 (en) | 2004-05-03 | 2010-07-13 | Verizon Business Global Llc | Systems and methods for managing multicast data transmissions |
| US7305383B1 (en) | 2004-06-10 | 2007-12-04 | Cisco Technology, Inc. | Processing system using bitmap array to compress deterministic finite automation state table allowing direct indexing |
| US7555449B2 (en) | 2004-06-18 | 2009-06-30 | Sap Ag | System and method for updating stop loss orders |
| US7693856B2 (en) | 2004-06-25 | 2010-04-06 | Apple Inc. | Methods and systems for managing data |
| US7623660B1 (en) | 2004-07-20 | 2009-11-24 | Xilinx, Inc. | Method and system for pipelined decryption |
| US8200568B2 (en) | 2004-07-21 | 2012-06-12 | Bgc Partners, Inc. | System and method for managing trading orders received from market makers |
| US7529707B2 (en) | 2004-08-04 | 2009-05-05 | Bgc Partners, Inc. | System and method for managing trading using alert messages for outlying trading orders |
| US7577605B2 (en) | 2004-08-04 | 2009-08-18 | Bgc Partners, Inc. | System and method for managing trading using alert messages for outlying trading orders |
| US7660865B2 (en) | 2004-08-12 | 2010-02-09 | Microsoft Corporation | Spam filtering with probabilistic secure hashes |
| US20060053295A1 (en) | 2004-08-24 | 2006-03-09 | Bharath Madhusudan | Methods and systems for content detection in a reconfigurable hardware |
| US7593877B2 (en) | 2004-09-10 | 2009-09-22 | Chicago Mercantile Exchange, Inc. | System and method for hybrid spreading for flexible spread participation |
| US7426487B2 (en) | 2004-09-10 | 2008-09-16 | Chicago Mercantile Exchange, Inc. | System and method for efficiently using collateral for risk offset |
| US7509275B2 (en) | 2004-09-10 | 2009-03-24 | Chicago Mercantile Exchange Inc. | System and method for asymmetric offsets in a risk management system |
| US8849711B2 (en) | 2004-09-10 | 2014-09-30 | Chicago Mercantile Exchange Inc. | System and method for displaying a combined trading and risk management GUI display |
| US7428508B2 (en) | 2004-09-10 | 2008-09-23 | Chicago Mercantile Exchange | System and method for hybrid spreading for risk management |
| EP1794979B1 (en) | 2004-09-10 | 2017-04-12 | Cavium, Inc. | Selective replication of data structure |
| US7430539B2 (en) | 2004-09-10 | 2008-09-30 | Chicago Mercantile Exchange | System and method of margining fixed payoff products |
| US20060143099A1 (en) | 2004-09-23 | 2006-06-29 | Daniel Partlow | System, method, and computer program for creating and valuing financial insturments linked to average credit spreads |
| US7606267B2 (en) | 2004-12-10 | 2009-10-20 | Cisco Technology, Inc. | Reducing the sizes of application layer messages in a network element |
| JP2008532177A (en) | 2005-03-03 | 2008-08-14 | ワシントン ユニヴァーシティー | Method and apparatus for performing biological sequence similarity searches |
| US7101188B1 (en) | 2005-03-30 | 2006-09-05 | Intel Corporation | Electrical edge connector adaptor |
| US7487327B1 (en) | 2005-06-01 | 2009-02-03 | Sun Microsystems, Inc. | Processor and method for device-specific memory address translation |
| US7715436B1 (en) | 2005-11-18 | 2010-05-11 | Chelsio Communications, Inc. | Method for UDP transmit protocol offload processing with traffic management |
| US7760733B1 (en) | 2005-10-13 | 2010-07-20 | Chelsio Communications, Inc. | Filtering ingress packets in network interface circuitry |
| US7809631B2 (en) | 2005-11-18 | 2010-10-05 | Chicago Mercantile Exchange Inc. | Cross-currency implied spreads |
| US7702629B2 (en) | 2005-12-02 | 2010-04-20 | Exegy Incorporated | Method and device for high performance regular expression pattern matching |
| US7954114B2 (en) | 2006-01-26 | 2011-05-31 | Exegy Incorporated | Firmware socket module for FPGA-based pipeline processing |
| US8379841B2 (en) | 2006-03-23 | 2013-02-19 | Exegy Incorporated | Method and system for high throughput blockwise independent encryption/decryption |
| US7921046B2 (en) | 2006-06-19 | 2011-04-05 | Exegy Incorporated | High speed processing of financial information using FPGA devices |
| US7840482B2 (en) | 2006-06-19 | 2010-11-23 | Exegy Incorporated | Method and system for high speed options pricing |
| US20080086274A1 (en) | 2006-08-10 | 2008-04-10 | Chamberlain Roger D | Method and Apparatus for Protein Sequence Alignment Using FPGA Devices |
| US20080189251A1 (en) * | 2006-08-25 | 2008-08-07 | Jeremy Branscome | Processing elements of a hardware accelerated reconfigurable processor for accelerating database operations and queries |
| US7660793B2 (en) | 2006-11-13 | 2010-02-09 | Exegy Incorporated | Method and system for high performance integration, processing and searching of structured and unstructured data using coprocessors |
| US8326819B2 (en) | 2006-11-13 | 2012-12-04 | Exegy Incorporated | Method and system for high performance data metatagging and data indexing using coprocessors |
| WO2008073824A1 (en) | 2006-12-08 | 2008-06-19 | Pandya Ashish A | Dynamic programmable intelligent search memory |
| US7827190B2 (en) | 2006-12-08 | 2010-11-02 | Pandya Ashish A | Complex symbol evaluation for programmable intelligent search memory |
| US7890692B2 (en) | 2007-08-17 | 2011-02-15 | Pandya Ashish A | FSA context switch architecture for programmable intelligent search memory |
| US7996348B2 (en) | 2006-12-08 | 2011-08-09 | Pandya Ashish A | 100GBPS security and search architecture using programmable intelligent search memory (PRISM) that comprises one or more bit interval counters |
| US7831720B1 (en) | 2007-05-17 | 2010-11-09 | Chelsio Communications, Inc. | Full offload of stateful connections, with partial connection offload |
| US8030888B2 (en) | 2007-08-13 | 2011-10-04 | Pandya Ravi A | Wireless charging system for vehicles |
| WO2009029842A1 (en) | 2007-08-31 | 2009-03-05 | Exegy Incorporated | Method and apparatus for hardware-accelerated encryption/decryption |
| US10229453B2 (en) | 2008-01-11 | 2019-03-12 | Ip Reservoir, Llc | Method and system for low latency basket calculation |
| US8374986B2 (en) | 2008-05-15 | 2013-02-12 | Exegy Incorporated | Method and system for accelerated stream processing |
| JP5871619B2 (en) | 2008-12-15 | 2016-03-01 | アイ・ピー・リザブワー・エル・エル・シー | Method and apparatus for high-speed processing of financial market depth data |
| US20140180904A1 (en) | 2012-03-27 | 2014-06-26 | Ip Reservoir, Llc | Offload Processing of Data Packets Containing Financial Market Data |
| US9990393B2 (en) | 2012-03-27 | 2018-06-05 | Ip Reservoir, Llc | Intelligent feed switch |
| US10650452B2 (en) | 2012-03-27 | 2020-05-12 | Ip Reservoir, Llc | Offload processing of data packets |
| US10121196B2 (en) | 2012-03-27 | 2018-11-06 | Ip Reservoir, Llc | Offload processing of data packets containing financial market data |
| US11436672B2 (en) | 2012-03-27 | 2022-09-06 | Exegy Incorporated | Intelligent switch for processing financial market data |
-
2004
- 2004-05-21 AU AU2004273406A patent/AU2004273406A1/en not_active Abandoned
- 2004-05-21 WO PCT/US2004/016398 patent/WO2005048134A2/en not_active Ceased
- 2004-05-21 WO PCT/US2004/016021 patent/WO2005026925A2/en not_active Ceased
- 2004-05-21 JP JP2006533393A patent/JP2007524923A/en not_active Withdrawn
- 2004-05-21 JP JP2006514919A patent/JP2006526227A/en active Pending
- 2004-05-21 AU AU2004290281A patent/AU2004290281A1/en not_active Abandoned
- 2004-05-21 CA CA2523548A patent/CA2523548C/en not_active Expired - Lifetime
- 2004-05-21 CA CA002522862A patent/CA2522862A1/en not_active Abandoned
- 2004-05-21 EP EP12165819.9A patent/EP2511787B1/en not_active Expired - Lifetime
- 2004-05-21 US US10/550,326 patent/US20070277036A1/en not_active Abandoned
- 2004-05-21 EP EP04753259.3A patent/EP1627331B1/en not_active Expired - Lifetime
- 2004-05-21 CA CA2759064A patent/CA2759064C/en not_active Expired - Lifetime
- 2004-05-21 CA CA2836758A patent/CA2836758C/en not_active Expired - Lifetime
- 2004-05-21 EP EP12165559.1A patent/EP2528000B1/en not_active Expired - Lifetime
- 2004-05-21 EP EP04752943.3A patent/EP1627284B1/en not_active Expired - Lifetime
-
2011
- 2011-06-21 US US13/165,155 patent/US8620881B2/en not_active Expired - Lifetime
- 2011-07-15 JP JP2011156373A patent/JP5439651B2/en not_active Expired - Lifetime
-
2012
- 2012-01-06 US US13/344,986 patent/US8768888B2/en not_active Expired - Lifetime
- 2012-01-06 US US13/345,011 patent/US8751452B2/en not_active Expired - Lifetime
-
2014
- 2014-06-26 US US14/315,560 patent/US9176775B2/en not_active Expired - Lifetime
-
2015
- 2015-11-02 US US14/929,791 patent/US9898312B2/en not_active Expired - Lifetime
-
2018
- 2018-01-29 US US15/882,679 patent/US10346181B2/en not_active Expired - Lifetime
-
2019
- 2019-07-03 US US16/503,244 patent/US10719334B2/en not_active Expired - Fee Related
-
2020
- 2020-07-20 US US16/933,001 patent/US10929152B2/en not_active Expired - Fee Related
-
2021
- 2021-02-19 US US17/180,432 patent/US11275594B2/en not_active Expired - Lifetime
Patent Citations (2)
| Publication number | Priority date | Publication date | Assignee | Title |
|---|---|---|---|---|
| US3601808A (en) * | 1968-07-18 | 1971-08-24 | Bell Telephone Labor Inc | Advanced keyword associative access memory system |
| US4464718A (en) * | 1982-07-30 | 1984-08-07 | International Business Machines Corporation | Associative file processing method and apparatus |
Cited By (15)
| Publication number | Priority date | Publication date | Assignee | Title |
|---|---|---|---|---|
| US10929152B2 (en) | 2003-05-23 | 2021-02-23 | Ip Reservoir, Llc | Intelligent data storage and processing using FPGA devices |
| US10572824B2 (en) | 2003-05-23 | 2020-02-25 | Ip Reservoir, Llc | System and method for low latency multi-functional pipeline with correlation logic and selectively activated/deactivated pipelined data processing engines |
| US11275594B2 (en) | 2003-05-23 | 2022-03-15 | Ip Reservoir, Llc | Intelligent data storage and processing using FPGA devices |
| US10719334B2 (en) | 2003-05-23 | 2020-07-21 | Ip Reservoir, Llc | Intelligent data storage and processing using FPGA devices |
| US10580518B2 (en) | 2005-03-03 | 2020-03-03 | Washington University | Method and apparatus for performing similarity searching |
| US10957423B2 (en) | 2005-03-03 | 2021-03-23 | Washington University | Method and apparatus for performing similarity searching |
| US10872078B2 (en) | 2012-03-27 | 2020-12-22 | Ip Reservoir, Llc | Intelligent feed switch |
| US10846624B2 (en) | 2016-12-22 | 2020-11-24 | Ip Reservoir, Llc | Method and apparatus for hardware-accelerated machine learning |
| US11416778B2 (en) | 2016-12-22 | 2022-08-16 | Ip Reservoir, Llc | Method and apparatus for hardware-accelerated machine learning |
| CN110837395A (en) * | 2018-08-17 | 2020-02-25 | 北京图森未来科技有限公司 | Normalization processing method, device and system for multi-GPU parallel training |
| CN109683822A (en) * | 2018-12-19 | 2019-04-26 | 深圳忆联信息系统有限公司 | A kind of method and its system of SSD SOC chip content address search controller |
| US20210089501A1 (en) * | 2019-09-24 | 2021-03-25 | Ati Technologies Ulc | Compression System with Longest Match Processing for Generating Compressed Data |
| KR20220073776A (en) * | 2019-09-24 | 2022-06-03 | 어드밴스드 마이크로 디바이시즈, 인코포레이티드 | Compression system using longest-match processing to produce compressed data |
| US11593311B2 (en) * | 2019-09-24 | 2023-02-28 | Ati Technologies Ulc | Compression system with longest match processing for generating compressed data |
| KR102822275B1 (en) | 2019-09-24 | 2025-06-19 | 어드밴스드 마이크로 디바이시즈, 인코포레이티드 | A compression system that uses longest match processing to produce compressed data. |
Also Published As
Similar Documents
| Publication | Publication Date | Title |
|---|---|---|
| US11275594B2 (en) | Intelligent data storage and processing using FPGA devices | |
| US8095508B2 (en) | Intelligent data storage and processing using FPGA devices | |
| US11416778B2 (en) | Method and apparatus for hardware-accelerated machine learning | |
| US10572824B2 (en) | System and method for low latency multi-functional pipeline with correlation logic and selectively activated/deactivated pipelined data processing engines |
Legal Events
| Date | Code | Title | Description |
|---|---|---|---|
| AS | Assignment |
Owner name: IP RESERVOIR, LLC, MISSOURI Free format text: ASSIGNMENT OF ASSIGNORS INTEREST;ASSIGNOR:WASHINGTON UNIVERSITY;REEL/FRAME:044758/0532 Effective date: 20130322 Owner name: WASHINGTON UNIVERSITY, MISSOURI Free format text: ASSIGNMENT OF ASSIGNORS INTEREST;ASSIGNORS:CHAMBERLAIN, ROGER D.;FRANKLIN, MARK ALLEN;INDECK, RONALD S.;AND OTHERS;SIGNING DATES FROM 20060719 TO 20060811;REEL/FRAME:044758/0425 |
|
| FEPP | Fee payment procedure |
Free format text: ENTITY STATUS SET TO UNDISCOUNTED (ORIGINAL EVENT CODE: BIG.); ENTITY STATUS OF PATENT OWNER: SMALL ENTITY |
|
| FEPP | Fee payment procedure |
Free format text: ENTITY STATUS SET TO SMALL (ORIGINAL EVENT CODE: SMAL); ENTITY STATUS OF PATENT OWNER: SMALL ENTITY |
|
| STPP | Information on status: patent application and granting procedure in general |
Free format text: AWAITING TC RESP., ISSUE FEE NOT PAID |
|
| STPP | Information on status: patent application and granting procedure in general |
Free format text: NOTICE OF ALLOWANCE MAILED -- APPLICATION RECEIVED IN OFFICE OF PUBLICATIONS |
|
| STPP | Information on status: patent application and granting procedure in general |
Free format text: PUBLICATIONS -- ISSUE FEE PAYMENT VERIFIED |
|
| STCF | Information on status: patent grant |
Free format text: PATENTED CASE |
|
| MAFP | Maintenance fee payment |
Free format text: PAYMENT OF MAINTENANCE FEE, 4TH YR, SMALL ENTITY (ORIGINAL EVENT CODE: M2551); ENTITY STATUS OF PATENT OWNER: SMALL ENTITY Year of fee payment: 4 |