RU2423596C1 - Звукопоглощающий кожух для перфоратора - Google Patents
Звукопоглощающий кожух для перфоратора Download PDFInfo
- Publication number
- RU2423596C1 RU2423596C1 RU2009140741/03A RU2009140741A RU2423596C1 RU 2423596 C1 RU2423596 C1 RU 2423596C1 RU 2009140741/03 A RU2009140741/03 A RU 2009140741/03A RU 2009140741 A RU2009140741 A RU 2009140741A RU 2423596 C1 RU2423596 C1 RU 2423596C1
- Authority
- RU
- Russia
- Prior art keywords
- sound
- absorbing casing
- absorbing
- casing according
- closing part
- Prior art date
Links
- 239000008246 gaseous mixture Substances 0.000 claims abstract description 4
- 238000013016 damping Methods 0.000 claims description 9
- 239000000463 material Substances 0.000 claims description 8
- 238000007789 sealing Methods 0.000 claims description 3
- 239000002184 metal Substances 0.000 claims description 2
- 150000001875 compounds Chemical class 0.000 claims 1
- 238000005553 drilling Methods 0.000 abstract description 11
- 238000010276 construction Methods 0.000 abstract description 3
- 239000000126 substance Substances 0.000 abstract description 2
- 239000011257 shell material Substances 0.000 description 22
- 239000011435 rock Substances 0.000 description 3
- 238000010521 absorption reaction Methods 0.000 description 2
- 238000005520 cutting process Methods 0.000 description 2
- 238000012423 maintenance Methods 0.000 description 2
- 238000004519 manufacturing process Methods 0.000 description 2
- 239000003566 sealing material Substances 0.000 description 2
- 239000002344 surface layer Substances 0.000 description 2
- 239000004698 Polyethylene Substances 0.000 description 1
- 230000002745 absorbent Effects 0.000 description 1
- 239000002250 absorbent Substances 0.000 description 1
- 230000005540 biological transmission Effects 0.000 description 1
- 238000009750 centrifugal casting Methods 0.000 description 1
- 238000009826 distribution Methods 0.000 description 1
- 239000000428 dust Substances 0.000 description 1
- 239000012530 fluid Substances 0.000 description 1
- 238000009413 insulation Methods 0.000 description 1
- 238000000034 method Methods 0.000 description 1
- 239000004033 plastic Substances 0.000 description 1
- 229920003023 plastic Polymers 0.000 description 1
- -1 polyethylene Polymers 0.000 description 1
- 229920000573 polyethylene Polymers 0.000 description 1
- 230000001902 propagating effect Effects 0.000 description 1
- 239000007787 solid Substances 0.000 description 1
Images
Classifications
-
- E—FIXED CONSTRUCTIONS
- E21—EARTH OR ROCK DRILLING; MINING
- E21B—EARTH OR ROCK DRILLING; OBTAINING OIL, GAS, WATER, SOLUBLE OR MELTABLE MATERIALS OR A SLURRY OF MINERALS FROM WELLS
- E21B7/00—Special methods or apparatus for drilling
- E21B7/02—Drilling rigs characterised by means for land transport with their own drive, e.g. skid mounting or wheel mounting
-
- B—PERFORMING OPERATIONS; TRANSPORTING
- B25—HAND TOOLS; PORTABLE POWER-DRIVEN TOOLS; MANIPULATORS
- B25D—PERCUSSIVE TOOLS
- B25D17/00—Details of, or accessories for, portable power-driven percussive tools
- B25D17/11—Arrangements of noise-damping means
-
- E—FIXED CONSTRUCTIONS
- E21—EARTH OR ROCK DRILLING; MINING
- E21B—EARTH OR ROCK DRILLING; OBTAINING OIL, GAS, WATER, SOLUBLE OR MELTABLE MATERIALS OR A SLURRY OF MINERALS FROM WELLS
- E21B12/00—Accessories for drilling tools
-
- E—FIXED CONSTRUCTIONS
- E21—EARTH OR ROCK DRILLING; MINING
- E21B—EARTH OR ROCK DRILLING; OBTAINING OIL, GAS, WATER, SOLUBLE OR MELTABLE MATERIALS OR A SLURRY OF MINERALS FROM WELLS
- E21B15/00—Supports for the drilling machine, e.g. derricks or masts
- E21B15/04—Supports for the drilling machine, e.g. derricks or masts specially adapted for directional drilling, e.g. slant hole rigs
-
- E—FIXED CONSTRUCTIONS
- E21—EARTH OR ROCK DRILLING; MINING
- E21B—EARTH OR ROCK DRILLING; OBTAINING OIL, GAS, WATER, SOLUBLE OR MELTABLE MATERIALS OR A SLURRY OF MINERALS FROM WELLS
- E21B7/00—Special methods or apparatus for drilling
- E21B7/02—Drilling rigs characterised by means for land transport with their own drive, e.g. skid mounting or wheel mounting
- E21B7/025—Rock drills, i.e. jumbo drills
-
- B—PERFORMING OPERATIONS; TRANSPORTING
- B25—HAND TOOLS; PORTABLE POWER-DRIVEN TOOLS; MANIPULATORS
- B25D—PERCUSSIVE TOOLS
- B25D2222/00—Materials of the tool or the workpiece
- B25D2222/54—Plastics
-
- Y—GENERAL TAGGING OF NEW TECHNOLOGICAL DEVELOPMENTS; GENERAL TAGGING OF CROSS-SECTIONAL TECHNOLOGIES SPANNING OVER SEVERAL SECTIONS OF THE IPC; TECHNICAL SUBJECTS COVERED BY FORMER USPC CROSS-REFERENCE ART COLLECTIONS [XRACs] AND DIGESTS
- Y10—TECHNICAL SUBJECTS COVERED BY FORMER USPC
- Y10S—TECHNICAL SUBJECTS COVERED BY FORMER USPC CROSS-REFERENCE ART COLLECTIONS [XRACs] AND DIGESTS
- Y10S173/00—Tool driving or impacting
- Y10S173/02—Sound muffling
Landscapes
- Engineering & Computer Science (AREA)
- Life Sciences & Earth Sciences (AREA)
- Geology (AREA)
- Mining & Mineral Resources (AREA)
- Physics & Mathematics (AREA)
- Environmental & Geological Engineering (AREA)
- Fluid Mechanics (AREA)
- General Life Sciences & Earth Sciences (AREA)
- Geochemistry & Mineralogy (AREA)
- Mechanical Engineering (AREA)
- Earth Drilling (AREA)
Abstract
Изобретение относится к области бурения, а именно к звукопоглощающему кожуху для перфоратора. Представлен кожух для перфоратора, перемещающегося по направляющей в продольном направлении, прикрепляемый к направляющей перфоратора на ее двух сторонах и составляющий вместе с направляющей, по существу, замкнутое пространство, в котором расположены перфоратор и, по меньшей мере, основная часть буровой штанги, находящейся вне скважины. По меньшей мере, часть звукопоглощающего кожуха образована из двух оболочек, то есть внутренней оболочки, расположенной во внешней оболочке и прикрепленной к ней для образования, по существу, устойчивой единой структуры и пространства, содержащего воздух или другой газ или газообразную смесь. Обеспечивает жесткость и легкость конструкции кожуха, а также улучшение звукопоглощающей способности. 20 з.п. ф-лы, 4 ил.
Description
Предпосылки создания изобретения
Изобретение относится к звукопоглощающему кожуху для бурильного перфоратора, который перемещается по направляющей в продольном направлении, причем звукопоглощающий кожух является прикрепляемым к направляющей перфоратора с ее обеих сторон так, что звукопоглощающий кожух вместе с направляющей образует, по существу, замкнутое пространство, в котором расположены перфоратор и, по меньшей мере, основная часть буровой штанги, находящейся вне скважины.
При бурении твердых пород используют буровые установки, которые содержат одну или более стрел, смонтированных на раме, и перфоратор, смонтированный с возможностью перемещения по направляющей, установленной на стреле (стрелах). Направляющую также нередко устанавливают в конце стрелы с возможностью перемещения в ее продольном направлении посредством отдельных салазок для обеспечения возможности расположения направляющей в заданном положении и в заданном направлении для бурения. С учетом этих различных перемещений стрелы и направляющей буровая установка оснащена различными цилиндрами для выполнения перемещения или известными гидроцилиндрами, приводимыми в действие жидкостью под давлением.
Типичная проблема в бурении по твердым породам заключается в шуме, производимом перфоратором в результате воздействия на режущую головку инструмента и воздействие инструмента на твердую породу, так же как в результате других различных движений, таких как вращение и т.д. Шум, который распространяется вокруг на значительное расстояние, продолжает создавать все больше проблем, в частности, вблизи жилых районов. Для предотвращения введения ограничений на рабочие часы или стройплощадки делались попытки решить проблему, особенно при бурении поверхности с использованием различных звукопоглощающих кожухов вокруг направляющей и перфоратора. Подобные решения известны, например, из публикаций WO 2006/038850, WO 00/39412, патента Швеции 523874, патента США 3667571 и патента Японии 5-295978. Проблема со всеми этими решениями состоит в том, что они являются трудноосуществимыми или они не снижают шум по всей буровой площадке. Кроме того, механические устройства, используемые для открытия звукопоглощающего кожуха при замене или наращивании буровой штанги, являются сложными и трудоемкими. Кроме того, звукопоглощающие кожухи являются довольно громоздкими и тяжелыми, что делает трудным их изготовление и использование.
Краткое описание изобретения
Цель настоящего изобретения заключается в создании звукопоглощающего кожуха более легкой конструкции и лучшей звукопоглощающей способности.
Звукопоглощающий кожух в соответствии с изобретением отличается тем, что, по меньшей мере, часть звукопоглощающего кожуха выполнена из двух оболочек, то есть внутренней оболочки, расположенной во внешней оболочке и прикрепленной к ней для образования, по существу, устойчивой единой структуры и пространства, содержащего воздух или другой газ или газообразную смесь.
Идея, лежащая в основе изобретения, состоит в том, что звукопоглощающий кожух, по меньшей мере, частично двухоболочковый, так что он содержит внутреннюю оболочку, то есть внутренний поверхностный слой, и внешнюю оболочку, то есть внешний поверхностный слой, и воздушное пространство между ними для создания жесткой и звукопоглощающей конструкции. В соответствии с вариантом осуществления изобретения звукопоглощающий кожух изготовлен из множества компонентов кожуха, прикрепленных друг к другу, при этом каждый компонент является двухоболочковым.
Преимущество звукопоглощающего кожуха в соответствии с изобретением состоит в том, что при использовании двухоболочковой конструкции, в которой между оболочками присутствует воздух, конструкция звукопоглощающего кожуха является жесткой и легкой и его поглощающие свойства являются подходящими. Такой звукопоглощающий кожух также легко изготавливать из соответственно выполненных по размеру и форме компонентов, так как компоненты легко прикреплять один к другому таким образом, чтобы соединения были выполнены с шумоизоляцией.
Краткое описание чертежей
Изобретение описано ниже более детально при помощи прилагаемых чертежей, на которых:
фиг.1 схематично изображает буровую установку, оснащенную звукопоглощающим кожухом;
фиг.2 схематически изображает звукопоглощающий кожух на фиг.1 с частичным разрезом сбоку;
фиг.3 схематически изображает вид сбоку звукопоглощающего кожуха с открытой закрывающей частью буровой штанги;
фиг.4 схематично показывает разрез, выполненный по А-А на фиг.3.
Подробное описание некоторых вариантов осуществления изобретения
Фиг.1 схематично показывает буровую установку 1, выполненную с базовой частью 2. Базовую часть обычно устанавливают на колесах или роликах, в этом варианте, в качестве примера, на роликах 3. Стрела 4, которая, по существу, может состоять из одной или нескольких частей (на фигуре в качестве примера она состоит из одной части), соединена известным способом с базовой частью 2. Стрела 4 может быть любой известной, по существу, конструкцией стрелы, поэтому нет необходимости описывать стрелу более подробно. Известным, по существу, способом, но не показанным на фигуре, стрела 4 шарнирно соединена с базовой частью 2 для обеспечения возможности поворота стрелы на заданный угол относительно базовой части посредством известных, по существу, силовых элементов, таких как цилиндры с рабочей средой под давлением или что-то подобное.
Один конец стрелы 4, способной выполнять поворот, оснащен салазками 5, которые в свою очередь установлены на направляющей 6 с возможностью перемещения в ее продольном направлении. Направляющая 6 может перемещаться относительно салазок 5 посредством цилиндра 6a среднего давления известным, по существу, способом. Направляющая 6 снабжена известным перфоратором (не показан) для бурения скважин посредством инструмента, то есть показанной на фиг.2 буровой штанги и хорошо известной буровой головки, соединенной с ней. Направляющая, перфоратор и часть буровой штанги окружены звукопоглощающим кожухом 7, конструкция которого более подробно описана ниже.
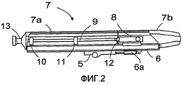
Фиг.2 является схематическим изображением звукопоглощающего кожуха с видом сбоку в частичном разрезе. Звукопоглощающий кожух 7 выполнен, в качестве примера, из двух различных частей: части 7a, которая служит закрывающей частью для звукопоглощающего кожуха 7 над буровой штангой, и части 7b, причем каждая часть изготовлена отдельно. Количество частей может изменяться в соответствии с требованиями процесса производства, при этом может быть выполнено множество частей. Указанные части преимущественно прикреплены одна к другой для образования сплошного звукопоглощающего кожуха 7 с местами соединений, соответственно изолированными, при этом звукопоглощающий кожух 7 прикреплен к направляющей перфоратора таким образом, чтобы окружать верхнюю часть направляющей 6, перфоратор 8, буровую штангу 9 и направляющие 10 и 11 перфоратора. Закрывающая часть 7a установлена с возможностью перемещения в поперечном направлении относительно звукопоглощающего кожуха 7 посредством отдельных передаточных цилиндров 12. Это описано отдельно более подробно на фиг.4. Кроме того, один конец звукопоглощающего кожуха 7, то есть конец, обращенный к режущей головке перфоратора, выполнен с сопловой частью 13 для всасывания пыли и глушения шума.
Фиг.3 схематично изображает звукопоглощающий кожух с открытой закрывающей частью 7a буровой штанги. На ней показано, каким образом закрывающая часть 7a, необходимая для технического обслуживания буровой штанги 8, поднята вверх от звукопоглощающего кожуха 7 для установки буровой штанги в перфоратор или для извлечения оттуда буровой штанги. На двух концевых частях закрывающей части 7a на двух боковых сторонах стрелы 6 установлены передаточные цилиндры 12, обеспечивающие для закрывающей части 7a возможность отведения от звукопоглощающего кожуха 7 и, таким образом, открытия для обеспечения технического обслуживания буровой штанги и, соответственно, обеспечения для закрывающей части 7a возможности перемещения так, чтобы она оставалась соединенной со звукопоглощающим кожухом 7 во время выполнения бурения.
Для установки и извлечения буровой штанги при открытии должно быть обеспечено достаточно большое и длинное отверстие между звукопоглощающим кожухом 7 и закрывающей частью 7a. Поэтому передаточные цилиндры 12 в продольном направлении звукопоглощающего кожуха 7 и стрелы 6 расположены на расстоянии друг от друга, обеспечивающем возможность перемещения буровой штанги 9 из положения между передаточными цилиндрами 12 в положение между звукопоглощающим кожухом 7 и закрывающей частью 7a и соответственно извлечения оттуда. Длина хода передаточных цилиндров 12 может быть подобрана различной. Длина хода может быть равной или различной на разных сторонах звукопоглощающего кожуха, в таком случае закрывающая часть 7a вынуждена поворачиваться в поперечном направлении звукопоглощающего кожуха 7 на расстоянии вне хода буровой штанги.
Фиг.4 схематично изображает поперечный разрез звукопоглощающего кожуха, выполненный по А-А на фиг.3. Как показано на фиг.4, у звукопоглощающего кожуха есть две оболочки, то есть он содержит внутреннюю оболочку 13a и внешнюю оболочку 13b и воздушное пространство 13c между ними. Оболочки изготовлены из материала, которому можно легко придать форму, например, способом центробежного литья. Оболочки прикреплены одна с другой по своим кромкам для образования единой конструкции таким образом, что между оболочками существует пространство 13c для воздуха или, если требуется, другого газа или газообразной смеси. Собственно оболочки изготовлены из материала, который относительно хорошо заглушает распространение громких звуков ударов, обычно из полиэтилена или соответствующего пластмассового материала. Благодаря двойной оболочке конструкция звукопоглощающего кожуха является жесткой, и она хорошо приглушает распространяющийся шум.
Различные промежуточные части, соединяющие оболочки, могут быть установлены между оболочками, например, наподобие проходных втулочных соединений для прикрепления различных деталей к звукопоглощающему кожуху. Профиль поперечного сечения внешней оболочки и внутренней оболочки выполнен для обеспечения более жесткого звукопоглощающего кожуха и наибольшего заглушения шума. Это, с одной стороны, позволяет обеспечить жесткую конструкцию и, с другой стороны, перемещение закрывающей части 7a звукопоглощающего кожуха для ее плотного и устойчивого скрепления со звукопоглощающим кожухом 7 таким образом, чтобы зазор между ними был герметичен, а звукоизоляция оставалась эффективной. Фиг.4 также изображает, каким образом звукопоглощающий кожух скрепляется с планками 14, закрепленными на боковых сторонах направляющей 6 посредством отдельных крепежных элементов, таких как винты 15 или подобного. Отдельный, например, более мягкий уплотнительный материал с лучшими свойствами поглощения шума может быть размещен между кромками звукопоглощающего кожуха 7 и направляющей 6. Уплотнительный материал как таковой может также быть тем же самым материалом, какой использовался для остальной части звукопоглощающего кожуха.
Следует, в частности, отметить, что способ уплотнения шва между закрывающей частью 7a и звукопоглощающим кожухом 7 состоит в использовании наклонных поверхностей 16a и 16b на кромках звукопоглощающего кожуха и закрывающей части так, что при перемещении закрывающей части 7a она скрепляется со звукопоглощающим кожухом, при этом наклонные поверхности 16a и 16b прижимаются одна к другой, образуя при этом обжатый уплотняющий шов. Швы между закрывающей частью 7a и остальной частью звукопоглощающего кожуха могут быть герметизированы и посредством известных отдельных уплотнений.
Оболочки 13a и 13b имеют ребра 17a-17d. В оболочке 13a продольные ребра 17a расположены на стороне воздушного пространства 13c между оболочками 13a и 13b, в то время как ребро 17b, которое является в оболочке выполненным фальцем, расположено на внутренней стороне оболочки 13a, то есть в том же самом пространстве, что и перфоратор. Аналогично, в оболочке 13b продольное ребро 17c и поперечное ребро 17d выполнены на стороне воздушного пространства 13c между оболочками 13a и 13b. Такие ребра могут быть выполнены только в одной из оболочек или в обеих оболочках в длину или поперек. Кроме того, они могут быть выполнены или на внешней, или на внутренней стороне оболочки. Если ребро выполнено между оболочками, оно может даже проходить полностью до другой оболочки. Ребра служат для придания жесткости оболочке, если так требуется для материала оболочки. Ребра могут быть полностью сплошными или пустотелыми, или в оболочке могут быть выполнены фальцы.
Длина хода передаточных цилиндров 12 может быть подобрана различной. Они могут быть равными по длине, или длина их хода может быть различной на различных сторонах звукопоглощающего кожуха, предоставляя, так сказать, возможность поворота звукопоглощающего кожуха на расстоянии вне хода буровой штанги.
При необходимости, в кожухе 7 могут быть расположены отдельные опорные элементы, прикрепленные к звукопоглощающему кожуху 7, такие как, например, опорные дуги 18 и опорные стержни 19 в продольном направлении звукопоглощающего кожуха для придания ему жесткости. Материал дуг 18 и стержней 19 может быть прочным, но предпочтительно они являются пустотелыми трубчатыми или открытыми профилями, такими как U-образные, I-образные и L-образные профили. Дуги и стержни могут быть объединены друг с другом или быть отдельными частями, скрепленными друг с другом. Является очевидным, что опорные элементы закрывающей части 7a составляют собственное единое целое, в то время как опорные элементы остальной части звукопоглощающего кожуха, то есть части, прикрепленной к направляющей 6, составляют собственное единое целое. Кроме того, в звукопоглощающем кожухе 7 может быть расположена звукозаглушающая пластина 20, изготовленная из отдельного поглощающего материала, который, по меньшей мере, частично покрывает внутреннюю поверхность звукопоглощающего кожуха 7. Такая пластина может быть, например, перфорированной пластиной, изготовленной из металла или другого материала, прикрепленной, например, к опорным дугам 18 и опорным стержням, к противоположной стороне звукопоглощающего кожуха 7. Звукозаглушающая пластина может быть, по необходимости, полностью или только частично перфорирована или даже не перфорирована. Звукозаглушающая пластина 20 также может использоваться без опорных элементов, в таком варианте она естественно прикреплена непосредственно к звукопоглощающему кожуху 7 так, чтобы опираться на отдельные опорные втулки или подобное, и/или к ребрам, обращенным во внутреннее пространство внутренней оболочки 13a.
В вышеупомянутом описании и чертежах изобретение описано только посредством примера и никоим образом не ограничено этим. Отличительная черта в том, что звукопоглощающий кожух вместе с его частями выполнен из двух оболочек, расположенных на расстоянии одна от другой таким образом, что между ними обеспечено пространство для воздуха или газа.
Claims (21)
1. Звукопоглощающий кожух для перфоратора, перемещающегося по направляющей в продольном направлении, прикрепляемый к направляющей перфоратора на ее двух сторонах и составляющий вместе с направляющей (6), по существу, замкнутое пространство, в котором расположены перфоратор и, по меньшей мере, основная часть буровой штанги, находящейся вне скважины, отличающийся тем, что, по меньшей мере, часть звукопоглощающего кожуха (7) образована из двух оболочек, то есть внутренней оболочки (13а), расположенной во внешней оболочке (13b) и прикрепленной к ней для образования, по существу, устойчивой единой структуры и пространства (13с), содержащего воздух или другой газ или газообразную смесь.
2. Звукопоглощающий кожух по п.1, отличающийся тем, что он выполнен из множества компонентов кожуха, прикрепленных один к другому для образования звукопоглощающего кожуха (7) с, по существу, уплотняющими соединениями.
3. Звукопоглощающий кожух по п.1, отличающийся тем, что содержит отдельную закрывающую часть (7а), способную перемещаться из ее местоположения для установки или извлечения буровой штанги (9).
4. Звукопоглощающий кожух по п.3, отличающийся тем, что закрывающая часть (7а) установлена с возможностью перемещения относительно звукопоглощающего кожуха (7), по существу, перпендикулярно от звукопоглощающего кожуха (7) и, аналогично, к звукопоглощающему кожуху (7).
5. Звукопоглощающий кожух по п.2, отличающийся тем, что он содержит отдельную закрывающую часть (7а) с возможностью перемещения из ее местоположения для установки или извлечения буровой штанги (9).
6. Звукопоглощающий кожух по п.5, отличающийся тем, что закрывающая часть (7а) установлена с возможностью перемещения относительно звукопоглощающего кожуха (7), по существу, перпендикулярно от звукопоглощающего кожуха (7) и к звукопоглощающему кожуху (7).
7. Звукопоглощающий кожух по любому из пп.3-6, отличающийся тем, что закрывающая часть (7а) установлена с возможностью перемещения посредством передаточных цилиндров (12), установленных на обеих сторонах от отверстия для закрывающей части (7а) и, аналогично, на обоих концах закрывающей части (7а) на расстоянии от передаточных цилиндров (12) в продольном направлении звукопоглощающего кожуха (7), превышающем длину буровой штанги.
8. Звукопоглощающий кожух по п.7, отличающийся тем, что кромки закрывающей части (7а) и звукопоглощающего кожуха (7) выполнены с поверхностями (16а, 16b), наклоненными одна относительно другой в одном и том же направлении так, что при закрытии закрывающей части (7а), они, по существу, плотно прижаты одна к другой.
9. Звукопоглощающий кожух по п.8, отличающийся тем, что содержит отдельные опорные элементы, прикрепленные к звукопоглощающему кожуху (7), такие, как например, опорные дуги (18) и опорные планки (19) в продольном направлении звукопоглощающего кожуха (7) для придания жесткости звукопоглощающему кожуху (7).
10. Звукопоглощающий кожух по любому из пп.3-6, отличающийся тем, что кромки закрывающей части (7а) и звукопоглощающего кожуха (7) выполнены с поверхностями (16а, 16b), наклоненными одна относительно другой в одном и том же направлении так, что при закрытии закрывающей части (7а), они, по существу, плотно прижаты друг к другу.
11. Звукопоглощающий кожух по п.10, отличающийся тем, что содержит отдельные опорные элементы, прикрепленные к звукопоглощающему кожуху (7), такие, как, например, опорные дуги (18) и опорные планки (19), в продольном направлении звукопоглощающего кожуха (7) для придания жесткости звукопоглощающему кожуху (7).
12. Звукопоглощающий кожух по п.11, отличающийся тем, что в нем установлена, по меньшей мере, одна отдельная звукозаглушающая пластина (20), по меньшей мере, частично покрывающая внутреннюю поверхность звукопоглощающего кожуха (7).
13. Звукопоглощающий кожух по любому из пп.3-6, отличающийся тем, что он содержит отдельные опорные элементы, прикрепленные к звукопоглощающему кожуху (7), такие, как, например опорные дуги (18) и опорные планки (19), в продольном направлении звукопоглощающего кожуха (7) для придания жесткости звукопоглощающему кожуху (7).
14. Звукопоглощающий кожух по п.13, отличающийся тем, что в нем установлена, по меньшей мере, одна отдельная звукозаглушающая пластина (20), по меньшей мере, частично покрывающая внутреннюю поверхность звукопоглощающего кожуха (7).
15. Звукопоглощающий кожух по п.14, отличающийся тем, что, по меньшей мере, часть поверхности звукозаглушающей пластины (20) является перфорированной.
16. Звукопоглощающий кожух по любому из пп.3-6, отличающийся тем, что в нем установлена, по меньшей мере, одна отдельная звукозаглушающая пластина (20), по меньшей мере, частично покрывающая внутреннюю поверхность звукопоглощающего кожуха (7).
17. Звукопоглощающий кожух по п.16, отличающийся тем, что, по меньшей мере, часть поверхности звукозаглушающей пластины (20) является перфорированной.
18. Звукопоглощающий кожух по п.16, отличающийся тем, что звукозаглушающая пластина (20) изготовлена из того же самого материала, как и звукопоглощающий кожух (7).
19. Звукопоглощающий кожух по п.16, отличающийся тем, что звукозаглушающая пластина (20) изготовлена из металла.
20. Звукопоглощающий кожух по п.16, отличающийся тем, что звукозаглушающая пластина (20) прикреплена на расстоянии от поверхности внутренней оболочки (13а) звукопоглощающего кожуха (7).
21. Звукопоглощающий кожух по любому из пп.3-6, отличающийся тем, что в нем расположено оборудование для подачи перфоратора.
Applications Claiming Priority (2)
| Application Number | Priority Date | Filing Date | Title |
|---|---|---|---|
| FI20075230 | 2007-04-04 | ||
| FI20075230A FI123742B (fi) | 2007-04-04 | 2007-04-04 | Äänenvaimennuskotelo kallioporaa varten |
Publications (2)
| Publication Number | Publication Date |
|---|---|
| RU2009140741A RU2009140741A (ru) | 2011-05-10 |
| RU2423596C1 true RU2423596C1 (ru) | 2011-07-10 |
Family
ID=38009883
Family Applications (1)
| Application Number | Title | Priority Date | Filing Date |
|---|---|---|---|
| RU2009140741/03A RU2423596C1 (ru) | 2007-04-04 | 2008-04-04 | Звукопоглощающий кожух для перфоратора |
Country Status (10)
| Country | Link |
|---|---|
| US (1) | US8177023B2 (ru) |
| EP (1) | EP2132396A4 (ru) |
| JP (1) | JP2010523846A (ru) |
| KR (2) | KR20100002252A (ru) |
| CN (1) | CN101680267A (ru) |
| AU (1) | AU2008235376B2 (ru) |
| CA (1) | CA2682341C (ru) |
| FI (1) | FI123742B (ru) |
| RU (1) | RU2423596C1 (ru) |
| WO (1) | WO2008122694A1 (ru) |
Families Citing this family (3)
| Publication number | Priority date | Publication date | Assignee | Title |
|---|---|---|---|---|
| FI20096109L (fi) | 2009-10-28 | 2011-04-29 | Sandvik Mining & Constr Oy | Menetelmä suojarakenteen liittämiseksi syöttöpalkkiin ja kaivostoimilaitteen suojarakenne |
| CN110415673B (zh) * | 2019-07-23 | 2024-04-26 | 上海工程技术大学 | 一种旋挖钻的可移动吸隔声装置 |
| CN115306310A (zh) * | 2022-08-04 | 2022-11-08 | 中建铁路投资建设集团有限公司 | 基于风枪凿岩震源地质预报的减震降噪装置及其使用方法 |
Citations (4)
| Publication number | Priority date | Publication date | Assignee | Title |
|---|---|---|---|---|
| US3667571A (en) * | 1970-11-06 | 1972-06-06 | Robert Fattelay | Sound-insulating device for noisy apparatus |
| DE3229998A1 (de) * | 1982-08-12 | 1984-02-16 | Ing. Günter Klemm, Spezialunternehmen für Bohrtechnik, 5962 Drolshagen | Bohrvorrichtung |
| WO2002070856A1 (en) * | 2001-03-07 | 2002-09-12 | Atlas Copco Rock Drills Ab | Rock drilling rig provided with a sound dampening casing |
| WO2006038850A1 (en) * | 2004-10-07 | 2006-04-13 | Atlas Copco Rock Drills Ab | Housing arrangement |
Family Cites Families (18)
| Publication number | Priority date | Publication date | Assignee | Title |
|---|---|---|---|---|
| US2136315A (en) * | 1936-11-04 | 1938-11-08 | Pettit Walter Richard | Machine for breaking concrete |
| US3601205A (en) * | 1970-04-07 | 1971-08-24 | Ingersoll Rand Co | Rock drill |
| DE7312658U (de) * | 1973-04-04 | 1973-07-19 | Hochtief Ag | Schalldämm-Mantel für Pfalrammen |
| SU480836A1 (ru) | 1974-03-29 | 1975-08-15 | Предприятие П/Я М-5903 | Устройство дл бурени шпуров |
| JPS5412881Y2 (ru) * | 1974-09-13 | 1979-06-04 | ||
| US4402383A (en) * | 1981-09-01 | 1983-09-06 | Joy Manufacturing Company | Drill motor enclosure |
| JP2794329B2 (ja) * | 1990-07-10 | 1998-09-03 | ライト工業株式会社 | 防音装置 |
| JP3055072B2 (ja) * | 1991-03-27 | 2000-06-19 | 清水建設株式会社 | パーカッション式削孔装置 |
| JPH0579271A (ja) * | 1991-09-19 | 1993-03-30 | San Giken Kk | 削岩装置 |
| JPH05295978A (ja) * | 1992-04-20 | 1993-11-09 | San Giken Kk | 削岩装置 |
| JPH05293773A (ja) * | 1992-04-20 | 1993-11-09 | San Giken Kk | 打撃機 |
| JPH07189581A (ja) * | 1993-12-27 | 1995-07-28 | Mitsui Eng & Shipbuild Co Ltd | 削岩機の防音装置 |
| FI108561B (fi) * | 1998-09-29 | 2002-02-15 | Tamrock Oy | Kotelo kallionporauslaitteen äänen eristämiseksi ja sovitelma kallionporauslaitteen yhteydessä |
| SE523874C2 (sv) | 2001-12-17 | 2004-05-25 | Skanska Sverige Ab | Bergborr, pålmaskin och ljuddämpande anordning vid dessa |
| SE528549C2 (sv) * | 2004-10-07 | 2006-12-12 | Atlas Copco Rock Drills Ab | Manschett samt borrigg innefattande en sådan masschett |
| KR200389661Y1 (ko) | 2005-04-29 | 2005-07-18 | 현대건설주식회사 | 항타기의 램 하우징 장치 |
| KR100722375B1 (ko) * | 2006-07-12 | 2007-05-28 | 김성배 | 항타기의 램하우징 장치 |
| FI123739B (fi) * | 2007-04-04 | 2013-10-15 | Sandvik Mining & Constr Oy | Kallionporauslaitteen suojusrakenne melun vaimentamiseksi |
-
2007
- 2007-04-04 FI FI20075230A patent/FI123742B/fi not_active IP Right Cessation
-
2008
- 2008-04-04 KR KR1020097020549A patent/KR20100002252A/ko not_active Withdrawn
- 2008-04-04 US US12/594,484 patent/US8177023B2/en not_active Expired - Fee Related
- 2008-04-04 JP JP2010501541A patent/JP2010523846A/ja active Pending
- 2008-04-04 EP EP08736814.8A patent/EP2132396A4/en not_active Withdrawn
- 2008-04-04 KR KR2020127000040U patent/KR20120007220U/ko not_active Ceased
- 2008-04-04 WO PCT/FI2008/050165 patent/WO2008122694A1/en not_active Ceased
- 2008-04-04 CA CA2682341A patent/CA2682341C/en not_active Expired - Fee Related
- 2008-04-04 RU RU2009140741/03A patent/RU2423596C1/ru not_active IP Right Cessation
- 2008-04-04 CN CN200880010981A patent/CN101680267A/zh active Pending
- 2008-04-04 AU AU2008235376A patent/AU2008235376B2/en not_active Ceased
Patent Citations (4)
| Publication number | Priority date | Publication date | Assignee | Title |
|---|---|---|---|---|
| US3667571A (en) * | 1970-11-06 | 1972-06-06 | Robert Fattelay | Sound-insulating device for noisy apparatus |
| DE3229998A1 (de) * | 1982-08-12 | 1984-02-16 | Ing. Günter Klemm, Spezialunternehmen für Bohrtechnik, 5962 Drolshagen | Bohrvorrichtung |
| WO2002070856A1 (en) * | 2001-03-07 | 2002-09-12 | Atlas Copco Rock Drills Ab | Rock drilling rig provided with a sound dampening casing |
| WO2006038850A1 (en) * | 2004-10-07 | 2006-04-13 | Atlas Copco Rock Drills Ab | Housing arrangement |
Also Published As
| Publication number | Publication date |
|---|---|
| CN101680267A (zh) | 2010-03-24 |
| AU2008235376A1 (en) | 2008-10-16 |
| CA2682341A1 (en) | 2008-10-16 |
| WO2008122694A1 (en) | 2008-10-16 |
| CA2682341C (en) | 2013-09-17 |
| US20100084218A1 (en) | 2010-04-08 |
| EP2132396A1 (en) | 2009-12-16 |
| KR20100002252A (ko) | 2010-01-06 |
| JP2010523846A (ja) | 2010-07-15 |
| KR20120007220U (ko) | 2012-10-19 |
| RU2009140741A (ru) | 2011-05-10 |
| AU2008235376B2 (en) | 2011-07-28 |
| US8177023B2 (en) | 2012-05-15 |
| FI123742B (fi) | 2013-10-15 |
| EP2132396A4 (en) | 2017-05-10 |
| FI20075230A0 (fi) | 2007-04-04 |
| FI20075230L (fi) | 2008-10-05 |
Similar Documents
| Publication | Publication Date | Title |
|---|---|---|
| RU2416016C1 (ru) | Шумозаглушающее защитное устройство агрегата для бурения по породе | |
| RU2423596C1 (ru) | Звукопоглощающий кожух для перфоратора | |
| US8061449B2 (en) | Housing arrangement | |
| JP7369387B2 (ja) | 消音構造を有する板材及びこれを用いたトンネル発破音の低減方法 | |
| CN211667084U (zh) | 一种基于减振结构的降噪处理装置 | |
| EP3613937B1 (en) | Device for noise damping and rock drilling rig | |
| CA2772587A1 (en) | Rock drilling unit, feed beam, and method for damping vibration | |
| JP3411236B2 (ja) | 山岳トンネルの拡幅方法及び発破防護構造 | |
| JPH06185055A (ja) | 防音装置 | |
| CN106013304B (zh) | 一种摆动式破碎锤 | |
| JP2794329B2 (ja) | 防音装置 | |
| JP3965421B2 (ja) | 掘削具、掘削装置、粉塵吸引手段、斜坑穴掘削装置、立坑掘削システム | |
| CN210467313U (zh) | 旋挖钻用可移动吸隔声装置 | |
| JP3816069B2 (ja) | ニューマチックケーソンにおけるマテリアルロックの消音方法及び防音装置 | |
| KR200398533Y1 (ko) | 건설시공용 파일 | |
| CN114607669A (zh) | 双缸联动装置及机械设备 | |
| CN211993600U (zh) | 一种降噪效果好的环保型凿岩机 | |
| JP6230145B2 (ja) | マテリアルロックの消音装置 | |
| KR200271712Y1 (ko) | 건설중장비의 파쇄형 작업장치의 저소음형 브레이커 | |
| JP2005279906A (ja) | 空気圧打撃工具の消音装置 |
Legal Events
| Date | Code | Title | Description |
|---|---|---|---|
| MM4A | The patent is invalid due to non-payment of fees |
Effective date: 20130405 |