RU2401034C2 - Привод для подвижной части мебели - Google Patents
Привод для подвижной части мебели Download PDFInfo
- Publication number
- RU2401034C2 RU2401034C2 RU2008106475/12A RU2008106475A RU2401034C2 RU 2401034 C2 RU2401034 C2 RU 2401034C2 RU 2008106475/12 A RU2008106475/12 A RU 2008106475/12A RU 2008106475 A RU2008106475 A RU 2008106475A RU 2401034 C2 RU2401034 C2 RU 2401034C2
- Authority
- RU
- Russia
- Prior art keywords
- furniture
- clutch
- movable part
- engine
- control
- Prior art date
Links
- 230000008859 change Effects 0.000 claims abstract description 7
- 230000033001 locomotion Effects 0.000 claims abstract description 6
- 238000005259 measurement Methods 0.000 claims abstract description 5
- 230000005540 biological transmission Effects 0.000 claims description 2
- 230000007704 transition Effects 0.000 claims description 2
- 238000012423 maintenance Methods 0.000 abstract description 4
- 239000000126 substance Substances 0.000 abstract 1
- 230000007257 malfunction Effects 0.000 description 3
- 238000000034 method Methods 0.000 description 3
- 230000008569 process Effects 0.000 description 3
- 230000001133 acceleration Effects 0.000 description 2
- 230000006378 damage Effects 0.000 description 2
- 230000007423 decrease Effects 0.000 description 2
- 238000010586 diagram Methods 0.000 description 2
- 238000009434 installation Methods 0.000 description 2
- 208000027418 Wounds and injury Diseases 0.000 description 1
- 230000004913 activation Effects 0.000 description 1
- 230000033228 biological regulation Effects 0.000 description 1
- 238000010276 construction Methods 0.000 description 1
- 238000013461 design Methods 0.000 description 1
- 239000012634 fragment Substances 0.000 description 1
- 230000001939 inductive effect Effects 0.000 description 1
- 230000000977 initiatory effect Effects 0.000 description 1
- 208000014674 injury Diseases 0.000 description 1
- 230000003993 interaction Effects 0.000 description 1
- 230000003287 optical effect Effects 0.000 description 1
- 230000008439 repair process Effects 0.000 description 1
Images
Classifications
-
- A—HUMAN NECESSITIES
- A47—FURNITURE; DOMESTIC ARTICLES OR APPLIANCES; COFFEE MILLS; SPICE MILLS; SUCTION CLEANERS IN GENERAL
- A47B—TABLES; DESKS; OFFICE FURNITURE; CABINETS; DRAWERS; GENERAL DETAILS OF FURNITURE
- A47B88/00—Drawers for tables, cabinets or like furniture; Guides for drawers
- A47B88/40—Sliding drawers; Slides or guides therefor
- A47B88/453—Actuated drawers
- A47B88/457—Actuated drawers operated by electrically-powered actuation means
Landscapes
- Power-Operated Mechanisms For Wings (AREA)
- Connection Of Motors, Electrical Generators, Mechanical Devices, And The Like (AREA)
- Drawers Of Furniture (AREA)
- Legs For Furniture In General (AREA)
- Hydraulic Clutches, Magnetic Clutches, Fluid Clutches, And Fluid Joints (AREA)
- Arrangement And Mounting Of Devices That Control Transmission Of Motive Force (AREA)
Abstract
Изобретение относится к приводу для подвижной части мебели, содержащему двигатель и приводное в движение двигателем ведомое звено для подвижной части мебели, и направлено на возможность беспрепятственного обслуживания подвижной части мебели вручную в случае неисправности двигателя. Привод содержит управляющее или регулировочное устройство и измерительное устройство для регистрации положения и/или параметров движения подвижной части мебели. Сигналы измерения измерительного устройства передаются в управляющее или регулировочное устройство. Предусмотрено взаимодействующее с двигателем и ведомым звеном сцепление, которое выполнено с возможностью включения и выключения с помощью управляющего или регулировочного устройства. Сцепление выполнено с возможностью переключения с помощью управляющего или регулировочного устройства в зависимости от сигналов измерения измерительного устройства. 2 н. и 15 з.п. ф-лы, 6 ил.
Description
Данное изобретение относится к приводу для подвижной части мебели, содержащему двигатель и приводимое в движение двигателем ведомое звено для подвижной части мебели.
Хотя принципиальная идея использования двигателя для привода подвижных частей мебели уже давно известна, такие приводы мало применяются на практике. Это объясняется частично тем, что двигатели в случае неисправности могут на основании присущей им склонности к заклиниванию представлять препятствие для приведения в движение вручную. В этом случае подвижной частью мебели нельзя пользоваться до ремонта, что, естественно, неприемлемо для пользователей.
Поэтому задачей изобретения является создание привода, который в случае неисправности двигателя обеспечивает беспрепятственное обслуживание подвижной части мебели вручную.
Эта задача решена с помощью привода с признаками п. 1 формулы изобретения.
В данном раскрытии включенное сцепление означает сцепление, которое находится в состоянии, в котором оно передает усилия между двигателем и ведомым звеном, так что имеется непрерывная силовая линия между двигателем и ведомым звеном. Под выключенным сцеплением понимается сцепление, которое находится в состоянии, в котором между двигателем и ведомым звеном не передаются усилия, так что силовая линия между двигателем и ведомым звеном прерывается. Включенное сцепление может быть обозначено как замкнутое сцепление, а выключенное сцепление - как открытое сцепление.
Предусмотренное, согласно изобретению переключаемое сцепление позволяет отсоединять неисправный двигатель от ведомого звена посредством выключения сцепления, так что никакое затормаживание мотора не может передаваться на ведомое звено и тем самым на подвижную часть мебели. За счет этого возможно беспрепятственное обслуживание подвижной части мебели вручную.
Особенно предпочтительным является вариант выполнения изобретения, в котором предусмотрено, что сцепление выполнено так, что его можно включать и выключать с помощью управляющего или, соответственно, регулировочного устройства. Дополнительно к указанным выше функциям в этом варианте выполнения можно реализовать множество других функций за счет возможности управления или, соответственно, регулирования сцепления в нормальном режиме работы, т.е. при отсутствии неисправности двигателя.
Например, сцепление может быть выполнено так, что можно изменять величину силы сцепления. Другими словами, можно за счет этого при постоянной мощности двигателя изменять величину передаваемого от двигателя на ведомое звено усилия. Это позволяет, например, реализовывать плавный пуск подвижной части мебели за счет такой установки сцепления, что при запуске двигателя происходит легкое проворачивание (аналогично проскальзыванию сцепления при трогании с места автомобиля). Эту функцию можно реализовать, например, в сцеплении, работающем с фрикционным замыканием.
В сцеплении с изменяемой величиной усилия сцепления может быть даже предусмотрено, что сцепление выполнено так, что изменение усилия сцепления в переходах между выключенным состоянием и включенным состоянием происходит по заданному профилю. Это позволяет реализовывать различные пусковые характеристики с одним единственным двигателем, который кроме функций включения и выключения не должен иметь никаких других функций.
Сцепление может быть выполнено, например, также в виде электромагнитного сцепления. Кроме того, такое сцепление может быть выполнено так, что оно в обесточенном состоянии выключено. За счет этого при отключении электропитания обеспечивается, что двигатель не оказывает сопротивления ручному обслуживанию подвижной части мебели.
По различным причинам в другом предпочтительном варианте выполнения изобретения может быть предусмотрено использование измерительного устройства для регистрации положения и/или параметров движения, таких как ускорение и скорость подвижной части мебели. За счет этого можно осуществлять, например, управление или, соответственно, регулирование переключаемого сцепления в зависимости от измеряемых величин. В частности, может быть предусмотрено переключение сцепления с помощью управляющего или, соответственно, регулировочного устройства в зависимости от сигналов измерения измерительного устройства.
Например, при расположении привода, согласно изобретению, в мебели, которая имеет подвижно установленную в корпусе мебели или, соответственно, на корпусе мебели часть мебели, можно реализовать множество функций.
Например, может быть предусмотрено, что измерительное или, соответственно, регулировочное устройство выполнено так, что оно выключает сцепление, когда подвижная часть мебели находится на расстоянии от корпуса мебели и имеет скорость, которая меньше или равна заданной величине, предпочтительно равна нулю. В этом случае подвижная часть мебели перемещается двигателем после первоначального включения пользователем в положение между закрытым конечным положением в или, соответственно, на корпусе мебели и полностью открытым конечным положением. Это частичное открывание может быть достаточным для извлечения или, соответственно, загрузки предметов.
Первоначальное включение можно выполнять различным образом, например посредством приведения в действие сенсорного переключателя или за счет вытягивания подвижной части мебели.
Кроме того, может быть предусмотрено, что управляющее или, соответственно, регулировочное устройство выполнено так, что сцепление при дальнейшем перемещении вручную подвижной части мебели в направлении полностью открытого конечного положения остается открытым. В этом случае двигатель служит лишь в качестве помощи для сдвигания с места для преодоления возможно имеющихся устройств для автоматического втягивания, в то время как в указанном выше случае он может на всем пути открывания прикладывать усилие к подвижной части мебели.
Кроме того, может быть предусмотрено, что управляющее или, соответственно, регулировочное устройство включает двигатель для поддержки процесса закрывания подвижной части мебели. Для этого оно может иметь пороговое значение относительно передаваемых измерительным устройством параметров движения подвижной части мебели, при этом оно инициирует привод подвижной части мебели при превышении порогового значения. Это пороговое значение может быть различной величины, по меньшей мере, для двух положений подвижной части мебели.
Например, может быть предусмотрено, что управляющее или, соответственно, регулировочное устройство инициирует втягивание подвижной части мебели из полностью открытого конечного положения при меньшей величине действующей извне на подвижную часть мебели силы, чем при нахождении подвижной части мебели в промежуточном положении между закрытым конечным положением и полностью открытым конечным положением. Это объясняется тем, что при полностью открытой части мебели намерение пользователя является однозначным. В противоположность этому, при частично открытой части мебели слишком небольшое пороговое значение может приводить к инициированию при извлечении предметов.
Кроме того, может быть предусмотрено, что подвижная часть мебели после инициирования ускоряется до заданной величины скорости.
Если в мебели дополнительно к приводу предусмотрено устройство для автоматического втягивания, которое выполнено так, что оно может втягивать подвижную часть мебели в закрытое конечное положение в или, соответственно, на корпусе мебели, то предпочтительно может быть предусмотрено, что управляющее или, соответственно, регулировочное устройство открывает сцепление, как только подвижная часть мебели входит в зону устройства автоматического втягивания. Это является предпочтительным, поскольку уже имеющиеся устройства автоматического втягивания обеспечивают процесс закрывания, который воспринимается пользователем как особенно приятный. За счет открывания сцепления исчезает любое влияние двигателя, так что подвижная часть мебели может перемещаться в закрытое конечное положение лишь под влиянием устройства автоматического втягивания.
Если мебель имеет устройство распознавания столкновения для подвижной части мебели, то может быть дополнительно предусмотрено такое выполнение управляющего или, соответственно, регулировочного устройства, что оно включает сцепление, когда устройство распознавания столкновения предупреждает о столкновении. За счет этого предотвращается повреждение или, соответственно, ранение за счет продолжающегося силового воздействия двигателя в случае столкновения.
Измерительное устройство может, например, содержать кодер, при этом можно использовать как индуктивные, так и оптические кодеры. Хотя уже имеются двигатели с интегрированным кодером, предпочтительным является вариант выполнения, в котором кодер соединен с ведомым звеном. В этом случае всегда точно регистрируется изменение положения подвижной части мебели даже при выключенном сцеплении и обслуживании вручную.
Ведомое звено может взаимодействовать с подвижной частью мебели, например, через тяговое средство. Это позволяет оказывать на подвижную часть мебели как тяговые усилия, так и нажимные усилия. В качестве тягового средства можно применять, например, гибкую тягу, зубчатый ремень или т.п.
В особенно предпочтительном варианте выполнения изобретения предусмотрено, что двигатель, сцепление и ведомое звено расположены вдоль воображаемой оси, при этом сцепление расположено между двигателем и ведомым звеном. Это обеспечивает компактную конструкцию привода, за счет чего его можно без проблем располагать внутри мебели на корпусе мебели, например, между задней стенкой выдвижного ящика и задней стенкой корпуса мебели.
Особенно простая конструкция обеспечивается, когда предусмотрено, что вдоль оси между двигателем и сцеплением, с одной стороны, и между сцеплением и ведомым звеном, с другой стороны, расположен соответствующий вал. При выключенном, т.е. открытом, сцеплении при обслуживании вручную подвижной части мебели вращается лишь расположенная со стороны ведомого звена часть сцепления. При включенном, т.е. замкнутом, сцеплении происходит силовое воздействие двигателя на ведомое звено так, что расположенный со стороны двигателя вал приводит в движение через сцепление расположенный на стороне ведомого звена вал.
Естественно, что для обеспечения различных скоростей вращения может быть предусмотрено взаимодействие двигателя со сцеплением через передачу.
С точки зрения низких расходов на приобретения особенно предпочтительно предусмотрено, что двигатель выполнен в виде электродвигателя.
Указанный привод особенно пригоден для выполненной в виде выдвижного ящика подвижной части мебели.
Кроме того, заявляется защита мебели с корпусом мебели и с подвижно установленной в или, соответственно, на корпусе мебели частью мебели, которая характеризуется расположением привода в соответствии с любым из указанных выше вариантов выполнения.
Другие преимущества и подробности изобретения следуют из приведенного ниже подробного описания изобретения со ссылками на прилагаемые чертежи, на которых изображено:
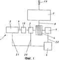
фиг. 1 - схема привода, согласно изобретению;
фиг. 2а, 2b - пример выполнения привода, согласно изобретению, в перспективе, а также на виде сверху;
фиг. 3 - корпус мебели с установленным приводом, на виде сверху;
фиг. 4а, 4b - фрагмент фиг. 3 и схема прохождения тягового средства;
фиг. 5 - мебель с приводом, согласно изобретению, в перспективе;
фиг. 6а, 6b - графики зависимости скорости от пути подвижной части мебели, приводимой в движение с помощью привода, согласно изобретению.
На фиг. 1 показан заявленный привод 1, содержащий двигатель 2, переключаемое сцепление 3 и ведомое звено 4. С ведомым звеном 4 связано измерительное устройство 6, сигналы которого передаются по линии 22 в управляющее или, соответственно, регулировочное устройство 5. Управляющее или, соответственно, регулировочное устройство 5 связано через линии 20, 21 с переключаемым сцеплением 3 и, соответственно, двигателем 2. Кроме того, предусмотрено дополнительное сцепление 15 для компенсации осевых допусков (для устранения погрешностей установки и т.п.). Двигатель 2, сцепление 15, переключаемое сцепление 3, ведомое звено 4, а также измерительное устройство 6 расположены вдоль воображаемой оси 9. Воздействие усилия на подвижную часть 7 мебели, которая в данном случае выполнена в виде выдвижного ящика, происходит через выполненное в этом примере в виде гибкой тяги тяговое средство 8 через не изображенный на фиг. 1 поводок, который расположен в подвижной части 7 мебели. Тяговое средство 8 проходит через ведомое звено 4, показанный на фиг. 4b ролик 24, а также направляющий ролик 19.
На фиг. 2а показан в перспективе конкретный пример выполнения привода 1. В этом варианте выполнения можно видеть выполненный в виде электродвигателя двигатель 2, имеющее сжимаемую зону сцепление 15 для компенсации осевых допусков, переключаемое сцепление 3, ведомое звено 4, а также кодер 16. В этом примере выполнения вдоль воображаемой оси 9 расположены валы 10 и, соответственно, 11.
На фиг. 2b показан привод, согласно фиг. 2а, на виде сверху, при этом дополнительно изображен монтажный корпус 20.
На фиг. 3 показан привод 1 в установленном положении на расположенной в корпусе 13 мебели промежуточной плите 23 мебели. От подвижной части 7 мебели (выдвижного ящика) показана лишь часть задней стенки 18. Можно видеть, что соединение подвижной части 7 мебели с тяговым средством 8 происходит через расположенный на задней стенке 18 поводок 17.
На фиг. 4а показана в перспективе часть представления, согласно фиг. 3. На фиг. 4b показана в качестве примера возможность передачи усилия от ведомого звена 4 к поводку 17. Тяговое средство 8 обвивает несколько раз ролик ведомого звена 4 и проходит через ролик 24 и направляющий ролик 19.
На фиг. 5 показан общий вид мебели с показанной на фиг. 3 системой.
На фиг. 6а и 6b показана в качестве примера скорость v подвижной части 7 мебели в зависимости от пройденного пути х. При этом на оси Х точка х=0 обозначает закрытое конечное положение подвижной части 7 мебели в корпусе 13 мебели, и точка х=xL обозначает открытое конечное положение подвижной части 7 мебели.
На фиг. 6а показано изменение скорости при открывании подвижной части 7 мебели. При этом стрелка указывает место, в котором управляющее или, соответственно, регулировочное устройство 5 выключает переключаемое сцепление 3. С этой точки уменьшается скорость подвижной части 7 мебели за счет присущих системе сил трения. Силовое воздействие на подвижную часть 7 мебели в показанном на фиг. 6а примере выбрано так, что пустая подвижная часть 7 мебели при начальном ускорении и при воздействии сил трения перемещается в полностью открытое конечное положение.
На фиг. 6b показан ход изменения скорости v в процессе закрывания подвижной части 7 мебели. При этом в качестве примера показаны различные изменения скорости. При этом стрелками указана в каждом случае точка, в которой управляющее или, соответственно, регулировочное устройство 5 включает переключаемое сцепление 3. Справа от этой точки на фиг. 6b происходит увеличение скорости за счет прикладываемого пользователем вручную усилия. При этом кривые различаются величиной силового толчка вручную (различная крутизна кривых), а также различными исходными положениями подвижной части 7 мебели (точки пересечения кривых с осью Х).
Как показано на фиг. 6b, управляющее или, соответственно, регулировочное устройство 5 регулирует двигатель 2 так, что независимо от величины первоначального силового толчка на определенном расстоянии от полностью открытого конечного положения достигается одна и таже скорость. В этом примере происходит уменьшение скорости до 0 в зоне закрытого конечного положения для всех кривых с помощью двигателя 3. В качестве альтернативного решения можно в заданном положении перед закрытым конечным положением выключать сцепление 3 с помощью управляющего или, соответственно, регулировочного устройства 5, так что подвижная часть 7 мебели перемещается в закрытое конечное положение с помощью имеющегося устройства автоматического втягивания и при этом тормозится.
Claims (17)
1. Привод для подвижной части мебели, содержащий двигатель, приводимое в движение двигателем ведомое звено для подвижной части мебели, управляющее или соответственно регулировочное устройство и измерительное устройство для регистрации положения и/или параметров движения подвижной части мебели, при этом сигналы измерения измерительного устройства передаются в управляющее или соответственно регулировочное устройство, и при этом предусмотрено взаимодействующее с двигателем и ведомым звеном сцепление, которое выполнено с возможностью включения и выключения с помощью управляющего или соответственно регулировочного устройства, отличающийся тем, что сцепление (3) выполнено с возможностью переключения с помощью управляющего или соответственно регулировочного устройства (5) в зависимости от сигналов измерения измерительного устройства (6).
2. Привод по п.1, отличающийся тем, что сцепление (3) выполнено с возможностью изменения величины силы сцепления.
3. Привод по п.2, отличающийся тем, что сцепление (3) выполнено так, что изменение силы сцепления при переходах между выключенным состоянием и включенным состоянием происходит по заданному профилю.
4. Привод по п.1, отличающийся тем, что сцепление (3) выполнено в виде электромагнитного сцепления.
5. Привод по п.4, отличающийся тем, что сцепление (3) выполнено так, что оно в обесточенном состоянии выключено.
6. Привод по п.1, отличающийся тем, что измерительное устройство (6) содержит кодер (16), при этом кодер (16) предпочтительно связан с ведомым звеном (4).
7. Привод по п.1, отличающийся тем, что ведомое звено (4) взаимодействует с подвижной частью (7) мебели через тяговое средство (8).
8. Привод по п.1, отличающийся тем, что двигатель (2), сцепление (3) и ведомое звено (4) расположены вдоль воображаемой оси (9), при этом сцепление (3) расположено между двигателем (2) и ведомым звеном (4).
9. Привод по п.8, отличающийся тем, что вдоль оси (9) между двигателем (2) и сцеплением (3) с одной стороны и между сцеплением (3) и ведомым звеном (4) с другой стороны расположен соответствующий вал (10, 11).
10. Привод по п.1, отличающийся тем, что двигатель (2) взаимодействует со сцеплением (3) через передачу.
11. Привод по п.1, отличающийся тем, что двигатель (2) выполнен в виде электродвигателя.
12. Привод по п.1, отличающийся тем, что подвижная часть (7) мебели является выдвижным ящиком.
13. Мебель с корпусом мебели и подвижно установленной в корпусе мебели или соответственно на нем частью мебели, отличающаяся приводом (1) по п.1.
14. Мебель по п.13, отличающаяся тем, что управляющее или соответственно регулировочное устройство (5) выполнено так, что оно выключает сцепление (3), когда подвижная часть (7) мебели находится на расстоянии от корпуса (13) мебели и имеет скорость, которая меньше или равна заданному значению, предпочтительно равна нулю.
15. Мебель по п.13, отличающаяся тем, что для подвижной части (7) мебели предусмотрено устройство распознавания столкновения и что управляющее или соответственно регулировочное устройство (5) выполнено так, что оно выключает сцепление (3), когда устройство распознавания столкновения предупреждает о столкновении.
16. Мебель по п.13, отличающаяся тем, что дополнительно предусмотрено устройство (14) автоматического втягивания, которое выполнено так, что оно может втягивать подвижную часть (7) мебели в ее закрытое конечное положение в корпусе (13) мебели или соответственно на нем.
17. Мебель по п.13, отличающаяся тем, что управляющее или соответственно регулировочное устройство (5) выполнено так, что оно имеет пороговое значение относительно передаваемых измерительным устройством (6) параметров движения и/или положения подвижной части (7) мебели, при этом управляющее или соответственно регулировочное устройство (5) при превышении порогового сигнала инициирует привод подвижной части (7) мебели, и что пороговое значение, по меньшей мере, для двух положений подвижной части (7) мебели различается по величине.
Applications Claiming Priority (2)
| Application Number | Priority Date | Filing Date | Title |
|---|---|---|---|
| ATA1222/2005 | 2005-07-20 | ||
| ATA1222/2005A AT502204B1 (de) | 2005-07-20 | 2005-07-20 | Antrieb für ein bewegbares möbelteil |
Publications (2)
| Publication Number | Publication Date |
|---|---|
| RU2008106475A RU2008106475A (ru) | 2009-08-27 |
| RU2401034C2 true RU2401034C2 (ru) | 2010-10-10 |
Family
ID=37102461
Family Applications (1)
| Application Number | Title | Priority Date | Filing Date |
|---|---|---|---|
| RU2008106475/12A RU2401034C2 (ru) | 2005-07-20 | 2006-06-26 | Привод для подвижной части мебели |
Country Status (10)
| Country | Link |
|---|---|
| US (1) | US20080115417A1 (ru) |
| EP (1) | EP1903909B1 (ru) |
| JP (1) | JP4969574B2 (ru) |
| CN (1) | CN101217899B (ru) |
| AT (1) | AT502204B1 (ru) |
| AU (1) | AU2006272412B2 (ru) |
| MY (1) | MY147932A (ru) |
| RU (1) | RU2401034C2 (ru) |
| TR (1) | TR201808579T4 (ru) |
| WO (1) | WO2007009135A2 (ru) |
Cited By (1)
| Publication number | Priority date | Publication date | Assignee | Title |
|---|---|---|---|---|
| RU2557728C2 (ru) * | 2011-05-05 | 2015-07-27 | Юлиус Блум Гмбх | Направляющая для выдвижения ящика |
Families Citing this family (18)
| Publication number | Priority date | Publication date | Assignee | Title |
|---|---|---|---|---|
| CN101448432B (zh) * | 2006-04-04 | 2011-03-02 | 格拉斯有限公司 | 用于调节家具中关闭间隙的方法、用于使可动家具部件相对于固定家具部件运动的装置和家具 |
| DE202006005577U1 (de) * | 2006-04-04 | 2007-08-16 | Grass Gmbh | Vorrichtung zum Bewegen eines ersten Möbelteils relativ zu einem zweiten Möbelteil |
| AT503880A1 (de) * | 2006-06-22 | 2008-01-15 | Blum Gmbh Julius | Einzugsvorrichtung für eine schublade |
| GB0706776D0 (en) * | 2007-04-05 | 2007-05-16 | Premium Aircraft Interiors Uk | Movable furniture |
| AT505207B1 (de) | 2007-04-23 | 2011-08-15 | Blum Gmbh Julius | Einzugsvorrichtung für ein bewegbares möbelteil |
| AT505208B1 (de) | 2007-04-23 | 2011-08-15 | Blum Gmbh Julius | Antrieb mit einem zugmittel und einer kupplung für ein bewegbares möbelteil |
| AT505209B1 (de) | 2007-05-07 | 2012-04-15 | Blum Gmbh Julius | Antrieb für ein bewegbares möbelteil |
| AT505562B1 (de) * | 2007-07-24 | 2013-04-15 | Blum Gmbh Julius | Möbelantrieb |
| AT506441A1 (de) * | 2008-03-07 | 2009-09-15 | Blum Gmbh Julius | Míbelantrieb mit einer antriebseinheit |
| AT507805B1 (de) * | 2009-01-16 | 2013-09-15 | Blum Gmbh Julius | Auslösesensor für einen möbelantrieb |
| CN102309159B (zh) * | 2011-04-15 | 2013-04-03 | 梁建成 | 一种电动多功能浴室柜 |
| EP2594161B1 (en) * | 2011-11-21 | 2016-06-15 | You Bed AB | An electric motor for a furniture device, a drive arrangement for a furniture device and a furniture device |
| DE102013104866A1 (de) | 2013-05-11 | 2014-11-27 | Kesseböhmer Holding e.K. | Behältnis und Verfahren zum Auslösen einer Antriebsvorrichtung des Behältnisses |
| US9089047B2 (en) * | 2013-09-20 | 2015-07-21 | International Business Machines Corporation | Grounded belt and movable drawer apparatus |
| JP6360686B2 (ja) * | 2014-03-04 | 2018-07-18 | アクア株式会社 | 冷蔵庫 |
| CN105534177B (zh) * | 2016-01-08 | 2021-06-25 | 广东建设职业技术学院 | 智能衣柜 |
| CN110664140A (zh) * | 2019-10-12 | 2020-01-10 | 无锡海达尔精密滑轨股份有限公司 | 改进电动滑轨 |
| AT526237B1 (de) | 2022-09-09 | 2024-01-15 | Blum Gmbh Julius | Möbelantrieb |
Citations (5)
| Publication number | Priority date | Publication date | Assignee | Title |
|---|---|---|---|---|
| US2873159A (en) * | 1956-03-16 | 1959-02-10 | Becker Otto Alfred | Selectively power-operated drawer structure |
| US3005672A (en) * | 1955-06-13 | 1961-10-24 | Becker Otto Alfred | Apparatus for operating drawers or the like in a desk, cabinet or the like |
| EP1323363A1 (de) * | 2001-12-27 | 2003-07-02 | Julius Blum Gesellschaft m.b.H. | Anordnung mit einem bewegbaren Möbelteil, mit einer Antriebseinheit und mit einer Regeleinrichtung |
| EP1374732A1 (de) * | 2002-06-27 | 2004-01-02 | Julius Blum Gesellschaft m.b.H. | Anschubhilfe |
| RU39051U1 (ru) * | 2004-03-12 | 2004-07-20 | Общество с ограниченной ответственностью "Проммебель" | Тумба офисная |
Family Cites Families (17)
| Publication number | Priority date | Publication date | Assignee | Title |
|---|---|---|---|---|
| US2418351A (en) * | 1945-03-14 | 1947-04-01 | Gen Motors Corp | Actuator control |
| US2895781A (en) * | 1958-10-24 | 1959-07-21 | Gen Electric | Safety throwout mechanism for power operated drawers |
| JPS62120876U (ru) * | 1986-01-27 | 1987-07-31 | ||
| JPH07119Y2 (ja) * | 1988-03-18 | 1995-01-11 | 三和シヤッター工業株式会社 | 電動式昇降ベッド |
| DE3801089A1 (de) * | 1988-01-16 | 1989-07-27 | Huelsta Werke Huels Kg | Antriebsvorrichtung fuer schranktueren |
| JPH02103388A (ja) * | 1988-10-12 | 1990-04-16 | Mitsubishi Electric Corp | ケース自動引出し装置 |
| CH683496A5 (de) * | 1992-02-04 | 1994-03-31 | Magnetic Elektromotoren Ag | Antrieb zum Verstellen eines bewegbaren Teils einer Einrichtung. |
| JP2712135B2 (ja) * | 1992-05-15 | 1998-02-10 | スガツネ工業株式会社 | 自動引き込み装置 |
| JP3657723B2 (ja) * | 1997-01-07 | 2005-06-08 | 株式会社大井製作所 | 車輛用スライドドアのドア保持制御装置 |
| DE29802536U1 (de) * | 1998-02-14 | 1999-06-17 | Dewert Antriebs- und Systemtechnik GmbH & Co KG, 32278 Kirchlengern | Elektromotorischer Linearantrieb |
| DE19807553C1 (de) * | 1998-02-23 | 1999-07-01 | Keso Gmbh | Antriebsvorrichtung für ein Schloß, einen Schließzylinder oder dgl. |
| US6619453B2 (en) * | 2001-12-14 | 2003-09-16 | Eaton Corporation | Electromagnetic mechanical particle clutch |
| DE10200168A1 (de) * | 2002-01-04 | 2003-07-24 | Cimosys Ag Goldingen | Elektromotorischer Möbelantrieb zum Verstellen von Teilen eines Möbels relativ zueinander |
| DE20221177U1 (de) * | 2002-06-27 | 2005-10-06 | Cimosys Ag | Elektromotorischer Möbelantrieb |
| AT503998B1 (de) * | 2003-05-19 | 2010-07-15 | Blum Gmbh Julius | Verfahren zum antreiben eines bewegbaren möbelteils |
| AT502574B1 (de) * | 2003-05-19 | 2007-08-15 | Blum Gmbh Julius | Möbel mit einem bewegbaren möbelteil |
| DE202004007158U1 (de) * | 2004-05-05 | 2005-06-23 | Brose Fahrzeugteile Gmbh & Co. Kommanditgesellschaft, Coburg | Steuerungsvorrichtung zur Steuerung eines Fensterhebers eines Kraftfahrzeugs |
-
2005
- 2005-07-20 AT ATA1222/2005A patent/AT502204B1/de active
-
2006
- 2006-06-26 WO PCT/AT2006/000258 patent/WO2007009135A2/de not_active Ceased
- 2006-06-26 JP JP2008521737A patent/JP4969574B2/ja active Active
- 2006-06-26 TR TR2018/08579T patent/TR201808579T4/tr unknown
- 2006-06-26 RU RU2008106475/12A patent/RU2401034C2/ru active
- 2006-06-26 AU AU2006272412A patent/AU2006272412B2/en not_active Ceased
- 2006-06-26 CN CN2006800250829A patent/CN101217899B/zh active Active
- 2006-06-26 EP EP06741053.0A patent/EP1903909B1/de active Active
- 2006-07-19 MY MYPI20063440A patent/MY147932A/en unknown
-
2008
- 2008-01-18 US US12/010,050 patent/US20080115417A1/en not_active Abandoned
Patent Citations (5)
| Publication number | Priority date | Publication date | Assignee | Title |
|---|---|---|---|---|
| US3005672A (en) * | 1955-06-13 | 1961-10-24 | Becker Otto Alfred | Apparatus for operating drawers or the like in a desk, cabinet or the like |
| US2873159A (en) * | 1956-03-16 | 1959-02-10 | Becker Otto Alfred | Selectively power-operated drawer structure |
| EP1323363A1 (de) * | 2001-12-27 | 2003-07-02 | Julius Blum Gesellschaft m.b.H. | Anordnung mit einem bewegbaren Möbelteil, mit einer Antriebseinheit und mit einer Regeleinrichtung |
| EP1374732A1 (de) * | 2002-06-27 | 2004-01-02 | Julius Blum Gesellschaft m.b.H. | Anschubhilfe |
| RU39051U1 (ru) * | 2004-03-12 | 2004-07-20 | Общество с ограниченной ответственностью "Проммебель" | Тумба офисная |
Cited By (1)
| Publication number | Priority date | Publication date | Assignee | Title |
|---|---|---|---|---|
| RU2557728C2 (ru) * | 2011-05-05 | 2015-07-27 | Юлиус Блум Гмбх | Направляющая для выдвижения ящика |
Also Published As
| Publication number | Publication date |
|---|---|
| EP1903909A2 (de) | 2008-04-02 |
| US20080115417A1 (en) | 2008-05-22 |
| MY147932A (en) | 2013-02-15 |
| RU2008106475A (ru) | 2009-08-27 |
| WO2007009135A3 (de) | 2007-04-12 |
| AT502204B1 (de) | 2012-10-15 |
| JP2009501576A (ja) | 2009-01-22 |
| CN101217899B (zh) | 2011-08-03 |
| AU2006272412A1 (en) | 2007-01-25 |
| JP4969574B2 (ja) | 2012-07-04 |
| AU2006272412B2 (en) | 2012-04-19 |
| EP1903909B1 (de) | 2018-04-25 |
| AT502204A1 (de) | 2007-02-15 |
| CN101217899A (zh) | 2008-07-09 |
| TR201808579T4 (tr) | 2018-07-23 |
| WO2007009135A2 (de) | 2007-01-25 |
Similar Documents
| Publication | Publication Date | Title |
|---|---|---|
| RU2401034C2 (ru) | Привод для подвижной части мебели | |
| US7331643B2 (en) | Piece of furniture with a movable furniture component | |
| RU2420643C2 (ru) | Холодильный и/или морозильный аппарат | |
| US8443954B2 (en) | Clutch | |
| CN101889777B (zh) | 可移动的家具部件的推出装置 | |
| US20160242542A1 (en) | Furniture drive | |
| EP3734007B1 (en) | Actuator for powered vehicle closure | |
| US7707775B2 (en) | Power slide device for controlling sliding speed of vehicle sliding door | |
| CN101528084B (zh) | 用于可移动的家具部件的驱动装置 | |
| JP5426534B2 (ja) | 可動家具部品用の駆動装置 | |
| US7992460B2 (en) | Drive device | |
| US20090034208A1 (en) | Automatic Original Cover Closer and Office Equipment Having the Same | |
| CN101686759B (zh) | 家具驱动装置 | |
| GB2362225A (en) | Actuating system with a piston and cylinder assembly and a drive device | |
| CN102317639B (zh) | 包括间隙调整装置的用于摩擦离合器系统的控制机构 | |
| US6536860B1 (en) | Lift mechanism for storage bin door | |
| US9777789B2 (en) | Device for damping the movement of a movably mounted component | |
| JP2009502105A (ja) | 家具の可動部の駆動装置本発明は、家具の可動部の駆動装置に関する。 | |
| JP6258489B2 (ja) | 家具用駆動装置 | |
| KR20070027463A (ko) | 차량의 본체 요소를 작동하는 작동장치 및 작동방법 | |
| JP3636593B2 (ja) | 車両用スライドドアの自動開閉装置 | |
| EP3839284B1 (en) | Assembly having a clutch actuator | |
| EP1532341A1 (en) | An apparatus for opening and closing a sliding door | |
| EP2389490B1 (en) | Mechanism for smooth opening and retaining a car door in a desired position | |
| RU2550095C2 (ru) | Выдвижное приспособление для входа и выхода с тормозами |