RU2208103C1 - Способ монтажа предварительно напряженного шпренгельного блока покрытия - Google Patents
Способ монтажа предварительно напряженного шпренгельного блока покрытия Download PDFInfo
- Publication number
- RU2208103C1 RU2208103C1 RU2002121993/03A RU2002121993A RU2208103C1 RU 2208103 C1 RU2208103 C1 RU 2208103C1 RU 2002121993/03 A RU2002121993/03 A RU 2002121993/03A RU 2002121993 A RU2002121993 A RU 2002121993A RU 2208103 C1 RU2208103 C1 RU 2208103C1
- Authority
- RU
- Russia
- Prior art keywords
- tightening
- truss
- prestressed
- covering
- draw bar
- Prior art date
Links
Images
Landscapes
- Reinforcement Elements For Buildings (AREA)
Abstract
Изобретение относится к строительным конструкциям и может быть использовано при изготовлении предварительно напряженных шпренгельных блоков покрытия, применяемых в качестве несущих конструкций покрытий зданий и сооружений и т. п. Технический результат - снижение трудоемкости монтажа предварительно напряженных шпренгельных блоков покрытия. Способ монтажа предварительно напряженного шпренгельного блока покрытия включает крепление к концам элемента жесткости приопорных хомутов, объединенных затяжкой, и установку диафрагм шпренгеля. Приопорные хомуты пропускают в петли на концах затяжки. Затем направляющие на концах диафрагм шпренгеля упирают в сегментообразные торцы стопоров затяжки. Ригели диафрагм шпренгеля заводят в криволинейные направляющие элемента жесткости и объединяют их временной затяжкой, снабженной натяжным устройством, с помощью которого смещают ригели диафрагм шпренгеля навстречу друг другу до касания с упорами криволинейных направляющих. После этого устанавливают фиксаторы и демонтируют временную затяжку. 8 ил.
Description
Изобретение относится к строительным конструкциям и может быть использовано при изготовлении предварительно напряженных шпренгельных блоков покрытия, применяемых в качестве несущих конструкций покрытий зданий и сооружений и т. п.
Известен способ предварительного напряжения шпренгельных балок, преимущественно большепролетных покрытий, включающий установку рычагов, присоединение к их средним частям концов затяжки и направляющей со стяжными приспособлениями, к которым прикрепляют одни концы рычагов, подвижно соединенные с направляющей, при этом рычаги выполняют спаренными и соединяют другими концами с предварительно напрягаемой балкой жесткости, а направляющую и концы затяжки размещают между ними, причем концы затяжки жестко закрепляют к рычагам [1].
Недостатком известного технического решения является сложность и трудоемкость его осуществления, связанная с необходимостью монтажа мощных рычагов, направляющих, стяжных приспособлений, а также осуществления прикреплений в местах опирания рычагов на балку жесткости и жесткого закрепления затяжки к рычагам. Кроме того, известное техническое решение предусматривает объединение затяжки при помощи вставки, помещаемой между спаренными рычагами, что также увеличивает трудоемкость процесса предварительного напряжения.
Также известен способ монтажа предварительно напряженной несущей конструкции, включающий монтаж элемента жесткости, прикрепление к его торцам гибкой затяжки, установку средней стойки шпренгеля, после чего производится первый этап натяжения затяжки домкратами двойного действия, закрепленными на концах гибкой затяжки, а второй этап предварительного натяжения производится посредством удлинения средней стойки шпренгеля, смонтированной на ней винтовой муфтой [2] (принято за прототип).
Недостатком такого технического решения является повышенная трудоемкость, обусловленная необходимостью присоединения к гибкой затяжке и средней стойке шпренгеля натяжных устройств (домкратов и стяжной муфты), а также невозможностью демонтажа стяжной муфты, что, в конечном счете, повышает трудоемкость монтажа конструкции в целом.
Задачей настоящего изобретения является снижение трудоемкости монтажа предварительно напряженных шпренгельных блоков покрытия.
Технический результат достигается тем, что в способе монтажа предварительно напряженного шпренгельного блока покрытия, включающем крепление к концам элемента жесткости приопорных хомутов, объединенных затяжкой, и установку диафрагм шпренгеля, приопорные хомуты пропускают в петли на концах затяжки, затем направляющие на концах диафрагм шпренгеля упирают в сегментообразные торцы стопоров затяжки, а ригели диафрагм шпренгеля заводят в криволинейные направляющие элемента жесткости и объединяют их временной затяжкой, снабженной натяжным устройством, с помощью которого смещают ригели диафрагм шпренгеля навстречу друг другу до касания с упорами криволинейных направляющих, после чего устанавливают фиксаторы и демонтируют временную затяжку.
Предлагаемое техническое решение описывается следующими графическими материалами:
- на фиг. 1 приводится общий вид предварительно напряженного шпренгельнго блока (вид по 1-1 на фиг. 2) после монтажа;
- на фиг. 2 - план шпренгельного блока по фиг. 1;
- на фиг. 3 - поперечный разрез по 2-2 на фиг. 2;
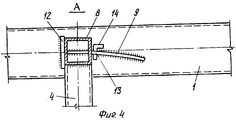
- на фиг. 4 - узел А на фиг. 1;
- на фиг. 5 - общий вид предварительно напряженного шпренгельного блока на стадии монтажа;
- на фиг. 6 - узел Б на фиг. 5;
- на фиг. 7 - узел В на фиг. 5;
- на фиг. 8 - вид по 3 - 3 на фиг. 7.
- на фиг. 1 приводится общий вид предварительно напряженного шпренгельнго блока (вид по 1-1 на фиг. 2) после монтажа;
- на фиг. 2 - план шпренгельного блока по фиг. 1;
- на фиг. 3 - поперечный разрез по 2-2 на фиг. 2;
- на фиг. 4 - узел А на фиг. 1;
- на фиг. 5 - общий вид предварительно напряженного шпренгельного блока на стадии монтажа;
- на фиг. 6 - узел Б на фиг. 5;
- на фиг. 7 - узел В на фиг. 5;
- на фиг. 8 - вид по 3 - 3 на фиг. 7.
Предлагаемый способ монтажа предварительно напряженного шпренгельного блока покрытия заключается в прикреплении к концам элемента жесткости 1 приопорных хомутов 2, объединенных затяжкой усиления 3, и установке диафрагм 4 шпренгеля, для чего приопорные хомуты 2 пропускают в петли 5 на концах затяжки усиления 3 и крепят их к концам элемента жесткости 1 (например, с помощью резьбовых концевиков с гайками), затем направляющие 6 диафрагм 4 шпренгеля упирают в сегментообразные торцы стопоров 7 затяжки усиления 3, а ригели 8 диафрагм 4 шпренгеля, снабженные прорезями на концах, заводят в криволинейные направляющие 9 элемента жесткости 1 и объединяют их временной затяжкой 10 с натяжным устройством 11 (например, стяжной муфтой), при помощи которого затем смещают ригели 8 диафрагм 4 шпренгеля навстречу друг другу до касания с упорами 12 криволинейных направляющих 9, в результате чего диафрагмы 4 шпренгеля поворачиваются относительно точек упора направляющих 6 диафрагм 4 шпренгеля в стопоры 7 затяжки 3, после чего в отверстия 13 криволинейных направляющих 9 устанавливают фиксаторы 14 и демонтируют временную затяжку 10.
На концах затяжки 3 устроены петли 5 и стопоры 7, например, в виде спрессованных шайб.
Закрепление временной затяжки 10 к ригелям 8 диафрагм 4 шпренгеля осуществляется, например, с использованием торцевых анкеров.
При стягивании натяжным устройством 11 временной затяжки 10 она укорачивается, что приводит к перемещению ригелей 8 диафрагм 4 шпренгеля навстречу друг другу (в направлении к середине пролета), при этом ригели 8 перемещаются в направляющих 9 (например, листового типа) вплоть до касания с упорами 12.
При перемещении диафрагм 4 шпренгеля из начального наклонного положения в проектное расстояние между осями элемента жесткости 1 и затяжки 3 увеличивается, что приводит к появлению в затяжке 3 и приопорных хомутах 2 растягивающих усилий предварительного напряжения.
Стопоры 7 с сегментообразными торцами, смонтированные на затяжке 3, предотвращают смещение направляющих 6 диафрагм 4 шпренгеля и соответственно нижних концов диафрагм 4 шпренгеля, фиксируя их положение в процессе напряжения временной затяжки 10 натяжным устройством 11. При этом на стопоры 7 воздействуют усилия, возникающие из-за разности горизонтальных составляющих усилий в затяжке 3 и приопорных хомутах 2.
Торцы стопоров 7 затяжки 3, контактирующие с направляющими диафрагм 4 шпренгеля, выполнены сегментообразными, что позволяет обеспечить поворот диафрагм 4 шпренгеля относительно их точек упора в стопоры 7 затяжки 3 и уменьшить необходимые усилия для перемещения ригелей 8 диафрагм 4 шпренгеля навстречу друг другу, что, как следствие, приводит к снижению трудоемкости монтажа.
Криволинейные направляющие 9 выполнены по кривым, радиус кривизны которых равен расстоянию от направляющей 6 диафрагмы 4 шпренгеля в месте пропуска затяжки 3 до прорезей ригеля 8 диафрагмы 4 шпренгеля, что позволяет уменьшить дополнительные усилия при перемещении ригеля 8 диафрагмы 4 шпренгеля (повороте диафрагм 4 шпренгеля) по направляющим 9 элемента жесткости 1, и, как следствие, снизить трудоемкость монтажа в целом.
При натяжении временной затяжки 10 натяжным устройством 11 диафрагмы 4 шпренгеля поворачиваются и соответственно угол α между продольной осью диафрагмы 4 и осью временной затяжки 10 увеличивается, следовательно, усилия во временной затяжке 10 и натяжном устройстве 11, необходимые для перемещения ригелей 8 диафрагмы 4 шпренгеля и равные Fз=Fд•cosα (где Fз - усилие натяжения во временной затяжке 10, Fд - реакция направляющих 9), уменьшаются, что приводит к снижению трудоемкости процесса предварительного напряжения временной затяжки 10 натяжным устройством 11 и, как следствие, к снижению трудоемкости монтажа всего шпренгельного блока покрытия в целом.
Кроме того, отпадает необходимость в стационарном натяжном устройстве (стяжной муфте и т. п.), которое остается на установленном предварительно напряженном шпренгельном блоке покрытия и в дальнейшем не используется.
Демонтируемые временная затяжка 10 и натяжное устройство 11 являются инвентарными элементами многократного применения.
Использование предлагаемого изобретения позволит снизить трудоемкость монтажа предварительно напряженных шпренгельных блоков покрытия на 10... 15%.
ИСПОЛЬЗОВАННЫЕ ИСТОЧНИКИ
1. Авторское свидетельство СССР 802479, Е 04 G 21/12; В 1/22. Исаев П.М. и др. Натяжное устройство преимущественно для предварительного напряжения шпренгельных балок большепролетных покрытий. - Бюл. 5. - 1981.
1. Авторское свидетельство СССР 802479, Е 04 G 21/12; В 1/22. Исаев П.М. и др. Натяжное устройство преимущественно для предварительного напряжения шпренгельных балок большепролетных покрытий. - Бюл. 5. - 1981.
2. Беленя Е.И. Предварительно напряженные несущие металлические конструкции. -М.: Стройиздат, 1975. - с. 250...252 (рис. V.21).
Claims (1)
- Способ монтажа предварительно напряженного шпренгельного блока покрытия, включающий крепление к концам элемента жесткости приопорных хомутов, объединенных затяжкой, и установку диафрагм шпренгеля, отличающийся тем, что приопорные хомуты пропускают в петли на концах затяжки, затем направляющие на концах диафрагм шпренгеля упирают в сегментообразные торцы стопоров затяжки, а ригели диафрагм шпренгеля заводят в криволинейные направляющие элемента жесткости и объединяют их временной затяжкой, снабженной натяжным устройством, с помощью которого смещают ригели диафрагм шпренгеля навстречу друг другу до касания с упорами криволинейных направляющих, после чего устанавливают фиксаторы и демонтируют временную затяжку.
Priority Applications (1)
| Application Number | Priority Date | Filing Date | Title |
|---|---|---|---|
| RU2002121993/03A RU2208103C1 (ru) | 2002-08-12 | 2002-08-12 | Способ монтажа предварительно напряженного шпренгельного блока покрытия |
Applications Claiming Priority (1)
| Application Number | Priority Date | Filing Date | Title |
|---|---|---|---|
| RU2002121993/03A RU2208103C1 (ru) | 2002-08-12 | 2002-08-12 | Способ монтажа предварительно напряженного шпренгельного блока покрытия |
Publications (1)
| Publication Number | Publication Date |
|---|---|
| RU2208103C1 true RU2208103C1 (ru) | 2003-07-10 |
Family
ID=29212228
Family Applications (1)
| Application Number | Title | Priority Date | Filing Date |
|---|---|---|---|
| RU2002121993/03A RU2208103C1 (ru) | 2002-08-12 | 2002-08-12 | Способ монтажа предварительно напряженного шпренгельного блока покрытия |
Country Status (1)
| Country | Link |
|---|---|
| RU (1) | RU2208103C1 (ru) |
Citations (3)
| Publication number | Priority date | Publication date | Assignee | Title |
|---|---|---|---|---|
| US4353190A (en) * | 1979-03-02 | 1982-10-12 | Gleeson Maurice J | Stiffened elongate support member |
| GB2174430A (en) * | 1985-05-04 | 1986-11-05 | Tartan Buildings Limited | Improvements in and relating to a beam for use in buildings |
| SU1308731A1 (ru) * | 1985-04-29 | 1987-05-07 | Липецкий политехнический институт | Способ монтажа предварительно напр женной комбинированной системы |
-
2002
- 2002-08-12 RU RU2002121993/03A patent/RU2208103C1/ru not_active IP Right Cessation
Patent Citations (3)
| Publication number | Priority date | Publication date | Assignee | Title |
|---|---|---|---|---|
| US4353190A (en) * | 1979-03-02 | 1982-10-12 | Gleeson Maurice J | Stiffened elongate support member |
| SU1308731A1 (ru) * | 1985-04-29 | 1987-05-07 | Липецкий политехнический институт | Способ монтажа предварительно напр женной комбинированной системы |
| GB2174430A (en) * | 1985-05-04 | 1986-11-05 | Tartan Buildings Limited | Improvements in and relating to a beam for use in buildings |
Non-Patent Citations (1)
| Title |
|---|
| БЕЛЕНЯ Е.И. Предварительно напряженные несущие металлические конструкции. - М.: Стройиздат, 1975, с.250-252, (рис.V.21). * |
Similar Documents
| Publication | Publication Date | Title |
|---|---|---|
| US6513287B1 (en) | Apparatus for forming a dead-end anchorage of a post-tension system | |
| US4607470A (en) | Pre-stressed construction element | |
| RU2208103C1 (ru) | Способ монтажа предварительно напряженного шпренгельного блока покрытия | |
| KR970070374A (ko) | 프리캐스트 콘크리트 들보의 설치공법 | |
| JP3049143B2 (ja) | 大スパン架構体およびその構築方法 | |
| KR101642103B1 (ko) | 철근 콘크리트 고정구를 이용한 케이블 월 시스템 | |
| JP2003138523A (ja) | 張弦桁橋の構築方法 | |
| JP3055081B2 (ja) | 緊張材の定着方法 | |
| RU2188915C1 (ru) | Способ монтажа предварительно напряженной шпренгельной рамы | |
| KR20140088472A (ko) | 조절용 긴장재로 조절되는 온도 프리스트레스가 도입된 임시구조물용 거더 및 그 제조방법 | |
| RU2280133C1 (ru) | Способ усиления балки шпренгелем | |
| RU2187608C1 (ru) | Способ усиления балки предварительно напряженным шпренгелем | |
| JPH09158387A (ja) | 屋根架構 | |
| CN219753557U (zh) | 房屋建筑抗震机构 | |
| JPH01268947A (ja) | 端部が鉄筋コンクリート造で中央部が鉄骨造の梁 | |
| SU1761885A2 (ru) | Способ возведени многоэтажного здани | |
| NL1011695C1 (nl) | Konstruktie(wijze) ten behoeve van de ondersteuning van een bestaande (systeem) vloerdraagkonstruktie. | |
| RU2190735C1 (ru) | Способ комбинированного предварительного напряжения перфорированной шпренгельной балки | |
| RU2344224C2 (ru) | Комбинированная висячая конструкция | |
| JPH11182633A (ja) | ケーブルの張力付与装置およびケーブルの張設方法 | |
| JP2601752B2 (ja) | 曲面型わく | |
| RU2208104C1 (ru) | Способ монтажа предварительно напряженной шпренгельной балки | |
| JPH08158478A (ja) | アーチ構造物の構築方法 | |
| JPH0441733B2 (ru) | ||
| RU2344225C2 (ru) | Комбинированная висячая конструкция |
Legal Events
| Date | Code | Title | Description |
|---|---|---|---|
| MM4A | The patent is invalid due to non-payment of fees |
Effective date: 20040813 |