RU2018103C1 - Устройство для измерения кинематических характеристик гусеничной машины - Google Patents

Устройство для измерения кинематических характеристик гусеничной машины Download PDF

Info

Publication number
RU2018103C1
RU2018103C1 SU4920647A RU2018103C1 RU 2018103 C1 RU2018103 C1 RU 2018103C1 SU 4920647 A SU4920647 A SU 4920647A RU 2018103 C1 RU2018103 C1 RU 2018103C1
Authority
RU
Russia
Prior art keywords
rotation
horizontal
rod
fixed
sensor
Prior art date
Application number
Other languages
English (en)
Inventor
В.П. Аврамов
С.П. Клепиков
О.Н. Агапов
В.В. Епифанов
Original Assignee
Малое государственное научно-производственное коммерческое предприятие "Фирма "Манаком"
Priority date (The priority date is an assumption and is not a legal conclusion. Google has not performed a legal analysis and makes no representation as to the accuracy of the date listed.)
Filing date
Publication date
Application filed by Малое государственное научно-производственное коммерческое предприятие "Фирма "Манаком" filed Critical Малое государственное научно-производственное коммерческое предприятие "Фирма "Манаком"
Priority to SU4920647 priority Critical patent/RU2018103C1/ru
Application granted granted Critical
Publication of RU2018103C1 publication Critical patent/RU2018103C1/ru

Links

Images

Landscapes

  • Vehicle Body Suspensions (AREA)

Abstract

Использование: в транспортном машиностроении для исследования движения гусеничных машин. Сущность изобретения: измерительное колесо 6 установлено на горизонтальной оси 7, смонтированной на тяге 1, закрепленной шарнирно на корпусе гусеничной машины с помощью кронштейна 3, между тягой 1 и корпусом установлена пружина 8, закрепленная одним концом на вертикальной оси вращения тяги 1, а другим - на тяге. 1 з.п. ф-лы, 3 ил.

Description

Изобретение относится к транспортному машиностроению и может быть использовано при исследовании движения гусеничных машин.
Известно устройство для измерения кинематических характеристик гусеничной машины, содержащее тягу, соединенную одним концом со скрепленным с корпусом гусеничной машины кронштейном посредством двухстепенного шарнира с горизонтальной и вертикальной осями вращения, измерительное колесо для взаимодействия с опорной поверхностью с горизонтальной осью вращения, закрепленное на другом конце тяги, пружину, закрепленную одним концом на тяге, установленный на измерительном колесе импульсный датчик частоты вращения измерительного колеса, датчики углов поворота тяги в горизонтальной и вертикальной плоскостях, имеющие неподвижные исполнительные элементы и подвижные чувствительные элементы, последние из которых соединены соответственно с вертикальной и горизонтальной осями двухстепенного шарнира, и блок регистрации, к входам которого подключены упомянутые датчики [1].
Это устройство позволяет измерить ряд кинематических характеристик гусеничной машины, но имеет следующие недостатки: низкую достоверность из-за деформации пружины при вертикальном перемещении колеса. Так как один конец пружины закреплен к тяге, а другой - к кронштейну, скрепленному с корпусом гусеничной машины, то при повороте последней появляется составляющая усилия пружины, которая стремится сместить тягу с колесом в боковом направлении. Такое смещение приводит к боковому уводу колеса и, следовательно, снижению точности измерений. Устройство обладает малыми функциональными возможностями, не позволяет определить основные характеристики поворота гусеничной машины - угловую скорость поворота, скорости буксования гусениц, радиус поворота и смещение полюса поворота, так как для определения последних необходимо измерить скорости и выявить траектории движения обоих (забегающего и отстающего) бортов гусеничной машины.
Цель изобретения - повышение точности измерений и расширение функциональных возможностей.
Достигается это тем, что в устройстве для измерения кинематических характеристик машины, содержащем тягу, соединенную одним концом со скрепленным с корпусом гусеничной машины кронштейном посредством двухстепенного шарнира с горизонтальной и вертикальной осями вращения, измерительное колесо для взаимодействия с опорной поверхностью с горизонтальной осью вращения, закрепленное на другом конце тяги, пружину, закрепленную одним концом на тяге, установленный на измерительном колесе импульсный датчик частоты вращения измерительного колеса, датчики углов поворота тяги в горизонтальной и вертикальной плоскостях, имеющие неподвижные исполнительные элементы и подвижные чувствительные элементы, последние из которых соединены соответственно с вертикальной и горизонтальной осями двухстепенного шарнира, и блок регистрации, к входам которого подключены упомянутые датчики, согласно изобретению другим концом пружина закреплена на вертикальной оси шарнира, причем неподвижный исполнительный элемент датчика угла поворота тяги в горизонтальной плоскости закреплен на кронштейне, а неподвижный исполнительный элемент датчика угла поворота тяги в вертикальной плоскости закреплен на тяге, при этом на горизонтальной оси измерительного колеса установлены тензодатчики, через усилитель подключенные к блоку регистрации.
Кроме того, устройство снабжено установленным на вертикальной оси шарнира и подключенным к блоку регистрации гироскопическим датчиком угловой скорости, дополнительным кронштейном, двухстепенным шарниром, тягой, измерительным колесом, датчиками углов поворота тяги в горизонтальной и вертикальной плоскостях, импульсным датчиком частоты вращения, выполненными, установленными и связанными между собой аналогично первым, причем оба кронштейна закреплены симметрично друг другу по обе стороны от продольной оси машины, а вертикальные оси двухстепенных шарниров расположены на одной прямой, перпендикулярной продольной оси машины.
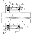
На фиг.1 изображено устройство, вид сбоку; на фиг.2 - структурная схема измерительного комплекса; на фиг.3 - то же, вид сверху.
Устройство содержит тягу 1, соединенную одним концом со скрепленным с корпусом 2 гусеничной машины кронштейном 3 посредством двухстепенного шарнира с горизонтальной 4 и вертикальной 5 осями вращения; колесо 6, шарнирно установленное на дополнительной горизонтальной оси 7, смонтированной на другом конце тяги 1, пружину 8, закрепленную одним концом к тяге 1, импульсный датчик 9 частоты вращения колеса 6, первый датчик 10 угла поворота, подвижная часть которого соединена с вертикальной осью 5 вращения, второй датчик 11 угла поворота, подвижная часть которого соединена с горизонтальной осью 4 вращения , блок регистрации 12, к входам которого подключены упомянутые датчики 9, 10, 11. Свободный конец пружины 8 прикреплен к вертикальной оси 5 вращения, корпус первого датчика 10 угла поворота закреплен на кронштейне 3, корпус второго датчика 11 угла поворота закреплен на тяге 1, дополнительная горизонтальная ось 7 выполнена тензометрической, а соответствующие тензодатчики 13 подключены к усилителю 14, выход которого подключен к входу блока регистрации 12. Устройство снабжено гироскопическим датчиком 15 угловой скорости, скрепленным с вертикальной осью 5 вращения, выход которого подключен к входу блока регистрации 12 и установлено по обоим бортам гусеничной машины так, что точки пересечения вертикальных осей 5 вращения с опорной поверхностью 16 располагаются на одной линии 17, перпендикулярной продольной оси 18 гусеничной машины.
Работает устройство следующим образом. При движении гусеничной машины импульсный датчик 9 вырабатывает последовательность импульсов, частота следования которых пропорциональна скорости движения соответствующего борта гусеничной машины, первый датчик 10 угла поворота вырабатывает сигнал, пропорциональный углу поворота, и характеризует траекторию движения соответствующего борта, второй датчик 11 - сигнал, определяющий профиль опорной поверхности 16, тензодатчики 13, расположенные на дополнительной горизонтальной оси 7, сигнал, пропорциональный усилию прижатия колеса 6 к опорной поверхности 16, датчик 15 угловой скорости - сигнал, пропорциональный угловой скорости поворота. Сигналы с датчиков 9, 10, 11 и 15 непосредственно поступают на входы блока регистрации 12. Сигнал с тензодатчиков 13 вначале усиливается с помощью усилителя 14, а затем также поступают на вход блока регистрации 12. Датчики 9, 10, 11 и 15, усилитель 14 и блок-регистрации 12 запитываются от источников стабилизированного напряжения (условно не показаны).
Измерение усилия прижатия колеса 6 к опорной поверхности 16 позволяет учесть изменение радиуса качения колеса 6 и повысить точность определения скорости движения. Так как один конец пружины закреплен к тяге 1, а другой - к вертикальной оси 5 вращения, то исключается боковой увод колеса 6 при поворота гусеничной машины и повышается точность измерения траектории движения. Введение датчика 15 угловой скорости позволяет определить угловую скорость поворота. Установка устройства на левом и правом бортах позволяет измерить скорости и выявить траектории движения обоих (забегающего и отстающего) бортов, что позволяет после обработки результатов измерения определить ряд основных кинематических характеристик криволинейного движения (поворота) гусеничной машины - радиус поворота, смещение полюса поворота и скорости буксования гусениц.

Claims (2)

1. УСТРОЙСТВО ДЛЯ ИЗМЕРЕНИЯ КИНЕМАТИЧЕСКИХ ХАРАКТЕРИСТИК ГУСЕНИЧНОЙ МАШИНЫ, содержащее тягу, соединенную одним концом со скрепленным с корпусом гусеничной машины кронштейном посредством двухстепенного шарнира с горизонтальной и вертикальной осями вращения, измерительное колесо для взаимодействия с опорной поверхностью с горизонтальной осью вращения, закрепленное на другом конце тяги, пружину, закрепленную одним концом на тяге, установленный на измерительном колесе импульсный датчик частоты вращения измерительного колеса, датчики углов поворота тяги в горизонтальной и вертикальной плоскостях, имеющие неподвижные исполнительные элементы и подвижные чувствительные элементы, последние из которых соединены соответственно с вертикальной и горизонтальной осями двухстепенного шарнира, и блок регистрации, к входам которого подключены упомянутые датчики, отличающееся тем, что другим концом пружина закреплена на вертикальной оси шарнира, причем неподвижный исполнительный элемент датчика угла поворота тяги в горизонтальной плоскости закреплен на кронштейне, а неподвижный исполнительный элемент датчика угла поворота тяги в вертикальной плоскости закреплен на тяге, при этом на горизонтальной оси измерительного колеса установлены тензодатчики, через усилитель подключенные к блоку регистрации.
2. Устройство по п.1, отличающееся тем, что оно снабжено установленным на вертикальной оси шарнира и подключенным к блоку регистрации гироскопическим датчиком угловой скорости, дополнительным кронштейном, двухстепенным шарниром, тягой, измерительным колесом, датчиками углов поворота тяги в горизонтальной и вертикальной плоскостях, импульсным датчиком частоты вращения, выполненными, установленными и связанными между собой аналогично первым, причем оба кронштейна закреплены симметрично друг другу по обе стороны от продольной оси машины, а вертикальные оси двухстепенных шарниров расположены на одной прямой, перпендикулярной продольной оси машины.
SU4920647 1991-03-19 1991-03-19 Устройство для измерения кинематических характеристик гусеничной машины RU2018103C1 (ru)

Priority Applications (1)

Application Number Priority Date Filing Date Title
SU4920647 RU2018103C1 (ru) 1991-03-19 1991-03-19 Устройство для измерения кинематических характеристик гусеничной машины

Applications Claiming Priority (1)

Application Number Priority Date Filing Date Title
SU4920647 RU2018103C1 (ru) 1991-03-19 1991-03-19 Устройство для измерения кинематических характеристик гусеничной машины

Publications (1)

Publication Number Publication Date
RU2018103C1 true RU2018103C1 (ru) 1994-08-15

Family

ID=21565876

Family Applications (1)

Application Number Title Priority Date Filing Date
SU4920647 RU2018103C1 (ru) 1991-03-19 1991-03-19 Устройство для измерения кинематических характеристик гусеничной машины

Country Status (1)

Country Link
RU (1) RU2018103C1 (ru)

Cited By (1)

* Cited by examiner, † Cited by third party
Publication number Priority date Publication date Assignee Title
RU2171461C1 (ru) * 1999-12-15 2001-07-27 ФПГ "Сибагромаш" Способ определения координат машинно-тракторного агрегата на поле и устройство для его осуществления

Non-Patent Citations (1)

* Cited by examiner, † Cited by third party
Title
Авторское свидетельство СССР N 1323898, кл. G 01M 17/00, 1987. *

Cited By (1)

* Cited by examiner, † Cited by third party
Publication number Priority date Publication date Assignee Title
RU2171461C1 (ru) * 1999-12-15 2001-07-27 ФПГ "Сибагромаш" Способ определения координат машинно-тракторного агрегата на поле и устройство для его осуществления

Similar Documents

Publication Publication Date Title
US6419240B1 (en) Vehicle roll control
US6588769B2 (en) Vehicle roll control
US4951198A (en) Friction detecting device for vehicles
JPH0249136A (ja) 車両特に自動車などにおける横風の影響を測定する装置
JP3285257B2 (ja) 自動車の後退走行の検出方法
KR920002019B1 (ko) 캐터필러 차량의 운동 결정 시스템
WO2005023614A3 (en) Stability control apparatus and load mesuring instrument for wheel supporting rolling bearing unit
EP1031814A4 (en) ANGULAR SPEED SENSOR
JPH09152389A (ja) ショックアブソーバの減衰力測定装置
RU2018103C1 (ru) Устройство для измерения кинематических характеристик гусеничной машины
JPH01267462A (ja) 車両スリップ角測定装置
US5801507A (en) Acceleration sensor
JP2689357B2 (ja) 相対方位検出方式
JP3219204B2 (ja) 路面凹凸計測車
GB2448820A (en) Dynamic percent grade measurement device
JPS63145118A (ja) スタビライザの捩れ量検出装置
JPH0536219B2 (ru)
JPS6112010U (ja) 車両軌道及び道路面の検測装置
JP3244619B2 (ja) 移動体の状態判定装置
SU1014783A1 (ru) Устройство дл определени пространственных перемещений кузова рельсового транспортного средства
CN212267421U (zh) 一种车辆防侧翻装置
JPH06344942A (ja) ホイールアライメント計測方法およびその装置
KR200164499Y1 (ko) 자동차의 외관치수 측정로봇
SU1717994A1 (ru) Динамометрическое устройство дл испытаний транспортного средства
KR0184748B1 (ko) 타이어 휠의 슬립 앵글 측정 방법