RU166314U1 - Пистолет-распылитель с вращающейся форсункой - Google Patents
Пистолет-распылитель с вращающейся форсункой Download PDFInfo
- Publication number
- RU166314U1 RU166314U1 RU2015147550/05U RU2015147550U RU166314U1 RU 166314 U1 RU166314 U1 RU 166314U1 RU 2015147550/05 U RU2015147550/05 U RU 2015147550/05U RU 2015147550 U RU2015147550 U RU 2015147550U RU 166314 U1 RU166314 U1 RU 166314U1
- Authority
- RU
- Russia
- Prior art keywords
- specified
- tube
- gas
- gas supply
- rotating nozzle
- Prior art date
Links
Images
Classifications
-
- B—PERFORMING OPERATIONS; TRANSPORTING
- B05—SPRAYING OR ATOMISING IN GENERAL; APPLYING FLUENT MATERIALS TO SURFACES, IN GENERAL
- B05B—SPRAYING APPARATUS; ATOMISING APPARATUS; NOZZLES
- B05B3/00—Spraying or sprinkling apparatus with moving outlet elements or moving deflecting elements
- B05B3/14—Spraying or sprinkling apparatus with moving outlet elements or moving deflecting elements with oscillating elements; with intermittent operation
- B05B3/16—Spraying or sprinkling apparatus with moving outlet elements or moving deflecting elements with oscillating elements; with intermittent operation driven or controlled by the liquid or other fluent material discharged, e.g. the liquid actuating a motor before passing to the outlet
-
- B—PERFORMING OPERATIONS; TRANSPORTING
- B05—SPRAYING OR ATOMISING IN GENERAL; APPLYING FLUENT MATERIALS TO SURFACES, IN GENERAL
- B05B—SPRAYING APPARATUS; ATOMISING APPARATUS; NOZZLES
- B05B3/00—Spraying or sprinkling apparatus with moving outlet elements or moving deflecting elements
- B05B3/02—Spraying or sprinkling apparatus with moving outlet elements or moving deflecting elements with rotating elements
- B05B3/04—Spraying or sprinkling apparatus with moving outlet elements or moving deflecting elements with rotating elements driven by the liquid or other fluent material discharged, e.g. the liquid actuating a motor before passing to the outlet
- B05B3/06—Spraying or sprinkling apparatus with moving outlet elements or moving deflecting elements with rotating elements driven by the liquid or other fluent material discharged, e.g. the liquid actuating a motor before passing to the outlet by jet reaction
-
- B—PERFORMING OPERATIONS; TRANSPORTING
- B05—SPRAYING OR ATOMISING IN GENERAL; APPLYING FLUENT MATERIALS TO SURFACES, IN GENERAL
- B05B—SPRAYING APPARATUS; ATOMISING APPARATUS; NOZZLES
- B05B1/00—Nozzles, spray heads or other outlets, with or without auxiliary devices such as valves, heating means
- B05B1/005—Nozzles or other outlets specially adapted for discharging one or more gases
-
- B—PERFORMING OPERATIONS; TRANSPORTING
- B05—SPRAYING OR ATOMISING IN GENERAL; APPLYING FLUENT MATERIALS TO SURFACES, IN GENERAL
- B05B—SPRAYING APPARATUS; ATOMISING APPARATUS; NOZZLES
- B05B3/00—Spraying or sprinkling apparatus with moving outlet elements or moving deflecting elements
- B05B3/02—Spraying or sprinkling apparatus with moving outlet elements or moving deflecting elements with rotating elements
- B05B3/04—Spraying or sprinkling apparatus with moving outlet elements or moving deflecting elements with rotating elements driven by the liquid or other fluent material discharged, e.g. the liquid actuating a motor before passing to the outlet
-
- B—PERFORMING OPERATIONS; TRANSPORTING
- B05—SPRAYING OR ATOMISING IN GENERAL; APPLYING FLUENT MATERIALS TO SURFACES, IN GENERAL
- B05B—SPRAYING APPARATUS; ATOMISING APPARATUS; NOZZLES
- B05B7/00—Spraying apparatus for discharge of liquids or other fluent materials from two or more sources, e.g. of liquid and air, of powder and gas
- B05B7/02—Spray pistols; Apparatus for discharge
- B05B7/06—Spray pistols; Apparatus for discharge with at least one outlet orifice surrounding another approximately in the same plane
- B05B7/062—Spray pistols; Apparatus for discharge with at least one outlet orifice surrounding another approximately in the same plane with only one liquid outlet and at least one gas outlet
- B05B7/063—Spray pistols; Apparatus for discharge with at least one outlet orifice surrounding another approximately in the same plane with only one liquid outlet and at least one gas outlet one fluid being sucked by the other
- B05B7/064—Spray pistols; Apparatus for discharge with at least one outlet orifice surrounding another approximately in the same plane with only one liquid outlet and at least one gas outlet one fluid being sucked by the other the liquid being sucked by the gas
-
- B—PERFORMING OPERATIONS; TRANSPORTING
- B05—SPRAYING OR ATOMISING IN GENERAL; APPLYING FLUENT MATERIALS TO SURFACES, IN GENERAL
- B05B—SPRAYING APPARATUS; ATOMISING APPARATUS; NOZZLES
- B05B7/00—Spraying apparatus for discharge of liquids or other fluent materials from two or more sources, e.g. of liquid and air, of powder and gas
- B05B7/24—Spraying apparatus for discharge of liquids or other fluent materials from two or more sources, e.g. of liquid and air, of powder and gas with means, e.g. a container, for supplying liquid or other fluent material to a discharge device
- B05B7/2402—Apparatus to be carried on or by a person, e.g. by hand; Apparatus comprising containers fixed to the discharge device
- B05B7/2405—Apparatus to be carried on or by a person, e.g. by hand; Apparatus comprising containers fixed to the discharge device using an atomising fluid as carrying fluid for feeding, e.g. by suction or pressure, a carried liquid from the container to the nozzle
- B05B7/2435—Apparatus to be carried on or by a person, e.g. by hand; Apparatus comprising containers fixed to the discharge device using an atomising fluid as carrying fluid for feeding, e.g. by suction or pressure, a carried liquid from the container to the nozzle the carried liquid and the main stream of atomising fluid being brought together by parallel conduits placed one inside the other
-
- B—PERFORMING OPERATIONS; TRANSPORTING
- B05—SPRAYING OR ATOMISING IN GENERAL; APPLYING FLUENT MATERIALS TO SURFACES, IN GENERAL
- B05B—SPRAYING APPARATUS; ATOMISING APPARATUS; NOZZLES
- B05B7/00—Spraying apparatus for discharge of liquids or other fluent materials from two or more sources, e.g. of liquid and air, of powder and gas
- B05B7/24—Spraying apparatus for discharge of liquids or other fluent materials from two or more sources, e.g. of liquid and air, of powder and gas with means, e.g. a container, for supplying liquid or other fluent material to a discharge device
- B05B7/26—Apparatus in which liquids or other fluent materials from different sources are brought together before entering the discharge device
- B05B7/28—Apparatus in which liquids or other fluent materials from different sources are brought together before entering the discharge device in which one liquid or other fluent material is fed or drawn through an orifice into a stream of a carrying fluid
- B05B7/30—Apparatus in which liquids or other fluent materials from different sources are brought together before entering the discharge device in which one liquid or other fluent material is fed or drawn through an orifice into a stream of a carrying fluid the first liquid or other fluent material being fed by gravity, or sucked into the carrying fluid
-
- B—PERFORMING OPERATIONS; TRANSPORTING
- B08—CLEANING
- B08B—CLEANING IN GENERAL; PREVENTION OF FOULING IN GENERAL
- B08B3/00—Cleaning by methods involving the use or presence of liquid or steam
- B08B3/02—Cleaning by the force of jets or sprays
- B08B3/026—Cleaning by making use of hand-held spray guns; Fluid preparations therefor
- B08B3/028—Spray guns
-
- B—PERFORMING OPERATIONS; TRANSPORTING
- B08—CLEANING
- B08B—CLEANING IN GENERAL; PREVENTION OF FOULING IN GENERAL
- B08B5/00—Cleaning by methods involving the use of air flow or gas flow
- B08B5/02—Cleaning by the force of jets, e.g. blowing-out cavities
-
- B—PERFORMING OPERATIONS; TRANSPORTING
- B60—VEHICLES IN GENERAL
- B60S—SERVICING, CLEANING, REPAIRING, SUPPORTING, LIFTING, OR MANOEUVRING OF VEHICLES, NOT OTHERWISE PROVIDED FOR
- B60S3/00—Vehicle cleaning apparatus not integral with vehicles
- B60S3/04—Vehicle cleaning apparatus not integral with vehicles for exteriors of land vehicles
- B60S3/044—Hand-held cleaning arrangements with liquid or gas distributing means
Landscapes
- Nozzles (AREA)
Abstract
1. Пистолет-распылитель с вращающейся форсункой, содержащий:рукоять, включающую воздухоприемную трубку, соединяемую с внешним источником воздуха высокого давления для поступления сжатого воздуха, седло клапана, газоподводящую трубку, соединенную с передним концом указанного седла клапана, спусковой крючок, предназначенный для открывания указанного седла клапана с целью пропуска потока указанного сжатого воздуха в указанную газоподводящую трубку, причем указанная газоподводящая трубка включает воздухоподающий канал, сообщающийся с указанным седлом клапана и указанной воздухоприемной трубкой, и стыковочно-соединительный участок, расположенный на ее наружном конце вокруг конца указанного воздухоподающего канала; ивращающийся формирователь струи, причем указанный формирователь струи состоит из газопроводящей трубки, присоединенной к указанному стыковочно-соединительному участку указанной газоподводящей трубки, причем указанная газопроводящая трубка включает соединительный участок, расположенный на ее конце, дальнем по отношению к указанной газоподводящей трубке, и газопроводящий канал, проходящий в осевом направлении через ее противоположные концы и сообщающийся с указанным воздухоподающим каналом, и соединительной муфты, подшипника и вращающейся форсунки, установленных на указанный соединительный участок газопроводящей трубки, причем указанная соединительная муфта установлена на указанный подшипник и может приводиться в движение указанной вращающейся форсункой для вращения относительно указанного подшипника, причем указанная вращающаяся форсунка установлена на указанную
Description
ПРЕДПОСЫЛКИ СОЗДАНИЯ ПОЛЕЗНОЙ МОДЕЛИ
1. Область применения
Настоящая полезная модель касается конструкции пистолета-распылителя и, в частности, пистолета-распылителя с вращающейся форсункой, включающего рукоять, снабженную газоподводящей трубкой, приставную трубку, присоединенную к газоподводящей трубке, и вращающийся формирователь струи, присоединенный к газоподводящей трубке и удерживающий вращающуюся форсунку в выпускном отверстии приставной трубки, с возможностью ее вращения, для эжекции сжатого воздуха.
2. Описание аналогов и прототипа
По мере развития техники все аспекты качества нашей жизни непрерывно совершенствовались. Для целей транспортировки широко используются автомобили и мотоциклы в качестве личных транспортных средств. Количество автомобилей и мотоциклов постоянно растет. Для мойки автомобилей и мотоциклов применяется ряд автоматических моющих машин. В этих автоматических моющих машинах для чистки автомобилей обычно применяются вращающиеся щетки. Чистка автомобилей вращающимися щетками не может эффективно удалять пятна и грязь с кромок или выпуклых и вогнутых поверхностей кузова автомобиля. Некоторые пользователи моют автомобиль вручную чистой водой, а затем удаляют остаточные водяные пятна с кузова автомобиля сухой тряпкой. Однако чистка автомобиля таким способом требует много усилий и времени.
При осуществлении генеральной чистки пользователи обычно воздействуют на поверхность обрабатываемого объекта струей воды и одновременно протирают поверхность объекта щеткой или тряпкой. При чистке автомобиля или здания необходимо воздействовать на очищаемую поверхность сильной струей воды, а затем протирать поверхность щеткой или тряпкой. Для создания сильной струи воды, подаваемой на очищаемую поверхность, обычно водяной шланг присоединяют к водопроводному крану и сдавливают конец водяного шланга пальцами, направляя эжектируемую из конца шланга воду на очищаемую поверхность. После промывки поверхности струей воды для чистки помытой поверхности пользуются щеткой или тряпкой. Этот способ чистки является трудоемким и требует много воды, а, следовательно, не отвечает требованиям экономии энергии и воды. С целью решения проблемы излишней траты водных ресурсов созданы некоторые проекты, сочетающие использование воздуха высокого давления с водяным пистолетом для усиления воздействия сильной струи воды и контроля времени водопотребления, чтобы избежать причин больших потерь воды. На фиг. 8 показан традиционный пистолет-распылитель с вращающейся форсункой, выбранный в качестве прототипа (патентная заявка США №2003/0029933 А1, кл. В05В 7/12, публ. 13.02.2003 г.). Пистолет-распылитель А с вращающейся форсункой включает рукоятку А1, Т-образную трубку А2, жидкостной бачок A3 и узел В распылительного сопла. Узел В распылительного сопла включает рупорообразный тубус В1, имеющий винтовое соединение В11, расположенное на одном его конце и сочлененное с воздухоподающим концом А4 Т-образной трубки А2, вращающуюся трубку С, имеющую соединительный элемент С1, расположенный на одном ее конце, и вращательно присоединенную к воздухоподоющему концу А4 Т-образной трубки А2 внутри винтового соединения ВП, противовесы С2, смонтированные вокруг периферии вращающейся трубки С, погружную трубку С3. пропущенную сквозь вращающуюся трубку С и Т-образную трубку А2 и опущенную в жидкостной бачок A3, и форсуночный распылитель С31, расположенный на конце погружной трубки С3. При применении, поток сжатого воздуха от внешнего источника сжатого воздуха направляется через воздушный канал в рукоятке А1 и Т-образную трубку А2 во вращающуюся трубку С.Когда сжатый воздух проходит через вращающуюся трубку С и форсуночный распылитель С31 погружной трубки С3, создается эффект Вентури - засасывание жидкости из жидкостного бачка A3 в Т-образную трубку А2 для смешивания со сжатым воздухом вокруг форсуночного распылителя С31, с тем чтобы воздушно-жидкостная смесь могла быть вытолкнута из рупорообразного тубуса В1 в виде аэрозоля мелких капелек для применения. Однако в действительной заявке, когда вращающаяся трубка С пистолета-распылителя А с вращающейся форсункой потоком сжатого воздуха приводится во вращение в рупорообразном тубусе В1, достигая высокой скорости, вращающаяся трубка С и противовесы С2 будут 3
тереться о внутреннюю стенку рупорообразного тубуса В1, вызывая повреждения рупорообразного тубуса В1 в процессе эксплуатации. После продолжительного использования соединительный участок между соединительным элементом С1 вращающейся трубки С и воздухоподающим концом А4 Т-образной трубки А2 может легко сломаться, и отломившийся компонент может быть выброшен из рупорообразного тубуса В1, приведя к несчастному случаю.
Поэтому желательно создать пистолет-распылитель с вращающейся форсункой, устраняющий проблему трения между вращающейся форсункой и внутренней стенкой рупорообразного тубуса, а также проблему возможности поломки вращающейся трубки в процессе работы.
Признаки прототипа, совпадающие с существенными признаками заявляемой полезной модели: рукоять, включающая воздухоприемную трубку, соединяемую с внешним источником воздуха высокого давления для поступления сжатого воздуха, седло клапана, газоподводящая трубка, соединенная с передним концом указанного седла клапана, спусковой крючок, предназначенный для открывания указанного седла клапана с целью пропуска потока указанного сжатого воздуха в указанную газоподводящую трубку, причем указанная газоподводящая трубка включает воздухоподающий канал, сообщающийся с указанным седлом клапана и указанной воздухоприемной трубкой, стыковочно-соединительный участок, расположенный на ее наружном конце вокруг конца указанного воздухоподающего канала; Т-образная трубка, жидкостной бачок, узел распылительного сопла в виде рупорообразнго тубуса.
КРАТКОЕ ОПИСАНИЕ ПОЛЕЗНОЙ МОДЕЛИ
Настоящая полезная модель была разработана на основе вышеуказанных обстоятельств. Поэтому основной целью настоящей полезной модели является создать пистолет-распылитель с вращающейся форсункой, который включает рукоять, снабженную газоподводящей трубкой и спусковым крючком, приставную трубку, присоединенную к газоподводящей трубке, и вращающийся формирователь струи, присоединенный к газоподводящей трубке и удерживающий вращающуюся форсунку в выпускном отверстии приставной трубки с возможностью ее вращения. Так, при воздействии на спусковой крючок рукояти, чтобы позволить потоку сжатого воздуха поступить в газоподводящую трубку по направлению к вращающейся форсунке, входящий поток сжатого воздуха заставляет вращающуюся форсунку вращающегося формирователя струи вращаться в выпускном отверстии приставной трубки.
Предпочтительно, чтобы пистолет-распылитель с вращающейся форсункой состоял из рукояти, которая включает управляемое спусковым крючком седло
клапана и газоподводящую трубку, простирающуюся от седла клапана до стыковочно-соединительного участка, приставной трубки, присоединенной к стыковочно-соединительному участку газоподводящей трубки, и вращающегося формирователя струи, который включает газопроводящую трубку, подсоединенную к стыковочно-соединительному участку газоподводящей трубки и находящуюся в висячем положении в аккомодационной полости приставной трубки, подшипник, соединительную муфту и вращающуюся форсунку, установленные на соединительный участок газопроводящей трубки. При воздействии на спусковой крючок рукояти сжатый воздух направляется через воздухоприемную трубку рукояти в газопроводящую трубку вращающегося формирователя струи и затем выталкивается из косого отверстия вращающейся форсунки, и одновременно создается центробежная сила, которая заставляет вращающуюся форсунку вращаться в выпускном отверстии приставной трубки, и, таким образом, закрученный поток сжатого воздуха эжектируется из пистолета-распылителя. Также газоподводящая трубка может быть снабжена нижней соединительной трубкой для подсоединения водяного бачка, а водоподающая трубка вмонтирована в газоподводящий канал газоподводящей трубки и простирается от нижней соединительной трубки через газопроводящий канал газопроводящей трубки вращающегося формирователя струи в газоаккумулирующую камеру вращающейся форсунки и завершается водовыпускным концом, вставленным в сквозное отверстие, расположенное во вращающейся форсунке. Таким образом, когда закрученный поток сжатого воздуха эжектируется из кольцевого зазора в сквозном отверстии вокруг водовыпускного конца, поток жидкости засасывается в нижнюю соединительную трубку газоподводящей трубки и водоподающую трубку и эжектируется из водовыпускного конца водоподающей трубки, и жидкость, вытолкнутая из водовыпускного конца, затем превращается в аэрозоль, одновременно сжатый воздух эжектируется из косого отверстия, делая аэрозоль более мелким.
Предпочтительно, чтобы вращающийся формирователь струи состоял из газопроводящей трубки, подшипника, соединительной муфты и вращающейся форсунки. Газопроводящая трубка включает газопроводящий канал, проходящий в осевом направлении через ее противоположные передний и задний концы, находящийся на его конце соединительный участок с установленными на него подшипником, соединительной муфтой и вращающейся форсункой, и соединительный концевой элемент, расположенный на ее противоположном конце и заканчивающийся резьбовым участком, ввинченным в винтовое отверстие в стыковочно-соединительном участке газоподводящей трубки рукояти. Соединительный участок газопроводящей трубки включает соединительный цилиндрический хвостовик сравнительно меньшего внешнего диаметра, простирающийся вперед в осевом направлении от конца газопроводящей трубки, дальнего по отношению к газоподводящей трубке, и трубчатый резьбовой стержень сравнительно меньшего внешнего диаметра, простирающийся вперед в осевом направлении от соединительного цилиндрического хвостовика. Подшипник снабжен осевым отверстием, в которое вставлен соединительный цилиндрический хвостовик. Соединительная муфта включает посадочную выемку, жестко соединенную с наружным кольцом подшипника для синхронного вращения с наружным кольцом подшипника, и наружную резьбу, расположенную вокруг периферии муфты. Вращающаяся форсунка включает внутреннюю резьбу, имеющуюся на одной из ее поверхностей и входящую в зацепление с наружной резьбой соединительной муфты. Также газоаккумулирующая камера вращающейся форсунки выполнена сообщающейся с газопроводящим каналом газопроводящей трубки. Косое отверстие вращающейся форсунки отходит наклонно от газоаккумулирующей камеры наружу от вращающейся форсунки. Таким образом, когда входящий поток сжатого воздуха направляется через газопроводящий канал газопроводящей трубки в газоаккумулирующую камеру вращающейся форсунки, вращающаяся форсунка и соединительная муфта приводятся во вращение вместе с наружным кольцом подшипника относительно газопроводящей трубки, и одновременно сжатый воздух, аккумулированный в газоаккумулирующей камере, эжектируется из вращающейся форсунки через косое отверстие.
Предпочтительно, чтобы газоподводящая трубка была Т-образной трехходовой трубой, содержащей нижнюю соединительную трубку, расположенную с ее нижней стороны. Далее, водяной бачок прикреплен к нижней соединительной трубке газоподводящей трубки и содержит в себе жидкость (такую как вода, детергент, мыло, гидровоск и т.п.). Далее, погружная трубка подсоединена к нижней соединительной трубке и вставлена в водяной бачок для засасывания жидкости в нижнюю соединительную трубку. Далее, водоподающая трубка подсоединена к нижней соединительной трубке и, имея сообщение с погружной трубкой, вставлена в газоподводящий канал газоподводящей трубки; водоподающая трубка завершается водовыпускным концом. Водовыпускной конец водоподающей трубки вставлен в сквозное отверстие во вращающейся форсунке по одну сторону относительно косого отверстия. Таким образом, когда закрученный поток сжатого воздуха эжектируется из кольцевого зазора в сквозном отверстии вокруг водовыпускного конца, поток жидкости засасывается в нижнюю соединительную трубку газоподводящей трубки и водоподающей трубки и эжектируется из водовыпускного конца водоподающей трубки, и жидкость, выталкиваемая из водовыпускного конца, затем превращается в аэрозоль; одновременно сжатый воздух эжектируется из косого отверстия, делая аэрозоль более мелким.
Другие преимущества и особенности настоящей полезной модели могут быть легко поняты из нижеследующего подробного описания с прилагаемыми чертежами, на которых одни и те же элементы конструкции обозначены одинаковыми позициями.
КРАТКОЕ ОПИСАНИЕ ЧЕРТЕЖЕЙ
Фиг. 1 - перспективный вид пистолета-распылителя с вращающейся форсункой сверху и спереди в соответствии с настоящей полезной моделью.
Фиг. 2 - перспективное объемное изображение пистолета-распылителя с вращающейся форсункой с пространственным разделением деталей в соответствии с настоящей полезной моделью.
Фиг. 3 - перспективное объемное изображение с пространственным разделением деталей вращающегося формирователя струи пистолета-распылителя с вращающейся форсункой.
Фиг. 4 - вид пистолета-распылителя с вращающейся форсункой в разрезе, в соответствии с настоящей полезной моделью.
Фиг. 5 - увеличенное изображение узла А фиг. 4.
Фиг. 6 - вид альтернативного образца пистолета-распылителя с вращающейся форсункой в разрезе, в соответствии с настоящей полезной моделью.
Фиг. 7 - увеличенное изображение узла В фиг. 6.
Фиг. 8 - прототип пистолета-распылителя с вращающейся форсункой в соответствии с настоящей полезной моделью, вид в разрезе.
ПОДРОБНОЕ ОПИСАНИЕ ПОЛЕЗНОЙ МОДЕЛИ
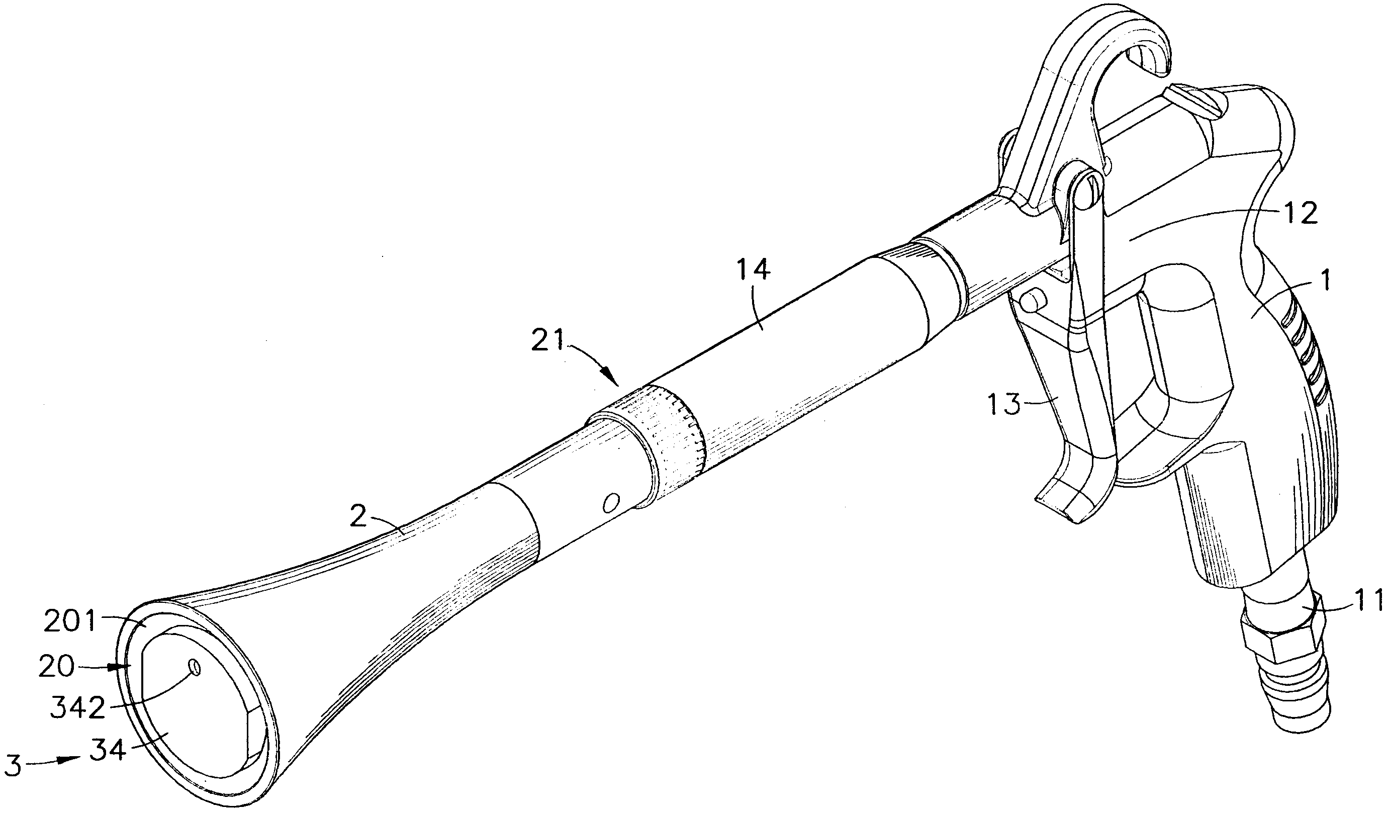
На фиг. 1-5 показаны перспективный вид пистолета-распылителя с вращающейся форсункой сверху и спереди, перспективное объемное изображение пистолета-распылителя с вращающейся форсункой с пространственным разделением деталей, перспективное объемное изображение с пространственным разделением деталей вращающегося формирователя струи пистолета-распылителя с вращающейся форсункой и вид пистолета-распылителя с вращающейся форсункой в разрезе. Как показано, пистолет-распылитель с вращающейся форсункой включает рукоять 1, соединительную трубку 2 и вращающийся формирователь 3 струи.
Рукоять 1 содержит воздухоприемную трубку 11 на ее нижней стороне, седло 12 клапана, расположенное на ее верхней стороне, спусковой крючок 13 и газоподводящую трубку 14. Спусковой крючок 13 предназначен для управления седлом 12 клапана с целью пропуска потока сжатого воздуха от внешнего источника через воздухоприемную трубку 11. Газоподводящая трубка 14 соединена своим задним концом с передним концом седла 12 клапана с другой стороны воздухоприемной трубки 11 и охватывает собой простирающийся в осевом направлении газоподводящий канал 140, сообщающийся с седлом 12 клапана и воздухоприемной трубкой 11. Далее, газоподводящая трубка 14 снабжена стыковочно-соединительным участком 141, расположенным на ее переднем конце, противоположном по отношению к седлу 12 клапана. Стыковочно-соединительный участок 141 представляет с собой стыковочно-соединительный резьбовой стержень 1411, выступающий из переднего конца газоподводящей трубки 14, охватывающей собой винтовое отверстие 1412, сообщающееся с газоподводящим каналом 140.
Приставная трубка 2 включает стыковочно-соединительный концевой элемент 21, расположенный на одном из ее концов, стыковочно-соединительное винтовое отверстие 211, выполненное в стыковочно-соединительном концевом элементе 21, расширенное выпускное отверстие 201, расположенное на ее противоположном конце, и предусмотренную в нем аксиально расположенную аккомодационную полость 20, сообщающуюся со стыковочно-соединительным винтовым отверстием 211 и отверстием 201.
Вращающийся формирователь 3 струи включает газопроводящую трубку 31, подшипник 32, соединительную муфту 33 и вращающуюся форсунку 34. Газопроводящая трубка 31 включает газопроводящий канал, проходящий в осевом направлении через ее противоположные передний и задний концы, соединительный концевой элемент 311, имеющийся на заднем конце, то есть резьбовой участок 3111, простирающийся назад в осевом направлении от заднего конца газопроводящей трубки 31, и соединительный участок 312, имеющийся на переднем конце. Соединительный участок 312 включает соединительный цилиндрический хвостовик 3121, простирающийся вперед в осевом направлении от переднего конца газопроводящей трубки 31, и трубчатый резьбовой стержень 3122, простирающийся вперед в осевом направлении от соединительного цилиндрического хвостовика 3121. Подшипник 32 снабжен осевым отверстием 320, в которое вставлен соединительный цилиндрический хвостовик 3121 соединительного участка 312 газопроводящей трубки 31. Далее, стопорная гайка 321 навинчена на трубчатый резьбовой стержень 3122 для предотвращения спадания подшипника 32 с соединительного цилиндрического хвостовика 3121. Соединительная муфта 33 установлена на газопроводящую трубку 31, причем посадочная выемка 330 жестко соединена с наружным кольцом 322 подшипника 32, а наружная резьба 331 расположена вокруг периферии муфты. Вращающаяся форсунка 34 включает внутреннюю резьбу 341, имеющуюся с одной ее стороны и входящую в зацепление с наружной резьбой 331 соединительной муфты 33, газоаккумулирующую камеру 340, предусмотренную в форсунке и простирающуюся внутрь от наружной резьбы 331, и косое отверстие 342, простирающееся косо вперед от газоаккумулирующей камеры 340 наружу от вращающейся форсунки 34, с эксцентричным расположением.
При сборке, присоедините воздухоприемную трубку 11 рукояти 1 к внешнему источнику высокого давления воздуха. При этом пользователь может воздействовать на спусковой крючок 13 рукояти 1 для управления поступлением сжатого воздуха от внешнего источника высокого давления воздуха через воздухоприемную трубку 11. Далее, уплотнительное кольцо 1413 надевают на стыковочно-соединительный резьбовой стержень 1411 стыковочно-соединительного участка 141 газоподводящей трубки 14 рукояти 1, а затем стыковочно-соединительное винтовое отверстие 211 стыковочно-соединительного концевого элемента 21 приставной трубки 2 навинчивают на стыковочно-соединительный резьбовой стержень 1411 стыковочно-соединительного участка 141 газоподводящей трубки 14 и прижимают к уплотнительному кольцу 1413 перед стыковочно-соединительным концевым элементом 21 приставной трубки 2. Сверх того, перед скреплением стыковочно-соединительного винтового отверстия 211 приставной трубки 2 со стыковочно-соединительным резьбовым стержнем 1411 газоподводящей трубки 14 резьбовой участок 3111 соединительного концевого элемента 311 газопроводящей трубки 31 вращающегося формирователя 3 струи ввинчивают в винтовое отверстие 1412 стыковочно-соединительного участка 141 газоподводящей трубки 14, приставную трубку 2 размещают с передней стороны газоподводящей трубки 14 вокруг газопроводящей трубки 31, а соединительный участок 312 газопроводящей трубки 31 оставляют в расширенном выпускном отверстии 201 приставной трубки 2 в состоянии ожидания, после чего подшипник 32, соединительная муфта 33 и вращающаяся форсунка 34 могут быть установлены на соединительный участок 312 газопроводящей трубки 31 и оставлены свободно вращающимися в расширенном выпускном отверстии 201 с наружной стороны аккомодационной полости 20 приставной трубки 2. Таким образом, рукоять 1, приставная трубка 2 и вращающийся формирователь 3 струи оказываются собранными, чтобы составить пистолет-распылитель с вращающейся форсункой в соответствии с настоящей полезной моделью.
При пользовании, присоедините воздухоприемную трубку 11 рукояти 1 к внешнему источнику высокого давления воздуха (например, к воздушному компрессору), а затем воздействуйте на спусковой крючок 13 рукояти 1 для управления поступлением сжатого воздуха от внешнего источника высокого давления воздуха через воздухоприемную трубку 11 и воздухоподающий канал 121 седла 12 клапана в газоподводящий канал 140 газоподводящей трубки 14, побуждая входящий поток сжатого воздуха проходить через стыковочно-соединительный участок 141 газоподводящей трубки 14 и газопроводящий канал 310 газопроводящей трубки 31 вращающегося формирователя 3 струи в газоаккумулирующую камеру 340 вращающейся форсунки 34 и затем проходить из газоаккумулирующей камеры 340 через отверстие 342 форсунки в наружную среду пистолета-распылителя. Одновременно вращающаяся форсунка 34 и соединительная муфта 33 начинают вращаться на наружном кольце 322 подшипника 32 от давления проходящего через них потока сжатого воздуха, и таким образом сильная струя воздуха непрерывно закручивается и извергается на поверхность объекта (кузов автомобиля или наружное остекление здания) с целью удаления водяной протравы или пыли с поверхности объекта без причинения повреждений.
Кроме того, приставная трубка 2, присоединенная к газоподводящей трубке 14 рукояти 1, может быть рупорообразной, обычной или полигональной трубой.
На фиг. 6 и 7 показаны вид альтернативного образца пистолета-распылителя с вращающейся форсункой в разрезе, в соответствии с настоящей полезной моделью, и увеличенное изображение узла B фиг. 6. Этот альтернативный образец целесообразен для извержения закрученного потока водного аэрозоля. Согласно этому альтернативному образцу газоподводящая трубка 14 рукояти 1 является Т-образной трехходовой трубой, содержащей нижнюю соединительную трубку 142, расположенную вертикально с ее нижней стороны и сообщающуюся с газоподводящим каналом 140 для подсоединения водяного бачка 1421. Далее, погружная трубка 1422 подсоединена к нижней соединительной трубке 142 и свисает в водяной бачок 1421 вблизи нижней стенки водяного бачка 1421. Далее, водоподающая трубка 1423 вмонтирована в газоподводящий канал 140 газоподводящей трубки 14 и простирается от нижней соединительной трубки 142 через газопроводящий канал 310 газопроводящей трубки 31 вращающегося формирователя 3 струи в газоаккумулирующую камеру 340 вращающейся форсунки 34 и завершается водовыпускным концом 1424, вставленным в сквозное отверстие 343, расположенное во вращающейся форсунке 34, и проходящим сквозь переднюю поверхность 344 вращающейся форсунки 34. Диаметр сквозного отверстия 343 больше наружного диаметра водовыпускного конца 1424 водоподающей трубки 1423. При пользовании, присоедините воздухоприемную трубку 11 рукояти 1 к внешнему источнику высокого давления воздуха (к воздушному компрессору) с помощью нагнетательного шланга 111 высокого давления, а затем воздействуйте на спусковой крючок 13 рукояти 1 для управления поступлением сжатого воздуха от внешнего источника высокого давления воздуха через воздухоприемную трубку 11 и воздухоподающий канал 121 седла 12 клапана в газоподводящий канал 140 газоподводящей трубки 14, побуждая входящий поток сжатого воздуха проходить через стыковочно-соединительный участок 141 газоподводящей трубки 14 и газопроводящий канал 310 газопроводящей трубки 31 вращающегося формирователя 3 струи в газоаккумулирующую камеру 340 вращающейся форсунки 34 и затем проходить из газоаккумулирующей камеры 340 через отверстие 342 форсунки в наружную среду пистолета-распылителя. Одновременно вращающаяся форсунка 34 и соединительная муфта 33 начинают вращаться на наружном кольце 322 подшипника 32 от давления проходящего через них потока сжатого воздуха, и таким образом сильная струя воздуха непрерывно закручивается и эжектируется из пистолета-распылителя. Когда входящий поток сжатого воздуха проходит через соединительный участок 312 газопроводящей трубки 31 и через сквозное отверстие 343 вращающейся форсунки 34, в сквозном отверстии 343 создается эффект Вентури, вызывающий засасывание имеющейся в водяном бачке 1421 воды через погружную трубку 1422 и нижнюю соединительную трубку 142 в водоподающую трубку 1423 с последующим выводом ее из водоподающей трубки 1423 через водовыпускной конец 1424. Когда поток жидкости эжектируется из водовыпускного конца 1424, сжатый воздух непрерывно направляется в газоаккумулирующую камеру 340 вращающейся форсунки 34 и эжектируется из косого отверстия 342 и из кольцевого зазора в сквозном отверстии 343 вокруг водовыпускного конца 1424, заставляя поток жидкости, извергаемый из водовыпускного конца 1424, превращаться в аэрозоль. Таким образом, когда пользователь приводит в движение спусковой крючок 13 рукояти 1, чтобы позволить потоку сжатого воздуха поступить от внешнего источника высокого давления воздуха через воздухоприемную трубку 11 в газоподводящую трубку 14 и газопроводящую трубку 31 вращающегося формирователя 3 струи и в газоаккумулирующую камеру 340 вращающейся форсунки 34, а затем поступить из газоаккумулирующей камеры 340 через косое отверстие 342 форсунки и кольцевой зазор в сквозном отверстии 343 вокруг водовыпускного конца 1424 по направлению к наружной стороне пистолета-распылителя, одновременно поток жидкости исторгается из водовыпускного конца 1424 и превращаться в аэрозоль. Когда сильная струя сжатого воздуха эжектируется из кольцевого зазора в сквозном отверстии 343 вокруг водовыпускного конца 1424, чтобы превратить извергнутый поток воздуха в аэрозоль, сжатый воздух одновременно эжектируется из косого отверстия 342 форсунки, делая аэрозоль более мелким.
Как показано выше, резьбовой участок 3111 газопроводящей трубки 31 вращающегося формирователя 3 струи ввинчен в винтовое отверстие 1412 стыковочно-соединительного участка 141; подшипник 32 установлен на соединительный цилиндрический хвостовик 3121 соединительного участка 312 газопроводящей трубки 31; стопорная гайка 321 навинчена на трубчатый резьбовой стержень 3122 соединительного участка 312 газопроводящей трубки 31. Далее, диаметр стопорной гайки 321 больше внутреннего диаметра осевого отверстия 320 подшипника 32. Таким образом, подшипник 32 зафиксирован на своем месте стопорной гайкой 321, и предохранен от спадания с соединительного цилиндрического хвостовика 3121. Далее, посадочная выемка 330 соединительной муфты 33 жестко соединена с наружным кольцом 322 подшипника 32; внутренняя резьба 341 вращающейся форсунки 34 находится в зацеплении с наружной резьбой 331 соединительной муфты 33; газопроводящая трубка 31 вращающегося формирователя 3 струи находится в висячем положении в аккомодационной полости 20 приставной трубки 2; вращающаяся форсунка 34 установлена свободно вращающейся на конце газопроводящей трубки 31 в отверстии 201 приставной трубки 2. Когда сжатый воздух подается в газопроводящий канал 310 газопроводящей трубки 31, он аккумулируется в газоаккумулирующей камере 340 вращающейся форсунки 34 и затем выталкивается из косого отверстия 342 вращающейся форсунки 34, вызывая вращение вращающейся форсунки 34 с соединительной муфтой 33 и наружным кольцом 322 подшипника 32. Таким образом, когда поток сжатого воздуха подается через газопроводящий канал 310 и выталкивается из косого отверстия 342 форсунки, вращающаяся форсунка 34 приводится во вращение в отверстии 201 приставной трубки 2, в то время как газопроводящая трубка 31 остается неподвижной в аккомодационной полости 20 приставной трубки 2, не вызывая возникновения центробежной силы, которая могла бы вытолкнуть газопроводящую трубку 31 из приставной трубки 2; таким образом увеличена конструкционная прочность приставной трубки 2 и вращающегося формирователя 3 струи. Далее, водовыпускной конец 1424 водоподающей трубки 1423 вставлен в сквозное отверстие 343 вращающейся форсунки 34 вращающегося формирователя 3 струи, а погружная трубка 1422 присоединена к нижней соединительной трубке 142 и опущена в водяной бачок 1421 для высасывания содержащейся в нем воды. Таким образом, когда поток жидкости засасывается в погружную трубку 1422 и направляется через водоподающую трубку 1423 и водовыпускной конец 1424 по направлению к наружной стороне сквозного отверстия 343 вращающейся форсунки 34, эжектируемый сжатый воздух, истекающий из косого отверстия 342 и кольцевого зазора в сквозном отверстии 343 вокруг водовыпускного конца 1424, заставляет жидкость, эжектируемую из водовыпускного конца 1424, превращаться в аэрозоль. Далее, стопорная гайка 321 навинчена на трубчатый резьбовой стержень 3122 соединительного участка 312 газопроводящей трубки 31 вращающегося формирователя 3 струи, чтобы удерживать подшипник 32 и соединительную муфту 33 на своем месте, предотвращая спадание подшипника 32 и соединительной муфты 33 с соединительного участка 312. Далее, внутренняя резьба 341 вращающейся форсунки 34 находится в зацеплении с наружной резьбой 331 соединительной муфты 33. Когда вращающаяся форсунка 34 и соединительная муфта 33 приводятся во вращение вместе с подшипником 32, направление вращения вращающейся форсунки 34 и соединительной муфты 33 является противоположным направлению завинчивания между вращающейся форсункой 34 и соединительной муфтой 33, и, таким образом, центробежная сила, возникающая во время вращения вращающейся форсунки 34 и соединительной муфты 33, не вызывает разъединения между вращающейся форсункой 34 и соединительной муфтой 33. Таким образом, при пользовании компоновочный узел вращающейся форсунки 34, подшипника 32 и соединительной муфты 33 не будет вытолкнут из аккомодационной полости 20 приставной трубки 2, обеспечивая высокий уровень надежности работы пистолета-распылителя и уменьшая степень опасности при пользовании.
Как описано выше, приставная трубка 2 и вращающийся формирователь 3 струи присоединены к газоподводящей трубке 14 рукояти 1 посредством ввинчивания резьбового участка 3111 соединительного концевого элемента 311 газопроводящей трубки 31 вращающегося формирователя 3 струи в винтовое отверстие 1412 стыковочно-соединительного резьбового стержня 1411 стыковочно-соединительного участка 141 газоподводящей трубки 14 и затем навинчивания стыковочно-соединительное винтовое отверстие 211 стыковочно-соединительного концевого элемента 21 приставной трубки 2 на стыковочно-соединительный резьбовой стержень 1411 стыковочно-соединительного участка 141 газоподводящей трубки 14, а затем подшипник 32, соединительная муфта 33 и вращающаяся форсунка 34 установлены на соединительный участок 312 газопроводящей трубки 31 вращающегося формирователя 3 струи. При пользовании воздухоприемную трубку 11 рукояти 1 подсоединяют к внешнему источнику высокого давления воздуха. Когда посредством воздействия на спусковой крючок 13 производится открывание седла 12 клапана, сжатый воздух направляется через воздухоприемную трубку 11 рукояти 1 и газоподводящий канал 140 газоподводящей трубки 14 в газопроводящую трубку 31 вращающегося формирователя 3 струи и в газоаккумулирующую камеру 340 вращающейся форсунки 34. Затем сжатый воздух выталкивается из косого отверстия 342 вращающейся форсунки 34. Когда поток сжатого воздуха выталкивается из косого отверстия 342 вращающейся форсунки 34, центробежная сила, произведенная таким образом, заставляет вращающуюся форсунку 34 вращаться в отверстии 201 приставной трубки 2. Далее, водяной бачок 1421 подсоединен к нижней соединительной трубке 142 газоподводящей трубки 14, а погружная трубка 1422 подсоединена к нижней соединительной трубке 142 и опущена в водяной бачок 1421. Таким образом, когда закрученный поток сжатого воздуха эжектируется из кольцевого зазора в сквозном отверстии 343 вокруг водовыпускного конца 1424, поток жидкости засасывается в погружную трубку 1422 и направляется через водоподающую трубку 1423 и водовыпускной конец 1424 по направлению к наружной стороне сквозного отверстия 343 вращающейся форсунки 34, и жидкость, вытолкнутая из водовыпускного конца 1424, затем превращается в аэрозоль; одновременно сжатый воздух эжектируется из косого отверстия 342, делая аэрозоль более мелким.
Таким образом, полезная модель направлена на создание пистолета-распылителя с вращающейся форсункой, включающего рукоять, которая включает седло клапана, спусковым крючком, и газоподводящую трубку, отходящую от седла клапана и оканчивающуюся стыковочно-соединительным участком, приставную трубку, присоединенную к стыковочно-соединительному участку газоподводящей трубки, и вращающийся формирователь струи, включающий газопроводящую трубку, подсоединенную к стыковочно-соединительному участку газоподводящей трубки и находящуюся в висячем положении в аккомодационной полости приставной трубки, подшипник, соединительную муфту и вращающуюся форсунку, установленные на соединительный участок газопроводящей трубки. При воздействии на спусковой крючок рукояти сжатый воздух направляется через воздухоприемную трубку рукояти в газопроводящую трубку вращающегося формирователя струи и затем выталкивается из косого отверстия вращающейся форсунки, и одновременно производится центробежная сила, которая заставляет вращающуюся форсунку вращаться в выпускном отверстии приставной трубки, и таким образом закрученный поток сжатого воздуха эжектируется из пистолета-распылителя. Далее, газоподводящая трубка может быть скомпонована с нижней соединительной трубкой для подсоединения водяного бачка, водоподающая трубка вмонтирована в газоподводящий канал газоподводящей трубки и простирается от нижней соединительной трубки через газопроводящий канал газопроводящей трубки вращающегося формирователя струи в газоаккумулирующую камеру вращающейся форсунки и завершается водовыпускным концом, вставленным в сквозное отверстие во вращающейся форсунке. Таким образом, когда закрученный поток сжатого воздуха эжектируется из кольцевого зазора в сквозном отверстии вокруг водовыпускного конца, поток жидкости засасывается в нижнюю соединительную трубку газоподводящей трубки и водоподающей трубки и эжектируется из водовыпускного конца водоподающей трубки, и жидкость, вытолкнутая из водовыпускного конца, затем превращается в аэрозоль; одновременно сжатый воздух эжектируется из косого отверстия, делая аэрозоль более мелким.
В целях иллюстрации здесь дано подробное описание вариантов полезной модели, однако возможны ее различные модификации и усовершенствования без нарушения сущности и объема полезной модели. Следовательно, данная полезная модель не должна ограничиваться ничем иным, как только прилагаемыми пунктами формулы полезной модели.
Claims (10)
1. Пистолет-распылитель с вращающейся форсункой, содержащий:
рукоять, включающую воздухоприемную трубку, соединяемую с внешним источником воздуха высокого давления для поступления сжатого воздуха, седло клапана, газоподводящую трубку, соединенную с передним концом указанного седла клапана, спусковой крючок, предназначенный для открывания указанного седла клапана с целью пропуска потока указанного сжатого воздуха в указанную газоподводящую трубку, причем указанная газоподводящая трубка включает воздухоподающий канал, сообщающийся с указанным седлом клапана и указанной воздухоприемной трубкой, и стыковочно-соединительный участок, расположенный на ее наружном конце вокруг конца указанного воздухоподающего канала; и
вращающийся формирователь струи, причем указанный формирователь струи состоит из газопроводящей трубки, присоединенной к указанному стыковочно-соединительному участку указанной газоподводящей трубки, причем указанная газопроводящая трубка включает соединительный участок, расположенный на ее конце, дальнем по отношению к указанной газоподводящей трубке, и газопроводящий канал, проходящий в осевом направлении через ее противоположные концы и сообщающийся с указанным воздухоподающим каналом, и соединительной муфты, подшипника и вращающейся форсунки, установленных на указанный соединительный участок газопроводящей трубки, причем указанная соединительная муфта установлена на указанный подшипник и может приводиться в движение указанной вращающейся форсункой для вращения относительно указанного подшипника, причем указанная вращающаяся форсунка установлена на указанную соединительную муфту, причем указанная вращающаяся форсунка включает газоаккумулирующую камеру, выполненную сообщающейся с указанным газопроводящим каналом указанной газопроводящей трубки и косым отверстием, отходящим наклонно вперед от указанной газоаккумулирующей камеры наружу от указанной вращающейся форсунки, с эксцентричным расположением.
2. Пистолет-распылитель с вращающейся форсункой по п. 1, содержащий также приставную трубку, присоединенную к указанному стыковочно-соединительному участку указанной газоподводящей трубки указанной рукояти, и уплотнительное кольцо, установленное на указанный стыковочно-соединительный участок и зажатое между указанной приставной трубкой и указанной газоподводящей трубкой указанной рукояти, где указанный стыковочно-соединительный участок указанной газоподводящей трубки указанной рукояти включает стыковочно-соединительный резьбовой стержень, выступающий из переднего конца газоподводящей трубки, охватывающей собой винтовое отверстие, сообщающееся с указанным газоподводящим каналом; указанная приставная трубка включает стыковочно-соединительный концевой элемент, расположенный на одном из ее концов, и стыковочно-соединительное винтовое отверстие, выполненное в указанном стыковочно-соединительном концевом элементе и навинченное на указанный стыковочно-соединительный резьбовой стержень указанной газоподводящей трубки указанной рукояти; указанное уплотнительное кольцо надето на указанный стыковочно-соединительный резьбовой стержень указанного стыковочно-соединительного участка и зажато между указанной газоподводящей трубкой указанной рукояти и указанным стыковочно-соединительным концевым элементом указанной приставной трубки; указанная газопроводящая трубка указанного вращающегося формирователя струи включает соединительный концевой элемент, имеющийся на ее противоположном конце и заканчивающийся резьбовым участком, ввинченным в указанное винтовое отверстие в указанном стыковочно-соединительном резьбовом стержне указанной газоподводящей трубки указанной рукояти.
3. Пистолет-распылитель с вращающейся форсункой по п. 1, в котором указанная приставная трубка также включает расширенное выпускное отверстие, расположенное на ее противоположном конце, дальнем по отношению к указанному стыковочно-соединительному концевому элементу, сообщающееся с одним концом указанной аккомодационной полости, причем указанная приставная трубка выбирается из числа рупорообразных труб, обычных труб или полигональных труб.
4. Пистолет-распылитель с вращающейся форсункой по п. 1, в котором указанный соединительный участок указанной газопроводящей трубки указанного вращающегося формирователя струи включает соединительный цилиндрический хвостовик, простирающийся вперед в осевом направлении от конца указанной газопроводящей трубки, дальнего по отношению к указанной газоподводящей трубке, и трубчатый резьбовой стержень, простирающийся вперед в осевом направлении от соединительного цилиндрического хвостовика; указанный подшипник снабжен осевым отверстием, в которое вставлен указанный соединительный цилиндрический хвостовик; указанный вращающийся формирователь струи также включает стопорную гайку, навинченную на трубчатый резьбовой стержень для предотвращения спадания указанного подшипника с указанного соединительного цилиндрического хвостовика; указанная соединительная муфта включает посадочную выемку, жестко соединенную с наружным кольцом указанного подшипника для синхронного вращения с наружным кольцом подшипника, и наружную резьбу, расположенную вокруг ее периферии; указанная вращающаяся форсунка включает внутреннюю резьбу, входящую в зацепление с наружной резьбой указанной соединительной муфты.
5. Пистолет-распылитель с вращающейся форсункой по п. 1, в котором наружный диаметр указанного соединительного цилиндрического хвостовика меньше наружного диаметра указанной газопроводящей трубки; наружный диаметр указанного трубчатого резьбового стержня меньше наружного диаметра указанного соединительного цилиндрического хвостовика.
6. Пистолет-распылитель с вращающейся форсункой по п. 1, в котором наружный диаметр указанной стопорной гайки больше наружного диаметра указанного осевого отверстия указанного подшипника.
7. Пистолет-распылитель с вращающейся форсункой по п. 1, в котором указанная внутренняя резьба указанной вращающейся форсунки имеется с одной стороны указанной вращающейся форсунки; указанная газоаккумулирующая камера указанной вращающейся форсунки предусмотрена в указанной форсунке и простирается внутрь от указанной соединительной муфты; указанное косое отверстие указанной вращающейся форсунки простирается косо вперед от указанной газоаккумулирующей камеры 340 наружу от указанной вращающейся форсунки, с эксцентричным расположением.
8. Пистолет-распылитель с вращающейся форсункой по п. 1, в котором указанная вращающаяся форсунка указанного вращающегося формирователя струи включает также сквозное отверстие, отходящее от указанной газоаккумулирующей камеры по направлению к наружной стороне указанной вращающейся форсунки и расположенное по одну сторону относительно косого отверстия; указанная газоподводящая трубка является Т-образной трехходовой трубой, включающей нижнюю соединительную трубку, расположенную с ее нижней стороны и подсоединенную к водяному бачку, погружная трубка подсоединена к нижней соединительной трубке и вставлена в указанный водяной бачок для засасывания жидкости из указанного водяного бачка в указанную нижнюю соединительную трубку, водоподающая трубка подсоединена к указанной нижней соединительной трубке и, имея сообщение с указанной погружной трубкой, вмонтирована в указанный газоподводящий канал указанной газоподводящей трубки и завершается водовыпускным концом, причем указанный водовыпускной конец указанной водоподающей трубки вставлен в указанное сквозное отверстие указанной вращающейся форсунки.
9. Пистолет-распылитель с вращающейся форсункой по п. 1, в котором диаметр указанного сквозного отверстия больше наружного диаметра указанного водовыпускного конца указанной водоподающей трубки, с тем чтобы кольцевой зазор был выполнен в указанном сквозном отверстии вокруг указанного водовыпускного конца указанной водоподающей трубки.
10. Пистолет-распылитель с вращающейся форсункой по п. 1, включающий также приставную трубку, присоединенную к указанному стыковочно-соединительному участку указанной газоподводящей трубки указанной рукояти, причем указанная приставная трубка включает стыковочно-соединительный концевой элемент, расположенный на одном из ее концов и подсоединенный к указанному стыковочно-соединительному участку, и аккомодационную полость, простирающуюся в осевом направлении от указанного стыковочно-соединительного концевого элемента до ее противоположного конца и вмещающую указанную газопроводящую трубку указанного вращающегося формирователя струи.
Applications Claiming Priority (2)
| Application Number | Priority Date | Filing Date | Title |
|---|---|---|---|
| TW104105598A TWI586436B (zh) | 2015-02-17 | 2015-02-17 | The construction of the revolving gun |
| TW104105598 | 2015-02-17 |
Publications (1)
| Publication Number | Publication Date |
|---|---|
| RU166314U1 true RU166314U1 (ru) | 2016-11-20 |
Family
ID=55641881
Family Applications (1)
| Application Number | Title | Priority Date | Filing Date |
|---|---|---|---|
| RU2015147550/05U RU166314U1 (ru) | 2015-02-17 | 2015-11-06 | Пистолет-распылитель с вращающейся форсункой |
Country Status (7)
| Country | Link |
|---|---|
| US (1) | US9751098B2 (ru) |
| DE (1) | DE102015107764B4 (ru) |
| FR (1) | FR3032631B3 (ru) |
| GB (1) | GB2537016A (ru) |
| IT (1) | ITUB201566393U1 (ru) |
| RU (1) | RU166314U1 (ru) |
| TW (1) | TWI586436B (ru) |
Families Citing this family (13)
| Publication number | Priority date | Publication date | Assignee | Title |
|---|---|---|---|---|
| US9823040B1 (en) * | 2016-08-23 | 2017-11-21 | Shih-Che Hu | Gun barrel unit for a toy gun |
| CN107512248B (zh) * | 2017-07-17 | 2023-08-01 | 吴寿林 | 一种车辆清洗养护设备 |
| FR3072347B1 (fr) * | 2017-10-16 | 2019-11-08 | Heurtaux S.A.S. | Dispositif de lavage de vehicule par projection de liquide de lavage a haute pression |
| US10259002B1 (en) * | 2018-04-09 | 2019-04-16 | Grain Point Enterprise Limited | Spray-gun apparatus |
| EP4247572B1 (en) * | 2020-11-17 | 2026-01-28 | Engineered Controls International, LLC | Cleaning nozzle for cryogenic fluid fueling receptacle |
| CN116507430A (zh) * | 2020-11-17 | 2023-07-28 | 国际工程控制公司 | 用于低温流体加燃料插座的清洁喷嘴 |
| US11732887B1 (en) * | 2021-07-02 | 2023-08-22 | Placer Union High School District | Brush burning tool |
| CN113503005B (zh) * | 2021-07-05 | 2022-07-01 | 北京建工四建工程建设有限公司 | 一种高附着力的涂料喷涂单元及涂料喷涂装置 |
| USD1057090S1 (en) * | 2021-11-08 | 2025-01-07 | Energizer Auto, Inc. | Foam sprayer |
| USD1024271S1 (en) * | 2021-11-08 | 2024-04-23 | Energizer Auto, Inc. | Foam sprayer |
| PL442253A1 (pl) * | 2022-09-12 | 2024-03-18 | Erko Spółka Z Ograniczoną Odpowiedzialnością Spółka Komandytowa | Wspomagany komputerowo sposób wytwarzania szyn prądowych, układ urządzeń służących do realizacji tego sposobu oraz urządzenie do plastycznego kształtowania płaskowników tym sposobem |
| PL245918B1 (pl) * | 2022-10-13 | 2024-10-28 | 3N Solutions Spolka Z Ograniczona Odpowiedzialnoscia | Lanca zestawu czyszczącego urządzeń energetycznych pozostających pod napięciem średnim |
| USD1100141S1 (en) * | 2025-03-30 | 2025-10-28 | Shenzhen Zero Zero Hair Automotive Supplies Co., Ltd | Car washing gun |
Family Cites Families (34)
| Publication number | Priority date | Publication date | Assignee | Title |
|---|---|---|---|---|
| US2983452A (en) * | 1958-06-12 | 1961-05-09 | Virgual T Lindbloom | Rotary sprayer |
| US3868949A (en) * | 1973-08-08 | 1975-03-04 | Arneson Prod Inc | Hydromassage device |
| US4704826A (en) * | 1981-06-26 | 1987-11-10 | Kirkland Wyatt S | Spin-blast tool |
| US4523340A (en) * | 1982-12-20 | 1985-06-18 | Watkins Manufacturing Co. | Means providing moving water stream ejecting into spa tank |
| US4716604A (en) * | 1985-09-18 | 1988-01-05 | Watkins Manufacturing Co. | Spa with moving jets |
| US4689839A (en) * | 1985-11-12 | 1987-09-01 | Henkin Melvyn Lane | Tap water powered hydrotherapy method and apparatus |
| US4821961A (en) * | 1988-03-31 | 1989-04-18 | Nlb Corp. | Self-rotating nozzle |
| US5060862A (en) * | 1990-01-19 | 1991-10-29 | Butterworth Jetting Systems, Inc. | Magnetic speed control for self-propelled swivel |
| US5104043A (en) * | 1990-01-19 | 1992-04-14 | Butterworth Jetting Systems, Inc. | Magnetic speed control for self-propelled swivel |
| US5232161A (en) * | 1991-05-13 | 1993-08-03 | Goldblatt Tool Company | Texture material application device |
| JP2514135B2 (ja) * | 1991-12-06 | 1996-07-10 | 安全自動車株式会社 | 高収束噴射形ノズル装置 |
| US5284298A (en) * | 1993-04-13 | 1994-02-08 | Fluid Controls Inc. | Fluid-conducting swivel and method |
| US6193169B1 (en) * | 1993-08-26 | 2001-02-27 | Spraying Systems Deutschland Gmbh | Rotating spray nozzle with controlled braking action |
| US5909848A (en) * | 1998-07-17 | 1999-06-08 | Stoneage, Inc. | High pressure liquid rotary nozzle with coil spring retarder |
| JP2004321844A (ja) * | 2003-04-21 | 2004-11-18 | Ransburg Ind Kk | 回転霧化型塗装機 |
| US7458485B2 (en) * | 2005-05-23 | 2008-12-02 | Tropical Ventures Llc | Water gun amusement devices and methods of using the same |
| ATE469703T1 (de) * | 2006-08-11 | 2010-06-15 | Ulrich Simpfendoerfer | Reinigungsdüse |
| US8480011B2 (en) * | 2007-09-04 | 2013-07-09 | Dehn's Innovations, Llc | Nozzle system and method |
| US8056830B1 (en) * | 2009-01-02 | 2011-11-15 | Jeff M Pedersen | Spinner tip shower head |
| EP2221110A1 (en) * | 2009-02-19 | 2010-08-25 | Double Dynasty Co., Ltd. | Rotary spray gun |
| TWM380171U (en) * | 2009-11-03 | 2010-05-11 | Grain Point Entpr Ltd | Structure of spraying gun |
| US9321067B2 (en) * | 2010-07-08 | 2016-04-26 | Federal Signal Corporation | Seal cartridge for a rotating nozzle assembly |
| TW201244827A (en) * | 2011-05-11 | 2012-11-16 | Strong Fortress Tool Co Ltd | Rotary spraying device |
| TWM418736U (en) * | 2011-09-01 | 2011-12-21 | Strong Fortress Tool Co Ltd | Spray gun apparatus |
| DE202011105869U1 (de) * | 2011-09-16 | 2011-10-24 | 3St Industry Co., Ltd. | Geschwindigkeitsverstellmechanismus für eine Drehsprühpistole |
| US9144810B2 (en) * | 2012-07-04 | 2015-09-29 | Christopher John Bosua | Atomizing nozzle assembly for pneumatically operated cleaning equipment |
| TW201406465A (zh) * | 2012-08-10 | 2014-02-16 | Strong Fortress Tool Co Ltd | 迴旋噴射裝置 |
| US20140061334A1 (en) * | 2012-09-05 | 2014-03-06 | Ying-Chieh Liao | Spray gun |
| US9399230B2 (en) * | 2014-01-16 | 2016-07-26 | Nlb Corp. | Rotating fluid nozzle for tube cleaning system |
| US20150266041A1 (en) * | 2014-03-24 | 2015-09-24 | Ying-Chieh Liao | Spray gun |
| TWM486493U (zh) * | 2014-05-26 | 2014-09-21 | Neutek Internat Inc | 迴旋噴槍之儲液裝置 |
| TWI533934B (zh) * | 2014-07-01 | 2016-05-21 | Qing-Nan Chen | Air guide rotary spray device and air guide rotary sprayer |
| US20160339458A1 (en) * | 2015-05-19 | 2016-11-24 | Neutek International Inc. | Structure of gyrating nozzle spray gun |
| DE202015102785U1 (de) * | 2015-05-29 | 2015-06-17 | Neutek International Inc. | Verbesserte Konstruktion einer Rotationsdüsenspritzpistole |
-
2015
- 2015-02-17 TW TW104105598A patent/TWI586436B/zh not_active IP Right Cessation
- 2015-05-11 US US14/709,146 patent/US9751098B2/en not_active Expired - Fee Related
- 2015-05-18 DE DE102015107764.7A patent/DE102015107764B4/de not_active Expired - Fee Related
- 2015-08-31 IT ITUB2015U066393U patent/ITUB201566393U1/it unknown
- 2015-09-16 FR FR1558674A patent/FR3032631B3/fr not_active Expired - Fee Related
- 2015-11-06 RU RU2015147550/05U patent/RU166314U1/ru not_active IP Right Cessation
-
2016
- 2016-02-05 GB GB1602111.5A patent/GB2537016A/en not_active Withdrawn
Also Published As
| Publication number | Publication date |
|---|---|
| US20160332175A1 (en) | 2016-11-17 |
| TWI586436B (zh) | 2017-06-11 |
| GB2537016A (en) | 2016-10-05 |
| TW201630664A (zh) | 2016-09-01 |
| DE102015107764A1 (de) | 2016-11-24 |
| GB201602111D0 (en) | 2016-03-23 |
| US9751098B2 (en) | 2017-09-05 |
| ITUB201566393U1 (it) | 2017-03-03 |
| FR3032631B3 (fr) | 2017-04-28 |
| FR3032631A3 (fr) | 2016-08-19 |
| DE102015107764B4 (de) | 2017-11-09 |
Similar Documents
| Publication | Publication Date | Title |
|---|---|---|
| RU166314U1 (ru) | Пистолет-распылитель с вращающейся форсункой | |
| US20160339458A1 (en) | Structure of gyrating nozzle spray gun | |
| RU95562U1 (ru) | Распылительный пистолет с вращающейся изогнутой трубкой | |
| CN108296042A (zh) | 一种清洗机喷头组件 | |
| JP3198554U (ja) | 回転式洗浄ガンの構造 | |
| CN204602450U (zh) | 回旋喷枪的构造 | |
| CN221356742U (zh) | 一种洗地机地刷的出水口雾化结构 | |
| CN203803682U (zh) | 大型设备清洗机 | |
| CN113712454B (zh) | 一种沐浴装置的沐浴露喷头 | |
| CN110508577A (zh) | 一种手持式快速洗瓶器 | |
| JP2016203117A (ja) | 回転式洗浄ガンの構造 | |
| CN1741857A (zh) | 喷嘴及喷出装置 | |
| CN214637446U (zh) | 一种用于汽车涂装修补的多功能环保型喷枪 | |
| CN209829302U (zh) | 淋浴喷头 | |
| JP3198555U (ja) | 回転式洗浄ガンの構造 | |
| CN109482547A (zh) | 一种清洗机 | |
| CN204956431U (zh) | 一种多功能便携洗车水枪 | |
| CN2327452Y (zh) | 清洗枪 | |
| CN208332399U (zh) | 清洗喷头和油烟机 | |
| CN208411684U (zh) | 一种便携式汽车清洗器 | |
| JP2008114211A (ja) | 流体噴出装置 | |
| CN208377012U (zh) | 船用气动吸水器 | |
| CN222739431U (zh) | 一种360°可旋转的泡沫清洗喷头 | |
| DE202015102533U1 (de) | Rotationsdüsenspritzpistole | |
| CN209287828U (zh) | 一种喷嘴环组件内孔清洗装置 |
Legal Events
| Date | Code | Title | Description |
|---|---|---|---|
| MM9K | Utility model has become invalid (non-payment of fees) |
Effective date: 20191107 |
