KR20180098338A - 원형 부재의 내주 길이 측정 장치 - Google Patents

원형 부재의 내주 길이 측정 장치 Download PDF

Info

Publication number
KR20180098338A
KR20180098338A KR1020187021217A KR20187021217A KR20180098338A KR 20180098338 A KR20180098338 A KR 20180098338A KR 1020187021217 A KR1020187021217 A KR 1020187021217A KR 20187021217 A KR20187021217 A KR 20187021217A KR 20180098338 A KR20180098338 A KR 20180098338A
Authority
KR
South Korea
Prior art keywords
dimensional sensor
circular member
inner circumferential
distance
tooth
Prior art date
Legal status (The legal status is an assumption and is not a legal conclusion. Google has not performed a legal analysis and makes no representation as to the accuracy of the status listed.)
Granted
Application number
KR1020187021217A
Other languages
English (en)
Other versions
KR102067776B1 (ko
Inventor
켄스케 마츠무라
유이치 스기야마
Original Assignee
요코하마 고무 가부시키가이샤
Priority date (The priority date is an assumption and is not a legal conclusion. Google has not performed a legal analysis and makes no representation as to the accuracy of the date listed.)
Filing date
Publication date
Application filed by 요코하마 고무 가부시키가이샤 filed Critical 요코하마 고무 가부시키가이샤
Publication of KR20180098338A publication Critical patent/KR20180098338A/ko
Application granted granted Critical
Publication of KR102067776B1 publication Critical patent/KR102067776B1/ko
Active legal-status Critical Current
Anticipated expiration legal-status Critical

Links

Images

Classifications

    • GPHYSICS
    • G01MEASURING; TESTING
    • G01BMEASURING LENGTH, THICKNESS OR SIMILAR LINEAR DIMENSIONS; MEASURING ANGLES; MEASURING AREAS; MEASURING IRREGULARITIES OF SURFACES OR CONTOURS
    • G01B11/00Measuring arrangements characterised by the use of optical techniques
    • G01B11/08Measuring arrangements characterised by the use of optical techniques for measuring diameters
    • G01B11/12Measuring arrangements characterised by the use of optical techniques for measuring diameters internal diameters
    • GPHYSICS
    • G01MEASURING; TESTING
    • G01BMEASURING LENGTH, THICKNESS OR SIMILAR LINEAR DIMENSIONS; MEASURING ANGLES; MEASURING AREAS; MEASURING IRREGULARITIES OF SURFACES OR CONTOURS
    • G01B11/00Measuring arrangements characterised by the use of optical techniques
    • G01B11/02Measuring arrangements characterised by the use of optical techniques for measuring length, width or thickness
    • G01B11/04Measuring arrangements characterised by the use of optical techniques for measuring length, width or thickness specially adapted for measuring length or width of objects while moving
    • G01B11/043Measuring arrangements characterised by the use of optical techniques for measuring length, width or thickness specially adapted for measuring length or width of objects while moving for measuring length
    • GPHYSICS
    • G01MEASURING; TESTING
    • G01BMEASURING LENGTH, THICKNESS OR SIMILAR LINEAR DIMENSIONS; MEASURING ANGLES; MEASURING AREAS; MEASURING IRREGULARITIES OF SURFACES OR CONTOURS
    • G01B11/00Measuring arrangements characterised by the use of optical techniques
    • G01B11/02Measuring arrangements characterised by the use of optical techniques for measuring length, width or thickness
    • GPHYSICS
    • G01MEASURING; TESTING
    • G01BMEASURING LENGTH, THICKNESS OR SIMILAR LINEAR DIMENSIONS; MEASURING ANGLES; MEASURING AREAS; MEASURING IRREGULARITIES OF SURFACES OR CONTOURS
    • G01B11/00Measuring arrangements characterised by the use of optical techniques
    • G01B11/02Measuring arrangements characterised by the use of optical techniques for measuring length, width or thickness
    • G01B11/026Measuring arrangements characterised by the use of optical techniques for measuring length, width or thickness by measuring distance between sensor and object
    • GPHYSICS
    • G01MEASURING; TESTING
    • G01BMEASURING LENGTH, THICKNESS OR SIMILAR LINEAR DIMENSIONS; MEASURING ANGLES; MEASURING AREAS; MEASURING IRREGULARITIES OF SURFACES OR CONTOURS
    • G01B11/00Measuring arrangements characterised by the use of optical techniques
    • G01B11/24Measuring arrangements characterised by the use of optical techniques for measuring contours or curvatures
    • GPHYSICS
    • G01MEASURING; TESTING
    • G01BMEASURING LENGTH, THICKNESS OR SIMILAR LINEAR DIMENSIONS; MEASURING ANGLES; MEASURING AREAS; MEASURING IRREGULARITIES OF SURFACES OR CONTOURS
    • G01B11/00Measuring arrangements characterised by the use of optical techniques
    • G01B11/24Measuring arrangements characterised by the use of optical techniques for measuring contours or curvatures
    • G01B11/255Measuring arrangements characterised by the use of optical techniques for measuring contours or curvatures for measuring radius of curvature
    • GPHYSICS
    • G01MEASURING; TESTING
    • G01BMEASURING LENGTH, THICKNESS OR SIMILAR LINEAR DIMENSIONS; MEASURING ANGLES; MEASURING AREAS; MEASURING IRREGULARITIES OF SURFACES OR CONTOURS
    • G01B21/00Measuring arrangements or details thereof, where the measuring technique is not covered by the other groups of this subclass, unspecified or not relevant
    • G01B21/02Measuring arrangements or details thereof, where the measuring technique is not covered by the other groups of this subclass, unspecified or not relevant for measuring length, width, or thickness
    • GPHYSICS
    • G01MEASURING; TESTING
    • G01BMEASURING LENGTH, THICKNESS OR SIMILAR LINEAR DIMENSIONS; MEASURING ANGLES; MEASURING AREAS; MEASURING IRREGULARITIES OF SURFACES OR CONTOURS
    • G01B21/00Measuring arrangements or details thereof, where the measuring technique is not covered by the other groups of this subclass, unspecified or not relevant
    • G01B21/10Measuring arrangements or details thereof, where the measuring technique is not covered by the other groups of this subclass, unspecified or not relevant for measuring diameters
    • G01B21/14Measuring arrangements or details thereof, where the measuring technique is not covered by the other groups of this subclass, unspecified or not relevant for measuring diameters internal diameters
    • GPHYSICS
    • G01MEASURING; TESTING
    • G01BMEASURING LENGTH, THICKNESS OR SIMILAR LINEAR DIMENSIONS; MEASURING ANGLES; MEASURING AREAS; MEASURING IRREGULARITIES OF SURFACES OR CONTOURS
    • G01B21/00Measuring arrangements or details thereof, where the measuring technique is not covered by the other groups of this subclass, unspecified or not relevant
    • G01B21/20Measuring arrangements or details thereof, where the measuring technique is not covered by the other groups of this subclass, unspecified or not relevant for measuring contours or curvatures, e.g. determining profile

Landscapes

  • Physics & Mathematics (AREA)
  • General Physics & Mathematics (AREA)
  • Life Sciences & Earth Sciences (AREA)
  • General Life Sciences & Earth Sciences (AREA)
  • Length Measuring Devices With Unspecified Measuring Means (AREA)
  • Length Measuring Devices By Optical Means (AREA)

Abstract

원형 부재에 불필요한 부하를 부여하지 않고, 정밀도 좋게 내주 길이를 측정할 수 있는 원형 부재의 내주 길이 측정 장치를 제공한다. 치대(4)에 무구속 상태로 평치한 원형 부재(12)의 내주면(12a)에 대향하여 2차원 센서(8)를 소정의 측정 위치에 배치하고, 원형 부재(12)의 내측의 소정 위치의 회전축(9)을 중심으로 하여 2차원 센서(8)를 회전시킴으로써, 2차원 센서(8)로부터 내주면(12a)까지 이격 거리(d)를 원형 부재(12)의 전체 둘레의 범위에서 원형 부재(12)에 비접촉으로 측정하고, 측정한 이격 거리(d)와, 평면시의 회전축(9)과 2차원 센서(8)와의 거리(w)에 기초하여, 연산부(11)에 의해 원형 부재(12)의 내주 길이(L)를 산출한다.

Description

원형 부재의 내주 길이 측정 장치
본 발명은 원형 부재의 내주 길이(internal circumference) 측정 장치에 관한 것이고, 더욱더 상세하게는 원형 부재에 불필요한 부하를 부여하지 않고, 정밀도 좋게 내주 길이를 측정할 수 있는 원형 부재의 내주 길이 측정 장치에 관한 것이다.
타이어 등의 고무 제품 제조 공정에서는, 비드 부재나 원통 형상의 고무 부재 등, 다양한 원형 부재(원통 부재 및 원환 부재(円環部材))가 사용되고 있다. 이들 원형 부재의 내주 길이는 설계상의 설정값이 있다. 그러나 실물의 원형 부재의 내주 길이는 제조 오차 등에 기인하여 미리 설정된 설정값에 대해 어긋남이 발생한다. 이 어긋남량이 허용 범위 내라면 문제는 없지만, 허용 범위를 벗어나는 경우에는, 이 원형 부재를 이용하여 제조한 고무 제품의 품질에 악영향이 발생하기 쉽다. 그 때문에, 원형 부재의 내주 길이를 측정하여 파악할 필요가 있다.
종래 원환상 비드 부재의 내주 길이의 측정 장치가 종종 제안되어 있다(예를 들어, 특허문헌 1, 2 참조). 특허문헌 1에서 제안되어 있는 장치에서는, 반원주상(半円柱狀)의 2개의 분할체로 구성된 원주상 측정대(測定台)를 비드 부재의 내측에 배치한다. 비드 부재의 내주 길이를 측정할 때는 서로의 분할체를 이격하는 방향으로 이동시켜, 각각 분할체의 외주면을 비드 부재의 내주면에 밀착시킨 상태로 한다. 이때의 서로의 분할체의 이격 거리와 분할체의 외주면에 원주 길이에 기초하여 비드 부재의 내주 길이를 측정한다. 분할체의 외주면을 비드 부재의 내주면에 밀착시킨 상태로 함으로써, 비드 부재에는 직경을 넓히는 힘이 부여되기 때문에, 변형이 발생한다. 그 때문에, 내주 길이의 측정 정밀도를 향상시키는 데는 불리해진다.
특허문헌 2에서 제안되어 있는 장치에서는, 비드 부재의 내주면에 직접 롤러를 압압(押壓)하여 접촉시킨다. 그리고 이 롤러를 비드 부재의 내주면의 위에서 전동(轉動)시켜 원주 방향으로 1회전시킨다. 이때의 롤러의 회전수에 기초하여 비드 부재의 내주 길이를 측정한다. 비드 부재의 내주면은 롤러에 의해 직접 압압되기 때문에, 변형이 발생한다. 그 때문에, 내주 길이의 측정 정밀도를 향상시키는 데는 불리해진다.
일본 공개특허공보 제2012-150013호 일본 공개특허공보 제(평)6-1128호
본 발명의 목적은 원형 부재에 불필요한 부하를 부여하지 않고, 정밀도 좋게 내주 길이를 측정할 수 있는 원형 부재의 내주 길이 측정 장치를 제공하는 것에 있다.
상기 목적을 달성하기 위한 본 발명의 원형 부재의 내주 길이 측정 장치는, 원형 부재가 재치되는 치대(置台)와, 이 치대에 대해 이동 가능하게 설치되어 있는 2차원 센서와, 이 2차원 센서를 회전시키는 회전 구동 기구와, 상기 2차원 센서에 의한 측정 데이터가 입력되는 연산부를 구비하고, 상기 치대에 무구속(無拘束) 상태로 평치(平置)된 원형 부재의 내주면에 대향하여 상기 2차원 센서가 소정의 측정 위치에 배치되고, 상기 원형 부재의 내측의 소정 위치를 중심으로 하여 상기 2차원 센서를 상기 회전 구동 기구에 의해 회전시킴으로써, 상기 2차원 센서로부터 상기 내주면까지 이격 거리가 상기 원형 부재의 전체 둘레의 범위에서 상기 원형 부재에 비접촉으로 측정되고, 측정된 상기 이격 거리와, 평면시(平面視)의 상기 소정 위치와 상기 2차원 센서와의 거리에 기초하여, 상기 연산부에 의해 상기 원형 부재의 내주 길이가 산출되는 구성으로 한 것을 특징으로 한다.
본 발명에 의하면, 치대에 무구속 상태(non-restrained state)로 평치한 원형 부재의 내주 길이가 측정되고, 그 측정에는 원형 부재와는 접촉하지 않는 2차원 센서를 이용한다. 그 때문에, 원형 부재에는 불필요한 부하가 부여되지 않고, 강제적인 변형이 발생하는 경우가 없다. 따라서 원형 부재의 내주 길이를 정밀도 좋게 측정하는 데는 유리해진다.
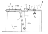
도 1은 본 발명의 내주 길이 측정 장치를 평면시로 예시하는 설명도이다.
도 2는 도 1의 측정 장치를 측면시(側面視)로 예시하는 설명도이다.
도 3은 도 2의 측정 장치의 치대를 기립시킨 상태를 측면시로 예시하는 설명도이다.
도 4는 2차원 센서에 의해 원형 부재의 내주면까지의 이격 거리를 측정하고 있는 공정을 평면시로 예시하는 설명도이다.
도 5는 도 4의 공정을 측면시로 예시하는 설명도이다.
도 6은 내주 길이의 산출 방법을 예시하는 설명도이다.
도 7은 측정 장치의 다른 실시형태에 있어서의 2차원 센서의 주변을 측면시로 예시하는 설명도이다.
이하, 본 발명의 원형 부재의 내주 길이 측정 장치를 도면에 나타내는 실시형태에 기초하여 구체적으로 설명한다.
도 1, 2에 예시하는 본 발명의 원형 부재의 내주 길이 측정 장치(1)(이하, 측정 장치(1)라고 한다)를 이용하여 내주 길이를 측정하는 대상이 되는 것은 타이어 등의 고무 제품에 사용되는 비드 부재나 원통 형상의 고무 부재 등 다양한 원형 부재(12)(원통 부재 및 원환 부재)이다. 도 1에서는 원형 부재(12)를 2점 쇄선으로 나타내고 있다. 측정 시에는, 하나의 원형 부재(12)가 측정 장치(1)에 세트된다.
측정 장치(1)는, 측정 대상이 되는 원형 부재(12)가 재치되는 치대(4)와, 치대(4)에 대해 이동 가능하게 설치되어 있는 2차원 센서(8)와, 2차원 센서(8)를 회전시키는 회전 구동 기구(10a)와, 2차원 센서(8)에 의한 측정 데이터가 입력되는 연산부(11)를 구비하고 있다. 연산부(11)로서는 여러 가지 컴퓨터 등을 이용할 수 있다.
수평 상태의 치대(4)에는, 원형 부재(12)가 무구속 상태로 평치된다. 무구속 상태란, 원형 부재(12)에 중력(자중)에 기인하는 외력 이외가 작용하고 있지 않는 상태이다. 이 실시형태에서는, 치대(4)가 원주 방향으로 분할된 복수의 분할체(5)로 형성되어 있다. 각각의 분할체(5)는 그 상면에 상방으로 돌출하는 볼록상 지지부(6)를 갖고 있다. 이 볼록상 지지부(6)의 위에 원형 부재(12)가 무구속 상태로 평치된다. 봉상의 볼록상 지지부(6)는 원형 부재(12)의 반경 방향으로 연재(延在)하고 있다.
치대(4)는 복수의 분할체(5)로 형성하지 않고, 분할되어 있지 않은 하나의 판상체로 형성해도 좋다. 볼록상 지지부(6)의 개수는 적어도 3개로 하고, 예를 들어 3개 이상 12개 이하의 적당한 개수로 한다.
치대(4)는 프레임(2)에 부착되어 있다. 프레임(2)은 베이스 프레임(2a)과 가동 프레임(2b)으로 구성되고, 가동 프레임(2b)의 일 단부는 베이스 프레임(2a)에 회전 가능하게 접속되어 있다. 가동 프레임(2b)은 기복 기구(起伏機構)(3)에 의해 베이스 프레임(2a)에 대해 기복 가능으로 되어 있다. 예를 들어, 도 3에 나타내는 바와 같이, 가동 프레임(2b)은 수평 상태로부터 연직으로 될 때까지의 소정의 각도 범위에서 기복하여 기립 상태로 된다. 이에 따라, 치대(4)도 수평 상태로부터 기립한 상태로 기복 가능으로 되어 있다. 기복 기구(3)로서는 유압 실린더 등을 이용할 수 있다.
치대(4)의 표면에는, 간격을 두고 그 표면으로부터 돌출하는 복수의 돌출부(7)가 설치되어 있다. 각각의 돌출부(7)는 출몰 기구(出沒機構)(7a)에 의해 이동하여 치대(4)의 표면에 대해 출몰 가능으로 되어 있다. 출몰 기구(7a)로서는 에어 실린더나 유압 실린더 등을 이용할 수 있다. 2개의 돌출부(7)가 조(組)가 되어 사용되고, 조가 되는 돌출부(7)끼리의 평면시의 간격 및 위치는 측정 대상이 되는 원형 부재(12)의 내경에 기초하여 설정되어 있다.
2차원 센서(8)는 평면시로 치대(4)의 중앙부에 배치되어 있고, 치대(4)에 평치된 원형 부재(12)의 내측에 배치된다. 2차원 센서(8)는 수평 이동 기구(10b)에 의해 원형 부재(12)의 반경 방향으로 이동 가능으로 되어 있다. 이에 의해, 평치된 원형 부재(12)의 내주면(12a)에 대향하여 배치된 2차원 센서(8)는 내주면(12a)에 대해 근접 및 이반(離反)하는 방향으로 이동할 수 있다.
2차원 센서(8) 및 수평 이동 기구(10b)는 평면시로 치대(4)의 소정 위치(예를 들어, 치대(4)의 중심)에 배치되어 상하로 연재하는 회전축(9)에 지지되어 있다. 회전축(9)은 회전 구동 기구(10a)에 의해 그 축심(軸心)을 중심으로 회전 구동된다. 이에 따라, 2차원 센서(8)는 회전축(9)을 중심으로 하여 회전 구동된다.
2차원 센서(8)로서는 레이저 센서를 이용할 수 있다. 2차원 센서(8)는 조사한 레이저광을 내주면(12a)에서 반사시키고, 반사한 레이저광을 수광함으로써, 2차원 센서(8)로부터 내주면(12a)까지의 이격 거리(d)를 원형 부재(12)에 비접촉으로 측정한다. 2차원 센서(8)는 레이저광을 내주면(12a)의 한 점에만 조사하는 것은 아니고, 한 번에 어느 정도의 길이 범위에 조사하여 2차원 센서(8)와 조사한 범위의 내주면(12a) 사이의 이격 거리(d)를 측정한다.
2차원 센서(8)에 의해 측정된 이격 거리(d)는 연산부(11)에 입력된다. 또한, 평면시의 회전축(9)(축심)의 위치와 2차원 센서(8)와의 거리(w)도 연산부(11)에 입력된다.
이하, 이 측정 장치(1)를 이용하여 원형 부재(12)의 내주 길이(L)를 측정하는 순서를 설명한다.
치대(4)에 원형 부재(12)를 평치하기 위해서는, 먼저 도 3에 나타내는 바와 같이, 치대(4)를 소정 각도로 하여 기립시킨 상태로 한다. 그리고 원형 부재(12)의 내경에 기초하여 선택한 2개의 돌출부(7)를 치대(4)의 표면으로부터 돌출시킨 상태로 한다. 수평에 대한 기립 상태의 치대(4)의 경사 각도는, 예를 들어 45° 이상 75° 이하로 한다.
그 다음에, 원형 부재(12)의 내주면(12a)을 치대(4)의 표면으로부터 돌출하고 있는 2개의 돌출부(7)에 계합시킴으로써, 원형 부재(12)를 치대(4)에 이재(移載)한다. 이에 의해, 원형 부재(12)는 내주면(12a)이 2개의 돌출부(7)에 의해 지지되는 동시에 하면(12b)이 볼록상 지지부(6)에 의해 지지된 상태로 된다. 대형 원형 부재(12)의 경우는 크레인 등을 이용하여 이재한다.
그 다음에, 도 2에 나타내는 바와 같이, 기복 기구(3)에 의해 치대(4)를 도복(倒伏)시켜 수평 상태로 한다. 그 후, 돌출부(7)를 치대(4)의 표면 아래에 몰입시킨 상태로 한다. 이에 의해, 원형 부재(12)는 치대(4)에 무구속 상태로 평치된다.
이와 같이 하여, 원형 부재(12)를 기립한 상태의 치대(4)에 이재함으로써, 대형이고 중량이 큰 원형 부재(12)라도 비교적 스페이스 절약으로 치대(4)로의 이재 작업을 행할 수 있다. 본 발명에 의해 내주 길이(L)를 측정하는 원형 부재(12)의 내경은 특별히 한정되지 않지만, 예를 들어 내경이 500 mm 이상 2000 mm 이하의 범위 정도라도 본 발명을 적용할 수 있다. 기립 상태의 치대(4)에 있어서 2개의 돌출부(7)에 원형 부재(12)의 내주면을 계합시킴으로써, 치대(4)에 대해 원형 부재(12)를 위치 결정할 수 있다.
그리고 기립한 상태의 치대(4)를 수평 상태로 하면, 치대(4)에 대해 소망의 위치에 위치 결정한 상태로 원형 부재(12)를 평치할 수 있다. 따라서 평치했을 때에 원형 부재(12)를 소망의 위치에 위치 결정할 수 있는 위치에 평면시에서의 치대(4)에 있어서의 돌출부(7)의 위치를 설정한다. 예를 들어, 평치했을 때의 원형 부재(12)의 원 중심의 위치가 회전축(9)의 위치로부터 20 mm 이하의 범위로 되도록 평면시에서의 치대(4)에 있어서의 돌출부(7)의 위치를 설정한다. 또한, 조가 되어 사용하는 2개의 돌출부(7)의 평면시의 간격이 지나치게 좁으면, 기립 상태의 치대(4)에서는 원형 부재(12)를 안정하게 보유하기 어려워지기 때문에, 서로의 돌출부(7) 사이에는 적당한 간격을 확보한다.
원형 부재(12)의 내경이 다르면, 평치했을 때에 원형 부재(12)를 소망의 위치에 위치 결정하기 위한 돌출부(7)의 위치가 다르다. 그래서, 예를 들어 원형 부재(12)의 내경 사이즈마다 사용하는 2개의 돌출부(7)가 적절한 평면시의 위치 및 간격을 설정하고, 그 적절한 위치에 돌출부(7)를 설치하면 좋다. 이 실시형태에서는, 그와 같이 2개의 돌출부(7)의 평면시의 위치 및 간격을 적절히 설정함으로써, 내경 사이즈가 다른 원형 부재(12)라도 평치했을 때에 원형 부재(12)의 원 중심이 대체로 회전축(9)의 위치가 되도록 설정되어 있다. 내경 사이즈가 다른 여러 가지 원형 부재(12)를 치대(4)에 대해 소망의 위치에 정밀도 좋게 위치 결정하여 평치할 수 있기 때문에, 높은 범용성을 갖고 있다.
그 다음에, 원형 부재(12)의 내주면(12a)에 대향하는 2차원 센서(8)를, 필요에 따라, 내주면(12a)을 향해 수평 이동 기구(10b)에 의해 이동시켜 소정의 측정 위치에서 정지시킨다. 즉, 내주면(12a)이 2차원 센서(8)에 의한 측정 가능 범위에 들어가도록 2차원 센서(8)를 이동시킨다. 따라서 치대(4)에 무구속 상태로 평치되어 있는 원형 부재(12)의 내주면(12a)이 당초의 위치에 있는 2차원 센서(8)의 측정 가능 범위에 있다면, 2차원 센서(8)를 수평 이동 기구(10b)에 의해 이동시킬 필요는 없다. 수평 이동 기구(10b)를 채용함으로써, 내경 사이즈가 다른 여러 가지 원형 부재(12)에 대해 2차원 센서(8)를 용이하게 측정 가능 범위에 세트할 수 있다.
그 다음에, 도 4, 도 5에 나타내는 바와 같이, 소정의 측정 위치에 위치 결정한 2차원 센서(8)를 회전축(9)을 중심으로 하여 회전시키면서 2차원 센서(8)로부터 내주면(12a)까지의 이격 거리(d)를 측정하고, 원형 부재(12)의 전체 둘레의 범위에서 이격 거리(d)를 측정한다. 측정한 이격 거리(d)는 연산부(11)에 입력된다. 평면시의 회전축(9)과 소정의 측정 위치에 있는 2차원 센서(8)와의 거리(w)는 파악할 수 있기 때문에, 이 거리(w)도 연산부(11)에 입력된다. 따라서 평면시의 회전축(9)의 축심으로부터 내주면(12a)까지의 거리(w+d)를 원형 부재(12)의 전체 둘레의 범위에서 파악할 수 있다.
여기서, 어떤 위치에서 이격 거리(d)를 측정하고 나서 다음 위치에서 이격 거리(d)를 측정할 때까지 2차원 센서(8)가 회전축(9)을 중심으로 하여 회전하는 각도는 미소 각도(A)(rad)이다. 예를 들어, 이 미소 각도(A)는 2π/15000(rad) 정도이다.
원형 부재(12)의 내주 길이(L)를 산출하는 방법은 몇 가지 있지만, 예를 들어 다음과 같이 산출한다. 도 6에 나타내는 바와 같이, 회전축(9)의 축심을 원점으로 하고, 2차원 센서(8)가 검지하는 원형 부재(12)의 내주면(12a) 상의 임의의 위치(P1)(X, Y)와 위치(P)의 다음에 검지하는 위치(P2)(x, y)를 상정한다. 평면시의 회전축(9)의 축심으로부터 위치(P1)까지의 거리를 w+d1이라고 하고, 회전축(9)의 축심으로부터 위치(P2)까지의 거리를 w+d2라고 한다. 기준점(C)으로부터 위치(P1)까지의 회전 각도를 θ로 하면, 위치(P1)(X, Y)의 좌표는 X=(w+d1)cosθ, Y=(w+d1)sinθ가 된다. 위치(P2)(x, y)의 좌표는 x=(w+d2)cos(θ+A), y=(w+d2)sin(θ+A)가 된다. 기준점(C)의 좌표, 회전 각도(θ), 미소 각도(A), 거리(w+d1), (w+d2)는 파악할 수 있기 때문에, 위치(P1)(X, Y)와 위치(P2)(x, y)의 좌표는 구할 수 있다. 미소 각도(A)에서의 미소 내주 길이(L1)는 L1 = {(X-x)2+(Y-y)2}1/2 과 근사할 수 있다. 그래서 연산부(11)에서는 이 미소 내주 길이(L1)를 원형 부재(12)의 전체 둘레로 적산(積算)함으로써 내주 길이(L)를 산출한다. 또한, 도 6에서는 미소 각도(A)를 설명하기 위해 실제보다도 과장하여 큰 각도로 기재하고 있다.
2차원 센서(8)에서는 한 번에 상하 방향의 소정 길이 범위에 레이저광을 조사하고, 2차원 센서(8)와 조사한 범위의 내주면(12a) 사이의 이격 거리(d)를 측정하고 있다. 그래서 내주 길이(L)를 산출할 때의 이격 거리(d)로서는, 예를 들어 내주면(12a)의 상하 방향 중심 위치에서의 이격 거리(d)나 소정의 상하 방향 위치에서의 이격 거리(d) 등 임의의 상하 방향 위치에서의 이격 거리(d)를 채용할 수 있다.
상술한 바와 같이, 본 발명에 의하면, 치대(4)에 무구속 상태로 평치한 원형 부재(12)의 내주 길이(L)를 원형 부재(12)와는 비접촉의2차원 센서(8)를 이용하여 측정한다. 그 때문에, 원형 부재(12)에는 불필요한 부하가 부여되는 경우가 없고, 강제적인 변형은 발생하지 않는다. 따라서 원형 부재(12)의 내주 길이(L)를 정밀도 좋게 측정하는 데 유리해지고 있다.
이 실시형태에서는, 무구속 상태로 치대(4)에 평치된 원형 부재(12)에 인접하는 치대(4)의 인접 부분의 표면이 2차원 센서(8)가 조사하는 레이저광에 대해 난반사하는 저반사면(6a)으로 구성되어 있다. 구체적으로는, 볼록상 지지부(6)의 상면 및 내주 측 단면은 표면을 미소 요철로 하는 블라스트 처리(blast processing) 등이 시행된 저반사면(6a)으로 되어 있다. 이에 의해, 볼록상 지지부(6)의 상면 및 내주 측 단면에 레이저광이 닿아도 난반사하기 때문에, 2차원 센서(8)에 수광되는 경우가 없다. 이에 수반하여, 핀포인트(pinpoint)가 아니고, 어느 정도의 범위에 레이저광을 조사하는 2차원 센서(8)라도 이격 거리(d)를 측정할 때의 측정 노이즈를 저감할 수 있다.
이격 거리(d)를 2차원 센서(8)에 의해 측정할 때는, 돌출부(7)는 치대(4)의 표면 아래에 몰입하고 있다. 그 때문에, 2차원 센서(8)가 조사하는 레이저광을 돌출부(7)가 차단하여 방해하는 경우는 없다.
또한, 원형 부재(12)가 상방에 돌출하는 볼록상 지지부(6)에 지지되어 있기 때문에, 2차원 센서(8)의 측정 중심과 원형 부재(12)의 내주면(12a)의 상하 방향 중심을 위치 맞추기가 용이해지고 있다. 그리고 원형 부재(12)의 볼록상 지지부(6)에 지지되어 있지 않은 부분에서는, 내주면(12a)은 공중에 뜬 상태가 되기 때문에, 내주면(12a)에 인접하는 치대(4)의 인접 부분이 최소한으로 된다. 이에 따라, 2차원 센서(8)에 의해 이격 거리(d)를 측정할 때의 측정 노이즈를 저감하는 데 유리하게 되어 있다.
치대(4)는 기복 가능한 구성으로 하지 않고, 수평 상태인 채로 치대(4)를 채용할 수도 있다. 이 사양의 경우는, 프레임(2)의 수평으로 고정된 상면(뼈대)에 치대(4)가 설치된다. 이 치대(4)에 대해, 옆으로 쓰러진 상태의 원형 부재(12)를 재치한다. 대형 원형 부재(12)의 경우는 크레인 등에 의해 원형 부재(12)를 옆으로 쓰러진 상태로 매달아 치대(4)에 이재한다.
도 7에 예시하는 측정 장치(1)의 다른 실시형태는 앞의 실시형태에 대해 상하 이동 기구(10c)가 추가되어 있을 뿐, 기타의 구성은 동일하다. 상하 이동 기구(10c)는 2차원 센서(8)를 상하 방향에 이동시킨다.
상하 이동 기구(10c)로서는 유압 실린더 등을 이용할 수 있다. 내주 길이(L)를 측정하기 전에, 2차원 센서(8)는 상하 이동 기구(10c)에 의해 원형 부재(12)의 내주면(12a)과 대향하는 위치에 위치 결정된다. 이와 같이 하여 측정 위치에 위치 결정된 2차원 센서(8)는 회전축(9)을 중심으로 하여 회전하면서 2차원 센서(8)로부터 내주면(12a)까지의 이격 거리(d)를 측정하고, 원형 부재(12)의 전체 둘레의 범위에서 이격 거리(d)를 측정한다. 원형 부재(12)의 내주 길이(L)를 산출하는 방법은 앞의 실시형태와 동일하다.
이 실시형태에서는 2차원 센서(8)를 내주면(12a)의 상하 위치에 따라 소망의 위치에 정밀도 좋게 위치 결정할 수 있다. 측정을 하지 않는 경우는, 예를 들어 2차원 센서(8)를 치대(4)의 표면이나 프레임(2)의 표면보다도 하방 위치에 이동시켜 대기시킨다. 이에 의해, 이동 중의 원형 부재(12)나 기타의 물건이 2차원 센서(8)에 충돌하여 손상하는 등의 트러블을 회피할 수 있다.
1: 측정 장치
2: 프레임
2a: 베이스 프레임
2b: 가동 프레임
3: 기복 기구
4: 치대
5: 분할체
6: 볼록상 지지부
6a: 저반사면
7: 돌출부
7a: 출몰 기구
8: 차원 센서
9: 회전축
10a: 회전 구동 기구
10b: 수평 이동 기구
10c: 상하 이동 기구
11: 연산부
12: 원형 부재
12a: 내주면
12b: 하면

Claims (3)

  1. 원형 부재가 재치되는 치대와, 이 치대에 대해 이동 가능하게 설치되어 있는 2차원 센서와, 이 2차원 센서를 회전시키는 회전 구동 기구와, 상기 2차원 센서에 의한 측정 데이터가 입력되는 연산부를 구비하고,
    상기 치대에 무구속 상태로 평치된 원형 부재의 내주면에 대향하여 상기 2차원 센서가 소정의 측정 위치에 배치되고, 상기 원형 부재의 내측의 소정 위치를 중심으로 하여 상기 2차원 센서를 상기 회전 구동 기구에 의해 회전시킴으로써, 상기 2차원 센서로부터 상기 내주면까지 이격 거리가 상기 원형 부재의 전체 둘레의 범위에서 상기 원형 부재에 비접촉으로 측정되고, 측정된 상기 이격 거리와, 평면시의 상기 소정 위치와 상기 2차원 센서와의 거리에 기초하여, 상기 연산부에 의해 상기 원형 부재의 내주 길이가 산출되는 구성으로 한 것을 특징으로 하는 원형 부재의 내주 길이 측정 장치.
  2. 제1항에 있어서,
    상기 2차원 센서를 수평 방향으로 이동시키는 수평 이동 기구를 갖고, 이 수평 이동 기구에 의해 상기 2차원 센서가 평면시로 상기 측정 위치에 위치 결정되는 구성으로 한 원형 부재의 내주 길이 측정 장치.
  3. 제1항 또는 제2항에 있어서,
    상기 2차원 센서를 상하 방향으로 이동시키는 상하 이동 기구를 갖고, 이 상하 이동 기구에 의해 상기 2차원 센서가 상기 내주면과 대향하는 위치에 위치 결정되는 구성으로 한 내주 길이 측정 장치.
KR1020187021217A 2016-03-16 2017-02-16 원형 부재의 내주 길이 측정 장치 Active KR102067776B1 (ko)

Applications Claiming Priority (3)

Application Number Priority Date Filing Date Title
JP2016052614A JP6206527B2 (ja) 2016-03-16 2016-03-16 円形部材の内周長測定装置
JPJP-P-2016-052614 2016-03-16
PCT/JP2017/005615 WO2017159193A1 (ja) 2016-03-16 2017-02-16 円形部材の内周長測定装置

Publications (2)

Publication Number Publication Date
KR20180098338A true KR20180098338A (ko) 2018-09-03
KR102067776B1 KR102067776B1 (ko) 2020-02-11

Family

ID=59850217

Family Applications (1)

Application Number Title Priority Date Filing Date
KR1020187021217A Active KR102067776B1 (ko) 2016-03-16 2017-02-16 원형 부재의 내주 길이 측정 장치

Country Status (6)

Country Link
US (1) US10775154B2 (ko)
EP (1) EP3431922B1 (ko)
JP (1) JP6206527B2 (ko)
KR (1) KR102067776B1 (ko)
CN (1) CN108603753B (ko)
WO (1) WO2017159193A1 (ko)

Families Citing this family (4)

* Cited by examiner, † Cited by third party
Publication number Priority date Publication date Assignee Title
JP6233434B2 (ja) * 2016-03-16 2017-11-22 横浜ゴム株式会社 円形部材の内周長測定方法
JP6146505B1 (ja) * 2016-03-16 2017-06-14 横浜ゴム株式会社 円形部材の内周長測定装置
US10845192B2 (en) * 2017-09-13 2020-11-24 Shawn Thomas Lause Machine tool test fixture
CN109341622B (zh) * 2018-12-06 2020-10-02 燕山大学 接触式特种车辆支承滚轮高度检测仪

Citations (3)

* Cited by examiner, † Cited by third party
Publication number Priority date Publication date Assignee Title
JPH01195309A (ja) * 1988-01-29 1989-08-07 Sumitomo Rubber Ind Ltd 円筒体測定装置
JP2005140726A (ja) * 2003-11-10 2005-06-02 Omron Corp 薄膜測定方法及び薄膜測定装置
JP2012150013A (ja) 2011-01-19 2012-08-09 Sumitomo Rubber Ind Ltd ビードコアの内周長測定装置

Family Cites Families (22)

* Cited by examiner, † Cited by third party
Publication number Priority date Publication date Assignee Title
JPH061128A (ja) 1992-06-23 1994-01-11 Yokohama Rubber Co Ltd:The タイヤビード部の内周長計測機
JP2759055B2 (ja) * 1994-08-22 1998-05-28 川崎製鉄株式会社 ペイオフリールの自動減速制御方法
US6289600B1 (en) * 1999-11-02 2001-09-18 United States Pipe & Foundry Company Non-contact measuring device
US7251580B2 (en) * 2003-10-20 2007-07-31 Mitutoyo Corporation Method for measuring curved surface of workpiece, program and medium thereof
GB0605796D0 (en) * 2006-03-23 2006-05-03 Renishaw Plc Apparatus and method of measuring workpieces
JP5120625B2 (ja) * 2008-03-07 2013-01-16 アイシン精機株式会社 内面測定装置
JP2010048731A (ja) * 2008-08-25 2010-03-04 Toyota Motor Corp 断面形状の測定装置と測定方法
JP5269698B2 (ja) * 2009-06-10 2013-08-21 株式会社ミツトヨ 真円度測定装置
KR101118957B1 (ko) * 2009-12-29 2012-03-05 주식회사 성우하이텍 도어 샌딩용 테이블 지그
CN202432959U (zh) * 2011-12-26 2012-09-12 宝山钢铁股份有限公司 多功能圆盘剪刀片检测台架
JP2013134176A (ja) * 2011-12-27 2013-07-08 Sharp Corp 撮像装置および撮像方法
JP2013186009A (ja) * 2012-03-08 2013-09-19 Toyota Motor Corp 形状測定装置の校正方法
JP6169339B2 (ja) * 2012-10-04 2017-07-26 株式会社日立製作所 形状計測方法及び装置
CN102980558A (zh) * 2012-12-07 2013-03-20 辽宁工程技术大学 基于极坐标积分的矿用智能巷道断面测量装置及方法
CN102997851B (zh) * 2012-12-11 2015-08-05 三一重工股份有限公司 螺旋筒的圆周测量方法及圆周测量装置
CN104180763A (zh) * 2013-05-24 2014-12-03 南开大学 大直径圆环类零件内外径非接触式测量装置
CN103278100B (zh) * 2013-06-19 2016-06-22 天津大学 一种基于非接触式传感器组合的孔径测量方法
US10371507B2 (en) 2013-07-19 2019-08-06 Nikon Corporation Shape measurement device, structural object production system, shape measurement method, structural object production method, shape measurement program, and recording medium
CN203615897U (zh) * 2013-09-23 2014-05-28 北京石油化工学院 基于位移传感器的管道内径测量装置
CN204325905U (zh) * 2014-10-28 2015-05-13 中铁二院工程集团有限责任公司 用于多向测力球型钢支座的测力弹性体
JP6233434B2 (ja) * 2016-03-16 2017-11-22 横浜ゴム株式会社 円形部材の内周長測定方法
JP6146505B1 (ja) * 2016-03-16 2017-06-14 横浜ゴム株式会社 円形部材の内周長測定装置

Patent Citations (3)

* Cited by examiner, † Cited by third party
Publication number Priority date Publication date Assignee Title
JPH01195309A (ja) * 1988-01-29 1989-08-07 Sumitomo Rubber Ind Ltd 円筒体測定装置
JP2005140726A (ja) * 2003-11-10 2005-06-02 Omron Corp 薄膜測定方法及び薄膜測定装置
JP2012150013A (ja) 2011-01-19 2012-08-09 Sumitomo Rubber Ind Ltd ビードコアの内周長測定装置

Non-Patent Citations (1)

* Cited by examiner, † Cited by third party
Title
일본 공개특허공보 제(평)6-1128호

Also Published As

Publication number Publication date
KR102067776B1 (ko) 2020-02-11
EP3431922B1 (en) 2022-03-02
CN108603753A (zh) 2018-09-28
US10775154B2 (en) 2020-09-15
EP3431922A1 (en) 2019-01-23
CN108603753B (zh) 2020-08-04
JP2017166982A (ja) 2017-09-21
US20190154433A1 (en) 2019-05-23
WO2017159193A1 (ja) 2017-09-21
JP6206527B2 (ja) 2017-10-04
EP3431922A4 (en) 2019-09-25

Similar Documents

Publication Publication Date Title
CN106415197B (zh) 修正环形旋转体的表面形状数据的方法和检查环形旋转体的外观的装置
JP5946424B2 (ja) タイヤ試験機
KR20180098338A (ko) 원형 부재의 내주 길이 측정 장치
KR20180097706A (ko) 원형 부재의 내주 길이 측정 방법
CN102139608A (zh) 通过非接触感测确定轮胎几何尺寸的设备和方法
JP6420639B2 (ja) トレッド形状測定方法
CN103250024B (zh) 用于在修车车间机器或类似物上检测车轮的形状和/或尺寸的方法
KR20180097705A (ko) 원형 부재의 내주 길이 측정 장치
WO2023171396A1 (ja) 表面形状計測装置
KR20150088924A (ko) 대형 베어링의 진원도 측정 시스템
JP6265864B2 (ja) タイヤ試験装置
JP6735254B2 (ja) タイヤの動負荷半径の算出装置及び算出方法
CN207317764U (zh) 一种新型三坐标测量仪
CN117387543A (zh) 一种轮辋外轮缘高度的检测装置及检测方法
US20200263975A1 (en) Shape Measuring Device for Hose Connector Fitting
JP2005127810A5 (ko)

Legal Events

Date Code Title Description
A201 Request for examination
PA0105 International application

St.27 status event code: A-0-1-A10-A15-nap-PA0105

PA0201 Request for examination

St.27 status event code: A-1-2-D10-D11-exm-PA0201

PG1501 Laying open of application

St.27 status event code: A-1-1-Q10-Q12-nap-PG1501

E902 Notification of reason for refusal
PE0902 Notice of grounds for rejection

St.27 status event code: A-1-2-D10-D21-exm-PE0902

P11-X000 Amendment of application requested

St.27 status event code: A-2-2-P10-P11-nap-X000

P13-X000 Application amended

St.27 status event code: A-2-2-P10-P13-nap-X000

E701 Decision to grant or registration of patent right
PE0701 Decision of registration

St.27 status event code: A-1-2-D10-D22-exm-PE0701

GRNT Written decision to grant
PR0701 Registration of establishment

St.27 status event code: A-2-4-F10-F11-exm-PR0701

PR1002 Payment of registration fee

St.27 status event code: A-2-2-U10-U12-oth-PR1002

Fee payment year number: 1

PG1601 Publication of registration

St.27 status event code: A-4-4-Q10-Q13-nap-PG1601

PR1001 Payment of annual fee

St.27 status event code: A-4-4-U10-U11-oth-PR1001

Fee payment year number: 4

PR1001 Payment of annual fee

St.27 status event code: A-4-4-U10-U11-oth-PR1001

Fee payment year number: 5

R18-X000 Changes to party contact information recorded

St.27 status event code: A-5-5-R10-R18-oth-X000

PR1001 Payment of annual fee

St.27 status event code: A-4-4-U10-U11-oth-PR1001

Fee payment year number: 6

U11 Full renewal or maintenance fee paid

Free format text: ST27 STATUS EVENT CODE: A-4-4-U10-U11-OTH-PR1001 (AS PROVIDED BY THE NATIONAL OFFICE)

Year of fee payment: 6