KR20170016277A - 입체 간판 및 입체 간판의 제작방법 - Google Patents

입체 간판 및 입체 간판의 제작방법 Download PDF

Info

Publication number
KR20170016277A
KR20170016277A KR1020160089089A KR20160089089A KR20170016277A KR 20170016277 A KR20170016277 A KR 20170016277A KR 1020160089089 A KR1020160089089 A KR 1020160089089A KR 20160089089 A KR20160089089 A KR 20160089089A KR 20170016277 A KR20170016277 A KR 20170016277A
Authority
KR
South Korea
Prior art keywords
plate
side portion
signboard
receiving portion
shape
Prior art date
Legal status (The legal status is an assumption and is not a legal conclusion. Google has not performed a legal analysis and makes no representation as to the accuracy of the status listed.)
Granted
Application number
KR1020160089089A
Other languages
English (en)
Other versions
KR101965342B1 (ko
Inventor
박희용
Original Assignee
박희용
Priority date (The priority date is an assumption and is not a legal conclusion. Google has not performed a legal analysis and makes no representation as to the accuracy of the date listed.)
Filing date
Publication date
Application filed by 박희용 filed Critical 박희용
Publication of KR20170016277A publication Critical patent/KR20170016277A/ko
Application granted granted Critical
Publication of KR101965342B1 publication Critical patent/KR101965342B1/ko
Active legal-status Critical Current
Anticipated expiration legal-status Critical

Links

Images

Classifications

    • GPHYSICS
    • G09EDUCATION; CRYPTOGRAPHY; DISPLAY; ADVERTISING; SEALS
    • G09FDISPLAYING; ADVERTISING; SIGNS; LABELS OR NAME-PLATES; SEALS
    • G09F13/00Illuminated signs; Luminous advertising
    • G09F13/04Signs, boards or panels, illuminated from behind the insignia
    • G09F13/0413Frames or casing structures therefor
    • GPHYSICS
    • G09EDUCATION; CRYPTOGRAPHY; DISPLAY; ADVERTISING; SEALS
    • G09FDISPLAYING; ADVERTISING; SIGNS; LABELS OR NAME-PLATES; SEALS
    • G09F13/00Illuminated signs; Luminous advertising
    • G09F13/04Signs, boards or panels, illuminated from behind the insignia
    • G09F13/0404Signs, boards or panels, illuminated from behind the insignia the light source being enclosed in a box forming the character of the sign
    • GPHYSICS
    • G09EDUCATION; CRYPTOGRAPHY; DISPLAY; ADVERTISING; SEALS
    • G09FDISPLAYING; ADVERTISING; SIGNS; LABELS OR NAME-PLATES; SEALS
    • G09F13/00Illuminated signs; Luminous advertising
    • G09F13/04Signs, boards or panels, illuminated from behind the insignia
    • G09F13/0409Arrangements for homogeneous illumination of the display surface, e.g. using a layer having a non-uniform transparency
    • GPHYSICS
    • G09EDUCATION; CRYPTOGRAPHY; DISPLAY; ADVERTISING; SEALS
    • G09FDISPLAYING; ADVERTISING; SIGNS; LABELS OR NAME-PLATES; SEALS
    • G09F13/00Illuminated signs; Luminous advertising
    • G09F13/20Illuminated signs; Luminous advertising with luminescent surfaces or parts
    • G09F13/22Illuminated signs; Luminous advertising with luminescent surfaces or parts electroluminescent

Landscapes

  • Physics & Mathematics (AREA)
  • General Physics & Mathematics (AREA)
  • Engineering & Computer Science (AREA)
  • Theoretical Computer Science (AREA)
  • Illuminated Signs And Luminous Advertising (AREA)

Abstract

본 발명은 문자, 도형 등을 입체적으로 표현할 수 있는 입체 간판으로서, 외관이 깔끔하고 미려하며 제작이 용이한 입체 간판에 관한 것이다.
본 발명의 입체 간판은, 간판의 형상을 따라 절곡되어 내측에 수용부를 형성하고 간판의 입체 형상을 표현하는 측면부와 상기 수용부에 삽입되어 상기 측면부에 고정되는 투광판을 포함하고, 상기 측면부의 양면은 턱 또는 돌기가 돌출되어 있지 않은 평면으로 형성되며, 상기 투광판은 상기 수용부 내에서 일정한 높이에 위치하도록 상기 수용부에 삽입 배치되는 지지대에 의해 지지되고, 상기 측면부의 외측면에 얼룩이나 굴곡을 남기지 않도록 접착제에 의해 상기 측면부의 내측면에 접착되는 것을 특징으로 한다.

Description

입체 간판 및 입체 간판의 제작방법{Solid sign board and manufacturing method thereof}
본 발명은 문자, 도형 등을 입체적으로 표현할 수 있는 입체 간판으로서, 외관이 깔끔하고 미려하며 제작이 용이한 입체 간판 및 그 제작방법에 관한 것이다.
일반적으로 간판은 각종 건물의 내, 외벽면 등에 설치하여 해당 업체의 사업행위나 제품명을 문자, 도형, 기호 등을 통하여 널리 광고하기 위한 것이며, 시각적인 효과를 높이기 위하여 여러가지 다양한 형태를 갖는다.
이러한 간판은 평면 프레임의 전면 표면에 각종 문자, 도형, 기호 등으로 이루어지는 광고 내용을 인쇄하는 방식으로 형성되는 평면 간판과 프레임의 표면 또는 벽면에 문자 또는 도형과 같은 광고 내용을 소정 높이만큼 입체형상으로 돌출되게 설치하는 입체 간판이 있다.
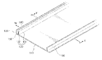
등록특허공보 제10-1046676호에는 종래의 입체 간판이 개시되어 있다. 종래의 입체 간판은, 문자 또는 도형의 형상을 가지고 전면에 위치하여 빛을 투과시키는 투과창, 상기 투과창과 동일한 모양으로 형성되어 조명이 설치된 전면이 상기 투과창의 배면에 대향하도록 설치되는 베이스 플레이트, 상기 투광창과 베이스 플레이트 사이에 위치하여 상기 투과창과 베이스 플레이트 사이의 공간을 외부와 밀폐시키는 측면 프레임을 포함한다. 상기 측면 프레임은 도 1에 도시된 바와 같은 채널바로 제작되며, 상기 채널바는 상기 투과창의 단부를 따라 절곡된다. 이러한 채널바는 장방형의 판상으로 형성되는 유연성 프레임(110)을 포함한다. 그리고 상기 유연성 프레임(110)에는 절곡부(120)가 형성된 면에서 돌출되고 상기 절곡부(120)와 평행하게 연장되는 수직부(131) 및 상기 수직부(131)의 단부에서 상기 절곡부(120)를 향해 연장되는 수평부(132)가 형성되어 있다. 그리고 상기 수평부(132)와 유연성 프레임(110) 사이에 투과창 삽입구(140)가 형성된다.
한편, 등록특허공보 제10-1352728호에는 또 다른 형태의 종래의 입체 간판이 개시되어 있다. 이러한 입체 간판은 도 2에 도시된 바와 같이, 소정 폭을 갖는 띠형상으로 마련되어 일정 길이로 절단되어 표현하고자 하는 문자나 도형을 포함하는 문양으로 굴곡성형이 가능하도록 코일형태로 감겨진 프레임패널(11)과, 상기 프레임패널(11)의 일측면 양단부에 각각 상호 소정간격으로 이격되어 상기 프레임패널(11)의 길이방향을 따라 형성되어 합성수지 재질의 상부패널이 고정되는 걸림부(15)를 포함한다.
이와 같이 종래의 입체 간판은 투과창 또는 상부패널을 고정하기 위하여 유연성 프레임(110)과 프레임패널(11)에 걸림턱(131,132) 및 걸림부(15)를 형성하였다. 그러나 유연성 프레임(프레임패널)에 걸림턱(걸림부)이 형성되어 있을 경우 유연성 프레임을 간판의 형상에 맞춰 복잡한 형상으로 구부리기 어렵고, 간판의 형상이 일그러질 우려가 있다. 이러한 유연성 프레임을 간판의 형상에 맞춰 구부리기 위해서는 절곡되는 부분의 걸림턱 일부를 절단하거나 제거하는 작업이 필요하게 된다. 반면, 유연성 프레임에 걸림턱을 형성하지 않을 경우, 투과창을 유연성 프레임의 내측 일정한 위치에 평행하게 고정하기 매우 어렵다.
또한, 내부에 엘이디 광원을 설치하여 외부로 빛나게 할 경우, 엘이디 광원으로부터 방출되는 빛의 일부가 걸림턱에 가려지게 되는 문제점이 있다.
본 발명은 전술한 문제점을 해결하기 위한 것으로서, 구조가 간단하고 제작이 용이하며 외관이 깔끔하고 미려한 입체 간판을 제공하는데 그 목적이 있다.
상기 목적을 달성하기 위하여 본 발명의 입체 간판은, 간판의 형상을 따라 절곡되어 내측에 수용부를 형성하고 간판의 입체 형상을 표현하는 측면부와 상기 수용부에 삽입되어 측면부에 고정되는 투광판을 포함하고, 상기 측면부의 양면은 턱 또는 돌기가 돌출되어 있지 않은 평면으로 형성되며, 상기 투광판은 상기 수용부 내에서 일정한 높이에 위치하도록 상기 수용부에 삽입 배치되는 지지대에 의해 지지되고, 상기 측면부의 외측면에 얼룩이나 굴곡을 남기지 않도록 접착제에 의해 상기 측면부의 내측면에 접착된다.
그리고 상기 측면부의 외측면에는 상기 측면부를 절곡시키기 전에 무늬 또는 색상을 갖는 시트지가 부착된다.
또한, 상기 지지대는 간판의 형상을 따라 상기 수용부에 삽입 배치되는 복수의 지지블록이 될 수 있다.
그리고 상기 지지대는 상기 측면부와 투광판의 접착 후 상기 수용부로부터 분리되고, 상기 수용부에는 엘이디 광원이 삽입 배치되며, 상기 충전공간에는 광확산수지층이 형성된다.
또한, 본 발명의 입체 간판은 상기 엘이디 광원이 장착되고 상기 측면부에 결합되어 상기 수용부를 막는 배면판을 더 포함하며, 상기 배면판에는 상기 배면판과 투광판 사이의 거리를 일정하게 유지하는 복수의 지지돌기가 돌출형성된다.
그리고 상기 배면판은 상기 투광판과 동일한 형상 및 크기로 형성되고, 상기 배면판 및 지지돌기는 투광성 재질이다.
한편, 본 발명의 입체 간판 제작방법은, 표면에 무늬 또는 색상을 갖는 측면부를 간판의 형상을 따라 절곡시켜 내부에 수용부를 형성하는 단계; 상기 수용부에 지지대를 삽입하는 단계; 상기 수용부에 투광판을 삽입하여 상기 지지대 위에 배치시키는 단계; 상기 측면부의 내측면과 투광판 사이에 접착제를 도포하여 측면부와 투광판을 고정시고, 상기 투광판의 상부에 충전공간을 형성하는 단계; 상기 충전공간에 광확산수지를 도포하여 광확산수지층을 형성하는 단계; 및 상기 수용부로부터 상기 지지대를 분리하는 단계를 포함한다.
또한, 본 발명의 입체 간판 제작방법은 상기 측면부를 절곡시키기 전에 상기 측면부의 표면에 상기 무늬 또는 색상을 갖는 시트지를 부착시키는 단계를 더 포함할 수 있다.
또한, 본 발명의 입체 간판 제작방법은 상기 측면부를 절곡시키기 전에 상기 측면부의 표면에 상기 무늬 또는 색상을 인쇄(printing)하는 단계를 더 포함할 수 있다.
본 발명에 따른 입체 간판은 측면부에 턱이나 돌기가 돌출되지 않아 구조가 간단하고 측면부를 간판의 형상에 맞춰 구부리기 용이하며, 내부에 설치되는 엘이디 광원으로부터 방출되는 빛이 차단되는 부분이 없다.
또한, 측면부를 절곡시켜 형성된 수용부에 지지대를 삽입하여 투광판을 지지하도록 함으로써 투광판을 측면부의 내측 일정한 높이에 평행하게 고정시키기 용이하다.
또한, 본 발명의 입체 간판은 측면부를 절곡시키기 전에 측면부 외측면에 다양한 무늬 또는 색상을 갖는 시트지를 부착시킴으로써 입체 간판의 외관을 다양하고 미려하게 표현할 수 있고, 타카나 용접 방식을 이용하지 않기 때문에 외관에 비정상적인 굴곡이나 용접에 의한 얼룩이 발생하지 않는다. 그리고 표면 도장으로는 불가능한 원하는 색상의 본연의 색깔 그대로 입체 간판의 표면에 표현할 수 있다.
도 1은 종래의 입체 간판을 제작하기 위한 유연성 프레임을 나타낸 도면.
도 2는 다른 형태의 종래의 입체 간판을 제작하기 위한 프레임패널을 나타낸 도면.
도 3은 본 발명의 실시예에 따른 입체 간판의 사시도.
도 4는 도 3의 A-A선을 취하여 본 단면도.
도 5 내지 도 7은 본 발명의 입체 간판을 제작하기 위한 과정을 나타낸 도면.
도 8은 도 7의 종단면도.
도 9는 본 발명의 실시예에 따른 배면판을 별도로 분리하여 나타낸 입체 간판의 사시도.
도 10은 본 발명의 실시예에 따른 입체 간판에서 지지돌기가 형성된 부분의 종단면도.
본 발명의 입체 간판은 문자, 도형 등을 입체적으로 표현할 수 있는 것으로서, 구조가 간단하고 제작이 용이하며 외관을 깔끔하고 미려하게 표현할 수 있다.
이하, 첨부된 도면을 참조하여 본 발명을 상세히 설명한다.
도 3은 본 발명의 실시예에 따른 입체 간판의 사시도이고, 도 4는 도 3의 A-A선을 취하여 본 단면도이다. 그리고 도 5는 입체 간판을 제작하기 위한 측면부, 투광판 및 지지부의 분해사시도이고, 도 6은 측면부의 내부에 지지부가 삽입된 상태를 나타낸 도면이며, 도 7은 투광판이 수용부에 삽입되어 측면부의 내측면에 부착된 상태를 타나낸 도면이고, 도 8(a)는 도 7에서 도 3과 동일한 부분을 절단하여 나타낸 단면도이며, 도 8(b)는 투광판의 상부에 광확산수지층이 형성되어 있는 상태를 나타낸 단면도이다.
그리고 도 9는 본 발명의 실시예에 따른 배면판을 별도로 분리하여 나타낸 입체 간판의 사시도이고, 도 10은 본 발명의 실시예에 따른 입체 간판에서 지지돌기가 형성된 부분의 종단면도이다.
본 발명의 실시예에 따른 입체 간판은 도 3 내지 도 8에 도시된 바와 같이, 측면부(100), 투광판(300), 엘이디 광원(L) 및 배면판(600)으로 이루어진다.
측면부(100)는 간판의 형상을 따라 절곡되어 내부에 수용부(101)를 형성하고, 도 3에 도시된 바와 같이 간판의 입체 형상을 구현한다. 이러한 측면부(100)는 금속판재이며, 도 4 또는 도 5에 도시된 바와 같이 측면부(100)의 양면은 턱 또는 돌기가 돌출되어 있지 않은 평면으로 형성된다. 이와 같이 측면부(100)에는 턱이나 돌기 등이 돌출되어 있지 않기 때문에 측면부(100)를 문자, 도형 등의 복잡한 형상을 따라 절곡시키기 용이하다. 본 실시예에서는 측면부(100)를 금속판재로 제작하였지만, 본 발명에 있어서 측면부(100)의 재질을 금속판재로 한정할 필요는 없으며, 투명 또는 반투명 재질 및 기타 다양한 재질로 측면부(100)를 제작할 수 있다.
그리고 측면부(100)의 외측면에는 측면부(100)를 절곡시키기 전에 특정 무늬 또는 색상을 갖는 시트지(200)가 부착된다. 특정 문자, 도형 등의 형상으로 측면부(100)를 절곡시킨 후에는 측면부(100)의 외측면에 시트지(200)를 부착시키기 어렵기 때문에 측면부(100)를 절곡시키기 전에 시트지(200)를 부착시켜야 한다. 특정 무늬를 갖는 시트지(200)는 측면부(100)의 외측면에 부착되어 간판의 표면에 다양한 무늬 또는 색상을 나타냄으로써 간판을 미려하고 다양하게 표현할 수 있다. 그리고 페인트 등으로 측면부(100)의 외측면을 도장하는 방법으로는 원하는 색상의 본연의 색깔을 그대로 표현할 수 없지만, 측면부(100)의 외측면에 유색 시트지(200)를 부착시킴으로써 원하는 색상 그대로 표현이 가능하다. 또한, 시트지(200)는 특정 재질을 나타내는 무늬로 이루어져 간판을 일반적인 금속재질 외에 다양한 재질로 표현할 수도 있다.
또한, 측면부(100)를 절곡시키기 전에 측면부(100)를 인쇄장치에 투입하여 측면부(100)의 외측면에 무늬 또는 색상을 인쇄(printing)할 수 있다. 인쇄(printing)에 의한 무늬 또는 색상은 더욱 세밀하고 다양한 표현이 가능하며, 상술한 바와 같이 측면부(100)의 양면은 턱 또는 돌기가 돌출되어 있지 않은 평면으로 형성되기 때문에 인쇄장치에 평평하게 투입하여 외측면에 무늬 또는 색상을 인쇄하기 용이하다.
투광판(300)은 수용부(101)에 삽입되어 수용부(101) 내에 고정된다. 이러한 투광판(300)은 수용부(101) 내에 삽입 배치되는 엘이디 광원(L)으로부터 방출되는 빛이 투과할 수 있는 재질로 이루어지며, 수용부(101) 내에서 일정한 높이에 위치하여 고정된다. 이때, 투광판(300)의 상부에 광확산수지층(500)을 형성하기 위하여 투광판(300)의 상부에는 광확산수지가 충전되는 충전공간(102)이 형성된다. 이와 같이 투광판(300)의 상부에 충전공간(102)을 형성하기 위하여 투광판(300)은 측면부(100)의 상단보다 하부에 고정되어야 한다. 그리고 충전공간(102)은 광확산수지층(500)에 의해 완전히 채워져야 하기 때문에 광확산수지층(500)이 과다하게 사용되는 것을 방지하기 위하여 투광판(300)의 상부에 형성되는 충전공간(102)의 크기를 최소화할 수 있도록 투광판(300)을 고정하는 것이 바람직하다.
구체적으로 투광판(300)과 측면부(100)를 결합시킬 때는 먼저, 도 6에 도시된 바와 같이 수용부(101)에 지지대(400)를 삽입하고, 도 7에 도시된 바와 같이 투광판(300)을 수용부(101)에 삽입하여 지지대(400)에 의해 지지되도록 한다. 이와 같이 투광판(300)은 지지대(400)에 의해 지지되어 수용부(101) 내에서 일정한 높이에 수평으로 배치된다. 본 발명의 지지대(400)를 사용하지 않고 턱이나 돌기가 돌출되어 있지 않은 측면부(100)의 일정한 높이에 투광판(300)을 수평으로 고정시키는 것은 매우 어려운 작업이다. 그러나 본 발명에서는 도 8(a)에 도시된 바와 같이 지지대(400)를 사용하여 수용부(101) 내에서 투광판(300)이 지지되도록 함으로써 투광판(300)을 측변부(100) 내측면 일정한 높이에 수평으로 고정시킬 수 있다.
이러한 지지대(400)는 문자, 도형 등 간판의 특정 형상과 동일하게 제작하여 수용부(101)에 삽입되도록 한다. 또한, 도면에 별도로 도시하지는 않았지만, 지지대(400)는 복수의 지지블록으로 이루어져 수용부(101)에 간판의 형상(수용부(101) 또는 투광판(300)의 형상)을 따라 배치함으로써 투광판(300)을 지지하도록 할 수도 있다. 그리고 지지대(400)의 높이를 달리하여 투광판(300)이 수용부(101) 내에서 고정되는 위치를 조절할 수도 있다.
한편, 투광판(300)은 접착제에 의해 측면부(100)의 내측면에 접착된다. 일반적인 입체 간판의 경우 타카를 이용하여 투광판을 측면부에 고정시키거나 측면부와 측면부의 상부를 덮는 금속재질의 판재를 용접하여 고정시킨다. 하지만, 타카를 이용할 경우 타카에 의한 타카핀의 사출력에 의해 측면부의 외측면에 굴곡이 발생할 수 있고, 용접을 할 경우 측면부의 외측면에 용접에 의한 얼룩이 발생할 수 있다. 상기와 같이 타카에 의해 측면부에 굴곡이 형성될 경우 측면부의 형상을 바로잡기 어렵고, 용접에 의한 얼룩을 가리기 위해서는 별도의 도장작업이 추가로 필요하다. 더욱이 본 발명의 경우 측면부(100)의 외측면에 시트지(200)가 부착되어 있어서 용접에 의해 시트지(200)가 타기 때문에 용접이 불가능하다.
위와 같은 문제점으로 인해 본 발명에서는 접착제를 이용하여 측면부(100)와 투광판(300)을 고정하였으며, 접착제에 의해 투광판(300)이 측면부(100)의 내측 일정한 높이에 고정되도록 하기 위해서 하부에 지지대(400)를 삽입 배치하였다.
이와 같이 측면부(100)와 투광판(300)을 접착한 후에 충전공간(102)에 광확산수지를 도포하여, 도 8(b)에 도시된 바와 같이 광확산수지층(500)을 형성한다. 광확산수지층(500)은 수용부(101)에 장착되는 엘이디 광원에서 발생하여 간판 외부로 방출되는 빛을 확신시킨다. 또한, 광확산수지층(500)은 먼저 충전공간(102)의 형상에 맞춰 제작한 후, 충전공간(102)에 삽입하여 결합시킬 수도 있다.
이후, 수용부(101)로부터 지지대(400)를 분리하고, 도 9에 도시된 바와 같이 엘이디 광원(L)이 장착되어 있는 배면판(600)을 접착제 등을 이용하여 측면부(100)에 결합시켜 수용부(101)를 막는다. 이러한 배면판(600)에는 복수의 지지돌기(610)가 돌출형성되어 있다. 지지돌기(610)는 배면판(600)과 투광판(300) 사이의 거리를 일정하게 유지하기 위한 구성이다. 특히, 도 10에 도시된 바와 같이, 배면판(600)이 투광판(300)과 형상과 크기가 동일할 때 배면판(600)은 수용부(101) 내부로 삽입되기 때문에, 배면판(600)으로부터 돌출된 지지돌기(610)가 투광판(300)과 접촉하여 배면판(600)이 수용부(101)로 완전히 삽입되지 않고 일정 거리를 유지하여 측면부(100)에 고정될 수 있도록 하였다. 이에 따라 배면판(600)을 측면부(100)에 고정시킬 때 지지돌기(610)의 길이에 따라 일정한 위치에 쉽게 고정시킬 수 있다.
본 실시예에서는 지지돌기(610)를 사다리꼴 형상으로 형성하였지만 다양한 형상으로 형성할 수 있다. 그리고 지지돌기(610)는 간판의 형상에 따라 적절히 그 수와 장착위치를 조절할 수 있다.
그리고 지지돌기(610)는 투광판(300)과 같은 투광성 재질로 제작되어, 엘이디 광원(L)으로부터 조사된 빛을 차단하지 않도록 하였다.
또한, 배면판(600) 역시 투광성 재질로 제작하여 간판이 후방으로도 빛나도록 할 수 있다.
한편, 측면부(100)와 배면판(600)의 결합은 별도의 결합수단을 이용하거나 측면부(100) 내측면에 배면판(600)과의 결합을 위한 결합구조를 형성할 수도 있지만, 전술한 바와 같이 본 발명의 측면부(100)는 양면을 평면으로 형성하기 때문에 걸림턱과 같은 결합구조를 형성할 수 없다. 그리고 이러한 걸림턱을 형성한다 하더라도, 걸림턱에 의해 빛이 차단되어 음영이 발생되는 문제점이 있다. 또한, 걸림턱과 같은 결합구조를 형성하거나 별도의 결합수단을 이용할 경우 구조가 복잡해지고 제작공정이 증가하게 되어 제작시간 및 제작비용의 상승을 유발하게 된다.
이러한 이유로 본 발명의 실시예에서는 측면부(100)에 걸림턱과 같은 결합구조를 형성하지 않고, 배면판(600)에 투광성 재질의 지지돌기(610)를 형성하는 것만으로 음영발생을 방지하고 구조를 단순화할 수 있다.
상술한 바와 같은 본 발명의 일 실시예는 본 발명의 최적의 실시예일 뿐이며, 배면판(600)이 수용부(101)로 삽입되지 않도록 배면판(600)의 크기를 투광판(300)의 크기보다 크게 형성하거나, 별도의 결합구조 및 결합수단을 이용하여 배면판(600)을 측면부(100)에 결합시킬 수 있다.
본 발명에 따른 입체 간판은 전술한 실시예에 국한되지 않고 본 발명의 기술사상이 허용되는 범위 내에서 다양하게 변형하여 실시할 수 있다.
100 : 측면부, 101 : 수용부, 102 : 충전공간,
200 : 시트지,
300 : 투광판,
400 : 지지대,
500 : 광확산수지층,
600 : 배면판, 610 : 지지돌기,

Claims (9)

  1. 간판의 형상을 따라 절곡되어 내측에 수용부를 형성하고 간판의 입체 형상을 표현하는 측면부와 상기 수용부에 삽입되어 상기 측면부에 고정되는 투광판을 포함하고,
    상기 측면부의 양면은 턱 또는 돌기가 돌출되어 있지 않은 평면으로 형성되며,
    상기 투광판은 상기 수용부 내에서 일정한 높이에 평행하게 위치하도록 상기 수용부에 삽입 배치되는 지지대에 의해 지지되고, 상기 측면부의 외측면에 얼룩이나 굴곡을 남기지 않도록 접착제에 의해 상기 측면부의 내측면에 접착되어, 상부에 충전공간을 형성하는 것을 특징으로 하는 입체 간판.
  2. 청구항 1에 있어서,
    상기 측면부의 외측면에는 상기 측면부를 절곡시키기 전에 무늬 또는 색상을 갖는 시트지가 부착되는 것을 특징으로 하는 입체 간판.
  3. 청구항 1에 있어서,
    상기 지지대는 간판의 형상을 따라 상기 수용부에 삽입 배치되는 복수의 지지블록인 것을 특징으로 하는 입체 간판.
  4. 청구항 1에 있어서,
    상기 지지대는 상기 측면부와 투광판의 접착 후 상기 수용부로부터 분리되고,
    상기 수용부에는 엘이디 광원이 삽입 배치되며,
    상기 충전공간에는 광확산수지층이 형성되는 것을 특징으로 하는 입체 간판.
  5. 청구항 4에 있어서,
    상기 엘이디 광원이 장착되고 상기 측면부에 결합되어 상기 수용부를 막는 배면판을 더 포함하며,
    상기 배면판에는 상기 배면판과 투광판 사이의 거리를 일정하게 유지하는 복수의 지지돌기가 돌출형성되는 것을 특징으로 하는 입체 간판.
  6. 청구항 5에 있어서,
    상기 배면판은 상기 투광판과 동일한 형상 및 크기로 형성되고,
    상기 배면판 및 지지돌기는 투광성 재질인 것을 특징으로 하는 입체 간판.
  7. 표면에 무늬 또는 색상을 갖는 측면부를 간판의 형상을 따라 절곡시켜 내부에 수용부를 형성하는 단계;
    상기 수용부에 지지대를 삽입하는 단계;
    상기 수용부에 투광판을 삽입하여 상기 지지대 위에 배치시키는 단계;
    상기 측면부의 내측면과 투광판 사이에 접착제를 도포하여 측면부와 투광판을 고정시고, 상기 투광판의 상부에 충전공간을 형성하는 단계;
    상기 충전공간에 광확산수지를 도포하여 광확산수지층을 형성하는 단계; 및
    상기 수용부로부터 상기 지지대를 분리하는 단계를 포함하는 것을 특징으로 하는 입체 간판 제작방법.
  8. 청구항 7에 있어서,
    상기 측면부를 절곡시키기 전에 상기 측면부의 표면에 상기 무늬 또는 색상을 갖는 시트지를 부착시키는 단계를 더 포함하는 것을 특징으로 하는 입체 간판 제작방법.
  9. 청구항 7에 있어서,
    상기 측면부를 절곡시키기 전에 상기 측면부의 표면에 상기 무늬 또는 색상을 인쇄(printing)하는 단계를 더 포함하는 것을 특징으로 하는 입체 간판 제작방법.
KR1020160089089A 2015-08-03 2016-07-14 입체 간판의 제작방법 Active KR101965342B1 (ko)

Applications Claiming Priority (2)

Application Number Priority Date Filing Date Title
KR1020150109634 2015-08-03
KR20150109634 2015-08-03

Publications (2)

Publication Number Publication Date
KR20170016277A true KR20170016277A (ko) 2017-02-13
KR101965342B1 KR101965342B1 (ko) 2019-04-03

Family

ID=58156134

Family Applications (1)

Application Number Title Priority Date Filing Date
KR1020160089089A Active KR101965342B1 (ko) 2015-08-03 2016-07-14 입체 간판의 제작방법

Country Status (1)

Country Link
KR (1) KR101965342B1 (ko)

Cited By (1)

* Cited by examiner, † Cited by third party
Publication number Priority date Publication date Assignee Title
KR20200132013A (ko) * 2019-05-15 2020-11-25 박희용 입체 간판의 제작방법

Citations (6)

* Cited by examiner, † Cited by third party
Publication number Priority date Publication date Assignee Title
KR20100023507A (ko) * 2008-08-22 2010-03-04 오택근 간판사인 장치 및 그 제조방법
KR20110003161U (ko) * 2009-09-22 2011-03-30 정진환 광고기능이 향상된 채널간판
KR200468084Y1 (ko) * 2013-02-26 2013-07-22 (주)여울 내구성이 우수한 면발광 광고장치
KR20130125655A (ko) * 2012-05-09 2013-11-19 박광준 패널 지지부재 및, 이를 포함하는 면발광 채널
KR101350814B1 (ko) * 2013-07-10 2014-01-13 이점주 간판용 엘이디 조명 입체 문자
KR20140064277A (ko) * 2012-11-20 2014-05-28 박희용 입체채널간판의 입체프레임 제조방법

Patent Citations (6)

* Cited by examiner, † Cited by third party
Publication number Priority date Publication date Assignee Title
KR20100023507A (ko) * 2008-08-22 2010-03-04 오택근 간판사인 장치 및 그 제조방법
KR20110003161U (ko) * 2009-09-22 2011-03-30 정진환 광고기능이 향상된 채널간판
KR20130125655A (ko) * 2012-05-09 2013-11-19 박광준 패널 지지부재 및, 이를 포함하는 면발광 채널
KR20140064277A (ko) * 2012-11-20 2014-05-28 박희용 입체채널간판의 입체프레임 제조방법
KR200468084Y1 (ko) * 2013-02-26 2013-07-22 (주)여울 내구성이 우수한 면발광 광고장치
KR101350814B1 (ko) * 2013-07-10 2014-01-13 이점주 간판용 엘이디 조명 입체 문자

Cited By (1)

* Cited by examiner, † Cited by third party
Publication number Priority date Publication date Assignee Title
KR20200132013A (ko) * 2019-05-15 2020-11-25 박희용 입체 간판의 제작방법

Also Published As

Publication number Publication date
KR101965342B1 (ko) 2019-04-03

Similar Documents

Publication Publication Date Title
JP4427528B2 (ja) 湾曲した三次元形態に容易に形成できるバックライトユニット
CN102313204A (zh) 背光单元和具有背光单元的显示装置
KR101965342B1 (ko) 입체 간판의 제작방법
KR101186454B1 (ko) 입체 간판용 광확산 3면 구조체
KR102202001B1 (ko) 입체 간판의 제작방법
KR100994041B1 (ko) 광고시트의 교환이 용이한 엘이디를 사용한 라이트박스
KR200479782Y1 (ko) 크리스탈이 구비된 간판
KR100819816B1 (ko) 일체형 광확산 캡 구조의 체널레터
KR101196195B1 (ko) 입체문자 발광간판 제조방법 및 이에 의해 제조된 입체문자 발광간판
WO2008048026A1 (en) Led signboards
KR20170046314A (ko) 다기능 신형 후렉스 원단 및 채널 led 조명식 간판 프레임 시스템
KR20220049157A (ko) 액상 코팅재 도포가 가능한 사인
CN223350992U (zh) 发光积木
JP3089191U (ja) 自動販売機用のダミー体に用いられるシート体
KR101484612B1 (ko) 간판채널 고정용 프레임
JP3127572U (ja) 面発光パネル
KR200474839Y1 (ko) 라이트 패널
KR101733632B1 (ko) 광고판 및 이의 제조 방법
JP6679015B1 (ja) 物品およびプレートセット
US20180128963A1 (en) Method for producing fused light guide panel
KR20220052180A (ko) 플랜지부 일체형 입체간판 및 그 제조방법
JP6573396B2 (ja) 太陽電池モジュール用標識シート及びその取付方法
KR20190116807A (ko) Led 광고용 프레임 모듈
JP6510026B1 (ja) 内照式照明装置
KR20170122973A (ko) 레이저 커팅을 이용한 면발광 채널간판

Legal Events

Date Code Title Description
A201 Request for examination
PA0109 Patent application

Patent event code: PA01091R01D

Comment text: Patent Application

Patent event date: 20160714

PA0201 Request for examination
PG1501 Laying open of application
E902 Notification of reason for refusal
PE0902 Notice of grounds for rejection

Comment text: Notification of reason for refusal

Patent event date: 20180227

Patent event code: PE09021S01D

E902 Notification of reason for refusal
PE0902 Notice of grounds for rejection

Comment text: Notification of reason for refusal

Patent event date: 20180928

Patent event code: PE09021S01D

E701 Decision to grant or registration of patent right
PE0701 Decision of registration

Patent event code: PE07011S01D

Comment text: Decision to Grant Registration

Patent event date: 20190321

PR0701 Registration of establishment

Comment text: Registration of Establishment

Patent event date: 20190328

Patent event code: PR07011E01D

PR1002 Payment of registration fee

Payment date: 20190329

End annual number: 3

Start annual number: 1

PG1601 Publication of registration
PR1001 Payment of annual fee

Payment date: 20220329

Start annual number: 4

End annual number: 4

PR1001 Payment of annual fee

Payment date: 20230418

Start annual number: 5

End annual number: 5

PR1001 Payment of annual fee

Payment date: 20240403

Start annual number: 6

End annual number: 6

PR1001 Payment of annual fee

Payment date: 20250527

Start annual number: 7

End annual number: 7