KR20150042857A - 보조-마이크로파 에너지를 이용한, 탄소의 화학적 활성화 - Google Patents
보조-마이크로파 에너지를 이용한, 탄소의 화학적 활성화 Download PDFInfo
- Publication number
- KR20150042857A KR20150042857A KR20157006888A KR20157006888A KR20150042857A KR 20150042857 A KR20150042857 A KR 20150042857A KR 20157006888 A KR20157006888 A KR 20157006888A KR 20157006888 A KR20157006888 A KR 20157006888A KR 20150042857 A KR20150042857 A KR 20150042857A
- Authority
- KR
- South Korea
- Prior art keywords
- carbon
- microwave
- feedstock
- heating
- temperature
- Prior art date
- Legal status (The legal status is an assumption and is not a legal conclusion. Google has not performed a legal analysis and makes no representation as to the accuracy of the status listed.)
- Withdrawn
Links
- OKTJSMMVPCPJKN-UHFFFAOYSA-N Carbon Chemical compound [C] OKTJSMMVPCPJKN-UHFFFAOYSA-N 0.000 title claims abstract description 219
- 229910052799 carbon Inorganic materials 0.000 title claims abstract description 91
- 239000000126 substance Substances 0.000 title claims abstract description 39
- 230000004913 activation Effects 0.000 title description 24
- 238000010438 heat treatment Methods 0.000 claims abstract description 71
- 238000000034 method Methods 0.000 claims abstract description 67
- 239000000203 mixture Substances 0.000 claims abstract description 65
- 239000012190 activator Substances 0.000 claims abstract description 33
- 238000006243 chemical reaction Methods 0.000 claims description 61
- 230000008569 process Effects 0.000 claims description 28
- 239000000463 material Substances 0.000 claims description 26
- XLYOFNOQVPJJNP-UHFFFAOYSA-N water Chemical compound O XLYOFNOQVPJJNP-UHFFFAOYSA-N 0.000 claims description 19
- 239000002245 particle Substances 0.000 claims description 13
- -1 MgCl 2 Chemical compound 0.000 claims description 12
- IJGRMHOSHXDMSA-UHFFFAOYSA-N Atomic nitrogen Chemical compound N#N IJGRMHOSHXDMSA-UHFFFAOYSA-N 0.000 claims description 8
- HBMJWWWQQXIZIP-UHFFFAOYSA-N silicon carbide Chemical compound [Si+]#[C-] HBMJWWWQQXIZIP-UHFFFAOYSA-N 0.000 claims description 7
- 229910010271 silicon carbide Inorganic materials 0.000 claims description 7
- HEMHJVSKTPXQMS-UHFFFAOYSA-M Sodium hydroxide Chemical compound [OH-].[Na+] HEMHJVSKTPXQMS-UHFFFAOYSA-M 0.000 claims description 6
- 238000002156 mixing Methods 0.000 claims description 5
- FAPWRFPIFSIZLT-UHFFFAOYSA-M Sodium chloride Chemical compound [Na+].[Cl-] FAPWRFPIFSIZLT-UHFFFAOYSA-M 0.000 claims description 4
- 238000001816 cooling Methods 0.000 claims description 4
- 229910052757 nitrogen Inorganic materials 0.000 claims description 4
- 239000012298 atmosphere Substances 0.000 claims description 3
- 238000003763 carbonization Methods 0.000 claims description 3
- 239000011819 refractory material Substances 0.000 claims description 3
- 230000007704 transition Effects 0.000 claims description 3
- 238000010000 carbonizing Methods 0.000 claims description 2
- 239000011780 sodium chloride Substances 0.000 claims description 2
- 238000001994 activation Methods 0.000 abstract description 31
- 239000011148 porous material Substances 0.000 description 32
- 239000007833 carbon precursor Substances 0.000 description 13
- 239000010410 layer Substances 0.000 description 9
- VYPSYNLAJGMNEJ-UHFFFAOYSA-N Silicium dioxide Chemical compound O=[Si]=O VYPSYNLAJGMNEJ-UHFFFAOYSA-N 0.000 description 8
- 238000009826 distribution Methods 0.000 description 8
- 229910052782 aluminium Inorganic materials 0.000 description 7
- XAGFODPZIPBFFR-UHFFFAOYSA-N aluminium Chemical compound [Al] XAGFODPZIPBFFR-UHFFFAOYSA-N 0.000 description 7
- 230000015572 biosynthetic process Effects 0.000 description 7
- 238000013461 design Methods 0.000 description 7
- 239000003792 electrolyte Substances 0.000 description 7
- 239000002243 precursor Substances 0.000 description 7
- 239000000243 solution Substances 0.000 description 7
- WEVYAHXRMPXWCK-UHFFFAOYSA-N Acetonitrile Chemical compound CC#N WEVYAHXRMPXWCK-UHFFFAOYSA-N 0.000 description 6
- 239000003990 capacitor Substances 0.000 description 6
- 239000005539 carbonized material Substances 0.000 description 6
- 239000007789 gas Substances 0.000 description 6
- 150000002500 ions Chemical class 0.000 description 6
- 229920001343 polytetrafluoroethylene Polymers 0.000 description 6
- 239000004810 polytetrafluoroethylene Substances 0.000 description 6
- 229910052783 alkali metal Inorganic materials 0.000 description 5
- 150000001340 alkali metals Chemical class 0.000 description 5
- 239000008367 deionised water Substances 0.000 description 5
- 238000005187 foaming Methods 0.000 description 5
- 238000010791 quenching Methods 0.000 description 5
- 230000000171 quenching effect Effects 0.000 description 5
- XKRFYHLGVUSROY-UHFFFAOYSA-N Argon Chemical compound [Ar] XKRFYHLGVUSROY-UHFFFAOYSA-N 0.000 description 4
- 239000011230 binding agent Substances 0.000 description 4
- 239000006229 carbon black Substances 0.000 description 4
- 238000004140 cleaning Methods 0.000 description 4
- 238000005260 corrosion Methods 0.000 description 4
- 230000007797 corrosion Effects 0.000 description 4
- 238000004146 energy storage Methods 0.000 description 4
- 235000013312 flour Nutrition 0.000 description 4
- VNWKTOKETHGBQD-UHFFFAOYSA-N methane Chemical compound C VNWKTOKETHGBQD-UHFFFAOYSA-N 0.000 description 4
- 239000002904 solvent Substances 0.000 description 4
- BVKZGUZCCUSVTD-UHFFFAOYSA-L Carbonate Chemical compound [O-]C([O-])=O BVKZGUZCCUSVTD-UHFFFAOYSA-L 0.000 description 3
- KFZMGEQAYNKOFK-UHFFFAOYSA-N Isopropanol Chemical compound CC(C)O KFZMGEQAYNKOFK-UHFFFAOYSA-N 0.000 description 3
- ZMXDDKWLCZADIW-UHFFFAOYSA-N N,N-Dimethylformamide Chemical compound CN(C)C=O ZMXDDKWLCZADIW-UHFFFAOYSA-N 0.000 description 3
- 230000009471 action Effects 0.000 description 3
- 230000003213 activating effect Effects 0.000 description 3
- 239000003513 alkali Substances 0.000 description 3
- PNEYBMLMFCGWSK-UHFFFAOYSA-N aluminium oxide Inorganic materials [O-2].[O-2].[O-2].[Al+3].[Al+3] PNEYBMLMFCGWSK-UHFFFAOYSA-N 0.000 description 3
- 239000002585 base Substances 0.000 description 3
- 239000006227 byproduct Substances 0.000 description 3
- 125000004432 carbon atom Chemical group C* 0.000 description 3
- 238000010924 continuous production Methods 0.000 description 3
- 150000004292 cyclic ethers Chemical class 0.000 description 3
- 239000011261 inert gas Substances 0.000 description 3
- 239000000377 silicon dioxide Substances 0.000 description 3
- 238000005406 washing Methods 0.000 description 3
- DHKHKXVYLBGOIT-UHFFFAOYSA-N 1,1-Diethoxyethane Chemical compound CCOC(C)OCC DHKHKXVYLBGOIT-UHFFFAOYSA-N 0.000 description 2
- NLHHRLWOUZZQLW-UHFFFAOYSA-N Acrylonitrile Chemical compound C=CC#N NLHHRLWOUZZQLW-UHFFFAOYSA-N 0.000 description 2
- QGZKDVFQNNGYKY-UHFFFAOYSA-N Ammonia Chemical compound N QGZKDVFQNNGYKY-UHFFFAOYSA-N 0.000 description 2
- 239000002028 Biomass Substances 0.000 description 2
- RTZKZFJDLAIYFH-UHFFFAOYSA-N Diethyl ether Chemical compound CCOCC RTZKZFJDLAIYFH-UHFFFAOYSA-N 0.000 description 2
- PXHVJJICTQNCMI-UHFFFAOYSA-N Nickel Chemical compound [Ni] PXHVJJICTQNCMI-UHFFFAOYSA-N 0.000 description 2
- 240000008042 Zea mays Species 0.000 description 2
- 235000005824 Zea mays ssp. parviglumis Nutrition 0.000 description 2
- 235000002017 Zea mays subsp mays Nutrition 0.000 description 2
- 229910001854 alkali hydroxide Inorganic materials 0.000 description 2
- 150000001450 anions Chemical class 0.000 description 2
- 238000013459 approach Methods 0.000 description 2
- 229910052786 argon Inorganic materials 0.000 description 2
- CREMABGTGYGIQB-UHFFFAOYSA-N carbon carbon Chemical compound C.C CREMABGTGYGIQB-UHFFFAOYSA-N 0.000 description 2
- 239000011203 carbon fibre reinforced carbon Substances 0.000 description 2
- 150000004649 carbonic acid derivatives Chemical class 0.000 description 2
- 150000001768 cations Chemical class 0.000 description 2
- 235000013339 cereals Nutrition 0.000 description 2
- 239000003795 chemical substances by application Substances 0.000 description 2
- 239000003245 coal Substances 0.000 description 2
- 239000004020 conductor Substances 0.000 description 2
- 235000005822 corn Nutrition 0.000 description 2
- 150000005676 cyclic carbonates Chemical class 0.000 description 2
- 125000004122 cyclic group Chemical group 0.000 description 2
- 239000007772 electrode material Substances 0.000 description 2
- 239000008151 electrolyte solution Substances 0.000 description 2
- 150000002170 ethers Chemical class 0.000 description 2
- 238000000227 grinding Methods 0.000 description 2
- 238000002347 injection Methods 0.000 description 2
- 239000007924 injection Substances 0.000 description 2
- 239000011810 insulating material Substances 0.000 description 2
- 235000015110 jellies Nutrition 0.000 description 2
- 239000008274 jelly Substances 0.000 description 2
- 239000007788 liquid Substances 0.000 description 2
- 239000006194 liquid suspension Substances 0.000 description 2
- 230000007246 mechanism Effects 0.000 description 2
- 238000012986 modification Methods 0.000 description 2
- 230000004048 modification Effects 0.000 description 2
- 229910003465 moissanite Inorganic materials 0.000 description 2
- 239000005486 organic electrolyte Substances 0.000 description 2
- 239000005011 phenolic resin Substances 0.000 description 2
- 229920001568 phenolic resin Polymers 0.000 description 2
- BWHMMNNQKKPAPP-UHFFFAOYSA-L potassium carbonate Chemical compound [K+].[K+].[O-]C([O-])=O BWHMMNNQKKPAPP-UHFFFAOYSA-L 0.000 description 2
- 239000010453 quartz Substances 0.000 description 2
- 150000003242 quaternary ammonium salts Chemical class 0.000 description 2
- 150000003839 salts Chemical class 0.000 description 2
- 239000002002 slurry Substances 0.000 description 2
- QMMOXUPEWRXHJS-HYXAFXHYSA-N (z)-pent-2-ene Chemical compound CC\C=C/C QMMOXUPEWRXHJS-HYXAFXHYSA-N 0.000 description 1
- ZZXUZKXVROWEIF-UHFFFAOYSA-N 1,2-butylene carbonate Chemical compound CCC1COC(=O)O1 ZZXUZKXVROWEIF-UHFFFAOYSA-N 0.000 description 1
- WNXJIVFYUVYPPR-UHFFFAOYSA-N 1,3-dioxolane Chemical compound C1COCO1 WNXJIVFYUVYPPR-UHFFFAOYSA-N 0.000 description 1
- ILLHRDFIVGEPIU-UHFFFAOYSA-N 1-(2-methoxyethoxy)propane Chemical compound CCCOCCOC ILLHRDFIVGEPIU-UHFFFAOYSA-N 0.000 description 1
- CAQYAZNFWDDMIT-UHFFFAOYSA-N 1-ethoxy-2-methoxyethane Chemical compound CCOCCOC CAQYAZNFWDDMIT-UHFFFAOYSA-N 0.000 description 1
- FGQLGYBGTRHODR-UHFFFAOYSA-N 2,2-diethoxypropane Chemical compound CCOC(C)(C)OCC FGQLGYBGTRHODR-UHFFFAOYSA-N 0.000 description 1
- HEWZVZIVELJPQZ-UHFFFAOYSA-N 2,2-dimethoxypropane Chemical compound COC(C)(C)OC HEWZVZIVELJPQZ-UHFFFAOYSA-N 0.000 description 1
- KXGFMDJXCMQABM-UHFFFAOYSA-N 2-methoxy-6-methylphenol Chemical compound [CH]OC1=CC=CC([CH])=C1O KXGFMDJXCMQABM-UHFFFAOYSA-N 0.000 description 1
- HTWIZMNMTWYQRN-UHFFFAOYSA-N 2-methyl-1,3-dioxolane Chemical compound CC1OCCO1 HTWIZMNMTWYQRN-UHFFFAOYSA-N 0.000 description 1
- CHLISLWBOOKYGY-UHFFFAOYSA-N 3-fluoro-2-phenylthiophene Chemical compound C1=CSC(C=2C=CC=CC=2)=C1F CHLISLWBOOKYGY-UHFFFAOYSA-N 0.000 description 1
- LWLOKSXSAUHTJO-UHFFFAOYSA-N 4,5-dimethyl-1,3-dioxolan-2-one Chemical compound CC1OC(=O)OC1C LWLOKSXSAUHTJO-UHFFFAOYSA-N 0.000 description 1
- LBKMJZAKWQTTHC-UHFFFAOYSA-N 4-methyldioxolane Chemical compound CC1COOC1 LBKMJZAKWQTTHC-UHFFFAOYSA-N 0.000 description 1
- 241000251468 Actinopterygii Species 0.000 description 1
- 235000016068 Berberis vulgaris Nutrition 0.000 description 1
- 241000335053 Beta vulgaris Species 0.000 description 1
- KXDHJXZQYSOELW-UHFFFAOYSA-M Carbamate Chemical compound NC([O-])=O KXDHJXZQYSOELW-UHFFFAOYSA-M 0.000 description 1
- 235000013162 Cocos nucifera Nutrition 0.000 description 1
- 244000060011 Cocos nucifera Species 0.000 description 1
- 229920002261 Corn starch Polymers 0.000 description 1
- 229920000742 Cotton Polymers 0.000 description 1
- OIFBSDVPJOWBCH-UHFFFAOYSA-N Diethyl carbonate Chemical compound CCOC(=O)OCC OIFBSDVPJOWBCH-UHFFFAOYSA-N 0.000 description 1
- XTHFKEDIFFGKHM-UHFFFAOYSA-N Dimethoxyethane Chemical compound COCCOC XTHFKEDIFFGKHM-UHFFFAOYSA-N 0.000 description 1
- 241000196324 Embryophyta Species 0.000 description 1
- KMTRUDSVKNLOMY-UHFFFAOYSA-N Ethylene carbonate Chemical compound O=C1OCCO1 KMTRUDSVKNLOMY-UHFFFAOYSA-N 0.000 description 1
- 230000005526 G1 to G0 transition Effects 0.000 description 1
- 241000219146 Gossypium Species 0.000 description 1
- 240000005979 Hordeum vulgare Species 0.000 description 1
- 235000007340 Hordeum vulgare Nutrition 0.000 description 1
- 240000007049 Juglans regia Species 0.000 description 1
- 235000009496 Juglans regia Nutrition 0.000 description 1
- LISVNGUOWUKZQY-UHFFFAOYSA-N Methyl benzyl sulfoxide Chemical compound CS(=O)CC1=CC=CC=C1 LISVNGUOWUKZQY-UHFFFAOYSA-N 0.000 description 1
- SECXISVLQFMRJM-UHFFFAOYSA-N N-Methylpyrrolidone Chemical compound CN1CCCC1=O SECXISVLQFMRJM-UHFFFAOYSA-N 0.000 description 1
- 240000007594 Oryza sativa Species 0.000 description 1
- 235000007164 Oryza sativa Nutrition 0.000 description 1
- 244000046052 Phaseolus vulgaris Species 0.000 description 1
- 235000010627 Phaseolus vulgaris Nutrition 0.000 description 1
- 239000004743 Polypropylene Substances 0.000 description 1
- ZLMJMSJWJFRBEC-UHFFFAOYSA-N Potassium Chemical compound [K] ZLMJMSJWJFRBEC-UHFFFAOYSA-N 0.000 description 1
- 229910052581 Si3N4 Inorganic materials 0.000 description 1
- KEAYESYHFKHZAL-UHFFFAOYSA-N Sodium Chemical compound [Na] KEAYESYHFKHZAL-UHFFFAOYSA-N 0.000 description 1
- 244000062793 Sorghum vulgare Species 0.000 description 1
- 239000004809 Teflon Substances 0.000 description 1
- 229920006362 Teflon® Polymers 0.000 description 1
- 235000021307 Triticum Nutrition 0.000 description 1
- 244000098338 Triticum aestivum Species 0.000 description 1
- SWTCCCJQNPGXLQ-UHFFFAOYSA-N acetaldehyde di-n-butyl acetal Natural products CCCCOC(C)OCCCC SWTCCCJQNPGXLQ-UHFFFAOYSA-N 0.000 description 1
- 239000002253 acid Substances 0.000 description 1
- 230000002411 adverse Effects 0.000 description 1
- 150000008044 alkali metal hydroxides Chemical class 0.000 description 1
- 229910000272 alkali metal oxide Inorganic materials 0.000 description 1
- 150000001408 amides Chemical class 0.000 description 1
- 229910021529 ammonia Inorganic materials 0.000 description 1
- 239000007864 aqueous solution Substances 0.000 description 1
- 125000004429 atom Chemical group 0.000 description 1
- 238000010923 batch production Methods 0.000 description 1
- 230000002902 bimodal effect Effects 0.000 description 1
- 230000033228 biological regulation Effects 0.000 description 1
- 229910002090 carbon oxide Inorganic materials 0.000 description 1
- 239000003575 carbonaceous material Substances 0.000 description 1
- 238000005266 casting Methods 0.000 description 1
- 239000001913 cellulose Substances 0.000 description 1
- 229920002678 cellulose Polymers 0.000 description 1
- 230000000052 comparative effect Effects 0.000 description 1
- 239000002482 conductive additive Substances 0.000 description 1
- 229920001940 conductive polymer Polymers 0.000 description 1
- 230000008094 contradictory effect Effects 0.000 description 1
- 239000008120 corn starch Substances 0.000 description 1
- 238000004132 cross linking Methods 0.000 description 1
- 229910021641 deionized water Inorganic materials 0.000 description 1
- 239000003989 dielectric material Substances 0.000 description 1
- 125000004177 diethyl group Chemical group [H]C([H])([H])C([H])([H])* 0.000 description 1
- 238000009792 diffusion process Methods 0.000 description 1
- IEJIGPNLZYLLBP-UHFFFAOYSA-N dimethyl carbonate Chemical compound COC(=O)OC IEJIGPNLZYLLBP-UHFFFAOYSA-N 0.000 description 1
- 125000000118 dimethyl group Chemical group [H]C([H])([H])* 0.000 description 1
- SNQXJPARXFUULZ-UHFFFAOYSA-N dioxolane Chemical compound C1COOC1 SNQXJPARXFUULZ-UHFFFAOYSA-N 0.000 description 1
- KZHJGOXRZJKJNY-UHFFFAOYSA-N dioxosilane;oxo(oxoalumanyloxy)alumane Chemical compound O=[Si]=O.O=[Si]=O.O=[Al]O[Al]=O.O=[Al]O[Al]=O.O=[Al]O[Al]=O KZHJGOXRZJKJNY-UHFFFAOYSA-N 0.000 description 1
- VUPKGFBOKBGHFZ-UHFFFAOYSA-N dipropyl carbonate Chemical compound CCCOC(=O)OCCC VUPKGFBOKBGHFZ-UHFFFAOYSA-N 0.000 description 1
- 239000002355 dual-layer Substances 0.000 description 1
- 230000000694 effects Effects 0.000 description 1
- JBTWLSYIZRCDFO-UHFFFAOYSA-N ethyl methyl carbonate Chemical compound CCOC(=O)OC JBTWLSYIZRCDFO-UHFFFAOYSA-N 0.000 description 1
- CYEDOLFRAIXARV-UHFFFAOYSA-N ethyl propyl carbonate Chemical compound CCCOC(=O)OCC CYEDOLFRAIXARV-UHFFFAOYSA-N 0.000 description 1
- 238000000605 extraction Methods 0.000 description 1
- 238000005243 fluidization Methods 0.000 description 1
- 239000011888 foil Substances 0.000 description 1
- 239000011521 glass Substances 0.000 description 1
- 229910002804 graphite Inorganic materials 0.000 description 1
- 239000010439 graphite Substances 0.000 description 1
- 239000001307 helium Substances 0.000 description 1
- 229910052734 helium Inorganic materials 0.000 description 1
- SWQJXJOGLNCZEY-UHFFFAOYSA-N helium atom Chemical compound [He] SWQJXJOGLNCZEY-UHFFFAOYSA-N 0.000 description 1
- 239000001257 hydrogen Substances 0.000 description 1
- 229910052739 hydrogen Inorganic materials 0.000 description 1
- 125000004435 hydrogen atom Chemical class [H]* 0.000 description 1
- 150000004679 hydroxides Chemical class 0.000 description 1
- 238000010348 incorporation Methods 0.000 description 1
- 229920000592 inorganic polymer Polymers 0.000 description 1
- 239000013067 intermediate product Substances 0.000 description 1
- 229910000464 lead oxide Inorganic materials 0.000 description 1
- HTUMBQDCCIXGCV-UHFFFAOYSA-N lead oxide Chemical compound [O-2].[Pb+2] HTUMBQDCCIXGCV-UHFFFAOYSA-N 0.000 description 1
- 239000011244 liquid electrolyte Substances 0.000 description 1
- 238000011068 loading method Methods 0.000 description 1
- 210000004072 lung Anatomy 0.000 description 1
- 238000004519 manufacturing process Methods 0.000 description 1
- 235000012054 meals Nutrition 0.000 description 1
- 238000005259 measurement Methods 0.000 description 1
- 239000000155 melt Substances 0.000 description 1
- 229910052751 metal Inorganic materials 0.000 description 1
- 239000002184 metal Substances 0.000 description 1
- KKQAVHGECIBFRQ-UHFFFAOYSA-N methyl propyl carbonate Chemical compound CCCOC(=O)OC KKQAVHGECIBFRQ-UHFFFAOYSA-N 0.000 description 1
- 239000011859 microparticle Substances 0.000 description 1
- 235000019713 millet Nutrition 0.000 description 1
- 238000003801 milling Methods 0.000 description 1
- 229910052863 mullite Inorganic materials 0.000 description 1
- 229910052759 nickel Inorganic materials 0.000 description 1
- BFDHFSHZJLFAMC-UHFFFAOYSA-L nickel(ii) hydroxide Chemical compound [OH-].[OH-].[Ni+2] BFDHFSHZJLFAMC-UHFFFAOYSA-L 0.000 description 1
- 150000002825 nitriles Chemical class 0.000 description 1
- 229920000620 organic polymer Polymers 0.000 description 1
- 239000003960 organic solvent Substances 0.000 description 1
- 230000037361 pathway Effects 0.000 description 1
- QMMOXUPEWRXHJS-UHFFFAOYSA-N pentene-2 Natural products CCC=CC QMMOXUPEWRXHJS-UHFFFAOYSA-N 0.000 description 1
- 229920000728 polyester Polymers 0.000 description 1
- 229920000098 polyolefin Polymers 0.000 description 1
- 229920001155 polypropylene Polymers 0.000 description 1
- 229920002451 polyvinyl alcohol Polymers 0.000 description 1
- 229910000027 potassium carbonate Inorganic materials 0.000 description 1
- 229910001414 potassium ion Inorganic materials 0.000 description 1
- 229920001592 potato starch Polymers 0.000 description 1
- 239000000843 powder Substances 0.000 description 1
- 239000000047 product Substances 0.000 description 1
- FVSKHRXBFJPNKK-UHFFFAOYSA-N propionitrile Chemical compound CCC#N FVSKHRXBFJPNKK-UHFFFAOYSA-N 0.000 description 1
- RUOJZAUFBMNUDX-UHFFFAOYSA-N propylene carbonate Chemical compound CC1COC(=O)O1 RUOJZAUFBMNUDX-UHFFFAOYSA-N 0.000 description 1
- 235000021251 pulses Nutrition 0.000 description 1
- 238000004080 punching Methods 0.000 description 1
- 150000004040 pyrrolidinones Chemical class 0.000 description 1
- 230000000306 recurrent effect Effects 0.000 description 1
- 230000001105 regulatory effect Effects 0.000 description 1
- 230000002441 reversible effect Effects 0.000 description 1
- 235000009566 rice Nutrition 0.000 description 1
- 238000005096 rolling process Methods 0.000 description 1
- 229910001925 ruthenium oxide Inorganic materials 0.000 description 1
- WOCIAKWEIIZHES-UHFFFAOYSA-N ruthenium(iv) oxide Chemical compound O=[Ru]=O WOCIAKWEIIZHES-UHFFFAOYSA-N 0.000 description 1
- 230000002000 scavenging effect Effects 0.000 description 1
- HQVNEWCFYHHQES-UHFFFAOYSA-N silicon nitride Chemical compound N12[Si]34N5[Si]62N3[Si]51N64 HQVNEWCFYHHQES-UHFFFAOYSA-N 0.000 description 1
- 239000011734 sodium Substances 0.000 description 1
- 239000007787 solid Substances 0.000 description 1
- 241000894007 species Species 0.000 description 1
- 239000007921 spray Substances 0.000 description 1
- 150000003462 sulfoxides Chemical class 0.000 description 1
- 239000000725 suspension Substances 0.000 description 1
- 238000010408 sweeping Methods 0.000 description 1
- 230000008961 swelling Effects 0.000 description 1
- 229920002994 synthetic fiber Polymers 0.000 description 1
- 230000008685 targeting Effects 0.000 description 1
- 238000010998 test method Methods 0.000 description 1
- 238000012360 testing method Methods 0.000 description 1
- 229920001187 thermosetting polymer Polymers 0.000 description 1
- 238000009827 uniform distribution Methods 0.000 description 1
- 238000004017 vitrification Methods 0.000 description 1
- 235000020234 walnut Nutrition 0.000 description 1
- 239000002351 wastewater Substances 0.000 description 1
- 239000002023 wood Substances 0.000 description 1
Images
Classifications
-
- C—CHEMISTRY; METALLURGY
- C01—INORGANIC CHEMISTRY
- C01B—NON-METALLIC ELEMENTS; COMPOUNDS THEREOF; METALLOIDS OR COMPOUNDS THEREOF NOT COVERED BY SUBCLASS C01C
- C01B32/00—Carbon; Compounds thereof
- C01B32/30—Active carbon
- C01B32/312—Preparation
- C01B32/342—Preparation characterised by non-gaseous activating agents
-
- B—PERFORMING OPERATIONS; TRANSPORTING
- B01—PHYSICAL OR CHEMICAL PROCESSES OR APPARATUS IN GENERAL
- B01J—CHEMICAL OR PHYSICAL PROCESSES, e.g. CATALYSIS OR COLLOID CHEMISTRY; THEIR RELEVANT APPARATUS
- B01J19/00—Chemical, physical or physico-chemical processes in general; Their relevant apparatus
- B01J19/08—Processes employing the direct application of electric or wave energy, or particle radiation; Apparatus therefor
- B01J19/12—Processes employing the direct application of electric or wave energy, or particle radiation; Apparatus therefor employing electromagnetic waves
- B01J19/122—Incoherent waves
- B01J19/126—Microwaves
-
- C—CHEMISTRY; METALLURGY
- C01—INORGANIC CHEMISTRY
- C01B—NON-METALLIC ELEMENTS; COMPOUNDS THEREOF; METALLOIDS OR COMPOUNDS THEREOF NOT COVERED BY SUBCLASS C01C
- C01B32/00—Carbon; Compounds thereof
- C01B32/30—Active carbon
- C01B32/354—After-treatment
- C01B32/36—Reactivation or regeneration
- C01B32/366—Reactivation or regeneration by physical processes, e.g. by irradiation, by using electric current passing through carbonaceous feedstock or by using recyclable inert heating bodies
Landscapes
- Chemical & Material Sciences (AREA)
- Organic Chemistry (AREA)
- Inorganic Chemistry (AREA)
- Health & Medical Sciences (AREA)
- General Health & Medical Sciences (AREA)
- Toxicology (AREA)
- Physics & Mathematics (AREA)
- Electromagnetism (AREA)
- Chemical Kinetics & Catalysis (AREA)
- Carbon And Carbon Compounds (AREA)
- Electric Double-Layer Capacitors Or The Like (AREA)
Applications Claiming Priority (3)
| Application Number | Priority Date | Filing Date | Title |
|---|---|---|---|
| US13/590,568 | 2012-08-21 | ||
| US13/590,568 US8921263B2 (en) | 2012-08-21 | 2012-08-21 | Microwave energy-assisted, chemical activation of carbon |
| PCT/US2013/054458 WO2014031368A1 (en) | 2012-08-21 | 2013-08-12 | Microwave energy-assisted, chemical activation of carbon |
Publications (1)
| Publication Number | Publication Date |
|---|---|
| KR20150042857A true KR20150042857A (ko) | 2015-04-21 |
Family
ID=49004035
Family Applications (1)
| Application Number | Title | Priority Date | Filing Date |
|---|---|---|---|
| KR20157006888A Withdrawn KR20150042857A (ko) | 2012-08-21 | 2013-08-12 | 보조-마이크로파 에너지를 이용한, 탄소의 화학적 활성화 |
Country Status (8)
| Country | Link |
|---|---|
| US (1) | US8921263B2 (enExample) |
| EP (1) | EP2888203A1 (enExample) |
| JP (1) | JP2015526381A (enExample) |
| KR (1) | KR20150042857A (enExample) |
| CN (1) | CN104781187B (enExample) |
| IN (1) | IN2015DN01671A (enExample) |
| TW (1) | TW201412640A (enExample) |
| WO (1) | WO2014031368A1 (enExample) |
Cited By (2)
| Publication number | Priority date | Publication date | Assignee | Title |
|---|---|---|---|---|
| KR20200057188A (ko) * | 2018-11-16 | 2020-05-26 | 한국세라믹기술원 | 리그노셀룰로오스 바이오매스를 이용한 구형의 다공성 활성탄 제조방법 및 이를 이용한 슈퍼커패시터의 제조방법 |
| KR20220109837A (ko) * | 2021-01-29 | 2022-08-05 | 아주대학교산학협력단 | 다공성 활성 탄소의 제작 방법, 계층적 다공성 활성 탄소 및 이를 사용한 슈퍼캐패시터 전극 |
Families Citing this family (16)
| Publication number | Priority date | Publication date | Assignee | Title |
|---|---|---|---|---|
| US9018131B2 (en) * | 2013-03-27 | 2015-04-28 | Corning Incorporated | Chemical activation of carbon via a gas atomization method |
| US20150110707A1 (en) * | 2013-10-22 | 2015-04-23 | Corning Incorporated | Process for making chemically activated carbon |
| WO2016009938A1 (ja) * | 2014-07-15 | 2016-01-21 | 東レ株式会社 | 電極材料ならびにそれを用いたリチウムイオン電池またはリチウムイオンキャパシタ |
| US20160023910A1 (en) * | 2014-07-23 | 2016-01-28 | Corning Incorporated | Apparatus and method of making alkali activated carbon |
| CN106006637B (zh) * | 2016-05-20 | 2018-06-26 | 佛山市聚成生化技术研发有限公司 | 一种菠萝蜜壳臭气吸附剂 |
| CN106241805B (zh) * | 2016-08-23 | 2018-10-23 | 昆明理工大学 | 一种造纸黑液粗提取物-木质素磺酸盐制备活性炭的方法 |
| NO343769B1 (en) | 2017-04-06 | 2019-06-03 | Ipr Holding As | Method for producing activated carbon |
| CN108339518A (zh) * | 2018-03-02 | 2018-07-31 | 中机国能炼化工程有限公司 | 微波辐射兰炭粉末制备活性吸附材料的方法 |
| CN108373155A (zh) * | 2018-03-26 | 2018-08-07 | 北京合众汇能科技有限公司 | 一种制备高体积能量密度电容器活性炭的方法 |
| US12110456B2 (en) | 2020-08-28 | 2024-10-08 | Florrent, Inc. | Biomass-based method and composition |
| CN112908721A (zh) * | 2021-02-03 | 2021-06-04 | 桂林理工大学 | 一种多孔炭/Ni(OH)2复合电极材料及其制备方法 |
| US20240082807A1 (en) * | 2021-02-22 | 2024-03-14 | Organic Fuel Technology A/S | A single dominating mode microwave reactor |
| US12030779B2 (en) * | 2021-06-24 | 2024-07-09 | Nippon Kornmeyer Carbon Group Gmbh | Method for producing carbon- or graphite-foam parts |
| CN116328771B (zh) * | 2023-03-23 | 2025-01-10 | 中国科学技术大学 | 一种微波辅助加热制备碳载单原子材料的制备方法 |
| CN116924399A (zh) * | 2023-06-15 | 2023-10-24 | 中冶长天国际工程有限责任公司 | 一种柱状颗粒活性炭制备原料处理方法 |
| CN117352739A (zh) * | 2023-11-09 | 2024-01-05 | 昆明理工大学 | 一种有效抑制负极不可逆硫酸盐化添加剂的制备方法 |
Family Cites Families (8)
| Publication number | Priority date | Publication date | Assignee | Title |
|---|---|---|---|---|
| CA2008242C (en) | 1990-01-22 | 2000-04-04 | Kazi E. Haque | Microwave activation of carbon |
| JP4266711B2 (ja) | 2003-05-30 | 2009-05-20 | 株式会社カナック | マイクロ波加熱による活性炭の製造方法及びその装置 |
| JP4308740B2 (ja) | 2004-09-24 | 2009-08-05 | 株式会社カナック | ハイブリッド反応炉とそれを利用した高機能材料の製造方法 |
| CN1278930C (zh) | 2005-02-28 | 2006-10-11 | 昆明理工大学 | 一种生产中孔活性炭的方法 |
| CN101391768A (zh) | 2008-11-07 | 2009-03-25 | 中国石油天然气股份有限公司 | 一种制备石油焦系活性炭的新方法 |
| CA2728570C (en) | 2010-06-18 | 2018-12-11 | The Governors Of The University Of Alberta | Method for preparation of activated carbon |
| CN102249224B (zh) | 2011-05-20 | 2012-12-26 | 山东大学 | 一种畜角活性炭的制备方法 |
| CN102249228B (zh) * | 2011-06-14 | 2012-12-26 | 江苏技术师范学院 | 用松塔制备活性炭的方法 |
-
2012
- 2012-08-21 US US13/590,568 patent/US8921263B2/en active Active
-
2013
- 2013-08-12 JP JP2015528513A patent/JP2015526381A/ja not_active Abandoned
- 2013-08-12 IN IN1671DEN2015 patent/IN2015DN01671A/en unknown
- 2013-08-12 WO PCT/US2013/054458 patent/WO2014031368A1/en not_active Ceased
- 2013-08-12 EP EP13751028.5A patent/EP2888203A1/en not_active Withdrawn
- 2013-08-12 CN CN201380044423.7A patent/CN104781187B/zh not_active Expired - Fee Related
- 2013-08-12 KR KR20157006888A patent/KR20150042857A/ko not_active Withdrawn
- 2013-08-13 TW TW102129016A patent/TW201412640A/zh unknown
Cited By (2)
| Publication number | Priority date | Publication date | Assignee | Title |
|---|---|---|---|---|
| KR20200057188A (ko) * | 2018-11-16 | 2020-05-26 | 한국세라믹기술원 | 리그노셀룰로오스 바이오매스를 이용한 구형의 다공성 활성탄 제조방법 및 이를 이용한 슈퍼커패시터의 제조방법 |
| KR20220109837A (ko) * | 2021-01-29 | 2022-08-05 | 아주대학교산학협력단 | 다공성 활성 탄소의 제작 방법, 계층적 다공성 활성 탄소 및 이를 사용한 슈퍼캐패시터 전극 |
Also Published As
| Publication number | Publication date |
|---|---|
| CN104781187B (zh) | 2017-03-01 |
| CN104781187A (zh) | 2015-07-15 |
| EP2888203A1 (en) | 2015-07-01 |
| JP2015526381A (ja) | 2015-09-10 |
| IN2015DN01671A (enExample) | 2015-07-03 |
| TW201412640A (zh) | 2014-04-01 |
| US8921263B2 (en) | 2014-12-30 |
| WO2014031368A1 (en) | 2014-02-27 |
| US20140056798A1 (en) | 2014-02-27 |
Similar Documents
| Publication | Publication Date | Title |
|---|---|---|
| KR20150042857A (ko) | 보조-마이크로파 에너지를 이용한, 탄소의 화학적 활성화 | |
| US11370665B2 (en) | Method for producing activated carbon | |
| TWI487180B (zh) | 非水系鋰型蓄電元件用正極材料 | |
| CN105645408B (zh) | 一种利用枣核制备氮掺杂多孔碳材料的工艺以及超级电容器电极的制备方法 | |
| JP5344972B2 (ja) | 電気二重層キャパシタ電極用炭素材およびその製造方法 | |
| KR101470050B1 (ko) | 전기 이중층 커패시터 전극용 활성탄의 제조방법 | |
| KR102159201B1 (ko) | 전기 이중층 캐패시터 전극용 활성탄 및 그 제조 방법 | |
| US8564934B2 (en) | Ultracapacitor with improved aging performance | |
| KR20110063472A (ko) | 전기 이중층 커패시터용 탄소재 및 이의 제조방법 | |
| EP2758974A1 (en) | High voltage electro-chemical double layer capacitor | |
| US9472353B2 (en) | Ultracapacitor with improved aging performance | |
| JP2009224391A (ja) | リチウムイオンキャパシタ用正極材およびリチウムイオンキャパシタ | |
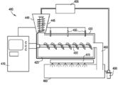
| US9187333B2 (en) | Carbon activation in a microwave fluidized bed process | |
| EP3025360A1 (en) | Electrodes of electrochemical double layer capacitor containing co2 activated coconut char | |
| WO2015061160A1 (en) | Process for making chemically activated carbon | |
| CN105016337A (zh) | 一种可用于超级电容器电极的活性炭材料及其制备方法 | |
| KR20120076893A (ko) | 야자각 차콜을 이용한 커패시터용 활성탄 제조방법 | |
| JP2000138141A (ja) | 電気二重層キャパシタ分極性電極用炭素多孔体の製造方法 | |
| JP2007266248A (ja) | 電気二重層キャパシタ用炭素材料、電気二重層キャパシタ用電極、及び電気二重層キャパシタ | |
| KR20190011487A (ko) | 카본 폼의 제조방법 및 이에 의하여 제조된 카본 폼 및 상기 카본 폼을 포함하는 슈퍼 커패시터용 전극 | |
| WO2021154332A1 (en) | High-performance supercapacitors from biomass-derived carbon | |
| RU2822272C1 (ru) | Способ получения суперконденсатора на основе наноструктурированного углеродного материала | |
| US20070128519A1 (en) | Activated carbon precursor, activated carbon, manufacturing method for the same, polarizable electrodes and electric double-layer capacitor | |
| KR101737348B1 (ko) | 탄소전구체 활성화 방법 | |
| WO2024232766A1 (en) | Method for producing bimodal carbon nanostructures for use in supercapacitors |
Legal Events
| Date | Code | Title | Description |
|---|---|---|---|
| PA0105 | International application |
Patent event date: 20150318 Patent event code: PA01051R01D Comment text: International Patent Application |
|
| PG1501 | Laying open of application | ||
| PC1203 | Withdrawal of no request for examination | ||
| WITN | Application deemed withdrawn, e.g. because no request for examination was filed or no examination fee was paid |