KR20150029354A - 유도가열을 이용한 열처리 장치 - Google Patents

유도가열을 이용한 열처리 장치 Download PDF

Info

Publication number
KR20150029354A
KR20150029354A KR20130108454A KR20130108454A KR20150029354A KR 20150029354 A KR20150029354 A KR 20150029354A KR 20130108454 A KR20130108454 A KR 20130108454A KR 20130108454 A KR20130108454 A KR 20130108454A KR 20150029354 A KR20150029354 A KR 20150029354A
Authority
KR
South Korea
Prior art keywords
conveyor
heat
product
treated
heat treatment
Prior art date
Legal status (The legal status is an assumption and is not a legal conclusion. Google has not performed a legal analysis and makes no representation as to the accuracy of the status listed.)
Ceased
Application number
KR20130108454A
Other languages
English (en)
Inventor
황길섭
Original Assignee
황길섭
Priority date (The priority date is an assumption and is not a legal conclusion. Google has not performed a legal analysis and makes no representation as to the accuracy of the date listed.)
Filing date
Publication date
Application filed by 황길섭 filed Critical 황길섭
Priority to KR20130108454A priority Critical patent/KR20150029354A/ko
Publication of KR20150029354A publication Critical patent/KR20150029354A/ko
Ceased legal-status Critical Current

Links

Images

Classifications

    • CCHEMISTRY; METALLURGY
    • C21METALLURGY OF IRON
    • C21DMODIFYING THE PHYSICAL STRUCTURE OF FERROUS METALS; GENERAL DEVICES FOR HEAT TREATMENT OF FERROUS OR NON-FERROUS METALS OR ALLOYS; MAKING METAL MALLEABLE, e.g. BY DECARBURISATION OR TEMPERING
    • C21D1/00General methods or devices for heat treatment, e.g. annealing, hardening, quenching or tempering
    • C21D1/34Methods of heating
    • C21D1/42Induction heating
    • CCHEMISTRY; METALLURGY
    • C21METALLURGY OF IRON
    • C21DMODIFYING THE PHYSICAL STRUCTURE OF FERROUS METALS; GENERAL DEVICES FOR HEAT TREATMENT OF FERROUS OR NON-FERROUS METALS OR ALLOYS; MAKING METAL MALLEABLE, e.g. BY DECARBURISATION OR TEMPERING
    • C21D1/00General methods or devices for heat treatment, e.g. annealing, hardening, quenching or tempering
    • C21D1/62Quenching devices
    • C21D1/63Quenching devices for bath quenching
    • CCHEMISTRY; METALLURGY
    • C21METALLURGY OF IRON
    • C21DMODIFYING THE PHYSICAL STRUCTURE OF FERROUS METALS; GENERAL DEVICES FOR HEAT TREATMENT OF FERROUS OR NON-FERROUS METALS OR ALLOYS; MAKING METAL MALLEABLE, e.g. BY DECARBURISATION OR TEMPERING
    • C21D11/00Process control or regulation for heat treatments
    • C21D11/005Process control or regulation for heat treatments for cooling
    • CCHEMISTRY; METALLURGY
    • C21METALLURGY OF IRON
    • C21DMODIFYING THE PHYSICAL STRUCTURE OF FERROUS METALS; GENERAL DEVICES FOR HEAT TREATMENT OF FERROUS OR NON-FERROUS METALS OR ALLOYS; MAKING METAL MALLEABLE, e.g. BY DECARBURISATION OR TEMPERING
    • C21D9/00Heat treatment, e.g. annealing, hardening, quenching or tempering, adapted for particular articles; Furnaces therefor
    • C21D9/0006Details, accessories not peculiar to any of the following furnaces
    • C21D9/0018Details, accessories not peculiar to any of the following furnaces for charging, discharging or manipulation of charge
    • CCHEMISTRY; METALLURGY
    • C21METALLURGY OF IRON
    • C21DMODIFYING THE PHYSICAL STRUCTURE OF FERROUS METALS; GENERAL DEVICES FOR HEAT TREATMENT OF FERROUS OR NON-FERROUS METALS OR ALLOYS; MAKING METAL MALLEABLE, e.g. BY DECARBURISATION OR TEMPERING
    • C21D9/00Heat treatment, e.g. annealing, hardening, quenching or tempering, adapted for particular articles; Furnaces therefor
    • C21D9/0062Heat-treating apparatus with a cooling or quenching zone
    • YGENERAL TAGGING OF NEW TECHNOLOGICAL DEVELOPMENTS; GENERAL TAGGING OF CROSS-SECTIONAL TECHNOLOGIES SPANNING OVER SEVERAL SECTIONS OF THE IPC; TECHNICAL SUBJECTS COVERED BY FORMER USPC CROSS-REFERENCE ART COLLECTIONS [XRACs] AND DIGESTS
    • Y02TECHNOLOGIES OR APPLICATIONS FOR MITIGATION OR ADAPTATION AGAINST CLIMATE CHANGE
    • Y02PCLIMATE CHANGE MITIGATION TECHNOLOGIES IN THE PRODUCTION OR PROCESSING OF GOODS
    • Y02P10/00Technologies related to metal processing
    • Y02P10/25Process efficiency

Landscapes

  • Chemical & Material Sciences (AREA)
  • Engineering & Computer Science (AREA)
  • Physics & Mathematics (AREA)
  • Thermal Sciences (AREA)
  • Crystallography & Structural Chemistry (AREA)
  • Mechanical Engineering (AREA)
  • Materials Engineering (AREA)
  • Metallurgy (AREA)
  • Organic Chemistry (AREA)
  • Heat Treatments In General, Especially Conveying And Cooling (AREA)

Abstract

본 발명은 원형의 터널형태로 유도가열을 위한 워킹코일을 배치함으로써 열처리 대상 제품에 고른 열처리가 가능함과 아울러 열처리된 제품을 컨베이어 이송 타입의 냉각조에 투입하여 원하는 시간동안 냉각시키도록 함으로써 열처리 효율을 높일 수 있는 유도가열을 이용한 열처리 장치를 제공하는데 그 목적이 있다.

Description

유도가열을 이용한 열처리 장치{Heat treatment apparatus with inductive heating}
본 발명은 유도가열을 이용한 열처리 장치에 관한 것으로, 특히 유도가열을 위한 워킹코일을 터널형으로 하여 워킹코일 내부를 이동하면서 금속재가 열처리되도록 한 유도가열을 이용한 열처리 장치에 관한 것이다.
자동차 부품, 산업기계 부품 등에 사용되는 금속재는 경도와 강도 등의 기계적 성질을 원하는 목적에 맞게 처리하기 위해 전기로 등의 가열로를 이용하여 열처리하게 된다.
그런데, 이러한 종래의 가열로는 하루일과가 종료되거나 오랫동안 가동이 중단된 후 다시 가동시키기 위해서는 많은 동력이 필요하게 되고, 이는 불필요한 에너지원의 소모를 발생시킴과 아울러 열처리 온도까지 상승시키기 위해서 많은 시간이 소요되므로 효율적인 작업이 이루어질 수 없는 문제점이 있다.
이러한 문제점을 해결하기 위하여 등록특허 제10-1240349호(유도가열을 통한 단봉의 열처리 방법 및 장치)에서는 "적어도 하나 이상의 유도가열로; 상기 유도가열로의 입구측에 설치되는 재료투입부; 및, 상기 재료투입부의 일측에 설치되어 재료를 유도가열로에 순차로 공급하는 투입봉이 구비되면서 상기 투입봉은 재료를 일정거리만큼 이송토록 이송수단이 연결되는 구성으로 이루어진 재료투입부를 포함하는 구성이며, 상기 투입봉은, a) 이송수단에 의한 이동시 재료를 유도가열로에서 모두 배출토록 유도가열로의 전체길이에 대응되는 길이를 갖도록 설치되고, b) 투입봉의 내측에 구비되는 이중관을 통하여 형성되는 내관과 외관에 물이 유동토록 설치되는 유도가열을 통한 단봉의 열처리장치"를 제안하였다.
그러나 이러한 등록특허 제10-1240349호는 봉을 열처리하기 위한 구조로서, 긴 봉을 이송시키기 위한 재료투입부가 봉의 길이만큼 형성되어 있어야 하므로, 공간적으로 비효율적이며, 또한 봉의 상하좌우측에서 고르게 열을 가하는 구조가 아니므로 균일한 열처리가 불가능한 단점이 있어서 제품의 불량율이 증가하는 문제점이 있는 것이다.
이러한 문제점을 해결하기 위하여 본 발명은 원형의 터널형태로 유도가열을 위한 워킹코일을 배치함으로써 열처리 대상 제품에 고른 열처리가 가능함과 아울러 열처리된 제품을 컨베이어 이송 타입의 냉각조에 투입하여 원하는 시간동안 냉각시키도록 함으로써 열처리 효율을 높일 수 있는 유도가열을 이용한 열처리 장치를 제공하는데 그 목적이 있다.
상기의 목적을 달성하기 위한 본 발명의 유도가열을 이용한 열처리 장치는,
둥근 고리형태의 유도가열 워킹코일이 다수개가 근접설치되어 터널을 형성한 워킹코일부;
상기 워킹코일부의 외측으로 설치된 하우징;
판형태로 되어 상기 터널 형태의 워킹코일부의 중심부위를 관통하여 설치되고, 양단부가 상기 하우징의 외측으로 노출되며, 열처리 대상 제품이 상부면에서 이송되는 금속재의 이송선반;
상기 이송선반의 끝단 하부에 설치되어 이송선반으로부터 배출되는 열처리 대상 제품을 투입받아 냉각시키는 냉각조;로 구성되며,
상기 냉각조는 상기 이송선반으로부터 배출되는 열처리 대상 제품을 투입받아 냉각수로 침수시키는 제1하강 컨베이어;
일단이 상기 제1하강 컨베이어의 하측에 위치하고, 타단은 수면위로 연장설치되어, 상기 제1하강 컨베이어로부터 열처리 대상 제품을 투입받아 냉각수의 수면위로 이송시키는 상승 컨베이어;로 구성된 것을 특징으로 한다.
또한, 상기 제1하강 컨베이어 및 상승 컨베이어는 이송속도가 조절되도록 구성된다.
이와같은 본 발명은 유도가열을 위한 워킹코일을 터널 형태로 설치함으로써 열처리 대상 제품을 고르게 가열하여 열처리하게 되어 열처리 불량에 의한 제품의 불량율을 낮출 수 있으며, 아울러 열처리된 제품을 곧바로 냉각조에 투입하여 컨베이어의 속도 조절에 의해 냉각시간을 조절함으로써 원하는 시간의 담금질이 자동화되어 이루어질 수 있는 효과를 갖는다.
도1은 본 발명에 의한 열처리 장치의 구조를 보인 도.
도2는 본 발명의 주요 부위만을 나타낸 도.
도3은 도2의 단면도 및 열처리 대상 제품의 이송상태를 보인 도.
도4는 본 발명의 전체 동작을 설명하기 위한 도.
이와같이 구성된 본 발명을 첨부한 도면을 참조하여 상세히 설명한다.
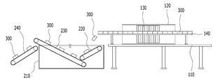
도1는 본 발명의 구조를 보인 사시도로서, 열처리를 위한 유도가열부(100)는 테이블의 상부에 양단부가 개방된 하우징(120)이 설치되고, 그 하우징(120)의 내측으로는 터널형태의 워킹코일부(120)가 설치되는데, 상기 워킹코일부(120)는 유도가열을 위하여 도2에서와 같이 링 형태의 워킹 코일이 다수개 연이어 근접한 형태로 설치됨으로써 원통형상의 터널을 형성하게 된다.
이는 곧 열처리 대상 제품의 상하좌우측에서 고르게 열처리를 위한 열을 제공하기 위함이다.
이러한 워킹코일부(130)은 하우징(120)에 의해 보호되는데, 상기 하우징(120)의 내측은 보온재가 내장되고, 하우징(120)의 내측에서 워킹코일부(130)가 지지됨으로써 터널 형태를 유지할 수 있도록 하다.
그리고, 도1에서와 같이 상기 터널 형태의 워킹코일부(130)의 중심부위를 관통하여 금속재질로 된 평평한 판재의 이송선반(140)이 설치되는데, 이러한 이송선반(140)의 양단부는 하우징(120)의 개방된 양측으로 연장되어 노출된다.
따라서, 도3에서와 같이 이송선반(140)의 일단 상부면에서 열처리 대상 제품(300)이 연이어 푸시타입으로 워킹코일부(130)의 내측으로 투입되는데, 다수의 열처리 대상 제품(300)이 서로 접하여 후방에서 푸시하는 힘에 의해 이송선반(140)의 상부면을 이송하게 되어 열처리가 행해지며, 이송선반(140)의 타단을 통해 하우징(120)의 외측으로 배출되는 것이다.
이로인해, 열처리 대상 제품(300)의 상측과 좌우측은 워킹코일부(130)로부터 발생한 열을 직접 전달받고, 이송선반(140)이 워킹코일부(140)에 의해 가열되어 이송선반(140)의 상부면에서 이송되는 열처리 대상 제품(300)의 하측에 열을 전달하는 방식이다.
이러한 워킹코일부(130)를 구동시키는 제어 구조는 등록특허 제10-0723729호, 등록특허 제10-1136352호 등의 공지의 기술을 이용할 수 있을 것이다.
열처리 시간의 조절은 투입되는 열처리 대상 제품(300)의 이송속도를 조절함으로써 가능하다.
한편, 이러한 유도가열부(100)에 의해 열처리된 제품을 냉각시켜 담금질하기 위하여 냉각부(200)가 구비되는데, 냉각수를 수용하고 있는 냉각조(210)는 이송선반(140)의 타단 하부에 위치하며, 내측에는 상측에서 하측으로 구동되는 제1하강 컨베이어(220)와 상기 제1하강 컨베이어(220)의 하측에 일측이 위치하고, 하측에서 상측으로 구동하는 상승 컨베이어(230)가 구비되어 있다.
즉, 제1하강 컨베이어(220)의 상측은 이송선반(140)의 하측에 근접하여 냉각조(210)의 내측으로 경사를 이루고 설치되며, 그 하측은 냉각조(210)의 바닥 부위로부터 이격되어 설치된다.
또한, 상기 상승 컨베이어(230)의 하측은 제1하강 컨베이어(220)의 하측에 위치하며, 상측은 냉각조(210)의 상측부위로 노출되도록 설치된다.
따라서 도4에서와 같이 이송선반(140)으로부터 낙하된 열처리 대상 제품(300)은 이송선반(140)의 끝단에서 냉각조(210)의 제1하강 컨베이어(220)의 상측으로 낙하되어 놓이게 되며, 제1하강 컨베이어(220)에 의해 냉각수로 입수된다.
제1하강 컨베이어(220)에 의해 입수되어 냉각된 열처리 대상 제품(300)은 제1하강 컨베이어(220)의 하측으로 이송되면서 상승 컨베이어(230)로 갈아타게 되고, 상승 컨베이어(230)에 의해 상측으로 이송되면서 냉각수로부터 출수된다.
이때 냉각 시간은 제1하강 컨베이어(220)와 상승 컨베이어(220)의 이송속도를 제어함으로써 조절이 가능하게 된다.
또한, 냉각조(210)에는 외측에는 제2하강 컨베이어(240)가 경사지게 구비되는데, 상기 제2하강 컨베이어(240)는 그 상측이 상기 상승 컨베이어(240)의 상측 하부에 위치하여 냉각조(210)의 상승 컨베이어(230)에 의해 외부로 배출되는 열처리 대상 제품을 넘겨받아 바닥으로 안전하게 이송하게 된다.
100 : 유도가열부 110 : 테이블
120 : 하우징 130 : 워킹코일부
131,132,133 : 워킹코일 140 : 이송선반
200 : 냉각부 210 : 냉각조
220 : 제1하강 컨베이어 230 : 상승 컨베이어
240 : 제2하강 컨베이어 300 : 열처리 대상 제품

Claims (3)

  1. 둥근 고리형태의 유도가열 워킹코일이 다수개가 근접설치되어 터널을 형성한 워킹코일부;
    상기 워킹코일부의 외측으로 설치된 하우징;
    판형태로 되어 상기 터널 형태의 워킹코일부의 중심부위를 관통하여 설치되고, 양단부가 상기 하우징의 외측으로 노출되며, 열처리 대상 제품이 상부면에서 이송되는 금속재의 이송선반;
    상기 이송선반의 끝단 하부에 설치되어 이송선반으로부터 배출되는 열처리 대상 제품을 투입받아 냉각시키는 냉각조;로 구성되며,
    상기 냉각조는 상기 이송선반으로부터 배출되는 열처리 대상 제품을 투입받아 냉각수로 침수시키는 제1하강 컨베이어;
    일단이 상기 제1하강 컨베이어의 하측에 위치하고, 타단은 수면위로 연장설치되어, 상기 제1하강 컨베이어로부터 열처리 대상 제품을 투입받아 냉각수의 수면위로 이송시키는 상승 컨베이어;로 구성된 것을 특징으로 하는 유도가열을 이용한 열처리 장치.
  2. 제1항에 있어서, 상기 냉각조의 외부에는 상기 상승 컨베이어의 타단으로 배출되는 열처리된 제품을 냉각조의 외측으로 이송하는 제2하강 컨베이어를 포함하여 구성된 것을 특징으로 하는 유도가열을 이용한 열처리 장치.
  3. 제1항에 있어서, 상기 제1하강 컨베이어 및 상승 컨베이어는 이송속도가 조절되도록 구성된 것을 특징으로 하는 유도가열을 이용한 열처리 장치.
KR20130108454A 2013-09-10 2013-09-10 유도가열을 이용한 열처리 장치 Ceased KR20150029354A (ko)

Priority Applications (1)

Application Number Priority Date Filing Date Title
KR20130108454A KR20150029354A (ko) 2013-09-10 2013-09-10 유도가열을 이용한 열처리 장치

Applications Claiming Priority (1)

Application Number Priority Date Filing Date Title
KR20130108454A KR20150029354A (ko) 2013-09-10 2013-09-10 유도가열을 이용한 열처리 장치

Publications (1)

Publication Number Publication Date
KR20150029354A true KR20150029354A (ko) 2015-03-18

Family

ID=53023867

Family Applications (1)

Application Number Title Priority Date Filing Date
KR20130108454A Ceased KR20150029354A (ko) 2013-09-10 2013-09-10 유도가열을 이용한 열처리 장치

Country Status (1)

Country Link
KR (1) KR20150029354A (ko)

Cited By (3)

* Cited by examiner, † Cited by third party
Publication number Priority date Publication date Assignee Title
CN111455145A (zh) * 2020-05-20 2020-07-28 吕友飞 一种五金配件生产用批量淬火装置及其淬火方法
CN115478140A (zh) * 2022-09-08 2022-12-16 龙岩市壹荣铸造有限公司 一种集装箱角件热处理设备及工艺
KR20220167033A (ko) * 2021-06-11 2022-12-20 조진구 리볼버형 연속 열처리 시스템

Cited By (4)

* Cited by examiner, † Cited by third party
Publication number Priority date Publication date Assignee Title
CN111455145A (zh) * 2020-05-20 2020-07-28 吕友飞 一种五金配件生产用批量淬火装置及其淬火方法
KR20220167033A (ko) * 2021-06-11 2022-12-20 조진구 리볼버형 연속 열처리 시스템
CN115478140A (zh) * 2022-09-08 2022-12-16 龙岩市壹荣铸造有限公司 一种集装箱角件热处理设备及工艺
CN115478140B (zh) * 2022-09-08 2024-03-29 龙岩市壹荣铸造有限公司 一种集装箱角件热处理设备及工艺

Similar Documents

Publication Publication Date Title
JP5201003B2 (ja) 熱間プレス成形用鋼板の加熱装置及び加熱方法
CN206736310U (zh) 一种辊轴式高效节能回火炉
JP2014240349A5 (ko)
KR20150029354A (ko) 유도가열을 이용한 열처리 장치
KR101240349B1 (ko) 유도가열을 통한 단봉의 열처리방법 및 장치
KR101611786B1 (ko) 금속봉의 유도 가열 및 회전 확산 장치
KR101611785B1 (ko) 금속봉의 열처리 장치 및 열처리 방법
JP6271096B2 (ja) 熱処理装置
CN202717813U (zh) 强对流输送链式热处理生产线
CN101892360A (zh) 一种新型热风循环回火炉
JP2004043909A (ja) 被加熱物の加熱方法および加熱設備
CN105261538A (zh) 一种无极灯焙烧用烘箱
KR20140031311A (ko) 연속 베이킹 벨트를 포함하는 오븐
KR20160033530A (ko) 핫스탬핑용 예열장치
KR101847142B1 (ko) 유도가열로의 소재배출장치 및 방법
CN108518980A (zh) 一种链板式铝棒加热炉
CN204369930U (zh) 钢管自动退火装置
JP2018059209A (ja) 熱処理装置
US6036485A (en) Annealing furnace
JP2017183097A (ja) 熱処理装置および熱処理方法
WO2015170427A1 (ja) 多段式加熱装置、および多段式加熱炉に対するワーク搬入搬出方法
KR101307442B1 (ko) 봉상 소재의 선단 가열방법 및 장치
JP5619477B2 (ja) 誘導加熱装置
CN203602659U (zh) 淬水线工艺设备
US2496914A (en) Heating furnace

Legal Events

Date Code Title Description
A201 Request for examination
PA0109 Patent application

Patent event code: PA01091R01D

Comment text: Patent Application

Patent event date: 20130910

PA0201 Request for examination
E902 Notification of reason for refusal
PE0902 Notice of grounds for rejection

Comment text: Notification of reason for refusal

Patent event date: 20150306

Patent event code: PE09021S01D

PG1501 Laying open of application
E601 Decision to refuse application
PE0601 Decision on rejection of patent

Patent event date: 20151027

Comment text: Decision to Refuse Application

Patent event code: PE06012S01D

Patent event date: 20150306

Comment text: Notification of reason for refusal

Patent event code: PE06011S01I